СП 390.1325800.2018 ЗДАНИЯ И СООРУЖЕНИЯ СПОРТИВНО-АДАПТИВНЫХ ШКОЛ И ЦЕНТРОВ АДАПТИВНОГО СПОРТА. ПРАВИЛА ПРОЕКТИРОВАНИЯ
Buildings and facilities of adaptive sportschools and centers of adaptive sport. Rules of architectural design
Введение
Настоящий свод правил разработан в соответствии с федеральными законами от 27 декабря 2002 г. N 184-ФЗ "О техническом регулировании", от 30 декабря 2009 г. N 384-ФЗ "Технический регламент о безопасности зданий и сооружений", от 22 июля 2008 г. N 123-ФЗ "Технический регламент о требованиях пожарной безопасности", от 23 ноября 2009 г. N 261-ФЗ "Об энергосбережении, повышении энергетической эффективности и о внесении изменений в отдельные законодательные акты Российской Федерации".
Свод правил разработан в развитие положений СП 59.13330, СП 118.13330, а также положений Федеральной целевой программы "Развитие физической культуры и спорта в Российской Федерации на 2016-2020 гг.".
Свод правил выполнен авторским коллективом: ООО "Институт общественных зданий" (руководитель работы - канд. архитектуры А.М. Гарнец, канд. архитектуры Д.Д. Зыбина, Л.В. Сигачева, М.С. Нижник, И.Р. Домрачева); ОФСОО "РАСС" (д-р психол. наук В.Б. Мяконьков, Н.В. Кочетова); АНО "Национальный центр содействия эколого-социальному и инновационному развитию территорий" (С.С. Сохранский); ООО РУИЦ "РУБИКОН" (Д.П. Петраков); АО "ЦНИИПромзданий" (д-р техн. наук В.В. Гранев, канд. архитектуры Д.К. Лейкина, канд. техн. наук Т.Е. Стороженко, С.Р. Мамедова).
1.1 Настоящий свод правил распространяется на проектирование зданий и сооружений спортивно-адаптивных школ и центров адаптивного спорта.
1.2 Требования настоящего свода правил распространяются на следующие паралимпийские виды спорта и спортивные дисциплины при проектировании зданий и сооружений спортивно-адаптивных школ и центров адаптивного спорта: бадминтон; конный спорт; легкая атлетика; плавание; пулевая стрельба; стрельба из лука; танцы на колясках; торбол; тхэквондо; футбол (7х7), футбол ампутантов.
В настоящем своде правил использованы нормативные ссылки на следующие документы:
ГОСТ 30494-2011 Здания жилые и общественные. Параметры микроклимата в помещениях
ГОСТ 33652-2015 Лифты пассажирские. Технические требования доступности, включая доступность для инвалидов и других маломобильных групп населения
ГОСТ Р ЕН 1177-2013 Покрытия игровых площадок ударопоглощающие. Определение критической высоты падения
ГОСТ Р 12.2.143-2009 Система стандартов безопасности труда. Системы фотолюминесцентные эвакуационные. Требования и методы контроля
ГОСТ Р ИСО 28803-2013 Эргономика физической среды. Применение требований стандартов к людям с особыми потребностями
ГОСТ Р 52495-2005 Социальное обслуживание населения. Термины и определения
ГОСТ Р 52875-2007 Указатели тактильные наземные для инвалидов по зрению. Технические требования
ГОСТ Р 53491.1-2009 Бассейны. Подготовка воды. Часть 1. Общие требования
ГОСТ Р 53491.2-2012 Бассейны. Подготовка воды. Часть 2. Требования безопасности
ГОСТ Р 55529-2013 Объекты спорта. Требования безопасности при проведении спортивных и физкультурных мероприятий. Методы испытаний
ГОСТ Р 56274-2014 Общие показатели и требования в эргономике
ГОСТ Р 57015-2016 Услуги населению. Услуги бассейнов. Общие требования
СП 1.13130.2009 Системы противопожарной защиты. Эвакуационные пути и выходы (с изменением N 1)
СП 2.13130.2012 Системы противопожарной защиты. Обеспечение огнестойкости объектов защиты (с изменением N 1)
СП 3.13130.2009 Системы противопожарной защиты. Система оповещения и управления эвакуацией людей при пожаре. Требования пожарной безопасности
СП 4.13130.2013 Системы противопожарной защиты. Ограничение распространения пожара на объектах защиты. Требования к объемно-планировочным решениям
СП 5.13130.2009 Системы противопожарной защиты. Установки пожарной сигнализации и пожаротушения автоматические. Нормы и правила проектирования (с изменением N 1)
СП 6.13130.2013 Системы противопожарной защиты. Электрооборудование. Требования пожарной безопасности
СП 7.13130.2013 Отопление, вентиляция и кондиционирование. Требования пожарной безопасности
СП 30.13330.2016 "СНиП 2.04.01-85* Внутренний водопровод и канализация зданий"
СП 42.13330.2016 "СНиП 2.07.01-89* Градостроительство. Планировка и застройка городских и сельских поселений"
СП 51.13330.2011 "СНиП 23-03-2003 Защита от шума" (с изменением N 1)
СП 52.13330.2016 "СНиП 23-05-95* Естественное и искусственное освещение"
СП 54.13330.2016 "СНиП 31-01-2003 Здания жилые многоквартирные"
СП 59.13330.2016 "СНиП 35-01-2001 Доступность зданий и сооружений для маломобильных групп населения"
СП 60.13330.2016 "СНиП 41-01-2003 Отопление, вентиляция и кондиционирование воздуха"
СП 82.13330.2016 "СНиП III-10-75 Благоустройство территорий"
СП 106.13330.2012 "СНиП 2.10.03-84 Животноводческие, птицеводческие и звероводческие здания и помещения" (с изменением N 1)
СП 113.13330.2016 "СНиП 21-02-99* Стоянки автомобилей"
СП 118.13330.2012 "СНиП 31-06-2009 Общественные здания и сооружения" (с изменениями N 1, N 2)
СП 132.13330.2011 Обеспечение антитеррористической защищенности зданий и сооружений. Общие требования проектирования
СП 133.13330.2012 Сети проводного радиовещания и оповещения в зданиях и сооружениях. Нормы проектирования (с изменением N 1)
СП 134.13330.2012 Системы электросвязи зданий и сооружений. Основные положения проектирования (с изменением N 1)
СП 136.13330.2012 Здания и сооружения. Общие положения проектирования с учетом доступности для маломобильных групп населения (с изменением N 1)
СП 138.13330.2012 Общественные здания и сооружения, доступные маломобильным группам населения. Правила проектирования (с изменением N 1)
СП 140.13330.2012 Городская среда. Правила проектирования для маломобильных групп населения (с изменением N 1)
СП 145.13330.2012 Дома-интернаты. Правила проектирования (с изменением N 1)
СП 149.13330.2012 Реабилитационные центры для детей и подростков с ограниченными возможностями. Правила проектирования (с изменением N 1)
СП 150.13330.2012 Дома-интернаты для детей инвалидов. Правила проектирования (с изменением N 1)
СП 158.13330.2014 Здания и помещения медицинских организаций. Правила проектирования (с изменением N 1)
СП 251.1325800.2016 Здания общеобразовательных организаций. Правила проектирования (с изменением N 1)
СП 256.1325800.2016 Электроустановки жилых и общественных зданий. Правила проектирования и монтажа (с изменением N 1)
СП 257.1325800.2016 Здания гостиниц. Правила проектирования
СП 310.1325800.2017 Бассейны для плавания. Правила проектирования
СП 332.1325800.2017 Спортивные сооружения. Правила проектирования
СанПиН 2.1.2.1188-03 Плавательные бассейны. Гигиенические требования к устройству, эксплуатации и качеству воды. Контроль качества
СанПиН 2.1.3.2630-10 Санитарно-эпидемиологические требования к организациям, осуществляющим медицинскую деятельность
СанПиН 2.1.4.3049-13 Санитарно-эпидемиологические требования к устройству, содержанию и организации режима работы дошкольных образовательных организаций
СанПиН 2.2.1/2.1.1.1076-01 Гигиенические требования к инсоляции и солнцезащите помещений жилых и общественных зданий и территорий
СанПиН 2.2.1/2.1.1.1200-03 Санитарно-защитные зоны и санитарная классификация предприятий, сооружений и иных объектов
СанПиН 2.2.1/2.1.1.1278-03 Гигиенические требования к естественному, искусственному и совмещенному освещению жилых и общественных зданий
СанПиН 2.2.1/2.1.1.2585-10 Изменения и дополнения N 1 к санитарным правилам и нормам СанПиН 2.2.1/2.1.1.1278-03 "Гигиенические требования к естественному, искусственному и совмещенному освещению жилых и общественных зданий"
СанПиН 2.4.2.2821-10 Санитарно-эпидемиологические требования к условиям и организации обучения в общеобразовательных организациях
СанПиН 2.4.2.3286-15 Санитарно-эпидемиологические требования к условиям и организации обучения и воспитания в организациях, осуществляющих образовательную деятельность по адаптированным основным общеобразовательным программам для обучающихся с ограниченными возможностями здоровья
СанПиН 2.4.5.2409-08 Санитарно-эпидемиологические требования к организации питания обучающихся в общеобразовательных учреждениях, учреждениях начального и среднего профессионального образования
Примечание - При пользовании настоящим сводом правил целесообразно проверить действие ссылочных документов в информационной системе общего пользования - на официальном сайте федерального органа исполнительной власти в сфере стандартизации в сети Интернет или по ежегодному информационному указателю "Национальные стандарты", который опубликован по состоянию на 1 января текущего года, и по выпускам ежемесячного информационного указателя "Национальные стандарты" за текущий год. Если заменен ссылочный документ, на который дана недатированная ссылка, то рекомендуется использовать действующую версию этого документа с учетом всех внесенных в данную версию изменений. Если заменен ссылочный документ, на который дана датированная ссылка, то рекомендуется использовать версию этого документа с указанным выше годом утверждения (принятия). Если после утверждения настоящего свода правил в ссылочный документ, на который дана датированная ссылка, внесено изменение, затрагивающее положение, на которое дана ссылка, то это положение рекомендуется применять без учета данного изменения. Если ссылочный документ отменен без замены, то положение, в котором дана ссылка на него, рекомендуется применять в части, не затрагивающей эту ссылку. Сведения о действии сводов правил целесообразно проверить в Федеральном информационном фонде стандартов.
В настоящем своде правил применены термины по СП 59.13330, ГОСТ Р 55529, СП 332.1325800, а также следующие термины с соответствующими определениями:
3.1
|
ребенок-инвалид: Лицо в возрасте до 18 лет, признанное в установленном порядке инвалидом. [ГОСТ Р 52495-2005, статья 2.4.17] |
3.2 спортивно-адаптивная школа и центр адаптивного спорта: Образовательные организации, предназначенные для обучения и тренировок по адаптивным видам спорта детей-инвалидов, пополнения сборных команд субъекта Российской Федерации по паралимпийским видам спорта, проживания обучающихся, проведения спортивных и тренировочных мероприятий.
4.1 Спортивно-адаптивные школы и центры адаптивного спорта (далее - ЦАС) являются комплексными объектами, включающими:
- общеобразовательный блок;
- жилой блок (интернат с временным проживанием от 1 до 3 мес.);
- спортивно-тренировочный блок;
- помещения общего назначения (административный блок, служебно-бытовой блок, помещения питания, помещения досугового назначения, медицинский блок);
- гостиницу (при необходимости).
4.2 Настоящий свод правил устанавливает требования, предъявляемые к зданиям и сооружениям ЦАС, их функциональной инфраструктуре, архитектурно-планировочным, конструктивными инженерным решениям, обеспечивающим безопасную эксплуатацию зданий и сооружений.
4.3 Проектом должны быть предусмотрены условия беспрепятственного, безопасного и удобного передвижения инвалидов разных нозологических групп по участку к доступному входу в здание с учетом требований СП 59.13330. Эти пути должны стыковаться с внешними по отношению к участку транспортными и пешеходными коммуникациями, специализированными парковочными местами, остановками общественного транспорта.
4.4 Здания и помещения ЦАС, предназначенные для размещения школы и ее структурных подразделений, должны быть оборудованы инженерными системами (отоплением, водопроводом, канализацией, электричеством), слаботочными устройствами (громкоговорящая связь в зданиях и на территории, радиофикация, телефонизация, локальная компьютерная сеть, Интернет и телевидение) и отвечать требованиям СП 3.13130, СП 4.13130, СП 5.13130, СП 42.13330, СП 54.13330, СП 59.13330, СП 118.13330, СП 256.1325800, СанПиН 2.1.2.1188, [9], а также требованиям в области экологической безопасности.
4.5 При проектировании следует учитывать требования, предъявляемые к обеспечению беспрепятственного доступа на объект различным целевым группам, таким как: посетители из числа инвалидов различных нозологических групп, непосредственно принимающих участие в тренировочных и соревновательных процессах, персонал объекта и тренеры, посетители объекта в качестве зрителей.
4.6 Высоту помещений образовательного и бытового блоков следует принимать по СП 118.13330 и СП 251.1325800.
Высоту помещений спортивно-тренировочного блока, актового зала, столовой следует устанавливать согласно СП 332.1325800, СП 251.1325800.
Высоту вспомогательных помещений, а также коридоров и технических этажей следует принимать по 4.5 и 4.6 СП 118.13330.2012.
Помещения постоянного пребывания детей-инвалидов рекомендуется размещать на нижних этажах. Высоту жилых помещений следует принимать по СП 150.13330, допускается (при обосновании) принимать равной высоте этажа гостиницы по СП 257.1325800.
4.7 При наличии свободной территории под застройку жилой и учебный корпуса рекомендуется проектировать двухэтажными, а спортивный блок - одноэтажным.
5.1 Комплекс сооружений ЦАС следует размещать на отдельных участках в озелененных районах, вдали от источников загрязнения и шума в соответствии с требованиями ГОСТ Р 52875, СП 51.13330, СП 54.13330, СП 113.13330, СанПиН 2.2.1/2.1.1.1200.
5.2 При проектировании спортивных площадок и сооружений параметры основных спортивных и вспомогательных зон, установленные регламентами (правилами) соответствующих общероссийских спортивных федераций по видам спорта, принимаются как обязательные технологические требования.
5.3 Открытые игровые площадки могут иметь травяное или иное покрытие, выполненное из безвредных для здоровья материалов. Покрытие площадок для подвижных игр должно быть хорошо дренирующим и беспыльным. Допускается в качестве покрытия физкультурно-спортивных площадок использовать синтетические и полимерные материалы.
5.4 На территории участка ЦАС необходимо предусматривать постройки и подсобные складские помещения для хранения нестационарного оборудования и инвентаря.
5.5 Озеленение территории следует выполнять в соответствии с СанПиН 2.4.2.2821 и СП 82.13330.
Кроны деревьев должны создавать тень для защиты детей-инвалидов от избыточного солнечного облучения.
5.6 Высокие деревья должны быть посажены на удалении от основных зданий не менее чем на 10-15 м, для обеспечения инсоляции помещений в общеобразовательном и жилом блоке согласно СанПиН 2.2.1/2.1.1.1076.
5.7 Участок ЦАС следует ограждать по всему периметру оградой высотой 1, 6 м. Допускается по местным условиям увеличение высоты ограждения до 2, 0 м, а также применение дополнительно живой изгороди.
В соответствии с СанПиН 2.4.2.2821 допускается не предусматривать ограждение со стороны стен здания, непосредственно прилегающих к проезжей части улицы или пешеходному тротуару. При этом должен быть обеспечен проезд пожарных автомобилей вокруг здания(ий) шириной не менее 3, 5 м.
5.8 На участке ЦАС уклон дорожек и тротуаров должен быть не более 5% (1:20), ширина дорожек и тротуара не менее 2, 0 м.
Дорожки, лестницы и пандусы на участке территории проектируют согласно СП 59.13330, СП 136.13330 и СП 140.13330.
5.9 Вместимость стоянки для служебных автомобилей и личного транспорта работающих определяют из расчета 15% числа работающих в максимальную смену.
Для сопровождающих тренеров, родственников и других временно проживающих в гостинице при ЦАС автомобильные стоянки предусматривают по заданию на проектирование.
Со стороны основного входа на территорию следует предусматривать площадки для высадки детей-инвалидов из микроавтобусов и автобусов. Площадка должна быть удалена от учебного и жилого зданий ЦАС не более чем на 50 м. Участок стоянки должен быть огорожен и недоступен для посторонних лиц. Площадь стоянки определяется заданием на проектирование в зависимости от количества и типа автомобилей.
Стоянку автомобилей рекомендуется отделять от участка полосой зеленых насаждений (крупного кустарника с плотной кроной).
5.10 Состав и площади построек хозяйственной зоны определяются заданием на проектирование. Она предназначается для размещения хозяйственных построек, гаража (или гаража-стоянки) для автомобилей, контейнерных площадок с мусоросборниками, хранения оборудования и инвентаря (разрешается размещать в подвальном или цокольном этаже здания с отдельным выходом наружу). Навес для инвентаря допускается пристраивать к хозяйственной постройке.
Хозяйственная зона должна иметь отдельный въезд (вход) и размещаться со стороны входа в производственные помещения столовой. Ее следует отделять от остальных зон защитной полосой зеленых насаждений. К хозяйственным постройкам должен быть обеспечен подъезд грузовых автомобилей и предусмотрена площадка для их разворота.
5.11 Контейнерную площадку для сбора мусора оборудуют в соответствии с СанПиН 2.4.2.2821.
5.12 Наружное искусственное освещение участка должно иметь освещенность на земле не менее 10 лк в соответствии с СП 52.13330, в местах перепадов высот (лестниц и пандусов) - не менее 100 лк в соответствии с СП 59.13330.
Комплекс ЦАС при расширенном составе функций целесообразно сгруппировать в пять функциональных блоков в соответствии с 4.1.
Медицинские помещения размещают при спортивном блоке или в общешкольных помещениях.
Здания должны быть оборудованы лифтами (по расчету), в том числе приспособленными для спортивных колясок тех видов спорта, которые будут развивать в проектируемом ЦАС. Число лифтов и их габариты определяются заданием на проектирование. Лифтовое оборудование должно соответствовать требованиям ГОСТ 33652.
Входы в здания следует проектировать с тамбурами в соответствии с СП 59.13330. Применение дверей на качающихся петлях и дверей-вертушек на путях передвижения не допускается. На входах в здания целесообразно применение автоматически раскрывающихся дверей, а вход проектировать с уровня отмостки.
Следует предусматривать на путях движения пандусы. Уклон пандуса на путях передвижения инвалидов на колясках внутри и снаружи здания следует принимать в соответствии с СП 59.13330.
При наличии среди занимающихся групп инвалидов с нарушением зрения тактильную и иную информацию на путях движения предусматривать в соответствии с СП 59.13330, СП 136.13330, ГОСТ Р 52875.
При проектировании жилых и общеобразовательных помещений следует также учитывать требования к естественному, искусственному и совмещенному освещению в соответствии с СанПиН 2.2.1/2.1.1.1278 и СанПиН 2.2.1/2.1.1.2585.
6.2.1 Общеобразовательный блок ЦАС следует проектировать с учетом требований СП 251.1325800, СП 118.13330 и СанПиН 2.4.2.3286.
6.2.2 Помещения общеобразовательного блока следует проектировать в сблокированном здании или в комплексе взаимосвязанных корпусов.
6.2.3 Высоту общеобразовательного блока рекомендуется принимать в два этажа. Допускается при обосновании повышать высоту до четырех этажей в крупных и крупнейших городах.
6.2.4 Вместимость общеобразовательного блока (расчетное число обучающихся и их нозологии) определяют заданием на проектирование исходя из организационно-педагогической структуры, градостроительных условий и пропускной способности спортивных помещений для адаптивных видов спорта.
6.2.5 Наполняемость классов, жилых помещений, зрительного зала, гостиницы устанавливают заданием на проектирование. Площади классов принимают согласно СанПиН 2.4.2.2821 и СП 59.13330 с учетом СП 251.1325800, в зависимости от единовременной наполняемости и вида инвалидности учащихся.
6.3.1 При проектировании жилого блока для учащихся следует учитывать требования к зданиям общественного назначения согласно СП 145.13330, а требования к устройству и организации режима работы в интернатах для детей-инвалидов в соответствии с СанПиН 2.1.4.3049 и СП 150.13330.
6.3.2 В жилом блоке следует предусматривать помещения:
- для обеспечения учебной (домашние задания), досуговой и иной деятельности детей-инвалидов, а также процессов возможного их самообслуживания;
- сна и бытового обслуживания.
6.3.3 Объемно-пространственная и функциональная организация жилого блока должна проектироваться с учетом особенности детей-инвалидов, исходя из обязательных минимально необходимых параметров комфортного проживания, а также своевременной эвакуации детей-инвалидов различных нозологических групп.
Допускается, при ограниченной площади участка, при обосновании, повышать этажность жилого блока до трех этажей.
6.3.4 Оборудование помещений следует принимать в соответствии с антропологическими и эргонометрическими данными детей-инвалидов, имеющих различные нарушения физического и умственного развития. Параметры помещений для детей с нарушением зрения, слуха, речи принимаются такими же, как и для помещений в соответствии с СП 251.132580, с учетом требований ГОСТ Р 56274, ГОСТ Р ИСО 28803. В помещениях и на путях движения следует предусматривать индукционные петли для глухих.
6.3.5 Помещения стационарного пребывания (проживания) следует проектировать с жилыми ячейками.
6.3.6 Площадь помещений в жилой ячейке принимается из расчета на одного проживающего, не менее:
спальные комнаты для детей-инвалидов - 6, 0 м2;
комнаты дневного пребывания - 3 м2;
уборных с душевой для детей-инвалидов не менее 4 м2 на жилую комнату;
для помещений сушки одежды - 0, 35 м2.
6.3.7 В составе жилой ячейки для детей-инвалидов учащихся старших классов следует предусматривать дополнительно комнаты для индивидуальных занятий площадью на одного воспитанника не менее 1, 5 м2/место.
6.3.8 Уборная и душевая комната, должны иметь беспрепятственный доступ для инвалида-колясочника, ампутанта, а также учитывать особенности инвалидов с нарушением зрения в соответствии с требованиями СП 59.13330.
6.3.9 Следует учитывать требования к организации инсоляции жилых помещений интерната согласно СанПиН 2.1.3.2630.
6.4.1 Спортивно-тренировочный блок формируется из залов для различных адаптивных видов спорта; перечень объектов по адаптивным видам спорта и спортивным дисциплинам, которые размещают в ЦАС, приведен в приложении А.
Набор видов спорта (спортивных дисциплин) и площадок для них определяется заданием на проектирование.
Выбор объемно-планировочных, конструктивных и инженерных решений при проектировании спортивных залов и площадок следует осуществлять в зависимости от их вместимости и пропускной способности, а также набора вспомогательного оборудования и помещений, приведенных в [10] - [13].
Дополнительно в раздевальных следует предусматривать помещения (зону) для смены колясок (бытовой на спортивную). Площадь помещения определяется исходя из следующих показателей:
- самостоятельная пересадка спортсмена - зона не менее 1, 9х1, 5 м;
- пересадка с помощью тренера - зона не менее 2, 0х2, 0 м.
Перечень медицинских помещений устанавливается в задании на проектирование в зависимости принятых нозологий и видов спорта.
Размер уборных при спортивных площадках, предназначенных для детей-инвалидов на креслах-колясках, должен обеспечивать возможность пользования на спортивной коляске с широким развалом колес. Габариты спортивных колясок приведены в приложении Б.
Залы в спортивном блоке должны быть непроходными.
При проектировании спортивного сооружения для проведения спортивных мероприятий по нескольким видам спорта, в том числе со зрителями, следует соблюдать требования СП 332.1325800.
Единовременная пропускная способность спортивного сооружения устанавливается в соответствии с классификатором объектов спорта [4], а также с учетом [5].
Минимальные размеры спортивных сооружений принимаются с учетом зон безопасности и обходных дорожек спортивных зон.
Покрытия пола игровых площадок следует выполнять по ГОСТ Р ЕН 1177.
6.4.2 Бадминтон
Корт для бадминтона для детей-инвалидов должен быть размерами: длиной 13, 4 м, шириной 6, 1 м - для парной игры; длиной 13, 4 м, шириной 5, 18 м - для одиночной игры.
Зона безопасности по периметру корта составляет 2 м. В случае размещения рядом нескольких кортов, минимальный размер зоны безопасности между двумя соседними кортами должен быть не менее 2 м. Высота свободного пространства от поверхности корта до выступающих конструкций должна быть не менее 9 м.
Схема спортивной зоны для одиночной игры в бадминтон для детей-инвалидов приведена на рисунке В.1 приложения В.
6.4.3 Конный спорт
Блок для занятий конным спортом должен включать блок содержания лошадей. Размеры, перечень отдельных зданий и сооружений блока конного спорта следует принимать с учетом требований по проектированию конноспортивных сооружений, возможности его размещения на участке ЦАС.
При проектировании блока содержания лошадей, а также отдельных зданий и сооружений для них, следует руководствоваться требованиями настоящего свода правил, а также учитывать требования по проектированию конноспортивных сооружений. Расстояние от других объектов ЦАС должно быть не менее санитарно-защитной зоны в соответствии с требованиями СанПиН 2.2.1/2.1.1.1200.
Входящие в блок для конного спорта помещения ожидания начала и окончания занятий, кабинет иппотерапевта и массажные кабинеты могут блокироваться со зданием конюшни.
Требования к объемно-планировочным, конструктивным и технологическим решениям конюшен и вспомогательных зданий и помещений принимают в соответствии с требованиями по проектированию конноспортивных сооружений.
Перечень и площади помещений блока занятий конным спортом приведены в таблице 6.1.
Таблица 6.1
|
Помещение |
Площадь, м2, не менее |
Примечание |
|
Манеж для групповых занятий на 2-4 чел. |
800 |
Размер меньшей стороны не менее 20 м |
|
Кабинки уборных, доступные для детей-инвалидов (не менее 2) |
5 |
- |
|
Приемная - зона ожидания |
40 |
- |
|
Кабинет врача-иппотерапевта |
10 |
- |
|
Кабинет тренера |
10 |
- |
|
Помещение отдыха персонала |
15 |
- |
|
Примечание - Раздевальная с душевыми, доступная для детей-инвалидов, массажный кабинет, а также иные помещения - по заданию на проектирование. | ||
Размеры манежей для паралимпийского конного спорта (рисунки В.2 и В.3 приложения В) предусматривают следующими:
- тренировочный манеж - рабочее поле не менее 20х40 м;
- манеж для паралимпийской выездки для соревнований (без учета трибун и зоны посадки на лошадь) - не менее 30х46 м (или 30х66 м) с рабочим полем 20х40 м (или 20х60 м соответственно);
- манеж для паралимпийского драйвинга для соревнований (без учета трибун и зоны посадки на лошадь) - не менее 50х85 м с рабочим полем не менее 40х80 м.
Соревновательное боевое поле для выездки должно быть оснащено комплектом ограждения высотой 0, 3 м из материала, устойчивого к атмосферным воздействиям. Ширина входа у буквы "А" должна быть не менее 2 м. Схема спортивной зоны приведена на рисунке В.2 приложения В.
Посадка всадников на лошадь может осуществляться только в специально оборудованных зонах и соответствовать требованиям СП 149.13330.
В составе ЦАС по заданию на проектирование может быть организовано отделение иппотерапии. Рабочее поле манежа для занятий должно быть размерами не менее 20х20 м в соответствии с требованиями СП 149.13330.
6.4.4 Легкая атлетика
6.4.4.1 Перечень легкоатлетических дисциплин, в которых соревнуются дети-инвалиды, приведен в таблице 6.2.
Таблица 6.2
|
Вид упражнения |
Категории инвалидов | ||
|
Поражение опорно-двигательного аппарата (ПОДА) |
Нарушения зрения | ||
|
I |
II | ||
|
Бег на различные дистанции по кругу и по прямой |
+ |
- |
+ |
|
Метание и толкание (ядро, диск, копье) |
+ |
+ |
+ |
|
Гонки на колясках |
- |
+ |
- |
|
Прыжки в длину и высоту |
+ |
- |
+ |
|
Примечание - I - инвалиды, использующие при движении различные опорные приспособления, кроме кресел-колясок; II - инвалиды, использующие при движении кресла-коляски. | |||
6.4.4.2 Для регулярных занятий легкой атлетикой необходим горизонтальный доступ к беговой дорожке и игровому полю минимум в двух точках с безбарьерным доступом к раздевальным.
На трибунах и террасах для зрителей-инвалидов необходимы специальные горизонтальные площадки, где могут быть размещены инвалиды на креслах-колясках, в соответствии с СП 59.13330. Перед трибунами вокруг беговой дорожки следует организовать горизонтальное место для детей-инвалидов на креслах-колясках. В этих местах в барьере вокруг дорожки нужны разрывы для выхода с дорожки.
6.4.4.3 Вокруг площадок для занятий детей-инвалидов следует предусматривать полосы безопасности шириной не менее 2 м, а по торцевым сторонам игровых площадок - не менее 3 м. Эти полосы могут являться продолжением площадок для занятий. Необходимо обеспечить беспрепятственный выкат инвалидов на креслах-колясках за пределы площадок. Цветовое решение полос безопасности спортивных площадок должно быть контрастным по отношению к окружающей среде. Они должны соответствовать требованиям безопасности и информативности.
6.4.4.4 Для инвалидов по зрению необходима защита сооружений от внешнего шума и эха. Целесообразно предусматривать акустические стены, обваловку площадок, использование зеленых насаждений.
Требования по проектированию площадок для легкой атлетики приведены в [13, раздел 4].
6.4.4.5 Спортивные площадки для инвалидов по зрению должны иметь ровную, хорошо утрамбованную грунтовую, травяную или из синтетических материалов поверхность,
Для ориентации инвалидов по зрению следует предусматривать:
- полосы ориентации шириной 1, 0-2, 0 м;
- зоны безопасности по внешнему контуру зон ориентации шириной 1, 0 м.
Ширина полосы ориентации должна быть не менее 1, 5 м, имеющей, начиная от края площадки, постепенно повышающийся уклон под углом 10°-12°. При ширине 2 м полоса ориентации может быть двускатной с высотой в коньке 0, 15-0, 25 м; в этом случае фактуры покрытия полосы и площадки могут быть одинаковыми. Далее необходим переход непосредственно к покрытию беговой дорожки. Полоса ориентации должна контрастировать по отношению к окружающей среде и отличаться по материалу от покрытия дорожки для бега или покрытия площадки (газона) для игр: газон - грунт, газон - искусственный материал.
6.4.4.6 Дорожки для занятий бегом по кругу для инвалидов по зрению следует проектировать согласно следующим требованиям (рисунок В.4 приложения В):
- длина - не менее 200 м, ширина (на две дорожки - с учетом разделительных полос) - 2, 49 м;
- обозначение поворота сменой покрытия и цвета покрытия на расстоянии 2, 4 м до начала поворота;
- виражи на повороте (максимальный уклон 6%).
6.4.4.7 Дорожку для бега по прямой (длина 75 м, зона старта 5 м, зона финиша 25 м) следует отделять от дорожки для бега по кругу. Для инвалидов по зрению покрытие зон старта и финиша должно отличаться от покрытия дорожки.
Стартовая линия должна быть фактурной. Ширина двух дорожек - 2, 24 м и дополнительно по 0, 15 м - на границы и среднюю линию (разных цветов). Ширина полос ориентации - 1, 2-1, 5 м, зоны безопасности - 1 м.
Обратный путь к старту должен быть отделен от дорожки для бега. Минимальное расстояние между ними - 2, 5 м, ширина пути 0, 8-1, 2 м. Основной ориентир - звуковой маяк.
6.4.4.8 Размеры места для прыжков в длину для инвалидов по зрению 5-8 м х 9-10 м. Дорожка для разбега длиной 25 м, шириной 1, 5-3, 0 м, полосы ориентации 1, 2-2 м с каждой стороны (рисунок В.5 приложения В).
Для ориентации за 4 м от края ямы устраивают фактурную полосу: 2, 7 м - зона оповещения, 0, 8 м - толчковая зона, 0, 5 м - мягкое покрытие. За ямой для приземления устанавливают акустический ориентир - звуковой маяк.
Обратный путь (ширина пути 1, 0 - 1, 3 м) отделяют от дорожки для разбега на расстоянии 2, 5 м.
При прыжках в длину для инвалидов с ПОДА вместо бруса для отталкивания допускается устраивать зону длиной 0, 8 м с расстоянием от передней кромки не более 1 м.
6.4.4.9 Для выполнения прыжков в высоту рекомендуется фактурной поверхностью выделить зону разбега. Рейка или матерчатые щиты, ее заменяющие, должны быть цветными, контрастными. Толщина подушки приземления 0, 5-0, 6 м (рисунок В.5 приложения В).
6.4.5 Плавание
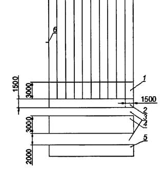
При проектировании новых плавательных бассейнов в ЦАС следует руководствоваться требованиями настоящего свода правил, а также учитывать требования СП 59.13330 и СП 136.13330. Основные требования, параметры и перечень помещений принимают с учетом СП 310.1325800. Параметры элементов ванны бассейна ЦАС приведены на рисунке В.6 приложения В.
Функциональное назначение плавательных бассейнов ЦАС - в соответствии с ГОСТ Р 57015. При этом общие требования к зданиям бассейнов для занятий детей-инвалидов должны соответствовать СП 59.13330 и СП 136.13330, в том числе части габаритов раздевалок, душевых и санитарных приборов; а ванны бассейна и качество воды - ГОСТ Р 53491.2, ГОСТ Р 53491.1, СанПиН 2.1.2.1188.
Санитарные требования к плавательным бассейнам ЦАС следует принимать по СанПиН 2.1.2.1188.
Ширину обходных дорожек ванн бассейнов, доступных для детей-инвалидов следует принимать с учетом их оснащения тактильной полосой и дополнительным вспомогательным оборудованием, в том числе для инвалидов с ПОДА, не менее:
у торцевой стенки ванны бассейна со стартовыми тумбочками - 3 м;
в ваннах бассейнов с устройствами для прыжков с учетом их габаритов и обеспечения подходов к ним - 4 м (с не выступающими над водой бортами), 3, 5 м (с выступающими над водой бортами).
Поверхность обходной дорожки вдоль ванны бассейна должна быть нескользкой и иметь уклон 1%-2% в сторону трапов. По внешней границе обходной дорожки бассейнов для детей-инвалидов следует предусматривать стационарные скамьи высотой сиденья 0, 5 м; на площади обходной дорожки следует предусматривать места для хранения кресел-колясок. Вдоль стен бассейна по периметру обходной дорожки рекомендуется устраивать сплошной поручень на высоте 0, 9 м от пола.
По внешнему контуру обходных дорожек открытых ванн бассейнов следует предусматривать стационарное ограждение, контрастное по отношению к общему фону помещения.
В местах входа и выхода из зала бассейна должны быть предусмотрены предупреждающие тактильные указатели. На обходных дорожках вдоль ванн бассейна для инвалидов по зрению направляющими указателями могут служить бортик ванны бассейна, ограждение, сливной лоток или тактильные направляющие.
Следует предусматривать непосредственный выход из душевой на обходную дорожку ванны бассейна, с целью обеспечения беспрепятственного доступа инвалидов на креслах-колясках, или проходной ножной душ длиной (по направлению движения из душевой) не менее 1, 8 м, с учетом требований, обеспечивающих беспрепятственное передвижение детей-инвалидов на креслах-колясках или с нарушением зрения. Допускается при передвижении из душевой на обходную дорожку ванны бассейна для инвалидов на креслах-колясках вместо проходных ванн применять коврики, пропитанные антисептиками.
К ваннам бассейнов должны предусматриваться приспособления для спуска детей-инвалидов в воду.
На внутренней стенке ванны бассейна следует предусматривать поручни.
Следует предусматривать возможность установки звукового и светового маяков в торцах ванн бассейна.
У краев ванн бассейна и ступеней римской лестницы следует предусматривать контрастную окраску.
6.4.6 Пулевая стрельба
Спортивная зона для пулевой стрельбы детей-инвалидов может размещаться в открытых, полуоткрытых и крытых сооружениях. При проектировании спортивной зоны для пулевой стрельбы следует запроектировать площадку для стрельбы на 10, 25 и 50 м. Ширина линии огня должна быть не менее 3 м. Для детей на креслах-колясках ширину стрелкового места следует предусматривать не менее 1, 5 м. Зона судей должна быть не менее 3 м по ширине. Места для зрителей следует размещать не менее, чем за 7 м от линии огня. Свободная зона должна быть не менее 2 м. При проектировании сооружений открытых или полуоткрытых спортивных зон для пулевой стрельбы следует предусматривать ориентацию галереи юг-север, чтобы солнце двигалось за спинами спортсменов.
Схема спортивной зоны для пулевой стрельбы приведена на рисунке В.7 приложения В.
6.4.7 Стрельба из лука
Спортивная зона для стрельбы из лука инвалидов с ПОДА должна быть прямоугольной, ширина места стрелка должна составлять 1, 3 м. Общая длина зала для стрельбы из лука должна быть 30 м, высота зала - не менее 5 м. Для каждого спортсмена на кресле-коляске на линии стрельбы следует обеспечить площадку с габаритами не менее 1, 5х1, 5 м для размещения и разворота. Вход для зрителей и спортсменов может быть организован в любом месте в зоне зрителей.
Схема спортивной зоны для стрельбы из лука приведена на рисунке В.8 приложения В.
6.4.8 Танцы на колясках
6.4.8.1 Для тренировок и соревнований необходимо предусмотреть две зоны:
- танцевальная зона - основное пространство в помещении, где непосредственно проводятся танцы;
- ожидальная зона - составная часть танцевальной зоны - непроходное пространство (зона или помещение), расположенное непосредственно перед танцевальной зоной.
6.4.8.2 Требования к танцевальной зоне
Площадь танцевальной зоны - 250 м2 с учетом проведения региональных соревнований.
Пол между помещениями всего комплекса танцевальных помещений должен быть на одной отметке; пол непосредственно танцевальной зоны должен быть без уклона.
При расположении в зале мест для зрителей первый ряд (в котором предусматриваются места для инвалидов на креслах-колясках) должен находиться на уровне пола.
Для показа видеосъемки при проведении соревнований должен предусматриваться экран с режимом отображения (видеосъемки в онлайн-режиме и/или в реальном времени).
Следует предусматривать пространство для размещения одного-двух мест для управления звукового оборудования системы.
Зона безопасности по периметру танцевального зала должна составлять не менее 3 м.
Высота над полом до низа выступающих конструкций над всей поверхностью танцевальной зоны должна быть около 6 м.
Схема танцевальной зоны и ее составляющих приведена на рисунке В.9 приложения В.
6.4.9 Торбол
Площадка для торбола должна быть прямоугольной формы длиной 16 м и шириной 7 м. Две зоны для тренеров должны быть размещены в пределах 3 м от центральной линии и напротив судейской зоны. Каждая тренерская зона должна быть 4 м длиной и 3 м шириной и находиться на расстоянии от 2 до 4 м от игровой зоны. Места для зрителей следует располагать не менее чем в 2 м от игровой и тренерской зоны. Покрытие должно быть синтетическим (рулонное или наливное).
Схема спортивной зоны для торбола приведена на рисунке В.10 приложения В.
6.4.10 Тхэквондо
Площадка для тхэквондо для инвалидов с ПОДА должна включать зону безопасности и зону для соревнований.
При необходимости, площадка для тхэквондо для инвалидов с ПОДА может быть установлена на платформе высотой 0, 6-1, 0 м от уровня пола; внешняя часть платформы за ограничительной линией должна иметь уклон менее чем 30°.
Зона соревнований должна быть квадратной формы размерами не менее 10х10 м и не более 12х12 м. В центре зоны соревнований должна быть зона поединка восьмиугольной формы. Диаметр зоны поединка должен составлять приблизительно 8 м, каждая сторона восьмиугольника должна иметь длину приблизительно 3, 3 м.
Схема спортивной зоны для тхэквондо для инвалидов с ПОДА приведена на рисунке В.11 приложения В.
6.4.11 Футбол (7х7)
Размер игрового поля должен быть длиной 70-75 м и шириной 50-55 м. На расстоянии 1 м от игрового поля следует располагать техническую зону длиной 7 м и шириной 3 м. Зона безопасности по периметру поля должна составлять не менее 3 м. Покрытие должно быть травяным натуральным или синтетическим, гладким и однородным.
Схема спортивной зоны для футбола (7х7) приведена на рисунке В.12 приложения В.
6.4.12 Футбол ампутантов
Покрытие игрового поля может быть травяным или другим, рекомендованным международной федерацией футбола.
Размер игрового поля должен быть длиной 50-70 м, шириной 30-60 м. Для игры применяют ворота высотой 2 м, шириной 5 м, глубиной 1 м.
Зона безопасности по периметру поля должна составлять не менее 3 м.
Размещение указанных полей допускается предусматривать в крытых или открытых сооружениях.
Схема спортивной зоны для футбола ампутантов приведена на рисунке В.13 приложения В.
Административный блок формируется из следующих групп помещений: административно-управленческого, учебно-образовательного и тренерского персонала; служебного и хозяйственно-бытового назначения.
В составе помещений административно-управленческого персонала, а также служебного и хозяйственно-бытового назначения предусматриваются: вестибюль с гардеробом; холл для посетителей; приемная с местом для секретаря; кабинет директора; кабинет заместителя директора; рабочие кабинеты специалистов; бухгалтерия; касса; кабинет заведующего хозяйством; архив; помещения отдыха для водителей служебного транспорта; кладовая уборочного инвентаря; бытовые помещения для технического персонала; помещение охраны.
Площади этих помещений следует предусматривать по заданию на проектирование на основании предусмотренных в соответствии с СП 118.13330 показателей (на одного человека или минимальных площадей) с учетом вместимости объекта и штатного расписания административного персонала.
Планировочные решения помещения административного блока должны соответствовать требованиям СП 118.13330, а по составу помещений - организационной структуре ЦАС.
В составе служебно-бытовых помещений могут быть следующие помещения: вестибюль с гардеробом и санузлом, помещение инженерно-технического персонала, комната отдыха персонала, кабинет директора, заместителя директора по хозяйственной части, бытовые помещения персонала с комнатой отдыха, кладовые сезонной одежды и обуви, мебели и инвентаря, комната бухгалтерии, архив, парикмахерская, мастерская текущего ремонта оборудования и инвентаря, хозяйственный склад, радиоузел, АТС, прачечная-постирочная.
Состав помещений определяется заданием на проектирование, площади принимаются по СП 118.13330.
В зданиях ЦАС могут предусматриваться пищеблок или буфет-раздаточная.
В составе пищеблока должны быть раздельные обеденные залы для детей-спортсменов и персонала (педагогов, тренеров, обслуживающего персонала и т.п.).
Обеденные залы для детей-инвалидов рекомендуется проектировать в соответствии с принятой организацией питания в одну смену. Площадь обеденного зала определяется из расчета не менее 2, 4 м2/место. При числе более 150 мест следует предусматривать несколько залов (количество устанавливается заданием на проектирование). Рядом рекомендуется предусматривать обеденный зал для персонала площадью не менее 14-16 м2.
Производственные помещения столовой следует проектировать в соответствии с учетом местных условий их обеспечения сырьем и/или полуфабрикатами, а также специальных меню для спортсменов. Столовую следует проектировать в соответствии с требованиями СанПиН 2.4.5.2409, СанПиН 2.4.2.2821 и СП 251.1325800.
6.5.4.1 В комплексе следует предусматривать актовый зал. Площадь актового зала проектируется на 75% численности занимающихся. Количество мест для инвалидов на креслах-колясках устанавливается заданием на проектирование.
Параметры зрительного зала должны удовлетворять требованиям демонстрации кинофильмов и т.п. Рекомендуемая высота зала в чистоте - не менее 6 м.
Площадь одного посадочного места в зрительном зале (без учета эстрады) должна быть не менее 2, 25 м2 (1, 5х1, 5 м) для инвалидов на креслах-колясках, для инвалидов с ПОДА - не менее 1, 62 м2 (0, 6х1, 2 м), для инвалидов с нарушениями слуха и зрения - по СП 138.13330.
Если планируется использование зала для проведения общешкольных мероприятий, поверхность пола рекомендуется проектировать горизонтальной.
Выходы из зрительного зала, предназначенные для основных зрительских потоков, должны иметь ширину проема 1, 5-2, 0 м.
Рекомендуемая площадь эстрады - 70 м2. Пол эстрады должен быть выше пола зала на 0, 8 м. Глубину эстрады следует принимать не менее 3 м. При зрительном зале следует проектировать рекреацию и пандус на сцену с уклоном 8% или лестницу-подъемник и уборные в соответствии с СП 251.1325800, СП 59.13330.
6.5.4.2 В комплексе рекомендуется предусматривать библиотеку, включающую читальный зал (2, 5 м2/место), книгохранилище площадью не менее 18 м2 и информационно-справочную комнату площадью не менее 12 м2. Количество мест в читальном зале рекомендуется принимать 10% от числа обучающихся.
В спортивных сооружениях в соответствии с заданием на проектирование предусматриваются помещения медицинского обслуживания и контроля. Максимальный набор помещений медицинского блока может включать:
- помещения медицинского назначения для оказания первой медицинской помощи;
- помещения медико-восстановительного центра, в том числе: массажные, блок термических процедур и пр.;
- помещения для взятия проб допинг-контроля.
Перечень медицинских помещений в составе спортивных сооружений следует устанавливать заданием на проектирование согласно СП 158.13330 и согласно таблице 6 СП 332.1325800.2017.
Помещения для оказания первой медицинской помощи следует размещать в удобной связи с эвакуационным выходом из здания, а также:
- для спортсменов - с местом проведения спортивных мероприятий;
- для зрителей, иных присутствующих на сооружении лиц - с местами постоянного пребывания данных лиц.
Размеры и взаимосвязь помещений должны давать возможность транспортирования носилок и движения кресел-колясок.
На спортивных комплексах, состоящих из нескольких сооружений, блок помещений медицинского назначения предусматривается в одном здании, а в остальных - комнаты для оказания первой медицинской помощи площадью 9 м2 каждая. Ширина коридоров, используемых для ожидания, при двустороннем расположении кабинетов должна быть не менее 3, 2 м, при одностороннем - не менее 2, 8 м.
Помещения медико-восстановительного центра следует располагать обособленной группой. При расположении медико-восстановительного центра в отдельном здании в составе его помещений предусматриваются вестибюль и гардеробная верхней одежды согласно СП 158.13330.
Помещения для допинг-контроля следует предусматривать в составе спортивных сооружений категории С по заданию на проектирование.
Зона для взятия проб допинг-контроля проектируется вблизи спортивной зоны и должна включать:
- помещение для ожидания для спортсменов с холодильником, телевизором, а также оборудованием для обеспечения питьевого режима, информационным стендом;
- помещение процедуры допинг-контроля со столом врача, рабочим столом для взятия проб, сейфом для хранения проб, шкафом для одежды, холодильником (по заданию на проектирование - столик взятия анализов крови);
- открытый туалетный отсек с одним унитазом, одним умывальником и душевой кабиной, примыкающий к помещению допинг-контроля.
К помещению ожидания должна примыкать закрывающаяся уборная с одним унитазом и одним умывальником.
При проектировании сооружений для соревнований спортсменов-инвалидов с ПОДА размеры и оборудование душевых и уборных в составе зоны для взятия проб допинг-контроля должны соответствовать требованиям СП 59.13330 с уточнением габаритов спортивных колясок.
Для взрослых, сопровождающих детей-инвалидов, а также занимающихся с ними (для родителей или родственников, педагогов, тренеров и других), необходимы помещения для проживания отдельно.
Проектировать гостиницу следует по СП 257.1325800.
Вместимость гостиницы, число номеров, в том числе с учетом видов нозологии проживающих, и их вместимость определяется заданием на проектирование.
При этом не менее 5% номеров следует проектировать с учетом расселения любых категорий посетителей согласно требованиям СП 59.13330.
При проектировании двухместных номеров допускается предусматривать их спаренными с одним общим санузлом.
В составе помещений гостиницы предусматриваются: вестибюль с гардеробом; камера хранения; буфет; помещение администратора; санитарно-бытовой блок; номера на два места; комната дежурного персонала; кладовые чистого и грязного белья; кладовая уборочного инвентаря; комната чистки и глажения одежды; душевая с умывальником и унитазом.
Площади этих помещений и иные требования устанавливаются в задании на проектирование в соответствии с СП 118.13330 и СП 257.132580.
7.1 Набор инженерного оборудования следует принимать по СП 118.13330. Инженерное оборудование должно быть запроектировано таким образом, чтобы при его эксплуатации выполнение установленных требований к микроклимату помещений и другим условиям обеспечивало эффективное расходование энергетических ресурсов.
7.2 Водопровод, канализация
Системы водопровода, канализации и горячего водоснабжения следует проектировать в соответствии с действующими нормативными документами.
В зданиях следует предусматривать хозяйственно-питьевое, противопожарное и горячее водоснабжение, а также канализацию и водостоки, проектируемые в соответствии с СП 30.13330 и СП 118.13330.
7.3 Отопление, вентиляция и кондиционирование
Отопление, вентиляцию, расчетные параметры воздуха и кратность воздухообмена в помещениях следует принимать согласно СП 60.13330. Кондиционирование административных кабинетов предусматривается по заданию на проектирование.
Систему вентиляции следует предусматривать с раздельными вентиляционными коробами для каждой из жилых групп, размещенных в пределах одного пожарного отсека, согласно СП 60.13330 с учетом требований СП 7.13130.
На воздуховодах систем общеобменной вентиляции необходимо предусматривать противопожарные клапаны, воздушные затворы, место и расположение которых принимают по ГОСТ 30494.
Отопительные приборы, трубопроводы с температурой поверхности доступных частей выше 75°С в помещениях, лестничных клетках вестибюлях должны иметь защитные съемные ограждения или тепловую изоляцию трубопроводов согласно СП 60.13330, СП 118.13330.
7.4 Электроснабжение
Электрооборудование объектов следует проектировать в соответствии с требованиями СП 52.13330, СП 6.13130 и [8].
В зданиях ЦАС следует предусматривать электроосвещение, силовое электрооборудование, телефонизацию, радиофикацию, Интернет, телевизионные антенны и звуковую сигнализацию в соответствии с СП 52.13330, СП 133.13330, СП 134.13330 и [8].
Внутри жилого блока и жилых помещений гостиницы электрические сети должны быть оборудованы устройствами защитного отключения.
Требования по проектированию электроснабжения, электротехнических и слаботочных устройств в спортивно-тренировочных помещениях приведены в [10] - [12].
В зданиях ЦАС установку штепсельных розеток рекомендуется предусматривать в защитном исполнении в соответствии с размещением оборудования, предусмотренным технологической частью проекта.
8.1.1 Степень огнестойкости, класс конструктивной пожарной опасности и наибольшую высоту зданий ЦАС следует принимать в соответствии с таблицей 6.2 СП 2.13130.2012 и [2].
8.1.2 Стены с внутренней стороны, перегородки и перекрытия в зданиях класса конструктивной пожарной опасности С1 должны иметь класс пожарной опасности не ниже К0 (15).
8.1.3 Трехэтажные жилые и учебные корпуса ЦАС допускается проектировать в крупных городах, кроме расположенных в сейсмических районах, при условии их оборудования автоматической пожарной сигнализацией с дополнительной автоматической передачей сигнала о пожаре непосредственно в подразделения пожарной охраны по телекоммуникационным линиям.
Проезды и подъезды к данным зданиям следует проектировать исходя из необходимости обеспечения доступа пожарных подразделений непосредственно в каждое помещение через оконные проемы на фасаде.
8.1.4 Для оборудования путей движения спортсменов, использующих для передвижения спортивные кресла-коляски, следует применять лифты с размерами кабины не менее 2000х1400 мм (ширина х глубина) с шириной дверного проема 1, 2 м.
8.1.5 Пути эвакуации, эвакуационные выходы, лестницы и лестничные клетки должны отвечать требованиям подраздела 5.2 СП 1.13130.2009, как для стационаров лечебных заведений, а также требованиям СП 59.13330.
8.1.6 Здания ЦАС следует оборудовать пассажирскими лифтами, доступными для инвалидов и/или подъемными платформами. Выбор средств для транспортирования и необходимость сочетания этих средств устанавливаются в задании на проектирование. Выбор числа, параметров и характеристик лифтов для транспортирования при эвакуации проводится по расчету с учетом максимально возможной численности инвалидов в здании, исходя из номенклатуры лифтов и нозологии учащихся.
8.1.7 В здании должна быть обеспечена своевременная эвакуация за необходимое время. При этом на этажах могут быть предусмотрены безопасные зоны, в которых инвалиды могут находиться до их эвакуации лифтами или спасения пожарными подразделениями в соответствии с требованиями СП 59.13330.
8.1.8 Помещение безопасной зоны должно отделяться от других помещений в соответствии с 6.2.27 СП 59.13330.2016 и быть незадымляемым.
8.1.9 Допускается для эвакуации предусматривать наружные эвакуационные лестницы (лестницы 3-го типа), если они отвечают требованиям 6.2.21 СП 59.13330.2016. Лестница должна находиться на расстоянии более 1, 0 м от оконных и дверных проемов и иметь аварийное освещение.
8.1.10 Технические средства информирования, ориентирования и сигнализации, размещаемые в помещениях, предназначенных для пребывания различных категорий инвалидов, и на путях их движения, должны быть унифицированы и обеспечивать визуальную, звуковую, радио- и тактильную информацию и сигнализацию, обеспечивающие указание направления движения.
8.1.11 Физкультурно-спортивные помещения и сооружения следует проектировать в соответствии с подразделом 8.5 СП 59.13330.2016.
8.1.12 При проектировании пожарной, охранной и тревожной сигнализации и средств связи следует руководствоваться СП 5.13130, СП 132.13330.
В зданиях ЦАС должны быть созданы условия, обеспечивающие безопасное нахождение обучающихся, педагогического, тренерского, административно-хозяйственного состава и иного вспомогательного персонала, а также посетителей. Конструктивные, технологические и организационные мероприятия по обеспечению безопасности необходимо предусматривать с учетом требований ГОСТ Р 55529, [1], [6].
Планировочные и конструктивные решения, обеспечивающие антитеррористическую защищенность зданий ЦАС, следует выполнять в соответствии с требованиями СП 132.13330, а также [7].
При проектировании зданий и сооружений ЦАС, в которых при эксплуатации предусматривается установление специального пропускного режима, необходимо предусматривать раздел документации с описанием мероприятий и обоснованием проектных решений (включая технические средства), направленных на предотвращение несанкционированного доступа на объект физических лиц, транспортных средств и грузов, в соответствии с [3, статья 48, часть 12, пункт 12].
Приложение А
Таблица А.1
|
Объект спорта |
Дисциплина |
Спорт с ПОДА |
Спорт глухих |
Спорт слепых |
Спорт лиц с интеллектуальными нарушениями |
|
Бассейн (50 м) |
Плавание |
+ |
+ |
+ |
+ |
|
Бассейн (25 м) |
Плавание |
+ |
+ |
+ |
+ |
|
Зал/арена |
Армспорт |
+ |
+ | ||
|
Бадминтон |
+ |
+ |
- |
+ | |
|
Баскетбол на колясках |
+ |
- |
- |
- | |
|
Борьба вольная, греко-римская |
- |
+ |
+ |
- | |
|
Бочча |
+ |
- |
- |
- | |
|
Волейбол сидя |
+ |
- |
- |
- | |
|
Голбол |
- |
- |
+ |
- | |
|
Дзюдо |
- |
+ |
+ |
+ | |
|
Настольный теннис |
+ |
+ |
+ |
+ | |
|
Пауэрлифтинг |
+ |
- |
+ |
+ | |
|
Регби на колясках |
+ |
- |
- |
- | |
|
Танцы на колясках |
+ |
- |
- |
- | |
|
Теннис |
+ |
+ |
+ | ||
|
Торбол |
+ | ||||
|
Тхэквондо |
+ |
+ |
+ | ||
|
Фехтование |
+ |
- |
- |
- | |
|
Тир стрелковый |
Пулевая стрельба |
+ |
+ |
- |
- |
|
Арена/стадион специализированный для футбола/стадион универсальный |
Легкая атлетика |
+ |
+ |
+ |
+ |
|
Мини-футбол (5х5) |
- |
- |
+ |
- | |
|
Футзал (5х5) |
- |
+ |
+ |
+ | |
|
Футбол (7х7) |
- |
- |
- |
+ | |
|
Футбол ампутантов |
+ |
- |
- |
- | |
|
Футбол лиц с ДЦП |
+ |
- |
- |
- | |
|
Комплекс конноспортивный с площадными элементами |
Конный спорт |
+ |
- |
- |
+ |
|
Зал/арена/поле спортивное |
Стрельба из лука |
+ |
- |
- |
- |
|
Примечание - Требования к спортивным зонам для баскетбола на колясках, бочча, волейбола сидя, голбола, настольного тенниса, пауэрлифтинга, регби на колясках, тенниса, фехтования и футзала (5х5) приведены в СП 332.1325800. | |||||
Приложение Б
Таблица Б.1
|
Технические данные |
Габариты |
Ед. изм. |
|
Спортивная коляска для игры в бадминтон | ||
|
Высота спинки |
350 |
мм |
|
Диаметр заднего колеса |
540 (559, 590, 620) |
мм |
|
Диаметр переднего колеса |
72 |
мм |
|
Грузоподъемность |
120 |
кг |
|
Ширина сиденья (под заказ) |
- |
- |
|
Кресло-коляска для стендовой стрельбы | ||
|
Высота спинки |
310 |
мм |
|
Диаметр переднего колеса |
125 |
мм |
|
Диаметр обода заднего колеса |
540 |
мм |
|
Грузоподъемность |
120 |
кг |
|
Спортивная коляска для танцев | ||
|
Ширина сиденья |
360 (410, 460) |
мм |
|
Глубина сиденья |
370 |
мм |
|
Максимальная ширина в рабочем состоянии |
720 (770, 820) |
мм |
|
Ширина без колес |
520 |
мм |
|
Длина в рабочем состоянии |
780 |
мм |
|
Диаметр заднего колеса |
600 |
мм |
|
Диаметр переднего колеса |
80 |
мм |
|
Развал задних колес |
10 |
град |
|
Высота от пола до сиденья |
460 |
мм |
|
Высота от пола до спинки |
720 |
мм |
|
Грузоподъемность |
100 |
кг |
|
Вес |
10 |
кг |
|
Спортивная коляска | ||
|
Ширина сиденья |
360 (380, 400, 430, 450, 480) |
мм |
|
Глубина сиденья |
360 |
мм |
|
Вес коляски |
13, 8 (14; 14, 2; 14, 4; 14, 6; 14, 8) |
кг |
|
Общая длина |
850 |
мм |
|
Ширина в сложенном состоянии |
320 |
мм |
|
Вес рамы |
8, 9 (9, 1; 9, 3; 9, 5; 9, 7; 9, 9) |
кг |
|
Общая ширина |
590 (610, 630, 660, 680, 710) |
мм |
|
Угол наклона спинки (нерегулируемый) |
90 |
град |
|
Грузоподъемность |
130 |
кг |
|
Высота спинки (нерегулируемая) |
340 |
мм |
|
Общая высота |
760 |
мм |
|
Спортивная коляска для игры в теннис | ||
|
Ширина сиденья |
360 (410) |
мм |
|
Максимальная ширина в рабочем состоянии |
830 (880) |
мм |
|
Диаметр заднего колеса |
660 |
мм |
|
Диаметр переднего колеса |
80 |
мм |
|
Высота от пола до сиденья |
500 |
мм |
|
Высота от пола до спинки |
680 |
мм |
|
Грузоподъемность |
100 |
кг |
|
Вес |
10 |
кг |
|
Спортивная коляска для игр в настольный теннис | ||
|
Ширина сиденья |
410 |
мм |
|
Максимальная ширина в рабочем состоянии |
800 |
мм |
|
Глубина сиденья |
360 |
мм |
|
Высота спинки |
250 |
мм |
|
Диаметр заднего колеса |
610 |
мм |
|
Диаметр переднего колеса |
100 |
мм |
|
Высота от пола до сиденья |
500 |
мм |
|
Высота ручек |
790-860 |
мм |
|
Грузоподъемность |
100 |
кг |
|
Вес |
11, 2 |
кг |
|
Спортивная коляска для игры в баскетбол | ||
|
Ширина сиденья |
360 (380, 400) |
мм |
|
Максимальная ширина в рабочем состоянии |
880 |
мм |
|
Глубина сиденья |
360 |
мм |
|
Высота спинки |
220 |
мм |
|
Диаметр заднего колеса |
660 |
мм |
|
Диаметр переднего колеса |
80 |
мм |
|
Высота от пола до сиденья |
540 |
мм |
|
Высота общая |
690 |
мм |
|
Грузоподъемность |
100 |
кг |
|
Вес |
10 |
кг |
|
Примечание - В скобках приведены варианты исполнения. | ||
Приложение В

1 - зона безопасности; 2 - стойка; 3 - судейская вышка; 4 - граница спортивной зоны; 5 – сетка
Рисунок В.1 - Схема спортивной зоны для одиночной игры в бадминтон для детей-инвалидов


Рисунок В.З - Схема манежа для паралимпийского драйвинга
(без учета трибун и зоны посадки на лошадь)


Рисунок В.4- Схема дорожки для бега


Рисунок В.5 - Схема-зон для прыжков


Рисунок Р.6- Схема ванны бассейна для плавания


Рисунок В.7 - Схема спортивной зоны для пулевой стрельбы для детей-инвалидов

1 - граница зала; 2 - панели (стрелоуловители); 3 - линия мишеней (отметка 25 м); 4 - линия стрельбы; 5 - линия ожидания; 6 - зона контроля доступа/зона зрителей; 7 - линия стрельбы (отметка 18 м); 8 - мишень
Рисунок В.8 - Схема спортивной зоны для стрельбы из лука для детей-инвалидов с ПОДА


1 - места расположения видеокамер; 2 - места расположения судей; 3 - зона ожидания площадью 60 м2; 4 - танцпол площадью 100 м2; 5 - границы танцевальной зоны площадью 255 м2; 6- зона расположения музыкальной системы (аппаратуры); 7- границы видео экрана для онлайн-трансляций во время проведения соревнований; 8 - балетный станок для тренировок; 9 – трансформирующаяся стенка; 10 - расположение зоны фотографа
Рисунок R.9 - Схема танцевальной зоны для танцев на колясках

1 - маркеры веревочные; 2 – маты; 3 – ворота; 4 - зона для тренеров; 5 - зона судей
Рисунок В. 10 - Схема спортивной зоны для торбола


1 - участник № 1; 2 - участник № 2; 3 - зачетная линия; 4 - внешняя линия; 5 - тренер; 6 - врач; 7 - судья; 8 - первый судья; 9 - второй судья; 10 - третий судья; 11- видеоарбитр; 12-ограничительная линия
Рисунок В. 11 - Схема спортивной зоны для тхэквондо для детей-инвалидов с ПОДА

Примечание - Ширина линий разметки должна быть не более 12 см.
1 - техническая зона (размеры 7 × 3 м, 1 м от игрового поля, 12 мест, расположенных прямо за технической зоной); 2 ворота (ширина 5 м, высота 2 м); 3 зона безопасности
Рисунок В. 12 - Схема спортивной зоны для футбола (7×7)

Примечание - Ширина линий разметки должна быть не более 12 см.
1 - техническая зона (размеры 7 × 3 м, 1 м от игрового поля, 12 мест, расположенных прямо за технической зоной); 2 - ворота (ширина 5 м, высота 2 м, глубина 1 м); 3 зона безопасности
Рисунок В.13 - Схема спортивной зоны для футбола ампутантов
Библиография
[1] Федеральный закон от 30 декабря 2009 г. N 384-ФЗ "Технический регламент о безопасности зданий и сооружений"
[2] Федеральный закон от 22 июля 2008 г. N 123-ФЗ "Технический регламент о требованиях пожарной безопасности"
[3] Федеральный закон от 29 декабря 2004 г. N 190-ФЗ "Градостроительный кодекс Российской Федерации"
[4] Приказ Росстата от 17 ноября 2017 г. N 766 "Об утверждении статистического инструментария для организации Министерством спорта Российской Федерации федерального статистического наблюдения в сфере физической культуры и спорта"
[5] Приказ ГКФТ РФ от 04 февраля 1998 г. N 44 "Об утверждении планово-расчетных показателей количества занимающихся и режимов эксплуатации физкультурно-оздоровительных и спортивных сооружений"
[6] Постановление Правительства Российской Федерации от 18 апреля 2014 г. N 353 "Об утверждении Правил обеспечения безопасности при проведении официальных спортивных соревнований"
[7] Постановление Правительства Российской Федерации от 6 марта 2015 г. N 202 "Об утверждении требований к антитеррористической защищенности объектов спорта и формы паспорта безопасности объектов спорта"
[8] ПУЭ Правила устройства электроустановок
[9] СП 2.1.2.3304-15 Санитарно-эпидемиологические требования к размещению, устройству и содержанию объектов спорта
[10] СП 31-112-2004 Физкультурно-спортивные залы. Часть 1
[11] СП 31-112-2004 Физкультурно-спортивные залы. Часть 2
[12] СП 31-113-2004 Бассейны для плавания
[13] СП 31-115-2006 Открытые плоскостные физкультурно-спортивные сооружения


