СП 420.1325800.2018 ИНЖЕНЕРНЫЕ ИЗЫСКАНИЯ ДЛЯ СТРОИТЕЛЬСТВА В РАЙОНАХ РАЗВИТИЯ ОПОЛЗНЕВЫХ ПРОЦЕССОВ. ОБЩИЕ ТРЕБОВАНИЯ
Engineering surveys for construction in the areas of development of landslide processes. General requirements
Дата введения - 22 июня 2019 г.
Введен впервые
Введение
Настоящий свод правил разработан с целью реализации основных положений Федеральных законов от 29 декабря 2004 г. N 190-ФЗ "Градостроительный кодекс Российской Федерации", от 30 декабря 2009 г. N 384-ФЗ "Технический регламент о безопасности зданий и сооружений", от 27 декабря 2002 г. N 184-ФЗ "О техническом регулировании".
При разработке учтены требования постановления Правительства Российской Федерации от 19 января 2006 г. N 20 "Об инженерных изысканиях для подготовки проектной документации, строительства, реконструкции объектов капитального строительства" и постановления Правительства Российской Федерации от 16 февраля 2008 г. N 87 "О составе разделов проектной документации и требованиях к их содержанию".
Свод правил по инженерным изысканиям для строительства в районах развития оползневых процессов, разработан в развитие обязательных положений и требований СП 47.13330.2016 "Инженерные изыскания для строительства. Основные положения", требований СП 317.1325800.2017 "Инженерно-геодезические изыскания для строительства. Общие правила производства работ"и других нормативных документов, регламентирующих общие правила производства работ.
Свод правил подготовлен ООО "ИГИИС" (руководитель работы - канд. геол.-минерал. наук М.И. Богданов, ответственный исполнитель - канд. геол.-минерал. наук В.А. Елкин, исполнители - Г.В. Мисник, Е.В. Леденева, С.А. Гурова, Н.П. Иевлева); д-р техн. наук С.И. Маций; д-р геол.-минерал. наук И.К. Фоменко; д-р геол.-минерал. наук Е.В. Безуглова; канд. геол.-минерал. наук А.Л. Стром.
Настоящий свод правил устанавливает общие требования при выполнении инженерных изысканий в районах возможного развития и активизации (далее - районов развития) оползневых процессов для подготовки документов территориального планирования, документации по планировке территории и выбору площадок (трасс) строительства, при подготовке проектной документации объектов капитального строительства, строительстве, эксплуатации и реконструкции зданий и сооружений.
Настоящий свод правил не распространяется на выполнение инженерных изысканий в районах возможного развития подводных оползневых процессов.
В настоящем своде правил использованы ссылки на следующие нормативные документы:
ГОСТ 5686-2012 Грунты. Методы полевых испытаний сваями
ГОСТ 12071-2014 Грунты. Отбор, упаковка, транспортирование и хранение образцов
ГОСТ 12248-2010 Грунты. Методы лабораторного определения характеристик прочности и деформируемости
ГОСТ 19912-2012 Грунты. Методы полевых испытаний статическим и динамическим зондированием
ГОСТ 20276-2012 Грунты. Методы полевого определения характеристик прочности и деформируемости
ГОСТ 20522-2012 Грунты. Методы статистической обработки результатов испытаний
ГОСТ 21830-76 Приборы геодезические. Термины и определения
ГОСТ 22268-76 Геодезия. Термины и определения
ГОСТ 23278-2014 Грунты. Методы полевых испытаний проницаемости
ГОСТ 24846-2012 Грунты. Методы измерения деформаций оснований зданий и сооружений
ГОСТ 25100-2011 Грунты. Классификация
ГОСТ 30416-2012 Грунты. Лабораторные испытания. Общие положения
ГОСТ 30672-2012 Грунты. Полевые испытания. Общие положения
ГОСТ 31861-2012 Вода. Общие требования к отбору проб
ГОСТ Р 21.1101-2013 Система проектной документации для строительства. Основные требования к проектной и рабочей документации
ГОСТ Р 56353-2015 Грунты. Методы лабораторного определения динамических свойств дисперсных грунтов
СП 14.13330.2018 "СНиП II-7-81* Строительство в сейсмических районах"
СП 47.13330.2016 "СНиП 11-02-96 Инженерные изыскания для строительства. Основные положения"
СП 115.13330.2016 "СНиП 22-01-95 Геофизика опасных природных воздействий"
СП 317.1325800.2017 Инженерно-геодезические изыскания для строительства. Общие правила производства работ
Примечание - При пользовании настоящим сводом правил целесообразно проверить действие ссылочных документов в информационной системе общего пользования - на официальном сайте федерального органа исполнительной власти в сфере стандартизации в сети Интернет или по ежегодному информационному указателю "Национальные стандарты", который опубликован по состоянию на 1 января текущего года, и по выпускам ежемесячного информационного указателя "Национальные стандарты" за текущий год. Если заменен ссылочный документ, на который дана недатированная ссылка, то рекомендуется использовать действующую версию этого документа с учетом всех внесенных в данную версию изменений. Если заменен ссылочный документ, на который дана датированная ссылка, то рекомендуется использовать версию этого документа с указанным выше годом утверждения (принятия). Если после утверждения настоящего свода правил в ссылочный документ, на который дана датированная ссылка, внесено изменение, затрагивающее положение, на которое дана ссылка, то это положение рекомендуется применять без учета данного изменения. Если ссылочный документ отменен без замены, то положение, в котором дана ссылка на него, рекомендуется применять в части, не затрагивающей эту ссылку. Сведения о действии сводов правил целесообразно проверить в Федеральном информационном фонде стандартов.
В настоящем своде правил применены термины по ГОСТ 21830, ГОСТ 22268, [1], [2], а также следующие термины с соответствующими определениями.
3.1 деформационный знак: Геодезический знак, установленный на наблюдаемом объекте, меняющий свое плановое и/или высотное положение вследствие развития деформаций.
3.2 оползневой процесс: Смещение вниз по склону некоторого объема грунтовых масс под действием гравитационных сил без потери контакта с подстилающей толщей.
3.3 оползневая опасность: Вероятность развития и/или активизации оползневого процесса с определенными характеристиками (тип, объем, скорость, размеры угрожаемой территории), негативные последствия которого могут нанести вред жизни и здоровью людей, причинить ущерб проектируемым и существующим зданиям и сооружениям, окружающей среде.
3.4 оползнеопасный склон: Склон, на котором возможно развитие оползневых процессов при воздействии природных и (или) техногенных факторов.
3.5 опорный знак: Геодезический пункт, относительно которого определяются плановые смещения деформационных знаков.
3.6 опорный репер: Геодезический пункт, относительно которого определяются смещения деформационных знаков по высоте.
3.7 основной деформирующийся горизонт (ОДГ): Геологическое тело, деформации которого приводят к нарушению естественного залегания и деформациям всего комплекса геологических тел в пределах оползневой зоны.
3.8 откос: Вертикальный или наклонный участок поверхности земли, сформированный в результате инженерно-хозяйственной деятельности человека.
3.9 устойчивость склона (откоса): Способность склона (откоса) сохранять структуру и строение в течение длительного времени.
4.1 Инженерные изыскания для строительства в районах развития оползневых процессов выполняются с целью получения достоверных и достаточных материалов и данных о природных условиях территории (района, площадки, трассы), необходимых для обоснования планирования градостроительной деятельности и разработки проектных решений, в том числе мероприятий инженерной защиты объектов капитального строительства, а также материалов, необходимых для проведения расчетов конструкций сооружений инженерной защиты.
4.2 Инженерные изыскания для строительства в районах развития оползневых процессов должны выполняться в порядке, установленном нормативными правовыми актами Российской Федерации, СП 47.13330, СП 317.1325800, настоящим сводом правил и другими нормативными документами, регламентирующими общие правила производства работ.
4.3 При выполнении инженерных изысканий в районах развития оползневых процессов изучению подлежат: рельеф, геологическое строение, геоморфологические, гидрогеологические, гидрометеорологические и экологические условия, состав, состояние и свойства грунтов, оказывающие влияние на развитие оползневых процессов. В случае проведения изысканий в сейсмоопасных районах должны дополнительно изучаться сейсмические условия.
4.4 Задание на выполнение инженерных изысканий в районах развития оползневых процессов (далее - задание) должно содержать сведения и данные в соответствии с СП 47.13330.2016 (пункты 4.15-4.17), а также:
- данные о наблюдавшихся на исследуемой территории деформациях и аварийных ситуациях в процессе строительства и эксплуатации сооружений, связанных с развитием оползневых процессов;
- требования к прогнозу развития оползневых процессов (качественному или количественному);
- требования о предоставлении общих рекомендаций для разработки проектных решений по инженерной защите.
4.5 Программа инженерных изысканий для строительства в районах развития оползневых процессов (далее - программа) должна содержать сведения и данные в соответствии с СП 47.13330.2016 (пункты 4.18-4.20), а также:
- предварительные гипотезы об условиях формирования и причинах развития оползневого процесса, о механизме смещения, стадии развития;
- сведения об известных проявлениях оползневых процессов и связанных с ними деформациях зданий и сооружений в исследуемом районе;
- сведения о ранее выполненных мероприятиях инженерной защиты и состоянии имеющихся защитных сооружений;
- обоснование необходимости проведения локального мониторинга территории инженерных изысканий.
Программа подлежит уточнению в процессе выполнения работ, в том числе после рекогносцировочного обследования и в случае изменения рабочей гипотезы об условиях образования оползней.
4.6 При выполнении инженерных изысканий для строительства в районах развития оползневых процессов должны соблюдаться требования нормативных документов по охране труда, пожарной безопасности и охране окружающей природной среды. Необходимо предусматривать и осуществлять мероприятия, не допускающие нарушения сложившихся геолого-гидрогеологических условий при проведении отдельных видов изыскательских работ, с целью предотвращения возможности активизации оползневых процессов.
4.7 Для оценки возможности осуществления планируемой градостроительной деятельности и ее реализации в районах развития оползневых процессов выполняются инженерно-геодезические, инженерно-геологические, инженерно-гидрометеорологические и инженерно-экологические изыскания.
4.8 Основные задачи инженерно-геодезических изысканий при изучении оползневых процессов:
- получение количественных характеристик движения оползня для выявления роста или затухания оползневого процесса, его моделирования (или проверки ранее созданной модели) и прогнозирования, наполнения геоинформационных систем (ГИС);
- определение скоростей и направлений подвижек на разных глубинах оползня (по дополнительному требованию задания);
- получение данных, необходимых для разработки противооползневых мероприятий и определение их эффективности.
4.8.1 Инженерно-геодезические изыскания в районах развития оползневых процессов выполняются в соответствии с СП 317.1325800 как отдельный вид работ или в комплексе с другими видами инженерных изысканий и включают:
- сбор и анализ материалов инженерных изысканий прошлых лет, топографо-геодезических, картографических, аэрофотосъемочных и других материалов и данных;
- рекогносцировочное обследование территории (площадки, участка), выявление признаков проявления оползневых процессов, нанесение их на существующие или вновь создаваемые инженерно-топографические планы (при необходимости);
- разработку в соответствии с заданием программы выполнения инженерно-геодезических изысканий, содержащей обоснование состава, объемов, периодичности и продолжительности инженерно-геодезических изысканий на исследуемом участке, схем геодезических сетей, конструкций геодезических пунктов, методики измерений и обработки получаемых результатов и другую информацию согласно СП 47.13330.2016 (разделы 4, 5) и СП 317.1325800;
- закладку геодезических (опорных и деформационных) знаков, установку контрольно-измерительной аппаратуры (КИА), предусмотренной программой;
- метрологический контроль применяемых геодезических приборов;
- выполнение геодезических измерений;
- камеральную обработку результатов измерений (предварительную обработку, уравнивание, оценку точности), определение планово-высотных смещений геодезических знаков и/или изменений земной поверхности на участках развития оползневого процесса;
- создание инженерной цифровой модели местности (в случае, если выполнялась топографическая съемка);
- анализ количественных характеристик происходящих оползневых процессов (построение таблиц и графиков смещений, сравнение измеренных деформаций с прогнозными значениями);
- составление технического отчета о выполненных инженерно-геодезических изысканиях.
4.8.2 При назначении видов работ в составе инженерно-геодезических изысканий, проектировании размещения геодезических знаков, установлении требований к точности определения смещений (деформаций) и периодичности наблюдений, в программе следует учитывать потребности в топографо-геодезических данных других видов инженерных изысканий, выполняемых на исследуемом участке.
4.8.3 В состав инженерно-геодезических изысканий в районах развития оползней входят следующие виды геодезических и топографических работ:
- создание планово-высотной геодезической сети специального назначения, включающей опорные и деформационные знаки;
- топографическая съемка в масштабах 1:5000-1:200 [3] с фиксацией положения всех структурных элементов оползня (бровок срыва, головной части оползня, числа и расположения оползневых ступеней, языка оползня; измерение раскрытия выявленных трещин, определение наклона отдельных участков, где по результатам инженерно-геологических изысканий может происходить вращательное движение отдельных блоков и др.);
- определение вертикальных и горизонтальных смещений точек на оползнеопасном склоне;
- наблюдения за деформациями зданий и сооружений (включая сооружения инженерной защиты), в том числе возводимых или реконструируемых на оползнеопасных склонах или находящихся в зоне их влияния.
4.8.4 На начальном этапе наблюдений (если иное не предусмотрено заданием) среднеквадратическая погрешность (СКП) определения смещения деформационного знака на оползнеопасном склоне относительно опорных принимается равной 20 мм в плане и 10 мм по высоте. При последующих наблюдениях допускается корректировка точности определения планово-высотного положения деформационных знаков в зависимости от значений фиксируемых смещений (4.8.5). Как правило, значение СКП определения смещения mсмещ не должно быть более рассчитанного по формуле
mсмещ=0.2Sмин, (4.1)
где Sмин - минимальное фиксируемое смещение деформационных знаков.
При равноточности измерений в сравниваемых циклах наблюдений, значение СКП определения планового или высотного положения деформационного пункта относительно опорных в одном цикле, как правило, не должно быть более рассчитанного по формуле
mпункт=mсмещ/√2=0.2Sмин/√2, (4.2)
где mпункт - СКП определения смещения пункта в одном цикле.
4.8.5 Необходимость корректировки точности измерений обосновывается в изменении к программе, которое подлежит согласованию с застройщиком или техническим заказчиком (далее - заказчиком).
4.8.6 Необходимая точность определения плановых и/или высотных смещений зданий и сооружений, возводимых (реконструируемых) на оползнеопасных склонах, устанавливается в соответствии с требованиями ГОСТ 24846-2012 (раздел 4).
4.8.7 Циклы геодезических наблюдений назначаются с учетом периода, когда подвижки склона могут активизироваться - после весеннего таяния снегов, сильных ливневых дождей, взрывных работ. Частота геодезических наблюдений на потенциально опасных участках склона может быть увеличена. После землетрясений интенсивностью 4 и более баллов, подрезок склона, выпадения аномального количества дождевых осадков, обводнения, при наполнении водохранилища рекомендуется выполнять внеочередной цикл геодезических наблюдений.
4.8.8 Геодезическая сеть специального назначения для наблюдений за оползневыми процессами создается согласно СП 317.1325800.2017 (подраздел 5.2) в соответствии с программой. Плотность опорных знаков (реперов) определяется геодезической изученностью участка работ и выбранным методом выполнения измерений. Значения СКП определения планового и/или высотного положения деформационного знака в самом слабом месте сети относительно опорных знаков при проектировании сети принимаются согласно 4.8.4.
4.8.9 Схема измерений в геодезической сети принимается идентичной для всех циклов наблюдений. В случае изменения схемы, при анализе смещений пунктов необходимо оценивать возможное влияние на полученные результаты погрешностей исходных данных.
4.8.10 В зависимости от размеров участка изысканий, условий наблюдений, требований к точности результатов, сроков выполнения работ, для определения планового положения опорных пунктов применяются следующие методы измерений или их комбинации (ГОСТ 24846):
- геодезические спутниковые определения;
- триангуляция, трилатерация, полигонометрия;
- линейно-угловые сети;
- прямые и обратные засечки.
4.8.11 При наблюдениях за горизонтальными смещениями склона в качестве опорных плановых геодезических пунктов должны использоваться геодезические знаки, заложенные за пределами потенциально неустойчивого склона.
4.8.12 Допускается закрепление плановой опорной сети грунтовыми знаками, скальными марками и бетонными монолитами в виде усеченного конуса высотой 0, 5-0, 6 м. При повышенных требованиях к точности определения горизонтальных смещений рекомендуется использовать на дисперсных грунтах трубчатые знаки и на скальных грунтах бетонные туры, выступающие над поверхностью земли на 1, 2-1, 4 м, с приспособлениями для принудительного механического центрирования с погрешностью 0, 1-0, 3 мм.
4.8.13 Конструкцию опорных пунктов при наблюдениях за горизонтальными смещениями зданий (сооружений), расположенных на оползневых склонах, следует устанавливать в программе в соответствии с ГОСТ 24846.
4.8.14 В каждом цикле наблюдений за оползневыми процессами должен выполняться контроль устойчивости пунктов плановой опорной геодезической сети. В случае выполнения линейных, угловых или линейно-угловых измерений, критерий устойчивости опорных пунктов - неизменность в пределах точности измеренных значений горизонтальных углов и/или линий между опорными пунктами. При использовании метода геодезических спутниковых определений контролируется неизменность положения (в пределах погрешностей измерений) уравненных координат пунктов. Значения критериев устойчивости обосновываются в программе.
4.8.15 Высотная основа при изучении оползневых процессов на незастроенных территориях должна включать не менее двух опорных реперов. На большой по площади или по протяженности территории и при повышенных требованиях к точности определения вертикальных смещений число опорных реперов следует увеличивать. Опорные реперы следует закладывать вне зоны смещений, по возможности в выходы скальных пород. При отсутствии выходов скальных пород опорные реперы рекомендуется закладывать по конструкции как грунтовые на 1, 5-2, 0 м ниже глубины максимального сезонного промерзания грунта (для многолетнемерзлых грунтов - на 1, 0 м ниже глубины максимального оттаивания) или как стенные, закладываемые в здания (сооружения), построенные не менее чем за два года до закладки репера, осадки которых стабилизировались.
4.8.16 Высотная основа для наблюдения за вертикальными смещениями зданий (сооружений), расположенных на участках развития оползневых процессов, а также за деформациями грунтовых сооружений создается в соответствии с ГОСТ 24846 в виде куста реперов. Для зданий (сооружений) большой протяженности закладываются два и более кустов реперов.
4.8.17 Для создания высотной опорной сети, в зависимости от требований к точности определения отметок и рельефа участка работ, используются следующие методы:
- геометрическое нивелирование;
- тригонометрическое нивелирование;
- геодезические спутниковые определения (спутниковое нивелирование).
Выполнять работы следует согласно ГОСТ 24846, СП 317.1325800. Методики измерений приведены в [3] - [7].
4.8.18 Контроль устойчивости опорных реперов в каждом цикле наблюдений осуществляется следующими способами:
- измерение превышений внутри куста реперов (в случае использования одного куста реперов);
- измерение превышений внутри каждого куста реперов и превышений между кустами (при использовании двух и более кустов реперов);
- сравнение превышений между реперами сети, уравненной как свободная (т.е. вычисленной относительно одного исходного репера), если опорные реперы территориально не объединены в кусты.
4.8.19 Опорные реперы считаются устойчивыми в случае, если изменения превышений между ними не более предельных погрешностей их определения. Допуски при контроле устойчивости опорных реперов устанавливаются с учетом фактической (полученной из уравнивания) СКП определения превышений на станции. При выявлении значимых изменений превышений между реперами следует выполнять статистический анализ накопленных результатов измерений для выявления неустойчивого репера (реперов). При необходимости закладываются дополнительные опорные реперы, включаются в опорную сеть реперы, расположенные на прилегающих к участку работ территориях.
4.8.20 Деформационные геодезические знаки на оползнеопасном склоне, в зависимости от глубины заложения, подразделяются на глубинные и поверхностные. Конструкция деформационных знаков устанавливается в программе в зависимости от целей и задач инженерных изысканий. В случае необходимости, в плановой деформационной сети дополнительно проектируется закладка рабочих пунктов вблизи исследуемого объекта наблюдений для выполнения с них непосредственных измерений смещений деформационных знаков. В высотной деформационной сети в качестве рабочих реперов, как правило, используются деформационные знаки.
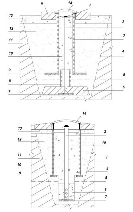
4.8.21 Глубинные деформационные геодезические знаки (глубинные марки) применяются для определения глубинных перемещений грунтов в оползнеопасных склонах, грунтовых плотинах, насыпях и других грунтовых сооружениях. В качестве глубинной марки может использоваться трубчатая марка, закладываемая в скважину (приложение А). Установку глубинных марок рекомендуется производить кустовым способом.
4.8.22 Поверхностные деформационные геодезические знаки (поверхностные грунтовые марки) устанавливаются ниже глубины сезонного промерзания грунта и предназначены для измерений вертикальных и горизонтальных смещений поверхности склонов, грунтовых плотин, насыпей и других грунтовых сооружений. Поверхностная марка закладывается в скважину или шурф (приложение Б).
4.8.23 При выполнении наблюдений за подвижками поверхности оползнеопасных и других потенциально неустойчивых участков, при обосновании в программе, допускается использование деформационных планово-высотных геодезических знаков упрощенной конструкции (контрольных марок). Контрольные марки выполняют в виде отрезков трубы или арматуры, закрепленных в слое бетона на дне скважины или шурфа. Как правило, основание шурфа располагается на 0, 5 м ниже глубины сезонного промерзания грунта. Для наблюдений в районах с незначительной глубиной сезонного промерзания или за подвижками грунтовых сооружений (насыпей, плотин, дамб) в качестве контрольных марок допускается использование отрезков металлических труб, арматуры, железобетонных или деревянных столбов, забиваемых вертикально на глубину 0, 5-1, 0 м (приложение В).
4.8.24 Для измерения планово-высотных смещений фундаментов зданий и сооружений на оползнеопасных склонах, а также железобетонных элементов плотин и других грунтовых сооружений, следует использовать стенные, плитные и цокольные поверхностные марки анкерного типа, устанавливаемые на цементный раствор в просверленные отверстия. В программе должны предусматриваться мероприятия, обеспечивающие защиту марок от случайных повреждений на весь период наблюдений.
4.8.25 В зависимости от требований к точности результатов и условий участка работ, горизонтальные смещения деформационных знаков, согласно ГОСТ 24846-2012 (раздел 7), определяются относительно пунктов плановой опорной сети следующими методами:
- геодезических спутниковых определений [4], [5];
- створных наблюдений;
- триангуляции;
- трилатерации;
- полигонометрии;
- линейно-угловых измерений;
- отдельных направлений.
Методика выполнения измерений устанавливается в программе.
4.8.26 Вертикальные смещения деформационных знаков относительно опорных реперов определяются нивелированием:
- геометрическим по ГОСТ 24846, [6];
- тригонометрическим по ГОСТ 24846;
- спутниковым (по дополнительному обоснованию в программе) [4], [5].
4.8.27 При наблюдениях за подвижками в теле оползневого склона, наряду с глубинными марками, могут применяться прямые и обратные отвесы, инклинометры, наклономеры (тилтометры), магнитные марки и другое необходимое оборудование.
4.8.28 В случае выявления вращательного характера движения оползня, следует использовать наклономеры (тилтометры) или выполнять измерение превышений между не менее чем двумя марками, установленными на местности вдоль радиуса вращения.
4.8.29 Для наблюдений за раскрытием трещин следует применять щелемеры, закрепленные по обе стороны от трещины и ориентированные поперек нее, измерения перемещений по которым производятся вручную или с применением измерительных блоков, в том числе обеспечивающих передачу данных о выполненных измерениях по проводным и беспроводным каналам связи.
4.8.30 Топографическая съемка оползнеопасного склона или наблюдаемого грунтового сооружения в масштабах 1:5000-1:200 выполняется в целях получения топографической основы для специальной оползневой съемки, а также как самостоятельный вид работ при наблюдениях за оползневыми процессами. Масштаб топографической съемки следует выбирать исходя из размеров изучаемого объекта, наличия зданий и сооружений, необходимости отображения на планах основных форм рельефа местности (в том числе микроформ), связанных с проявлением оползневых процессов. При назначении высоты сечения рельефа горизонталями следует исходить из требований к точности отображения рельефа и СП 47.13330.2016 (приложение В).
4.8.31 Топографическая съемка при изучении оползневых процессов выполняется согласно СП 317.1325800.2017 (пункт 5.3.2) одним из следующих методов или их комбинацией:
- тахеометрическим;
- наземным лазерным сканированием;
- воздушным лазерным сканированием;
- с использованием спутниковых технологий;
- стереофотограмметрическим.
4.8.32 По результатам топографической съемки создается цифровая модель местности (ЦММ), включающая цифровую модель рельефа и цифровую модель ситуации. Количественные характеристики исследуемого оползневого процесса определяются по результатам сопоставления ЦММ, смежных или несмежных по времени создания.
4.8.33 Приемка результатов инженерно-геодезических изысканий [8] производится путем выборочного инструментального контроля полевых работ и сплошного контроля результатов камеральной обработки и отчетных материалов.
4.8.34 Технический отчет по результатам инженерно-геодезических изысканий, выполненных на участке развития оползневых процессов, разрабатывается согласно ГОСТ 24846, ГОСТ Р 21.1101, СП 47.13330.2016 (пункты 4.38-4.40, 5.1.23, 5.1.24), СП 317.1325800. При наличии требования в задании, заказчику представляются промежуточные отчеты, состав и содержание которых устанавливаются в программе.
4.9 Основные задачи инженерно-геологических изысканий при изучении оползневых процессов:
- получение достоверных данных об инженерно-геологических условиях и техногенных воздействиях, прогнозе их изменения для территории района (площадки, участка, трассы) проектируемого строительства, необходимых и достаточных для осуществления градостроительной деятельности и разработки проектных решений;
- получение достоверных данных необходимых для разработки противооползневых мероприятий и проведения расчетов конструкций сооружений инженерной защиты объекта капитального строительства.
4.9.1 В составе инженерно-геологических изысканий выполняется изучение развития (потенциального развития) оползневых процессов при выявлении их признаков на участках строительства и окружающих территориях; на территориях, прилегающих к реконструируемым объектам капитального строительства (склонах, отвалах, берегах водоемов и водотоков); на возводимых и реконструируемых грунтовых сооружениях (плотинах, дамбах, дорожных насыпях, берегах каналов и водохранилищ).
При инженерно-геологических изысканиях необходимо устанавливать типы и подтипы оползневых процессов (приложение Г) по механизму смещения пород, стадию оползневого процесса (приложение Д), а также давать характеристику пород основного деформируемого горизонта и описывать характер проявления процесса.
Категорию опасности оползневых процессов рекомендуется устанавливать в соответствии с таблицей 5.1 СП 115.13330.2016. При оценке повторяемости оползней следует указывать характер подвижек (постоянные или периодические).
Оползни подразделяются по глубине захвата пород оползневыми деформациями, объему смещаемого грунта и по скорости смещения в соответствии с таблицами 1, 2 и 3.
Общее описание оползня следует приводить в соответствии с приложением Ж.
|
Наименование оползня по глубине |
Глубина захвата пород оползневыми деформациями, м |
|
Мелкий |
<5 |
|
Глубокий |
5-20 |
|
Очень глубокий |
>20 |
|
Наименование оползня по объему |
Объем, м3 |
|
Очень малый |
<100 |
|
Малый |
100-1 000 |
|
Небольшой |
1 001-10 000 |
|
Средний |
10 001-100 000 |
|
Крупный |
100 001-1 000 000 |
|
Очень крупный |
1 000 001-10 000 000 |
|
Грандиозный |
>10 000 000 |
|
Наименование оползня по скорости смещения |
Типичная скорость |
|
Экстремально медленный |
Менее 16 мм/г |
|
Очень медленный |
16 мм/г - 1, 6 м/г |
|
Медленный |
1, 6 м/г - 13 м/мес. |
|
Умеренный |
13 м/мес. - 1, 8 м/ч |
|
Быстрый |
1, 8 м/ч - 3 м/мин |
|
Очень быстрый |
3 м/мин - 5 м/с |
|
Экстремально быстрый |
Более 5 м/с |
4.9.2 Для оценки устойчивости склона инженерно-геологические изыскания следует проводить, как правило, на всей площади опасного (потенциально опасного) склона и участках территории, прилегающих к его верхней бровке, подошве, боковым границам (с захватом устойчивой части склона), а для береговых оползнеопасных склонов - с обязательным включением их подводных частей.
В районах развития оползневых (оползнеопасных) склонов и откосов, сложенных скальными и полускальными грунтами должны изучаться: крутизна и высота склона, блочность пород, пространственное соотношение трещиноватости и зон ослаблений с пространственной ориентацией склона (откоса), тип и характер заполнителя трещин.
4.9.3 Состав и объемы работ при выполнении инженерно-геологических изысканий следует планировать в программе (включая обоснование периодичности и продолжительности инженерно-геологических изысканий на исследуемом участке) с учетом типа оползневого процесса, стадии оползневого процесса, глубины захвата пород, объемов смещаемого грунта и скорости возможного смещения оползня с целью установления:
- условий возникновения оползневых процессов, в том числе их приуроченности к определенным геологическим образованиям, тектоническим структурам и геоморфологическим элементам;
- времени (возраста) возникновения оползневого процесса и стадии (фазы) его развития;
- факторов активизации оползневых процессов, включая влияние гидрогеологических, гидрологических и метеорологических условий; роли хозяйственной деятельности в активизации оползневых процессов; наличия других видов современных экзогенных геологических процессов (выветривание, эрозия, абразия) и определения степени их влияния на устойчивость склонов;
- характера деформаций дневной поверхности, возможной зоны поражения территории оползневым процессом, а также деформаций в имеющихся на склоне зданиях и сооружениях, состояния сооружений инженерной защиты и эффективности их работы.
В составе инженерно-геологических изысканий выполняются:
- сбор и обработка материалов изысканий и исследований прошлых лет;
- дешифрирование аэро- и космических материалов;
- рекогносцировочное обследование с маршрутными наблюдениями;
- инженерно-геологическая (оползневая) съемка;
- проходка инженерно-геологических выработок с их опробованием;
- геофизические исследования;
- полевые исследования грунтов;
- гидрогеологические исследования;
- лабораторные исследования проб подземных вод и грунтов;
- камеральная обработка материалов;
- сейсмическое микрорайонирование (при необходимости);
- локальный мониторинг оползневых процессов;
- получение исходных данных для проведения качественной или количественной оценки возможного возникновения и развития оползневых процессов.
4.9.4 Сбор и обработку материалов изысканий и исследований прошлых лет необходимо выполнять при инженерно-геологических изысканиях для подготовки документов территориального планирования, документации по планировке территории и выбору площадок (трасс) строительства, при подготовке проектной документации объектов капитального строительства, строительстве и реконструкции зданий и сооружений.
4.9.5 Сбору и обработке подлежат:
- материалы инженерно-геологических и гидрогеологических исследований прошлых лет для составления предварительной гипотезы об условиях образования оползней и причинах их возникновения;
- материалы государственных геолого-съемочных работ (геологические, гидрогеологические, тектонические и другие карты масштабов 1:1 000 000-1:200 000 и более крупные), материалы специального гидрогеологического и инженерно-геологического картирования и других региональных исследований;
- аэро- и космические материалы;
- комплекты нормативных карт общего сейсмического районирования (ОСР);
- результаты научно-исследовательских работ (фондовых и опубликованных, при наличии ссылки на официальные источники), в которых обобщаются данные о природных условиях и техногенных воздействиях и/или приводятся результаты новых разработок по методике и технологии выполнения инженерно-геологических изысканий.
4.9.6 На основе собранных материалов:
- определяется степень изученности инженерно-геологических условий территории и оценивается возможность использования имеющихся материалов для решения соответствующих задач для различных видов градостроительной деятельности;
- производится предварительная классификация оползневых процессов по механизму смещения на изучаемой территории;
- составляются предварительные карты проявления оползневых процессов на исследуемой территории;
- изучаются причины возникновения аварийных ситуаций, вызванных активизацией оползневых процессов, в том числе неэффективности работы сооружений инженерной защиты;
- выполняется анализ опыта эксплуатации объектов капитального строительства и эффективности мероприятий инженерной защиты на участках с аналогичными инженерно-геологическими условиями.
4.9.7 Дешифрирование аэро- и космических материалов, полученных в результате разновременных съемок, следует выполнять для установления:
- наличия и распространения оползней, их границ;
- типов, видов, формы и масштабности проявления оползней;
- приуроченности оползней к определенным формам рельефа и геоморфологическим элементам;
- приблизительной оценки относительного возраста оползней (по геоморфологическим и геоботаническим признакам);
- стадии (фазы) развития оползней;
- природных факторов развития оползней;
- факторов техногенной нагрузки;
- наличия видимых деформаций поверхности земли, зданий и сооружений;
- границ распространения генетических типов четвертичных отложений;
- тектонических разрывных нарушений и ослабленных зон;
- областей питания и разгрузки подземных и поверхностных вод;
- границ различных ландшафтов;
- динамики развития оползней на основе сопоставления снимков и карт разных лет съемки.
4.9.8 При дешифрировании аэро- и космических материалов необходимо проводить поиск типичных проявлений оползней (аналогов) в исследуемом районе, в том числе с учетом хозяйственного освоения территории и стадии (фазы) развития оползней. Корректность произведенного выбора объектов-аналогов необходимо уточнять при последующих маршрутных наблюдениях.
Дешифрирование аэро- и космических материалов, аэровизуальные наблюдения, как правило, предшествуют инженерно-геологической съемке и другим наземным исследованиям при выполнении инженерных изысканий.
4.9.9 При дешифрировании используются следующие материалы: космические снимки, аэрофотоснимки (плановые и перспективные), в том числе, черно-белые, цветные, спектрозональные; результаты тепловых (инфракрасных) съемок; результаты воздушного и наземного лазерного сканирования; радарные снимки и результаты спутниковой радарной интерферометрии.
4.9.10 Рекогносцировочное обследование с маршрутными наблюдениями следует проводить на территории всего исследуемого оползнеопасного склона (склонов). При необходимости, наблюдения проводятся за пределами площадки (полосы трассы) проектируемого строительства.
4.9.11 Маршрутные наблюдения выполняются для:
- определения генетических типов рельефа с приуроченными к ним оползнями различных типов;
- описания и оценки состояния поверхности склона и его характерных особенностей на оползневых участках в границах исследуемой территории, геоморфологических условий;
- измерений элементов залегания трещиноватости с выявлением опасных с точки зрения устойчивости склона (откоса) систем трещин в зонах развития коренных пород;
- выявления участков с оползнями различных типов (приложение Г), отличающихся по глубине захвата пород оползневыми деформациями (таблица 1), по объему и скорости смещения (таблицы 2, 3), находящихся на разных стадиях развития оползневого процесса (приложение Д);
- предварительной оценки масштабов оползневых деформаций, выявления активных зон развития деформаций на поверхности склона, а также базиса их смещения;
- установления пространственных закономерностей оползневых деформаций на склоне (границ активных оползней), выявления оползневых тел различного порядка;
- выявления и описания выходов подземных вод (родников, мочажин) и других водопроявлений, искусственных водных объектов, суффозионных процессов;
- выявления проявлений свежей эрозионной или абразионной подрезки склонов;
- установления особенностей хозяйственного использования территории, выявления техногенных воздействий;
- обследования и фотофиксации существующих деформаций и предварительной оценки технического состояния существующих зданий и сооружений в пределах оползня и смежных с ним участков, оценки эффективности существующей инженерной защиты;
- уточнения результатов предварительного дешифрирования аэро- и космических материалов;
- выявления оползней-аналогов на прилегающей территории (при необходимости).
4.9.12 Инженерно-геологическая (оползневая) съемка проводится для выявления границ существующих оползней и их структурных элементов, оконтуривания потенциально неустойчивых участков склона с использованием имеющихся или специально создаваемых топографических планов.
При проведении оползневой съемки используются сведения, полученные при дешифрировании аэро- и космических материалов, а также данные, полученные при рекогносцировочном обследовании и маршрутных наблюдениях.
По результатам оползневой съемки составляют карту инженерно-геологических условий, с отображением элементов строения оползня, форм микрорельефа территории, отражающих развитие склоновых процессов, границ потенциально-неустойчивых (оползневых) участков и гидрогеологических условий.
4.9.13 При обследовании оползней следует устанавливать размеры оползня, амплитуду оползневого смещения, виды оползневых трещин на поверхности склона. В приложении Ж приведены схемы описания оползня (Ж.1) и оползневых трещин (Ж.2).
4.9.14 При маршрутных наблюдениях следует выявлять изменения в проявлениях оползней, произошедшие со времени выполнения предыдущих изысканий. В процессе маршрутных наблюдений следует намечать места размещения инженерно-геологических выработок, пункты (створы) проведения других работ, в том числе геофизических исследований и локального мониторинга.
4.9.15 На застроенной (освоенной) территории следует дополнительно выявлять и описывать заболоченность, подтопление, просадки поверхности земли, избыточный полив газонов и древесных насаждений и другие факторы, обусловливающие изменение инженерно-геологических условий.
4.9.16 Проходка инженерно-геологических выработок. Выбор вида, способа, конструкции и технологии проходки инженерно-геологических скважин определяется необходимостью обеспечения максимального выхода керна, в том числе с учетом возможности выполнения в тех же скважинах полевых опытных работ и геофизических исследований.
4.9.17 При проходке инженерно-геологических скважин рекомендуется применять колонковый способ бурения для обеспечения сохранности отбираемых образцов грунта. В сложных для получения кондиционных образцов грунта условиях, рекомендуется применение двойной или тройной колонковой трубы (с многоразовой разъемной гильзой). В дисперсных грунтах проходку необходимо вести "всухую" укороченными до 0, 5 м рейсами. При их проходке допускается ударно-канатный способ бурения с применением тонкостенных грунтоносов.
4.9.18 Устанавливаемые в программе способы бурения инженерно-геологических скважин должны обеспечивать точность установления границ между литологическими разностями грунтов не более 0, 25 м, возможность изучения естественного состава, состояния и свойств грунтов, их текстурных и структурных особенностей (включая трещиноватость скальных грунтов). Рекомендуется обеспечивать выход керна не менее 85%-90%.
4.9.19 Бурение следует сопровождать отбором монолитов с помощью грунтоносов в соответствии с ГОСТ 12071. Образцы пород для исследований следует отбирать с учетом ГОСТ 20522, для чего на этапе полевых работ необходимо выполнять предварительное инженерно-геологическое разделение грунтового массива на инженерно-геологические элементы. Монолиты для лабораторных исследований необходимо отбирать из каждого предварительно выделенного инженерно-геологического элемента и, по возможности, в разных частях оползня: головной, средней и языковой.
Отбор, консервацию, хранение и транспортирование проб воды для лабораторных исследований следует осуществлять в соответствии с ГОСТ 31861.
4.9.20 При описании керна особое внимание следует уделять характеристике слоистости, наклону прослоев и линз, выявлению зон дробления и смятия, ослабленных зон, поверхностей (зеркал) скольжения. При обнаружении зеркал скольжения рекомендуется описывать их ориентировку, угол наклона, наличие и ориентировку на них борозд, штриховки.
Для более достоверного выявления указанных характеристик проходку инженерно-геологических скважин следует дополнять проходкой шурфов и (или) дудок.
4.9.21 Размещение и число инженерно-геологических выработок на исследуемой территории следует устанавливать в зависимости от сложности инженерно-геологических условий, типа и масштаба развития оползневых процессов, степени изученности этих условий, уровня ответственности сооружения, этапа (стадии) проектирования.
4.9.22 Для получения инженерно-геологических разрезов выработки рекомендуется размещать по профилям, пересекающим исследуемую территорию в наиболее характерных местах (оползневые депрессии, межоползневые гребни, наиболее крупные и типичные для района другие формы рельефа). В пределах профилей выработки следует располагать с частотой, обеспечивающей построение инженерно-геологических разрезов с детальностью, соответствующей масштабу инженерно-геологической съемки (карты) и позволяющей выполнить расчеты устойчивости склонов.
4.9.23 На оползневом (оползнеопасном) склоне основную часть инженерно-геологических выработок необходимо располагать по профилям, ориентированным по направлению смещения оползня (продольным), пересекающим склон от его бровки до подошвы, по линии максимального уклона поверхности склона, остальные выработки - по профилям, пересекающим оползневое тело и на прилегающих участках склона, не затронутых оползнями, в том числе на межоползневых гребнях. При больших размерах оползней, часть профилей следует ориентировать поперек склона - в головной, средней и языковой частях оползня. При исследовании оползней, возникающих на бортах (берегах) водоемов, профили должны быть продолжены на акваторию. Крайние инженерно-геологические выработки заложенных профилей должны находиться за пределами оползня.
4.9.24 Инженерно-геологические выработки следует проходить на всю мощность оползневого тела с заглублением ниже предполагаемого ложа оползня в несмещенные породы не менее, чем на 5 м для изучения их состава и состояния.
Часть пройденных выработок может применяться в дальнейшем для ведения наблюдений за оползневыми подвижками и режимом подземных вод.
4.9.25 Ликвидационный тампонаж инженерно-геологических скважин глиной или цементным раствором по окончании проходки и завершении предусмотренных работ, следует осуществлять с поинтервальной изоляцией вскрытых водоносных горизонтов и созданием приустьевого глинистого или цементного замка для предотвращения попадания в скважины поверхностных вод.
4.9.26 Геофизические исследования следует осуществлять для:
- получения информации о строении грунтового массива в пределах оползневого склона и обоснования выбора мест расположения инженерно-геологических выработок;
- определения фактических и потенциально возможных зон оползневого смещения, которые могут быть приурочены, в частности, к грунтам мягко- и текучепластичной консистенции;
- выделения зон разной степени выветрелости, трещиноватости и разуплотнения;
- определения мощности оползневых масс грунтов;
- изучения влажности грунтов по глубине и во времени, особенно при изучении вязкопластических оползней;
- определения границ обводненных зон в грунтовом массиве, изменений свойств грунтов вблизи зоны смещения;
- изучения динамики оползневых смещений;
- выявления мест утечки воды из подземных коммуникаций;
- выявления на склоне старых заброшенных и действующих дренажей, сетей подземных коммуникаций.
4.9.27 В качестве основных геофизических методов рекомендуется использовать:
- электротомографию (ЭТ);
- вертикальное электрическое зондирование (ВЭЗ, по методу двух составляющих (ВЭЗ МДС));
- метод преломленных волн (МПВ);
- метод отраженных волн (МОВ);
- метод общей глубинной точки (МОГТ);
- метод поверхностных волн (MASW);
- метод естественных импульсов электромагнитного поля Земли;
- каротаж и георадиолокацию.
4.9.28 Состав геофизических исследований, их объемы (сеть, число точек), тип и размеры применяемых установок, периодичность наблюдений следует устанавливать в программе в соответствии с требуемой детальностью изучения инженерно-геологических условий территории (масштабом инженерно-геологической съемки, типом и масштабностью оползневых процессов) с учетом необходимости комплексирования наземных (площадных) и скважинных геофизических методов.
4.9.29 Полевые исследования грунтов в районах развития оползневых процессов следует осуществлять для:
- определения деформационных характеристик грунтов с помощью испытаний статическими нагрузками - штампами, прессиометрами, дилатометрами;
- определения прочностных характеристик срезом целиков грунтов и (или) вращательным (поступательным) срезом;
- расчленения толщи грунтов в массиве на отдельные слои, оценки пространственной изменчивости свойств грунтов с помощью статического и динамического зондирования.
4.9.30 Полевые исследования грунтов рекомендуется выполнять при соответствующем обосновании в программе. Выбор методов полевых исследований грунтов следует осуществлять в зависимости от вида изучаемых грунтов и целей исследований с учетом вида градостроительной деятельности, уровня ответственности зданий и сооружений; степени изученности и сложности инженерно-геологических условий.
4.9.31 Грунтовый массив, в пределах которого проводится полевое исследование грунтов, а также число инженерно-геологических выработок устанавливаются в зависимости от сложности инженерно-геологических условий исследуемой территории и от активной зоны взаимодействия зданий и сооружений с грунтовым массивом.
4.9.32 При выполнении полевых исследований грунтов на оползневых (оползнеопасных) склонах и откосах следует руководствоваться ГОСТ 5686, ГОСТ 19912, ГОСТ 20276, ГОСТ 30672.
4.9.33 Гидрогеологические исследования в составе инженерно-геологических изысканий выполняются для:
- оценки значений сезонных колебаний уровней подземных вод и гидродинамического давления по всем водоносным горизонтам, оказывающим воздействие на устойчивость рассматриваемого склона;
- выявления и установления характера взаимосвязей между режимом подземных вод и оползневыми процессами;
- установления источников питания подземных вод, в том числе техногенного происхождения (утечки производственно-хозяйственных вод, поливы);
- выявления водоносных горизонтов, играющих роль в оползневом процессе;
- установления взаимосвязи между водоносными горизонтами и поверхностными водами;
- определения положения уровней подземных вод в различное время года для расчетов гидростатического и гидродинамического давлений воды и их колебаний;
- построения гидрогеологической модели (по требованию заказчика и при соответствующем обосновании в программе).
Изыскания на оползневых склонах включают в себя следующие виды гидрогеологических исследований:
- рекогносцировочные обследования для выявления уровней скрытой и открытой разгрузки подземных вод (растительность, высачивание, заболачивание) и суффозионного выноса песчаного материала в промоинах, основании склона, под урезом реки или водохранилища;
- бурение гидрогеологических скважин на склоне для выявления неравномерных фильтрационных потоков скрытой ярусной разгрузки водоносных горизонтов - главный гидродинамический фактор нарушения устойчивости (при соответствующем обосновании в программе);
- изучение гидрогеологических условий и гидрогеологическая стратификация массива горных пород в области питания водоносных горизонтов, разгружающихся на склоне;
- определение уровней грунтовых и межпластовых вод в предполагаемой области захвата массива горных пород оползневыми деформациями (в интервале разреза от бровки склона до днища долины);
- организация режимных наблюдений (при соответствующем обосновании в программе) за уровнями грунтовых вод по скважинам на бровке и нижней части склона и на водомерном посту в водоеме, в случае затопленного основания склона (при невозможности - обобщение данных по режимным пунктам-аналогам);
- выявление техногенных факторов, усиливающих влияние подземных вод на склон, водонесущих коммуникаций, гидротехнических сооружений, дренажей, строительного водопонижения, попусков водохранилищ, водозабор из скважин, неорганизованный сброс воды и поливы на рельеф;
- для затопленных склонов - определение режима подъема и спада уровня реки или водохранилища (по данным гидрометеорологических изысканий).
4.9.34 Опытно-фильтрационные работы следует выполнять для определения гидрогеологических параметров и характеристик грунтов при необходимости проектирования дренажных сооружений для осушения тела оползня или склона в целом. Постановка опытно-фильтрационных работ должна осуществляться после исследования инженерно-геологического строения оползневого массива и соответствующего обоснования необходимости их выполнения.
4.9.35 При выполнении полевых исследований на оползневых (оползнеопасных) склонах и откосах для определения гидрогеологических параметров следует руководствоваться ГОСТ 23278.
4.9.36 Лабораторные исследования подземных вод. Физические свойства и химический состав воды определяют стандартным, полным или специальным химическим анализом. Полный или специальный химический анализ воды выполняют при необходимости получения более детальной гидрохимической характеристики водоносного горизонта. Состав показателей при специальном химическом анализе воды определяется заданием.
4.9.37 Лабораторные исследования грунтов при изучении оползневых процессов следует проводить на образцах, отобранных из грунтов основного деформируемого горизонта; грунтов, слагающих тело оползня и подстилающих грунтов.
Обязательному опробованию подлежат грунты в зоне поверхностей смещения, грунты ослабленных, перемятых, разуплотненных и водонасыщенных слоев, зон тектонических нарушений.
4.9.38 Основные параметры, которые необходимы для установления степени устойчивости склонов (откосов) определяются используемым критерием прочности.
4.9.39 Методы лабораторных исследований определяют в зависимости от грунтовых условий согласно ГОСТ 30416-2012 (приложение А), ГОСТ 12248.
4.9.40 Выбор вида и состава лабораторных определений характеристик физических и механических свойств грунтов следует проводить с учетом их разновидности в соответствии с ГОСТ 25100.
4.9.41 При выполнении лабораторных исследований методы подготовки грунтов к испытаниям должны учитывать предполагаемые воздействия различных факторов на исследуемый грунт: изменения его напряженного состояния и степени уплотнения при снятии нагрузки, обводнении, оползневых смещениях и других воздействиях.
4.9.42 Прочностные свойства грунтов рекомендуется определять по следующим основным методам (схемам), в соответствии с ГОСТ 12248:
- испытание образца грунта природного сложения и влажности - метод трехосного сжатия или одноплоскостного среза;
- сдвиг образца грунта по предварительно подготовленной (или существующей) поверхности (естественной влажности или дополнительно увлажненной) - сдвиг разрезанного образца по поверхности разреза или повторный сдвиг по поверхности ранее выполненного сдвига.
Примечание - При наличии требований в задании длительная прочность грунтов в зоне развития оползневых деформаций может определяться для прогноза развития оползневых процессов на период эксплуатации зданий и сооружений.
4.9.43 При выборе метода определения физико-механических характеристик грунтов следует учитывать тип существующего или прогнозируемого оползня (приложение Г).
4.9.44 При изучении оползней сдвига следует устанавливать сопротивление срезу методом одноплоскостного среза (4.9.42) или трехосными испытаниями грунтов с определением пиковой и остаточной прочности.
4.9.45 При изучении оползней выдавливания следует определять критические нагрузки, при которых происходит разрушение грунта, а также, при наличии требования в задании, его реологические свойства (длительную прочность, вязкость). Для определения структурной прочности рекомендуется метод трехосного сжатия.
4.9.46 При изучении вязкопластичных оползней следует устанавливать значения сопротивления грунтов сдвигу и, при наличии требования в задании, реологических показателей в зависимости от изменения их влажности, что обеспечивается срезом образцов грунтов в сдвиговых приборах после водонасыщения, при природной влажности, при предполагаемых изменениях влажности, при нагрузках, соответствующих давлению грунта в оползневом теле.
Определение значений реологических характеристик грунтов (порога ползучести, вязкости, длительной прочности) следует проводить методами параллельных испытаний серии образцов-близнецов при различных значениях постоянного сдвигающего напряжения (метод испытания на ползучесть с определением длительной прочности) или при различных скоростях приложения нагрузок (метод испытания на длительную прочность).
4.9.47 При изучении оползней гидродинамического разрушения следует определять суффозионную устойчивость грунтов.
4.9.48 При изучении оползней внезапного разжижения динамическую устойчивость грунтов рекомендуется определять лабораторным путем согласно ГОСТ Р 56353.
4.9.49 Камеральная обработка материалов инженерно-геологических изысканий и технический отчет о выполненных изысканиях дополнительно должны включать оценку устойчивости склонов с учетом возможного развития оползневых процессов, размеров исследуемой территории, сложности и степени изученности ее инженерно-геологических условий и стадии проектирования.
4.9.50 При обработке материалов инженерно-геологических изысканий, выполненных на значительных по размерам территориях с применением мелко- и среднемасштабного инженерно-геологического картирования, рекомендуется использовать, в основном, региональные геологические (геолого-статистические) методы:
- историко-геологический (учет истории формирования склонов под воздействием различных оползнеобразующих и других факторов);
- сравнительно-геологический (использование природных аналогов для оценки возможности развития оползневых процессов на исследуемом склоне);
- метод оползневого потенциала (определение значений вероятности проявления оползней в зависимости от значений вероятностей воздействия факторов оползнеобразования);
- метод экспертных оценок.
При изучении оползневых процессов на больших территориях эффективно применение радарной спутниковой интерферометрии, которая позволяет выявлять участки развития оползневых процессов и оценивать их динамику.
4.9.51 При инженерно-геологических изысканиях под конкретные объекты строительства на относительно ограниченных по размерам территориях, на которых выполнено крупномасштабное инженерно-геологическое картирование, наряду с приведенными выше методами рекомендуется, в зависимости от типа оползневого процесса и решаемых задач, применять методы количественного прогноза оползневой опасности.
4.9.52 При прогнозе оползневой опасности определяют устойчивость склона, в том числе в зависимости от изменения факторов оползнеобразования.
Основная цель количественной оценки устойчивости склонов состоит в определении положения поверхности скольжения с минимальным коэффициентом устойчивости Ку.
4.9.53 При прогнозе оползневой опасности должны решаться следующие задачи:
- оценка общей устойчивости склона на момент выполнения инженерных изысканий в естественном состоянии;
- оценка общей устойчивости склона с учетом прогнозного изменения природных факторов оползнеобразования и, при наличии требований в задании, с учетом техногенных факторов;
- разработка общих рекомендаций для принятия проектных решений по инженерной защите территории.
4.9.54 Оценка устойчивости склонов (откосов) включает следующие этапы:
- выбор расчетных створов;
- составление расчетной схемы;
- выбор методов расчета устойчивости;
- определение расчетных параметров грунтов;
- определение основных факторов оползнеобразования;
- выполнение расчетов устойчивости;
- анализ и интерпретация полученных результатов расчета.
4.9.55 При математическом моделировании устойчивости склона следует различать:
- расчет устойчивости потенциально оползнеопасного склона;
- расчет устойчивости сформировавшегося оползня.
4.9.56 При решении задачи по расчету устойчивости потенциально оползнеопасного склона, необходимо считать, что в пределах склонового массива отсутствуют сформировавшиеся поверхности скольжения и, как следствие, изменение физико-механических свойств грунтов в массиве не произошло. При решении задачи по расчету устойчивости сформировавшегося оползня необходимо рассматривать случай, когда в склоновом массиве уже есть фактически сформированная поверхность скольжения, в пределах которой произошло изменение физико-механических свойств грунтов.
4.9.57 В расчетах устойчивости, определяют:
- общую устойчивость склона (расчет склонового массива);
- устойчивость части склона (расчет для оценки локальной устойчивости, в том числе при анализе возможности возникновения на теле оползня первого порядка локальных оползней второго и более высоких порядков, так как в пределах сложных оползневых массивов отдельные их части могут быть разной степени устойчивости).
4.9.58 Геологическая основа для выполнения количественной оценки устойчивости склонов - инженерно-геологические разрезы, которые должны содержать следующие данные, необходимые для расчетов:
- границы структурных элементов оползневого склона (кровли коренных пород, оползневых ступеней, отчленившихся блоков, чехла перекрывающих смещенные блоки "рыхлых" накоплений и т.д.);
- местоположение и характер прослеженных в склоне ослабленных зон - фактических и потенциальных зон оползневого смещения: трещин различного происхождения (оползневых, тектонических, бортового отпора), старых поверхностей оползневого скольжения, поверхностей резкой смены физико-механических показателей (контакт коренных пород и склоновых отложений, переходные зоны между глинистыми и песчаными отложениями), пластичных глинистых прослоев на контактах с обводненными зонами, зон тектонических нарушений (выделяя особо плоскости сместителей с зеркалами скольжения и зоны интенсивного дробления). Зоны ослабления и прослойки наносятся на разрезы вне зависимости от их размеров в плане и по глубине;
- участки различного механизма смещения (скольжение, срезание, течение, выдавливание и т.д.);
- положение поверхности потока подземных вод (как свободного, так и напорного горизонта), а также наиболее низкое и наиболее высокое прогнозные положения их уровней (наблюдаемое или прогнозируемое), мощность обводненной зоны;
- очертание поверхности склона (до и после оползневого смещения);
- контуры проектируемых или существующих зданий и сооружений (в том числе противооползневых) с указанием нагрузки и глубины заложения подошвы фундамента.
Дополнительно, для расчетов устойчивости склонов необходима информация о расчетных значениях показателей физических, деформационных и прочностных свойств пород для каждого выделенного инженерно-геологического элемента, данные об интенсивности сопутствующих процессов (эрозии, суффозии и т.д.), о сейсмичности территории и площадки в пределах участка.
4.9.59 Количественная оценка устойчивости склонов, в обязательном порядке, должна завершаться анализом результатов.
4.9.60 Для каждого оползня необходимо построение минимум одного расчетного створа, приуроченного к его продольной оси. Число расчетных створов зависит от масштабности проявления оползневых процессов. Направление основного расчетного створа должно совпадать с главным направлением выявленного или прогнозируемого движения оползня.
4.9.61 Расчеты устойчивости склонов (откосов) допускается выполнять одним из следующих методов:
- на основе теории предельного равновесия;
- численными методами (конечных элементов, конечных разностей, и т.п.);
- объемных скальных блоков при расчете оползней в скальных грунтах (когда развитие оползня сдвига происходит по плоскостям, образованными трещинами).
При использовании других методов в отчете необходимо приводить алгоритм расчетов, а их результаты сопоставлять с результатами, получаемыми при применении вышеуказанных расчетных методов.
4.9.62 Количественная оценка устойчивости склонов может выполняться в двух- и/или трехмерной (объемной) постановке с прогнозом развития оползневого процесса не только по глубине проникновения, но и в плане.
4.9.63 При выполнении расчетов устойчивости склона или откоса следует учитывать не только установившийся уровень грунтовых вод по результатам изысканий, но и прогнозный максимальный.
4.9.64 Расчет устойчивости склона в сейсмически активных районах, согласно СП 14.13330 (с землетрясениями 6 баллов и более) методами предельного равновесия и конечных элементов рекомендуется проводить псевдостатическим способом. Для сооружений повышенного уровня ответственности следует выполнять динамические расчеты устойчивости склонов с учетом сейсмического воздействия, при наличии требований в задании.
Решение о выборе карты А, В или С из комплекта карт ОСР при оценке фоновой сейсмичности района, принимает заказчик по представлению генерального проектировщика. Сейсмичность площадки уточняется по результатам сейсмического микрорайонирования (СМР).
4.9.65 Для оценки достоверности лабораторных данных о прочностных свойствах грунтов следует выполнять обратные расчеты устойчивости смещенных тел. При обратных расчетах коэффициент устойчивости склона (уступа, откоса) принимается Ку=1, 0 (для ситуации на начало основного смещения оползня, а также для момента завершения подвижки оползня), а параметры прочности грунтов удовлетворяют уравнениям предельного равновесия.
4.9.66 Расчеты устойчивости склонов необходимо выполнять с учетом механизма и выявленной (или прогнозируемой) стадии развития оползня:
- для определения возможности возникновения или развития инсеквентных оползней сдвига серией расчетов следует находить положение наиболее опасной потенциальной поверхности скольжения в грунтовом массиве рассматриваемого склона;
- при оценке опасности возникновения консеквентных оползней сдвига следует учитывать, что наиболее опасные поверхности скольжения, как правило, совпадают с существующими в грунтовом массиве поверхностями (зонами) ослабления;
- для оползней выдавливания необходимо сопоставлять структурную прочность грунтов основного деформируемого горизонта со значением действующего на них бытового давления;
- возможность подвижек вязкопластических оползней следует определять расчетами с использованием в качестве исходных расчетных показателей прочностных свойств грунтов значения, полученные при влажности, соответствующей пределу текучести грунтов;
- при оценке опасности возникновения оползней гидродинамического разрушения наряду с расчетом соотношения сдвигающих и удерживающих сил в обводненном грунтовом массиве следует определять возможность гидродинамического разжижения грунтов по прогнозируемым значениям фильтрационных градиентов в массиве склона и в теле оползня, а также суффозионную устойчивость грунтов;
- для определения возможности внезапного разжижения расчеты устойчивости склонов следует выполнять с учетом снижения прочности грунтов при прогнозируемом воздействии динамических (в том числе сейсмических) нагрузок.
В качестве исходных параметров следует использовать расчетные значения характеристик грунтов, получаемые в соответствии с ГОСТ 20522.
4.9.67 При расчете устойчивости склонов путем моделирования напряженно-деформированного состояния грунтов методом конечных элементов рекомендуется применять лабораторные параметры грунтов для соответствующих моделей их поведения (приложение И). Необходимость их получения и соответствующие методики лабораторных испытаний должны быть сформулированы в задании на изыскания и (или) приложениях к нему.
При изучении оползней, развивающихся в скальных грунтах, необходимо учитывать трещиноватость массива скальных грунтов, анизотропию прочностных свойств и масштабный эффект.
4.9.68 При выполнении инженерных изысканий должны производиться расчеты устойчивости склонов без учета проектируемого строительства. Допускается выполнение расчетов устойчивости склонов с учетом техногенного воздействия при наличии требований в задании и необходимых сведений о техногенных нагрузках и воздействиях от проектируемых объектов.
4.9.69 По результатам инженерно-геологической съемки с учетом результатов расчетов проводится районирование (зонирование) территории по степени опасности оползневых процессов с составлением карты районирования территории.
4.9.70 Инженерно-геологическое районирование также может проводиться по признакам устойчивости склонов на основе историко-геологического и сравнительно-геологического методов. При районировании следует выделять зоны (таксоны), отличающиеся природными условиями формирования оползневых деформаций склона и категориями качественной оценки их устойчивости (устойчивые, условно-устойчивые и неустойчивые), а также различной степенью благоприятности для строительного освоения (благоприятные, ограниченно благоприятные, неблагоприятные). Рекомендуется дополнять карты районирования инженерно-геологической типизацией оползневых склонов.
4.9.71 В процессе камеральной обработки материалов геофизических исследований выполняется увязка между собой результатов отдельных видов геофизических и инженерно-геологических работ с составлением сводных геолого-геофизических разрезов. Осуществляется их инженерно-геологическая интерпретация.
4.9.72 Технический отчет по результатам инженерно-геологических изысканий в районах развития оползневых процессов оформляется в соответствии с СП 47.13330.2016 (подпункт 6.3.3.9).
4.9.73 Локальный мониторинг за оползневыми процессами (подвижками, напряжениями в массиве грунта) и оползнеобразующими факторами (подземными водами, влажностью грунтов, выветриванием, абразией, эрозией) рекомендуется выполнять с целью определения наличия (отсутствия) динамики оползневого смещения, определения количественных характеристик оползневого процесса, выявления связи оползневых подвижек с различными оползнеобразующими факторами, изучения пространственной изменчивости оползневых смещений на склоне и определения местоположения поверхности (зоны) смещения оползня.
4.9.74 Состав, методы и сроки выполнения локального мониторинга в районах развития оползневых процессов следует обосновывать в программе инженерно-геологических изысканий с учетом класса сооружений, типа, стадии (фазы), масштабности, интенсивности и периодичности проявления оползневых процессов и предусматривать их проведение на наиболее характерных участках склона.
4.9.75 Продолжительность и частоту повторных (дежурных) наблюдений при изучении оползневых процессов рекомендуется устанавливать в зависимости от периодичности их проявления (сезонной, многолетней), типа оползней, скорости оползания грунтовых масс, состава намечаемых защитных мероприятий. При установлении периодичности наблюдений следует учитывать значительную неравномерность развития оползневого процесса во времени и в пространстве и наличие эпизодически возникающих природных явлений (наводнения, ливни, штормы, землетрясения). При необходимости наблюдения следует проводить круглосуточно (с применением автоматизированных средств наблюдений). При медленных оползневых смещениях с периодами временной стабилизации наблюдения следует проводить в характерные сезоны года (2-4 раза в год) или ежегодно.
4.9.76 Локальный мониторинг на застроенных или частично застроенных оползневых территориях рекомендуется сопровождать ежегодным инженерно-геологическим обследованием изучаемой территории, а также обследованиями после экстремальных природных ситуаций (смерч, наводнения, крупные смещения оползней), сочетая их с анализом материалов наблюдений служб эксплуатации за состоянием зданий и сооружений.
4.9.77 Локальный мониторинг следует выполнять также для оценки эффективности существующих защитных сооружений и противооползневых мероприятий (периодические измерения дебита дренажей, повторные обследования состояния защитных сооружений).
4.9.78 Локальный мониторинг за оползневыми подвижками (по поверхностным и глубинным реперам, в специальных горных выработках) рекомендуется осуществлять для:
- установления стадии (фазы) развития оползня (определение начала активизации или затухания процесса);
- определения значения, направления и скорости смещения;
- выявления закономерностей изменений подвижек во времени (периодичности, цикличности) и их связи с различными оползнеобразующими факторами;
- определения положения поверхности (зоны) смещения оползня, изменения скоростей оползневых деформаций по глубине;
- оценки эффективности существующих противооползневых мероприятий.
Для получения более точных количественных характеристик оползневых смещений необходимо применять геодезические методы в соответствии с 4.8.
4.9.79 Для определения начала активизации оползневых деформаций помимо геодезических деформационных знаков (наблюдательных реперов) на оползневом участке следует устанавливать специальные приборы (инклинометры, экстензометры, трещиномеры, тилтометры (наклономеры)) с автоматической регистрацией значений оползневых деформаций. Для выявления положения поверхности смещения оползня, а также оползневых деформаций рекомендуется применять инклинометры, экстензометры и другие устройства для контроля перемещений грунтов.
4.9.80 Локальный мониторинг за изменениями напряженного состояния и порового давления в грунтах рекомендуется выполнять с целью выявления предвестников активизации оползневых деформаций, границ оползнеопасных участков склона.
Для измерения порового давления в водонасыщенных глинистых грунтах рекомендуется применять пьезометры и датчики с различными аналого-цифровыми преобразователями.
4.9.81 Локальный мониторинг за режимом подземных вод как фактора оползнеобразования следует выполнять как в самом теле оползня, так и в прилегающей части склона.
В ходе локального мониторинга за подземными водами число участков режимных наблюдений следует устанавливать, исходя из размеров исследуемой территории, типа оползней, числа подлежащих наблюдению водоносных горизонтов. На каждом участке рекомендуется оборудовать от одного до трех створов из трех-четырех скважин.
4.9.82 При необходимости составления водного баланса склона рекомендуется на одном-двух типичных оползневых участках дополнительно предусматривать три створа, расположенных параллельно бровке срыва: на коренном склоне, на теле оползня и ниже оползня (для определения притока подземных вод к оползневому склону и оттока их за счет подземного стока). Для изучения баланса подземных вод рекомендуется применять расчетные методы с использованием результатов режимных наблюдений в скважинах.
Продолжительность режимных наблюдений за подземными водами, как правило, должна составлять не менее одного гидрологического года, при определяющем влиянии оползневого процесса на строительство и эксплуатацию объекта капитального строительства рекомендуется осуществлять наблюдения также в период строительства и эксплуатации. Периодичность наблюдений необходимо обосновывать в программе.
При отсутствии режимных наблюдений могут быть использованы фондовые материалы.
4.10 Инженерно-гидрометеорологические изыскания в районах развития оползневых процессов выполняются в соответствии с СП 47.13330.2016 (раздел 7) и другими нормативными документами, регламентирующими общие правила производства работ.
4.11 Инженерно-экологические изыскания в районах развития оползневых процессов выполняются в соответствии с СП 47.13330.2016 (раздел 8) и другими нормативными документами, регламентирующими общие правила производства работ.
5.1 Инженерные изыскания для подготовки документов территориального планирования, документации по планировке территории и выбора площадок (трасс) строительства должны обеспечивать получение сведений о природных и техногенных условиях территории, необходимых и достаточных для принятия решений о функциональном назначении территорий, в целях обеспечения их устойчивого развития, сохранения окружающей среды, создания условий для привлечения инвестиций, выделения элементов планировочной структуры, установления границ земельных участков и зон планируемого размещения объектов федерального, регионального, муниципального значения, защиты территорий от чрезвычайных ситуаций природного и техногенного характера.
5.2 При планировании хозяйственного освоения территории для предварительной оценки возможности развития оползневых процессов рекомендуется использовать карту распространения оползней на территории Российской Федерации, приведенную в СП 115.13330.2016 (рисунок Б.3).
5.3 Для решения задач, указанных в 5.1, выполняются следующие виды инженерных изысканий: инженерно-геодезические, инженерно-геологические, инженерно-гидрометеорологические и инженерно-экологические.
5.4 Инженерно-геодезические изыскания для подготовки документов территориального планирования, документации по планировке территории и выбора площадок (трасс) строительства в районах развития оползневых процессов выполняются с целью получения актуальных топографических карт и инженерно-топографических планов, материалов дистанционного зондирования земли и других топографо-геодезических материалов и данных, обеспечивающих потребности планирования развития территорий, в соответствии с СП 47.13330.2016 (подраздел 5.2), СП 317.1325800.2017 (раздел 6) и настоящим сводом правил.
5.4.1 Инженерно-геодезические изыскания для подготовки документов территориального планирования, документации по планировке территории и выбора площадок (трасс) строительства включают следующие виды работ:
- сбор имеющихся на район изысканий топографических карт, планов, материалов дистанционного зондирования Земли в государственных фондах пространственных данных;
- сбор, изучение и систематизацию материалов ранее выполненных инженерных изысканий, имеющихся данных наблюдений за деформациями зданий, сооружений и земной поверхности, за опасными природными процессами;
- сбор и изучение исполнительных съемок (исполнительных генеральных планов) зданий и сооружений, размещенных на исследуемых территориях;
- обновление (при необходимости) имеющихся или создание новых инженерно-топографических планов согласно СП 317.1325800.2017 (раздел 5);
- создание геодезических сетей специального назначения для наблюдений за развитием оползневых процессов.
5.4.2 Технический отчет по результатам инженерно-геодезических изысканий, выполненных для подготовки документов территориального планирования, документации по планировке территории и выбора площадок (трасс) строительства в районах развития оползневых процессов, составляется с учетом видов и объемов фактически выполненных работ в соответствии с СП 317.1325800.2017 (пункт 6.7).
5.5 Инженерно-геологические изыскания для подготовки документов территориального планирования, документации по планировке территории и выбора площадок (трасс) строительства в районах развития оползневых процессов выполняются с учетом СП 47.13330.2016 (подраздел 6.2) и настоящего свода правил с целью получения материалов и данных об инженерно-геологических условиях территории, необходимых для установления функциональных зон, определения планируемого размещения объектов капитального строительства, разработки предварительных схем инженерной защиты от оползневых процессов.
5.5.1 При выполнении инженерно-геологических изысканий необходимо устанавливать:
- наличие, распространение и предварительные границы зон (площадей) развития оползневых процессов;
- характеристику оползней по глубине захвата пород оползневыми деформациями, объемам и скорости смещения (таблицы 1-3);
- размеры угрожаемой территории у подножия склона (если предусмотрено заданием);
- факторы и условия возникновения или активизации оползневых процессов;
- приуроченность оползневых процессов к определенным формам рельефа, геоморфологическим элементам, гидрогеологическим условиям, типам грунтов, видам и зонам техногенного воздействия;
- типы и подтипы оползневых смещений (приложение Г);
- стадии развития оползневого процесса (приложение Д);
- предварительную оценку возможности возникновения оползневых процессов под воздействием природных и техногенных факторов;
- необходимость строительства сооружений инженерной защиты от оползневых процессов.
5.5.2 В составе инженерно-геологических изысканий для подготовки документов территориального планирования выполняются:
- сбор и обработка материалов и данных прошлых лет (в том числе анализ имеющихся геологических, гидрогеологических и других карт соответствующего масштаба, архивных и фондовых материалов);
- анализ сейсмичности и сейсмотектонических условий;
- дешифрирование аэро- и космических материалов (в том числе спутниковой радиоинтерферометрии) с ретроспективным их анализом для оценки интенсивности развития оползневых процессов;
- рекогносцировочное обследование (при недостаточности собранных материалов изысканий прошлых лет, аэро- и космических материалов и других данных).
5.5.3 В составе инженерно-геологических изысканий для подготовки документации по планировке территории и выбора площадок (трасс) строительства выполняются:
- сбор и обработка материалов и данных прошлых лет;
- дешифрирование аэро- и космических материалов (в том числе спутниковой радиоинтерферометрии) с ретроспективным их анализом для оценки интенсивности развития оползневых процессов;
- рекогносцировочное обследование;
- инженерно-геологическая съемка.
5.5.4 Результаты дешифрирования аэро- и космических материалов, выполненного в предполевой период, уточняют по результатам рекогносцировочного обследования.
5.5.5 Инженерно-геологическую съемку следует выполнять при недостаточности результатов сбора и анализа материалов изысканий прошлых лет, результатов дешифрирования аэро- и космических материалов и рекогносцировочного обследования.
5.5.6 Инженерно-геологическая съемка выполняется в масштабах 1:25 000-1:2000. Число инженерно-геологических выработок на оползневых участках необходимо устанавливать с учетом сложности инженерно-геологических условий, типа и масштаба развития оползневых процессов. Выработки следует размещать как по продольным (по направлению движения оползня), так и по поперечным профилям.
Инженерно-геологические выработки рекомендуется размещать по профилям, пересекающим исследуемую территорию в наиболее характерных местах (оползневые депрессии, межоползневые гребни, наиболее крупные и типичные для района другие формы рельефа). Число выработок на продольном профиле (по направлению смещения оползня) должно быть не менее трех (выше бровки срыва оползня, в пределах границ оползня, ниже языковой части оползня).
Глубина инженерно-геологических выработок на продольном профиле должна быть больше мощности оползневых накоплений или основного деформируемого горизонта не менее чем на 5 м.
Выработки располагаются с частотой, обеспечивающей построение инженерно-геологических разрезов с детальностью, соответствующей масштабу инженерно-геологической съемки (карты).
5.5.7 При наличии на исследуемой территории оползней нескольких типов следует на наиболее характерных типах оползней предусматривать необходимое число выработок, позволяющее определить механизм смещения, глубину захвата оползневым процессом пород склона и физическое состояние смещающегося грунта в различных частях оползня, а также роль подземных вод в его возникновении.
5.5.8 Для подготовки документов территориального планирования, документации по планировке территории и выбора площадок (трасс) строительства выполняется качественный прогноз оценки устойчивости оползнеопасных склонов.
Для определения частоты и вероятности оползневого события с учетом прогнозируемых изменений инженерно-геологических условий применяются следующие методы:
- экспертной оценки;
- статистической обработки архивных данных, в том числе оценка частоты явлений, приводящих к активизации оползневых подвижек;
- аналогий.
5.5.9 Технический отчет по результатам инженерно-геологических изысканий, выполненных для подготовки документов территориального планирования, документации по планировке территории и выбора площадок (трасс) строительства должен соответствовать СП 47.13330.2016 (подпункты 6.2.1.2, 6.2.2.3 и 6.2.3) и дополнительно содержать:
- результаты анализа материалов изысканий и исследований прошлых лет о наличии, распространении и региональных закономерностях проявления оползневых процессов;
- характеристику инженерно-геологических условий, обусловливающих оползневые процессы;
- характеристику степени активности оползневого процесса;
- качественный прогноз развития оползневого процесса;
- характеристику состояния существующих зданий и сооружений, в том числе сооружений инженерной защиты (по результатам рекогносцировочного обследования);
- характеристику сейсмичности района;
- предложения по выбору оптимального размещения площадки (трассы) строительства, исходя из оценки оползневой опасности территории, и рекомендации для принятия проектных решений по инженерной защите зданий и сооружений.
В графическую часть отчета, в зависимости от решаемых задач, следует включать:
- карту фактического материала района изысканий;
- карту распространения оползней с указанием их местоположения, типов, возраста и степени активности;
- карту инженерно-геологического районирования территории и характеристику таксономических единиц районирования, с выделением категорий оползневой опасности, в соответствии с СП 115.13330.2016 (таблица 5.1);
- карту территорий, подверженных риску возникновения оползневых процессов;
- инженерно-геологические разрезы с указанием размещения скважин (шурфов), выявленного положения уровня грунтовых вод, выявленных и прогнозируемых поверхностей смещения оползня - по результатам выполнения полевых работ (проходка выработок);
- колонки инженерно-геологических выработок по ключевым участкам/профилям (при выполнении полевых работ).
Масштабы карт устанавливаются заданием или в соответствии с СП 47.13330.2016 (приложение Б).
Примечание - Допускается совмещать отдельные карты.
5.6 Инженерно-гидрометеорологические изыскания для подготовки документов территориального планирования, документации по планировке территории и выбора площадок (трасс) строительства в районах развития оползневых процессов выполняются в соответствии с СП 47.13330.2016 (подраздел 7.2) и другими нормативными документами, регламентирующими общие правила производства работ.
5.7 Инженерно-экологические изыскания для подготовки документов территориального планирования, документации по планировке территории и выбора площадок (трасс) строительства в районах развития оползневых процессов выполняются в соответствии с СП 47.13330.2016 (подраздел 8.2) и другими нормативными документами, регламентирующими общие правила производства работ.
Инженерные изыскания в районах развития оползневых процессов для архитектурно-строительного проектирования при подготовке проектной документации объектов капитального строительства в соответствии с СП 47.13330.2016 (пункт 4.30) выполняются для получения необходимых материалов и данных о природных условиях выбранной площадки (трассы) и составления прогноза изменения природных условий, с учетом влияния техногенных факторов, а также обеспечения дальнейшей детализации и уточнения природных условий, в том числе в пределах сферы взаимодействия зданий и сооружений с окружающей средой.
Инженерные изыскания в районах развития оползневых процессов для подготовки проектной документации объектов капитального строительства выполняются в один или два этапа.
На первом этапе изыскания проводятся с целью комплексного изучения данных о природных условиях выбранной площадки (трассы), оценки влияния оползней на проектируемые здания и сооружения, и служат для обоснования компоновки зданий и сооружений, принятия конструктивных и объемно-планировочных решений, составления генерального плана проектируемого объекта, разработки мероприятий по инженерной защите сооружений.
На втором этапе инженерных изысканий выполняется:
- уточнение материалов и данных об оползневой активности;
- уточнение расчетных характеристик оползней в пределах сферы взаимодействия здания или сооружения с геологической средой;
- получение дополнительных данных для оптимизации конструктивных параметров здания или сооружения;
- контроль за развитием и активизацией оползней;
- получение дополнительных материалов и данных необходимых для детализации проектных решений по инженерной защите сооружений;
- изучение оползневых условий дополнительных участков, не исследованных на предыдущем этапе изысканий.
Инженерные изыскания выполняются в один этап, если имеющихся материалов и данных об оползневой активности территории достаточно для обоснования компоновки зданий и сооружений, принятия конструктивных и объемно-планировочных решений, составления генерального плана проектируемого объекта, а также принятия проектных решений по его инженерной защите.
Инженерные изыскания выполняются в два этапа, если имеющихся материалов и данных об оползневой активности территории, полученных на первом этапе, недостаточно для подготовки проектной документации объектов капитального строительства.
6.1.1 Инженерно-геодезические изыскания для подготовки проектной документации объектов капитального строительства на первом этапе в районах развития оползневых процессов выполняются в соответствии с СП 317.1325800.2017 (подраздел 7.1) и настоящим сводом правил.
6.1.2 Цель инженерно-геодезических изысканий - получение/создание:
- информации о топографо-геодезической изученности участка работ, его обеспеченности исходными геодезическими пунктами;
- геодезической основы с плотностью пунктов и точностью определения их планово-высотного положения, обеспечивающими выполнение комплексных инженерных изысканий;
- инженерно-топографических планов масштабов 1:5000-1:200, инженерной цифровой модели местности (ИЦММ), если предусмотрено заданием;
- материалов инженерно-гидрографических работ, если предусмотрено заданием;
- материалов и результатов детального обследования инженерных коммуникаций, обмеров существующих зданий и сооружений, если предусмотрено заданием;
- сведений об осадках и деформациях существующих зданий и сооружений;
- информации о границах участков развития опасных природных процессов;
- иных материалов и данных, необходимых для принятия основных технических решений, разработки генерального плана проектируемого объекта и обеспечения выполнения других видов инженерных изысканий.
6.1.3 При инженерно-геодезических изысканиях для подготовки проектной документации строительства, дополнительно к СП 317.1325800.2017 (подраздел 7.1), на первом этапе выполняются виды работ, указанные в 4.8.1.
6.1.4 Технический отчет по результатам инженерно-геодезических изысканий, выполненных при подготовке проектной документации объектов капитального строительства на первом этапе, составляется в соответствии с СП 317.1325800.2017 (пункт 7.1.5) с учетом фактически выполненных работ.
6.1.5 Инженерно-геологические изыскания для подготовки проектной документации объектов капитального строительства на первом этапе в районах развития оползневых процессов выполняются в соответствии с СП 47.13330.2016 (пункт 6.3.1) и настоящим сводом правил.
6.1.6 Инженерно-геологические изыскания в районах развития оползневых процессов проводятся с целью комплексного изучения инженерно-геологических условий выбранной площадки (трассы), получения необходимых и достаточных материалов для оценки степени оползневой опасности на выбранной площадке (трассе), оценки устойчивости оползневых склонов, прогноза развития оползневых процессов, рекомендаций для принятия проектных решений по противооползневым сооружениям и мероприятиям инженерной защиты.
6.1.7 В составе инженерно-геологических изысканий в районах развития оползневых процессов на первом этапе для подготовки проектной документации объектов капитального строительства выполняют виды работ в соответствии с 4.9.3.
6.1.8 Инженерно-геологическую съемку следует выполнять в масштабах 1:1000-1:500 на территории, где развитие оползневых процессов может создать опасность для проектируемых объектов. Территория инженерно-геологической съемки и глубина исследуемой грунтовой толщи, могут быть увеличены (при дополнительном обосновании в программе) за счет участков прилегающей территории с проявлением оползневых процессов, которые могут оказать влияние на проектируемые здания и сооружения.
6.1.9 Число точек наблюдений, в том числе инженерно-геологических выработок на 1 км2 площади, следует устанавливать в зависимости от масштаба инженерно-геологической съемки с учетом сложности инженерно-геологических условий территории.
6.1.10 Число профилей (продольных и поперечных) инженерно-геологических выработок на оползневом склоне следует устанавливать с учетом размеров оползня и его формы (циркообразной, глетчеровидной, фронтальной). Минимальное число продольных профилей принимается для глетчеровидных оползней, максимальное - для фронтальных, а расстояния между профилями - в пределах 50-200 м. В случаях крупных фронтальных или циркообразных оползней, следует предусматривать несколько продольных профилей с расстоянием между ними 30-50 м.
6.1.11 Инженерно-геологические выработки следует размещать как по продольным (по направлению движения оползня), так и по поперечным профилям. На оползневом склоне основная часть горных выработок должна располагаться по продольным профилям, особенно по профилю, пересекающему склон от бровки до подошвы, по линии максимального уклона поверхности.
6.1.12 Число инженерно-геологических выработок на профиле определяется размером оползня и устанавливается из расчета 2-3 выработки на каждом крупном (более 30 м) элементе оползневого рельефа (оползневых ступенях, понижениях, межоползневых гребнях и т.п.). Кроме того, должны быть пройдены не менее чем по две выработки на устойчивых частях склона (выше бровки срыва и ниже языка оползня).
6.1.13 Расстояние между выработками определяется масштабом инженерно-геологической съемки и должно быть достаточным для выполнения расчетов устойчивости склонов (откосов).
6.1.14 При наличии эрозионного или абразионного подмыва склона в бортах долин или в прибрежной части суши и акватории следует дополнительно намечать ряд коротких продольных профилей.
6.1.15 Глубину изучения толщи грунтов на склонах следует назначать исходя из необходимости проходки всей мощности зоны возможного захвата оползневыми процессами.
Часть инженерно-геологических выработок (не менее 75%) следует проходить в соответствии с 4.9.24 на всю мощность оползневого тела с заглублением ниже ложа оползня в несмещенные породы не менее, чем на 5 м, с целью изучения их состава и состояния. Отдельные (опорные) выработки по оси оползня рекомендуется проходить ниже ложа оползня до глубины характерного маркирующего горизонта в коренных породах для проверки их несмещенности, выявления и изучения различных зон в профиле выветривания.
6.1.16 Геофизические исследования следует выполнять по 4.9.26-4.9.28 и с учетом типа (подтипа) существующих или прогнозируемых оползневых процессов.
6.1.17 Гидрогеологические исследования следует выполнять с учетом 4.9.33-4.9.35 с целью выявления: источников обводнения склонов, направления и скорости движения подземных вод, степени водопроницаемости пород, определения гидрогеологических параметров и обоснования необходимости устройства дренажей.
В процессе проведения любого вида откачек гидрохимическое опробование скважин обязательно.
6.1.18 При опробовании грунтов, слагающих оползневые массы, рекомендуется обеспечивать отбор монолитов грунтов из ослабленных и разуплотненных зон с нарушенными структурными связями (поверхности смещения, соскальзывания, зоны выдавливания), а при невозможности отбора образцов грунтов естественного сложения производить исследования полевыми методами.
Число образцов грунтов, отбираемых для лабораторных исследований их состава, состояния и свойств, устанавливается в программе, исходя из числа литолого-генетических слоев, зон ослабления в массивах оползневых склонов, степени неоднородности грунтов. При этом, число монолитов грунта должно составлять 10-20 для основного деформирующегося горизонта и не менее десяти - для остальных слоев.
6.1.19 Полевые исследования свойств грунтов, при необходимости, следует выполнять в соответствии с 4.9.29-4.9.32 с учетом типа (подтипа) существующих или прогнозируемых деформаций склона.
Выбор методов и соответствующих объемов полевых исследований грунтов следует осуществлять в зависимости от категории сложности и степени изученности инженерно-геологических условий.
При исследованиях сложных оползней следует применять сочетания различных методов определения сопротивления грунтов сдвигу в зависимости от состояния грунтов, вида напряженного состояния грунтов в изучаемой толще и характера их деформаций.
6.1.20 Лабораторные исследования свойств грунтов и подземных вод следует выполнять в соответствии с 4.9.36-4.9.48.
Объемы лабораторных исследований грунтов и подземных вод рекомендуется устанавливать в соответствии с таблицей 4.
Таблица 4
|
Вид лабораторных исследований |
Число испытаний |
|
Определение состава, состояния и показателей физических свойств грунтов |
Не менее 10 определений на каждый инженерно-геологический элемент |
|
Определение химического состава подземных вод и степени агрессивности к бетону и железобетону |
Не менее трех проб воды на каждый водоносный горизонт. Не менее трех определений на каждый инженерно-геологический элемент |
|
Оценка прочностных и деформационных свойств грунтов (угла внутреннего трения, сцепления, модуля деформации) |
Сооружения повышенного и нормального уровня ответственности: - 10-20 для основного деформирующегося горизонта; - не менее 10 для других инженерно-геологических элементов. Сооружения пониженного уровня ответственности: - не менее 10 для основного деформирующегося горизонта; - не менее шести для других инженерно-геологических элементов |
6.1.21 Локальный мониторинг при необходимости, обоснованной в программе, следует выполнять за смещениями (подвижками) грунта, режимом подземных вод в соответствии с 4.9.73-4.9.82.
6.1.22 Инженерно-геологическое районирование территории, подверженной опасным оползневым процессам выполняется при наличии требований в задании. При этом следует:
- подразделять оползнеопасные участки по степени их опасности;
- при широком развитии и часто повторяющихся типах оползней - выполнять типологическое инженерно-геологическое районирование, при этом выделять оползнеопасные участки (или их группы), относящиеся к определенному типу (подтипу) по механизму смещения (приложение Г) с выполнением для них локальной оценки и прогноза устойчивости склонов расчетными методами.
6.1.23 Оценку и прогноз устойчивости склонов количественными (расчетными) методами следует проводить как для отдельных его морфологических элементов (крутых уступов), так и для оценки устойчивости всего склона (коренного склона и оползневых накоплений).
6.1.24 Для каждого типа склонов рекомендуется задавать не менее одного расчетного створа по направлению ожидаемого оползневого смещения с захватом по высоте всей потенциально неустойчивой зоны. При оценке и прогнозе устойчивости склонов количественными методами особое внимание следует уделять:
- определению нормативных и расчетных показателей прочностных свойств грунтов на основе обратных расчетов устойчивости склонов, аналогичных по инженерно-геологическим условиям и примыкающих к рассматриваемым устойчивым склонам - для устойчивых (в период проведения изысканий) склонов;
- выполнению обратных расчетов устойчивости применительно к восстановленным ("реконструированным") инженерно-геологическим условиям, при которых ранее происходили оползневые подвижки - для условно устойчивых склонов с низким запасом устойчивости (Ку<1.5);
- обратным и прямым расчетам устойчивости действующих оползней, а также прогнозу захвата оползневыми подвижками новых, примыкающих к ним участков с верховой или низовой стороны склона - для неустойчивых склонов в стадии смещения оползня (формирование склонов продолжается и сопровождается развитием оползней).
6.1.25 Прогноз размеров и объемов оползневых тел, где выявлена возможность нарушения устойчивости, рекомендуется выполнять для каждого конкретного участка:
- по аналогии с фактически наблюдавшимися смещениями при идентичности инженерно-геологических условий (геологического строения, расположения водоносных горизонтов, глубины уровня подземных вод и значений напора в местах разгрузки на склоне напорных водоносных горизонтов, высоты и крутизны склона);
- специальными расчетами (для оползней сдвига, выдавливания и суффозионных).
6.1.26 Прогноз скорости оползневых смещений следует определять методом аналогии с учетом имеющихся данных о скоростях перемещения оползней разного механизма смещения пород, а для оползней сдвига, выдавливания и вязкопластических - также специальными расчетами.
6.1.27 Время возникновения или активизации оползневых деформаций рекомендуется устанавливать по выявленной для рассматриваемого склона и региона цикличности развития и ритмичности проявления оползней (с учетом механизма смещения пород) и по данным расчетов.
6.1.28 Способы и методы выполнения расчетов устойчивости склонов, рекомендуется принимать согласно имеющимся методическим документам, содержащим положения о количественной оценке и прогнозе устойчивости оползневых склонов, в соответствии с 4.9.61.
6.1.29 Результаты расчетов устойчивости оползневых склонов, полученные с применением различных расчетных схем, методов и способов, необходимо увязывать между собой и корректировать в целях обеспечения достоверных данных для проектирования объектов, в том числе противооползневых сооружений.
6.1.30 Технический отчет по результатам инженерно-геологических изысканий для подготовки проектной документации объектов капитального строительства на первом этапе в районах развития оползневых процессов составляется в соответствии с СП 47.13330.2016 (подпункты 6.3.1.5, 6.3.3.9).
6.1.31 Инженерно-гидрометеорологические изыскания для подготовки проектной документации объектов капитального строительства на первом этапе в районах развития оползневых процессов выполняются в соответствии с СП 47.13330.2016 (пункт 7.3.1) и другими нормативными документами, регламентирующими общие правила производства работ.
6.1.32 Инженерно-экологические изыскания для подготовки проектной документации объектов капитального строительства на первом этапе в районах развития оползневых процессов выполняются в соответствии с СП 47.13330.2016 (пункт 8.3.1) и другими нормативными документами, регламентирующими общие правила производства работ.
6.2.1 Инженерно-геодезические изыскания для подготовки проектной документации объектов капитального строительства на втором этапе в районах развития оползневых процессов выполняются в соответствии с СП 317.1325800.2017 (подраздел 7.2) и настоящим сводом правил.
6.2.2 При инженерно-геодезических изысканиях для подготовки проектной документации строительства, дополнительно к СП 317.1325800.2017 (подраздел 7.2) и 4.8.1 (с учетом результатов работ, выполненных на первом этапе) на втором этапе выполняются следующие виды работ:
- наблюдения в планово-высотной геодезической сети специального назначения на участках развития оползневых процессов (повторные измерения);
- повторные специальные оползневые съемки в масштабах 1:5000-1:200;
- закладка дополнительных деформационных пунктов на выявленных участках ускорения развития оползневых процессов;
- камеральная обработка наблюдений в геодезической сети специального назначения, материалов специальной оползневой съемки.
6.2.3 Технический отчет по результатам инженерно-геодезических изысканий, выполненных на втором этапе для подготовки проектной документации объектов капитального строительства, составляется в соответствии с СП 317.1325800.2017 (пункт 7.2.6), с учетом видов фактически выполненных работ.
6.2.4 Инженерно-геологические изыскания для подготовки проектной документации объектов капитального строительства на втором этапе в районах развития оползневых процессов выполняются в соответствии с СП 47.13330.2016 (пункт 6.3.2) и настоящим сводом правил.
6.2.5 При выполнении инженерно-геологических изысканий в районах развития оползневых процессов на втором этапе необходимо:
- уточнять оползневую опасность на участках размещения отдельных зданий и сооружений с детальностью, обеспечивающей оценку устойчивости склона (отдельных его частей или отдельных оползней);
- получать дополнительные данные, необходимые для разработки проектной документации противооползневых сооружений;
- продолжать локальный мониторинг за оползневыми процессами и оползнеобразующими факторами, создавать, при необходимости, дополнительные наблюдательные пункты и размещать их на исследуемой площадке конкретных зданий и сооружений.
6.2.6 Состав и объемы работ при выполнении инженерных изысканий в районах развития оползневых процессов на втором этапе следует устанавливать с учетом 4.9.3.
6.2.7 Инженерно-геологическую (оползневую) съемку на участках размещения отдельных зданий и сооружений рекомендуется выполнять в масштабах 1:500-1:200.
6.2.8 Для уточнения прочностных, деформационных и фильтрационных свойств грунтов, инженерно-геологические выработки размещают вблизи контуров проектируемых зданий и сооружений и на участках индивидуального проектирования трасс линейных сооружений. В случае необходимости (при изменении инженерно-геологических условий, проявлениях оползневых процессов) на втором этапе изысканий также проходятся выработки за границей проектируемых контуров зданий и сооружений и выполняются расчеты устойчивости склонов.
Число профилей инженерно-геологических выработок (по направлению смещения оползня) следует принимать не менее одного по оси оползня, вдоль правого и левого бортов или с расстоянием между профилями 30-50 м (в зависимости от размеров оползня).
6.2.9 Геофизические, гидрогеологические исследования и полевые испытания грунтов следует выполнять, при соответствующем обосновании в программе, для получения дополнительных данных.
6.2.10 Методики лабораторных определений показателей прочностных свойств грунтов устанавливаются с учетом расположения и характера подготовки основания и особенностей эксплуатации проектируемых зданий и сооружений на каждом участке (срезка, подсыпка, уклоны поверхности, экранирование асфальтом, наличие мокрых процессов, утечек, динамических нагрузок).
Число образцов грунтов (монолитов) должно составлять 10-20 по каждому инженерно-геологическому элементу.
Число лабораторных определений прочностных и деформационных свойств грунтов (угла внутреннего трения, сцепления и модуля деформации) принимается не менее:
- десяти определений по каждому инженерно-геологическому элементу - для сооружений повышенного и нормального уровня ответственности;
- десяти определений для основного деформирующегося горизонта, и не менее шести для других инженерно-геологических элементов - для сооружений пониженного уровня ответственности.
6.2.11 Оценку и прогноз устойчивости склонов следует осуществлять в соответствии с 4.9.61 с учетом выбранного положения зданий и сооружений и уточненных границ зон различной степени опасности оползневых процессов.
По требованию задания, выполняют специальные расчеты для оценки временной устойчивости откосов строительных выемок.
6.2.12 Расчетные створы рекомендуется располагать на всех имеющихся или потенциально возможных оползнях (1-3 створа на каждом оползне по его оси), а также на всех оползнеопасных участках проектируемых зданий и сооружений.
6.2.13 Технический отчет по результатам инженерно-геологических изысканий для подготовки проектной документации объектов капитального строительства на втором этапе в районах развития оползневых процессов составляется в соответствии с СП 47.13330.2016 (подпункты 6.3.2.5, 6.3.3.9) и дополнительно должен содержать:
- характеристику динамики оползневых процессов за период, прошедший со времени окончания инженерных изысканий, выполненных на первом этапе;
- уточненные рекомендации для принятия проектных решений по инженерной защите оползнеопасного участка, с учетом результатов локального мониторинга.
6.2.14 Инженерно-гидрометеорологические изыскания для подготовки проектной документации объектов капитального строительства на втором этапе в районах развития оползневых процессов выполняются в соответствии с СП 47.13330.2016 (пункт 7.3.2) и другими нормативными документами, регламентирующими общие правила производства работ.
6.2.15 Инженерно-экологические изыскания для подготовки проектной документации объектов капитального строительства на втором этапе в районах развития оползневых процессов выполняются в соответствии с СП 47.13330.2016 (пункт 8.3.2) и другими нормативными документами, регламентирующими общие правила производства работ.
7.1 Инженерно-геодезические изыскания при строительстве и реконструкции зданий и сооружений в районах развития оползневых процессов выполняются в соответствии с СП 317.1325800.2017 (раздел 8) и настоящим сводом правил.
7.1.1 В составе инженерно-геодезических изысканий выполняются наблюдения за развитием оползневых процессов при выявлении их признаков на участках строительства и окружающих территориях; на территориях, прилегающих к реконструируемым объектам капитального строительства (склонах, отвалах, берегах водоемов и водотоков); на возводимых и реконструируемых грунтовых сооружениях (плотинах, дамбах, дорожных насыпях, берегах каналов и водохранилищ).
7.1.2 Инженерно-геодезические изыскания при строительстве и реконструкции зданий и сооружений дополнительно к СП 317.1325800.2017 (пункты 5.7.1, 5.7.2, раздел 8) включают следующие виды работ:
- наблюдения в планово-высотной геодезической сети специального назначения на участках развития оползневых процессов (повторные измерения);
- наблюдения за деформациями оснований и фундаментов возводимых (реконструируемых) зданий и сооружений;
- выполнение повторных специальных оползневых съемок в масштабах 1:5000-1:200;
- закладка дополнительных деформационных пунктов на выявленных участках ускоренного развития оползневых процессов;
- камеральная обработка наблюдений в геодезической сети специального назначения (включая наблюдения за деформациями оснований и фундаментов возводимых (реконструируемых) зданий и сооружений), материалов специальной оползневой съемки, составление технического отчета.
7.1.3 Технический отчет по результатам инженерно-геодезических изысканий при строительстве и реконструкции зданий и сооружений в районах развития оползневых процессов составляется в соответствии с СП 317.1325800.2017 (пункты 8.1.7, 8.2.6), с учетом видов фактически выполненных работ.
7.2 Инженерно-геологические изыскания при строительстве зданий и сооружений в районах развития оползневых процессов должны обеспечивать получение материалов и данных о состоянии и изменении оползневой опасности для контроля или корректировки проектных решений и мероприятий, связанных с повышением устойчивости, надежности и эксплуатационной пригодности возводимых зданий и сооружений.
7.2.1 Состав и объемы изыскательских работ следует устанавливать в программе с учетом состояния и устойчивости оползневых склонов, в зависимости от стадии оползневого процесса.
7.2.2 При ведении исполнительной геологической документации строительных выработок (котлованы, траншеи) необходимо фиксировать признаки проявления оползневых процессов, в том числе трещины отрыва и бортового отпора, зоны ослабленных грунтов, вывалов.
7.2.3 На оползневых территориях в начальный период смещения оползня необходимо выполнять локальный мониторинг за появлением и развитием трещин отрыва, динамикой смещения оползневых масс, изменением состояния и свойств грунтов, гидрогеологических условий, морфологии и устойчивости оползневого склона.
7.2.4 На потенциально оползневых участках и оползневых склонах при временной и длительной стабилизации оползней следует выполнять локальный мониторинг за изменениями напряжений в массиве, порового давления и гидрогеологическими условиями для установления степени влияния природных и техногенных факторов на устойчивость оползневых склонов.
7.2.5 На участках активизации оползневых процессов в ходе строительства для оперативного принятия решений по восстановлению и повышению устойчивости склонов и организации строительных работ, в составе инженерно-геологических изысканий дополнительно должны выполняться: рекогносцировочное обследование, проходка инженерно-геологических выработок, отбор образцов грунтов и проб подземных вод и их лабораторные анализы, геофизические и гидрогеологические исследования, полевые исследования свойств грунтов, расчеты устойчивости склонов и моделирование.
7.2.6 Результаты инженерно-геологических изысканий в период строительства объекта представляются в виде технического отчета, который должен содержать данные о скорости и периодичности смещения оползневых масс, проявлении и развитии трещин отрыва, изменении состояния и свойств грунтов, гидрогеологических условий, морфологии и устойчивости оползневых склонов, а также рекомендации для производства строительных работ и проведения противооползневых мероприятий.
7.2.7 Инженерно-геологические изыскания для реконструкции зданий и сооружений в районах развития оползневых процессов, в соответствии с СП 47.13330.2016 (пункт 6.4.5), должны обеспечивать получение материалов и данных, необходимых для разработки проектной документации на осуществление реконструкции, в т.ч. мероприятий инженерной защиты объекта строительства.
7.2.8 При инженерно-геологических изысканиях для реконструкции зданий и сооружений должны быть установлены и отражены в техническом отчете:
- динамика развития и активизации оползневых процессов за время эксплуатации зданий и сооружений (включая изменение свойств и состояния грунтов основания зданий и сооружений, в пределах зоны их влияния), гидрогеологических условий;
- уточненный прогноз изменения устойчивости оползневых склонов;
- рекомендации для принятия решений по разработке мероприятий инженерной защиты.
7.2.9 При инженерно-геологических изысканиях в период эксплуатации зданий и сооружений в районах развития оползневых процессов выполняются наблюдения за осадками и деформациями эксплуатируемых зданий и сооружений, обследование их оснований, а также наблюдения за состоянием и использованием оползневого склона, включая прилегающую территорию для установления динамики изменения факторов, обусловливающих активизацию оползней.
7.2.10 Наблюдения следует выполнять на оползневых территориях при временной и длительной стабилизации и на потенциально оползневых территориях для своевременного выявления активизации оползневых процессов и получения необходимых данных для обеспечения защитных мероприятий по сохранению устойчивости и эксплуатационной пригодности существующих зданий и сооружений, а также для уточнения ранее выполненных прогнозов устойчивости склонов и откосов.
7.3 Инженерно-гидрометеорологические изыскания в составе комплексных инженерных изысканий при строительстве и реконструкции зданий и сооружений в районах развития оползневых процессов выполняются в соответствии с СП 47.13330.2016 (подраздел 7.4) и другими нормативными документами, регламентирующими общие правила производства работ.
7.4 Инженерно-экологические изыскания в составе комплексных инженерных изысканий при строительстве и реконструкции зданий и сооружений в районах развития оползневых процессов выполняются в соответствии с СП 47.13330.2016 (подраздел 8.4) и другими нормативными документами, регламентирующими общие правила производства работ.
Приложение А

а - схема расположения марок в кусте; б - заделка основания марки; 1 - защитный колодец: 2 – хомут; 3 - рабочая труба; 4 - защитная труба; 5 – сальник; 6 – зазор; 7 – опорный диск с арматурой; 8 - бетон
Рисунок Л. 1 - Глубинная трубчатая марка
Приложение Б

1 - марка из неокисляющегося металла; 2 - труба марки; 3 - колодец трубчатого типа; 4 - граница шурфа; 5 - глубина промерзания грунта; 6 - слой бетона; 7 - анкерная плита; 8 – патрубок; 9 - основание колодца; 10 - теплоизоляция; 11- суглинистый грунт; 12 - защитный слой песка; 13 - переходный слой; 14 – защитная крышка
Рисунок Б.1 - Поверхностная марка
Приложение В
а, б - отрезки труб или арматуры, заведенные на дно шурфа в слой бетона или установленные в бетон; в - стержни из труб, арматуры или дерева, вертикально расположенные в грунте до глубины 0, 6-0, 9 м; г - стержни из трубы или арматуры, установленные в заполненном бетоном шурфе размер 0, 4×0, 4×0, 5 м; д- цокольная марка; е - боковая поверхностная марка. 1 - металлическая труба или арматурный стержень; 2 - полусферическая головка; 3 - защитный колпачок; 4 – бетон; 5 - наибольшая глубина промерзания; 6 - закладная марка; 7 - железобетонный элемент
Рисунок В. 1 - Контрольная марка
Приложение Г
Таблица Г.1
|
Типы оползневых процессов (по механизму смещения пород) |
Подтипы |
Характеристика пород основного деформируемого горизонта |
Характер проявления |
|
Оползни сдвига (скольжения) |
Инсеквентные (срезающие) |
Глинистые (реже выветрелые полускальные и скальные) грунты, массивные, слоистые, с пологим или обратным падению склона залеганием слоев |
Смещение блоков пород по вогнутой криволинейной поверхности с одновременным их запрокидыванием |
|
Консеквентные (соскальзывающие) |
Прослои глинистых пластичных грунтов в толще более прочных грунтов и поверхности ослабления, наклоненные в сторону падения склона |
Смещение массива или блоков пород по поверхностям ослабления | |
|
Оползни выдавливания |
- |
Глинистые, преимущественно пластичные |
Выдавливание грунта из-под подошвы прибровочного уступа склона и его смещение совместно с ранее образовавшимися на склоне оползневыми накоплениями |
|
Оползни вязкопластические |
Оползни-потоки Сплывы (оплывины) |
Глинистые, малоуплотненные и слаболитифицированные, пластичные |
Вязкопластическое течение массы грунта: по ложбинам - оползни-потоки, вытянутой по оси оползания формы в плане; на увлажненных крутых уступах - сплывы; в пределах зоны сезонного промерзания при оттаивании - оплывины |
|
Оползни гидродинамического разрушения |
Суффозионные Гидродинамического выпора |
Водонасыщенные песчаные и глинистые пылеватые грунты |
Отрыв оползневого тела или обрушение суффозионной ниши с последующим растеканием сместившейся водонасыщенной массы |
|
Оползни внезапного разжижения |
Несейсмогенного разжижения Сейсмогенного разжижения |
Слабоуплотненные глинистые и песчаные водонасыщенные грунты, подверженные быстрому разупрочнению при динамических воздействиях |
Разжижение при динамическом воздействии (техногенном сотрясении или сейсмических толчках) и быстрое вязкое течение разжиженного грунта по уклону рельефа |
|
Каменные лавины |
- |
Скальные и полускальные грунты |
Быстрое (скорость более 20 м/с) перемещение очень крупных и грандиозных скальных оползней, затрагивающее большие площади у подножия склона и противоположные склоны на значительную высоту |
|
Примечание - Возможны промежуточные типы оползневых процессов, а также наличие сложного (комбинированного) механизма их проявления. | |||
Приложение Д
Таблица Д.1
|
Стадия оползневого процесса |
Характерные признаки стадии оползневого процесса |
Задачи исследований |
Методы исследований |
|
Подготовительный период |
Повышение напряжений при эрозионном (абразионном) или техногенном воздействии на склон. Увеличение влажности, выветривание. Уменьшение прочности грунта |
Установление возможности проявления оползневого процесса, факторов его активизации |
Сбор данных по объектам-аналогам. Определение свойств грунтов. Наблюдения за уровнем грунтовых вод и напорами. Расчетные методы |
|
Начальный период проявления |
Образование трещин растяжения. Оконтуривание трещинами тела оползня. Начало оседания поверхности с образованием западины, появление вала выпирания в основании склона |
Определение масштабов начинающегося процесса, оперативный прогноз времени смещения |
Измерение трещин. Наблюдения за поверхностными и глубинными перемещениями, уровнем грунтовых вод. Расчетные методы |
|
Основное смещение оползня |
Отчленение оползневых тел и основное их смещение. Регрессивное или прогрессивное развитие. Проявление различных форм и скоростей движения частей оползневых тел |
Оперативный прогноз интенсивности развития дальнейшего смещения |
Определение изменений формы поверхности склона, векторов и скоростей смещения, мощности оползня, трещинная оползневая съемка. Расчетные методы |
|
Временная стабилизация |
Неизменность формы склона. Отсутствие появления свежих трещин растяжения. Появление растительности и ее нормальное развитие |
Оценка возможности повторной активизации процесса и дальнейшего смещения |
Наблюдения за реперами и уровнем грунтовых вод, напорами, периодические обследования с выполнением отдельных видов работ в целях контроля стабилизации склона |
Приложение Ж
1 Наименование типа (подтипа) и местоположение оползня по отношению к геоморфологическим элементам.
2 Генезис, ориентировка, конфигурация, высота и крутизна склона, на котором расположен оползень.
3 Базис оползня.
4 Форма и размеры оползня в плане (длина, ширина, площадь).
5 Средний уклон поверхности оползня.
6 Характер границ оползня (стенка срыва, борта, язык), характер и состояние обрывов (свежие, выветрелые, задернованные), их профиль, высота, крутизна и характер бровок, амплитуда смещения, характер и ширина трещин, наличие просевших участков, следов надвигания и смятия, валов и бугров выпирания, следов подмыва или свежей подрезки языка.
7 Границы водосборной площади оползня и ее размеры.
8 Рельеф и характер поверхности вокруг оползня в пределах его водосборной площади. Если водосборная площадь очень велика, то дается ее общая характеристика, а детально описывается только та часть, которая непосредственно примыкает к оползню. Наиболее детально следует описывать овраги, балки, канавы, водоемы, их расположение, условия, определяющие сток и фильтрацию (наличие трещин, распашка склонов и пр.).
9 Общая характеристика рельефа оползня (с выделением отдельных геоморфологических элементов).
10 Подробная характеристика каждого выделенного морфологического элемента оползня (оползневой ступени и уступа, цирка второго порядка и т.п.), его формы, размеров, среднего уклона и характера поверхности (наличие бессточных впадин, запрокинутых площадок, валов, бугров, гряд, трещин, суффозионных воронок), отдельных элементов макрорельефа, следов свежих смещений.
11 Рельеф и характер поверхности ниже языка оползня: пляж или бичевник - его ширина, профиль, крутизна (средняя и на отдельных участках профиля), слагающий материал, урез воды в водоеме; терраса - ее наименование, возраст, высота (относительная и абсолютная), ширина, характер поверхности и характер сопряжения с оползнем; наличие водотока и свежего размыва (тела и языка оползня), профиль оврага, наличие искусственной подрезки основания склона и ее характеристики; следы суффозии; наличие выпирания впереди оползня - расстояние вала (или валов) выпирания от языка оползня, форма вала в плане и его профиль, размеры, уклон внешнего и внутреннего склонов, характер поверхности и строение.
12 Гидрографическая сеть на оползне, водопроявления и источники питания оползня водой: канавы, овраги с постоянным или временным водотоком - их профиль, геологическое строение стенок, расположение, водосборная площадь (положение водоразделов второго порядка); колодцы, источники, условия выхода воды, дебит; бессточные площади, заболоченности, временные озерца, мочажины, их расположение, форма и размеры; расположение и состояние водопроводной и канализационной сети.
13 Растительный покров на оползне (по выделенным геоморфологическим элементам) и вокруг него: вид растительности, ее густота и расположение, наличие болотной растительности, сохранение или нарушение правильности рядов деревьев (аллеи, сады, плантации), наклон, искривление или разрыв стволов деревьев, их возраст, сведения о времени посадки.
14 Положение скальных выступов, крупных камней, пней и других заметных предметов.
15 Здания и инженерные сооружения на оползне и вокруг него (в том числе дороги, насыпи, водоемы, водопроводная и канализационная сеть, наличие утечек воды, противооползневые и берегоукрепительные сооружения); краткие сведения о материале, конструкции и основных размерах, времени их сооружения, последнего ремонта, состояние, наличие и характер деформаций.
1 Принадлежность к системе трещин.
2 Форма в плане (прямая, изогнутая, полукруглая, извилистая, волнистая, ломаная, зубчатая), ее длина, ориентировка относительно оси и границ оползня, направление выпуклости, положение на оползне по отношению к его морфологическим элементам.
3 Ширина трещин (максимальная, минимальная и средняя), ее длина и характер концов (замыкаются, доходят раскрытыми до другой трещины и т.п.).
4 Видимая глубина трещины и ее падение.
5 Характер стенок трещины: гладкие - с зеркалами скольжения, бороздами и штрихами (с указанием направления последних) или неровные - шероховатые, бугристые, смятые.
6 Взаимное расположение и перепад по высоте бровок трещины.
7 Связь трещин с геологическими условиями (приуроченность к определенной породе, изменение характера при пересечении пород разного состава и т.п.).
8 Наличие заполнителя трещин и его состав.
9 Влияние трещин на гидрогеологическое условия - разгрузка подземных вод, инфильтрация поверхностных вод.
10 Соображения о генезисе трещин (растяжения, сдвига), о характере деформации, факторах, вызвавших их появление.
При наличии сходных трещин следует описывать по приведенной схеме отдельные наиболее крупные и типичные трещины.
11 Взаимное расположение трещин: правильно ориентированные - параллельные или пересекающиеся (углы пересечения), или неправильно переплетающиеся.
12 Характер сопряжения трещин в местах их пересечения и соображения о последовательности их образования.
При наличии пересекающихся трещин разного характера выделяются их типы или серии со сходной характеристикой, при этом каждый тип или серия описывается отдельно, определяется расстояние между трещинами и рассчитывается блочность массива.
Предельными границами больших оползней могут быть основные водоразделы между главными гидрографическими единицами - ручьями и реками. На склоне эти границы - гребни, которые определяют группы урочищ.
Положение головы произошедшего оползня нередко может определять родник или их группа, балка, лог или распадок с постоянным или периодическим водотоком, значительно увлажненный участок местности, озеро или пруд, крутой склон, резервуары с водой (лотки, канавы).
Борта оползня могут теряться в рельефе, тогда границы между оползнем и рельефом определяются по косвенным признакам:
- тело оползня у борта имеет следы растяжения;
- различный цвет травы с разным направлением роста;
- хворост у борта повернут по направлению оползня;
- более рыхлый грунт вблизи к краю оползня;
- корни волочения у деревьев и кустарников, растущих у борта и прочее.
Язык оползня определяется по его значительному обводнению, сочной траве и другим влаголюбивым растениям, растущим в его пределах.
Приложение И
Таблица И.1
|
Наименование модели |
Лабораторные параметры |
|
Упругопластическая модель Мора-Кулона (Mohr-Coulomb) |
E - модуль деформации, МПа |
|
v - коэффициент Пуассона | |
|
φ - угол внутреннего трения трунта, град | |
|
с - удельное сцепление грунта, кПа | |
|
Упругопластическая модель с упрочнением грунта (Hardening Soil) |
E50ref - секущий модуль деформации при 50%-ном значении (σ1-σ3) из трехосных испытаний с заданным опорным давлением pref, кПа |
|
Eoedref - касательный модуль деформации из компрессионных испытаний с заданным опорным давлением pref, кПа | |
|
Eurref - модуль деформации при разгрузке - повторном нагружении из трехосных испытаний с заданным опорным давлением pref, кПа | |
|
νur - коэффициент Пуассона при разгрузке - повторном нагружении | |
|
m - степенной показатель жесткости | |
|
K0nc - коэффициент бокового давления грунта при нормальном уплотнении | |
|
Rf - параметр асимптоты девиатора напряжений | |
|
pref - опорный уровень напряжений при испытаниях, кПа | |
|
φ - угол внутреннего трения грунта, град | |
|
с - удельное сцепление грунта, кПа |
Библиография
[1] ОСТ 68-14-99 Виды и процессы геодезической и картографической производственной деятельности. Термины и определения
[2] ОСТ 68-15-01 Измерения геодезические. Термины и определения
[3] ГКИНП-02-033-82 Инструкция по топографической съемке в масштабах 1:5000, 1:2000, 1:1000 и 1:500
[4] ГКИНП (ОНТА)-02-262-02 Инструкция по развитию съемочного обоснования и съемке ситуации и рельефа с применением глобальных навигационных спутниковых систем ГЛОНАСС и GPS
[5] ГКИНП (ОНТА)-01-271-03 Руководство по созданию и реконструкции городских геодезических сетей с использованием спутниковых систем ГЛОНАСС и GPS
[6] ГКИНП (ГНТА)-03-010-02 Инструкция по нивелированию I, II, III и IV классов
[7] П87-2001 Рекомендации по проведению натурных наблюдений за осадками грунтовых плотин
[8] ГКИНП (ГНТА)-17-004-99 Инструкция о порядке контроля и приемки геодезических, топографических и картографических работ


