СП 109.13330.2012 (23.11.2020) ХОЛОДИЛЬНИКИ Актуализированная редакция СНиП 2.11.02-87
С изменениями:
(30 декабря 2015 г., 5 июля 2018 г., 23 ноября 2020 г.)
The cold storages
Дата введения 1 января 2013 г.
Введение
Настоящий свод правил является актуализированной редакцией СНиП 2.11.02-87 "Холодильники". Основанием для разработки нормативного документа является Федеральный закон от 30 декабря 2009 г. N 384-ФЗ "Технический регламент о безопасности зданий и сооружений".
Актуализация выполнена авторским коллективом ОАО "ЦНИИПромзданий" в составе: д-р техн. наук, проф. В.В. Гранев, канд. техн. наук, проф. С.М. Гликин, д-р техн. наук, проф. А.Г. Гиндоян, канд. техн. наук В.Я. Грушко, инженеры К.В. Авдеев, Г.А. Карганов, Б.В. Лифанов.
Изменение N 3 к настоящему своду правил выполнено авторским коллективом АО "ЦНИИПромзданий" (канд. техн. наук Н.Г. Келасьев, инженеры К.В. Авдеев, Н.М. Баева).
1.1 Настоящий свод правил распространяется на проектирование зданий холодильников (охлаждаемых складов) и помещений для охлаждения, замораживания и хранения пищевых продуктов.
Здание холодильника (охлаждаемого склада) включает в себя камеры, транспортные коридоры, грузовые платформы и другие подсобные помещения.
1.2 Настоящий свод правил не распространяется на проектирование технологических цехов - компрессорных отделений, складов хладоагента, градирен и других, входящих в комплекс холодильного предприятия.
1.3 Настоящий свод правил должен соблюдаться на всех этапах создания и эксплуатации холодильников и помещений, предназначенных для холодильной обработки и хранения пищевых продуктов в целях обеспечения требований, отраженных в Федеральных Законах [1], [2], [3], [4].
Перечень нормативных документов, на которые приведены ссылки, приведен в приложении А.
Примечание - При пользовании настоящим сводом правил целесообразно проверить действие ссылочных стандартов и классификаторов в информационной системе общего пользования - на официальном сайте национального органа Российской Федерации по стандартизации в сети Интернет или по ежегодно издаваемому информационному указателю "Национальные стандарты", который опубликован по состоянию на 1 января текущего года, и по соответствующим ежемесячно издаваемым информационным указателям, опубликованным в текущем году. Если ссылочный документ заменен (изменен), то при пользовании настоящим сводом правил следует руководствоваться замененным (измененным) документом. Если ссылочный документ отменен без замены, то положение, в котором дана ссылка на него, применяется в части, не затрагивающей эту ссылку.
В настоящем своде правил приняты термины и определения, приведенные в приложении Б.
4.1 Уровень ответственности проектируемых зданий и сооружений определяется согласно [2] и ГОСТ 27751. При повышенном уровне ответственности должен быть проведен расчет на аварийную ситуацию.
4.2 По функциональному назначению холодильники подразделяют на:
холодильники длительного хранения мороженых продуктов;
распределительные холодильники для обеспечения скоропортящимися продуктами предприятий торговли и общественного питания;
производственные холодильники в пищевой промышленности, технологически связанные с процессами обработки и переработки продуктов питания;
холодильники для хранения овощей и фруктов.
4.3 Холодильники могут быть самостоятельными предприятиями или входить в состав предприятий пищевой промышленности в блокировке с технологическими цехами.
4.4 Температура воздуха в охлаждаемых камерах устанавливается по технологическим нормам хранения продуктов.
4.5 Охлаждаемый объем холодильника определяется как сумма объемов камер хранения мороженых и охлажденных продуктов.
4.6 Холодильники по величине охлаждаемого объема подразделяются на: малые - до 2,5 тыс. м3, средние - от 2,5 тыс. м3 до 20 тыс. м3 и крупные - свыше 20 тыс. м3.
Емкость холодильника, в тоннах, характеризуется максимальным количеством единовременно хранимых продуктов в объеме охлаждаемых помещений.
4.7 Холодильники малого и среднего объема проектируют одноэтажными, крупные - преимущественно четырех-пятиэтажными или одноэтажными высотными со стеллажным хранением продуктов. Многоэтажные холодильники, как правило, проектируют с подвальным этажом и камерами хранения охлажденных грузов при температуре от 0 до 5°С.
4.8 В целях уменьшения теплопритоков в холодильные камеры рекомендуется предусматривать компактное размещение камер с одинаковыми или близкими температурными режимами. Объемно-планировочное решение здания холодильника должно оцениваться показателем компактности, который характеризуется как отношение суммарной площади наружных ограждений к объему здания.
4.9 По материалам несущих и ограждающих конструкций здания холодильников подразделяются на:
холодильники из железобетонных и каменных конструкций с теплоизоляцией из плитных материалов;
холодильники из легких металлических и стальных конструкций с применением теплоизоляционных панелей типа "сэндвич",
холодильники с каркасом из железобетонных конструкций с ограждением панелей типа "сэндвич".
4.10 Многоэтажные холодильники должны оборудоваться грузовыми лифтами со стороны железнодорожной и автомобильной платформ с эвакуационными лестничными клетками с выходами с этажей здания на грузовые платформы.
4.11 Обеспечение доступности зданий и помещений, где предусматриваются рабочие места для инвалидов и маломобильных групп населения, следует выполнять в соответствии с требованиями СП 59.13330.
Категория зданий и помещений устанавливается в технологической части проекта в соответствии с СП 12.13130, нормами технологического проектирования.
4.12 Размещение помещений различных категорий в зданиях и их отделения друг от друга, требования к эвакуационным путям и выходам, наружным легкосбрасываемым конструкциям, устройству дымоудаления следует принимать в соответствии с СП 56.13330, СП 1.13130, СП 2.13130, СП 4.13130, СП 7.13130.
4.13 Производственная среда в охлаждаемых помещениях холодильника классифицируется как слабоагрессивная по отношению к железобетону и среднеагрессивная - по отношению к стали. Защита строительных конструкций от коррозии принимается в соответствии с требованиями СП 28.13330.
4.14 Требования по проектированию зданий и помещений для хранения овощей и фруктов приведены в СП 105.13330.
4.15 Проектирование строительных конструкций зданий холодильников выполняется с учетом требований СП 15.13330, СП 16.13330, СП 20.13330, СП 22.13330, СП 63.13330 в зависимости от применяемых материалов в конструкциях.
5.1 Площади основных и вспомогательных помещений зданий холодильников определяют по нормам технологического проектирования соответствующих отраслей пищевой промышленности.
5.2 Число охлаждаемых помещений в зданиях одноэтажных и многоэтажных холодильников и расположение коридоров устанавливаются в технологической части проекта с соблюдением требований по эвакуации персонала. В холодильниках распределительного типа из металлических конструкций предпочтение следует отдавать безкоридорному размещению холодильных камер с непосредственными выходами из них на параллельные автомобильные и железнодорожные платформы. Коридор или тамбур располагают вдоль грузовых платформ и камер холодильников.
Размеры проемов, ширина проездов и грузовых платформ проектируются с учетом типа используемых погрузочно-разгрузочных и транспортных средств.
5.3 Одноэтажные здания холодильников проектируются однопролетными или многопролетными со стальным, железобетонным или комбинированным каркасом с применением большепролетных несущих конструкций покрытий и ограждающими конструкциями из трехслойных панелей типа "сэндвич".
По конструктивной схеме здания холодильников подразделяются на три основных типа:
с наружным каркасом и чердаком;
с внутренним каркасом без чердака;
высотные здания с внутренним стеллажным каркасом без чердака.
В зданиях с наружным каркасом для поддержания стабильного температурного режима в охлаждаемых помещениях большого объема и сокращения теплопритоков необходимо устройство чердачной кровли. Для снижения воздействий солнечной радиации наружные стены необходимо экранировать, предусматривая в прослойке между наружной поверхностью стен и экраном естественное вентилирование. Экраны могут выполняться из металлических или железобетонных конструкций.
5.4 Высота здания одноэтажных холодильников от поверхности пола до низа несущих конструкций покрытия принимается в соответствии с унифицированными высотами одноэтажных производственных зданий и должна составлять: для холодильников среднего и большего объема - не менее 6 м; для малого объема - не менее 4,2 м.
При проектировании одноэтажных холодильников из металлических конструкций со стеллажным хранением продуктов высота здания допускается до 40 м.
Охлаждаемые помещения с одинаковым или близкими температурными режимами следует группировать в единый охлаждаемый объем.
5.5 Многоэтажные здания холодильников следует предусматривать до шести этажей включительно с высотами этажей 4,8 и 5,4 м. Нормативные нагрузки на перекрытия принимаются соответственно 2000 и 3000 кгс/м2 в зависимости от вида и способа складирования хранимой продукции. При необходимости допускается устройство подвала высотой до 4,2 м с температурой в охлаждаемых помещениях 0°С и выше.
5.6 Здания многоэтажных холодильников следует проектировать с железобетонным каркасом. Железобетонные перекрытия в охлаждаемых помещениях должны быть безбалочными.
5.7 Класс по прочности на сжатие бетона для железобетонных конструкций должен приниматься не менее В20.
Цементы и заполнители, предназначенные для приготовления бетона железобетонных несущих и ограждающих конструкций зданий холодильников, должны соответствовать требованиям СП 28.13330.
Для несущих конструкций холодильников марку бетона по морозостойкости и водонепроницаемости следует принимать по ГОСТ 31384, но не ниже:
F150 и W4 - в низкотемпературных холодильниках (температура ниже минус 5°С);
F100 и W4 - в холодильниках для хранения овощей и фруктов (температура минус 5°С и выше).
5.8 Железобетонные панели наружных стен зданий низкотемпературных холодильников должны иметь марку по морозостойкости тяжелого бетона не ниже F200 для районов с расчетной зимней температурой до минус 40°С включительно и не ниже F300 - при температуре ниже минус 40°С; панели из легкого бетона - не ниже F150 и F200. Марка бетона панелей по водонепроницаемости должна соответствовать ГОСТ 31384, но не ниже W4. Толщина наружного несущего железобетонного слоя принимается по расчету, но не менее 120 мм. Защитный слой бетона рабочей арматуры железобетонных конструкций должен быть не менее 20 мм.
5.9 Для холодильников, предназначенных для хранения овощей и фруктов, марку по морозостойкости бетона наружных стеновых железобетонных панелей допускается принимать:
а) в районах с расчетной зимней температурой ниже минус 40°С:
для тяжелого бетона F200,
для легкого бетона F150;
б) в районах с расчетной зимней температурой выше минус 40°С:
для тяжелого бетона F150,
для легкого бетона F100.
Марка бетона по водонепроницаемости для всех случаев должна соответствовать ГОСТ 31384, но не ниже W4.
5.10 Наружные и внутренние стены необходимо проектировать из глиняного обыкновенного сплошного кирпича пластического прессования марки не ниже M100 на тяжелом растворе марки не ниже М50.
В нормальных и сухих климатических зонах, определяемых по СП 50.13330, допускается использовать для наружных стен силикатный кирпич марки M150 или природные камни марки не ниже М75 с маркой по морозостойкости не менее F25.
Марку по морозостойкости для кирпича и естественных камней для стен необходимо принимать по СП 15.13330, но не ниже F25.
В стенах зданий холодильников не допускается наличие пустот. Для защиты от грызунов следует предусматривать установку сеток с размерами ячеек не более 12×12 мм.
Кладка из пустотелых камней всех видов ограждающих конструкций в охлаждаемых помещениях не допускается.
5.11 Перегородки между камерами должны выполняться из глиняного кирпича или железобетонными из бетона марки по морозостойкости не ниже F75.
Внутренние стены зданий многоэтажных холодильников, несущие нагрузку от перекрытий, могут предусматриваться из полнотелого глиняного кирпича, сборного или монолитного железобетона.
Стены и колонны охлаждаемых помещений, а также стены транспортных коридоров и вестибюлей должны быть защищены от ударов напольного транспорта ограждением, высотой не менее 500 мм.
Для устройства наружных и внутренних ограждающих конструкций могут применяться трехслойные панели типа "сэндвич":
- панели конвейерного производства с теплоизоляционным слоем из жесткого пенополиуретана (ППУ) плотностью ~50 кг/м3;
- панели с теплоизоляционным слоем из минераловатных плит на основе базальтового волокна плотностью 100-120 кг/м3 или пенополистирола плотностью 25-35 кг/м3;
- панели с теплоизоляционным слоем пенополистирола плотностью 25-35 кг/м3.
Трехслойные панели типа "сэндвич" применяются для выполнения ограждений отдельных холодильных камер, в том числе без крепления к каркасу, камер (помещений) для хранения фруктов и овощей с регулируемой газовой средой согласно требованиям СП 105.13330.
Облицовки панелей должны выполняться из стальных листов толщиной не менее 0,5 мм с антикоррозионным покрытием светлых тонов. Альбедо (отражательная способность поверхности) наружной поверхности панелей, окрашенных белой синтетической эмалью, достигает 60%.
Ширина (высота) применяемых панелей от 1000 до 1200 мм, толщина - от 50 до 300 мм; длина - от 3000 до 12000 мм.
Панели с минераловатной теплоизоляцией допускается применять для холодильников с температурой камер выше минус 5°С, а также для устройства противопожарных перегородок.
5.12 Стены и покрытия трехслойных панелей типа "сэндвич" необходимо рассчитывать на климатические воздействия согласно СП 20.13330. При вертикальной разрезке наружных панелей стен расстояния по длине между креплениями к каркасу здания необходимо определять с учетом изменения температур по их сечению. Максимальные температуры на поверхности: для наружных панелей 90°С, для внутренних 45°С.
При высоте камер более 25 м необходимо рассчитывать ограждающие конструкции камеры - панели на нагрузку от разницы давления, определяемого по формуле (1б).
Расчет панелей необходимо выполнять согласно требованиям СП 362.1325800, при этом необходимо учитывать следующие факторы и нагрузки:
для стеновых и кровельных панелей:
- равномерно распределенную нагрузку;
- температурный режим эксплуатации;
- перепад давления, при необходимости;
- вид и количество креплений (в том числе без крепления к каркасу);
для потолочных панелей:
- собственный вес;
- нормативную, равномерно распределенную нагрузку.
При устройстве чердачных кровель панели покрытия охлаждаемых помещений следует подвешивать к нижним поясам стропильных конструкций покрытия. При этом допускается опирать их на панели стен и перегородок. Панели стен и перегородок, на которые опираются панели покрытия, необходимо рассчитывать, как сжато-изгибаемые элементы, при условии, что отсутствуют крепления к каркасу.
Нормативные значения равномерно распределенных нагрузок на панели покрытий охлаждаемых помещений следует принимать равными 50 кгс/м2, сосредоточенной нагрузки 100 кгс.
Вертикальные предельные прогибы панелей стен, покрытий и кровель должны быть не более 1/150 пролета.
Прогиб панелей покрытий камер охлаждаемых помещений, с креплением подвесками, следует определять с учетом прогиба стропильных конструкций покрытия.
При проектировании зданий холодильников с охлаждаемыми помещениями большого объема и ограждающими конструкциями из трехслойных панелей типа "сэндвич" следует предусматривать устройство предохранительных клапанов с целью снижения возникновения избыточного давления воздуха внутри охлаждаемых помещений.
При установке клапанов разницу давления при расчете панелей допускается не учитывать..
5.12а Площадь предохранительных клапанов Aк, м2, определяется по формуле
Aк=0,063Q/√((tк+273)ΔP), (1a)
где Q - сумма внутренних теплопритоков в камеру, кВт;
tк - температура воздуха в охлаждаемых камерах, °С;
ΔP - допустимая разница расчетных давлений между внутренним и окружающим, Н/м2, которое обычно составляет 0,125 кПа.
Разница давлений, Па, определяется по формуле
ΔP=0,043ΔTh, (1б)
где ΔT - разность температуры наружного воздуха и температуры воздуха в охлаждаемой камере, °С;
h - высота охлаждаемой камеры, м.
5.12б Холодильное оборудование (воздухоохладители) должно крепиться к несущим строительным конструкциям напрямую или с помощью дополнительных конструкций - рам с учетом собственного веса оборудования, трубопроводов, веса хладагента и дополнительных конструкций.
Крепление оборудования к панелям не допускается.
Материалы для конструкций крепления оборудования должны быть коррозионностойкими согласно СП 28.13330.
При проектировании подвесок для крепления коммуникаций и их пропуска через изоляционные панели, необходимо предусматривать их герметизацию и пароизоляцию.
Дверные проемы по боковым и верхним сторонам должны быть защищены от возможных ударов напольным транспортом стальными рамами с предупредительной окраской.
Крепление панелей следует предусматривать на стальных болтах (шпильках), саморезах. Материалы крепежных элементов должны отвечать требованиям по коррозии СП 28.13330, в том числе электрохимической защиты. Элементы крепления должны иметь защитное покрытие или защитные крышки со стороны охлаждаемого помещения-камеры.
Узлы сопряжения панелей и детали крепления приведены в приложении Е.
5.13 На первом этаже холодильников должны располагаться транспортные коридоры для связи с платформами, охлаждаемыми и другими помещениями.
Внутренняя отделка охлаждаемых помещений должна предусматриваться с учетом санитарных требований, исключающих возможность грибкового поражения.
5.14 Для работающих должны быть предусмотрены помещения, оборудованные шкафами для сушки спецодежды, пристенными и напольными нагревательными панелями и устройствами для согревания рук. Эти помещения должны располагаться на расстоянии не более 100 м от рабочего места, в многоэтажных холодильниках - через этаж.
5.15 Степень огнестойкости и класс конструктивной пожарной опасности зданий холодильников в зависимости от охлаждаемого объема принимается по таблице 1.
Таблица 1
|
Степень огнестойкости |
Класс конструктивной пожарной опасности |
Охлаждаемый объем | |
|
одноэтажные здания холодильников |
многоэтажные здания холодильников | ||
|
I |
С0, С1 |
Свыше 20 тыс. м3 | |
|
II |
С0, С1 |
От 2,5 до 20 тыс. м3 включ. | |
|
III |
С0, С1 |
До 2,5 тыс. м3 |
- |
|
IV |
С0, С1 |
Со стеллажным каркасом свыше 20 тыс. м3 |
- |
Степень огнестойкости зданий холодильников в зависимости от их конструктивных решений представлена в приложении В.
5.16 В одноэтажных зданиях класса пожарной опасности С1 теплоизоляция стен и покрытий из материалов группы горючести Г1-Г2 должна разделяться на противопожарные отсеки, площадью не более 1000 м2.
При проектировании многоэтажных зданий холодильников с ограждающими конструкциями из каменных и бетонных материалов с применением горючей теплоизоляции следует предусмотреть поэтажно противопожарные пояса.
Противопожарные пояса должны быть шириной не менее 500 мм и выполнены с применением теплоизоляционных материалов группы горючести НГ с коэффициентом теплопроводности не более 0,12 Вт(м·ºС) и водопоглощением в течение 24 ч не более 5% объема.
Противопожарные пояса должны плотно примыкать к огнестойким конструкциям. В них не допускается устройство отверстий и пропуск коммуникаций. Пароизоляция противопожарных поясов должна выполняться из материалов группы горючести НГ.
5.17 Теплоизоляция из горючих материалов должна быть защищена со стороны помещений материалами, обеспечивающими требуемые предел огнестойкости ограждающих конструкций и класс конструктивной пожарной опасности.
5.18 При размещении машинных отделений холодильных установок и бытовых помещений в одном здании с помещениями хранения и товарной обработки продуктов их следует отделять от других помещений противопожарными перегородками 1-го типа и перекрытиями 3-го типа.
В зданиях холодильников для хранения картофеля, овощей и фруктов допускается отделять указанные помещения перегородками и перекрытиями, выполненными из трехслойных панелей типа "сэндвич" с утеплителем группы горючести НГ или Г1.
В зданиях многоэтажных холодильников I и II степеней огнестойкости допускается на первом этаже размещать машинные и аппаратные отделения аммиачных холодильных установок, отделяя их от других помещений противопожарными перегородками 1-го типа и перекрытиями 3-го типа.
Помещения машинных отделений аммиачных установок должны иметь не менее двух выходов, один из которых непосредственно наружу.
Допускается устройство одного из выходов через тамбур-шлюз в коридор подсобно-бытовых помещений машинного отделения.
Над помещениями машинных и аппаратных отделений аммиачных холодильных установок не допускается располагать помещения с постоянными рабочими местами, включая административные и бытовые.
Аппаратные отделения допускается располагать над машинными отделениями.
В помещениях машинных отделений холодильных установок и зарядных станций следует предусматривать молниезащиту.
5.19 Кровли зданий холодильников следует проектировать согласно СП 17.13330.
Для удаления воды с кровель предусматривается внутренний или наружный организованный водоотвод. При высоте здания до 10 м рекомендуется устройство организованного наружного водоотвода. Устройство внутреннего водоотвода, как правило, следует выполнять при высоте здания свыше 10 м. Внутренний организованный водоотвод выполнять обогреваемым с теплоизоляцией труб или предусматривать в местах расположения вспомогательных отапливаемых помещений.
5.20 Кровлю чердака следует выполнять из стального профилированного настила с уклоном, принимаемым по СП 17.13330. Пространство чердака над охлаждаемыми помещениями должно быть вентилируемым или иметь естественное проветривание.
Вентиляционные шахты и выходы технологического оборудования на покрытие с кровлей из стальных профилированных листов необходимо предусматривать в коньке покрытия, либо в карнизной части стены.
В местах пропуска вентиляционных шахт и другого инженерного оборудования следует предусматривать применение защитных фартуков из оцинкованной кровельной стали или алюминиевых сплавов и герметичное их соединение со стенками шахт или оборудования.
5.21 Конструкцию пола необходимо проектировать согласно требованиям СП 29.13330 с учетом положений, приведенных ниже.
Покрытия полов в тех помещениях, в которых возможно движение напольного транспорта, в холодильных камерах, коридорах, вестибюлях и на грузовых платформах должны предусматриваться из тяжелого бетона толщиной не менее 40 мм или из железобетонных плит марки по морозостойкости не менее F150. Класс бетона по прочности следует принимать не менее В30. Толщину покрытия и необходимость армирования определяют расчетом в соответствии с СП 29.13330.
Монолитное покрытие пола должно проектироваться с разрезкой швов на квадраты размерами 3х3 м и с установкой прокладок в стыках. При необходимости допускается увеличивать шаг швов в покрытии пола по результатам расчета, выполненного в соответствии с СП 63.13330 и СП 29.13330.
Под теплоизоляцией пола камер должна быть предусмотрена железобетонная плита, которая может быть плитой перекрытия, или бетонная стяжка (подготовка) толщиной не менее 80 мм, с классом прочности бетона не менее В15, армированная стальной сеткой.
Покрытия полов во взрывоопасных помещениях должны быть безыскровыми.
Не допускается заглубление пола машинного отделения ниже планировочной отметки территории.
В охлаждаемых помещениях многоэтажных холодильников следует предусматривать гидроизоляцию полов.
5.22 Погрузочно-разгрузочные рампы и платформы следует проектировать с учетом требований СП 56.13330.
При установлении размеров погрузочно-разгрузочных платформ следует руководствоваться типом железнодорожного и автомобильного транспорта.
При традиционном железнодорожном транспорте высоту платформы следует принимать, как правило, равной 1400 мм от уровня головки рельса. Для обеспечения открывания дверей всех типов изотермических вагонов вдоль железнодорожного пути платформа должна иметь пониженную часть шириной 560 мм и высотой 1100 мм от головки рельса.
При использовании вагонов новой конструкции с одной высотой откидных дверей высоту платформ от пола до головки рельса следует принимать равной 1400 мм.
Высота помещения закрытой железнодорожной платформы определяется габаритом железнодорожного транспорта.
Ширину автомобильной платформы для холодильников объемом 2500 м3 и более следует принимать равной 7,5 м с устройством навеса 4,5 м. Высота от пола до низа выступающей конструкции в самой низкой точке принимается 4,2 м. Длина платформы устанавливается в зависимости от длины разгрузочного фронта.
Для холодильников объемом менее 2500 м3 габариты автомобильной платформы могут быть изменены в меньшую сторону.
Высота грузовой платформы для автомобильного транспорта должна быть равна 1200 мм от поверхности погрузочно-разгрузочной площадки. Допускается, при обосновании, устройство платформ высотой 200 мм от поверхности погрузочно-разгрузочной площадки.
При назначении высоты закрытых платформ следует учитывать наличие доклевеллеров (уравнительных площадок) и докшеллеров (герметизаторов проемов) для причаливания рефрижераторного автомобильного транспорта разных габаритов и грузоподъемности.
5.23 Нормативные нагрузки на полы платформ, транспортных коридоров и вестибюлей составляют 2000 кгс/м2.
Конструкции закрытых платформ и навесов, примыкающих к зданиям всех степеней огнестойкости и классов конструктивной пожарной опасности, следует принимать из негорючих материалов.
Закрытая грузовая платформа должна иметь не менее двух выходов наружу.
Закрытые грузовые платформы при пожаре следует оборудовать противодымной защитой в соответствии с СП 60.13330.
Минимальную ширину транспортных коридоров в свету следует принимать равной:
однорядных - ширине транспортируемого груза плюс 1000 мм;
двухрядных (в двух направлениях) - двойной ширине транспортируемых грузов плюс 1400 мм.
Ширину транспортных коридоров следует принимать в зависимости от габаритов внутрицехового транспорта, но не менее 4 м.
5.24 В зданиях холодильников допускается устраивать один из эвакуационных выходов на закрытую грузовую платформу непосредственно из лестничной клетки или через транспортный коридор, при этом на открытых платформах должны устраиваться спуски (лестницы) напротив выходов из лестничных клеток, а на закрытых платформах выделяться пешеходные зоны шириной не менее 1 м, ведущие к выходу и имеющие специальное обозначение.
На платформах предусматриваются весы грузоподъемностью до 5 т. Количество весов определяется заданием на проектирование:
5.25 Ворота всех охлаждаемых камер должны выходить во внутренние грузовые коридоры, соединяющие автомобильную и железнодорожную платформы в одноэтажных холодильниках и в грузовые вестибюли в многоэтажных холодильниках.
Вход в охлаждаемые помещения низкотемпературных холодильников снаружи или из отапливаемого помещения необходимо предусматривать через тамбур или неотапливаемое помещение.
Двери и ворота с электрическим или пневматическим приводом механизмов открывания и закрывания должны быть обеспечены во всех случаях устройствами их открывания вручную. В целях снижения теплопотерь следует предусматривать устройство холодных воздушных завес или высокоскоростные рулонные ворота.
В воротах, предназначенных для эвакуации людей, следует предусматривать калитки без порогов или с порогами высотой не более 100 мм, открывающиеся в направлении выхода из здания.
5.26 Для низкотемпературных помещений необходимо предусматривать обогрев поверхностей контакта изоляционных дверей с дверньми коробками по всему периметру проема. Сопротивление теплопередаче полотна дверей должно приниматься с учетом температурного режима охлаждаемого помещения.
5.27 Здания холодильников с отрицательными температурами в помещениях, возводимые во всех строительно-климатических районах, за исключением зон распространения вечномерзлых грунтов, должны проектироваться с учетом необходимости предотвращения промерзания грунтов, являющихся основанием фундаментов и полов. С этой целью следует применять системы защиты грунтов (электрообогрев, обогрев незамерзающей жидкостью, устройство проветриваемого подполья и др.) в соответствии с требованиями раздела 8.
Системы защиты грунтов от промерзания должны предусматриваться под помещениями с отрицательными температурами, а также под примыкающими к ним коридорами, вестибюлями, лифтовыми шахтами.
5.28 При проектировании фундаментов зданий холодильников с искусственным обогревом грунтов расчетная глубина сезонного промерзания грунтов по наружному контуру зданий в зависимости от среднегодовой температуры воздуха района строительства принимается согласно таблице 2.
Таблица 2
|
Среднегодовая температура воздуха района строительства, °С |
Расчетная глубина промерзания, м |
|
0 и ниже |
Нн |
|
Выше 0 до 3 |
1,1 Нн |
|
От 3 до 5 |
1,2 Нн |
|
От 5 и выше |
1,3 Нн |
|
Примечание - Нн - нормативная глубина сезонного промерзания, определяемая согласно СП 22.13330. | |
5.29 В зданиях холодильников следует предусматривать системы сигнализации: безопасности (человек в камере), пожарную и охранную. Во всех случаях вывод сигнала должен предусматриваться в помещения с круглосуточным пребыванием людей.
6.1 Внешними климатическими воздействиями на наружные ограждающие конструкции являются температура, влажность наружного воздуха и суммарная (прямая и рассеянная) солнечная радиация.
Суммарное воздействие температуры наружного воздуха и солнечной радиации оценивается эквивалентной температурой наружного воздуха tнэ, °С, определяемой по формуле
(1)
tн.ср.г - среднегодовая температура наружного воздуха, °С (СП 131.13330);
ρ - коэффициент поглощения солнечной радиации поверхностью ограждающих конструкций (приложение Д);
αн - коэффициент теплоотдачи наружной поверхности ограждающих конструкций, равный 23 Вт(м·ºС);
S - количество суммарной (прямой и рассеянной) солнечной радиации, падающей, на горизонтальную поверхность при учете фактической облачности, приведенной в [5].
6.2 Количество суммарной солнечной радиации, падающей на вертикальные поверхности данной ориентации, Sв, определяется на основе их соотношения К с суммарной солнечной радиацией на горизонтальную поверхность Sг, приведенную в таблице 3.
(2)
Таблица 3
|
Ориентация поверхности |
Географическая широта региона | |||||
|
44° |
48° |
52° |
56° |
60° |
64° | |
|
Горизонтальная |
1,00 |
1,00 |
1,00 |
1,00 |
1,00 |
1,00 |
|
С |
0,11 |
0,12 |
0,14 |
0,15 |
0,17 |
0,19 |
|
СВ/СЗ |
0,29 |
0,31 |
0,32 |
0,34 |
0,38 |
0,40 |
|
В/3 |
0,60 |
0,63 |
0,66 |
0,70 |
0,74 |
0,77 |
|
ЮВ/ЮЗ |
0,82 |
0,89 |
0,94 |
1,01 |
1,08 |
1,14 |
|
Ю |
0,89 |
0,97 |
1,04 |
1,13 |
1,20 |
1,20 |
|
Среднее значение К по ориентации |
0,54 |
0,58 |
0,62 |
0,67 |
0,71 |
0,75 |
Ориентации вертикальных поверхностей в зданиях, как правило, разнонаправлены, поэтому при определении количества суммарной солнечной радиации, падающей на вертикальные поверхности стен, следует за основу взять южное направление либо использовать средние значения К, приведенные в таблице 3.
6.3 В период, когда температура наружного воздуха выше регламентируемой температуры воздуха в охлаждаемых помещениях, в камерах требуется охлаждение воздуха, а в период, когда температура наружного воздуха ниже температуры воздуха, требуется обогрев воздуха.
Теплопритоки и теплопотеря через 1 м2 ограждения оцениваются количеством градусосуток охлаждаемого периода Дох в зависимости от температуры воздуха в камерах и вычисляют по формуле
Дох=(tнэ - tк)Z, (3)
где tнэ - эквивалентная температура наружного воздуха, °С;
tк - температура воздуха в охлаждаемых камерах, °С;
Z - продолжительность периодов охлаждения и нагрева воздуха в камерах, принимаемая равной 365 сут.
6.4 При расчетах конструкций покрытий (кроме чердачных) величина параметра
принимается равной 3°С, а значение tнэ вычисляют по формуле
tнэ=3+tн.ср.г, (4)
где tн.ср.г - среднегодовая температура наружного воздуха, °С.
В случаях, когда наружные стены охлаждаемых камер защищены от воздействий солнечной радиации грузовыми платформами, подсобными помещениями, солнцезащитными экранами или другими конструктивными средствами, градусосутки охлаждаемого периода определяют по среднегодовой температуре наружного воздуха.
6.5 Требуемое сопротивление теплопередаче R0 покрытий, наружных стен охлаждаемых помещений, перекрытий над проветриваемыми подпольями в зависимости от градусосуток охлаждаемого периода для различных регионов и городов Российской Федерации следует принимать по таблице 4.
Таблица 4
|
Градусосутки охлаждаемого периода Дох |
R0, м2·ºС/Вт | ||
|
Наружные стены |
Покрытия |
Перекрытия над проветриваемыми подпольями | |
|
500 |
3,2 |
3,6 |
3,0 |
|
1000 |
3,4 |
3,8 |
3,2 |
|
2000 |
3,8 |
4,0 |
3,6 |
|
4000 |
4,2 |
4,5 |
4 |
|
6000 |
4,7 |
5,0 |
4,5 |
|
8000 |
5,2 |
5,6 |
5,0 |
|
10000 |
5,7 |
6,2 |
5,5 |
|
12000 |
6,2 |
6,8 |
6,0 |
|
14000 |
6,7 |
7,3 |
6,5 |
|
16000 |
7,1 |
7,8 |
6,9 |
|
18000 |
7,6 |
8,5 |
7,4 |
|
20000 |
8,0 |
9,0 |
7,8 |
|
Примечание - Сопротивление теплопередаче чердачных перекрытий следует принимать с коэффициентом 0,9, но не менее, чем для наружных стен. | |||
6.6 Требуемое сопротивление теплопередаче внутренних стен, перегородок и междуэтажных перекрытий охлаждаемых помещений следует принимать по таблице 5.
Таблица 5
|
Температура воздуха в более теплом помещении, °С |
Требуемое сопротивление теплопередаче R0, м2·ºС/Вт при температуре воздуха в более холодном помещении, °С | |||||
|
минус 30 |
минус 20 |
минус 10 |
минус 5 |
0 |
5 | |
|
Минус 30 |
1,7 |
- |
- |
- |
- |
- |
|
Минус 20 |
2,9 |
1,7 |
- |
- |
- |
- |
|
Минус 10 |
4,4 |
3,5 |
1,7 |
- |
- |
_ |
|
Минус 5 |
5,2 |
4,3 |
3,0 |
1,7 |
- |
- |
|
0 |
5,6 |
4,7 |
3,5 |
3,0 |
1,7 |
- |
|
5 |
6,0 |
5,2 |
4,2 |
3,5 |
3,0 |
1,7 |
|
10 |
6,2 |
5,8 |
4,8 |
4,2 |
3,5 |
2,5 |
|
20 |
6,8 |
6,5 |
5,6 |
4,7 |
3,8 |
3,0 |
6.7 Требуемое сопротивление теплопередаче внутренних стен и перегородок, отделяющих охлаждаемые помещения от неохлаждаемых и неотапливаемых, следует принимать по таблице 6.
Таблица 6
|
Температура воздуха в охлаждаемых помещениях, °С |
Требуемое сопротивление теплопередаче R0, м2·ºС/Вт |
|
Минус 30 |
6,6 |
|
Минус 20 |
5,6 |
|
Минус 10 |
4,7 |
|
Минус 5 |
3,9 |
|
0 |
3,12 |
|
5 |
2,8 |
|
Примечание - Условная температура воздуха в неотапливаемых и неохлаждаемых помещениях принята 5°С. | |
6.8 Требуемое сопротивление теплопередаче полов на обогреваемых грунтах следует принимать по таблице 7.
Таблица 7
|
Температура воздуха в охлаждаемых помещениях, °С |
Требуемое сопротивление теплопередаче R0, м2·ºС/Вт |
|
Минус 30 |
8,4 |
|
Минус 20 |
7,2 |
|
Минус 10 |
5,0 |
|
Минус 1 |
3,6 |
6.9 Полы охлаждаемых помещений, расположенные на необогреваемых грунтах, при температурах хранения продуктов минус 4°С и выше должны иметь по периметру наружных стен на ширину 1,5 м теплоизоляцию с сопротивлением теплопередаче не ниже 2,0 м2·ºС/Вт.
Полы охлаждаемых помещений на непучинистых грунтах должны иметь сопротивление теплопередаче не менее 1,0 м2·ºС/Вт.
6.10 Ограждающие конструкции охлаждаемых помещений с температурой воздуха минус 4°С и ниже необходимо проверять на возможность конденсации влаги с теплой стороны конструкций. Отсутствие конденсации обеспечивается при значении общего сопротивления теплопередаче R0, м2·ºС/Вт, не менее определяемого по формуле
, (5)
где tв - расчетная температура внутреннего воздуха, принимаемая по нормам технологического проектирования, °С;
tн - расчетная температура наружного воздуха в холодный период года, принимаемая равной средней температуре наиболее холодной пятидневки обеспеченностью 0,92 по СП 131.13330;
Δtн - температурный перепад между температурой внутреннего воздуха и температурой внутренней поверхности ограждающей конструкции, принимаемый равным 0,8 (tв-td), где td - температура точки росы;
αв - коэффициент теплоотдачи внутренней поверхности ограждающей конструкции, принимаемый равным 8,7 Вт(м2·ºС).
6.11 Ограждающие конструкции помещений для хранения картофеля, овощей и фруктов, а также других продуктов, хранение которых осуществляется при температурах минус 2°С и выше, необходимо проверять на возможность конденсации влаги на теплой стороне в холодный период года. Отсутствие конденсата обеспечивается при значении общего сопротивления теплопередаче ограждающей конструкции не менее значения, определяемого по формуле (5).
Значения нормативного температурного перепада между температурой внутреннего воздуха и температурой внутренней поверхности ограждающей конструкции Δtн приведены в таблице 8.
|
Наименование помещений |
Нормативный температурный перепад Δtн | |
|
наружных стен |
покрытий и чердачных перекрытий | |
|
Хранилища картофеля |
2,0 |
1,8 |
|
То же, корнеплодов и бахчевых культур |
2,0 |
1,8 |
|
" , лука |
2,6 |
2,3 |
|
Хранилища яблок |
2,0 |
1,8 |
|
То же, винограда |
1,5 |
1,4 |
|
" , других продуктов с температурой хранения минус 2°С и выше |
2,0 |
1,8 |
7.1 Теплоизоляционные материалы ограждающих конструкций должны удовлетворять следующим требованиям:
расчетный коэффициент теплопроводности не более 0,07 Вт(м·ºС);
водопоглощение не более 5% по объему за 24 ч;
максимальная сорбционная влажность не более 3% объема;
морозостойкость не менее 25 циклов теплосмен;
биостойкость (устойчивость к заражению бактериями и грибками, вызывающими гниение);
не выделять запахов;
не вызывать коррозию металла.
7.2 К паро- и гидроизоляционным и герметизирующим материалам, предназначенным для защиты ограждающих конструкций от увлажнения парообразной и жидкой влагой, предъявляют следующие основные требования:
коэффициент паропроницаемости не более 0,005 мг/(м·ч·Па);
сохранение эластичности и адгезии к поверхностям строительных конструкций под воздействием отрицательных, знакопеременных и повышенных температур.
7.3 Тепло-, парозоляция ограждающих конструкций охлаждаемых помещений должна быть непрерывной по всей поверхности внутреннего охлаждаемого контура здания.
Тепло- и пароизолирующие свойства стыков стеновых панелей и панелей покрытий должны быть предельно близкими к свойствам по основному полю ограждений.
В местах примыкания внутренних стен и перегородок к покрытиям и перекрытиям при невозможности обеспечения непрерывного контура теплоизоляции необходимо устройство дополнительных теплоизоляционных "фартуков".
7.4 Расчетные коэффициенты теплопроводности теплоизоляционных материалов следует принимать для условий эксплуатации Б.
Для тепло- и пароизоляции и внутренней отделки помещений холодильников могут применяться только материалы, допущенные для этих целей санитарно-эпидемиологическим заключением.
7.5 В ограждающих конструкциях из железобетона и каменных материалов требуется устройство пароизоляционного слоя между теплоизоляцией и несущим элементом конструкции.
7.6 Для ограждающих конструкций помещений с температурой воздуха ниже 1°С требуемое сопротивление паропроницанию определяется по летним расчетным условиям эксплуатации, а выше 1°С - по зимним, согласно СП 50.13330.
7.7 Требуемые сопротивления паропроницанию пароизоляции в конструкциях наружных стен следует принимать по таблице 9.
Таблица 9
|
Расчетная упругость водяного пара наружного воздуха в районе строительства, гПа |
Требуемое сопротивление паропроницанию пароизоляции, м2·ч·Па/мг, при температуре воздуха в охлаждаемых помещениях, °С | |
|
Ниже минус 10 |
От минус 10 до 1 | |
|
До 10 |
6,9 |
4,0 |
|
От 10 до 12 включительно |
12,5 |
6,3 |
|
Св. 12 |
16,9 |
8,7 |
|
Примечание - За расчетную упругость водяного пара наружного воздуха принимается средняя упругость за период года со среднемесячными положительными температурами (СП 131.13330). | ||
7.8. Требуемые сопротивления паропроницанию пароизоляции в конструкциях покрытий следует принимать по таблице 10.
Таблица 10
|
Расчетная упругость водяного пара наружного воздуха в районе строительства, гПа |
Требуемое сопротивление паропроницанию пароизоляции, м2·ч·Па/мг, при температуре воздуха в охлаждаемых помещениях, °С | |
|
Ниже минус 10 |
От минус 10 до 1 | |
|
До 10 |
54,9 |
24,6 |
|
От 10 до 12 включительно |
86,4 |
45,4 |
|
Св. 12 |
104,6 |
59,2 |
7.9 Требуемые сопротивления паропроницанию пароизоляции в конструкциях перекрытий над проветриваемыми подпольями следует принимать по таблице 11.
Таблица 11
|
Расчетная упругость водяного пара наружного воздуха в районе строительства, гПа |
Требуемое сопротивление паропроницанию пароизоляции, м2·ч·Па/мг, при температуре воздуха в охлаждаемых помещениях, °С | |
|
Ниже минус 10 |
От минус 10 до 1 | |
|
До 10 |
30,0 |
19,9 |
|
От 10 до 12 включительно |
45,3 |
31,2 |
|
Св. 12 |
60,1 |
41,7 |
7.10 Требуемое сопротивление паропроницанию пароизоляции в конструкциях внутренних стен, перегородок и междуэтажных перекрытий, разделяющих охлаждаемые помещения с разницей температур воздуха 10°С и более, принимается равной не менее 4,0 м2·ч·Па/мг.
7.11 Требуемые сопротивления паропроницанию пароизоляции в конструкциях полов на обогреваемых грунтах следует принимать по таблице 12.
Таблица 12
|
Температура воздуха в охлаждаемом помещении, °С |
Сопротивление паропроницанию пароизоляции, м2·ч·Па/мг |
|
Ниже минус 20 |
10,0 |
|
От минус 20 до минус 4 |
5,0 |
8.1.1 При проектировании зданий холодильников с отрицательными температурами воздуха во внутренних помещениях, возводимых во всех строительно-климатических зонах кроме зон распространения вечномерзлых грунтов, необходимо предусмотреть защиту грунтов оснований от морозного пучения.
Основные способы защиты грунтов оснований от морозного пучения:
устройство систем искусственного обогрева грунтов (электрообогрев, воздушный обогрев, обогрев незамерзающей жидкостью);
устройство проветриваемого или вентилируемого подполья;
устройство подвалов с положительной температурой внутреннего воздуха.
8.1.2 При наличии непучинистых грунтов оснований (см. приложение Г), простирающихся ниже подошвы фундаментов на глубину не менее 1/3 ширины здания холодильника, отсутствует необходимость защиты их от морозного пучения. При этом подсыпка под полы должна выполняться непучинистым грунтом.
8.2.1 Электрообогрев грунта выполняется на основе системы электрического кабельного обогрева (ЭКО).
8.2.2 ЭКО предусматривается под всеми помещениями первого этажа или подвала с отрицательными температурами внутренней среды, включая примыкающие к ним вестибюли, коридоры, лифтовые шахты.
8.2.3 Электрическая мощность ЭКО устанавливается по результатам теплотехнического расчета требуемой тепловой мощности обогрева с учетом теплопроводных включений в конструкции пола в виде фундаментов колонн и стен.
8.2.4 ЭКО выполняется из отдельных секций, имеющих самостоятельные системы автоматического регулирования температуры грунта. Каждую секцию рекомендуется проектировать под одной камерой или под группой камер со сходными температурными режимами.
8.2.5 Для надежной и экономичной работы системы электрообогрева следует использовать автоматическое регулирование температуры грунта в диапазоне 2-3°С, осуществляемое электронными термостатами с выносными датчиками температуры. Термостаты с датчиками температуры устанавливают для каждой секции. Приборы контроля и измерения температуры должны обеспечивать точность измерений ±0,5ºС.
8.2.6 В ЭКО в качестве нагревателя используют экранированные, бронированные нагревательные кабели, которые укладывают на железобетонную плиту или бетонную подготовку толщиной не менее 80 мм из бетона класса не ниже В15 с последующим устройством выравнивающей цементно-песчаной стяжки или слоя сухого песка толщиной не менее диаметра кабеля плюс 20 мм.
8.2.7 Для повышения надежности и долговечности системы обогрева рекомендуется кроме рабочего кабеля предусмотреть резервный кабель. Работа рабочего и резервного кабелей должна быть независимой.
8.2.8 Укладку греющего кабеля следует производить в форме змеевика любой конфигурации с соблюдением следующих правил:
не допускается пересечение кабеля в одной плоскости;
радиус закругления кабеля в местах его поворота должен быть не менее его пяти наружных диаметров;
шаг раскладки нагревательного кабеля выбирается из условия обеспечения требуемой электрической мощности и из конструктивных условий в пределах 0,3-0,6 м;
расстояние от нагревателя до металлических конструкций и электропроводок общего назначения не менее 200 мм, а до незащищенных деревянных элементов - не менее 50 мм;
расстояние между соседними трассами нагревательного кабеля не должно быть менее 25 мм между центрами.
8.3.1 Система жидкостного обогрева включает в себя секции (батареи) из труб - нагревателей из металлопластика или сшитого полиэтилена, уложенных в бетонную или цементно-песчаную стяжку, оборудование для нагрева и циркуляции жидкости.
8.3.2 Для обогрева следует использовать жидкости с удельной теплоемкостью 2,0-4,0 кдж/кг·ºС, с низкой вязкостью и химической агрессивностью, с температурой замерзания минус 15 - минус 20°С (этиленгликоль и др.).
8.3.3 Секции подключают к распределительным коллекторам подачи и возврата жидкости или непосредственно к магистральным трубопроводам по принципу равных гидравлических сопротивлений. Трубы укладывают с уклоном не менее 0,02% для слива жидкости самотеком в сборник.
8.3.4 Для нагрева жидкости рекомендуется использовать тепло конденсации холодильной установки.
8.3.5 Среднюю температуру плиты с трубами нагревателями поддерживают в диапазоне 1°С - 3°С, охлаждение жидкости в батареях принимают 5°С - 10°С при скорости ее движения 0,5 м/с.
Температуру и потребное количество циркулирующей жидкости определяют теплотехническим расчетом.
8.3.6 Для регулирования работы системы обогрева и контроля температуры грунта следует предусматривать:
автоматическое поддержание температуры обогревающей плиты при цикличной работе насоса;
автоматическую подачу пара в паровой теплообменник при недостаточном нагреве жидкости в конденсаторе;
контроль температуры жидкости в магистральных трубопроводах на входе и выходе из каждой обогревающей секции;
поддержание заданного уровня жидкости в уравнительном (расширительном) баке.
8.4.1 Основным критерием возможности устройства проветриваемого подполья является исключение образования перелетка (неоттаявшего за лето слоя грунта) под зданием холодильника.
8.4.2 Проветривание подполья происходит под воздействием ветрового напора. При этом должно быть обеспечено сквозное проветривание по крайней мере в одном направлении.
При размещении здания на строительной площадке необходимо учитывать направление и скорость господствующих ветров. Для надежного проветривания здание, по возможности, должно проектироваться отдельно стоящим. Расстояние от охлаждаемого склада до ближайших зданий следует принимать равным не менее трехкратной высоте этих зданий.
8.4.3 В пунктах строительства со среднегодовой температурой наружного воздуха ≥4ºС подполье может быть открытым; в пунктах со среднегодовой температурой <4°С подполье следует проектировать с продухами, закрываемыми на зиму.
8.4.4 Возможность устройства проветриваемого подполья определяется следующими условиями:
а) высота подполья hп должна приниматься не менее 0,6 м от поверхности спланированного грунта до низа конструкции перекрытия, а допустимая ширина здания В при естественном проветривании подполья ограничивается соотношением:
hп/B≥0,015, (6)
При нарушении этого условия естественная вентиляция подполья должна быть заменена устройством принудительной вентиляции подполья наружным воздухом (вентилируемое подполье);
б) среднегодовая температура наружного воздуха в месте строительства здания холодильника должна быть не менее 1,7°С. В противном случае для определения возможности устройства проветриваемого подполья необходимо выполнить его теплотехнический расчет.
8.4.5 В пределах подполья не должно быть балок высотой более 1/3 высоты подполья.
Расположение в подполье инженерных сетей и труб для транспортирования хладоагента не допускается.
8.4.6 Элементы железобетонного перекрытия над проветриваемым подпольем должны выполняться из бетона с маркой по морозостойкости не менее F300, а по водонепроницаемости не менее W6.
8.4.7 Расчетная глубина сезонного промерзания грунтов в подполье определяется по СП 22.13330.
8.4.8 Для контроля состояния грунта в процессе эксплуатации здания в проекте следует предусматривать установку в грунте датчиков температуры в центральной части подполья на отметке подошвы фундаментов. Дистанционное измерение температур грунта необходимо выполнять в начале и конце теплого периода года.
9.1 Расчетную температуру воздуха и кратность воздухообмена в помещениях следует принимать по таблице 13.
Таблица 13
|
Помещение |
Расчетная температура воздуха, °С |
Кратность воздухообмена | ||
|
приток |
вытяжка |
аварийная вытяжка | ||
|
Машинное и аппаратное отделения холодильных установок: | ||||
|
аммиачных |
16 |
По расчету, но не менее 2 |
Согласно СП 60.13330 | |
|
фреоновых |
По расчету, но не менее 3 | |||
|
Помещение холодильного распределительного устройства аммиачных холодильных установок (в отдельных помещениях при вестибюле для многоэтажных холодильников, на антресолях в одноэтажных холодильниках) |
5 |
- |
Не менее 3 (периодического действия) | |
|
Лестничная клетка охлаждаемого склада |
5 |
- |
- |
- |
|
Машинное отделение лифтов |
5 |
- |
- |
- |
|
Помещение зарядки тяговых аккумуляторных батарей |
16 |
По расчету плюс естественная вытяжка согласно [6] |
- | |
|
Электролитная |
16 |
По расчету |
- | |
|
Ремонтное помещение самоходных машин |
16 |
2 |
2 |
- |
|
Помещение зарядных устройств |
5 |
По расчету | ||
9.2 Очистка воздуха, удаляемого из помещений машинного и аппаратного отделений аммиачных холодильных установок, предусматривается в соответствии с требованиями СП 60.13330.
9.3 Аварийная вентиляция должна иметь пусковые приспособления, как в вентилируемых помещениях (у выходов), так и вне их (у наружных дверей), а также автоматически включаться при увеличении концентрации аммиака в воздухе помещений выше предельно допустимой.
9.4 Вентиляторы и электродвигатели для вытяжной и аварийной вентиляции аммиачных машинных и аппаратных отделений необходимо предусматривать во взрывобезопасном исполнении.
9.5 Помещения для хранения овощей и фруктов должны быть оборудованы приборами и устройствами, позволяющими контролировать и автоматически поддерживать температуру воздуха, а также приборами для контроля относительной влажности. Конденсация влаги на внутренних поверхностях стен и потолков не допускается.
10.1 Холодильники должны быть оборудованы хозяйственно-питьевым, производственными противопожарным водопроводом и системами канализации.
10.2 Внутренний противопожарный водопровод в охлаждаемой части зданий холодильников (холодильные камеры В по пожарной опасности) не предусматривается. Расчетный расход воды на наружное пожаротушение надлежит принимать как для зданий категории В.
10.3 В зданиях холодильников должна предусматриваться открытая прокладка сетей внутреннего производственного водопровода. Прокладка сетей водопровода в охлаждаемых помещениях не допускается.
10.4 Для охлаждения машин и аппаратов холодильных установок допускается применение воды технического качества со следующими основными показателями:
общая жесткость - 2-6 мг-экв/л;
наличие свободной углекислоты - 10-100 мг-экв/л;
концентрация водородных ионов рН = 6,5-8;
мутность - 2-5 мг/л;
железо - 0,1-0,3 мг/л.
Вода, потребляемая для мойки оборудования, инвентаря и полов, камер соленых рыботоваров, электролитных при зарядных станциях и ремонтных помещений самоходных машин, должна отвечать требованиям ГОСТ Р 51232.
10.5. Нормы водопотребления и водоотведения, а также температуру воды следует принимать по таблице 14.
Таблица 14
|
Производственный процесс |
Единица измерения |
Водопровод |
Канализация | |
|
Норма водопотребления, л |
Температура воды, °С |
Норма водоотведения, л | ||
|
Оттаивание воздухоохладителей в камерах: | ||||
|
с положительными температурами; |
м2 поверхности |
10 |
Не менее 15 |
10 |
|
с отрицательными температурами |
То же |
- |
- |
3 |
|
Охлаждение конденсаторов и компрессоров |
Агрегат по паспортным данным | |||
|
Мойка: | ||||
|
полов; |
м2 |
3 |
Не более 50 |
3 |
|
подъемно-транспортных средств (электропогрузчики, электрокары); |
1 машина |
50 |
Не более 50 |
50 |
|
инвентаря |
м2 поверхности |
4 |
Не менее 60 |
4 |
|
Примечание - Время оттаивания воздухоохладителей 0,5 ч. | ||||
10.6 Поливочные краны должны быть установлены в камерах соленых рыботоваров, электролитных при зарядных станциях и в ремонтных помещениях самоходных машин из расчета один кран на 500 м2 площади пола, но не менее двух кранов на этаж, на грузовых платформах - через каждые 25 м.
В камерах соленых рыботоваров и на грузовых платформах должен быть предусмотрен сухотрубный водопровод.
10.7 Для холодильных установок должны предусматриваться оборотные системы водоснабжения.
Воду от оттайки воздухоохладителей следует использовать в системе оборотного водоснабжения или на другие технологические нужды.
10.8 Бытовые и производственные сточные воды должны отводиться в бытовую канализацию разделительными выпусками.
Сточные воды от приборов и аппаратов необходимо отводить в бытовую канализацию через индивидуальные или групповые гидравлические затворы, располагаемые в отапливаемых помещениях.
Сети канализации, прокладываемые в помещениях с отрицательными температурами воздуха и в неотапливаемых помещениях, должны быть оборудованы системой обогрева.
10.9 Сточные воды от мытья платформ необходимо отводить в бытовую канализацию. На выпусках следует устанавливать колодцы с гидрозатворами.
Приложение А
В настоящем своде правил использованы ссылки на следующие нормативные документы:
ГОСТ 27751-2014 Надежность строительных конструкций и оснований. Основные положения
ГОСТ 31384-2017 Защита бетонных и железобетонных конструкций от коррозии. Общие технические условия
ГОСТ Р 51232-98 Вода питьевая. Общие требования к организации и методам контроля качества
СП 1.13130.2020 Системы противопожарной защиты. Эвакуационные пути и выходы
СП 2.13130.2020 Системы противопожарной защиты. Обеспечение огнестойкости объектов защиты
СП 4.13130.2013 Системы противопожарной защиты. Ограничение распространения пожара на объектах защиты. Требования к объемно-планировочным и конструктивным решениям (с изменением N 1)
СП 7.13130.2013 Отопление, вентиляция и кондиционирование. Требования пожарной безопасности (с изменениями N 1, N 2)
СП 12.13130.2009 Определение категорий помещений, зданий и наружных установок по взрывопожарной и пожарной опасности (с изменением N 1)
СП 15.13330.2012 "СНиП II-22-81* Каменные и армокаменные конструкции" (с изменениями N 1, N 2, N 3)
СП 16.13330.2017 "СНиП II-23-81* Стальные конструкции" (с изменениями N 1, N 2)
СП 17.13330.2017 "СНиП II-26-76 Кровли" (с изменением N 1)
СП 20.13330.2016 "СНиП 2.01.07-85* Нагрузки и воздействия" (с изменениями N 1, N 2)
СП 22.13330.2016 "СНиП 2.02.01-83* Основания зданий и сооружений" (с изменениями N 1, N 2, N 3)
СП 28.13330.2017 "СНиП 2.03.11-85 Защита строительных конструкций от коррозии" (с изменениями N 1, N 2)
СП 29.13330.2011 "СНиП 2.03.13-88 Полы" (с изменением N 1)
СП 50.13330.2012 "СНиП 23-02-2003 Тепловая защита зданий" с изменением N 1)
СП 56.13330.2011 "СНиП 31-03-2001 Производственные здания" (с изменениями N 1, N 2, N 3)
СП 59.13330.2016 "СНиП 35-01-2001 Доступность зданий и сооружений для маломобильных групп населения"
СП 60.13330.2016 "СНиП 41-01-2003 Отопление, вентиляция и кондиционирование" (с изменением N 1)
СП 63.13330.2018 "СНиП 52-01-2003 Бетонные и железобетонные конструкции. Основные положения" (с изменением N 1)
СП 105.13330.2012 "СНиП 2.10.02-84 Здания и помещения для хранения и переработки сельскохозяйственной продукции" (с изменением N 1)
СП 131.13330.2018 "СНиП 23-01-99* Строительная климатология"
СП 362.1325800.2017 Ограждающие конструкции из трехслойных панелей. Правила проектирования.
Приложение Б
В настоящем своде правил применены следующие термины с соответствующими определениями:
Б.1 завеса воздушно-тепловая: Устройство, препятствующее поступлению через проемы (двери, ворота) в помещение наружного теплого или холодного воздуха путем нагнетания вентилятором воздуха навстречу потоку, стремящемуся проникнуть в помещение.
Б.2 кабельная нагревательная секция: Секция с тепловыделяющим элементом в виде нагревательного кабеля.
Б.3 отсек: Часть здания, сооружения, ограждения, разделенная температурным, осадочным, сейсмическим швом.
Б.3а трехслойная панель типа "сэндвич": Строительное изделие, состоящее из двух металлических обшивок, расположенных по внешним сторонам сердцевины и соединенных с ней с помощью клеевого слоя или адгезии
Б.4 погрузочно-разгрузочная рампа: Часть здания или сооружения для выполнения погрузочно-разгрузочных работ.
Б.5 подполье проветриваемое: Открытое пространство под зданием между поверхностью грунта и перекрытием первого надземного этажа.
Б.6 система электрического кабельного обогрева: Совокупность функционально связанных между собой нагревательных кабелей, электротехнических изделий общего назначения, кабельных линий и электропроводок для внешнего соединения нагревательных секций с сетью питания.
Б.7 соединительная муфта: Элемент кабельной нагревательной секции, предназначенный для электрического и механического соединения нагревательного элемента с монтажными концами или нагревательных элементов между собой с герметизацией и механической защитой места соединения.
Б.8 стеллажное хранение: Хранение продуктов, товаров на стеллажах.
Б.9 тамбур-шлюз: Тамбур, оборудованный специальными устройствами, устраняющими возможность проникновения газов, паров, пыли и других вредных веществ из одного помещения в другое, а также для поддержания заданных параметров воздушной среды в помещениях.
Б.10 холодильник: Здание с искусственным охлаждением воздуха в помещениях, предназначенных для охлаждения, замораживания, обработки и хранения скоропортящихся продуктов.
Б.11 фартук: Дополнительная теплоизоляционная конструкция в местах примыкания несущих или ограждающих конструкций.
Приложение В
|
Степень огнестойкости |
Конструктивные решения |
|
I |
Здания с несущими и ограждающими конструкциями из естественных и искусственных каменных материалов, бетона или железобетона с применением материалов категории НГ. Несущие стены, колонны и другие несущие элементы с пределами огнестойкости R120. Строительные конструкции бесчердачных покрытий (фермы, балки, прогоны) с пределами огнестойкости R30 |
|
II |
Здания с железобетонным или стальным каркасом. Несущие конструкции - стены, колонны и другие элементы с пределами огнестойкости R90. Строительные конструкции бесчердачных покрытий (фермы, балки, прогоны) с пределами огнестойкости R15. Ограждающие конструкции - сборные трехслойные железобетонные панели с утеплителем группы не ниже Г2 или комплексные панели с металлическими обшивками и утеплителем (сэндвич-панели) группы НГ |
|
III |
Здания с каркасной конструктивной схемой. Несущие конструкции - стены, колонны и другие несущие элементы с пределом огнестойкости R45. Строительные конструкции бесчердачных покрытий с пределом огнестойкости не менее R15. Высотные одноэтажные холодильники стеллажного хранения продуктов с металлическим каркасом с огнезащитной обработкой. Ограждающие конструкции - комплексные панели с металлическими обшивками и утеплителем (сэндвич-панели) группы Г-Г3. Конструкция покрытия из древесины с огнезащитной обработкой |
|
IV |
Здания с каркасной конструктивной схемой. Несущие стены и колонны, конструкции бесчердачных покрытий с пределом огнестойкости R15. Ограждающие конструкции - трехслойные железобетонные панели с теплоизоляцией группы Г2 или комплексные панели с металлическими обшивками и утеплителем (сэндвич-панели) группы Г2 |
Приложение Г
|
Степень пучинистости грунтов |
Состав грунтов |
|
Сильнопучинистые грунты |
Пылеватые супеси, суглинки и пылеватые глины пластичной консистенции, когда уровень подземных вод находится в зоне промерзания грунта или превышает на 0,5 м, в суглинках и глинах не более чем на 1 м |
|
Среднепучинистые грунты |
Пески пылеватые, супеси и суглинки с природной влажностью в зоне промерзания, превышающей влажность на границе раскатывания, Уровень подземных вод превышает нормативную глубину промерзания в пылеватых песках не более чем на 0,6 м, в супесях - на 1 м, в суглинках - на 1,5 м, в глинах - на 2 м |
|
Слабопучинистые грунты |
Пески мелкие и пылеватые, супеси, суглинки и глины тугопластичной консистенции, а также крупнообломочные грунты с пылеватыми и глинистыми заполнителями более 30% по весу при уровне подземных вод, превышающем нормативную глубину промерзания грунтов в пылеватых и мелких песках на 1 м, в супесях - на 1,5 м, в суглинках с числом пластичности менее 12(Wn≤12) - на 2 м, в суглинках с числом пластичности более 12 - на 2,5 м, в глинах с числом пластичности менее 28 - на 3 м |
|
Условно непучинистые грунты |
Крупнообломочные с пылевато-глинистым заполнителем, пески мелкие и пылеватые и все виды глинистых грунтов твердой консистенции с меньшей природной влажностью на период промерзания, чем влажность на границе раскатывания, при отсутствии верховодки и залегания уровня подземных вод ниже нормативной глубины промерзания грунтов более 3 м |
|
Непучинистые грунты |
Скальные и полускальные, крупнообломочные грунты, а также пески крупные и средней крупности без пылеватых частиц |
Приложение Д
|
Материал наружной поверхности ограждающей конструкции |
Коэффициент поглощения солнечной радиации ρ |
|
Алюминий |
0,5 |
|
Асбестоцементный лист |
0,65 |
|
Защитный слой рулонной кровли из светлого гравия |
0,65 |
|
Кирпич глиняный красный |
0,7 |
|
Кирпич силикатный |
0,6 |
|
Облицовка природным камнем белым |
0,45 |
|
Окраска известковая белая |
0,3 |
|
Рубероид с песчаной посыпкой |
0,9 |
|
Сталь листовая, окрашенная белой краской |
0,45 |
|
Сталь кровельная оцинкованная |
0,65 |
|
Штукатурка известковая темно-серая или терракотовая |
0,7 |
|
Штукатурка цементная светло-голубая |
0,3 |
|
Штукатурка цементная кремовая |
0,4 |
Приложение Е

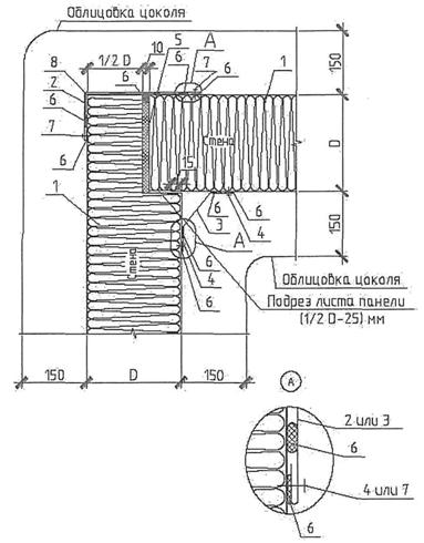
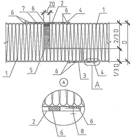
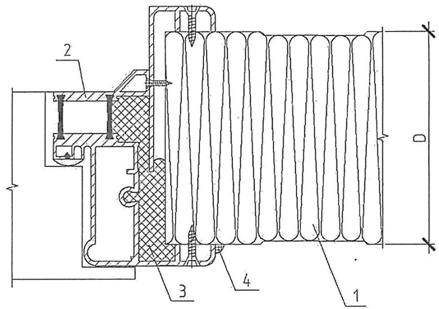
1 - изоляционная панель; 2 - герметик; 3 - мастика (кровельные панели, для стеновых - при необходимости)
Рисунок Е.1 - Стык панелей

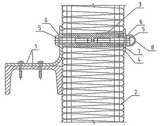
1 - изоляционная панель; 2 - фартук оцинкованный; 3 - заклепки, шаг 300 мм; 4 - герметик; 5 - оцинкованный уголок 100x60; 6 - обогрев; 7 – пароизоляция
Рисунок Е.2 - Сопряжения стеновых панелей и конструкции пола

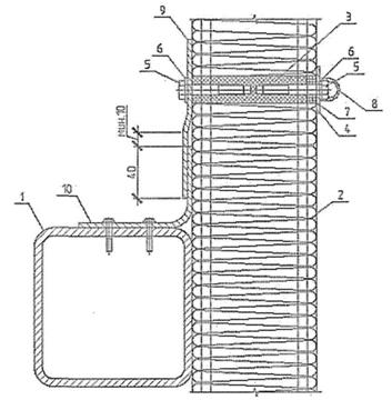
1 - изоляционная панель; 2 - уголок; 3 - уголок; 4 - водонепроницаемые заклепки; 5 - монтажная пена; 6 - мастика; 7 - заклепки, шаг 300 мм; 8 - битумная уплотнительная лента
Рисунок Е.3 - Угловое сопряжение стеновых панелей

1 - изоляционная панель; 2 - уголок; 3 - уголок; 4 - крепление; 5 - монтажная пена; 6 - мастика; 7 - заклепки, шаг 300 мм; 8 - водонепроницаемые заклепки; 9 - битумная уплотнительная лента
Рисунок Е.4 - Угловое сопряжение стеновых панелей

1 - изоляционная панель; 2 - уголок; 3 - уголок; 4 - водонепроницаемые заклепки; 5 - монтажная пена; 6 - мастика; 7 - заклепки, шаг 300 мм; 8 - битумная уплотнительная лента
Рисунок Е.5 - Сопряжения стеновой и потолочной панелей

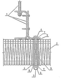
1 - стальной элемент несущих строительных конструкций; 2 - изоляционная панель; 3 - рукав с изоляцией; 4 - листовая сталь; 5 - винт; 6 - шайба; 7 - уплотнитель; 8 – крышка
Рисунок Е.6 - Крепления стеновых панелей

1 - стальной элемент несущих строительных конструкций; 2 - изоляционная панель; 3 - рукав с изоляцией; 4 - листовая сталь; 5 - винт; 6 - шайба; 7 - уплотнитель; 8 - крышка; 9, 10 - стальной профиль, элемент крепления
Рисунок Е.7 - Крепления стеновых панелей

1 - стальной элемент несущих строительных конструкций; 2 - изоляционная панель; 3 - рукав с изоляцией; 4 - листовая сталь; 5 - винт; 6 - шайба; 7 - уплотнитель; 8 - крышка; 9, 10 - стальной профиль, элемент крепления
Рисунок Е.8 - Крепления стеновых панелей

1 - стальной элемент несущих строительных конструкций; 2 - изоляционная панель; 3 - рукав с изоляцией; 4 - листовая сталь; 5 - лента пароизоляции; 6 - винт; 7 - шайба; 8 - уплотнитель; 9 – крышка
Рисунок Е.9 - Крепления панелей покрытия

1 - стальной элемент несущих строительных конструкций; 2 - изоляционная панель; 3 - рукав с изоляцией; 4 - листовая сталь; 5 - лента пароизоляции; 6 - винт; 7 - шайба; 8 - уплотнитель; 9 – крышка
Рисунок Е.10 - Крепления панелей покрытия

1 - стальной элемент несущих строительных конструкций; 2 - изоляционная панель; 3, 4 - мастика; 5 - рукав с изоляцией; 6 - листовая сталь; 6 - винт; 7 - шайба; 8 - уплотнитель; 9 - крышка; 10 - лента пароизоляции ПВХ
Рисунок Е.11 - Крепления панелей покрытия

1 - стальной элемент несущих строительных конструкций; 2 - изоляционная панель; 3 - алюминиевый элемент подвески; 4 - лента пароизоляции ПВХ; 5 - монтажная пена; 6 - мастика; 7 - винт; 8 - стальная пластина; 9 - битумная лента; 10 - полиэтиленовая пена
Рисунок Е.12 - Крепления панелей покрытия (подвеска)

1 - изоляционная панель; 2 - мастика; 3 - оцинкованный уголок 100x60; 4 - обогрев; 5 – пароизоляция
Рисунок Е.13 - Сопряжение перегородки и пола

1 - изоляционная панель; 2, 3 - накладки оцинкованные; 4 - водонепроницаемые заклепки; 5 - монтажная пена; 6 - мастика; 7 - битумная лента; 8 - заклепки, шаг 300 мм
Рисунок Е.14 - Продольное соединение между панелями

1 - изоляционная панель; 2 - винт, нержавеющая сталь; 3 – крышка
Рисунок Е.15 - Крепление панели к существующим стенам

1 - изоляционная панель; 2 - уголок; 3 - водонепроницаемые заклепки; 4 - мастика; 5 - герметик (полиэтилен)
Рисунок Е.16 - Сопряжение панели покрытия и перегородки

1 - изоляционная панель; 2 - уголок; 3 - водонепроницаемые заклепки; 4 - мастика; 5 - герметик (полиэтилен)
Рисунок Е.17 - Сопряжение панели стены и перегородки

1 - изоляционная панель; 2 - дверь; 3 - монтажная пена; 4 – мастика
Рисунок Е.18 - Сопряжение панели стены и конструкции двери
Библиография
[1] Федеральный закон от 27 декабря 2002 г. N 184-ФЗ "О техническом регулировании"
[2] Федеральный закон от 30 декабря 2009 г. N 384-ФЗ "Технический регламент о безопасности зданий и сооружений"
[3] Федеральный закон от 23 ноября 2009 г. N 261-ФЗ "Об энергосбережении и о повышении энергетической эффективности и о внесении изменений в отдельные законодательные акты Российской Федерации"
[4] Федеральный закон от 22 июля 2008 г. N 123-ФЗ "Технический регламент о требованиях пожарной безопасности"
[5] Строительная климатология: Справочное пособие к СНиП 23-01-99. - М.: НИИСФ РААСН, 2006.
[6] ПУЭ Правила устройства электроустановок (7-е изд.)
[7] Федеральный закон от 29 декабря 2004 г. N 190-ФЗ "Градостроительный кодекс Российской Федерации".


