СП 361.1325800.2017 ЗДАНИЯ И СООРУЖЕНИЯ. ЗАЩИТНЫЕ МЕРОПРИЯТИЯ В ЗОНЕ ВЛИЯНИЯ СТРОИТЕЛЬСТВА ПОДЗЕМНЫХ ОБЪЕКТОВ
Buildings and constructions. Protective measures in the zone of influence of construction of underground objects
Введение
Настоящий свод правил разработан с учетом требований федеральных законов от 27 декабря 2002 г. N 184-ФЗ "О техническом регулировании" [1], от 29 декабря 2004 г. N 190-ФЗ "Градостроительный кодекс Российской Федерации" [2] и от 30 декабря 2009 г. N 384-ФЗ "Технический регламент о безопасности зданий и сооружений" [3].
Свод правил содержит указания по проектированию и выполнению защитных мероприятий в зоне влияния строительства подземных сооружений, в том числе заглубленных частей зданий.
Настоящий свод правил разработан АО "НИЦ "Строительство" - НИИОСП им. Н.М. Герсеванова (руководители темы - канд. техн. наук И.В. Колыбин, канд. техн. наук О.А. Шулятьев; исполнители - канд. техн. наук В.В. Астряб, канд. техн. наук В.Г. Буданов, канд. техн. наук Ю.В. Вишняков, канд. техн. наук Ф.Ф. Зехниев, канд. техн. наук М.Н. Ибрагимов, канд. техн. наук С.А. Рытов, канд. техн. наук В.В. Семкин, канд. техн. наук А.Н. Скачко, канд. техн. наук А.В. Скориков, канд. техн. наук А.Н. Труфанов, канд. техн. наук М.М. Тупиков, канд. техн. наук А.В. Шапошников, канд. техн. наук П.И. Ястребов, Д.А. Внуков, О.А. Мозгачева, В.С. Поспехов) при участии д-ра техн. наук В.А. Ильичева, д-ра геол.-мин. наук В.В. Знаменского, д-ра техн. наук Н.С. Никифоровой, д-ра геол.-мин. наук А.Г. Шашкина, канд. техн. наук К.Г. Шашкина.
Настоящий свод правил содержит требования к проектированию и выполнению защитных мероприятий в зоне влияния строительства подземных сооружений, в том числе заглубленных частей зданий и сооружений (далее - подземные сооружения).
Настоящий свод правил не распространяется на проектирование защитных мероприятий в процессе строительства подземных магистральных трубопроводов, могильников для захоронения отходов, сооружений специального назначения, а также сооружений, возводимых на многолетнемерзлых грунтах.
В настоящем своде правил использованы нормативные ссылки на следующие документы:
ГОСТ 5686-2012 Грунты. Методы полевых испытаний сваями
ГОСТ 10178-85 Портландцемент и шлакопортландцемент. Технические условия
ГОСТ 12248-2010 Грунты. Методы лабораторного определения характеристик прочности и деформируемости
ГОСТ 19912-2012 Грунты. Методы полевых испытаний статическим и динамическим зондированием
ГОСТ 20276-2012 Грунты. Методы полевого определения характеристик прочности и деформируемости
ГОСТ 20522-2012 Грунты. Методы статистической обработки результатов испытаний
ГОСТ 23118-99 Конструкции стальные строительные. Общие технические условия
ГОСТ 24211-2008 Добавки для бетонов и строительных растворов. Общие технические условия
ГОСТ 24846-2012 Грунты. Методы измерения деформаций оснований зданий и сооружений
ГОСТ 26798.1-96 Цементы тампонажные. Методы испытаний
ГОСТ 27751-2014 Надежность строительных конструкций и оснований. Основные положения
ГОСТ 30416-2012 Грунты. Лабораторные испытания. Общие положения
ГОСТ 31108-2016 Цементы общестроительные. Технические условия
ГОСТ 31937-2011 Здания и сооружения. Правила обследования и мониторинга технического состояния
ГОСТ Р 55567-2013 Порядок организации и ведения инженерно-технических исследований на объектах культурного наследия. Памятники истории и культуры. Общие требования
СП 15.13330.2012 "СНиП II-22-81* Каменные и армокаменные конструкции (с изменениями N 1, N 2)
СП 16.13330.2017 "СНиП II-23-81* Стальные конструкции"
СП 20.13330.2016 "СНиП 2.01.07-85* Нагрузки и воздействия"
СП 22.13330.2016 "СНиП 2.02.01-83* Основания зданий и сооружений"
СП 23.13330.2011 "СНиП 2.02.02-85* Основания гидротехнических сооружений" (с изменением N 1)
СП 24.13330.2011 "СНиП 2.02.03-85 Свайные фундаменты" (с изменением N 1)
СП 28.13330.2017 "СНиП 2.03.11-85 Защита строительных конструкций от коррозии"
СП 35.13330.2011 "СНиП 2.05.03-84* Мосты и трубы" (с изменением N 1)
СП 45.13330.2017 "СНиП 3.02.01-87 Земляные сооружения, основания и фундаменты"
СП 47.13330.2016 "СНиП 11-02-96 Инженерные изыскания для строительства. Основные положения"
СП 48.13330.2011 "СНиП 12-01-2004 Организация строительства" (с изменением N 1)
СП 63.13330.2012 "СНиП 52-01-2003 Бетонные и железобетонные конструкции" (с изменениями N 1, N 2, N 3)
СП 64.13330.2017 "СНиП II-25-80 Деревянные конструкции" (с изменением N 1)
СП 70.13330.2012 "СНиП 3.03.01-87 Несущие и ограждающие конструкции" (с изменениями N 1, N 3)
СП 116.13330.2012 "СНиП 22-02-2003 Инженерная защита территорий, зданий и сооружений от опасных геологических процессов. Основные положения"
СП 164.1325800.2014 Усиление железобетонных конструкций композитными материалами. Правила проектирования
СП 246.1325800.2016 Положение об авторском надзоре за строительством зданий и сооружений
СП 248.1325800.2016 Сооружения подземные. Правила проектирования
СП 249.1325800.2016 Коммуникации подземные. Проектирование и строительство закрытым и открытым способами
Примечание - При пользовании настоящим сводом правил целесообразно проверить действие ссылочных документов в информационной системе общего пользования - на официальном сайте федерального органа исполнительной власти в сфере стандартизации в сети Интернет или по ежегодному информационному указателю "Национальные стандарты", который опубликован по состоянию на 1 января текущего года, и по выпускам ежемесячного информационного указателя "Национальные стандарты за текущий год. Если заменен ссылочный документ, на который дана недатированная ссылка, то рекомендуется использовать действующую версию этого документа с учетов всех внесенных в данную версию изменений. Если заменен ссылочный документ, на который дана датированная ссылка, то рекомендуется использовать версию этого документа с указанным выше годом утверждения (принятия). Если после утверждения настоящего свода правил в ссылочный документ, на который дана датированная ссылка, внесено изменение, затрагивающее положение, на которое дана ссылка, то это положение рекомендуется применять без учета данного изменения. Если ссылочный документ отменен без замены, то положение, в котором дана ссылка на него, рекомендуется применять в части, не затрагивающей эту ссылку. Сведения о действии сводов правил целесообразнео проверить в Федеральном информационном фонде стандартов.
В настоящем своде правил применены следующие термины с соответствующими определениями:
3.1
|
авторский надзор: Контроль лица, осуществившего подготовку проектной документации, за соблюдением в процессе строительства требований проектной документации и подготовленной на ее основе рабочей документации. [СП 246.1325800.2016, статья 3.1] |
3.2
|
геотехнический барьер: Конструкция из ряда инъекторов, расположенная между объектом геотехнических работ и существующими защищаемыми объектами в вертикальной, горизонтальной или наклонной плоскостях, для выполнения работ по компенсационному нагнетанию. [СП 45.13330.2017, статья 3.10] |
3.3
|
геотехнический мониторинг: Комплекс работ, основанный на натурных наблюдениях за поведением конструкций вновь возводимого или реконструируемого сооружения, его основания, в том числе грунтового массива, окружающего (вмещающего) сооружение, и конструкций сооружений окружающей застройки. Геотехнический мониторинг осуществляется в период строительства и на начальном этапе эксплуатации вновь возводимых или реконструируемых объектов. [СП 22.13330.2016, статья 12.1] |
3.4
|
геотехнический прогноз: Комплекс работ аналитического и расчетного характера, цель которых - качественная и количественная оценка поведения оснований, фундаментов и конструкций проектируемого сооружения и окружающей застройки в процессе строительства и в начальный период эксплуатации. [СП 248.1325800.2016, статья 3.1.5] |
3.5 геотехнический экран (здесь): Сплошная или прерывистая линейная конструкция, которая устраивается в грунтах из различных материалов и по различным технологиям и позволяет отделить или ограничить область грунтового массива, в котором возникают изменения его напряженно-деформированного состояния от строительства новых заглубленных или подземных сооружений, от области грунтового массива, вмещающего конструкции фундаментов окружающей застройки (в том числе подземные коммуникации).
3.6
|
грунтовый анкер: Геотехническая конструкция, предназначенная для передачи осевых выдергивающих нагрузок от закрепляемой конструкции на несущие слои грунта только в пределах корневой части своей длины и состоящая из трех частей: оголовка, тяги анкера и корня. [СП 45.13330.2017, статья 3.12] |
3.7
|
закрепление грунта: Улучшение механических и физических свойств грунта путем введения в грунт твердеющих растворов в режиме пропитки или перемешивания. [СП 45.13330.2017, статья 3.17] |
3.8 заполнительная цементация: Инъекция цементного раствора в грунт по манжетной технологии в целях заполнения пор и возможных полостей в грунте (подготовка грунтового массива к компенсационному нагнетанию).
3.9 защитные мероприятия (здесь): Технические решения по защите окружающей застройки от сверхнормативных деформаций и прочих недопустимых воздействий, оказываемых строительством подземного сооружения.
3.10
|
зона влияния нового строительства или реконструкции: Расстояние, за пределами которого негативное воздействие на окружающую застройку пренебрежимо мало. [СП 22.13330.2016, статья 3.16] |
3.11
|
категория технического состояния: Степень эксплуатационной пригодности несущей строительной конструкции или здания и сооружения в целом, а также грунтов их основания, установленная в зависимости от доли снижения несущей способности и эксплуатационных характеристик. [ГОСТ 31937-2011, статья 3.6] |
3.12 компенсационное нагнетание: Способ недопущения развития осадок фундаментов зданий и сооружений, превышающих предельные дополнительные значения путем нагнетания в грунт твердеющих растворов через скважины (инъекторы), располагаемые между объектом геотехнических работ и рядом расположенными защищаемыми объектами.
3.13
|
наблюдательный метод: Метод проектирования, предполагающий возможность корректировать проект на основании результатов геотехнического мониторинга. [СП 248.1325800.2016, статья 3.1.17] |
3.14
|
надзор за строительством: Комплекс специальных мероприятий, проводимых заказчиком, проектировщиком и организацией, осуществляющей научно-техническое сопровождение и мониторинг, а также другими контролирующими государственными организациями по обеспечению безопасности строительства и последующей эксплуатации строящегося сооружения и окружающей застройки. [СП 248.1325800.2016, статья 3.1.18] |
3.15
|
научно-техническое сопровождение: Комплекс работ научно-аналитического, методического, информационного, экспертно-контрольного и организационного характера, осуществляемых в процессе изысканий, проектирования и строительства в целях обеспечения надежности сооружений с учетом применения нестандартных расчетных методов, конструктивных и технологических решений. [СП 22.13330.2016, статья 3.22] |
3.16
|
окружающая застройка: Существующие здания и сооружения, инженерные и транспортные коммуникации, расположенные вблизи объектов нового строительства или реконструкции. [СП 22.13330.2016, статья 3.23] |
3.17
|
подземное сооружение или подземная часть сооружения: Сооружение или часть сооружения, расположенные ниже уровня поверхности земли (планировки). [СП 22.13330.2016, статья 3.28] |
3.18
|
сопоставимый опыт: Документированная либо иная четко установленная информация, относящаяся к свойствам дисперсных и скальных грунтов, аналогичных рассматриваемым в проекте, для которых следует ожидать сходного поведения конструкций, аналогичных используемым в проекте. [СП 248.1325800.2016, статья 3.1.26] |
3.19
|
усиление грунта: Улучшение механических свойств грунта путем закрепления, уплотнения, армирования или изменения напряженно-деформированного состояния массива грунта. [СП 45.13330.2017, статья 3.46] |
3.20 элемент закрепленного грунта: Закрепленный объем грунта, имеющий контролируемые физико-механические и геометрические параметры, обеспечивающие проектные требования.
4.1 При применении настоящего свода правил следует также руководствоваться требованиями СП 22.13330, СП 24.13330, СП 45.13330 и СП 248.1325800 к расчету, проектированию и выполнению усиления оснований и фундаментов.
4.2 Положения настоящего свода правил обеспечивают выполнение качественных и максимально полных материалов изысканий, оптимального выбора конструктивных схем, способов устройства защитных мероприятий, использования соответствующих методов расчета, установления методов контроля при изготовлении конструкций, производства строительных работ и эксплуатации защищаемых сооружений, выполнения геотехнического мониторинга, а также соответствия требованиям действующих нормативных документов.
4.3 При проектировании защитных мероприятий должны быть предусмотрены решения, не допускающие ухудшения условий эксплуатации существующих защищаемых зданий, сооружений, а также подземных инженерных коммуникаций при подземном строительстве.
4.4 Защитные мероприятия в городской среде следует проектировать таким образом, чтобы негативное влияние строительства и эксплуатации подземного сооружения на окружающую застройку было минимальным. При выборе проектного решения подземных сооружений и защитных мероприятий следует оценивать сопоставимый опыт строительства, в первую очередь на близлежащих площадках строительства.
4.5 При проектировании подземных сооружений и назначении защитных мероприятий следует учитывать не только влияние нового строительства на существующие сооружения и коммуникации, но и возможное влияние существующих зданий на проектируемое подземное сооружение. В этой связи защитные мероприятия могут выполнять двойную функцию защиты как строящегося подземного сооружения, так и существующего сооружения с учетом их взаимного влияния.
4.6 При разработке защитных мероприятий необходимо выполнять следующие требования:
а) усилия в конструкциях защищаемых зданий и сооружений, дополнительные перемещения фундаментов, их относительная разность и крен не должны превышать предельно допустимых значений;
б) устройство защитных мероприятий не должно вызывать дополнительное технологическое воздействие на защищаемые здания;
в) в случае невозможности выполнения требования перечисления б) в полной мере необходимо учитывать при проектировании дополнительные деформации фундаментов от технологического воздействия;
г) конструкция защитных мероприятий должна быть надежной, обладать необходимой прочностью и долговечностью, быть технически и технологически осуществимой;
д) технические решения должны иметь возможность реализации с учетом технического состояния объекта и доступа для выполнения работ.
4.7 Защитные мероприятия следует разрабатывать при возможном негативном влиянии на окружающую застройку подземного строительства.
4.8 Для защиты существующих зданий и сооружений (включая подземные коммуникации), расположенных в зоне влияния строительства подземного сооружения, применяют следующие защитные мероприятия:
- изменение конструктивного решения подземного сооружения для минимизации воздействия на окружающую застройку;
- усиление конструкций защищаемых зданий;
- усиление фундаментов и грунта основания;
- устройство геотехнических отсечных экранов, геотехнических барьеров, завес, стенок, расположенных между подземным сооружением и защищаемым зданием.
4.9 Проектирование защитных мероприятий следует выполнять расчетным, экспериментальным или наблюдательным методами. Допускается их совместное применение.
4.10 При проектировании защитных мероприятий для зданий пониженного уровня ответственности (класс сооружений КС-1 в соответствии с ГОСТ 27751) допускается применять метод аналогий, при котором учитывают имеющийся сопоставимый опыт строительства аналогичных подземных сооружений с применением защитных мероприятий в таких же грунтовых условиях для оценки правильности принятия проектного решения и определения возможных технологических осадок, а также просадок, подъемов, кренов и горизонтальных смещений.
4.11 Выбор конкретных мероприятий по защите окружающей застройки осуществляет проектная организация на основе технико-экономического сравнения вариантов.
5.1 Инженерно-геологические и инженерно-геотехнические изыскания для проведения защитных мероприятий в зоне влияния строительства подземных сооружений должны обеспечивать получение всей необходимой информации о свойствах грунтов, требуемых для разработки защитных мероприятий по усилению фундаментов или оснований зданий и сооружений окружающей застройки.
5.2 Изыскания для проектирования защитных мероприятий по усилению фундаментов или оснований зданий, попадающих в зону влияния нового строительства, как правило, проводят в один этап. В случае отсутствия или недостаточного объема архивных данных, а также при расположении в зоне влияния строительства уникальных сооружений [2, статья 48.1, часть 2] или зданий исторической застройки (приложение Е СП 22.13330.2016) для определения зоны влияния строительства и осуществления геотехнического прогноза выполняют предварительный этап изысканий.
5.3 При проведении изысканий для выполнения защитных мероприятий следует руководствоваться требованиями СП 22.13330, СП 24.13330, СП 47.13330 и СП 249.1325800.
5.4 Выполнению изысканий должны предшествовать:
- анализ архивных данных результатов изысканий;
- разработка конструктивных решений подземной части проектируемого сооружения;
- принятие проектного решения по выбору фундамента строящегося сооружения;
- принятие проектного решения по типу ограждающей конструкции и крепления котлована;
- принятие проектного решения по технологии устройства и конструкции обделки сооружения, устраиваемого закрытым способом;
- определение расчетной зоны влияния нового строительства на окружающую застройку;
- обследование зданий, попадающих в зону влияния нового строительства, включая обследование фундаментов и грунтов основания;
- геотехнический прогноз осадок фундаментов зданий окружающей застройки;
- определение зданий, требующих проведения защитных мероприятий;
- выбор вида защитных мероприятий;
- выбор вида усиления фундаментов зданий, попадающих в зону влияния нового строительства;
- выбор вида усиления грунтов оснований зданий, попадающих в зону влияния нового строительства.
5.5 Изыскания выполняют непосредственно для сооружений, требующих проведения защитных мероприятий. Они включаются в состав технического задания и программы инженерных изысканий стадии "Проект" для строительства подземного сооружения.
5.6 При подготовке технического задания и программы изысканий состав и объем работ определяются в зависимости от вида мероприятий по усилению фундаментов или грунтового основания.
5.7 В техническом задании на изыскания должны содержаться указания по предоставлению необходимых данных по механическим характеристикам грунтов основания и скальных массивов, необходимых для проведении численного моделирования.
5.8 В техническом задании и программе изысканий может быть предусмотрено определение показателей грунтов, не регламентированных действующими стандартами, и их физико-механических свойств и методов испытаний.
5.9 В случае выполнения защитных мероприятий путем устройства геотехнических отсечных экранов согласно 8.6 проведение изысканий не требуется.
5.10 При проведении изысканий для устройства геотехнического барьера согласно 8.6 кроме стандартных характеристик следует определять параметры релаксации и переуплотнения грунтов. Определение релаксационных параметров грунтов следует проводить по методике, изложенной в приложении А, определение параметров переуплотнения грунтов - по методике, изложенной в СП 23.13330.2011 (приложение Б).
Скважины для отбора монолитов грунтов следует располагать в створе предполагаемого размещения геотехнического барьера. Глубина буровых скважин должна превышать проектную глубину геотехнического барьера не менее чем на 1 м.
5.11 Для всех видов защитных мероприятий, за исключением устройства разделительных стенок и геотехнического барьера, изыскания проводят под каждое здание, требующее усиления фундамента или грунтового основания. При этом в объем инженерно-геологических изысканий должна быть включена вся площадь здания, требующего усиления, вне зависимости от того, попадает в зону влияния здание целиком или только его часть.
5.12 В случае выбора защитного мероприятия путем усиления фундаментов зданий сваями согласно 8.4 при проведении изысканий необходимо руководствоваться требованиями СП 24.13330 и СП 47.13330.
5.13 В случае преобразования фундамента в плитный или его уширения согласно 8.4 при проведении изысканий необходимо руководствоваться требованиями СП 24.13330 и СП 47.13330 к соответствующим типам фундаментов при новом строительстве.
5.14 Состав и объем изысканий при проектировании мероприятий по усилению грунтов оснований согласно 8.5 определяют размерами и конструкцией конкретного фундамента и видом мероприятия по усилению грунтового основания.
5.15 Для зданий повышенного уровня ответственности (класс сооружений КС-3) количество буровых скважин при проектировании мероприятий по усилению грунтов оснований должно быть не меньше четырех. При этом статическое зондирование проводят на расстоянии не более 1 м от каждой скважины.
5.16 Для зданий нормального уровня ответственности (класс сооружений КС-2) должны быть выполнены не менее двух буровых скважин и не менее четырех точек статического зондирования, включая точки зондирования, выполняемые на расстоянии не более 1 м от каждой скважины.
5.17 Для зданий пониженного уровня ответственности (класс сооружений КС-1) выполняют одну-две буровые скважины, которые с учетом результатов архивных данных и предшествующих этапов инженерно-геологических и геотехнических изысканий могут быть заменены точками статического зондирования.
5.18 При проектировании мероприятий по усилению грунтов оснований инъекцией химическими растворами и цементацией в состав специальных исследований грунтов должны быть включены определения водопроницаемости (коэффициента фильтрации) грунтов, химического состава подземных вод, содержания карбонатов, гипса и наличия органических веществ.
6.1.1 Для разработки проекта защитных мероприятий следует провести комплексное обследование конструкций защищаемого сооружения, включая фундаменты, грунт основания, основные несущие элементы подземной и надземной частей, согласно ГОСТ 31937.
6.1.2 Обследование зданий, находящихся в зоне влияния нового строительства или реконструкции существующих объектов, следует выполнять в целях получения сведений, необходимых для расчета влияния объекта на деформации основания этих зданий, определения категории их технического состояния и необходимости разработки защитных мероприятий по обеспечению сохранности зданий, в том числе при прогнозируемых деформациях основания, а также разработки проектной документации. Ведомость дефектов конструкций здания, составленная при обследовании, устанавливает правомочность требований по ремонту или восстановлению зданий. Обследование должно проводиться профильной организацией в области обследования технического состояния зданий и сооружений, допущенной к проведению такого рода работ в порядке, установленном действующим законодательством Российской Федерации.
6.1.3 Предварительно зону влияния строительства для определения объема работ по обследованию следует назначать согласно СП 22.13330.
6.1.4 Техническое задание на обследование окружающей застройки подлежит уточнению после определения проектной организацией расчетной зоны влияния.
6.1.5 Обследование строительных конструкций зданий, включая фундаменты и основания, следует выполнять согласно ГОСТ 31937. Обследование должно проводиться профильной организацией в области обследования технического состояния зданий и сооружений, допущенной к проведению такого рода работ в порядке, установленном действующим законодательством Российской Федерации.
6.1.6 Работы по обследованию целесообразно разделить на два этапа: предварительное и детальное обследования.
6.1.7 В состав предварительного обследования, по результатам которого выполняют расчет зоны влияния подземного строительства и деформаций оснований зданий и коммуникаций, расположенных в ней, следует включить:
- сбор исходной информации по объемно-планировочным и конструктивным решениям зданий, времени их постройки, продолжительности и нормативным срокам их эксплуатации;
- поиск и изучение архивной документации инженерно-геологических изысканий;
- анализ ранее выполненных обследований;
- визуальное обследование здания с составлением планов и разрезов здания, а также дефектных ведомостей фасадов и внутренних несущих конструкций с фотофиксацией дефектов и схемами их положения;
- проходку шурфов и обследование фундаментов и основания под ними для определения конструкции и глубины заложения фундамента, наличия в них дефектов, определение прочности материала фундаментов и определение категории их технического состояния;
- сбор нагрузок на фундамент и основание, проверочный расчет прочности фундамента и деформации основания;
- определение категории технического состояния конструкций здания по результатам визуального обследования;
- определение необходимости разработки защитных мероприятий по обеспечению сохранности здания;
- в необходимых случаях определение прочности материалов строительных конструкций.
6.1.8 По результатам предварительного обследования должна быть назначена категория технического состояния здания или сооружения согласно 6.4.
6.1.9 Детальное обследование выполняют в случае необходимости выполнения усиления, реконструкции, в том числе с увеличением эксплуатационных нагрузок, при проведении капитального ремонта для получения информации, необходимой для расчета как отдельных элементов конструкции, так и здания в целом. В последнем случае в расчете следует учитывать прогнозируемые деформации основания.
При детальном обследовании конструкций, в которых при осмотре обнаружены серьезные дефекты, следует выполнить инструментальное обследование.
Инструментальные обследования включают измерения:
- длины и ширины раскрытия трещин;
- деформаций несущих конструкций, в том числе прогибов;
- характеристик материала конструкций методами неразрушающего контроля или проведением испытаний отобранных образцов;
- общих и относительных осадок фундаментов здания.
6.1.10 По результатам детального обследования следует установить достаточность прочности конструкций и необходимость их усиления.
6.1.11 Объем и состав работ по обследованию должен быть необходимым и достаточным для определения категории технического состояния сооружений окружающей застройки и допустимых воздействий на них, в том числе для геотехнических расчетов. В случае если по результатам предварительного обследования цели достигнуты и выполнена достаточно обоснованная оценка категории состояния конструкций, этап детального инструментального обследования, а также некоторые виды обследований допускается не выполнять. К последним относятся, например, обследование фундаментов и грунтов основания, которые допускается не выполнять для объектов, при обследовании которых установлено отсутствие осадочных деформаций и имеются архивные материалы, необходимые для разработки защитных мероприятий.
6.1.12 С учетом результатов обследования зданий и сооружений должен быть выполнен расчет влияния на него нового строительства для принятия решения о необходимости усиления конструкций обследуемого здания (сооружения) и, как следствие, о проведении дополнительных работ по обследованию для выполнения последующих проектных работ.
6.1.13 Техническое состояние конструкций следует определять на текущий период. Возможные изменения состояния от воздействия нагрузок вероятностного характера типа проявления карстовой опасности, суффозионных процессов, связанных с атмосферными осадками и протечками водонесущих коммуникаций, в том числе аварийными, рассматривать не следует.
6.2.1 Обследование фундаментов и грунтов основания существующего здания является частью комплексного обследования, а его результаты - исходной документацией для последующего проектирования и определения геотехнического влияния от нового строительства.
6.2.2 Обследование фундаментов и грунтов основания допускается не проводить для объектов, в которых при обследовании не обнаружено видимых деформаций и для которых имеются все необходимые архивные материалы, а значения дополнительных нагрузок на фундаменты от нового строительства или реконструкции и значения дополнительных осадок не вызовут недопустимых деформаций конструкций, а также если в зоне взаимодействия сооружения с геологической средой отсутствуют специфические грунты и опасные инженерно-геологические процессы.
6.2.3 Обследование фундаментов зданий следует проводить по результатам визуальной оценки состояния верхних конструкций здания, изучения имеющейся проектной документации и материалов инженерно-геологических изысканий.
6.2.4 Перед началом проведения обследования фундаментов должна быть предоставлена топографическая съемка инженерных сетей вблизи здания.
6.2.5 При обследовании в условиях плотной городской застройки следует выявить наличие конструктивных особенностей подземной части зданий (подвалов, фундаментов снесенных зданий), а также наличие инженерных коммуникаций, кабелей, тоннелей и т.д.
6.2.6 При проведении обследования фундаментов и грунтов основания не допускается нарушать безопасность эксплуатации здания.
6.2.7 В перечень работ по обследованию грунтов оснований и фундаментов включаются:
- проходка шурфов с отбором монолитов грунта из-под подошвы фундамента;
- бурение скважин с отбором образцов, определением уровня подземных вод (УПВ);
- зондирование грунтов;
- визуальное обследование фундаментов и обмерные работы;
- детальное (инструментальное) обследование фундаментов, включающее определение прочности материала фундамента, наличие армирования и его параметры, получение сведений по гидроизоляции;
- поверочные расчеты (расчетное сопротивление, осадки и несущая способность основания и фундамента);
- составление технического отчета.
6.2.8 Результатом работ по обследованию фундаментов и грунтов оснований существующих зданий должна быть оценка технического состояния конструкций фундаментов, выводы по причинам имеющихся деформаций здания.
6.3.1 Предварительное (визуальное) и детальное обследование верхних конструкций здания следует проводить в целях установления их технического состояния и здания в целом, установления причин возникновения дополнительных деформаций, получения сведений для проведения последующих проектных работ, в том числе по реконструкции, усилению верхних конструкций, фундаментов и грунтов оснований.
6.3.2 В состав работ по обследованию верхних конструкций могут быть включены:
- визуальное обследование технического состояния основных несущих конструкций на предмет выявления деформаций;
- детальное обследование с определением прочностных характеристик материалов основных несущих конструкций;
- измерение необходимых для выполнения целей обследования геометрических параметров зданий (сооружений), конструкций, их элементов и узлов и сопоставление их с имеющейся проектной документаций;
- измерения значений крена зданий и т.д.
6.3.3 Визуальное обследование следует проводить в целях определения общего состояния строительных конструкций. По результатам визуального обследования должны быть выполнены оценка технического состояния отдельных конструктивных элементов и здания или сооружения в целом.
6.3.4 После проведения расчетов влияния следует определить необходимость проведения детального обследования.
6.3.5 Результатами работ по обследованию конструкций здания должны быть оценка технического состояния основных конструктивных элементов, здания или сооружения в целом, выводы о возможности восприятия им дополнительных деформаций (предельные дополнительные деформации), технический отчет, содержащий перечень дефектов, а также, при необходимости, меры по усилению конструкций и грунтов основания и данные, обосновывающие выбор категории технического состояния здания.
6.4.1 Категории технического состояния (конструкций, зданий и сооружений) определяют по ГОСТ 31937 и СП 22.13330 (см. таблицу 6.1).
Таблица 6.1 - Категории технического состояния сооружения
|
Категория технического состояния сооружения по СП 22.13330 (в скобках - по ГОСТ 31937) |
Характеристика технического состояния сооружения |
|
I - нормальное (нормативное) |
Выполняются требования норм. Необходимость ремонтных работ отсутствует |
|
II - удовлетворительное (работоспособное) |
Удовлетворяются требования норм, относящиеся к предельным состояниям первой группы; требования, относящиеся к предельным состояниям второй группы, могут быть нарушены, но в конкретных условиях эксплуатации, при отсутствии дополнительных внешних воздействий, не возникает нарушения работоспособности здания. Усиление конструкций не требуется, достаточен текущий ремонт с устранением локальных повреждений |
|
III - неудовлетворительное (ограниченно-работоспособное) |
Имеются дефекты и повреждения, приведшие к снижению несущей способности, но отсутствуют опасность внезапного разрушения и угроза для безопасности людей. Функционирование конструкций и эксплуатация здания или сооружения возможны либо при контроле (мониторинге) технического состояния, либо при проведении необходимых мероприятий по восстановлению или усилению конструкций и (или) грунтов основания и последующем мониторинге технического состояния (при необходимости) |
|
IV - предаварийное или аварийное (аварийное) |
Существующие повреждения свидетельствуют о непригодности конструкций к эксплуатации, об исчерпании несущей способности и опасности обрушения и недопустимости пребывания людей в зоне расположения конструкций |
6.4.2 Оценку категории технического состояния объекта проводят на основании проведенного обследования и выводов о техническом состоянии отдельных конструктивных элементов и поверочных расчетов в соответствии с таблицами Б.1 и Б.2. Категорию технического состояния здания назначают, исходя из наихудшей категории отдельного несущего элемента, определенной по таблицам Б.1 и Б.2.
6.4.3 При оценке технического состояния зданий допускается использовать в качестве справочного материала признаки, приведенные в таблице В.1 ГОСТ Р 55567-2013.
6.4.4 При проведении усиления конструкций здания (сооружения) в целях восприятия ими дополнительных деформаций от нового строительства, в зону влияния которого оно попадает, по результатам анализа проекта, исполнительной документации и контроля фактического исполнения допускается улучшать категорию технического состояния здания в соответствии с таблицей Д.1 СП 22.13330.2016 при наличии соответствующей проектной документации, в состав которой в отдельных случаях следует включать расчет системы "основание - фундамент - сооружение".
6.4.5 Категория технического состояния здания может быть уточнена при проведении детального обследования.
6.4.6 Категорию технического состояния здания необходимо назначать для определения предельно допустимых деформаций.
7.1.1 Оценку влияния нового строительства на окружающую застройку и инженерные коммуникации следует проводить с учетом требований СП 22.13330, СП 248.1325800 и 249.1325800 с учетом требований настоящего раздела.
7.1.2 Требования к расчетным моделям и проведению расчетов влияния на существующие здания приведены в СП 248.1325800, на инженерные коммуникации - в СП 249.1325800.
7.1.3 Оценку влияния нового строительства на эксплуатируемые здания, сооружения и коммуникации выполняют на основании как расчетного, так и экспертно-аналитического подхода. Следует учитывать результаты сопоставления результатов расчетов влияния и данных мониторинга, а также опыт производства геотехнических работ в сходных грунтовых условиях. При оценке влияния следует определять:
- габариты зоны влияния с выделением зоны интенсивных перемещений, где значение осадки превышает 1 см;
- дополнительные деформации существующих зданий (вертикальные и горизонтальные перемещения, относительную разность осадок фундаментов);
- общие перемещения инженерных коммуникаций;
- общие перемещения инженерных сооружений городской и транспортной инфраструктуры.
7.1.4 Отчет по результатам геотехнического прогноза должен содержать перечень всех зданий и сооружений, находящихся в зоне влияния нового строительства, включая инженерные коммуникации и сооружения транспортной инфраструктуры, с выделением сооружений, для которых необходимо выполнение защитных мероприятий. При нахождении в зоне влияния строительства технологического оборудования, чувствительного к неравномерным осадкам, допустимость полученных расчетом значений перемещений должна быть согласована с эксплуатирующими данное технологическое оборудование их организациями.
7.1.5 Результаты прогноза влияния строительства на окружающую застройку и инженерные коммуникации являются основой для разработки программы мониторинга. Отчет по результатам моделирования должен содержать расчетное значение осадки для всех этапов производства работ нового строительства.
7.1.6 Расчетные значения дополнительных деформаций существующих зданий от нового строительства следует сопоставлять с предельными значениями, представленными в СП 22.13330. Допускается применять уточненные значения предельных деформаций на основании расчетов, учитывающих фактическую конструктивную схему и состояние здания, включая дефекты. При назначении предельных значений деформаций допускается учитывать документированный сопоставимый опыт, касающийся определенного вида застройки.
7.1.7 Расчеты влияния строительства на окружающую застройку следует проводить численно с использованием апробированного для проведения подобных расчетов программного обеспечения. В большинстве случаев расчеты допускается проводить в плоской постановке (плоская деформация). При нахождении в зоне влияния нового строительства уникальных зданий и сооружений [2, статья 48.1, часть 2] или объектов культурного наследия (памятников истории и архитектуры) [4] расчеты рекомендуется выполнять в трехмерной постановке.
Примечания
1 Программное обеспечение, используемое для геотехнических расчетов, должно быть апробировано профильной организацией и предоставлять возможность реализации моделей, описывающих нелинейное поведение грунта, последовательность возведения конструкций и изменение гидрогеологических условий в процессе строительства.
2 Апробация программного обеспечения осуществляется путем сопоставления результатов расчета по программе с тестовыми примерами, данными мониторинга, а также путем оформления разрешительных документов в установленном действующим законодательством Российской Федерации порядке на использование данного программного обеспечения.
7.2.1 В рамках экспертно-аналитического подхода в соответствии с указаниями СП 248.1325800 следует выполнять оценку дополнительных осадок, вызванных технологическими воздействиями на грунтовый массив в процессе производства работ по устройству геотехнических конструкций. Оценка может быть проведена на основании анализа опубликованных источников, сопоставимого опыта работ на объектах-аналогах либо путем проведения натурных испытаний на опытной площадке. Значение технологической осадки необходимо суммировать с расчетной дополнительной осадкой здания, полученной по результатам геотехнического прогноза.
7.2.2. Если технологические процессы устройства геотехнических конструкций могут быть смоделированы численно, допускается использовать такие расчеты как для определения значения осадки здания, так и в рамках экспертно-аналитического подхода.
7.2.3 Учет устройства траншей по технологии "стена в грунте" следует проводить в случае расположения зданий и сооружений окружающей застройки на расстоянии менее 5 м в мало- и среднесжимаемых грунтах, на расстоянии менее 25 м в сильносжимаемых водонасыщенных глинистых (тиксотропных) и песчаных заиленных (плывунных) грунтах.
7.2.4 Допускается определять дополнительную технологическую осадку фундаментов зданий и сооружений окружающей застройки в процессе устройства "стены в грунте" путем численного моделирования, учитывающего следующие параметры:
- расстояние между фундаментом здания и "стеной в грунте";
- длина захватки "стены в грунте";
- давление по подошве фундамента;
- плотность бентонитового раствора.
7.2.5 В случае необходимости минимизации технологического воздействия устройства "стены в грунте" на окружающую застройку должны быть рассмотрены следующие мероприятия:
- уменьшение длины захватки;
- увеличение плотности бентонитового раствора;
- устройство геотехнического барьера по методу компенсационного нагнетания согласно 8.6.
7.2.6 Оценку негативного воздействия устройства грунтовых инъекционных анкеров следует проводить методом аналогий или расчетом путем численного моделирования.
7.2.7 В расчете численным методом скважины для устройства анкеров следует рассматривать как выемки круглого сечения с заданным процентом перебора грунта. Значения перебора грунта допускается назначать методом аналогий на основании выполнения мониторинга и обратных расчетов на аналогичных площадках строительства с идентичными грунтовыми условиями либо по результатам выполнения работ на опытной площадке.
7.2.8 Оценку негативного воздействия устройства буроинъекционных свай следует проводить методом аналогий, используя результаты геотехнического мониторинга на объектах со сходными инженерно-геологическими условиями. Основными факторами, в наибольшей степени воздействующими на состояние фундаментов от устройства буроинъекционных свай, являются технология устройства буроинъекционных свай и инженерно-геологические условия.
7.2.9 В случае отсутствия сопоставительных данных для определения технологической осадки ленточных фундаментов на естественном основании, сложенном песчаным или глинистым грунтом, технологическую осадку от бурения скважины по грунту для буроинъекционных свай усиления определяют согласно таблице Д.1 путем выбора рекомендуемого значения в зависимости от метода бурения - шарошкой с промывкой бентонитовым раствором, полым шнеком, с применением разрядно-импульсной технологии (РИТ) или технологии буроинъекционно-компенсационной сваи (БКС).
7.2.10 Для определения технологической осадки в процессе устройства свай усиления следует отдельно определить осадку фундамента от бурения скважины по грунту по таблице Д.1 и от бурения тела фундамента по таблице Д.2.
8.1.1 Защитные мероприятия следует выполнять как для обеспечения сохранности окружающей застройки от влияния нового строительства или реконструкции существующих объектов, так и для обеспечения безопасной эксплуатации объекта нового строительства или реконструируемого от влияния существующих сооружений, в том числе подземных сооружений и коммуникаций.
8.1.2 Все работы по защитным мероприятиям следует выполнять на основании разработанного в составе проектной документации раздела 12 "Иная документация в случаях, предусмотренных федеральными законами" [5].
8.1.3 Разработку специальных защитных мероприятий для снижения негативного влияния нового строительства проводят в случае, если расчетные дополнительные деформации основания фундаментов существующих зданий и сооружений превышают предельно допустимые значения или существует возможность негативных воздействий на объект защиты, которая может привести к ухудшению его технического состояния, а степень влияния не может быть определена расчетом.
8.1.4 При назначении защитных мероприятий необходимо определить факторы, которые будут вызывать изменение напряженно-деформированного состояния (НДС) грунтового массива и деформации фундаментов зданий и сооружений окружающей застройки.
8.1.5 На здания и сооружения окружающей застройки при строительстве подземных сооружений могут воздействовать следующие факторы:
- конструктивные, вызванные вступлением в работу проектируемой конструкции в соответствии с проектным решением, например, связанные с перемещением ограждающей конструкции и дна котлована в процессе экскавации грунта, с осадкой строящегося сооружения или складированием материалов, и т.п.;
- технологические, происходящие в процессе устройства ограждений котлованов, анкеров, свай, щитовой проходки и др., т.е. связанные с технологией выполнения работ и применяемыми машинами и механизмами;
- климатические, обусловленные перемещением ограждающей конструкции котлована, вызванным температурными деформациями распорок и ограждающих конструкций, а также промерзанием грунта за "стеной в грунте" и ниже дна котлована;
- изменение УПВ в процессе водопонизительных работ или барражного эффекта при устройстве заглубленных сооружений;
- активизация негативных процессов в грунтовом массиве, связанная с выполнением геотехнических работ (суффозионные процессы, образование плывунов и пр.).
8.1.6 Для защиты окружающих зданий и сооружений от всех видов негативного воздействия нового строительства могут быть выполнены один или одновременно несколько видов мероприятий:
а) конструктивные, направленные на изменение проектного решения строящегося сооружения;
б) усиление конструкций существующих защищаемых зданий и сооружений;
в) усиление фундаментов защищаемых зданий и сооружений;
г) усиление грунта основания фундаментов защищаемых зданий и сооружений;
д) устройство геотехнических барьеров, завес, стенок, расположенных между объектом нового строительства и защищаемым зданием или сооружением.
В таблице 8.1 представлены защитные мероприятия для существующих зданий и сооружений, применяемые при строительстве подземных сооружений рядом с ними, в зависимости от факторов, вызывающих дополнительные деформации основания фундаментов.
Таблица 8.1 - Защитные мероприятия для существующих зданий и сооружений, применяемые при устройстве котлована
|
Защитные мероприятия |
Факторы, вызывающие дополнительные деформации основания фундаментов окружающей застройки | ||||
|
Конструктивные |
Технологические |
Климатические |
Изменение УПВ |
Негативные процессы (суффозия и пр.) | |
|
Конструктивные мероприятия (изменение проектных решений):
| |||||
|
Повышение жесткости ограждающей конструкции |
+ |
- |
+ |
- |
- |
|
Повышение жесткости удерживающей системы |
+ |
- |
+ |
- |
- |
|
Исключение водопонижения путем устройства противофильтрационной завесы |
+ |
- |
- |
+ |
+ |
|
Усиление конструкций существующих зданий, включая грунты основания фундаментов
| |||||
|
Усиление фундаментов |
+ |
+ |
+ |
+ |
+ |
|
Закрепление* и армирование грунта основания |
+ |
+ |
+ |
+ |
+ |
|
Усиление верхних конструкций** |
+ |
+ |
+ |
+ |
+ |
|
Геотехнические отсечные экраны, геотехнические барьеры
| |||||
|
Стенки из отдельных элементов (свай, труб и пр.)*** |
± |
± |
± |
- |
- |
|
Стенки в виде водонепроницаемой завесы |
- |
- |
- |
+ |
+ |
|
Геотехнический барьер |
+ |
+ |
+ |
- |
- |
|
* Если грунт поддается закреплению. ** Применяется только для снижения неравномерных осадок фундаментов. *** Защитные мероприятия сами могут вызвать дополнительные осадки. | |||||
|
Примечание - В настоящей таблице применены следующие обозначения: "+" - мероприятие эффективно; "-" - мероприятие неэффективно; "±" - эффективность недостаточна для безусловного применения. | |||||
8.1.7 Защитные мероприятия подразделяются на два вида:
- пассивные - выполняемые однократно; при проектировании используют исходные параметры (характеристики грунта, нагрузки и воздействия) без изменения НДС массива грунта;
- активные - могут выполняться многократно; с их помощью возможно дополнительное воздействие на НДС массива грунта (восстановление, регулирование и т.п.).
8.1.8 В качестве исходных данных для проектирования защитных мероприятий необходимо использовать следующие материалы:
- результаты инженерно-геологических изысканий объекта строительства, включая, при необходимости, архивные материалы;
- проектная документация объекта нового строительства;
- проекты производства работ (ППР) и технологические регламенты (при наличии) на выполнение геотехнических видов работ;
- проектная или исполнительная документация по конструктивным решениям существующего (защищаемого) здания или сооружения, его фундаментам и грунтам основания;
- результаты технического обследования конструкций защищаемого здания, включая фиксацию имеющихся дефектов в основных несущих конструкциях (трещины, сколы, коррозия арматуры и бетона, разрушение материала конструкций), а также результаты обследования фундаментов (глубина заложения, ширина подошвы, материал, состояние) и грунта основания (вид и состояние);
- оценка влияния устройства подземной выработки на существующее (защищаемое) здание или сооружение без защитных мероприятий.
8.1.9 Проект защитных мероприятий должен обеспечивать:
- механическую безопасность объекта на период строительства (реконструкции) и последующей эксплуатации:
- снижение расчетных значений дополнительных деформаций и (или) их относительной разности до требуемых нормативных значений, определяемых в соответствии с 7.1.6;
- повышение несущей способности основания;
- выравнивание деформационных характеристик основания в плане и по глубине;
- локальное усиление грунтов в местах образовавшихся зон разуплотнения;
- защиту от воздействий вибрации, подтопления и иных опасных техногенных или геологических процессов и явлений, в том числе противокарстовую защиту.
8.1.10 При выборе технических решений по устройству защитных мероприятий следует учитывать:
- характер влияния строительства, в том числе способ строительства подземной части проектируемого объекта;
- степень влияния (значения расчетных осадок, изменения инженерно-геологических и гидрологических условий, технологических и вибрационно-динамических воздействий) и расстояние между проектируемым и защищаемым объектами;
- техническое состояние защищаемого объекта (категория технического состояния, конструктивная схема);
- статус исторической и культурной ценности защищаемого объекта [4];
- особенности инженерно-геологического строения участка;
- доступ и возможность выполнения работ во внутренних помещениях объекта с учетом возможной эксплуатации объекта во время работ по усилению;
- необходимость выполнения работ по усилению конструкций надземной части;
- очередность, при необходимости, выполнения работ по усилению конструкций надземной части.
8.1.11 При разработке проекта должны выполняться следующие требования:
- усилия в конструкциях защищаемых зданий и сооружений, дополнительные перемещения фундаментов, их относительная неравномерность и крен должны соответствовать значениям, не превышающим предельно допустимых значений для защищаемого объекта, определенных на основании его категории технического состояния;
- работы по устройству защитных мероприятий не должны вызывать недопустимые технологические воздействия на защищаемый объект, приводящие к ухудшению его технического состояния и нарушению механической безопасности;
- принятые проектные решения должны обеспечивать возможность реализации с учетом технического состояния объекта и доступа для выполнения работ.
8.1.12 Защитные мероприятия следует рассчитывать в соответствии с требованиями ГОСТ 27751 по двум группам предельных состояний: первой - по несущей способности, второй - по деформациям.
Расчет по несущей способности следует проводить для защитных мероприятий, указанных в перечислениях а) и б) 8.1.6. Расчет по деформациям проводят во всех случаях проектирования защитных мероприятий.
8.1.13 Расчеты защитных мероприятий выполняют:
- для конструкций - в соответствии с требованиями СП 15.13330, СП 16.13330, СП 24.13330, СП 63.13330, СП 64.13330, СП 249.1325800;
- для оснований - в соответствии с СП 22.13330 и настоящим сводом правил.
8.1.14 Сооружения, основания и защитные мероприятия необходимо рассматривать как единый комплекс, т.е. следует учитывать взаимодействие существующего, проектируемого объекта, основания и защитных мероприятий. Для совместного расчета могут быть использованы аналитические, численные и другие методы (например, метод конечных элементов или методы конечных разностей, граничных элементов и др.).
8.1.15 Расчетную схему системы "сооружения - защитные мероприятия - основание" следует выбирать с учетом наиболее существенных факторов, определяющих напряженное состояние и деформации основания и конструкций существующих зданий и сооружений. Следует учитывать пространственную работу конструкций, геометрическую и физическую нелинейность, анизотропию, пластические и реологические свойства материалов и грунтов, а также историю нагружения и параметры переуплотнения грунтов.
8.1.16 Для зданий, находящихся в предаварийном или аварийном состоянии, в проекте защитных мероприятий следует указывать на необходимость выполнения первоначальных противоаварийных мероприятий в целях повышения категории технического состояния до удовлетворительного.
8.1.17 Проектом должна быть определена зона деформации в основании фундаментов защищаемого объекта. Зону, в которой необходимо выполнить защитные мероприятия, следует определять расчетом, а ее глубина должна в любом случае быть больше глубины зоны деформаций, а при необходимости - и сжимаемой толщи.
8.1.18 Допускается использовать вероятностные методы расчета, учитывающие статистическую неоднородность оснований, случайную природу нагрузок, воздействий и свойств материалов.
8.1.19 Нагрузки и воздействия, учитываемые при расчетах защитных мероприятий, коэффициенты надежности по нагрузке, а также возможные сочетания нагрузок следует принимать в соответствии с требованиями СП 20.13330, СП 22.13330, СП 35.13330 и СП 249.1325800.
8.2.1 Для снижения негативного влияния строительства подземных сооружений на окружающую застройку следует рассмотреть возможность внесения в проект изменений, направленных на снижение такого влияния (конструктивные мероприятия).
8.2.2 Решение о внесении изменений в конструкции проектируемых зданий и сооружений следует принимать на основании, в том числе, результатов оценки влияния строительства на окружающую застройку, выполняемую в соответствии с разделом 7.
8.2.3 В качестве конструктивных мероприятий при строительстве точечных объектов применяют:
- повышение жесткости ограждающей конструкции подземной выработки - увеличение толщины "стены в грунте" или диаметра свай; увеличение сечения профиля при использовании шпунта (например, шпунта Ларсена или др.); уменьшение шага свай ограждения или заполнение их бетоном в случае изготовления их из труб; устройство внутренних или наружных контрфорсов; применение жесткой арматуры в железобетонных конструкциях ограждения;
- повышение жесткости удерживающей системы - увеличение числа рядов анкеров, распорок, подкосов; уменьшение шага анкеров, распорок, подкосов в ряду; замена металлической распорной системы на железобетонные диски перекрытия; создание внутренней перегородки (рисунок 8.1, а); выполнение закрепления грунта ниже дна котлована, в том числе по технологии струйной цементации (рисунок 8.1, б); повышение блокировочных усилий анкеров; устройство специальных геотехнических конструкций внутри котлована (рисунок 8.2) и др.;
- изменение конструктивных решений - устройство ступенчатого подземного пространства с заглублением по мере удаления от существующего здания и ступенчатой надземной части с увеличением высоты и, соответственно, нагрузки по мере удаления от здания (рисунок 8.3);
- изменение конструкции фундаментов - устройство фундаментов глубокого заложения (сваи, баретты) с опиранием на несжимаемые (скальные, полускальные) грунты для минимизации осадок.



8.2.4 Дополнительные осадки существующих зданий и сооружений при организации ступенчатой подземной части необходимо определять численными расчетами.
8.2.5 В качестве конструктивных мероприятий при строительстве линейных сооружений применяют:
- перенос трассы линейного сооружения;
- изменение глубины заложения линейного сооружения;
- изменения технологии производства работ.
8.2.6 Увеличения расстояния между щитовой проходкой и существующими зданиями и сооружениями добиваются за счет смещения оси трассы в плане на безопасное расстояние.
8.2.7 Дополнительную осадку фундаментов от строительства подземных линейных сооружений следует определять на основании расчетов в соответствии с СП 249.1325800.
8.2.8 В качестве мероприятий по изменению технологии производства работ при щитовой проходке необходимо рассматривать:
- уменьшение перебора грунта в процессе строительства;
- применение компенсационного нагнетания твердеющих растворов в заобделочное пространство;
- изменение скорости проходки.
8.2.9 Уменьшения перебора грунта при щитовой проходке добиваются мероприятиями, приведенными в перечислении а) пункта 6.5.2 СП 249.1325800.2016.
8.3.1 Необходимость разработки защитных мероприятий существующих зданий следует определять по результатам оценки влияния нового строительства на окружающую застройку (раздел 7).
8.3.2 Проектная документация по усилению должна быть разработана на основе выбора одного из возможных вариантов с учетом технико-экономических показателей.
8.3.3 Требования к усилению конструкций существующих зданий следующими методами приведены:
- в [6] - усиление стальными напрягаемыми тяжами;
- [6] - [9] - усиление стальными и железобетонными обоймами;
- СП 164.1325800 - усиление неметаллической арматурой;
- [6], [9] - усиление инъецированием.
8.4.1.1 Необходимость усиления фундаментов зданий и сооружений определяют по результатам оценки влияния строительства подземного сооружения при проведении геотехнического прогноза.
8.4.1.2 Выделяют два способа усиления свайных фундаментов: усиление ростверков и устройство дополнительных свай.
8.4.1.3 Критериями при проектировании усиления оснований и фундаментов являются предельно допустимые значения дополнительных осадок основания фундаментов.
8.4.1.4 При разработке проекта усиления фундаментов сваями необходимо прогнозировать ожидаемые дополнительные осадки основания до усиления и после него, а также усилия в сваях.
8.4.1.5 Разработке проекта усиления должны предшествовать инженерно-геологические изыскания, состав работ и объем которых должны соответствовать требованиям действующих нормативных документов и положениям настоящего свода правил.
8.4.1.6 При устройстве свай усиления в случае недостаточной прочности материала фундамента необходимо выполнить его усиление.
8.4.1.7 Устройство свай осуществляют при наличии в геологическом разрезе основания слоя, пригодного для опирания на него свай.
8.4.1.8 Потребность в усилении фундаментов возникает при необходимости увеличения размеров фундамента в плане, значительных неравномерных прогнозных деформациях основания и в ряде других случаев.
8.4.1.9 Ближайшие к глубокому котловану сваи усиления следует устраивать до низа "стены в грунте" для обеспечения устойчивости зданий при возможном обрушении стенок траншеи.
8.4.1.10 Не допускается использовать буроинъекционные и вдавливаемые сваи в качестве защитного мероприятия для зданий при креплении ограждения котлована анкерами в связи с возможностью снижения их несущей способности вследствие повреждения или разуплотнения грунта при устройстве анкеров.
8.4.2.1 Буроинъекционные сваи применяют в следующих случаях:
- для стабилизации осадок фундаментов существующих зданий и сооружений при изменении конструктивной схемы объекта усиления;
- для минимизации воздействия строительства подземного сооружения на расположенное рядом здание.
8.4.2.2 Проектирование усиления существующего фундамента осуществляют в зависимости от его вида и технического состояния.
8.4.2.3 Предварительные размеры (диаметр и длина) буроинъекционных свай назначают с учетом инженерно-геологических условий площадки строительства, нагрузки, которую должны воспринимать сваи, вида и состояния усиливаемого фундамента, несущей способности свай, прогнозируемой в соответствии с опытом проектировщика или определяемой в соответствии с требованиями нормативных документов, а также расчетом численным методом.
8.4.2.4 Расчет буроинъекционных свай по прочности материала ствола выполняют в соответствии с требованиями СП 24.13330 и СП 63.13330.
8.4.2.5 Армирование буроинъекционных свай выполняют по расчету. Сваи армируют сварными каркасами. Допускается применять жесткую арматуру в виде проката черных металлов или стальных труб. Арматура сваи может быть однородной по длине и комбинированной, например труба или прокат в зоне действия изгибающего момента и каркас на остальной длине сваи.
8.4.2.6 Арматура без антикоррозионной защиты буроинъекционных свай должна иметь фиксирующие элементы, центрирующие ее в скважине и обеспечивающие требуемую толщину защитного слоя бетона. Расстояние между фиксаторами по длине каркаса должно быть не более шести диаметров скважины, а толщина защитного слоя при отсутствии антикоррозионной защиты - не менее 2, 5 см.
8.4.2.7 Конструкция сварного стыка рабочей арматуры каркасов должна обеспечивать его равнопрочность и удобство производства работ по инъецированию бетона в скважину.
8.4.2.8 Совместная работа буроинъекционных свай и усиливаемых фундаментов должна быть обеспечена заделкой сваи, длина которой определяется расчетом. Для фундаментов из кладки кирпича, камня известняка, бутовых фундаментов длина заделки свай должна быть не менее пяти диаметров сваи при бурении с глинистой промывкой и не менее четырех диаметров при бурении с продувкой воздухом. В случае невозможности обеспечения заделки должно быть предусмотрено усиленное армирование или уширение ствола сваи в месте примыкания сваи к подошве ростверка. Отношение диаметра уширенной части к диаметру скважины в пределах фундамента должно составлять не менее 1, 15.
8.4.2.9 Для уточнения несущей способности буроинъекционных свай усиления в конкретных условиях проектная организация может назначать проведение статических испытаний опытных буроинъекционных свай в соответствии с требованиями ГОСТ 5686 и СП 24.13330. В результате испытаний должна быть установлена расчетная нагрузка, допускаемая на сваю, Р, кН.
8.4.2.10 Рабочая документация по усилению оснований и фундаментов с помощью буроинъекционных свай должна содержать:
- титульный лист;
- план участка работ;
- состав проекта;
- ведомости объемов работ и потребности в материалах;
- общие указания к проекту;
- план свайного поля при усилении оснований и фундаментов буроинъекционными сваями;
- разрезы (сечения) по усиляемым фундаментам с буроинъекционными сваями;
- конструкции буроинъекционных свай усиления, чертежи арматурных каркасов;
- технологические схемы устройства свай усиления (по усмотрению проектной организации);
- технологические схемы линий подачи растворов;
- технологические схемы коммуникаций;
- рабочую документацию на устройство растворных узлов со схемами размещения рабочего оборудования.
8.4.2.11 При расчете несущей способности буроинъекционных свай следует руководствоваться требованиями СП 24.13330.
8.4.2.12 Буроинъекционные сваи применяют для защиты зданий, имеющих категории технического состояния конструкций II и III, статус объекта культурного наследия (памятника истории и культуры) [4].
8.4.2.13 Буроинъекционные сваи не следует применять как защитные мероприятия для зданий всех категорий технического состояния состояния конструкций в мелких и пылеватых водонасыщенных песках, в особенности обладающих плывунными свойствами, поскольку при устройстве ограждения котлована возможны разуплотнение этих грунтов и снижение несущей способности свай по боковой поверхности.
8.4.2.14 Буроинъекционные сваи не следует применять в качестве защитных мероприятий для зданий, примыкающих к котлованам глубиной более 15 м, поскольку вследствие недостаточной жесткости они не обеспечивают отсутствие деформаций в основании зданий.
8.4.3.1 Принципиальные технические схемы погружения вдавливаемых свай следует принимать в зависимости от конкретных условий устройства элементов, воспринимающих нагрузку от домкратов.
8.4.3.2 Для осуществления усиления фундаментов вдавливаемыми сваями требуется:
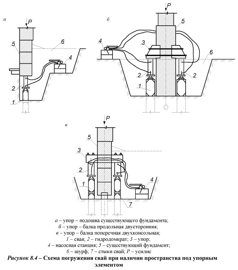
- наличие пространства под фундаментом или упорным элементом (рисунок 8.4);
- отсутствие пространства под упорным элементом (рисунок 8.5);
- наличие свободного доступа к месту погружения свай (рисунок 8.6);
- наличие соседних несущих стен в стесненных условиях при устройстве новых фундаментов под стены или оборудование в условиях реконструкции (рисунок 8.7).
8.4.3.3 Выбор упорных элементов определяется конкретными условиями и возможностями подрядной организации.
8.4.3.4 Расчетную схему усиливаемого фундамента, включающего существующий фундамент и многосекционные сваи, выбирают с учетом требуемой несущей способности, типа фундамента и условий производства работ.
8.4.4.1 Защиту фундаментов от выветривания следует выполнять при физическом и химическом выветривании материала фундаментов, когда кладка затронута неглубоко и отсутствуют сквозные трещины в фундаментах.
8.4.4.2 Поверхность фундаментов необходимо восстанавливать оштукатуриванием цементным раствором по подготовленной (зачищенной) боковой поверхности фундаментов или оштукатуриванием по металлической сетке, укрепленной на их поверхности. При проектировании рекомендуется предусматривать использование технологии набрызга и торкретирования.




8.4.4.3 Для усиления фундамента следует зацементировать кладку, укрепив тем самым существующий фундамент, либо выполнить обойму, восстановив несущие функции фундамента.
8.4.4.4 При выветривании раствора кладки фундамента на всю ширину его цементацию следует выполнять путем бурения с поверхности первого или подвального этажа в кладке фундамента скважин и нагнетания в них цементного раствора.
8.4.4.5 Нагнетание следует проектировать с учетом выполнения на опытной площадке с последующей проверкой результатов и уточнением технологии и состава работ.
8.5.1 Проектирование усиления грунтов основания следует выполнять в соответствии с требованиями СП 22.13330, СП 45.13330 и положениями настоящего подраздела.
8.5.2 Настоящий подраздел охватывает следующие способы закрепления при проектировании усиления грунтов основания:
- инъекционный - реализующий закрепление за счет нагнетания в грунт химических или цементационных растворов с помощью погружаемых инъекторов или через скважины (смолизация, силикатизация, цементация) методами пропитки (без нарушения структуры грунта) или заполнительной цементации (с частичным или полным изменением структуры грунта в зоне инъекции);
- струйная цементация - реализующий закрепление за счет использования энергии струи раствора (воды, воздуха) с полным изменением структуры грунта и формированием элементов закрепленного грунта [грунтоцементных элементов (ГЦЭ)], обладающих заданными характеристиками;
- буросмесительный (глубинное перемешивание) - реализующий закрепление за счет механического перемешивания разрушенного грунта с подаваемым вяжущим (полное изменение структуры) и позволяющий при минимальных технологических воздействиях закреплять грунты как в основании зданий, так и вблизи несущих конструкций, формируя элементы закрепленного грунта (грунтоцемента) правильной формы, с заданными характеристиками.
8.5.3 Усиление грунтов может быть выполнено отдельными элементами, массивами и сочетаниями элементов и массивов закрепленного грунта различной формы в плане и по глубине. Проектом усиления грунтов основания должна быть определена зона усиления грунта в основании фундаментов защищаемого объекта. Зону усиления грунтов следует определять расчетом, а ее глубина в любом случае должна быть больше глубины зоны деформаций, а при необходимости - сжимаемой толщи.
8.5.4 Проектирование усиления грунтов оснований необходимо выполнять в такой последовательности:
- определение проектных требований и выбор способа усиления;
- разработка программы дополнительных изыскательских работ, включающих комплекс лабораторных работ и, при необходимости, опытных полевых работ по закреплению грунтов;
- выбор конструктивной схемы усиления грунтов и назначение предварительных расчетных параметров закрепления;
- назначение предварительных размеров зоны усиления и отдельных элементов закрепления;
- выполнение расчетов и корректировка, при необходимости, зоны усиления и расчетных параметров закрепления;
- назначение расчетных параметров закрепления, технологической последовательности выполнения работ, разработка графической части проекта, определение проектных объемов материалов и стоимости работ;
- проведение опытно-производственных работ и, при необходимости, корректировка значений расчетных параметров, назначение рабочих параметров закрепления;
- авторское сопровождение работ по закреплению.
8.5.5 При проектировании следует использовать материалы, обеспечивающие получение экологически безопасного закрепленного грунта.
8.5.6 Проект усиления грунтов основания должен содержать требования к следующим расчетным параметрам закрепления:
- расчетные показатели закрепляемых грунтов;
- технологические параметры закрепления.
8.5.7 Расчетные параметры должны включать:
- механические характеристики закрепленного грунта - прочность на одноосное сжатие Rstb, сцепление cstb, угол внутреннего трения φstb;
- деформационные характеристики закрепленного грунта - модуль деформации Estb, коэффициент Пуассона закрепленного грунта νstb (при необходимости);
- геометрические параметры элементов (зон) закрепления.
8.5.8 Для предварительных расчетов оснований зданий и сооружений повышенного и нормального уровней ответственности (классов сооружений КС-3 и КС-2), а также при проектировании усиления грунтов для сооружений пониженного уровня ответственности (класса сооружений КС-1), временных конструкций (элементов) из закрепленного грунта допускается пользоваться значениями прочностных и деформационных характеристик закрепленных грунтов, принятых по таблицам 8.2 и 8.3.
Таблица 8.2 - Нормативные характеристики песчаных грунтов, закрепленных инъекцией химических и цементных растворов, в зависимости от нормативного сопротивления
|
Способы закрепления песка |
Характеристики грунта |
Средние значения характеристик закрепленных песков при нормативном сопротивлении Rstb, МПа | |||
|
0, 5 |
1, 0 |
1, 5 |
2, 0 | ||
|
Силикатизация двухрастворная |
cstb, МПа |
0, 10 |
0, 2 |
0, 3 |
0, 54 |
|
φstb, град |
40 |
41 |
42 |
43 | |
|
Estb, МПа |
70 |
150 |
215 |
280 | |
|
Силикатизация однорастворная с H2SiF6 |
cstb, МПа |
0, 10 |
0, 21 |
0, 3 |
0, 55 |
|
φstb, град |
39 |
40 |
40, 5 |
41 | |
|
Estb, МПа |
40 |
90 |
130 |
170 | |
|
Силикатизация газовая |
cstb, МПа |
0, 10 |
0, 2 |
0, 37 |
0, 55 |
|
φstb, град |
39 |
40 |
41 |
42 | |
|
Estb, МПа |
40 |
80 |
120 |
160 | |
|
Смолизация карбамидной смолой |
cstb, МПа |
0, 12 |
0, 21 |
0, 35 |
0, 50 |
|
φstb, град |
39 |
41 |
41, 5 |
42 | |
|
Estb, МПа |
50 |
110 |
165 |
220 | |
|
Цементация микроцементом - особо тонким дисперсным вяжущим |
cstb, МПа |
0, 12 |
0, 27 |
0, 41 |
0, 56 |
|
φstb, град |
40 |
42 |
42, 5 |
43 | |
|
Estb, МПа |
100 |
200 |
275 |
350 | |
8.5.9 За геометрические параметры закрепленного грунта принимают следующие характеристики в зависимости от способа закрепления:
а) для инъекционных способов закрепления:
- расчетный радиус - расстояние от оси скважины (инъектора) до границы закрепления, за пределами которой закрепление отсутствет (зависит от вида и свойств раствора, фильтрационных характеристик грунта и технологических параметров инъекции, включая свойства растворов), назначаемое при проектировании и определяемое по глубине закрепления по результатам опытных работ;
- расчетная глубина - расстояние от верхней до нижней границы закрепления в пределах сечения с расчетным радиусом, за пределами которой закрепление отсутствует;
б) для закрепления по технологии струйной цементации:
- расчетный радиус - назначаемое при проектировании и определяемое по глубине закрепления по результатам опытных работ расстояние от оси скважины до условной границы закрепления, за пределами которой закрепление отсутствует;
- расчетная глубина - назначаемое при проектировании расстояние от верхней до нижней границы закрепления в пределах сечения с расчетным радиусом, за пределами которой закрепление отсутствует;
в) для буросмесительного способа закрепления (глубинное перемешивание):
- расчетный радиус - расстояние от оси скважины до границы закрепления, за пределами которой закрепление отсутствует (задается размером бурового инструмента), назначаемое при проектировании;
- расчетная глубина - назначаемое при проектировании расстояние от нижней до верхней границы закрепления (задается проектом с учетом технических характеристик оборудования), но не более 25 м.
Таблица 8.3 - Нормативные характеристики грунтов, закрепленных цементацией по струйной и буросмесительной технологии, в зависимости от нормативного сопротивления одноосному сжатию
|
Виды грунта |
Характеристики грунтоцемента - закрепленного грунта |
Средние значения характеристик закрепленных грунтов при нормативном сопротивлении одноосному сжатию Rstb, МПа | |||||
|
0, 5 |
1, 0 |
2, 0 |
3, 0 |
4, 0 |
5, 0 | ||
|
Песок |
cstb, МПа |
0, 15 |
0, 25 |
0, 58 |
0, 67 |
0, 88 |
1, 05 |
|
φstb, град |
41 |
42 |
44 |
45 |
47 |
48 | |
|
Estb, МПа |
95 |
195 |
370 |
510 |
625 |
700 | |
|
Супесь, суглинок |
cstb, МПа |
0, 07 |
0, 15 |
0, 41 |
0, 49 |
- |
- |
|
φstb, град |
39 |
41 |
42 |
43 |
- |
- | |
|
Estb, МПа |
50 |
125 |
230 |
315 |
- |
- | |
|
Глина (IL≤0, 5) |
cstb, МПа |
0, 07 |
0, 14 |
0, 79 |
- |
- |
- |
|
φstb, град |
39 |
40 |
42 |
- |
- |
- | |
|
Estb, МПа |
40 |
110 |
205 |
- |
- |
- | |
8.5.10 Геометрические параметры закрепления на этапе проектирования назначают по таблице 8.4 и подтверждают результатами опытно-производственных работ. Глубину закрепления назначают предварительно на основании данных инженерно-геологических изысканий, выбранного способа закрепления, конструкций проектируемого усиления нагрузочного эффекта в усиливаемых конструкциях и элементах усиления основания, требований нормативных документов к предельно допустимым деформациям и уточняют по результатам расчетов.
Таблица 8.4 - Расчетный радиус закрепления грунтов способами цементации
|
Технология закрепления |
Грунт |
Коэффициент фильтрации, м/сут |
Характеристики раствора |
Расчетный радиус закрепления, м |
Удельная поверхность цемента, см2/г |
|
Цементация инъекцией микроцемента |
Песок различной крупности |
≥5 |
В/Ц = 5-6 |
0, 20-0, 25 |
20 000 |
|
≥10 |
В/Ц = 4-5 |
0, 25-0, 4 |
16 000 | ||
|
≥20 |
В/Ц = 3-4 |
0, 4-0, 5 |
14 000 | ||
|
≥45 |
В/Ц = 3-4 |
0, 5-0, 6 |
12 000 | ||
|
Цементация инъекцией портландцемента |
Песок гравелистый |
≥80 |
В/Ц = 3-4 |
0, 4-0, 5 |
5 000 |
|
≥100 |
В/Ц = 3-4 |
0, 5-0, 8 |
3 000 | ||
|
Струйная цементация: |
Песок |
Не влияет |
В/Ц = 0, 8-1 |
- | |
|
Jet1 |
0, 25-0, 4 | ||||
|
Jet2 |
0, 45-0, 8 | ||||
|
Струйная цементация: |
Связный грунт (глина, суглинок, супесь) |
Не влияет |
В/Ц = 0, 8-1 |
- | |
|
Jet1 |
0, 2-0, 4 | ||||
|
Jet2 |
0, 35-0, 6 | ||||
|
Глубинное перемешивание |
Песок |
Не влияет |
В/Ц = 0, 6 |
2, 5-3, 0 |
- |
|
Связный грунт |
Не влияет |
В/Ц = 0, 6 |
0, 2-2, 5 |
- | |
|
Примечание - Примененные в настоящей таблице условные обозначения систем струйной цементации Jеt1 и Jet2 см. в пункте 3.40 СП 22.13330.2016. | |||||
8.5.11 Принятые при проектировании значения расчетных параметров закрепленного грунта должны быть подтверждены результатами опытно-производственных и контрольных работ, выполняемых на всем протяжении усиления основания.
8.5.12 Объемы опытно-производственных и контрольных работ назначают при проектировании. Они должны обеспечивать возможность достоверной оценки закрепления и включать изготовление не менее пяти элементов закрепления для опытно-производственных работ и не менее пяти контрольных участков с минимум тремя элементами закрепления для работ по закреплению на объекте, если иное не предусмотрено проектом.
8.5.13 Расчетные значения механических параметров закрепленного грунта следует определять по формуле
R=Rn, stb/γ, (8.4)
где Rn, stb - нормативное сопротивление одноосному сжатию закрепленного грунта, МПа;
γ - коэффициент надежности по закреплению, принимаемый в отсутствие результатов опытных работ равным 1, 4. В случае проведения опытных работ значение коэффициента надежности по закреплению следует устанавливать на основе статистической обработки результатов испытаний по методике, изложенной в ГОСТ 20522.
8.5.14 Работы на опытной площадке должны включать:
- закрепление по одному или нескольким способам;
- контроль качества закрепления.
8.5.15 Объем опытно-производственных работ определяется проектом в зависимости от уровня ответственности проектируемого и защищаемого сооружения, грунтовых условий площадки строительства и категории технического состояния объекта защиты. Опытное закрепление выполняют в соответствии с проектом для обоснования проектных технических решений по усилению основания.
Для сооружений повышенного уровня ответственности (класс сооружений КС-3), уникальных сооружений [2], а также объектов 3-й геотехнической категории по СП 22.13330 объем опытных работ должен составлять не менее 3% общего объема закрепления.
8.5.16 Контрольные работы на опытной площадке должны включать виды контроля, предусмотренные СП 45.13330, в том числе:
- по стадиям выполнения контрольных работ - входной, операционный, приемочный;
- объему контролируемых параметров - сплошной;
- периодичности проведения - непрерывный;
- методам проведения контроля - измерительный, визуальный, технический осмотр и регистрационный.
Требования к контрольным работам на опытной площадке должны обеспечивать выполнение положений СП 45.13330 и настоящего свода правил.
8.5.17 Работы по контролю качества закрепления на опытной площадке должны включать:
- контроль геометрических параметров элементов закрепленного грунта формы поперечного и продольного сечений (выполняется в контрольных шурфах);
- отбор проб в поперечном и продольном сечениях элемента закрепления, изготовление контрольных образцов и их испытание на одноосное сжатие;
- контрольное бурение в закрепленном грунте с отбором кернов, изготовление контрольных образцов и их испытание на одноосное сжатие;
- геофизические или ультразвуковые исследования сплошности и однородности закрепления по глубине закрепления, если это предусмотрено проектом;
- испытания отдельных участков статическими нагрузками, если это предусмотрено проектом.
8.5.18 Объем проб должен обеспечивать получение требуемых для статистической обработки результатов по каждому поперечному сечению в пределах 1, 0 м по глубине. Для оценки качества опытного закрепления следует выполнять контрольные шурфы. Число контрольных шурфов при работах на опытной площадке назначается техническим заданием, но должно быть не менее трех.
8.5.19 Работы на опытной площадке следует выполнять по заданию, разработанному проектной организацией, и ППР, согласованному с проектной организацией.
8.5.20 Отчетная документация по опытным работам должна содержать:
- задание на проектирование (проектная организация) и ППР (производитель работ или организация - разработчик ППР);
- исполнительную документацию по опытным работам, включающую акты освидетельствования скрытых работ, исполнительные схемы, колонки контрольных скважин, акты лабораторных испытаний кернов (образцов из кернов или проб), другие результаты исследований, в том числе акты геофизических исследований сплошности и однородности закрепления (производитель работ).
8.5.21 Качество закрепления должно соответствовать требованиям проекта, действующих нормативных документов и настоящего свода правил.
8.5.22 Контроль при производстве работ по закреплению и усилению грунтов основания должен включать все виды контроля, предусмотренные СП 45.13330, в том числе:
- по стадиям выполнения контрольных работ - входной, операционный, приемочный;
- объему контролируемых параметров - сплошной и выборочный;
- периодичности проведения - непрерывный и периодический;
- методам проведения контроля - измерительный, визуальный, технический осмотр и регистрационный.
Требования к контрольным работам должны обеспечивать выполнение положений СП 45.13330 и настоящего подраздела.
8.5.23 Состав проекта усиления грунтов основания
8.5.23.1 Проект усиления грунтов основания следует выполнять в соответствии с требованиями действующих нормативных документов. Оформление чертежей должно отвечать требованиям стандартов системы проектной документации для строительства (СПДС).
8.5.23.2 Проект усиления грунтов основания, выполняемый в рамках защитных мероприятий для сохранности окружающей застройки, входит в раздел 12 "Иная документация в случаях, предусмотренных федеральными законами" (см. [5]).
8.5.23.3 Проект должен включать следующие разделы:
а) "Конструктивные решения", включая пояснительную записку и графическую часть;
б) "Проект организации строительства" (ПОС), содержащий пояснительную записку и графическую часть.
8.5.23.4 Раздел "Конструктивные решения" должен состоять:
- из пояснительной записки, в которую помимо разделов, требуемых стандартами СПДС и иными нормативными документами, должны быть включены раздел по выбору и обоснованию технических решений по усилению грунтов основания, расчетное обоснование и технико-экономические характеристики сравниваемых вариантов, выполненных с соблюдением необходимых условий сопоставимости;
- графической части, в которую помимо чертежей, требуемых стандартами СПДС и иными нормативными документами, должны быть включены технические условия на усиление грунтов основания, инженерно-геологические разрезы и профили с нанесением на них инженерно-геологических элементов и указанием границ усиления, физико-механических характеристик грунтов, включая плотность, влажность, показатель консистенции связных грунтов. К спецификациям и ведомостям объемов работ дополнительно прилагаются пооперационные ведомости параметров усиления, включая группы грунтов по бурению, вид бурения, количество подаваемого крепителя по глубине.
8.5.23.5 Раздел ПОС проекта усиления грунтов основания должен состоять из пояснительной записки, графической части и технологического регламента выполнения работ по усилению грунтов основания.
В технологическом регламенте указывают:
- расчетные технологические параметры усиления;
- очередность выполнения работ по усилению на объекте;
- требования (задание) на выполнение опытно-производственных работ;
- требования по контролю качества на этапе опытно-производственных работ и основных работ по усилению грунтов основания.
8.6.1 Геотехнический отсечной экран представляет собой сплошную или прерывистую конструкцию в виде "стены в грунте" или стенки из металлических труб, буровых свай, которую устраивают в грунте между будущим котлованом и существующими сооружениями, подлежащих защите.
8.6.2 При проектировании геотехнических отсечных экранов в качестве защитных мероприятий для снижения сверхнормативных деформаций оснований окружающей застройки следует учитывать:
- инженерно-геологические условия площадки стротиельства;
- расчетные и предельные дополнительные деформации оснований фундаментов существующих зданий окружающей застройки;
- влияние нагрузки от существующих зданий и сооружений на деформации конструкции ограждения котлована;
технологические осадки от устройства геотехнического отсечного экрана.
8.6.3 Возможность применения геотехнического отсечного экрана для защиты существующих зданий и сооружений следует рассматривать в случае, если их расчетные дополнительные деформации основания фундаментов по результатам геотехнического прогноза превышают предельные дополнительные значения согласно СП 22.13330.
8.6.4 При проектировании защитных мероприятий решение о возможности применения геотехнических отсечных экранов устанавливают в рамках геотехнического прогноза на основании результатов расчета системы "котлован - геотехнический экран - фундамент существующего здания", выполняемого численными методами, с учетом технологической осадки основания фундаментов зданий от устройства геотехнического отсечного экрана в соответствии с требованиями раздела 7.
8.6.5 При проектировании геотехнический отсечной экран следует располагать как можно ближе к защищаемому зданию или сооружению, но на расстоянии, исключающем возможность проявления технологических осадок от его устройства. Для обеспечения совместной работы отдельных элементов конструкции геотехнического отсечного экрана из металлических труб, буровых свай и т.п. их следует объединять по верху обвязочной металлической или железобетонной балкой.
8.6.6 При проектировании геотехнических отсечных экранов рекомендуется рассматривать конструкции, изгибная жесткость которых не превышает жесткости ограждающей конструкции котлована. В противном случае следует прибегать к конструктивным мероприятиям, направленным на повышение жесткости ограждения котлована, либо рассматривать другие виды защитных мероприятий для окружающей застройки с учетом технико-экономических показателей.
8.6.7 Геотехнический барьер устраивают между подземным сооружением и защищаемым зданием путем нагнетания в грунт цементного раствора методом многоразовой инъекции по манжетной технологии через ряд вертикальных или наклонных инъекторов.
8.6.8 Расчетную схему системы "фундамент существующего здания - геотехнический барьер - объект нового строительства" следует выбирать с учетом наиболее существенных факторов, определяющих напряженное состояние и деформации основания и конструкций сооружений.
8.6.9 Расчет геотехнического отсечного экрана и геотехнического барьера проводят для определения зоны его расположения в плане, по высоте, углу наклона, а для геотехнического барьера - необходимого объема закачиваемого раствора на различных стадиях выполнения работ (первая стадия - заполнительная цементация, вторая - компенсационное нагнетание).
8.6.10 В расчетах необходимо учесть стадийность выполнения геотехнического барьера и нового строительства путем решения пошаговой задачи.
8.6.11 При расчете ограждающей конструкции котлована, вблизи которого планируется выполнить геотехнический барьер, следует учесть дополнительное давление инъектирования на конструкцию ограждения.
8.6.12 Расчет изменения НДС грунтового массива рекомендуется выполнять путем математического моделирования численными методами с использованием нелинейной механики сплошных сред.
8.6.13 Для обеспечения подбора геотехнического барьера с требуемыми по расчету параметрами (геометрические размеры барьера, свойства материала геотехнического барьера, значение объемного расширения грунта) в проекте выбирают длину инъекторов, их шаг, давление нагнетания, объем и состав раствора.
8.6.14 Длину геотехнического барьера подбирают, исходя из условия перекрытия им зоны изменения НДС грунта:
- для защиты существующего здания от устройства ограждающей конструкции и разработки котлована - в зависимости от глубины котлована и длины ограждающей конструкции, а также от их расстояния до существующего здания;
- для защиты существующего здания от нового строительства - от значения сжимаемой толщи и расстояния между зданием и новым строительством;
- для защиты существующего здания от проходки тоннеля - от диаметра и глубины заложения тоннеля и расположения его относительно фундаментов здания.
8.6.15 В общем случае расстояние между инъекторами при нагнетании следует выбирать на этапе проектирования исходя из условия перекрытия зон образования полостей разрыва (цементных линз) и уплотнения грунта.
8.6.16 Давление нагнетания на первой стадии выполнения работ (заполнительная цементация) должно превышать давление гидравлического разрыва грунта. Ориентировочно давление нагнетания может быть определено по формуле
P=(σzy+σzπ)μ/(1-μ)+C, (8.2)
где σzy - вертикальное напряжение от веса вышележащего грунта, кПа;
σzπ - вертикальное дополнительное напряжение на рассматриваемой глубине от внешней нагрузки, кПа;
μ - коэффициент Пуассона;
С - сцепление грунта, кПа.
По опыту устройства геотехнических барьеров было установлено, что давление гидравлического разрыва на первой стадии до глубины 15 м не превышает 0, 5 МПа.
8.6.17 Давление на второй стадии (компенсационное нагнетание) зависит от числа циклов нагнетания и может достигать 7 МПа. При увеличении числа циклов давление нагнетания возрастает.
8.16.18 Требуемый объем для инъекции твердеющего раствора определяется в зависимости от объема раствора:
- необходимого для создания требуемых объемных деформаций грунта (определяется в результате численного расчета);
- заполнившего поры и отдельные пустоты в грунте;
- профильтровавшегося за расчетную зону инъекции (приложение И).
8.6.19 Проект геотехнического барьера кроме указанных выше требований должен включать также элементы организации строительства и ППР.
8.6.20 В проекте геотехнического барьера должны быть установлены:
- зона инъекции в плане и по высоте;
- расстояние между точками инъектирования в плане;
- давление нагнетания;
- расход твердеющего раствора;
- состав раствора;
- применяемое оборудование;
- методы и количественные параметры контроля качества.
8.6.21 В состав рабочего проекта по устройству геотехнического отсечного экрана входят:
- строительный генеральный план с расположением контуров объекта нового строительства и существующих подземных коммуникаций;
- схема расположения элементов геотехнического отсечного экрана;
- разрезы по геотехническому отсечному экрану, включающие в себя данные инженерно-геологических изысканий;
- технологические схемы с описанием последовательности и методов производства работ;
- потребность в механизмах и материалах по этапам;
- указания по технике безопасности, охране труда и охране окружающей среды.
8.6.22 В состав рабочего проекта по устройству геотехнического барьера входят:
- строительный генеральный план с расположением контуров объекта нового строительства и существующих подземных коммуникаций;
- схема расположения инъекторов;
- разрезы по точкам инъектирования, содержащие данные инженерно-геологических изысканий;
- технологические схемы с описанием последовательности и методов производства работ;
- потребность в механизмах и материалах по этапам;
- указания по технике безопасности, охране труда и охране окружающей среды.
8.6.23 В рабочем проекте следует указать участок проведения опытных работ. Объем опытных работ определяется рабочим проектом в зависимости от общих объемов выполнения геотехнического барьера, однородности и свойств грунта, сложности инженерно-геологических условий.
8.6.24 Для качественного выполнения работ по устройству геотехнического барьера наряду с рабочим проектом целесообразно разрабатывать технологический регламент, содержащий детальные указания по привязке и вынесению скважин, подготовительным и опытным работам, подбору состава инъектирования для заполнительной цементации и стадии компенсационного нагнетания и др.
8.6.25 При производстве работ в зимний период следует учитывать в регламенте климатическую зону района производства работ.
9.1.1 Работы по усилению конструкций ведут с соблюдением требований ГОСТ 23118 и СП 70.13330.
9.1.2 При производстве работ по усилению конструкций необходимо выполнить операционный контроль качества выполнения отдельных видов работ и их приемку с ведением технической документации в установленной форме. Качество и марки материалов, применяемых при усилении конструкций, должны соответствовать требованиям действующих стандартов и технических условий, что удостоверяется паспортами предприятий-изготовителей. Допускается определять качество и марки материалов в ходе лабораторных испытаний.
9.1.3 При усилении стальными элементами следует контролировать:
- качество подготовки усиляемой поверхности;
- отклонение от проекта конструкций усиления при их монтаже;
- соответствие усилий в напрягаемых элементах требуемому значению;
- наличие обварки крепежных деталей после напряжения;
- наличие антикоррозионной защиты конструкций усиления.
9.1.4 Обязательным условием высокого качества усиления кладки металлическими элементами является антикоррозионная защита конструкций усиления. Требования к подготовке защищаемой поверхности - по СП 28.13330.
9.1.5 При приемке смонтированных стальных конструкций усиления предъявляют следующие документы:
- рабочие и деталировочные чертежи стальных конструкций;
- документы предприятия-изготовителя о соответствии, оформленные в порядке, установленном действующим законодательством;
- документы о согласовании допущенных отступлений от чертежей при изготовлении и монтаже;
- документы, удостоверяющие качество материалов;
- акты освидетельствования скрытых работ;
- журналы работ;
- документы о контроле качества сварных соединений;
- документы о предварительном напряжении конструкций;
- акты на защитное покрытие;
- копии удостоверений монтажников и сварщиков конструкций.
9.1.6 При производстве опалубочных работ контролируют:
- качество формующей поверхности элементов опалубки;
- отклонение от вертикали плоскостей опалубки и линий их пересечения;
- смещение осей опалубки от проектного положения.
9.1.7 При производстве арматурных работ контролируют:
- правильность установки опалубки;
- зазор между арматурой и опалубкой;
- соответствие проекту применяемых видов, марок и диаметров арматурной стали, размеров каркасов, расстояния между стержнями.
Приемку смонтированных арматурных изделий осуществляют до укладки бетона и оформляют акт освидетельствования скрытых работ.
9.1.8 При выполнении бетонных работ контролируют:
- соответствие бетонной смеси требованиям проекта усиления;
- правильность установки и закрепления опалубки;
- наличие смазки поверхности съемной опалубки, соприкасающейся при бетонировании с бетонной смесью;
- прочность бетона при распалубке усиленной конструкции.
Приемку-сдачу выполненных работ оформляют двухсторонним актом.
9.1.9 При выполнении инъекционных работ контролируют:
- глубину просверленных скважин;
- качество закрепления инъекционной трубки в скважине;
- давление, при котором подают инъекционный раствор;
- тщательность заполнения трещин в кладке.
9.2.1.1 Проведению работ по усилению фундаментов должно предшествовать выполнение соответствующих подготовительных мероприятий и внутриплощадочных работ.
9.2.1.2 Подготовительные мероприятия включают:
- согласование графика работ по усилению фундаментов;
- определение последовательности усиления фундаментов;
- организацию инструментального геодезического и визуального наблюдения по маякам за поведением несущих конструкций;
- ознакомление исполнителей с ППР;
- контроль качества и техники безопасности.
9.2.1.3 Внутриплощадочные работы включают:
- обеспечение доступа к фундаментам;
- устройство необходимых монтажных проемов, электроосвещения согласно ППР;
- монтаж вспомогательных устройств и механизмов;
- организацию временных складских площадок;
- комплектацию площадки строительства необходимыми механизмами и оборудованием;
- завоз свай, упорных элементов и других узлов, деталей и материалов согласно рабочим чертежам.
9.2.1.4 Перед началом работ должны быть сняты нулевые отсчеты по всем геодезическим маркам и зафиксировано состояние настенных маяков.
9.2.1.5 Работы по устройству свай завершаются составлением акта, подписываемого исполнителем, автором проекта и заказчиком.
9.2.2.1 Работы по устройству буроинъекционных свай отражают записью в журнале (приложение Г).
9.2.2.2 В зависимости от типа и состояния существующих фундаментов и типов грунта бурение скважин следует выполнять станками пневмоударного или колонкового бурения, с использованием проходного шнека или с промывкой скважин глинистым раствором.
9.2.2.3 При устройстве буроинъекционных свай могут быть применены теряемые или инвентарные кондукторы.
9.2.2.4 Арматурный каркас должен быть установлен в проектное положение, а стыковка его секций должна проводиться сваркой.
9.2.2.5 Бетонная смесь подается в скважину по буровому ставу или через трубу-инъектор снизу-вверх с помощью бетононасосов под давлением, назначаемым в проекте.
9.2.2.6 Не допускается понижение уровня бетонной смеси в устье скважины более 1, 5 м, в неустойчивых грунтах - ниже нижней кромки трубы-кондуктора.
9.2.2.7 При отрицательных температурах прочность бетона свай с противоморозными добавками к моменту замерзания бетона до температуры, на которую рассчитано количество добавок, должна быть не менее 20% проектной.
9.2.2.8 Для производства бетонных работ при температуре воздуха выше 25°С и относительной влажности менее 50% густота цементного теста должна быть не более 27%. Температура бетонной смеси не должна превышать 30°С - 35°С.
9.2.3.1 Разрядно-импульсную обработку (РИО) следует выполнять в порядке, указанном в перечислениях а) и б):
а) Обработка забоя:
- электродную систему устанавливают на забой скважины;
- проводят серию электровзрывов до падения уровня бетонной смеси в скважине на заданное проектом расчетное значение;
- РИО продолжают до получения отказа;
- проверяют степень уплотнения разрушенного буровым инструментом грунта (наличия рыхлого грунта в основании свай-РИТ) на "отскок", для чего электродную систему устанавливают на грунт в забое скважины, после разряда определяют значение погружения ее в грунт. При погружении электродной системы в грунт основания за один электровзрыв менее 1 см грунт основания принимается соответствующим требованию средней плотности. При осадке электродной системы более 1 см РИО забоя скважины следует продолжать, периодически проверяя плотность грунта.
б) Формирование тела сваи:
- в песчаных грунтах РИО ствола сваи следует выполнять ярусами шагом 0, 3-0, 5 м при движении снизу вверх в водонасыщенных песках или сверху вниз в песках малой и средней степени водонасыщения;
- в связных грунтах РИО ствола сваи следует выполнять ярусами шагом 0, 75-1, 0 м (3-3, 5 диаметра сваи).
Верхняя часть ствола сваи-РИТ на глубину 2, 0 м не подвергается РИО.
9.2.3.2 В процессе формирования тела сваи необходимо периодически доливать бетонной смесью до верхней грани кондуктора. Долив смеси следует проводить после перемещения излучателя вверх на новый горизонт и снижения уровня бетонной смеси до нижней кромки трубы-кондуктора.
9.2.3.3 При монтаже арматурного каркаса его нижнюю секцию погружают в скважину и вывешивают для соединения с верхней секцией, которую устанавливают соосно нижней, и стыкуют секции между собой.
9.2.3.4 Секции арматурного каркаса следует соединять внахлест или специальными муфтами. Не допускается соединять секции электродуговой сваркой.
9.2.3.5 При погружении арматурного каркаса в скважину допускается:
- вращение каркаса вокруг продольной оси;
- использование вибраторов, вибропогружателей общей мощностью до 5 кВт;
- поднятие на высоту до 4 м и опускание каркаса - погружение "в расходку".
9.2.3.6 Для устройства свай применяют самоуплотняющиеся бетонные смеси. Следует проводить дополнительное уплотнение бетонной смеси в верхнем сечении сваи глубинным вибратором на глубину 1, 5-2, 0 м.
9.2.3.7 При устройстве буроинъекционных свай для снижения технологического воздействия на конструкции защищаемого здания следует применять технологии, обеспечивающие восстановление начального НДС грунтового массива, например БКС, в которых опрессовка скважины избыточным давлением осуществляется через каждый метр по глубине скважины.
9.2.4.1 Производство работ по усилению фундаментов вдавливаемыми сваями осуществляют с учетом требований СП 45.13330.
9.2.4.2 Работы по вдавливанию свай проводят в последовательности, установленной проектом.
9.2.4.3 В процессе вдавливания свай ведут журнал и составляют акты на освидетельствование скрытых работ. Должны быть обеспечены контролируемые показатели и предельные отклонения по таблице 9.1.
9.2.4.4 Для устройства фундаментов из вдавливаемых свай рекомендуется использовать сборные железобетонные секции, соединяемые по мере вдавливания болтами, штырями либо сваркой. Стыки составных свай должны быть рассчитаны на нагрузки, возникающие в процессе погружения секций, а также на нагрузки, передаваемые на многосекционные сваи при эксплуатации зданий и сооружений. При отсутствии горизонтальных, выдергивающих и моментных нагрузок допускается использовать стальные штыри диаметром 40-50 мм, длиной 250-300 мм конструктивно, которые устанавливают вдоль продольной оси секций в предназначенных для них гнездах соответствующих размеров. Используют также стальные трубы либо сварные короба, также стыкуемые болтами или сваркой по мере погружения, полость которых подлежит обязательному заполнению песчаным (мелкозернистым) бетоном.
9.2.4.5 Работы по усилению фундаментов вдавливаемыми сваями выполняют в такой последовательности:
- устройство на месте упорного элемента;
- монтаж, при необходимости, страховочных подкосов или растяжек;
- установка первой секции сваи;
- размещение на верхнем торце первой секции сваи гидродомкрата и подключение его к насосной станции;
- погружение первой секции;
- использование инвентарных приспособлений, если ход домкрата меньше длины секции сваи;
- стыкование следующей секции и погружение ее в установленном порядке;
- наращивание секций и их вдавливание до достижения сопротивлением сваи проектного значения;
- сбрасывание давления в гидродомкрате до расчетного усилия и поддержание этого усилия до условной стабилизации;
- передача нагрузки на сваю по принятому в проекте решению;
- антикоррозионное покрытие стальных элементов усиления, бетонирование проемов и узлов усиления.
9.2.4.6 При расчетном усилии вдавливания по достижении условной стабилизации проводят соединение последней секции сваи с упорным элементом, если он сохраняется на период эксплуатации, или фундаментными конструкциями. Критерии условной стабилизации при расчетном усилии вдавливания назначают проектом. Длину вдавливаемых свай определяют достижением расчетного усилия вдавливания при условной стабилизации перемещений сваи и фиксируют для каждой сваи методами прямого контроля длины погруженных секций. При этом должна быть обеспечена несущая способность сваи по грунту, заданная проектом и подтверждаемая статическими испытаниями свай по ГОСТ 5686.
9.2.4.7 Домкраты следует снимать только после передачи нагрузки на вдавленные сваи.
9.2.4.8 Работы по вдавливанию свай и передаче на них нагрузок сопровождаются записью в журнале (приложение Д). Основные контролируемые параметры устройства вдавливаемых свай, которых следует придерживаться при производстве работ, приведены в таблице 9.1.
9.2.4.9 Контроль состояния маяков и инструментальное измерение осадок здания осуществляют в соответствии с указаниями раздела 10.
Таблица 9.1 - Основные контролируемые показатели и их предельные отклонения
|
Контролируемые показатели |
Предельные отклонения |
|
Максимальное усилие в домкрате, кН |
5% |
|
Скорость осадки марок, мм/сут |
≤0, 2 |
|
Раскрытие трещин в маяках для реконструируемых зданий, мм |
∆=±0, 2 |
|
Критерий стабилизации осадки последней секции сваи за 30 мин, мм |
∆4<0, 1 |
|
Отклонение в размерах расчетных сварочных швов, мм: | |
|
- длина | |
|
- поперечное сечение | |
|
Местоположение сваи в плане, мм |
∆6=±20 |
|
Отклонение секции от вертикали при установке под домкрат, мм |
∆7=±5 |
9.2.4.10 Техническую эффективность усиления вдавленными сваями оценивают по материалам геодезического наблюдения за осадками и кренами фундаментов зданий и сооружений.
9.2.5.1 При усилении фундаментов скважины цементации следует выполнять методами колонкового бурения. Инъекцию раствора следует проводить с помощью пакеров, раскрепляемых в кондукторах, заделанных в тело фундамента на растворе. Давление нагнетания должно составлять 0, 2-1, 0 МПа. За условный отказ следует принимать давление 0, 5 л/мин, если иное не предусмотрено проектом, но не более 1 л/мин.
9.2.5.2 Для обжатия грунтов допускается применять плоские домкраты. В них нагнетают твердеющую жидкую смесь, например цементный раствор или эпоксидную смолу, которые после обжатия грунта основания сохраняют напряженное состояние за счет затвердевания. Контроль за обжатием следует вести по манометру.
9.2.5.3 Растворы для цементации фундаментов должны отвечать требованиям проекта и быть стабильными (водооотделение не более 2%), В/Ц - 0, 5-0, 63. Сроки начала схватывания - не ранее 45 мин и не более 90 мин, расплыв по конусу в соответствии с ГОСТ 26798.1 - 18-28 см.
Вяжущее, применяемое для иъекционных растворов, должно обеспечивать надежное сцепление с материалами усиливаемого фундамента. При усилении фундаментов из бута-известняка, выполненного на известковом растворе, следует применять инъекционные растворы на цементном вяжущем с добавками извести. В качестве основного вяжущего применяют общестроительные цементы по ГОСТ 31108. Для регулирования составов допускается применять добавки, классификация которых приведена в СП 45.13330.
9.2.5.4 При незначительных повреждениях фундамента вместо цементации устраивают рубашку. Рубашку выполняют из раствора на крупном песке методом штукатурки или торкретирования, а также пневмонабрызгом бетона или укладкой его в опалубку.
9.2.5.5 В случаях, когда осуществление цементации затруднительно, кладку допускается усиливать железобетонными обоймами на всю высоту фундамента или его часть. В ленточных фундаментах противоположные стенки обоймы в отдельных случаях соединяют между собой анкерами из арматурной стали и поперечными балками. В некоторых случаях обоймы рекомендуется устраивать с предварительной установкой в них инъекционных труб для последующей цементации. В этом случае в процессе цементации обоймы препятствуют вытеканию раствора из фундамента и поступлению его в грунт.
9.2.5.6 При устройстве обойм свежий бетон укладывают после обязательной подготовки поверхности старой кладки с обязательным тщательным уплотнением бетонной смеси.
9.2.5.7 Для переустройства железобетонного столбчатого фундамента в ленточный между существующими фундаментами устраивают железобетонную стенку в виде перемычки. Для лучшего сопряжения перемычки на существующих фундаментах выполняют насечку и штрабы, а также оголяют арматуру для приварки арматуры перемычки. Кроме того, нижнюю часть перемычки выполняют в уровне подошвы существующего столбчатого фундамента. Перемычка охватывает подколонник железобетонной обоймой. Для повышения несущей способности нижнюю часть перемычки допускается выполнять уширенной.
9.3.1 Выполнение работ по усилению грунтов основания должно отвечать требованиям СП 22.13330, СП 45.13330, СП 48.13330, СП 116.13330 и настоящего свода правил.
9.3.2 Предусматривают следующие способы усиления грунтов, позволяющие создавать элементы закрепленного грунта с контролируемыми параметрами:
- инъекционный - нагнетание в грунт химических или цементационных растворов с помощью погружаемых инъекторов или через скважины (смолизация, силикатизация, цементация);
- буросмесительный - механическое измельчение грунта без извлечения его на поверхность и последующее смешивание с цементом и другими вяжущими веществами специальным буровым устройством в процессе погружения или извлечения его с вращением с созданием элементов закрепленного грунта:
- струйный - разрушение грунта струей высокого давления в скважине и смешивание с цементным раствором с частичным или полным замещением грунтов цементным раствором.
9.3.3 Работы по усилению грунтов основания следует выполнять на основании ППР. В состав ППР должны входить разделы, необходимые для выполнения работ по усилению, предусмотренные ПОС с учетом применяемого оборудования и условий производства работ. В ППР должны быть разработаны технологические карты или схемы на выполнение отдельных операций по усилению грунтов, включающие весь цикл закрепления, представлены формы журналов на выполнения работ или отдельных операций. Образцы журналов приведены в приложении Е.
9.3.4 В качестве крепителей для химического закрепления используют водные растворы силиката натрия, акрилаты, лигниты, уретаны карбамидных и других синтетических смол, в качестве отвердителей - неорганические или органические кислоты и соли.
9.3.5 Для цементации грунтов инъекционным способом, закрепления буросмесительным и струйным способами применяют следующие виды растворов: цементные (при необходимости с химическими добавками), цементно-песчаные, цементноглинистые, цементно-песчано-глинистые, а также поризованные и вспененные растворы.
Цементы для создания элементов закрепленного грунта, инъекции пропиткой или заполнительной цементации должны отвечать требованиям ГОСТ 31108. При наличии агрессивных подземных вод следует применять стойкие по отношению к ним цементы.
9.3.6 Состав растворов для закрепления грунтов назначается на этапе проектирования. Он является расчетными при разработке ППР. Растворы должны быть стабильными и обеспечивать требуемые по проекту время схватывания и содержание вяжущего. Все работы по приготовлению растворов крепителя следует выполнять с учетом требований охраны труда при работе с соответствующими материалами. Приготовление растворов следует осуществлять в оборудованных помещениях растворосмесительных узлов в смесителях центробежного действия со скоростью вращения не менее 100 об/мин.
9.3.7 Время начала схватывания (гелеобразования) должно обеспечивать рабочий цикл инъекции, время окончания схватывания (гелеобразования) - сохранность инъектированного объема раствора в закрепляемом объеме грунта и процесс начала твердения полученного закрепленного грунта.
9.3.8 Все работы по закреплению грунтов следует выполнять по разработанным в проекте (при наличии) или ППР рабочим технологическим параметрам. В качестве контролируемых рабочих технологических параметров назначают:
- объемы инъектируемого раствора (вяжущего) в пересчете на 1 м3 закрепляемого грунта;
- давление инъекции, назначаемое в зависимости от применяемого способа и фиксируемое на выходе из насоса и на входе в инъектор;
- рабочий расход подаваемого вяжущего в единицу времени (минуту);
- скорость перемещения вдоль оси скважины (инъектора, монитора, обтюратора);
- скорость вращения монитора;
- время выдержки на ступени обрабатываемого участка - захватки;
- объемы изливаемой пульпы (для струйной цементации грунтов) или изливаемого раствора (для инъекционных способов).
9.3.9 После выполнения опытных работ проводят оценку закрепления грунта на соответствие требованиям проекта по физико-механическим и геометрическим параметрам. При необходимости в проекте и ППР проводят корректировку расчетных параметров закрепления и технологических параметров.
9.3.10 По этапам выполнения контрольные работы при изготовлении элементов закрепленного грунта включают:
а) входной контроль - контроль качества поступающих на площадку строительства материалов; цемента, армирующих элементов, добавок; контроль документов о качестве, периодические испытания материалов по методикам стандартов на цемент и армирующие элементы (трубы, прокат, арматура);
б) операционный контроль - контроль за выполнением рабочих процессов: приготовление раствора, погружение буросмесителя, инъектора, монитора, подача вяжущего, погружение армирующих элементов, оперативный контроль технологических параметров;
в) приемочный контроль - контроль, осуществляемый с учетом входного и операционного контроля на соответствие требованиям проекта и технологического регламента; осуществляют производитель работ, представители авторского и технического надзора, организации, осуществляющие научно-техническое сопровождение (при наличии).
9.3.11 Все работы по входному контролю выполняются производителем работ в соответствии с положениями СП 45.13330.
9.3.12 Операционный контроль выполняется на всех этапах выполнения технологических операций, включая следующие основные контролируемые операции и параметры:
- проверка расположения элементов закрепления в плане;
- дата и время начала и окончания работ;
- параметры подаваемого вяжущего (плотность, водоотделение, осадка конуса, сроки схватывания, В/Ц, время гелеобразования, объем раствора);
- фиксация глубины погружения смесителя (монитора, инъектора) и отметки начала и окончания подачи вяжущего;
- порядок подачи вяжущего (при погружении или подъеме) и других компонентов, кратность циклов перемешивания;
- линейная скорость погружения и подъема смесителя, м/мин;
- частота вращения смесителя при погружении и подъеме, об/мин;
- давление подачи вяжущего, МПа;
- скорость подачи вяжущего, л/кг/мин;
- диаметр смесителя, форсунок монитора;
- контроль качества закрепленного грунта - отбор проб и испытание в лаборатории образцов (контрольные шурфы и керны);
- контроль несущей способности закрепленного грунта (при необходимости).
9.3.13 Оборудование для закрепления грунтов должно быть оснащено системой контроля технологических параметров, позволяющей в реальном времени проводить их учет и корректировку.
9.3.14 Требуемые контролируемые параметры по операциям изготовления элементов закрепленного грунта - ГЦЭ представлены в таблице 9.2. Требуемые контролируемые параметры для элементов усиления оснований инъекционным способом определяют в ПОС.
Таблица 9.2 - Схема контроля качества
|
Вид контроля. Технологический процесс или параметр |
Контролируемые параметры и процессы |
Метод и средство контроля |
Периодичность |
Исполнитель | |
|
Входной |
Контроль качества поставляемых материалов |
Визуальный. Регистрационный |
Непрерывный |
Производитель работ | |
|
Операционный |
Технологические параметры | ||||
|
Контроль вяжущего |
Подвижность раствора вяжущего |
Измерительный (осадка конуса) |
Периодический |
Производитель работ | |
|
В/Ц раствора вяжущего |
Измерительный (технический ареометр) |
Периодический |
Производитель работ | ||
|
Водоотделение |
Измерительный |
Периодический |
Производитель работ | ||
|
Температура раствора вяжущего |
Измерительный |
Периодический |
Производитель работ | ||
|
Контроль грунтоцементной смеси (ГЦС) |
Плотность ГЦС |
Измерительный (взвешивание контрольных образцов) |
Периодический |
Производитель работ | |
|
Качество ГЦС |
Измерительный (количество изливаемой пульпы) |
Периодический |
Производитель работ | ||
|
Прочность на одноосное сжатие грунтоцемента |
Измерительный (контрольные образцы ГЦС в возрасте 7 и 28 сут) |
Периодический (для одних грунтов и технологических параметров) |
Профильная лаборатория | ||
|
Контроль изготовления ГЦЭ |
Скорость подачи и извлечения бурового инструмента |
Измерительный |
Непрерывный |
Производитель работ | |
|
Линейная скорость вращения бурового инструмента |
Измерительный |
Непрерывный |
Производитель работ | ||
|
Расход подачи вяжущего |
Измерительный |
Непрерывный |
Производитель работ | ||
|
Контроль качества ГЦЭ в конструкциях |
Давление подачи вяжущего, воды, воздуха |
Измерительный |
Непрерывный |
Производитель работ | |
|
Объем изливаемой пульпы |
Измерительный |
Непрерывный |
Производитель работ | ||
|
Прочность на сжатие: | |||||
|
в партиях |
Измерительный |
Периодический |
Профильные организация и лаборатория | ||
|
- в конструкции |
Испытания контрольных образцов, методы неразрушающего контроля. В конструкции - методами неразрушающего радиометрического и ультразвукового контроля по плотности и влажности |
Периодический |
Профильные организация и лаборатория | ||
|
Другие характеристики ГЦЭ, указанные в проекте |
В соответствии с технологическим регламентом и ППР |
В соответствии с технологическим регламентом и ППР | |||
9.3.15 Все работы по приемочному контролю выполняются производителем работ, представителями авторского и технического надзора, организации, осуществляющей научно-техническое сопровождение (при наличии), в соответствии с положениями СП 45.13330 и следующими положениями:
а) Приемочный контроль осуществляется комиссией на основе сопоставления проектной и исполнительной документации.
б) В исполнительную документацию дополнительно включают материалы контрольных работ.
в) В рамках приемочного контроля могут быть проведены дополнительные работы по оценке качества закрепления по материалу и несущей способности по грунту, выполняемые на рабочих элементах закрепленного грунта.
г) При приемке работ производитель работ представляет исполнительную документацию, в том числе:
- технические паспорта, документы, подтверждающие соответствие или другие документы, удостоверяющие качество применяемых материалов;
- журналы производства отдельных видов работ (приложение Е);
- акты освидетельствования скрытых работ;
- протоколы, акты испытаний контрольных образцов закрепленного грунта.
9.4.1 Устройство геотехнического отсечного экрана и геотехнического барьера начинают с подготовительных работ, во время которых открывается ордер на ведение работ, завозят необходимое оборудование, материалы, а также решают вопрос водо- и энергоснабжения.
9.4.2 Привязку элементов геотехнического отсечного экрана и точек инъектирования геотехнического барьера в плане следует проводить в соответствии с проектом. Инструментальное вынесение точек инъекции геотехнического барьера в натуру и определение высотного положения устьев инъекторов следует проводить для каждой пятой скважины.
9.4.3 Допустимые отклонения точек инъектирования от проектного положения в плане составляют не более 10 см, по высоте (отметка устья инъектора) - не более 5 см. Максимальные отклонения инъекторов от вертикали не должны превышать 1° от заданного угла оси инъектора. Большие значения отклонений согласовываются с проектной организацией. Разбивку точек инъектирования оформляют актом.
9.4.4 Элементам геотехнического отсечного экрана и точкам инъектирования геотехнического барьера следует присваивать номера по системе нумерации, предусмотренной рабочим проектом, независимо от времени бурения скважины, погружения инъектора и закачивания инъекционного раствора.
9.4.5 Производство работ по устройству геотехнического барьера начинают с опытного участка, местоположение которого определяется рабочим проектом.
9.4.6 На опытном участке отрабатывают способ погружения инъекторов, подбирают состав инъекционного раствора и давление, температуру смеси (в зимнее время), определяют оптимальное расстояние между инъекторами, объем закачиваемого раствора в каждую точку инъектора и др.
9.4.7 До начала работ по устройству геотехнического отсечного экрана и геотехнического барьера необходимо уточнить и строго учитывать расположение подземных коммуникаций (водопровод, канализация, кабельная сеть, газ и др.).
9.4.8 Изменения проекта или отклонения от него допускаются в процессе производства работ только с согласия проектной организации, разработавшей проект, и оформляются письмом, записью в журнале авторского надзора или на чертежах проекта.
9.4.9 Инъектирование раствора в грунт при устройстве геотехнического барьера следует проводить в соответствии с технологической схемой (рисунок 9.1), которую детально разрабатывают в рабочем проекте.

9.4.10 Погружение инъекторов следует проводить путем задавливания статической нагрузкой, забивкой или в ранее пробуренные скважины, предварительно заполненные тампонажным глиноцементным раствором. Диаметр скважины не должен превышать диаметр инъектора более чем на 15 мм.
9.4.11 Способ погружения элементов геотехнического отсечного экрана и инъекторов геотехнического барьера зависит от грунтовых условий, глубины и наклона скважин, категории технического состояния защищаемого здания и других факторов, но не должен влиять на техническое состояние существующих зданий. Способ погружения должен быть согласован с проектной организацией, разработавшей проект геотехнического барьера.
9.4.12 В качестве инъекционного раствора для создания геотехнического барьера допускается использовать цементный раствор с добавками и заполнителями. Рекомендуется принимать В/Ц = 0, 8-1, 2. Состав раствора уточняют по результатам работ на опытном участке.
9.4.13 В качестве добавки допускается применять бентонит (до 10% веса цемента) для получения минимального водоотделения и жидкое стекло (3% веса цемента) для повышения пластичности раствора и сокращения сроков схватывания. Возможно также применение суперпластифицирующих добавок по ГОСТ 24211 в количестве 1% веса цемента.
9.4.14 В качестве заполнителя, сокращающего количество применяемого цемента, в инъекционном растворе может быть использована зола-уноса, являющаяся отходом производства тепловых электростанций при сухом золоудалении. Размер добавки золы-уноса в растворе определяют на основе лабораторных исследований.
9.4.15 Для приготовления инъекционного раствора следует применять обыкновенный портландцемент по ГОСТ 10178.
9.4.16 Нагнетание инъекционного раствора в инъектор проводят порциями (обычно по 30-50 л) при каждом положении пакера (сверху вниз).
9.4.17 Давление нагнетания на 1-м этапе (заполнительная цементация) составляет 0, 3-0, 5 МПа, на втором и последующих этапах (стадия компенсационного нагнетания) оно может достигать 4-5 МПа. Сразу после инъекции раствора скважину промывают, передвигая пакер в обратном направлении (снизу вверх) с интервалом, кратным расстоянию по высоте между отверстиями инъектора. При каждом положении пакера в скважину закачивают 5 л воды.
9.4.18 В процессе строительства при изменении НДС грунта проводят дополнительную закачку цементного раствора до его восстановления (компенсационное нагнетание).
9.4.19 При устройстве геотехнического барьера для защиты существующих зданий от котлованов первоначально выполняют заполнительную цементацию. В случае поэтапной откопки котлована (для выполнения крепления ограждающей конструкции распорками, подкосами, анкерами) компенсационное нагнетание рекомендуется выполнять на каждом этапе.
9.4.20 После выполнения каждой операции (внедрение инъекторов, заполнительная цементация, все циклы компенсационного нагнетания) по устройству геотехнического барьера составляют акты сдачи-приемки работ. Рекомендуемые формы журналов производства работ приведены в приложении Ж.
9.4.21 Техническая документации при проведении работ по устройству геотехнического барьера состоит из акта освидетельствования и приемки инъекционных скважин, к которому прикладываются:
- акт разбивки инъекторов геотехнического барьера;
- буровой журнал (при необходимости);
- журнал установки инъекторов;
- журнал инъектирования;
- документ, подтверждающий соответствие цемента;
- документ, подтверждающий соответствие добавок и заполнителей.
Акт освидетельствования и приемки инъекционных скважин подписывают представители строительной организации, авторского надзора и строительного надзора заказчика.
9.4.22 Операционный контроль, выполняемый в процессе производства работ, должен включать:
- контроль разбивки оси инъекторов геотехнического барьера;
- контроль положения инъектора при погружении (угол наклона, глубина погружения);
- контроль параметров инъекторов (диаметр, общая длина, длина перфорированной части, наличие резиновых колец и т. д.);
- входной контроль качества исходных материалов;
- контроль состава приготовленного инъекционного раствора (не реже двух раз в рабочую смену);
- контроль соответствия методов погружения инъекторов и производства инъекционных работ проекту.
9.4.23 Контроль выполнения геотехнического барьера определяется возможностью сохранения начального изменения НДС грунта при производстве строительных работ, которое фиксируют по результатам мониторинга. В случае если поставленная цель не достигнута, проводят дополнительную инъекцию цементного раствора. Объем и точки инъекцирования определяются проектом.
9.4.24 Основным параметром, определяющим качество выполнения геотехнического барьера, является состояние конструкций защищаемых зданий и деформации (или их отсутствие) грунтового основания.
10.1 Надзор при выполнении защитных мероприятий для зданий и сооружений окружающей застройки следует осуществлять в рамках авторского надзора проектной организации согласно СП 246.1325800, технического контроля заказчика, уполномоченными государственными службами, а для зданий 3-й геотехнической категории по СП 22.13330, объектов культурного наследия (памятников истории и культуры) [4] - в рамках научно-технического сопровождения проектирования и строительства с учетом требований СП 248.1325800.
10.2 В процессе строительства подземного сооружения и проведения защитных мероприятий с использованием геотехнических видов работ (устройство свай, геотехнических отсечных экранов и барьеров, усиления фундаментов и грунта основания и т.п.) проверку достоверности инженерно-геологических изысканий следует осуществлять путем освидетельствования грунта в котловане (бортов и его дна) или горной выработке (забое, своде и стенах выработки), а также по результатам геотехнического мониторинга путем сравнения полученных обратными расчетами параметров с проектными значениями.
В случае несовпадения освидетельствованных видов грунтов и их свойств, а также гидрогеологических условий с проектными данными следует незамедлительно сообщить об этом в проектную организацию для проведения соответствующей корректировки проектов или назначения дополнительных инженерно-геологических изысканий.
10.3 Оценка правильности принятых проектных решений по защитным мероприятиям для сооружений 1-й и 2-й геотехнических категорий по СП 22.13330 должна быть проведена проектной организацией на основе результатов надзора и геотехнического мониторинга, для сооружений 3-й геотехнической категории по СП 22.13330 и объектов культурного наследия (памятников истории и культуры) [4] - совместно организацией, осуществляющей научно-техническое сопровождение проектирования и строительства, проектной организацией и техническим контролем заказчика по результатам надзора и комплекса работ по научно-техническому сопровождению.
10.4 При проведении геотехнического мониторинга необходимо решать следующие задачи:
- систематическая фиксация изменений контролируемых параметров конструкций подземного сооружения и защищаемых зданий и геологической среды, оперативное выявление отклонений контролируемых параметров от прогнозных значений;
- анализ степени опасности выявленных отклонений контролируемых параметров и установление причин их возникновения;
- разработка рекомендаций, предупреждающих и устраняющих выявленные негативные процессы или причины, которыми они обусловлены.
10.5 Геотехнический мониторинг следует осуществлять в соответствии с программой, которая разрабатывается в процессе проектирования и является разделом утверждаемой части проектной документации.
10.6 При разработке программы геотехнического мониторинга при устройстве защитных мероприятий должны быть определены состав, объемы, периодичность, сроки и методы работ, которые назначают применительно к рассматриваемому объекту строительства и защищаемым зданиям окружающей застройки с учетом их специфики, включающей результаты инженерных изысканий на площадке строительства и особенности проектируемого сооружения и сооружений окружающей застройки.
10.7 В программе геотехнического мониторинга следует учитывать факторы, которые будут оказывать влияние на вновь возводимое подземное сооружение, его основание и грунтовый массив, а также на сооружения окружающей застройки, включая защитные мероприятия, в том числе расположение площадки строительства на территории с распространением специфических грунтов и возможностью проявления опасных геологических процессов, а также вибрационные и динамические воздействия от строительных работ и внешних источников.
10.8 В случае наличия дефектов в здании до начала выполнения защитных мероприятий следует выполнить несколько циклов визуального обследования и измерения вертикальных перемещений фундаментов для выявления негативных процессов деформации.
10.9 Методы инструментальных измерений контролируемых параметров должны обеспечивать необходимые достоверность и точность получаемых результатов и удовлетворять требованиям ГОСТ 24846. При необходимости подтверждения отдельных результатов геотехнического мониторинга измерения следует выполнять различными методами.
10.10 Объем, сроки, периодичность и методы работ при проведении геотехнического мониторинга в ходе выполнения защитных мероприятий следует назначать в зависимости от уровня ответственности и сложности инженерно-геологических условий площадки строительства, уровня ответственности сооружений окружающей застройки и их категорий технического состояния в соответствии с положениями СП 22.13330.
10.11 В случае нештатных ситуаций методы, объем и периодичность измерений геотехнического мониторинга должны быть откорректированы.
Приложение А
Испытание грунта по определению коэффициента релаксации напряжений проводят для определения характеристик релаксации напряжений дисперсных грунтов: коэффициента релаксации Kr и начального напряжения релаксации σ0.
Данные характеристики определяются по результатам испытаний образцов грунта в условиях компрессионного сжатия в одометрах, исключающих возможность бокового расширения образца в процессе его вертикального нагружения.
Нагружение проводят вертикальным деформированием образца до заданной деформации с последующей фиксацией текущей высоты образца hi и напряжения σi (релаксации) во времени ti.
Испытания проводят в режиме "идеальной" релаксации, при которой вертикальная деформация образца за время релаксации напряжений пренебрежимо мала. Допустимое вертикальное перемещение в процессе релаксации напряжений не должно превышать 0, 02 мм.
Значение принудительной деформации образца определяется техническим заданием и программой испытаний с учетом возможных деформаций грунта в реальных условиях.
Для испытаний используют образцы грунта ненарушенного сложения природной влажности, искусственно водонасыщенные образцы (если это требуется программой испытаний) или образцы нарушенного сложения с заданными значениями плотности и влажности (ГОСТ 30416).
В соответствии с требованиями ГОСТ 12248 образец должен иметь форму цилиндра диаметром не менее 71 мм и отношение диаметра к высоте от 2, 8 до 3, 5. Максимальный размер фракции грунта (включений, агрегатов) в образце должен быть не более 1/5 высоты образца.
Испытания грунтов по определению параметров релаксации проводят в компрессионных установках релаксационного типа, обеспечивающих принудительное деформирование образцов заданными значениями перемещений в условиях невозможности бокового расширения.
В состав компрессионной установки релаксационного типа для испытания грунта в режиме "идеальной" релаксации должны входить:
- одометр, состоящий из рабочего режущего кольца с внутренним диаметром не менее 71 мм и отношением диаметра к высоте от 2, 8 до 3, 5, цилиндрической обоймы, нижнего пористого диска, верхнего штампа, снабженного пористым диском, и поддона с каналами для отвода воды;
- механизм для вертикального деформирования образца грунта давлением до 10 МПа;
- устройства для измерения вертикальной нагрузки;
- датчика (датчиков) перемещений для фиксации изменения высоты образца.
Конструкция установки должна обеспечивать:
- подачу воды и ее отвод снизу образца;
- центрированную передачу нагрузки на штамп;
- измерение вертикальной нагрузки (давления) с погрешностью не более ±0, 002 МПа;
- измерение вертикальной деформации с погрешностью не более ±0, 002 мм;
- коэффициент жесткости нагрузочно-измерительной системы должен быть не ниже 4·107 Н/м;
- первоначальную нагрузку на образец, создаваемую весом штампа и закрепленными на нем измерительными приборами, не более 0, 0025 МПа.
Образец грунта взвешивают в рабочем кольце и устанавливают в одометр в соответствии с указаниями пункта 5.4.3 ГОСТ 12248-2010.
Затем проводят вертикальное деформирование испытуемого образца равномерно, без ударов, до заданного программой испытаний значения перемещения.
После принудительного деформирования образца при фиксированном положении вертикального штампа фиксируют отсчеты по устройствам для измерения напряжений и вертикальных перемещений в такой последовательности: первый отсчет - сразу после достижения заданного перемещения, затем через 1, 2, 5, 10, 20 мин и далее с удвоением интервала времени. При автоматическом считывании информации интервал времени снятия отсчетов не должен превышать интервалов, указанных выше.
В процессе испытания строят график зависимости изменения напряжения σi от логарифма времени ti (рисунок А.1). При этом за начало отсчета шкалы времени принимают значение lg (t) = 0, что соответствует времени ti=1 мин.

Завершением испытания является выход участка графика "напряжение - логарифм времени" на устойчивую линейную зависимость, соответствующую вторичной релаксации (участок ВС).
По полученным данным строят график "напряжение - логарифм времени" аналогично представленному на рисунке А.1.
Для определения характеристик релаксации на графике выбирают второй, прямолинейный участок зависимости напряжения от времени, соответствующий вторичной релаксации (участок ВС на рисунке А.1). Первый участок - АВ, соответствующий первичной или фильтрационной релаксации, в связи с кратковременностью данного процесса при определении характеристик релаксации напряжений не используется.
Значение коэффициента релаксации Kr, МПа, определяют как тангенс угла наклона участка вторичной релаксации графика к оси абсцисс:
Kr=∆σ/∆lg(t), (А.1)
где ∆σ и ∆lg (t) - изменения напряжения и логарифма времени соответственно для выбранного отрезка на участке вторичной релаксации ВС.
Кроме того, по графику зависимости "напряжение - логарифм времени" определяют начальное напряжение релаксации σ0 по точке пересечения линии вторичной релаксации с осью напряжений.
Результаты испытаний, включая физические характеристики грунта, текущие значения деформаций и напряжений вместе с графиками заносят в паспорт испытаний.
Приложение Б
Таблица Б.1 - Виды повреждений несущих конструкций - стен, колонн, балок, ригелей, фундаментов
|
Описание |
Категория технического состояния здания |
|
Повреждения в каменной кладке
| |
|
Отсутствуют видимые дефекты и повреждения. Имеются трещины в отдельных кирпичах, не пересекающие растворные швы |
I |
|
Имеются трещины, пересекающие не более двух рядов кладки (длиной не более 15 см). Отслоение облицовки на глубину до 15% толщины |
II |
|
Средние повреждения. Промораживание и выветривание кладки. Отслоение облицовки на глубину до 25% толщины. Вертикальные и косые трещины (независимо от значения раскрытия) в стенах и столбах, пересекающие не более четырех рядов кладки. Образование вертикальных трещин между продольными и поперечными стенами. Снижение несущей способности кладки до 25% |
III |
|
Сильные повреждения. В конструкциях наблюдаются деформации, повреждения, дефекты, свидетельствующие о снижении их несущей способности до 50%. Промораживание и выветривание кладки на глубину до 40% толщины. Вертикальные и косые трещины в несущих стенах и столбах более четырех рядов кладки. Ширина раскрытия трещин в кладке от неравномерной осадки здания достигает 50 мм и более, отклонение от вертикали - более 1/50 высоты конструкции. Смещение (сдвиг) стен, столбов, фундаментов по горизонтальным швам или косой штрабе. В конструкции имеет место снижение прочности камней и раствора на 30%-50%. Смещение плит перекрытий на опорах более 1/5 глубины заделки в стене. Наблюдается разрушение кладки от смятия в опорных зонах ферм, балок, перемычек |
IV |
|
Повреждения в железобетонных конструкциях
| |
|
Видимых дефектов и повреждений нет или имеются отдельные небольшие выбоины, сколы, волосяные трещины (не более 0, 1 мм). Антикоррозионная защита конструкций и закладных деталей не имеет нарушений. Значения прогибов и ширина раскрытия трещин не превышают допустимых по нормам |
I |
|
На отдельных участках в местах с малой толщиной защитного слоя проступают следы коррозии арматуры; потери сечения рабочей арматуры не более 5%. Ориентировочная прочность бетона в пределах защитного слоя ниже проектной не более чем на 10% |
II |
|
Трещины в растянутой зоне бетона с раскрытием, превышающим допустимое. Трещины в сжатой зоне и зоне главных растягивающих напряжений, прогибы элементов, вызванные эксплуатационными воздействиями, превышают допустимые более чем на 30%. Снижение прочности бетона в сжатой зоне изгибаемых элементов до 30% и на остальных участках до 20%. Высокая водо- и воздухопроницаемость стыков стеновых панелей |
III |
|
Трещины в конструкциях, испытывающих знакопеременные воздействия; трещины, в том числе пересекающие опорную зону анкеровки растянутой арматуры; разрыв хомутов в зоне наклонной трещины в средних пролетах многопролетных балок и плит, а также слоистая ржавчина или язвы, вызывающие уменьшение площади сечения арматуры более 15%; выпучивание арматуры сжатой зоны конструкций; деформация закладных и соединительных элементов; расстройство стыков сборных элементов с взаимным смещением последних; смещение опор; значительные (более 1/50 пролета) прогибы изгибаемых элементов; разрыв отдельных стержней рабочей арматуры в растянутой зоне; раздробление бетона и выкрашивание заполнителя в сжатой зоне. Уменьшенная против требований норм и проекта площадь опирания сборных элементов |
IV |
|
Повреждения в металлических конструкциях
| |
|
Отсутствуют признаки, характеризующие износ конструкций, и повреждения защитных покрытий |
I |
|
В отдельных местах разрушено антикоррозионное покрытие. На некоторых участках - коррозия отдельными пятнами с поражением до 5% сечения. Местные погнутости от ударов транспортных средств и другие повреждения, приводящие к ослаблению сечения до 5% |
II |
|
Прогибы изгибаемых элементов превышают 1/150 пролета. Пластинчатая ржавчина с уменьшением площади сечения несущих элементов до 15%. Местные погнутости от ударов транспортных средств и другие механические повреждения, приводящие к ослаблению сечения до 15%. Погнутость узловых фасонок ферм |
III |
|
Прогибы изгибаемых элементов более 1/75 пролета. Потеря местной устойчивости конструкций (выпучивание стенок и поясов балок и колонн). Срез отдельных болтов или заклепок в многоболтовых соединениях. Коррозия с уменьшением расчетного сечения несущих элементов до 25% и более. Трещины в сварных швах в околошовной зоне. Расстройство узловых соединений; разрывы отдельных растянутых элементов, наличие трещин в основном материале элементов; расстройство стыков и взаимное смещение опор |
IV |
Таблица Б.2 - Виды повреждений ограждающих стен, перекрытий, лестниц, сводов
|
Описание |
Категория технического состояния здания |
|
Повреждения ограждающих стен
| |
|
Отсутствуют видимые повреждения и трещины |
I |
|
Волосяные трещины в кладке и швах между панелями |
II |
|
Вертикальные и наклонные трещины с раскрытием до 5 мм |
III |
|
Трещины с раскрытием более 5 мм, сдвиги панелей |
IV |
|
Повреждения перекрытий, лестниц, сводов
| |
|
Сдвигов и трещин нет |
I |
|
Повреждений и сдвигов нет |
II |
|
Смешение плит перекрытий на опорах не более 1/5 глубины заделки, но не более 2 см |
III |
|
Трещины и сдвиги в сопряжениях, разрыв анкеров |
IV |
Приложение В
Таблица В.1 - Дополнительные технологические осадки в процессе устройства буроинъекционных свай усиления
Размеры в миллиметрах
|
Бурение полым шнеком |
Бурение шарошкой с промывкой | |||||
|
Песок |
Глина |
Песок |
Глина | |||
|
Буроинъекционная свая |
Сваи РИТ |
БКС |
Буроинъекционная свая |
БКС | ||
|
7-15 |
5-8 |
2-3 |
4-6 |
До 2 |
3-6 |
2-3 |
|
Примечания 1 В случае наличия в пятиметровой зоне под подошвой фундаментов песчаных грунтов, составляющих по толщине слоев более 20% грунтового напластования, грунт для оценки технологических осадок следует принимать как песчаный, а менее 20% - глинистый. 2 Значения осадок, приведенных в настоящей таблице, соответствуют сваям, выполненным вплотную к фундаментам. При удалении свай от фундаментов на расстояние 5 м и более технологическое влияние от устройства буроинъекционных свай принимают равным нулю. Промежуточные значения осадок фундаментов следует принимать по интерполяции. | ||||||
Таблица В.2 - Дополнительные технологические осадки в процессе бурения тела фундамента
Размеры в миллиметрах
|
Бурение шарошкой с промывкой буровым раствором |
Бурение с применением алмазной коронки |
|
2-4 |
0 |
Приложение Г
Наименование строительной организации ___________________________________
_________________________________________________________________________
Объект __________________________________________________________________
_________________________________________________________________________
(с N по N )
Начало ________________________ Окончание _____________________________
1 Вид бурения ___________________________________________________________
2 Состав бурового раствора ______________________________________________
3 Тип бурового станка ___________________________________________________
|
N
|
Дата, смена |
Диаметр скважины, м |
Отметка забоя скважины, м |
Длина скважины, м |
Наклон скважины к вертикали, град |
Продолжительность бурения, ч |
Длина арматурного каркаса, м |
Глубина погружения инъектора в скважину, м |
Расход раствора на инъекцию, м3 |
Номер отобранных образцов раствора из головы сваи |
Вид опрессовки |
Перерыв между инъекцией и опрессовкой |
Давление опрессовки, МПа |
Продолжительность опрессовки, мин |
Примечание |
Приложение Д
Наименование строительной организации ___________________________________
_________________________________________________________________________
Объект __________________________________________________________________
_________________________________________________________________________
(с N по N )
Начало ____________________ Окончание ______________________________
1 Тип установки для погружения свай _____________________________________
2 Тип механизма вдавливания _____________________________________________
3 Вес установки _________________________________________________________
Свая N ___________ (по плану)
1 Дата погружения _______________________________________________________
2 Марка сваи ____________________________________________________________
3 Абсолютная отметка поверхности грунта у сваи __________________________
4 Абсолютная отметка нижнего конца сваи _________________________________
5 Фактическая абсолютная отметка нижнего конца сваи _____________________
6 Усилие вдавливания на последних 30 см погружения ______________________
|
N
|
Глубина погружения, м |
Усилие вдавливания, кН |
Примечание |
Приложение Е
Способ закрепления __________________ Заказчик __________________
Объект ______________________________ Подрядчик __________________
Проект, арх. N ______________________
|
Забивка инъекторов |
Состав раствора (силикатного или смолы) |
Нагнетание раствора | ||||||||||||||||
|
Длина, смена |
N скважины |
N заходки |
Глубина заходки, м |
Дата, смена |
Силикат или смола |
Кислота или хлористый кальций |
Температура раствора, °С |
Время гелеобразования, мин |
Нача ло, ч-мин |
Конец, ч-мин |
Продолжительность, мин |
Объем раствора, л |
Расход раствора, л-мин |
Давление нагнетания, МПа |
Ответственный исполнитель (Ф.И.О.) |
Примечание | ||
|
Плотность, г/см3 |
Объем, л |
Плотность, г/см3 |
Объем, л | |||||||||||||||
|
1 |
2 |
3 |
4 |
5 |
6 |
7 |
8 |
9 |
10 |
11 |
12 |
13 |
14 |
15 |
16 |
17 |
18 |
19 |
Представитель подрядчика (подпись) _____________ Представитель заказчика (подпись) _______________
Объект ______________________________ Заказчик __________________
Проект, арх. N ______________________ Подрядчик __________________
|
Дата, смена |
Привязка инъектора |
Параметры и расход закрепляющих реагентов |
Добавка, кг (л) |
Примечание | ||||||||||||
|
Ось |
Инъекция |
Заходка |
Силикат натрия |
Углекислый газ | ||||||||||||
|
Плотность, г/см3 |
Температура, °С |
Объем, л |
Давление, МПа |
Время, мин |
Для предварительной активизации грунта |
Для отверждения раствора | ||||||||||
|
Масса, кг |
Давление, МПа |
Время, мин |
Масса, кг |
Давление, МПа |
Время, мин | |||||||||||
|
1 |
2 |
3 |
4 |
5 |
6 |
7 |
8 |
9 |
10 |
11 |
12 |
13 |
14 |
15 |
16 |
17 |
Представитель подрядчика (подпись) ______________ Представитель заказчика (подпись) _______________
Способ закрепления __________________ Заказчик __________________
Объект, арх. N ______________________ Подрядчик __________________
Проект, арх. N ______________________
|
Дата, смена |
Продолжительность цементации |
N скважины |
Зона |
Глубина зоны, м |
Диаметр скважины в зоне, мм |
Консистенция раствора по объему (В/Ц) |
Инъекции |
Выдерживание скважины под давлением |
Исполнитель (Ф.И.О.) |
Примечание | |||||||
|
ч |
мин |
от - до |
Показания манометров, МПа |
Полное давление, м вод. ст. |
Объем раствора, л |
Масса цемента, кг |
Продол жительность, ч-мин |
Показания манометра, МПа |
Объем воды, л |
Удельное водопоглощение, л/(мин·м2) | |||||||
|
1 |
2 |
3 |
4 |
5 |
6 |
7 |
8 |
9 |
10 |
11 |
12 |
13 |
14 |
15 |
16 |
17 |
18 |
Представитель подрядчика (подпись) ______________ Представитель заказчика (подпись) _______________
|
Дата, смена |
N скважины |
Глубина скважины, м |
Вид и марка цемента |
Состав раствора, т |
В/Ц |
Объем раствора, м3 |
Давление нагнетания, МПа |
Исполнитель (Ф.И.О.) |
Технадзор дистанции (Ф.И.О.) |
Примечание | |
|
Цемент |
Добавки | ||||||||||
|
1 |
2 |
3 |
4 |
5 |
6 |
7 |
8 |
9 |
10 |
11 |
12 |
Строительство _____________________________________________.
(наименование объекта, участка)
Приложение Ж
Наименование строительной организации ___________________________________________________________________
_________________________________________________________________________________________________________
Объект __________________________________________________________________________________________________
_________________________________________________________________________________________________________
Начало _____________________________________ Окончание ________________________________________
Тип бурового оборудования _______________________________________________________________________________
Абсолютная отметка поверхности земли _____________________
Абсолютная отметка уровня подземных вод ______________________
|
N
|
N скважины по проекту |
Дата |
Абсолютная отметка устья скважин, м |
Абсолютная отметка низа скважин, м |
Глубина погружения инъекторов, м |
Диаметр бурения, мм |
Исполнитель (Ф.И.О.) |
Примечание | ||
|
Проектная |
Фактическая |
Проектная |
Фактическая | |||||||
Наименование строительной организации ___________________________________________________________________
_________________________________________________________________________________________________________
Объект __________________________________________________________________________________________________
_________________________________________________________________________________________________________
(с N по N )
Начало _______________________________ Окончание __________________________________
|
N
|
Дата погружения |
Вид погружения |
Тип оборудования |
Диаметр инъектора, мм |
Абсолютная отметка верха инъектора, м |
Длина инъектора, м |
Исполнитель |
Примечание |
Наименование строительной организации ___________________________________________________________________
_________________________________________________________________________________________________________
Объект __________________________________________________________________________________________________
_________________________________________________________________________________________________________
Исполнитель ___________________________
|
N
|
Отметка скважины |
Заполнительная цементация |
Компенсационное нагнетание | ||||||||||
|
Дата |
Количество раствора, л |
В/Ц |
Давление, МПа |
1-й цикл |
2-й цикл | ||||||||
|
Дата |
Количество раствора, л |
В/Ц |
Давление, МПа |
Дата |
Количество раствора, л |
В/Ц |
Давление, МПа | ||||||
Приложение И
И.1 Требуемый объем твердеющего раствора Qн при компенсационном нагнетании может быть определен следующим образом:
Qн=Qд+Qф1+Qф2, (И.1)
где Qд - объем раствора, необходимый для создания требуемых объемных деформаций грунта;
Qф1 - объем раствора, заполнившего поры и отдельные пустоты в грунте;
Qф2- объем раствора, профильтровавшегося за расчетную зону инъекции.
Объем раствора Qд, необходимый для создания требуемых объемных деформаций грунта ∆V, определяют по формуле
Qд=100∆V/K0, (И.2)
где K0 - объем цементного камня, образовавшегося после твердения, % объема раствора, который определяют в зависимости от В/Ц согласно рисунку И.1.

Qф1=(0, 1-0, 5)Vгрn, (И.3)
где Vгр - объем рассматриваемого грунта;
n - пористость.
Минимальное значение по формуле (И.3) соответствует супеси, максимальное значение - гравелистым пескам.
Qф2≤K1(Qд+Qф1), (И.4)
где K1 - коэффициент, учитывающий расход объема раствора профильтровавшегося за пределы расчетной области. Коэффициент K1 зависит от давления нагнетания раствора и объема инъекции в каждую зону и должен определяться опытным путем. В случае отсутствия опытных данных при давлении гидроразрыва и объема инъекции в зону инъекции длиной 0, 33 м K1 принимают равным 0, 5.
И.2 Прежде чем приступить к компенсационному нагнетанию, грунт необходимо "подготовить" к нему. Для этого проводят заполнительную цементацию, которую выполняют до тех пор, пока не будет соблюдаться условие
Qд/Qн≥0, 5. (И.5)
Библиография
[1] Федеральный закон от 27 декабря 2002 г. N 184-ФЗ "О техническом регулировании"
[2] Федеральный закон от 29 декабря 2004 г. N 190-ФЗ "Градостроительный кодекс Российской Федерации"
[3] Федеральный закон от 30 декабря 2009 г. N 384-ФЗ "Технический регламент о безопасности зданий и сооружений"
[4] Федеральный закон от 25 июня 2002 г. N 73-ФЗ "Об объектах культурного наследия (памятниках истории и культуры) народов Российской Федерации"
[5] Постановление Правительства Российской Федерации от 16 февраля 2008 г. N 87 "О составе разделов проектной документации и требованиях к их содержанию"
[6] Рекомендации по усилению каменных конструкций зданий и сооружений. - М.: Стройиздат, 1984
[7] Пособие по проектированию каменных и армокаменных конструкций (к СНиП II-22-81)/ЦНИИСК. - М.: ЦИТП Госстроя СССР, 1989
[8] Рекомендации по проектированию усиления железобетонных конструкций зданий и сооружений реконструируемых предприятий. Надземные конструкции и сооружения/Харьковский Промстройниипроект, НИИЖБ. - М.: Стройиздат, 1992
[9] Рекомендации по ремонту и восстановлению железобетонных конструкций полимерными составами/НИИЖБ. М., 1986


