СП 352.1325800.2017 (06.02.2025) ЗДАНИЯ ЖИЛЫЕ ОДНОКВАРТИРНЫЕ С ДЕРЕВЯННЫМ КАРКАСОМ. ПРАВИЛА ПРОЕКТИРОВАНИЯ И СТРОИТЕЛЬСТВА
Утв. Приказом Министерства строительства и жилищно-коммунального хозяйства РФ от 13 декабря 2017 г. N 1660/пр
Single-family houses with wooden frame. Rules of design and construction
ОКС 91 040 30
Дата введения - 14 июня 2018 года
Предисловие
Сведения о своде правил
1 ИСПОЛНИТЕЛЬ - Акционерное общество "Центр методологии нормирования и стандартизации в строительстве" (АО "ЦНС")
2 ВНЕСЕН Техническим комитетом по стандартизации ТК 465 "Строительство"
3 ПОДГОТОВЛЕН к утверждению Департаментом архитектуры, строительства и градостроительной политики Министерства строительства и жилищно-коммунального хозяйства Российской Федерации (Минстрой России)
4 УТВЕРЖДЕН приказом Министерства строительства и жилищно-коммунального хозяйства Российской Федерации (Минстрой России) от 13 декабря 2017 г. N 1660/пр и введен в действие с 14 июня 2018 г.
5 ЗАРЕГИСТРИРОВАН Федеральным агентством по техническому регулированию и метрологии (Росстандарт)
В случае пересмотра (замены) или отмены настоящего свода правил соответствующее уведомление будет опубликовано в установленном порядке. Соответствующая информация, уведомление и тексты размещаются также в информационной системе общего пользования - на официальном сайте разработчика (Минстрой России) в сети Интернет
Введение
Настоящий свод правил разработан в развитие СП 55.13330 и СП 64.13330 с учетом требований федеральных законов от 27 декабря 2002 г. N 184-ФЗ "О техническом регулировании" [1] и от 30 декабря 2009 г. N 384-ФЗ "Технический регламент о безопасности зданий и сооружений" [2].
Работа выполнена Акционерным обществом "Центр методологии нормирования и стандартизации в строительстве" (руководитель работы - А.И. Михайлов, исполнители - Г.Л. Цеханский-Сергеев, В.Г. Быков, С.А. Деревянко, Т.В. Луговой, А.Г. Лебедев, А.А. Талызин, Е.И. Кемяшова) при участии Федерального государственного бюджетного образовательного учреждения высшего образования "Петербургский государственный университет путей сообщения Императора Александра I" (ответственный исполнитель - д-р техн. наук Т.А. Белаш, исполнители - д-р архит. Ю.А. Никитин, канд. техн. наук Ж.В. Иванова, канд. техн. наук И.Б. Нудьга, канд. техн. наук Г.В. Копанский, А.В. Кузнецов).
Изменение N 1 к СП 352.1325800.2017 разработано авторским коллективом АО "НИЦ "Строительство" - ЦНИИСК им. В.А. Кучеренко (руководитель разработки - канд. техн. наук П.Н. Смирнов, канд. техн. наук И.П. Преображенская, М.А. Филимонов).
Настоящий свод правил распространяется на проектирование, строительство и реконструкцию одноквартирных жилых зданий с деревянным каркасом, отдельно стоящих, с количеством этажей не более чем три.
В настоящем своде правил использованы нормативные ссылки на следующие документы:
ГОСТ 475-2016 Блоки дверные деревянные и комбинированные. Общие технические условия
ГОСТ 10632-2014 Плиты древесно-стружечные. Технические условия
ГОСТ 10950-2013 Пиломатериалы хвойных пород. Антисептическая обработка способом нанесения на поверхность
ГОСТ 11539-2014 Фанера бакелизированная. Технические условия
ГОСТ 20022.1-90 (СТ СЭВ 6829-89) Защита древесины. Термины и определения
ГОСТ 20022.2-2018 Защита древесины. Классификация
ГОСТ 20850-2014 Конструкции деревянные клееные несущие. Общие технические условия
ГОСТ 23166-2021 Конструкции оконные и балконные светопрозрачные ограждающие. Общие технические условия
ГОСТ 24454-80 Пиломатериалы хвойных пород. Размеры
ГОСТ 26602.2-99 Блоки оконные и дверные. Методы определения воздухо- и водопроницаемости
ГОСТ 27751-2014 Надежность строительных конструкций и оснований. Основные положения
ГОСТ 27772-2021 Прокат для строительных стальных конструкций. Общие технические условия
ГОСТ 30028.4-2022 Средства защитные для древесины. Экспресс-метод оценки эффективности против деревоокрашивающих и плесневых грибов
ГОСТ 30403-2012 Конструкции строительные. Метод испытания на пожарную опасность
ГОСТ 30494-2011 Здания жилые и общественные. Параметры микроклимата в помещениях
ГОСТ 30495-2006 Средства защитные для древесины. Общие технические условия
ГОСТ 30547-97 Материалы рулонные кровельные и гидроизоляционные. Общие технические условия
ГОСТ 31167-2009 Здания и сооружения. Методы определения воздухопроницаемости ограждающих конструкций в натурных условиях
ГОСТ 33082-2014 Конструкции деревянные. Методы определения несущей способности узловых соединений
ГОСТ Р 53292-2009 Огнезащитные составы и вещества для древесины и материалов на ее основе. Общие требования. Методы испытаний
ГОСТ Р 56705-2015 Конструкции деревянные для строительства. Термины и определения
ГОСТ 59637-2021 Средства противопожарной защиты зданий и сооружений. Средства огнезащиты. Методы контроля качества огнезащитных работ при монтаже (нанесении), техническом обслуживании и ремонте
ГОСТ Р ИСО 6707-1-2020 Здания и сооружения. Общие термины
СП 1.13130.2020 Системы противопожарной защиты. Эвакуационные пути и выходы
СП 2.13130.2020 Системы противопожарной защиты. Обеспечение огнестойкости объектов защиты (с изменением N 1)
СП 14.13330.2018 "СНиП II-7-81* Строительство в сейсмических районах" (с изменениями N 2, N 3)
СП 17.13330.2017 "СНиП II-26-76 Кровли" (с изменениями N 1, N 2, N 3)
СП 20.13330.2016 "СНиП 2.01.07-85* Нагрузки и воздействия" (с изменениями N 1, N 2, N 3, N 4)
СП 21.13330.2012 "СНиП 2.01.09-91 Здания и сооружения на подрабатываемых территориях и просадочных грунтах" (с изменением N 1)
СП 22.13330.2016 "СНиП 2.02.01-83* Основания зданий и сооружений" (с изменениями N 1, N 2, N 3, N 4)
СП 25.13330.2020 "СНиП 2.02.04-88 Основания и фундаменты на вечномерзлых грунтах" (с изменением N 1)
СП 28.13330.2017 "СНиП 2.03.11-85 Защита строительных конструкций от коррозии" (с изменениями N 1, N 2, N 3)
СП 42.13330.2016 "СНиП 2.07.01-89* Градостроительство. Планировка и застройка городских и сельских поселений" (с изменениями N 1, N 2, N 3, N 4)
СП 48.13330.2019 "СНиП 12-01-2004 Организация строительства" (с изменением N 1)
СП 50.13330.2012 "СНиП 23-02-2003 Тепловая защита зданий" (с изменениями N 1, N 2)
СП 51.13330.2011 "СНиП 23-03-2003 Защита от шума" (с изменениями N 1, N 2, N 3)
СП 52.13330.2016 "СНиП 23-05-95* Естественное и искусственное освещение" (с изменениями N 1, N 2)
СП 54.13330.2022 "СНиП 31-01-2003 Здания жилые многоквартирные"
СП 55.13330.2016 "СНиП 31-02-2001 Дома жилые одноквартирные" (с изменениями N 1, N 2)
СП 59.13330.2020 "СНиП 35-01-2001 Доступность зданий и сооружений для маломобильных групп населения" (с изменением N 1)
СП 60.13330.2020 "СНиП 41-01-2003 Отопление, вентиляция и кондиционирование воздуха" (с изменениями N 1, N 2)
СП 63.13330.2018 "СНиП 52-01-2003 Бетонные и железобетонные конструкции. Основные положения" (с изменениями N 1, N 2)
СП 64.13330.2017 "СНиП II-25-80 Деревянные конструкции" (с изменениями N 1, N 2, N 3)
СП 70.13330.2012 "СНиП 3.03.01-87 Несущие и ограждающие конструкции" (с изменениями N 1, N 3, N 4)
СП 131.13330.2020 "СНиП 23-01-99* Строительная климатология" (с изменениями N 1, N 2)
СП 137.13330.2012 Жилая среда с планировочными элементами, доступными инвалидам. Правила проектирования (с изменением N 1)
СП 255.1325800.2016 Здания и сооружения. Правила эксплуатации. Основные положения (с изменениями N 1, N 2, N 3)
Примечание - При пользовании настоящим сводом правил целесообразно проверить действие ссылочных документов в информационной системе общего пользования - на официальном сайте федерального органа исполнительной власти в сфере стандартизации в сети Интернет, на официальном сайте федерального органа исполнительной власти, разработавшего и утвердившего настоящий свод правил, или по ежегодному информационному указателю "Национальные стандарты", который опубликован по состоянию на 1 января текущего года, и по выпускам ежемесячного информационного указателя "Национальные стандарты" за текущий год. Если заменен ссылочный документ, на который дана недатированная ссылка, то рекомендуется использовать действующую версию этого документа с учетом всех внесенных в данную версию изменений. Если заменен ссылочный документ, на который дана датированная ссылка, то рекомендуется использовать версию этого документа с указанным выше годом утверждения (принятия). Если после утверждения настоящего свода правил в ссылочный документ, на который дана датированная ссылка, внесено изменение, затрагивающее положение, на которое дана ссылка, то это положение рекомендуется применять без учета данного изменения. Если ссылочный документ отменен без замены, то положение, в котором дана ссылка на него, рекомендуется применять в части, не затрагивающей эту ссылку. Сведения о действии сводов правил целесообразно проверить в Федеральном информационном фонде стандартов.
В настоящем своде правил применены термины по ГОСТ 20850, ГОСТ 27751, ГОСТ Р 56705, ГОСТ Р ИСО 6707-1, СП 55.13330, а также следующие термины с соответствующими определениями:
3.1.1 кровельное покрытие: Наружная часть утепленной кровли, обеспечивающая защиту верхней части здания от осадков и талой воды.
3.1.2 утепленная кровля: Покрытие (крыша), включающее помимо кровли слои, обеспечивающие тепловую защиту (теплоизоляция).
3.1.3 контробрешетка кровли: Разреженная обшивка кровли, параллельная стропилам и служащая для крепежа кровельного покрытия.
В настоящем своде правил применены следующие обозначения:
Fсд - расчетная несущая способность диафрагмы на сдвиг;
Fi,сд - расчетная несущая способность одной стеновой панели на сдвиг;
Nсж - усилие сжатия;
Nр - усилие растяжения;
T - расчетная несущая способность соединения обшивки и каркаса панели на сдвиг для одного крепежного элемента;
bi - ширина отдельной панели в составе диафрагмы;
bnet - расстояние между вертикальными стойками в свету;
s - расстояние между крепежными элементами;
h - высота панели;
t - толщина плитного материала.
4.1 Одноквартирные жилые здания с деревянным каркасом постоянного и временного проживания следует предусматривать не более трех этажей.
4.2 Одноквартирные жилые здания с деревянным каркасом допускается возводить без подвала, с проветриваемым подпольем или отапливаемым подвалом.
В узловых сопряжениях панелей с деревянным каркасом для исключения дополнительных тепловых потерь необходимо устройство теплоизоляционных рассечек.
4.3 При проектировании одноквартирных жилых зданий с деревянным каркасом этажность, состав и площадь помещений, их высота, общее планировочное решение, а также состав внутриквартирного и инженерного оборудования определяются застройщиком (заказчиком) с учетом требований СП 55.13330.
4.4 Конструктивное решение одноквартирного жилого здания с деревянным каркасом принимают с учетом раздела 11.
4.5 При проектировании одноквартирных жилых зданий с деревянным каркасом для жизнедеятельности маломобильных групп населения (МГН) следует предусматривать условия проживания, доступность участка, здания и его помещений в соответствии с СП 59.13330 и СП 137.13330.
4.6 Размещение одноквартирного жилого здания с деревянным каркасом на участке следует проводить с отступом от красных линий в соответствии с проектом застройки и требованиями противопожарных разрывов по СП 42.13330.
4.7 Правила определения площади одноквартирного жилого здания с деревянным каркасом, площади застройки, этажности и строительного объема принимают в соответствии с СП 54.13330 и СП 55.13330.
5.1 Основания и несущие конструкции одноквартирных жилых зданий с деревянным каркасом должны быть запроектированы и возведены с такими прочностью и устойчивостью, чтобы в процессе их строительства и эксплуатации была исключена возможность:
- разрушения как отдельных несущих конструкций элементов каркаса или их частей, так и всего здания или его частей;
- ухудшения эксплуатационных свойств конструкций каркаса вследствие деформаций или образования трещин, повреждения части здания, сетей инженерно-технического обеспечения в результате деформаций, перемещений либо потери устойчивости несущих конструкций, в том числе отклонений от вертикали.
5.2 Конструкции и основания одноквартирных жилых зданий с деревянным каркасом должны быть рассчитаны на восприятие нормативных нагрузок и воздействий, которые определяются в соответствии с требованиями СП 20.13330 и СП 22.13330, а также с учетом требований проектирования деревянных конструкций по СП 64.13330.
Нормативные значения нагрузок, которые учитывают неблагоприятные сочетания нагрузок или соответствующих им усилий, предельные значения прогибов и перемещений конструкций, а также значения коэффициентов надежности по нагрузке должны быть приняты в соответствии с требованиями СП 20.13330 и пункта 6.4 СП 55.13330.2016.
5.3 Допускается возводить одноквартирные жилые здания с деревянным каркасом в сейсмических районах с сейсмичностью 7, 8 и 9 баллов с учетом требований СП 14.13330 и СП 64.13330.
5.4 При размещении одноквартирных жилых зданий с деревянным каркасом на просадочных и вечномерзлых грунтах, на подрабатываемых территориях, а также в других сложных инженерно-геологических условиях следует учитывать требования СП 21.13330, СП 22.13330, СП 25.13330.
5.5. При формировании расчетных моделей одноквартирных жилых зданий с деревянным каркасом и их узловых соединений требуется учитывать действительные условия работы здания с учетом рассматриваемой расчетной ситуации (взаимодействие деревянных конструкций между собой и с фундаментами, грунтовым основанием, пространственная работа конструкций, геометрическая и физическая нелинейность, возможность образования трещин и т.п.).
5.6 Стены одноквартирных жилых зданий с деревянным каркасом, в которых стеновые панели являются диафрагмами жесткости (далее - диафрагмы), должны воспринимать сдвигающие усилия в плоскости стены.
5.6.1 Стеновые диафрагмы следует рассчитывать на действие горизонтальных и вертикальных нагрузок. Стеновая панель должна быть закреплена от сдвига и опрокидывания.
5.6.2 Жесткость диафрагм в плоскости стены обеспечивается обшивками из плитных материалов, диагональными связями, соединениями, воспринимающими опрокидывающий момент.
5.6.3 Расчет диафрагм должен учитывать их конструкцию, а также прочностные и упругие характеристики применяемых материалов.
Предельно допустимые деформации здания должны обеспечиваться жесткостью диафрагм. При этом жесткость диафрагм должна обеспечивать предельно допустимые горизонтальные перемещения и перекосы, которые должны быть не более 1/400 высоты деревянной части здания.
5.6.4 Расчетный метод следует применять только к диафрагмам с закреплением от вертикальных усилий по краям. Влияние обшивок панели на устойчивость стоек каркаса в расчете не учитывается.
5.6.5 Расчетная несущая способность диафрагмы на сдвиг Fсд от действия горизонтальной силы, действующей на верхнюю часть панели, определяется для диафрагм, состоящих из одной или нескольких панелей с односторонней обшивкой плитными материалами, при выполнении следующих условий:
- соединения обшивки из плитного материала с каркасом панели должны быть равномерно (с одинаковым шагом) распределены вдоль периметра каждой плиты;
- ширина обшивки из плитного материала должна быть не менее чем 1/4 ее высоты.
5.6.6 Для диафрагм, состоящих из нескольких стеновых панелей, расчетную несущую способность на сдвиг Fсд определяют по формуле
Fсд = ∑Fi,сд, (5.1)
где Fi,сд - расчетная несущая способность одной панели в составе сборной диафрагмы.
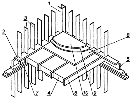
5.6.7 Несущую способность на сдвиг для одной панели в составе сборной диафрагмы Fi,сд (рисунок 1) вычисляют по формуле
, (5.2)
где T - расчетная несущая способность соединения обшивки и каркаса панели на сдвиг для одного крепежного элемента, определяемая по ГОСТ 33082;
bi - ширина отдельной панели в составе диафрагмы;
s - расстояние между крепежными элементами;

здесь b0 = h/2;
h - высота панели.

Рисунок 1 - Расчетная схема диафрагмы
5.6.8 Каркасные панели с дверными или оконными проемами не должны рассматриваться как влияющие на общую несущую способность стеновых конструкций на сдвиг.
5.6.9 Для диафрагм с обшивкой с двух сторон применяются следующие требования:
- при одинаковом типе и размере плитных материалов и соединений расчетную несущую способность диафрагмы на сдвиг принимают как сумму несущих способностей отдельных обшивок на сдвиг;
- для диафрагм с различными типами обшивок, при отсутствии данных об их совместной работе, расчетную несущую способность панели на сдвиг определяют как сумму несущих способностей обшивок с меньшей сдвиговой прочностью, при условии закрепления обшивок к каркасу соединениями с одинаковой жесткостью. Для других условий закрепления обшивок расчетную несущую способность панели умножают на коэффициент 0,5.
5.6.10 Усилия сжатия Nсж и растяжения Nр по краям диафрагмы от опрокидывающего момента в соответствии с рисунком 1 определяют по формуле
. (5.3)
5.6.11 Усилия сжатия и растяжения передаются на обшивку из плитного материала примыкающей стеновой панели или на конструкции, расположенные сверху или снизу. Когда растягивающие усилия передаются на конструкцию, расположенную снизу, то панель необходимо зафиксировать с помощью соединительных деталей требуемой жесткости. Несущую способность панелей из условия потери устойчивости элементов каркаса от сжимающих усилий определяют в соответствии с СП 64.13330 без учета работы обшивки. В случаях, когда торцевые поверхности вертикальных элементов каркаса панели упираются в горизонтальные элементы, несущую способность последних необходимо проверять по смятию поперек волокон в соответствии с СП 64.13330.
5.6.12 Потерю устойчивости плитного материала обшивки допускается не проверять при условии
bnet/t ≤ 100, (5.4)
где bnet - расстояние между вертикальными стойками в свету;
t - толщина плитного материала.
5.6.13 Шаг крепежных элементов в промежуточных вертикальных стойках не должен превышать шаг крепежных элементов по периметру обшивки более чем в два раза.
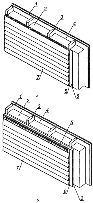
5.6.14 Усилия растяжения и сжатия, возникающие в сборных диафрагмах с дверными или оконными проемами, а также в стеновых диафрагмах меньшей ширины (рисунок 2), передаются аналогичным образом на конструкции, расположенные сверху или снизу панели.

А - стеновая панель нормальной ширины; Б - стеновая панель с окном; В - узкая стеновая панель
Рисунок 2 - Сборная диафрагма
5.6.15 Если панель состоит из сборного стенового каркаса, необходимо выполнять проверку несущей способности на сдвиг соединений между различными элементами каркаса.
5.6.16 В местах контакта вертикальных стоек и горизонтальных элементов каркаса панели необходимо выполнять проверку несущей способности по смятию поперек волокон.
6.1 Одноквартирные жилые здания с деревянным каркасом в соответствии с [3] относятся к классу Ф1.4.
6.2 Требования пожарной безопасности устанавливают с учетом СП 55.13330. При этом должны быть обеспечены прочность и устойчивость несущих конструкций деревянного каркаса здания.
Класс пожарной опасности строительных конструкций зданий с деревянным каркасом следует использовать как показатель их пожарной опасности и определять по ГОСТ 30403.
В соответствии с [3, статья 6_1] идентификация зданий и сооружений должна проводиться путем установления их соответствия следующим существенным признакам: класс функциональной пожарной опасности, степень огнестойкости, класс конструктивной пожарной опасности.
Класс конструктивной пожарной опасности зданий, сооружений и пожарных отсеков должен устанавливаться в зависимости от этажности, класса функциональной пожарной опасности и площади пожарного отсека.
Порядок определения класса конструктивной пожарной опасности зданий, сооружений и пожарных отсеков устанавливается [3, статья 87; таблица 22].
6.3 Огнезащита деревянных конструкций одноквартирных жилых зданий осуществляется в соответствии с требованиями ГОСТ Р 53292, СП 1.13130, СП 2.13130 и СП 64.13330.2017 (пункт 10.16).
Применяемые средства огнезащиты для древесины должны иметь документы, подтверждающие качество огнезащитного состава. В качестве средств огнезащиты требуется применять огнезащитные лаки, краски, пасты, обмазки, пропиточные и комбинированные составы. При этом необходимо учитывать условия эксплуатации здания в соответствии с требованиями ГОСТ Р 53292.
Эффективность средств огнезащиты оценивают по ГОСТ Р 53292. Пределы огнестойкости строительных конструкций с огнезащитой и их класс пожарной опасности устанавливают в соответствии с требованиями СП 2.13130.
6.4 Применяемые отделочные, кровельные, теплоизоляционные и другие материалы должны удовлетворять требованиям соответствующих стандартов, а материалы зарубежного производства - требованиям [7].
6.5 Исключен с 19.01.2024. - Изменение N 1
6.6 К трехэтажным одноквартирным жилым зданиям с деревянным каркасом требования, предъявляемые по огнестойкости к основным конструкциям здания, следует устанавливать в соответствии с СП 2.13130, СП 55.13330 и [3, таблица 21].
При этом предел огнестойкости узлов крепления деревянного каркаса и примыкания строительных конструкций между собой должен быть не ниже минимального требуемого предела огнестойкости стыкуемых строительных конструкций.
6.7 Строительные конструкции одноквартирного жилого здания с деревянным каркасом не должны способствовать скрытому распространению горения в соответствии с СП 2.13130. Пустоты между элементами каркаса в стенах, перегородках, перекрытиях и покрытиях, ограниченные материалами групп горючести Г3 и (или) Г4 и имеющие минимальный размер более 25 мм, а также пазухи чердаков и мансард следует разделять глухими диафрагмами на участки, размеры которых должны быть ограничены контуром ограждаемого помещения. Глухие диафрагмы не допускается выполнять из материалов групп горючести Г3 и (или) Г4. Для обеспечения указанных требований деревянные конструкции каркаса должны быть обработаны средствами огнезащиты.
6.8 При применении средств огнезащиты и контроле качества огнезащитных работ следует руководствоваться положениями ГОСТ Р 59637.
7.1 При проектировании, строительстве и эксплуатации одноквартирного жилого здания с деревянным каркасом должны быть предусмотрены мероприятия, предупреждающие и сводящие к минимуму риски получения травм и несчастных случаев людьми (в том числе представителями МГН) при передвижении вокруг и внутри здания, а также в результате пользования инженерным оборудованием и различными подвижными элементами.
7.2 Требования безопасной эксплуатации одноквартирного жилого здания с деревянным каркасом устанавливают в соответствии с СП 64.13330, СП 55.13330 и СП 137.13330.
7.3 Конструктивные решения элементов одноквартирного жилого здания с деревянным каркасом должны предусматривать защиту от проникновения насекомых и грызунов (в том числе устройство вентиляционных отверстий, размещение тепловой изоляции, способы герметизации и защиты мест пропуска трубопроводов через конструкции и т.д.).
7.4 Для защиты здания с деревянным каркасом от проникновения грызунов на этапах строительства и эксплуатации следует применять различные мероприятия, включающие: обертывание цоколя и укладку в конструкцию пола по грунту металлической сетки, использование в ограждающих конструкциях минераловатных утеплителей, пропитку древесины биоцидами и др.
7.5 Для защиты здания с деревянным каркасом от насекомых следует применять химические антисептики и лакокрасочные вещества.
8.1 При проектировании и строительстве одноквартирных жилых зданий с деревянным каркасом должны быть предусмотрены меры, обеспечивающие выполнение санитарно-эпидемиологических и экологических требований по охране здоровья и окружающей природной среды, в соответствии с [5], СП 50.13330, СП 51.13330, СП 52.13330 и СП 55.13330.
8.2 Параметры микроклимата в помещениях, включая относительную влажность воздуха, следует принимать в соответствии с ГОСТ 30494.
8.3 Температуру внутреннего воздуха для теплотехнических характеристик ограждающих конструкций следует принимать согласно ГОСТ 30494 в соответствии с требуемыми параметрами температурного режима, а при их отсутствии - принимать равной 18 °C или по технологическим требованиям.
9.1 Одноквартирные жилые здания с деревянным каркасом следует проектировать таким образом, чтобы обеспечивать эффективное и экономное расходование потребляемых энергоресурсов, без ограничений на период и способ эксплуатации дома, а также на его площадь.
9.2 Оценку энергоэффективности здания следует осуществлять по СП 50.13330.
9.3 Требования к освещению помещений одноэтажных жилых зданий (коэффициент естественной освещенности, нормируемая освещенность, цилиндрическая освещенность, объединенный показатель дискомфорта и коэффициент пульсации освещенности) следует принимать по СП 52.13330.2016 (таблицы 4.2 и Л.1).
10.1 Основные несменяемые элементы несущих конструкций деревянного каркаса, срок службы которых определяется заданием на проектирование, должны сохранять свои свойства с учетом требований ГОСТ 27751.
10.2 Сменяемые конструкции деревянного каркаса должны быть выполнены из материалов, обладающих стойкостью к возможным воздействиям неблагоприятных факторов согласно СП 28.13330.
10.3 В проектной документации должны быть разработаны требования к обеспечению безопасной эксплуатации одноквартирных жилых зданий с деревянным каркасом с учетом положений [4].
10.4 Требования к проведению реконструкции, ремонта и технического обслуживания одноквартирного жилого здания с деревянным каркасом приведены в [7].
10.5 Долговечность (срок службы одноквартирного жилого здания с деревянным каркасом) зависит от ремонтопригодности несменяемых элементов несущих конструкций деревянного каркаса и определяется сроком службы наименее долговечного из несменяемых элементов.
10.6 Во время эксплуатации и ремонта одноквартирного жилого здания с деревянным каркасом должен быть обеспечен доступ к системам инженерного оборудования здания.
10.7 На строительство новых, реконструкцию и снос существующих одноквартирных жилых зданий с деревянным каркасом площадью до 1500 м2 не распространяются положения СП 48.13330.
10.8 Строительство одноквартирных жилых зданий с деревянным каркасом должно осуществляться производственным персоналом, обученным производству работ по строительству зданий данной конструктивной системы.
10.9 Организация строительства одноквартирного жилого здания с деревянным каркасом должна предусматривать осуществление эффективного контроля выполнения указанных в проектной документации работ на всех стадиях строительства с уделением особого внимания контролю качества работ по устройству фундаментов, возведению несущего каркаса одноквартирного жилого здания, пароизоляции, защите от воздухопроницания и гидроизоляции конструкций.
10.10 Объемно-планировочные решения одноквартирных жилых зданий с деревянным каркасом и их элементов должны разрабатываться с учетом защиты древесины и материалов на ее основе от увлажнения и биоповреждения за счет конструктивных мероприятий и химических средств.
10.11 Отдельные элементы конструкций и инженерного оборудования, долговечность которых меньше проектного срока эксплуатации здания, должны быть легко заменяемыми. Их замена не должна нарушать смежные конструкции. Проектом должна быть предусмотрена замена без повреждения и нарушения несущей способности конструкции.
10.12 Стальные детали должны быть защищены от коррозии согласно СП 28.13330. При соприкосновении с материалами, изготовленными с применением гипса, стальные элементы должны быть защищены гальваническим покрытием, за исключением саморезов, которые должны быть изготовлены из стали высокой коррозионной стойкости.
10.13 Конструктивные мероприятия следует применять во всех одноквартирных жилых зданиях с деревянным каркасом, для чего необходимо:
- устраивать вынос карниза здания не менее 500 мм, а карнизов крылец и веранд не менее 300 мм;
- исключать заделку влагоемких материалов в каменные и бетонные конструкции;
- санитарно-техническую кабину при ее устройстве отделять от деревянных конструкций здания воздушным зазором, связанным с самостоятельным вентиляционным каналом.
Примечание - Несущие опорные и соединительные детали следует выполнять из древесины, пропитанной антисептиком по ГОСТ 30028.4, с условием, чтобы площадь соприкосновения не превышала площади свободных "дышащих" сторон, либо из твердых полимеров, прочность которых достаточна для восприятия приложенной нагрузки.
10.14 В случаях, когда конструктивные меры не позволяют обеспечить защиту от длительного или периодического увлажнения деревянных элементов здания, следует применять дополнительные химические меры защиты конструкций от биоповреждения.
10.15 Химические средства защиты должны соответствовать ГОСТ 30495, соответствовать классам условий службы деревянных конструкций зданий по ГОСТ 20022.2, а также обладать свойствами высокоэффективных антисептиков по классификации ГОСТ 30028.4.
10.16 Материалы для биозащиты и влагозащиты элементов стен и перекрытий, в зависимости от условий эксплуатации, выбирают согласно СП 28.13330.
10.17 В ограждающих конструкциях должно быть исключено влагонакопление в период эксплуатации. В панелях цокольных и чердачных перекрытий предусматривают пароизоляционный слой, а также продухи для выхода влаги.
10.18 Узлы опирания нижнего ряда панелей на фундаменты следует проектировать, исходя из возможного смещения от проектного положения осей фундаментов в плане до ± 10 мм, а по отметке верхних поверхностей фундаментов - ± 5 мм.
10.19 По верху фундамента следует укладывать гидроизоляционный материал и подкладочную доску. Требования по герметизации стыков и вид гидроизоляционного материала должны указываться в проекте.
10.20 Расположение крепежных деталей соединения элементов здания и их конструкция не должны создавать мостиков холода.
10.21 Пропуск санитарно-технических трубопроводов, а также проводов системы электроосвещения и электрооборудования через стыки наружных стен выше уровня крепления пола первого этажа не допускается.
10.22 Положения о разработке в рамках проектной документации требований к обеспечению безопасной эксплуатации зданий с деревянным каркасом приведены в СП 255.1325800.
11.1.1 Несущие конструкции (элементы каркаса) одноквартирных жилых зданий с деревянным каркасом изготовляют из пиломатериалов хвойных пород, высушенных и защищенных от увлажнения в процессе хранения.
11.1.2 При проектировании и строительстве одноквартирных жилых зданий с деревянным каркасом общим и обязательным требованием является выполнение антисептирования древесины, предусмотренного ГОСТ 10950 и ГОСТ 20022.1.
11.2.1 Требования к проектированию фундаментов, стен подвалов, а также полов по грунту приведены в [8, раздел 5], СП 22.13330, СП 25.13330, СП 28.13330, СП 50.13330, СП 63.13330 и ГОСТ 30547.
11.2.2 При облицовке кирпичной кладкой наружных стен одноквартирного жилого здания с деревянным каркасом кирпичной кладкой допускается продолжать эту облицовку на надземную часть стены подвала. При этом толщина надземной части этих стен на облицованных участках может быть уменьшена до 90 мм.
Облицовочную кирпичную кладку следует крепить к стене подвала металлическими стяжками, располагаемыми с шагом не более 200 мм по вертикали и не более 900 мм по горизонтали. Зазор между стеной подвала и облицовкой должен быть заполнен строительным раствором.
К деревянному каркасу стены облицовочную кирпичную кладку следует крепить металлическими анкерами.
11.2.3 Отметка низа каркасных стен первого этажа должна быть не менее чем на 150 мм выше планировочной отметки земли.
Если наружные стены первого этажа имеют отделку деревянной обшивкой или штукатуркой по деревянной обрешетке, расстояние от низа обшивки (штукатурки) до уровня планировочной отметки земли должно составлять не менее 250 мм.
11.3.1 Конструктивные решения и узлы перекрытий приведены в [8, раздел 6], СП 20.13330, СП 64.13330, ГОСТ 10632, ГОСТ 11539, ГОСТ 27772 и ГОСТ 30403.
11.3.2 Конструкция перекрытия включает каркас, черный пол, подшивку потолка или конструкцию подвесного потолка, отделочного покрытия пола (чистого пола).
11.3.3 Каркас перекрытия состоит из прогонов (главные балки), балок перекрытия (второстепенные балки) и обвязочных балок (рисунки А.1 и А.2).
11.3.4 Жесткость балочного перекрытия обеспечивается путем подшивки потолка и устройства черного пола из жестких листовых или плитных материалов, а также путем раскрепления балок жесткими связями.
Балки и прогоны разделяют внутреннее пространство перекрытия на замкнутые ячейки и выполняют функции противопожарных диафрагм.
11.4.1 Конструктивные решения и узлы стен и перегородок приведены в [8, раздел 7] и СП 64.13330.
11.4.2 Наружные стены должны соответствовать требованиям по сопротивлению теплопередаче из условий энергосбережения, защите от проникновения внутрь конструкции атмосферной влаги и воздуха, предотвращению накопления конденсата водяных паров внутри конструкции, а также по обеспечению снижения звукового давления от внешних источников шума до нормативного уровня.
11.4.3 Стены и перегородки состоят из деревянного каркаса, обшивки (наружной и внутренней по отношению к ограждаемому помещению) и отделочных (облицовочных) слоев. Для обеспечения тепло- и звукоизоляции, пароизоляции и защиты от проникновения воздуха и воды в стенах располагают соответствующие слои.
11.4.4 Каркас стен воспринимает нагрузки от перекрытий и крыши одноквартирного жилого здания с деревянным каркасом.
Каркасы стен и перегородок следует устанавливать на настил черного пола.
На каркас перегородок нагрузки от перекрытий и крыши передаваться не должны.
11.4.5 Тип деревянного каркаса определяется способом сопряжения его элементов в конструктивный узел.
Выделяют следующие типы деревянного каркаса:
- с неразрезными (сквозными) стойками;
- составными (поэтажными) стойками.
11.4.6 Каркас стены (рисунок А.3) состоит из вертикальных стоек и горизонтальных элементов: верхней и нижней обвязок, перемычек над оконными и дверными проемами (рисунок А.12).
В случае если каркас стен выполнен с составными (поэтажными) стойками, они в пределах каждого этажа опираются на нижние обвязки каркаса стен. При этом на верхние обвязки нагрузка передается через элементы каркаса перекрытия.
В каркасе с неразрезными (сквозными) стойками сами стойки стыкуются с нижними и верхними обвязками, а для устройства каркаса перекрытия используют прогоны, врезанные в стойки каркаса стен.
11.4.7 Жесткость каркаса при восприятии ветровых нагрузок и предотвращение потери устойчивости стоек обеспечиваются выполнением обшивок каркаса из жестких плитных или листовых материалов или пиломатериалов.
11.4.8 В отсутствие жестких обшивок следует использовать диагональные связи жесткости или распорки.
11.4.9 Вертикальные и горизонтальные элементы каркаса стен разделяют внутреннее пространство стены на замкнутые ячейки и выполняют функции противопожарных диафрагм.
11.4.10 Сечение и шаг стоек каркаса стен следует рассчитывать в зависимости от положения стоек по высоте дома и передаваемой на них нагрузки. При этом следует учитывать размеры пиломатериалов по ГОСТ 24454 и их прочностные характеристики по СП 64.13330 (для древесины хвойных пород 2-го сорта).
11.4.11 Принимаемые без проверочного расчета размеры сечения стоек должны быть не менее, а шаги стоек - не более соответствующих размеров, приведенных в [8, таблица 7.1]. Между наружной поверхностью стены и облицовкой может быть организована вентилируемая воздушная прослойка.
11.5.1 Конструктивные решения и узлы элементов крыш приведены в [8, раздел 8], СП 17.13330, СП 20.13330 и СП 64.13330.
11.5.2 Крыша может быть выполнена скатной или плоской. Плоскую крышу выполняют с уклоном менее 1:6 (рисунок А.4), скатную крышу - с уклоном 1:6 и более (рисунки А.5 и А.6).
11.5.3 При выполнении конструкции крыши из деревянного каркаса необходимо соблюдать следующий порядок ее сборки:
- сверху - сплошной кровельный настил или обрешетка, на котором(й) располагается кровля, обеспечивающая необходимую защиту от проникновения атмосферных осадков и талой воды;
- снизу - подшивка потолка, над которой располагаются пароизоляционный слой и утеплитель, обеспечивающий необходимую теплоизоляцию.
11.5.4 В состав конструкций скатных и плоских крыш одноквартирного жилого здания с деревянным каркасом входят карнизы (рисунок А.7), обеспечивающие частичный отвод стекающей с кровли талой и дождевой воды от наружных стен, а в состав конструкций скатных крыш - также торцевые фронтоны с карнизами над ними.
11.5.5 При использовании утепленной кровли между наружным кровельным покрытием и теплоизолирующим слоем следует создавать вентилируемую воздушную прослойку с использованием установленной на кровле контробрешетки.
11.6.1 Конструктивные решения, относящиеся к устройству теплоизоляции (рисунки А.8 - А.10), защите от паро- и воздухопроницания приведены в [8, раздел 9], СП 50.13330, СП 131.13330, ГОСТ 30494 и ГОСТ 31167.
11.6.2 Для сохранения теплозащитных свойств в процессе эксплуатации одноквартирного жилого здания с деревянным каркасом в большинстве теплоизоляционных материалов, закладываемых внутрь ограждающих конструкций, необходимо предусмотреть защиту от влаги и циркуляции воздуха, требования к которой приведены в [9].
11.6.3 В каркасных наружных стенах для теплозащиты следует использовать утепляющие материалы в виде плит или матов с расчетной теплопроводностью не более 0,10 Вт/(м·°C).
11.6.4 Требования к укладке теплоизоляционного материала в каркасную стену приведены в [8, раздел 9].
11.6.5 Слой пароизоляции, препятствующий диффузии водяных паров из отапливаемых помещений внутрь наружных ограждающих конструкций, следует располагать вблизи от их внутренних поверхностей (со стороны отапливаемого помещения). В конструкциях с утеплителем, укладываемым в несколько слоев, слой пароизоляции допускается располагать внутри конструкции, но таким образом, чтобы расчетная зимняя температура внутри конструкции в месте расположения этого слоя была выше точки росы воздуха помещения.
Снаружи и внутри наружных каркасных стен необходимо устраивать вентиляционные зазоры. Снаружи - между гидроветрозащитой и наружной обшивкой; внутри - между пароизоляцией и внутренней обшивкой. Минимальная величина зазоров должна быть не менее 2,5 см. Во внутреннем вентиляционном зазоре допускается проводить коммуникации (электрику) без нарушения слоя пароизоляции.
11.6.6 Защитой от воздухопроницания ограждающих конструкций одноквартирного жилого здания с деревянным каркасом является их непрерывность, обеспечиваемая как путем создания воздухоизоляционных слоев в ограждающих конструкциях, так и проведением мероприятий по изоляции мест соединения элементов конструкций между собой и мест пропуска трубопроводов и других элементов инженерных сетей через конструкции здания. Необходимо обращать особое внимание на тщательное выполнение имеющихся технологических инструкций в части обеспечения непрерывности воздухоизоляции.
11.6.7 Для защиты от проницания внутрь помещения наружного воздуха, которое может происходить в случаях, когда давление воздуха снаружи одноквартирного жилого здания превышает давление воздуха внутри, следует с наружной стороны утеплителя располагать слои материалов с низкой воздухопроницаемостью. Эти слои не должны препятствовать удалению водяных паров из конструкции наружу.
11.6.8 Расчетное сопротивление воздухопроницанию ограждающих конструкций одноквартирного жилого здания должно быть не ниже требуемого по СП 50.13330.
11.6.9 Для обеспечения требуемого сопротивления воздухопроницанию ограждающие конструкции должны включать слои из материалов с достаточно низкой воздухопроницаемостью, в том числе при использовании:
- кровельные и гидроизоляционные рулонные материалы;
- гипсокартонные и гипсоволокнистые листы толщиной не менее 12,5 мм;
- фанера толщиной не менее 8 мм;
- жесткие древесно-волокнистые плиты толщиной не менее 6 мм;
- экструдированный полистирол толщиной не менее 40 мм;
- уретановая теплоизоляция с подложкой из фольги толщиной не менее 25 мм;
- алюминиевая фольга;
- полиэтиленовая пленка толщиной не менее 0,15 мм.
11.6.10 При использовании в конструкциях слоев из материалов, характеристики воздухопроницаемости которых неизвестны, выполнение требования 11.6.8 должно быть подтверждено результатами испытаний конструкций в соответствии с ГОСТ 31167.
11.6.11 Воздухопроницаемость окон и балконных дверей, используемых при строительстве одноквартирных жилых зданий, не должна при испытаниях в соответствии с ГОСТ 26602.2 превышать 3,5 м3/(ч·м2) при разности давлений 10 Па.
11.6.12 Для защиты от проницания наружного воздуха внутрь утепленных наружных стен в их конструкции предусматривается устройство:
- наружной защитной обшивки каркаса стен;
- водовоздухозащитного слоя;
- облицовочного слоя или наружной штукатурки.
11.7.1 Требования к конструктивным решениям по отделке фасадных поверхностей наружных стен приведены в [8, раздел 10] и СП 70.13330.
11.7.2. Конструкция наружной отделки (облицовки) наружных стен (рисунок А.11) одноквартирного жилого здания с деревянным каркасом включает:
- наружную защитную обшивку каркаса стены и водовоздухозащитный слой;
- отделочные (облицовочные) слои;
- стыки элементов наружных стен;
- устройства по отводу проникшей за облицовку атмосферной влаги и воздушные прослойки, необходимые для обеспечения защиты деревянных элементов конструкции и утеплителей от намокания.
11.8.1 Конструктивные решения оконных и дверных заполнений приведены в [8, раздел 11], СП 20.13330 и СП 131.13330.
11.8.2 Используемые при строительстве одноквартирного жилого здания с деревянным каркасом окна и балконные двери заводского изготовления должны удовлетворять общим требованиям ГОСТ 23166 и соответствовать требованиям стандартов или технических условий на окна и балконные двери конкретного типа и назначения.
11.8.3 Деревянные двери одноквартирного жилого здания с деревянным каркасом должны удовлетворять общим требованиям ГОСТ 475 и соответствовать требованиям стандартов или технических условий на двери конкретного типа и назначения.
11.8.4 Применяемая конструкция окон и балконных дверей в одноквартирном жилом здании с деревянным каркасом должна обеспечивать соответствие фактических значений их эксплуатационных характеристик конкретным климатическим и градостроительным условиям, а также требованиям застройщика (заказчика).
11.8.5 В одноквартирных жилых зданиях установка оконных и дверных проемов должна учитывать вертикальную нагрузку, приходящуюся на стену. В несущих деревянных каркасных стенах проемы следует усиливать перемычками - деревянными балками жесткости (рисунок А.12), при этом особенно тщательно необходимо подходить к выбору материала для перемычек. Перемычки следует устанавливать под вертикальной обвязкой деревянного каркаса и прибивать к ней для увеличения жесткости.
11.9.1 Проектирование лестниц, пандусов и ограждений одноквартирного жилого здания с деревянным каркасом следует выполнять в соответствии с разделами 7 и 8 СП 55.13330.2016.
11.9.2 Конструктивные решения лестниц, пандусов и ограждений приведены в [8, раздел 12].
11.9.3 В конструкциях деревянных лестниц следует предусматривать преграды для предотвращения распространения огня в соответствии с рисунком А.13.
11.10.1 Требования к системам инженерного оборудования одноквартирного жилого здания с деревянным каркасом приведены в разделах 7 - 9 СП 55.13330.2016 и [9].
11.10.2 Конструктивные решения системы инженерного оборудования приведены в [8, раздел 13].
11.10.3 В качестве дополнительных требований к части устройства систем инженерного оборудования одноквартирного жилого здания с деревянным каркасом следует учитывать крепления элементов систем инженерного оборудования и пропуск через них инженерных коммуникаций.
Трубы и вентиляционные короба необходимо прокладывать под балками или между элементами деревянного каркаса (рисунок Б.1).
Расстояние от задней и боковых стенок печи или камина до деревянного каркаса наружной или внутренней стены должно быть не менее 100 мм, расстояние от стенок дымосборника до деревянного каркаса - не менее 50 мм (рисунок Б.2).
Расстояние от дымовой трубы до строительных конструкций из горючих материалов (см. [8, раздел 13]) должно быть не менее 50 мм (рисунок Б.3).
При опирании конструкций на основания с различной усадкой (стена из каркасной панели и вертикальный столб, лестница и т.п.), необходимо предусматривать усадочный зазор в безусадочной конструкции (сверху или снизу). В усадочный зазор необходимо устанавливать регулировочный элемент (винтовой домкрат и т.п.) с возможностью последующей регулировки узла по мере усадки.
Примечание - Например, конструкция лестницы может иметь систему регулировочных винтов для корректировки высоты.
При проектировании следует учитывать:
- при перестройке или расширении старых зданий - различную усадку старых и новых стен;
- при выводе дымоходов через крышу и перекрытия - беспрепятствование усадке и соблюдение после усадки расстояний, регламентированных правилами пожарной безопасности.
Приложение А

1 - балка перекрытия; 2 - обвязочная балка; 3 - верхняя обвязка стенового каркаса (нижний этаж); 4 - нижняя обвязка стенового каркаса; 5 - стойка стенового каркаса; 6 - черный пол
Рисунок А.1 - Опирание балок перекрытия на каркас наружной стены

1 - стойка каркаса; 2 - балка перекрытия; 3 - деревянный прогон
Рисунок А.2 - Опирание балок перекрытия на деревянный прогон

1 - диагональный раскос, обеспечивающий необходимую жесткость каркаса; 2 - наружная обшивка, обеспечивающая постоянную связь жесткости; 3 - внутренняя обшивка, обеспечивающая постоянную связь жесткости; 4 – нижняя обвязка; 5 - верхняя обвязка; 6 - стойка каркаса
Рисунок А.3 - Каркас стены

1 - обвязка консольных и кровельных балок; 2 – обвязка наружной стены; 3 - сдвоенная кровельная балка; 4 - консольная балка; 5 - кровельная балка
Рисунок А.4 - Вариант устройства несущего каркаса плоской крыши

1 - каркас наружной стены; 2 - опорная стенка; 3 – балка чердачного перекрытия, соединенная внахлест над внутренней несущей стеной; 4 - каркас внутренней несущей стены; 5 - стойки с шагом 1,2 м; 6 - коньковый прогон; 7 - подстропильный брус; 8 - стропила
Рисунок А.5 - Устройство каркаса скатной крыши с промежуточной опорой в виде опорной стенки

1 - каркас наружной стенки; 2 - обшивка наружной стены; 3 - балка чердачного перекрытия, опирающаяся на сдвоенную обвязку; 4 - каркас внутренней несущей стены; 5 - стропила, опирающиеся на верхнюю обвязку опорной стенки; 6 - накладка; 7 - подкосы; 8 - коньковый прогон; 9 - опорная стенка для стропил на несущей стене; 10 - подстропильный брус
Рисунок А.6 - Устройство каркаса скатной крыши при смещенной внутрь жилого здания наружной стене

а - вынос карниза не более 300 мм; б - вынос карниза более 300 мм, подшивка карниза горизонтальная; в – вынос карниза более 300 мм, подшивка карниза наклонная 1 - балка чердачного перекрытия; 2 - лицевая карнизная доска; 3 - доска обвязки стропил; 4 - доска подшивки карниза; 5 - вентиляционные продухи в материале подшивки карниза; 6 - стропила
Рисунок А.7 - Устройство карниза скатной крыши

а - утеплитель между стойками каркаса стен; б - утеплитель между стойками каркаса стены с дополнительным слоем жесткого утеплителя снаружи
1 - внутренняя обшивка каркаса (гипсокартонные или гипсоволокнистые листы); 2 - теплоизоляционный материал; 3 - стойки каркаса; 4 - пароизоляционный слой; 5 - водовоздухозащитный слой; 6 - наружная защитная обшивка стены древесно-волокнистыми плитами; 7 – облицовка из деревянных досок (а) или стальных профилированных полос (б), прикрепляемых через утеплитель к стойкам каркаса
Рисунок А.8 - Варианты размещения теплоизоляции в каркасной стене

а - перекрытие над неотапливаемым помещением, утепленное матами "враспор"; б - перекрытие над неотапливаемым подпольем, утепленное насыпным утеплителем 1 - обшивка (металлическая сетка, фиброцементные плиты и др.); 2 - балки перекрытия; 3 – теплоизоляционный материал; 4 - черный пол из фанеры; 5 - чистый пол
Рисунок А.9 - Утепление перекрытий над неотапливаемыми помещениями

1 - угловая стойка; 2 - нижняя обвязка каркаса стены; 3 - стойки каркаса стены; 4 - утеплитель между балками перекрытия; 5 - обвязочная балка перекрытия; 6 – балка перекрытия; 7 - утеплитель вдоль крайней балки перекрытия; 8 - черный пол; 9 - изоляционный материал; 10 - чистый пол
Рисунок А.10 - Укладка утеплителя в местах расположения ниже обвязочных и крайних балок перекрытия

1 - отлив; 2 - фартук *; 3 - водовоздухозащитный слой
--------------------------------
* Не менее чем на 50 мм заводится за водовоздухозащитный слой.
Рисунок А.11 - Пример устройства водоотводящего фартука над оконным (дверным) проемом

1 - нижняя обвязочная балка; 2 - стойка каркаса; 3 – верхний несущий ригель дверного проема; 4 - верхняя обвязочная балка; 5 - схватка; 6 - стропильная нога; 7 – верхний несущий ригель оконного проема; 8 - нижний несущий ригель оконного проема; 9 - укороченная стойка; 10 - дополнительная стойка каркаса
Рисунок А.12 - Схема устройства оконного и дверного проемов в жилых зданиях с деревянным каркасом

1 - сдвоенная балка-перемычка, обеспечивающая противопожарную преграду
Рисунок А.13 - Устройство противопожарной преграды в лестничном проеме
Приложение Б

1 - подвески; 2 - нагнетательный короб; 3 – балки перекрытия; 4 - подсоединение короба; 5 – расширение короба; 6 - воздушный поток; 7 – отопительная установка; 8 - отводящая труба к дымовой трубе; 9 - воздуховод - металлический короб, уложенный между балками перекрытия; 10 - решетка рециркуляционного воздуха; 11 - электрическая проводка от контрольного реле к термостату, установленному на стене на высоте 1,2 м над полом первого этажа; 12 - электрическая проводка от отопительной установки к выключателю, устанавливаемому в соответствии с проектными решениями
Рисунок Б.1 - Крепление воздуховодов

1 - расстояние от деревянного горючего каркаса до дымохода; 2 - расстояние от деревянного горючего каркаса до стенки печи или камина
Рисунок Б.2 - Расстояние от стенок камина до каркаса здания

1 - настил пола; 2 - негорючее уплотнение (например, листовой металл); 3 - дымовая труба из жаростойких материалов; 4 - расстояние до горючего деревянного каркаса от дымовых труб *
--------------------------------
* Должно составлять не менее 50 мм.
Рисунок Б.3 - Расстояние от дымовой трубы до строительных конструкций
Библиография
|
[1] |
Федеральный закон от 30 декабря 2002 г. N 184-ФЗ "О техническом регулировании" |
|
[2] |
Федеральный закон от 30 декабря 2009 г. N 384-ФЗ "Технический регламент о безопасности зданий и сооружений" |
|
[3] |
Федеральный закон от 22 июля 2008 г. N 123-ФЗ "Технический регламент о требованиях пожарной безопасности" |
|
[4] |
Федеральный закон от 29 декабря 2004 г. N 190-ФЗ "Градостроительный кодекс Российской Федерации" |
|
[5] |
Распоряжение Правительства Российской Федерации от 29 декабря 2020 г. N 3646-р "Об утверждении списка продукции, которая для помещения под таможенные процедуры, предусматривающие возможность отчуждения или использования этой продукции в соответствии с ее назначением на территории Российской Федерации, подлежит обязательному подтверждению соответствия требованиям Федерального закона "Технический регламент о требованиях пожарной безопасности" |
|
[6] Позиция исключена с 19.01.2024. - Изменение N 1 | |
|
[7] |
ВСН 58-88(р) Положение об организации и проведении реконструкции, ремонта и технического обслуживания зданий, объектов коммунального и социально-культурного назначения |
|
[8] |
СП 31-105-2002 Проектирование и строительство энергоэффективных одноквартирных жилых домов с деревянным каркасом |
|
[9] |
СП 31-106-2002 Проектирование и строительство инженерных систем одноквартирных жилых домов |
|
[10] - [11] Позиции исключены с 19.01.2024. - Изменение N 1 | |


