СП 17.13330.2017 (09.12.2024) КРОВЛИ Актуализированная редакция СНиП II-26-76
Утв. Приказом Министерства строительства и жилищно-коммунального хозяйства РФ от 31 мая 2017 г. N 827/пр
Свод правил СП-17.13330.2017
"КРОВЛИ" Актуализированная редакция СНиП II-26-76
The roofs
С изменениями:
(18 февраля 2019 г., 29 декабря 2020 г., 31 мая 2022 г., 06 декабря 2023 г., 09 декабря 2024 г.)
Дата введения - 1 декабря 2017 года
Предисловие
Сведения о своде правил
1 ИСПОЛНИТЕЛЬ - Центральный научно-исследовательский и проектно-экспериментальный институт промышленных зданий и сооружений (АО "ЦНИИПромзданий")
2 ВНЕСЕН Техническим комитетом по стандартизации ТК 465 "Строительство"
3 ПОДГОТОВЛЕН К УТВЕРЖДЕНИЮ Департаментом градостроительной деятельности и архитектуры Министерства строительства и жилищно-коммунального хозяйства Российской Федерации (Минстрой России)
4 УТВЕРЖДЕН приказом Министерства строительства и жилищно-коммунального хозяйства Российской Федерации от 31 мая 2017 г. N 827/пр и введен в действие с 1 декабря 2017 г.
5 ЗАРЕГИСТРИРОВАН Федеральным агентством по техническому регулированию и метрологии (Росстандарт). Пересмотр СП 17.13330.2011 "СНиП II-26-76 Кровли"
В случае пересмотра (замены) или отмены настоящего стандарта соответствующее уведомление будет опубликовано в установленном порядке. Соответствующая информация, уведомление и тексты размещаются также в информационной системе общего пользования - на официальном сайте разработчика (Минстрой России) в сети Интернет
Введение
Настоящий свод правил разработан в целях обеспечения требований Федерального закона от 30 декабря 2009 г. N 384-ФЗ "Технический регламент о безопасности зданий и сооружений", с учетом требований федеральных законов от 23 ноября 2009 г. N 261-ФЗ "Об энергосбережении и о повышении энергетической эффективности и о внесении изменений в отдельные законодательные акты Российской Федерации", от 22 июля 2008 г. N 123-ФЗ "Технический регламент о требованиях пожарной безопасности".
Пересмотр выполнен авторским коллективом АО "ЦНИИПромзданий" (д-р техн. наук, проф. В.В. Гранев; канд. техн. наук, проф. С.М. Гликин, канд. техн. наук А.М. Воронин, канд. техн. наук А.В. Пешкова).
Изменение N 1 к своду правил СП 17.13330.2017 "СНиП II-26-76 Кровли" разработано авторским коллективом АО "ЦНИИПромзданий" (д-р техн. наук, проф. В.В. Гранев, канд. техн. наук А.М. Воронин, канд. техн. наук А.В. Пешкова).
Изменение N 2 к настоящему своду правил разработано авторским коллективом АО "ЦНИИПромзданий" (канд. техн. наук Н.Г. Келасьев, канд. техн. наук А.М. Воронин, канд. техн. наук А.В. Пешкова).
Изменение N 4 выполнено авторским коллективом ФАУ "ФЦС" (канд. техн. наук А.Ю. Неклюдов, канд. техн. наук О.А. Король, С.Н. Фролов) при участии АО "ЦНИИПромзданий" (канд. техн. наук Н.Г. Келасьев, канд. техн. наук А.М. Воронин, канд. техн. наук А.В. Пешкова), Национального кровельного союза (А.А. Молчанова).
Изменение N 5 к настоящему своду правил разработано авторским коллективом АО "ЦНИИПромзданий" (канд. техн. наук Н.Г. Келасьев, канд. техн. наук А.М. Воронин, К.В. Авдеев, канд. техн. наук В.В. Бобров, Е.В. Домарова).
1 Область применения
Настоящий свод правил распространяется на проектирование новых, реконструкцию и капитальный ремонт кровель из битумосодержащих и полимерных рулонных материалов, из мастик, в том числе с армирующими прокладками, хризотилцементных, цементно-волокнистых и битумных волнистых листов, цементно-песчаной, керамической, полимерцементной и битумной, плоской и волнистой черепицы, плоских хризотилцементных, композитных, цементно-волокнистых и сланцевых плиток, листовой оцинкованной стали, меди, цинк-титана, алюминия, металлического листового гофрированного профиля, металлочерепицы, металлической фальцевой черепицы, а также железобетонных лотковых панелей, применяемых в зданиях различного назначения и во всех климатических зонах Российской Федерации.
2 Нормативные ссылки
В настоящем своде правил использованы нормативные ссылки на следующие документы:
ГОСТ 1173-2006 Фольга, лента, листы и плиты медные. Технические условия
ГОСТ 2678-94 Материалы рулонные кровельные и гидроизоляционные. Методы испытаний
ГОСТ 3640-94 Цинк. Технические условия
ГОСТ 3916.2-2018 Фанера общего назначения с наружными слоями из шпона хвойных пород. Технические условия
ГОСТ 8486-86 Пиломатериалы хвойных пород. Технические условия
ГОСТ 9559-2021 Листы свинцовые. Технические условия
ГОСТ 9573-2012 Плиты из минеральной ваты на синтетическом связующем теплоизоляционные. Технические условия
ГОСТ 10499-95 Изделия теплоизоляционные из стеклянного штапельного волокна. Технические условия
ГОСТ 14918-2020 Прокат листовой горячеоцинкованный. Технические условия
ГОСТ 15588-2014 Плиты пенополистирольные теплоизоляционные. Технические условия
ГОСТ 18124-2012 Листы хризотилцементные плоские. Технические условия
ГОСТ 21631-2023 Листы из алюминия и алюминиевых сплавов. Технические условия
ГОСТ 24045-2016 Профили стальные листовые гнутые с трапециевидными гофрами для строительства. Технические условия
ГОСТ 25820-2021 Бетоны легкие. Технические условия
ГОСТ 25898-2020 Материалы и изделия строительные. Методы определения паропроницаемости и сопротивления паропроницанию
ГОСТ 26633-2015 Бетоны тяжелые и мелкозернистые. Технические условия
ГОСТ 26816-2016 Плиты цементно-стружечные. Технические условия
ГОСТ 28013-98 Растворы строительные. Общие технические условия
ГОСТ 30340-2012 Листы хризотилцементные волнистые. Технические условия
ГОСТ 30693-2000 Мастики кровельные и гидроизоляционные. Общие технические условия
ГОСТ 31015-2002 Смеси асфальтобетонные и асфальтобетон щебеночно-мастичные. Технические условия
ГОСТ 31357-2007 Смеси сухие строительные на цементном вяжущем. Общие технические условия
ГОСТ 31898-1-2011 (EN 12310-1:1999) Материалы кровельные и гидроизоляционные гибкие битумосодержащие. Метод определения сопротивления раздиру стержнем гвоздя
ГОСТ 31899-1-2011 (EN 12311-1:1999) Материалы кровельные и гидроизоляционные гибкие битумосодержащие. Метод определения деформативно-прочностных свойств
ГОСТ 31899-2-2011 (EN 12311-2:1999) Материалы кровельные и гидроизоляционные гибкие полимерные (термопластичные или эластомерные). Метод определения деформативно-прочностных свойств
ГОСТ 32310-2020 (EN 13164+A.1:2015) Изделия из экструзионного пенополистирола, применяемые в строительстве. Технические условия
ГОСТ 32314-2023 (EN 13162:2012) Изделия из минеральной ваты теплоизоляционные промышленного производства, применяемые в строительстве. Общие технические условия
ГОСТ 32317-2012 (EN 1297:2004) Материалы кровельные и гидроизоляционные гибкие битумосодержащие и полимерные (термопластичные или эластомерные). Метод испытания на старение под воздействием искусственных климатических факторов: УФ-излучения, повышенной температуры и воды
ГОСТ 32318-2012 (EN 1931:2000) Материалы кровельные и гидроизоляционные гибкие битумосодержащие и полимерные (термопластичные или эластомерные). Метод определения паропроницаемости
ГОСТ 32496-2013 Заполнители пористые для легких бетонов. Технические условия
ГОСТ 32805-2014 (EN 13707:2004) Материалы гибкие рулонные кровельные битумосодержащие. Общие технические условия
ГОСТ 32806-2014 (EN 544:2011) Черепица битумная. Общие технические условия
ГОСТ 33929-2016 Полистиролбетон. Технические условия
ГОСТ 56335-2015 Дороги автомобильные общего пользования. Материалы геосинтетические для дорожного строительства. Метод определения прочности при статическом продавливании
ГОСТ Р 56309-2014 Плиты древесные строительные с ориентированной стружкой (OSB). Технические условия
ГОСТ Р 56335-2015 Дороги автомобильные общего пользования. Материалы геосинтетические для дорожного строительства. Метод определения прочности при статическом продавливании
ГОСТ Р 56688-2015 Черепица керамическая. Технические условия
ГОСТ Р 57417-2017 (EN 13956:2012) Материалы кровельные гибкие полимерные (термопластичные и эластомерные). Общие технические условия
ГОСТ Р 58153-2018 Листы металлические профилированные кровельные (металлочерепица). Общие технические условия
ГОСТ Р 58405-2019 Элементы систем безопасности для скатных крыш. Общие технические условия
ГОСТ Р 58875-2020 "Зеленые" стандарты. Озеленяемые и эксплуатируемые крыши зданий и сооружений. Технические и экологические требования
ГОСТ Р 58913-2020 Материалы рулонные водо- и ветрозащитные для крыш из штучных кровельных материалов. Общие технические условия
ГОСТ Р 58953-2020 Прокат тонколистовой металлический для фальцевых кровель и фасадов. Общие технические условия
ГОСТ EN 795-2019 Система стандартов безопасности труда. Средства индивидуальной защиты от падения с высоты. Устройства анкерные. Общие технические требования. Методы испытаний
ГОСТ EN/TS 16415-2015 Система стандартов безопасности труда. Средства индивидуальной защиты от падения с высоты. Анкерные устройства для использования более чем одним человеком одновременно. Общие технические требования. Методы испытаний
ГОСТ Р ЕН 360-2008 Система стандартов безопасности труда. Средства индивидуальной защиты от падения с высоты. Средства защиты втягивающего типа. Общие технические требования. Методы испытаний
СП 16.13330.2017 "СНиП II-23-81* Стальные конструкции" (с изменениями N 1, N 2, N 3, N 4, N 5)
СП 20.13330.2016 "СНиП 2.01.07-85* Нагрузки и воздействия" (с изменениями N 1, N 2, N 3, N 4, N 5, N 6)
СП 28.13330.2017 "СНиП 2.03.11-85 Защита строительных конструкций от коррозии" (с изменениями N 1, N 2, N 3, N 4)
СП 29.13330.2011 "СНиП 2.03.13-88 Полы" (с изменениями N 1, N 2, N 3)
СП 30.13330.2020 "СНиП 2.04.01-85* Внутренний водопровод и канализация зданий" (с изменениями N 1, N 2, N 3, N 4)
СП 32.13330.2018 "СНиП 2.04.03-85 Канализация. Наружные сети и сооружения" (с изменениями N 1, N 2, N 3)
СП 50.13330.2024 "СНиП 23-02-2003 Тепловая защита зданий"
СП 54.13330.2022 "СНиП 31-01-2003 Здания жилые многоквартирные" (с изменением N 1)
СП 56.13330.2021 "СНиП 31-03-2001 Производственные здания"
СП 64.13330.2017 "СНиП II-25-80 Деревянные конструкции" (с изменениями N 1, N 2, N 3, N 4)
СП 82.13330.2016 "СНиП III-10-75 Благоустройство территорий" (с изменениями N 1, N 2)
СП 118.13330.2022 "СНиП 31-06-2009 Общественные здания и сооружения" (с изменениями N 1, N 2, N 3, N 4)
СП 131.13330.2020 "СНиП 23-01-99* Строительная климатология" (с изменениями N 1, N 2)
СП 230.1325800.2015 Конструкции ограждающие зданий. Характеристики теплотехнических неоднородностей (с изменениями N 1, N 2)
СП 251.1325800.2016 Здания общеобразовательных организаций. Правила проектирования (с изменениями N 1, N 2, N 3, N 4, N 5)
СП 255.1325800.2016 "Здания и сооружения. Правила эксплуатации. Основные положения" (с изменениями N 1, N 2, N 3)
Примечание - При пользовании настоящим сводом правил целесообразно проверить действие ссылочных документов в информационной системе общего пользования - на официальном сайте федерального органа исполнительной власти в сфере стандартизации в сети Интернет или по ежегодному информационному указателю "Национальные стандарты", который опубликован по состоянию на 1 января текущего года, и по выпускам ежемесячного информационного указателя "Национальные стандарты" за текущий год. Если заменен ссылочный документ, на который дана недатированная ссылка, то рекомендуется использовать действующую версию этого документа с учетом всех внесенных в данную версию изменений. Если заменен ссылочный документ, на который дана датированная ссылка, то рекомендуется использовать версию этого документа с указанным выше годом утверждения (принятия). Если после утверждения настоящего свода правил в ссылочный документ, на который дана датированная ссылка, внесено изменение, затрагивающее положение, на которое дана ссылка, то это положение рекомендуется применять без учета данного изменения. Если ссылочный документ отменен без замены, то положение, в котором дана ссылка на него, рекомендуется применять в части, не затрагивающей эту ссылку. Сведения о действии сводов правил целесообразно проверить в Федеральном информационном фонде стандартов.
3 Термины, определения и сокращения
3.1 В настоящем своде правил применены следующие термины с соответствующими определениями:
3.1.1 битумная плоская черепица: Кровельное изделие в виде плоского листа, изготовляемого из полотнищ битумного или битумно-полимерного рулонного материала с фигурными вырезами по одному краю листа.
3.1.2 исключен с 10.01.2025. - Изменение N 5
3.1.3 водозащитная пленка: Подкровельный полимерный рулонный материал в стропильной конструкции крыши с двумя вентиляционными каналами (зазорами), защищающий теплоизоляцию и конструкцию от атмосферных осадков, при этом удаление водяного пара происходит за счет конвективного движения воздуха в канале.
3.1.4 водоотвод: Система устройств для отвода воды самотеком с поверхности кровли.
3.1.5 водосточная воронка: Конструктивная деталь, устанавливаемая на поверхности кровли при внутреннем водоотводе или на верхнем конце подвесной водосточной трубы, в т.ч. в водосборном лотке, при наружном водоотводе.
3.1.6 диффузионная ветроводозащитная пленка: Диффузионно-открытый подкровельный полимерный рулонный материал для стропильной конструкции крыши с одним вентиляционным каналом (зазором), защищающий теплоизоляцию и конструкцию от атмосферных осадков и конденсата, ограничивающий конвективное движение воздуха через теплоизоляцию и способствующий выводу пара из теплоизоляции.
3.1.7 дополнительный водоизоляционный ковер (рулонный или мастичный): Слои рулонных кровельных материалов или мастик, в т.ч. армированных стекломатериалами или прокладками из полимерных волокон, выполняемые в местах примыканий основного водоизоляционного ковра к вертикальным поверхностям выступающих над ковром конструктивных элементов с нахлестом этих слоев на основной водоизоляционный ковер.
3.1.8 дренажный слой: Слой из гранитного щебня, дренажной профилированной мембраны, дренажного мата и других подобных материалов для отвода воды с кровель.
3.1.9 ендова: Место пересечения сходящихся скатов покрытия, по которому стекает вода.
3.1.10 защитный слой: Элемент кровли, предохраняющий основной водоизоляционный ковер от механических повреждений, атмосферных воздействий и распространения огня по поверхности кровли.
3.1.11 карнизный свес: Выступ крыши от стены, защищающий ее от стекающей дождевой или талой воды.
3.1.11а
|
кляммер: Крепежное изделие, предназначенное для скрытого крепления элементов кровельного или фасадного покрытия к основанию. [ГОСТ Р 59500-2021, пункт 3.1] |
3.1.12 конек: Верхнее горизонтальное ребро крыши, образующее водораздел.
3.1.13 контробрешетка: Конструктивный элемент поверх стропил, образующий вентиляционный канал (зазор) и закрепляющий диффузионную или водозащитную пленку.
3.1.14 кровельная картина: Заготовка из металлических листов, в т.ч. рулонных, с отогнутыми боковыми и поперечными кромками для их соединения.
3.1.15 кровля: Элемент крыши, предохраняющий здание от проникновения атмосферных осадков; включает в себя водоизоляционный слой (ковер) из разных материалов, основание под водоизоляционный слой (ковер), аксессуары для обеспечения вентиляции, примыканий, безопасного перемещения и эксплуатации, снегозадержания и др.
3.1.15.1 инверсионная кровля: Кровля с теплоизоляционным слоем поверх водоизоляционного ковра.
3.1.15.2 мастичная кровля: Кровля из нескольких мастичных слоев, в т.ч. армированных.
3.1.15.3 озелененная кровля: Кровля, содержащая почвенный слой и посадочный материал - растения (травы), в т.ч. самовосстанавливающихся видов (устойчивых к засухе, морозу, ветру), кустарники и деревья с постоянным уходом за растительностью (сенокос, удобрения, полив, прополка и т.п.).
3.1.15.4 эксплуатируемая кровля: Специально оборудованная защитным слоем кровля, предназначенная для использования, например в качестве зоны для отдыха, размещения спортивных площадок, автостоянок, автомобильных дорог, транспорта над подземными паркингами и т.п. и предусмотренная для пребывания людей, не связанных с периодическим обслуживанием инженерных систем здания.
3.1.16 крыша (покрытие): Верхняя несущая и ограждающая конструкция здания или сооружения для защиты помещений от внешних климатических и других воздействий.
3.1.17 мансардное окно: Окно для освещения помещения, расположенного под скатами крыши.
3.1.18 мембрана: Кровельный, как правило, полимерный материал, приклеиваемый, механически закрепляемый или свободно укладываемый на основание под водоизоляционный ковер, в том числе с последующим пригрузом.
3.1.19 металлическая фальцевая черепица: Элемент различной геометрической формы из металлического листа с отогнутыми кромками для фальцевого соединения и скрытым креплением.
3.1.19а
|
металлочерепица: Кровельный материал из стального холоднокатаного горячеоцинкованного, электролитически оцинкованного (либо с иным защитным металлическим покрытием) проката с полимерным покрытием, изготовляемый в виде листов методом холодного профилирования и штамповки. [ГОСТ Р 58153-2018, пункт 3.1] |
3.1.20 нетканый геотекстиль: Материал, состоящий из ориентированных и (или) неориентированных (хаотично расположенных) волокон, нитей, филаментов и других элементов, скрепленных механическим, термическим, физико-химическим способами и их комбинацией в различных сочетаниях.
3.1.20а неэксплуатируемая кровля: Кровля, которая не подвергается воздействиям, присущим эксплуатируемым и озелененным кровлям.
3.1.21 обрешетка: Конструктивный элемент стропильной конструкции крыши, укладываемый параллельно карнизу для закрепления листовых, волнистых или штучных кровельных материалов.
3.1.22 объемно-диффузионный рулонный материал: Диффузионная пленка из полимерных волокон с объемной петлевой структурой для отвода конденсата из-под фальцевой металлической кровли.
3.1.23 основание под водоизоляционный ковер (слой): Поверхность теплоизоляции, несущих плит крыши (настилов), стяжек, штукатурки, стен и т.п., на которую укладывают ковер (рулонный или мастичный), либо стропильные конструкции, обрешетка, контробрешетка, сплошной настил, на которые укладывают и закрепляют водоизоляционный слой из штучных, волнистых или листовых кровельных материалов.
3.1.24 основной водоизоляционный ковер (рулонный и мастичный): Один или несколько слоев рулонных или мастичных кровельных материалов, последовательно укладываемых на основание под водоизоляционный ковер.
3.1.25 пароизоляционный слой: Слой из рулонных или мастичных материалов, расположенный в ограждающей конструкции для предохранения ее от воздействия водяных паров, содержащихся в воздухе ограждаемого помещения.
3.1.25а пешеходная нагрузка: Динамичная точечная многократно повторяющаяся нагрузка, действующая на неэксплуатируемую кровлю (например, при сезонных осмотрах кровли, текущем обслуживании оборудования на крыше, снегоудалении, ремонте крыши и т.п.).
3.1.26 подкладочный слой (подкладочный ковер): Слой кровельного рулонного материала, укладываемого на сплошной настил для защиты его от увлажнения и повышения водонепроницаемости кровли.
3.1.27 предохранительный слой: Слой, располагаемый между основным водоизоляционным ковром или теплоизоляцией и защитным слоем или пригрузом для предохранения ковра от механических повреждений.
3.1.28 противокорневой слой: Слой, укладываемый на водоизоляционный ковер для защиты его от повреждения корнями растений.
3.1.29 разделительный слой: Слой из рулонного материала между теплоизоляцией и монолитной стяжкой на цементном вяжущем для исключения увлажнения теплоизоляции или между слоями из несовместимых материалов для исключения их контакта.
3.1.30 растительный слой: Специально подобранные растения с высокой степенью выживаемости, кустарники и деревья с плоскокомной корневой системой.
Примечание - Плоскокомная корневая система - плоская корневая система кустарников и деревьев со специально подготовленным комом [корни должны быть обработаны в торфяном субстрате (см. 3.1.36) и обернуты мешковиной].
3.1.31 слои усиления основного водоизоляционного ковра: Слои рулонных кровельных материалов и мастик, в т.ч. армированных стекломатериалами или прокладками из полимерных волокон, выполняемые над или под основным водоизоляционным ковром в ендовах, на коньке, карнизе, у воронок внутреннего водостока.
3.1.32 совмещенная (бесчердачная) крыша: Верхняя несущая и ограждающая конструкция здания без чердака, совмещающая функции крыши и чердачного перекрытия.
3.1.33 стальной листовой гофрированный профиль: Металлический лист с регулярно расположенными продольными гофрами, образованными в процессе холодной прокатки листа на профилегибочном стане.
3.1.34 стальной профилированный настил: Гофрированные листовые профили, соединенные между собой по продольным кромкам и закрепленные на опорных конструкциях крыши, расположенные поперек гофров профилей.
3.1.35 стяжка: Монолитный или сборный слой для выравнивания нижерасположенной поверхности или создания уклонообразующего слоя.
3.1.36 субстрат для растений: Почвенная смесь, содержащая оптимальное количество основных элементов питания, необходимых для роста и развития растений, и обладающая дренирующей способностью.
3.1.37 термоскрепленный геотекстиль из штапельных волокон: Рулонный материал, полученный из штапельных волокон с термическим скреплением.
3.1.38 уклон кровли: Отношение перепада высот участка кровли к его горизонтальной проекции, выраженное относительным значением в процентах, либо угол между линией ската кровли и ее проекцией на горизонтальную плоскость, выраженный в градусах.
3.1.39 фильтрующий слой: Элемент в дренажном слое, препятствующий попаданию в него мелких фракций субстрата для растений.
3.1.40 хребет: Ребро крыши, образованное расходящимися ее скатами.
3.2 В настоящем своде правил применены следующие сокращения:
ГО - гражданская оборона;
ЛСТК - легкая стальная тонкостенная конструкция;
ОДМ - объемная диффузионная мембрана;
ОСП - ориентированно-стружечная плита;
ПВХ - поливинилхлорид(ный);
ТПО - термопластичные полиолефины;
ЦСП - цементно-стружечная плита;
ЭПДМ - этилен пропилен диен мономер;
ФСФ - фанера повышенной водостойкости для внутреннего и наружного использования;
EPS - пенополистирол;
MW - минеральная вата;
PIR - пенополиизоцианурат;
XPS - экструзионный пенополистирол".
σ10 - прочность на сжатие при 10%-ной линейной деформации.
4 Общие положения
4.1 Настоящий свод правил необходимо соблюдать при проектировании кровель зданий и сооружений различного назначения в целях обеспечения требований безопасности зданий и сооружений [1], требований пожарной безопасности [2] и повышения энергетической эффективности [3].
4.2 При проектировании кровель также необходимо соблюдать требования СП 54.13330, СП 56.13330, СП 118.13330, правил по охране труда [4], техники безопасности [5], [6], учитывать огнестойкость и пожарную опасность конструкций крыши [2].
Материалы, применяемые для кровель, должны отвечать требованиям действующих стандартов.
4.3 Уклоны кровель в зависимости от применяемых материалов приведены в таблице 4.1; в ендовах уклон кровли принимают в зависимости от расстояния между воронками, но не менее 0,5%.
Таблица 4.1
|
Водоизоляционный слой (ковер) |
Уклон кровли, % (град) * |
|
1 Из рулонных и мастичных материалов | |
|
1.1 Неэксплуатируемые 1.1.1 Из битумосодержащих рулонных материалов с мелкозернистой посыпкой или покровной полиэтиленовой пленкой: | |
|
- с защитным слоем из гравия, укладываемого при выполнении кровли; |
1,5 - 10 (1 - 6) |
|
- с верхним слоем из рулонных материалов с крупнозернистой посыпкой или металлической фольгой, нанесенных при изготовлении материалов |
1,5 ** (1) |
|
1.1.2 Из мастик: | |
|
- с защитным слоем из гравия |
1,5 - 10 (1 - 6) |
|
- с защитным окрасочным слоем |
Не менее 1,5 (1) |
|
1.1.3 Из полимерных рулонных и мастичных материалов |
Не менее 1,5 (1) |
|
1.2 Эксплуатируемые |
1,5 - 3,0 (1 - 2) |
|
1.3 Инверсионные |
1,5 - 3,0 (1 - 2) |
|
1.4 Озелененные |
1,5 - 3,0 (1 - 2) |
|
2 Из штучных материалов, волнистых листов и гофрированных листовых профилей | |
|
2.1 Из штучных материалов 2.1.1 Из черепицы: | |
|
- цементно-песчаной, керамической, полимерцементной |
Не менее 40 (22) |
|
- битумной |
Не менее 20 (12) |
|
2.1.2 Из металлической фальцевой черепицы |
Не менее 47 (25) |
|
2.1.3 Из плиток | |
|
- хризотилцементных, сланцевых, композитных, цементно-волокнистых |
Не менее 40 (22) |
|
2.2 Из волнистых листов: | |
|
- хризотилцементных, битумных |
Не менее 20 (12) |
|
- цементно-волокнистых |
Не менее 36 (20) |
|
2.3 Из металлических листовых гофрированных профилей, в т.ч. из металлочерепицы |
Не менее 20 (12) |
|
3 Из металлических рулонных и листовых материалов | |
|
- стальных оцинкованных, с полимерным покрытием, из нержавеющей - стали, медных, цинк-титановых, алюминиевых |
Не менее 10 (6) |
|
4 Из железобетонных панелей лоткового сечения с нанесенным в заводских условиях мастичным основным водоизоляционным слоем |
5 - 10 (3 - 6) |
|
* Одну размерность (%) уклона кровли переводят в другую (град) по формуле: tgα = 0,01x, где α - угол наклона кровли, град; x - размерность, %. ** Для кровель с водоизоляционным ковром из битумосодержащих рулонных материалов с уклоном 25% и более необходимо предусматривать мероприятия против сползания водоизоляционного ковра по основанию. Для кровель с водоизоляционным ковром с уклонами больше 20% необходимо соблюдать требования таблицы 5.1. | |
При уменьшении уклона кровли следует предусматривать дополнительные мероприятия по обеспечению ее водонепроницаемости, например, с помощью герметизации стыков нетвердеющим герметиком или уплотнительной лентой, применения подкровельной водонепроницаемой пленки и т.д.
Требуемый уклон обеспечивают наклоном несущих конструкций (стропил, балок, верхнего пояса ферм) или наклоном поверхности выравнивающей стяжки, монолитной или плитной теплоизоляции, подсыпки (например, из песка или мелкофракционного теплоизоляционного материала с размерами фракции 5 - 10 мм) под теплоизоляционные плиты.
Для обеспечения проектного уклона кровли в несущих конструкциях следует предусматривать строительный подъем, компенсирующий наличие прогибов, определенных расчетом по второй группе предельных состояний по СП 20.13330.
4.4 Кровли с водоизоляционным слоем из волнистых листов, гофрированных профилей, металлических листов и металлической фальцевой черепицы, штучных материалов (черепицы, плитки) на утепленных крышах следует предусматривать вентилируемыми с образованием между слоем теплоизоляции и кровлей зазора (вентиляционного канала), сообщающегося с наружным воздухом под карнизным свесом на хребтовом и коньковом участках, и укладкой диффузионной ветроводозащитной или водозащитной пленок.
Для закрепления кровельных материалов к несущим конструкциям (к прогонам, обрешетке) следует предусматривать крепежные элементы с антикоррозионной защитой в соответствии с требованиями СП 28.13330.
Во избежание образования со стороны холодного чердака конденсата на внутренней поверхности вышеуказанных кровель должна быть обеспечена естественная вентиляция чердака через отверстия в кровле (коньки, хребты, карнизы, вытяжные патрубки и т.п.), суммарная площадь которых принимается не менее 1/300 площади горизонтальной проекции кровли.
4.4а Диффузионные ветроводозащитные и водозащитные пленки (таблица А.1) должны быть уложены непрерывным слоем на всей поверхности изолируемой конструкции.
Продольные и поперечные нахлесты диффузионных ветроводозащитных и водозащитных пленок должны составлять не менее 100 мм и быть проклеены с помощью односторонних или двусторонних клеящих лент или специальных клеевых составов.
На диффузионную ветроводозащитную или водозащитную пленку, расположенную между стропил и контробрешеткой, предусматривают укладку уплотнительной ленты или другого герметизирующего материала для исключения проникания влаги в местах расположения крепежных элементов.
На примыканиях к проходящим через конструктивные слои крыши элементам (например, трубам, стенам и т.п.), предусматривают укладку одного дополнительного слоя диффузионной ветроводозащитной или водозащитной пленки, который должен быть поднят на вертикальные поверхности выступающих элементов выше планируемой поверхности кровельного покрытия на высоту не менее 100 мм и закреплен к ним самоклеящейся лентой, клеем, пастой или другим герметизирующим материалом.
На карнизном участке диффузионная ветроводозащитная или водозащитная пленка должна быть приклеена к капельнику с помощью самоклеящейся ленты или клея.
4.4б Пароизоляцию крыши для защиты теплоизоляционного слоя и основания под водоизоляционный ковер (слой) от увлажнения парообразной влагой внутренних помещений следует предусматривать в соответствии с требованиями СП 50.13330. Пароизоляционный слой должен быть непрерывным на всей поверхности конструкции, на которую он укладывается, а нахлесты рулонных материалов герметично склеены, сварены или сплавлены. Продольные и поперечные нахлесты пароизоляционных рулонных материалов должны составлять не менее 100 мм.
Пароизоляционный слой должен быть приклеен на примыканиях к проходкам через крышу (например, трубам, стенам и т.п.) для обеспечения герметичности примыкания.
4.4в Пароизоляция в местах примыкания теплоизоляционного слоя к стенам, стенкам фонарей, шахтам и оборудованию, проходящему через покрытие или чердачное перекрытие, должна быть поднята на высоту не менее толщины теплоизоляционного слоя и приклеена к вертикальной поверхности, а в местах деформационных швов заведена на металлический компенсатор с образованием складки.
При утеплении парапета со стороны кровли пароизоляционный слой должен быть поднят на высоту утеплителя. При утеплении крыши со стороны помещения пароизоляционный слой должен быть заведен на стены и другие конструкции здания с обеспечением герметичного присоединения к конструкциям.
4.5 Высота вентиляционных каналов (зазоров) между поверхностью теплоизоляции и основанием под водоизоляционный слой в зависимости от длины и угла наклона ската крыши приведена в таблице А.2 приложения А и должна быть не менее 50 мм.
Минимальная общая площадь входных отверстий вентиляционного канала на карнизном участке - 200 см2/м, а выходных отверстий на коньке - 100 см2/м. При увеличении высоты вентиляционных каналов общая площадь входных и выходных отверстий увеличивается пропорционально.
Двойной вентиляционный канал применяется на крышах простой геометрической формы: односкатных или двухскатных.
4.6 Несущие конструкции крыш (фермы, стропила, обрешетку и т.п.) предусматривают деревянными, стальными или железобетонными, соответствующими требованиям СП 16.13330 и СП 64.13330. В утепленных крышах с применением ЛСТК стропила следует предусматривать из термопрофиля для снижения теплопотерь крыши.
Основание под кронштейны для установки настенных (надстенных) и подвесных водосточных желобов предусматривается сплошным из досок хвойных пород толщиной не менее 25 мм, при этом кронштейны для установки подвесных водосточных желобов предусматривают по осям стропил.
4.7 На крышах высотных зданий (более 75 м) из-за повышенного воздействия ветровой нагрузки рекомендуется сплошная приклейка водоизоляционного ковра к основанию из плотных малопористых материалов (цементно-песчаной или асфальтовой стяжки и т.п.), теплоизоляционных плит к пароизоляции, а пароизоляционного слоя к несущей конструкции.
4.8 При проектировании кровель необходимо предусматривать ограждения и специальные элементы безопасности, к которым относятся крюки для навешивания лестниц, элементы для крепления страховочных тросов и снегозадержания, ступени, подножки, стационарные лестницы и ходовые трапы, эвакуационные платформы, элементы молниезащиты зданий и др.
Высоту ограждений кровли предусматривают в соответствии с требованиями СП 54.13330, СП 56.13330, СП 118.13330.
Вместо ограждения неэксплуатируемой кровли допускается устройство страховочной системы безопасности в виде точечных анкерных устройств или анкерных устройств, содержащих горизонтальные жесткие или гибкие анкерные линии. На кровлях зданий без постоянного ограждения либо при высоте защитных ограждений менее 1,1 м, либо с уклоном кровли более 20% для безопасной работы следует применять страховочные системы в соответствии с ГОСТ EN 795 и ГОСТ EN/TS 16415, в состав которых входят либо точечные анкерные устройства, либо анкерные устройства, содержащие горизонтальные жесткие или гибкие анкерные линии (тросовые или рельсовые) и страховочное снаряжение в соответствии с ГОСТ Р ЕН 360. Несущая способность точки закрепления страховочных систем должна быть не менее 7,5 кН в расчете на одного человека (вместе с необходимым оборудованием и снаряжением). Места точек закрепления страховочной системы следует указывать в рабочей документации, а все ее компоненты должны иметь протоколы испытаний на статическую и динамическую прочность в соответствии с ГОСТ EN 795 и ГОСТ EN/TS 16415. Крепление анкерных устройств необходимо принимать с учетом применяемого типа кровли.
Страховочное снаряжение должно позволять непрерывно перемещаться вдоль направляющей анкерной линии, выполнять втягивающую функцию (по ГОСТ Р ЕН 360) и функцию спасательной лебедки, а также обеспечивать возможность обслуживания кровли по всей плоскости, не допуская передвижение человека без защиты от падения.
4.9 Специальные элементы безопасности применяют в соответствии с ГОСТ Р 58405, а молниезащиты - [7].
4.10 Передача динамических нагрузок на кровлю от аппаратов и оборудования, установленных на крыше, не допускается.
Расстояние между стойками под оборудование, а также от поверхности основания под водоизоляционный ковер до низа оборудования должно быть не менее 600 мм для удобства выполнения кровельных работ.
На крышах с несущими стальными профилированными настилами и горючей теплоизоляцией под водоизоляционным ковром не допускается установка на постоянной основе аппаратов и оборудования с легковоспламеняющимися жидкостями и газами.
4.11 При капитальном ремонте совмещенной крыши в случае невозможности сохранения существующей теплоизоляции по показателям прочности и влажности она должна быть заменена; в случае превышения допустимой влажности теплоизоляции в соответствии с СП 50.13330, но удовлетворительной прочности, предусматривают мероприятия, обеспечивающие ее естественную сушку в процессе эксплуатации кровли. Для этого в толще утеплителя и (или) стяжке либо в дополнительной теплоизоляции (определяемой по СП 50.13330) в двух взаимно перпендикулярных направлениях следует предусматривать каналы, сообщающиеся с наружным воздухом через вентиляционные отверстия в карнизах, продухи у парапетов, торцевых стен, возвышающихся над кровлей частей зданий, а также через аэрационные патрубки, установленные над местом пересечения каналов. Число патрубков и время сушки следует определять расчетом (А.3 приложения А).
4.12 Для исключения вздутий в водоизоляционном ковре на увлажненном основании применяют полосовую или точечную приклейку либо механическое крепление нижнего слоя ковра из рулонных материалов; при этом необходимо предусматривать сообщение воздушной прослойки под ковром с наружным воздухом.
4.13 На крышах зданий с повышенным (технологическим) тепловыделением предусматривают кровлю из стальных листов или гофрированных профилей.
4.14 В рабочих чертежах крыши зданий необходимо указывать:
- план крыши, ее конструктивное решение, наименование и марки материалов и изделий со ссылками на нормативные документы;
- значение уклонов, места установки водосточных воронок и расположение деформационных швов;
- детали кровель в местах установки водосточных воронок, водоотводящих желобов и примыканий к стенам, парапетам, мест соединения воздушной прослойки под водоизоляционным ковром с наружным воздухом, вентиляционным и лифтовым шахтам, карнизам, трубам, мансардным окнам и другим конструктивным элементам;
- крепление волнистых листов и гофрированных профилей через верхний гребень волны и гофра с применением уплотнительной прокладки;
- тип крепежного элемента для крепления кровельного материала к основанию;
- схему установки крепежных элементов с указанием количества и шага крепления по зонам действия ветрового давления.
5 Кровли из рулонных и мастичных материалов
5.1 Общие правила
5.1.1 Кровли предусматривают с водоизоляционным ковром из битумосодержащих материалов с различной основой, полимерных (термопластичных и эластомерных) и им подобных рулонных кровельных материалов, а также из битумосодержащих или полимерных мастик, с армирующими стекловолокнистыми материалами или прокладками из полимерных волокон.
5.1.2 Кровли с водоизоляционным ковром из рулонных и мастичных материалов предусматривают в традиционном (при расположении водоизоляционного ковра над теплоизоляцией) либо инверсионном (при расположении водоизоляционного ковра под теплоизоляцией) вариантах.
5.1.3 Число слоев водоизоляционного ковра зависит от уклона кровли, показателя гибкости и теплостойкости применяемого материала и должно приниматься по таблицам Б.1 - Б.3 приложения Б.
5.1.4 Основанием под водоизоляционный ковер служат ровные поверхности:
а) железобетонных несущих плит, швы между которыми заделаны цементно-песчаным раствором марки не ниже М100 или бетоном класса не ниже B7,5, либо монолитного железобетона;
б) теплоизоляционных плит (минераловатных, из пеностекла, пенополистирольных, из экструзионного пенополистирола, полистиролбетонных и пенополиизоциануратных). Для кровель с применением горячих или холодных (на растворителях) мастик в качестве основания предусматривают плиты, обладающие стойкостью к органическим растворителям (бензин, этилацетон, нефрас и др.) холодных мастик и воздействию температур горячих мастик;
в) монолитной теплоизоляции из легких бетонов на основе цементного вяжущего с пористыми заполнителями - перлита, вермикулита, вспененных гранул полистирола, щебня из пеностекла и др.;
г) выравнивающих монолитных стяжек толщиной не менее 40 мм из цементно-песчаного раствора марки не ниже М100 или мелкозернистого бетона класса не ниже B7,5, в т.ч. армированных, из асфальтобетона;
д) сборных (сухих) стяжек из двух огрунтованных со всех сторон праймером хризотилцементных прессованных плоских листов толщиной не менее 10 мм каждый или двух плит ЦСП-1 толщиной не менее 12 мм каждая, смонтированных на теплоизоляции и скрепленных таким образом, чтобы стыки плит в разных слоях не совпадали; необходимость закрепления листов сборной стяжки к несущей конструкции определяют расчетом на ветровую нагрузку (приложение В);
е) сплошных настилов из обрезных досок шириной 100 - 150 мм и толщиной 25 - 32 мм, фанеры повышенной водостойкости марки ФСФ или ОСП-3, ОСП-4 толщиной не менее 12 мм в стропильной конструкции крыши. В стыках между досками, листами фанеры и ОСП предусматривают зазор 3 - 5 мм. Толщину теплоизоляционного слоя определяют по СП 50.13330;
ж) изготовленные в заводских условиях теплоизоляционные плиты с верхним склеенным с ними слоем из высокопрочного бетона толщиной не менее 10 мм, ЦСП-1 толщиной не менее 12 мм или хризотилцементных прессованных плоских листов толщиной не менее 10 мм.
Поверхность основания под водоизоляционный ковер перед приклейкой рулонного материала или перед нанесением мастичного слоя должна быть огрунтована для лучшего их сцепления с основанием.
5.1.5, 5.1.6 Исключены с 07.01.2024. - Изменение N 4
5.1.7 Теплоизоляционные плиты из горючих материалов предусматривают в качестве основания под водоизоляционный ковер из рулонных материалов без выравнивающей стяжки только при его свободной укладке с пригрузом или при применении клеевого способа укладки (самоклеящиеся рулонные материалы, укладка на приклеивающиеся мастики и полимерные клеящие составы и т.п.), либо при его механическом креплении.
Возможность наплавления битумосодержащих рулонных материалов на утеплитель из горючих материалов устанавливают по результатам испытаний.
5.1.8 При несовместимости теплоизоляционных плит (например, из пенополистирола) и водоизоляционного ковра из полимерных материалов (например, из ПВХ-мембраны), укладываемого на теплоизоляцию, между ними должен быть предусмотрен разделительный слой из паропроницаемого нейтрального материала (например, из стеклохолста с поверхностной плотностью не менее 100 г/м2). Разделительный слой из геотекстиля с поверхностной плотностью 200 - 300 г/м2 предусматривают между основанием с шероховатостью 0,3 мм и более по таблице А.4 приложения А и ковром из полимерных материалов (ПВХ, ТПО и т.п.). Нахлест полотен разделительного слоя - не менее 100 мм.
5.1.9 Выравнивающие стяжки должны иметь температурно-усадочные швы шириной до 10 мм, разделяющие стяжку из цементно-песчаного раствора на участки размерами не более 6 x 6 м, а из песчаного асфальтобетона - на участки не более 4 x 4 м. В холодных покрытиях с несущими плитами длиной 6 м эти участки должны иметь размеры 3 x 3 м. Стяжки из асфальтобетона не допускается применять по сжимаемым (минераловатным и т.п.), засыпным (керамзитовый гравий, перлитовый песок и т.п.) и нестойким к воздействию высоких температур (пенополистиролы) утеплителям.
5.1.10 В кровлях с водоизоляционным ковром из битумосодержащих рулонных материалов при их сплошной приклейке и мастичных материалов должны быть предусмотрены полоски-компенсаторы по температурно-усадочным швам шириной 150 - 200 мм из рулонных материалов с приклейкой их по обеим кромкам на ширину около 50 мм.
5.1.11 Между цементно-песчаной или бетонной стяжкой и теплоизоляцией должен быть предусмотрен разделительный слой, исключающий увлажнение утеплителя при выполнении стяжки.
Нахлесты рулонных материалов разделительного слоя должны быть склеены, сварены или сплавлены. Продольные и поперечные нахлесты полотен разделительного слоя должны составлять не менее 100 мм.
5.1.12 При механическом креплении водоизоляционного ковра, теплоизоляционных плит и сборной стяжки к несущему настилу крыши пароизоляцию рекомендуется предусматривать из битумно-полимерного рулонного материала.
5.1.12а При механическом креплении водоизоляционного ковра к несущему настилу крыши количество крепежных элементов определяют расчетом на ветровую нагрузку в соответствии с приложением В.
5.1.13 На крышах зданий с мокрым и влажным режимом эксплуатации механическое крепление водоизоляционного ковра, теплоизоляционных плит и сборной стяжки через пароизоляцию не допускается.
При применении фольгированных битумосодержащих материалов на крышах зданий с влажным режимом эксплуатации допускается механическое крепление водоизоляционного ковра, теплоизоляционных плит и сборной стяжки через пароизоляцию.
5.1.14 Возможность закрепления ковра к монолитной стяжке из цементно-песчаного раствора, бетона или монолитному теплоизоляционному слою устанавливают по результатам испытаний прочности на вырыв крепежных элементов из этих материалов.
5.1.15 На кровлях с водоизоляционным ковром из рулонных материалов, выполняемых методом свободной укладки (без приклейки нижнего слоя ковра к основанию под кровлю), следует предусматривать пригрузочный слой из гравия, щебня или плиток, или монолитного бетона, распределенная нагрузка от которого должна быть определена расчетом на ветровую нагрузку (приложение В). Для этого применяют гравий, гранитный щебень фракцией 20 - 40 мм и морозостойкостью не ниже F100. Для пригрузочного слоя кровель запрещается применять гравий карбонатных пород.
Между пригрузочным слоем и водоизоляционным ковром следует предусматривать предохранительный слой, например, из термоскрепленного геотекстиля с сопротивлением статическому продавливанию не менее 1300 Н и нахлестом полотнищ геотекстиля не менее 100 мм.
5.1.16 Прочность сцепления нижнего слоя водоизоляционного ковра с основанием под кровлю и между слоями водоизоляционного ковра должна быть не менее 0,05 МПа.
5.1.17 На кровлях с водоизоляционным ковром из битумосодержащих рулонных и мастичных материалов в местах примыкания к вертикальным поверхностям предусматривают наклонные клиновидные бортики со сторонами от 50 до 100 мм из минераловатных плит повышенной жесткости (с прочностью на сжатие при 10%-ной линейной деформации не менее 60 кПа), цементно-песчаного раствора, асфальтобетона, других теплоизоляционных материалов с негорючим слоем в качестве основания под водоизоляционный ковер. Возможность применения наклонных клиновидных бортиков из иных материалов устанавливают по результатам испытаний.
5.1.18 В местах примыканий кровли к парапетам, стенкам бортов фонарей, в местах пропуска труб, у водосточных воронок, вентиляционных шахт и т.п. предусматривают дополнительный водоизоляционный ковер, число слоев которого принимают по приложению Б.
Вертикальные поверхности парапета или стены следует дополнительно утеплять со стороны крыши в соответствии с СП 50.13330 и СП 230.1325800, а также в соответствии с требованиями нормативных документов по пожарной безопасности.
5.1.19 В местах пропуска через крышу труб предусматривают применение стальных патрубков с фланцами (или железобетонных стаканов либо готовых фасонных элементов из полимерных материалов на основе ЭПДМ) и герметизацию кровли в этом месте. Места пропуска анкеров также следует герметизировать.
5.1.20 Дополнительный водоизоляционный ковер из рулонных и мастичных материалов должен быть заведен на вертикальные поверхности не менее чем на 300 мм от поверхности кровли (основного водоизоляционного ковра или защитного слоя).
5.1.21 В местах примыкания к выступающим над кровлей конструкциям верхняя часть дополнительного водоизоляционного ковра из рулонных материалов или мастик с армирующими прокладками должна быть закреплена к ним через металлическую прижимную (краевую) рейку или хомут и защищена герметиком. Для битумосодержащих кровельных материалов, дополнительный слой которых приклеен к вертикальным поверхностям, допускается применение механического крепежа с шайбами диаметром не менее 50 мм с шагом не более 250 мм и последующей установкой выше края дополнительного водоизоляционного ковра защитного фартука из оцинкованной кровельной стали, верхний край которого должен быть защищен герметиком.
5.1.22 В местах примыкания кровли к парапетам, противопожарным стенам или стенкам деформационного шва, выступающим, относительно поверхности водоизоляционного ковра, на высоту до 600 мм, дополнительный слой водоизоляционного ковра должен быть заведен на их верхнюю грань. Водоизоляционный ковер на верхней грани парапетов, противопожарных стен, выступающих выше поверхности водоизоляционного ковра, или стенках деформационного шва должен быть защищен фартуком из оцинкованных металлических листов либо парапетными плитами с учетом положений 5.1.23.
5.1.23 На верхней грани парапетов, противопожарных стен, выступающих выше поверхности водоизоляционного ковра, или стенках деформационного шва следует предусматривать защитный фартук из оцинкованных металлических листов, закрепленных с помощью костылей к вышеуказанным конструкциям и соединенных между собой фальцем, либо установку с герметизацией стыков каменных, керамических, композитных и им подобным парапетных плит со слезниками на нижней поверхности.
Защитный фартук или парапетные плиты должны выступать за боковые грани парапета на расстояние не менее 60 мм и иметь уклон не менее 3% в сторону кровли.
5.1.24 На кровлях, выполняемых методом приклейки или свободной укладки, продольный нахлест полотнищ водоизоляционного ковра из битумосодержащих рулонных материалов принимают равным не менее 85 мм при многослойном и не менее 100 мм при однослойном коврах, а торцевой нахлест - не менее 150 мм.
При механическом креплении водоизоляционного ковра боковой нахлест принимают равным не менее 100 мм для многослойного и не менее 120 мм для однослойного ковров, а торцевой нахлест - не менее 120 мм для полимерных материалов и не менее 150 мм для битумосодержащих рулонных материалов.
При наклейке водоизоляционного ковра из полимерных рулонных материалов ширина торцевых и продольных нахлестов должна составлять не менее 80 мм.
5.1.25 В местах пропуска через кровлю воронок внутреннего водостока в радиусе 0,5 - 1,0 м предусматривают понижение от уровня водоизоляционного ковра на 15 - 20 мм.
Ось воронки должна находиться на расстоянии не менее 600 мм от парапета и других выступающих над кровлей частей зданий.
5.1.26 Битумосодержащие горячие и холодные мастики и рулонные материалы в зависимости от уклона кровли должны иметь теплостойкость не ниже значений, указанных в таблице 5.1.
Таблица 5.1
|
Материал водоизоляционного ковра |
Теплостойкость, °C, не менее | ||
|
для участков кровель с уклоном, % (град) | |||
|
Менее 10 (6) |
От 10 до 25 (от 6 до 14) |
Более 25 (14) и для примыканий | |
|
Горячая и холодная мастика для приклеивания рулонных материалов и для мастичных кровель |
80 |
90 |
100 |
|
Битумосодержащие рулонные материалы |
80 |
90 |
100 |
|
Примечания 1 Для кровель с переменным уклоном (на крышах по сегментным фермам, аркам и т.п.) теплостойкость мастики назначают по наибольшему уклону. 2 Не допускается применение холодных (на растворителях) мастик для кровель, выполняемых по пенополистирольным, минераловатным, стеклопластовым плитам и композиционным утеплителям с применением пенопластов. 3 Для гравийного защитного слоя теплостойкость приклеивающей мастики принимается как для примыканий. | |||
5.1.27 Высота стен от поверхности водоизоляционного ковра или защитного слоя (при его наличии) до дверного проема у выхода на крышу должна быть не менее 150 мм.
При наличии у выхода на крышу водоотводящего лотка или дренажа с решеткой минимальная высота стен от поверхности водоизоляционного ковра или защитного слоя (при его наличии) до дверного проема у выхода на крышу должна быть не менее 50 мм.
5.2 Неэксплуатируемые кровли
5.2.1 Основание под водоизоляционный ковер - в соответствии с 5.1.4.
Теплоизоляционные плиты из минеральной ваты, применяемые в качестве основания под водоизоляционный ковер, должны иметь прочность на сжатие при 10%-ной линейной деформации не менее 60 кПа, а полимерные утеплители (пенополистирольные, пенополиуретановые, пенополиизоциануратные и им подобные плиты) - не менее 100 кПа. Плиты из минеральной ваты для нижних слоев в многослойной теплоизоляции и утеплителя под выравнивающую армированную или сборную стяжку должны иметь прочность на сжатие при 10%-ной линейной деформации не менее 40 кПа. При механическом воздействии на кровлю (например, при регулярном обслуживании оборудования на крыше с выходом на кровлю более одного раза в неделю, при снегоудалении) с водоизоляционным ковром по минераловатной теплоизоляции, в том числе многослойной, ее необходимо предусматривать во всех слоях с прочностью на сжатие при 10%-ной линейной деформации не менее 60 кПа.
По засыпным утеплителям предусматривают армированную монолитную стяжку в соответствии с 5.1.4, перечисление г), за исключением асфальтобетона, или сборную стяжку по перечислению д).
5.2.2 На кровлях с уклоном до 10% (6°) из битумосодержащих рулонных материалов с мелкозернистой посыпкой или покровными полиэтиленовыми пленками или битумосодержащих мастичных материалов защитный слой должен быть предусмотрен из гравия фракции 5 - 10 мм с маркой по морозостойкости не ниже 100, по слою мастики толщиной 2 - 3 мм; общая толщина защитного слоя должна быть не менее 10 мм.
В кровлях из битумосодержащих мастичных материалов защитный окрасочный слой должен быть стойким к воздействию солнечной радиации; в ендове такой кровли должен быть предусмотрен защитный слой из гравия шириной 1,5 м.
5.2.3 К оборудованию на кровле с водоизоляционным ковром, уложенным по минераловатной теплоизоляции, в том числе многослойной, должны быть предусмотрены дорожки шириной не менее 600 мм, а вокруг оборудования - площадки из материалов, как для эксплуатируемых кровель (см. 5.3.3).
5.2.3а Прочность на сжатие при 10%-ной деформации утеплителя под пешеходной дорожкой выбирают исходя из требований приложения К для интенсивности пешеходной нагрузки на кровлю типа III.
При этом ширина теплоизоляции выбранной прочности на сжатие при 10%-ной деформации под дорожкой должна превышать ее ширину с каждой стороны на 300 мм. Дорожки не должны препятствовать отводу воды с кровли.
5.2.4 Для крыш с несущим профилированным настилом и теплоизоляционным слоем из материалов групп горючести Г2 - Г4 следует предусматривать заполнение пустот гофр настилов на длину не менее 250 мм материалами группы горючести НГ в местах примыкания настилов к стенам, деформационным швам, трубам, а также с каждой стороны конька и ендовы крыши. В случае если для утепления крыши применяют два и более слоев утепления разных групп горючести, необходимость заполнения гофр настилов определяется группой горючести нижнего теплоизоляционного слоя.
Заполнение пустот гофр насыпным утеплителем не допускается.
5.2.5 Максимально допустимая площадь кровли с водоизоляционным ковром из рулонных и мастичных материалов, не имеющей защиты из слоя гравия, а также площадь участков, разделенных противопожарными поясами, не должны превышать значений, приведенных в нормативных документах по пожарной безопасности.
Таблица 5.2 исключена с 10.01.2025. - Изменение N 5
5.2.6 Верхний слой противопожарного пояса (по водоизоляционному ковру) должен быть предусмотрен как защитный слой эксплуатируемых кровель (5.3.3) шириной не менее 6 м, а нижний слой пояса (под водоизоляционным ковром) - из материалов группы горючести НГ, который должен пересекать основание под кровлю (в т.ч. теплоизоляцию), выполненное из материалов групп горючести Г3 и Г4, на всю толщину этих материалов.
Допускается применение на неэксплуатируемых кровлях горючих кровельных материалов в качестве верхнего слоя противопожарного пояса (по водоизоляционному ковру) шириной не менее 6 м, а нижнего слоя пояса (под водоизоляционным ковром) - из материалов группы горючести НГ, который должен пересекать основание под кровлю (в т.ч. теплоизоляцию), выполненное из материалов групп горючести Г3 и Г4, на всю толщину этих материалов при условии проведения натурных испытаний по утвержденной методике и нераспространения пламени по поверхности противопожарного пояса.
5.2.7 На карнизном участке при наружном водоотводе кровлю усиливают одним слоем дополнительного водоизоляционного ковра из рулонного материала шириной не менее 250 мм, приклеиваемого к основанию под кровлю (в рулонных кровлях из битумосодержащих материалов), или одним слоем мастики с армирующей прокладкой (в мастичных кровлях).
5.2.8 На коньке кровлю с уклоном 3,0% и более усиливают на ширину 150 - 250 мм с каждой стороны, а ендову - на ширину не менее 500 мм (от линии перегиба) дополнительным водоизоляционным ковром из битумосодержащего материала (в рулонных кровлях из битумосодержащих материалов) или армированным мастичным слоем (в мастичных кровлях) согласно приложению Б (таблица Б.3).
5.2.9 Варианты конструктивных решений неэксплуатируемых кровель приведены в Г.1 приложения Г.
Тип конструктивного решения кровли в зависимости от интенсивности воздействия пешеходной нагрузки на нее, принимают с учетом приложения К:
- тип I - сезонные осмотры (примечание 1) кровель, на которых не установлено оборудование (выход на кровлю два раза в год);
- тип II - текущие осмотры (примечание 1) кровель (еженедельно) и обслуживание оборудования (примечание 2) на крыше (выход на кровлю не более одного раза в неделю);
- тип III - текущие осмотры (примечание 1) кровель (ежедневно) и обслуживание оборудования (примечание 2) на крыше (выход на кровлю более одного раза в неделю).
Примечания
1 В соответствии с требованиями пункта 8.2 СП 255.1325800.2016.
2 Тип оборудования на кровле и регламент его обслуживания устанавливаются заданием на проектирование с последующим их изложением в разделе проекта к обеспечению безопасной эксплуатации объекта капитального строительства.
5.3 Эксплуатируемые кровли
5.3.1 При проектировании эксплуатируемых кровель крыша должна быть проверена расчетом на действие дополнительных нагрузок от оборудования, транспорта, людей и т.п. в соответствии с СП 20.13330.
5.3.2 Основание под водоизоляционный ковер - по 5.1.4, перечисления а), в) и г). Толщину и армирование цементно-песчаной или бетонной стяжки в кровле, используемой в качестве площадки под оборудование, автостоянки и т.п. и укладываемой на теплоизоляционные плиты (минераловатные, из пеностекла, пенополистирольные, из экструзионного пенополистирола, пенополиизоциануратные), устанавливают расчетом по СП 29.13330 с учетом упругих характеристик теплоизоляционных плит.
5.3.3 Защитный слой кровли, предусмотренный для обслуживания расположенного на ней оборудования, а также для размещения спортивных площадок, кафе, автостоянок, соляриев и т.п., должен быть плитным или монолитным из материала группы горючести НГ с маркой по морозостойкости не ниже F150 и прочностью, определяемой на нагрузки в соответствии с СП 20.13330 (цементно-песчаный раствор, монолитные бетон или железобетон толщиной не менее 100 мм, мелкоразмерные тротуарные плитки фигурного очертания толщиной не менее 60 мм, бетонная или гранитная плитка, брусчатка толщиной не менее 80 мм, бетонные или каменные плиты толщиной не менее 40 мм на цементно-песчаном растворе или специальных подставках, установленных на предохранительный слой). Подзащитным слоем (кроме армированной бетонной плиты) необходимо предусматривать дренажный слой. На эксплуатируемых кровлях предусматривают отдельные озелененные участки, дорожки из мелкого гравия (фракцией 10 - 15 мм), деревянные настилы и т.п.
5.3.4 По периметру эксплуатируемой кровли, в т.ч. используемой для садов на крышах и размещения архитектурно-ландшафтных объектов, должен быть предусмотрен парапет высотой не менее 1,2 м, а в местах детских и спортивных площадок - сетчатое ограждение над ним высотой не менее 1,8 м в соответствии с пунктом 6.3 СП 251.1325800.2016. На верхней грани парапета следует предусматривать защитный фартук или парапетные плиты в соответствии с 5.1.23.
5.3.5 Защитный слой кровель на участках уборки производственной пыли, складирования материалов и т.п. предусматривают из цементно-песчаного раствора или плитных материалов, укладываемых на цементно-песчаном растворе с соблюдением требований 5.3.3.
5.3.6 На эксплуатируемых кровлях дополнительный водоизоляционный ковер на парапетах, стенах и подобных конструкциях должен быть защищен от механических повреждений.
5.3.7 Варианты конструктивных решений эксплуатируемых кровель приведены в Г.2 приложения Г.
5.4 Инверсионные кровли
5.4.1 Крыша с инверсионной кровлей включает в себя: несущие сборные или монолитные железобетонные плиты, стяжку из цементно-песчаного раствора или уклонообразующий слой, например из легкого бетона, грунтовку, водоизоляционный ковер, теплоизоляцию, предохранительный или дренажный слой, пригруз из гравия или бетонных плиток.
5.4.2 Конструктивное решение кровли должно обеспечивать отвод воды преимущественно по ее верхней поверхности; для такой кровли следует применять двухуровневые воронки внутреннего водостока с дренажным кольцом для отвода воды, попавшей под теплоизоляционные плиты.
5.4.3 Теплоизоляцию предусматривают из плитных материалов с низким водопоглощением (не более 0,7% по объему за 28 сут) и прочностью на сжатие не менее 100 кПа, при этом она должна быть однослойной, т.к. блокирование тонких слоев воды в многослойном утеплителе снижает его теплозащитные свойства и исключает испарение влаги.
5.4.4 Эксплуатируемые участки инверсионной кровли должны иметь защитные слои по 5.3.3; они должны быть светлых тонов для снижения температуры на поверхности теплоизоляции из экструзионного пенополистирола.
5.4.5 Теплоизоляционные плиты должны иметь ступенчатые кромки или кромки в виде паза и гребня; расчетную толщину плит увеличивают на 10% из-за потери тепла за счет попадания воды в стыки и быстрого съема тепла при стекании воды с поверхности плит.
5.4.6 В инверсионной кровле механическое крепление теплоизоляционных плит через водоизоляционный ковер не допускается.
5.4.6а Предохранительный слой предусматривают из свободноуложенного нетканого геотекстильного материала (нахлест не менее 200 мм) с прочностью при статическом продавливании не менее 1300 Н (ГОСТ Р 56335).
5.4.7 Варианты конструктивных решений инверсионных кровель приведены в Г.2 приложения Г.
5.5 Озелененные кровли
5.5.1 При проектировании озелененной кровли [8] на существующем здании или сооружении проверяют несущую способность всех конструкций, а также состояние слоев самой крыши.
5.5.2 Для водоизоляционного ковра следует применять материалы, стойкие к прорастанию корнями растений и воздействию химических веществ удобрений. Для ковра, не стойкого к прорастанию корнями растений, необходимо предусматривать противокорневой слой.
5.5.3 Озелененные кровли могут быть применены на крышах с техническим этажом, объем которого может быть использован для хранения инвентаря, запасных емкостей, ящиков, удобрений и других материалов и оборудования для автоматизированного полива растений.
5.5.4 Для озелененной кровли необходимо предусматривать дополнительные нагрузки от субстрата во влажном состоянии (не менее 700 кг/м3). Ориентировочная толщина субстрата для разных типов растений и нагрузка от него, включая растения, приведены в таблице 5.3.
Таблица 5.3
|
Толщина питательного слоя - субстрата для растения, см, не менее |
Нагрузка, включая растения, кПа, не менее: |
|
7 (почвопокровные, седумы) |
0,07 |
|
25 (газон) |
0,27 |
|
40 (кустарники) |
0,45 |
|
80 (деревья) |
0,90 |
Предусматривают также нагрузку от малых архитектурных форм: растения и деревья в кадках, декоративные водоемы, фонтаны и т.п.
5.5.5 Под субстратом с растительностью предусматривают фильтрующий слой (геотекстиль), дренажно-водонакопительную мембрану и влагонакопительный мат.
5.5.6 Варианты конструктивных решений кровли и техническая характеристика применяемых материалов приведены в приложении Г, а элементы озеленения и объектов благоустройства - в приложении Д.
6 Кровли из штучных материалов, волнистых листов и гофрированных листовых профилей
В кровлях с водоизоляционным слоем из штучных материалов и волнистых листов применяют: черепицу, кровельные плитки, волнистые хризотилцементные, цементно-волокнистые листы и гофрированные листовые профили, в т.ч. металлочерепицу. Крыши с такими кровлями могут иметь следующие конструктивные решения (приложение Е):
- толщина теплоизоляции равна высоте стропил - диффузионную ветроводозащитную пленку располагают на поверхности теплоизоляции с образованием над нею одного вентиляционного канала;
- толщина теплоизоляции больше высоты стропил - в этом случае дополнительный слой теплоизоляции располагают между закрепленными к стропилам снизу или сверху брусками, высота которых равна толщине дополнительной теплоизоляции; диффузионную ветроводозащитную пленку располагают на поверхности теплоизоляции с образованием над нею одного вентиляционного канала;
- толщина теплоизоляции меньше высоты стропил - диффузионную ветроводозащитную пленку располагают на поверхности теплоизоляции с образованием над ней вентиляционного канала, а водозащитную пленку располагают на стропилах с образованием второго вентиляционного канала.
Двойной вентиляционный канал рекомендуется применять только на крышах простой геометрической формы: одно- или двухскатных.
Свойства диффузионной ветроводозащитной пленки приведены в таблице А.1, а высота вентиляционного канала - в таблице А.2.
6.1 Кровли из цементно-песчаной и керамической черепицы
6.1.1 Основанием под цементно-песчаную и керамическую черепицу служит деревянная обрешетка из брусков или досок хвойных пород.
6.1.2 Уклоны черепичной кровли в зависимости от формы черепицы и вида ее кладки приведены в приложении Ж.
6.1.3 Черепицу необходимо закреплять по периметру крыши (в крайних рядах и столбцах), а также вокруг вентиляционных шахт, мансардных окон коррозионно-стойкими шурупами и кляммерами. В остальных местах черепицу закрепляют противоветровыми зажимами (кляммерами) в соответствии с расчетом на ветровую нагрузку по СП 20.13330.
На кровле с уклоном 60° и более черепицу закрепляют на всей площади.
Нахлест цементно-песчаной черепицы в зависимости от уклона кровли приведен в таблице 6.1.
Таблица 6.1
|
Уклон кровли, % (град) |
Нахлест черепицы, см | |||||||
|
От |
18 |
до |
39 |
(от |
10 |
до |
21) |
10,0 - 10,8 |
|
" |
40 |
" |
57 |
(" |
22 |
" |
29) |
8,5 - 10,8 |
|
" |
58 |
" |
173 |
(" |
30 |
" |
60) |
7,5 - 10,8 |
Под кровлей с уклоном 10° - менее 22° предусматривают водозащитную или диффузионную ветроводозащитную пленку с проклеенными нахлестами и уплотнением мест примыкания; под кровлей с уклоном 10° - менее 16° пленку укладывают по сплошному настилу по 5.1.4, перечисление е).
6.1.4 Сечение и шаг стропил устанавливают расчетом на действие нагрузки по СП 20.13330. Контробрешетку следует предусматривать из брусков, высота которых должна быть равной высоте вентиляционного канала.
6.1.5 Конструктивное решение карнизного свеса конька, хребта, ендовы и примыканий должно обеспечивать беспрепятственное поступление и движение воздуха в вентиляционных каналах крыши.
6.2 Кровли из битумной черепицы
6.2.1 Основанием под битумную плоскую черепицу служит сплошной настил из фанеры повышенной водостойкости или ОСП-3 или ОСП-4 толщиной 9 - 12 мм, уложенный по деревянной обрешетке из обрезных досок шириной 100 - 150 мм и толщиной 25 - 32 мм. В стыках между листами фанеры и ОСП следует предусматривать зазор не более 3 мм.
6.2.2 Исключен с 10.01.2025. - Изменение N 5
6.2.3 Шаг и сечение стропил, а также толщину сплошного настила определяют расчетом в зависимости от действующих нагрузок; шаг стропил при расчете - 400 или 600 мм.
6.2.4 По сплошному настилу предусматривают подкладочный (водозащитный) ковер, например слой из битумно-полимерных рулонных материалов, а на кровле с уклоном от 20% (12°) до 40% (22°) - дополнительный подкладочный ковер на карнизных и фронтонных свесах, в местах прохода через кровлю труб, шахт, в водосточных желобах и на примыканиях к стенам.
В ендовах и на карнизных свесах предусматривают приклейку подкладочного ковра к деревянному основанию.
6.2.5 Карнизы и торцы скатов усиливают металлическими планками, при этом карнизную планку монтируют на краю деревянного основания, под подкладочный ковер, а торцевую планку - поверх подкладочного ковра.
6.2.6 Примыкания к стенам и вентиляционным шахтам выполняют из битумно-полимерных рулонных материалов с посыпкой, сверху применяют металлический фартук с герметиком.
6.2.7 Битумную черепицу закрепляют к основанию механически с помощью кровельных ершеных гвоздей или гвоздями с кольцевой накаткой, с широкой (не менее 9 мм) шляпкой, либо методом огневой укладки без механического крепежа
6.3 Кровли из плиток
6.3.1 Кровля из плиток (натуральный сланец, цементно-волокнистые, хризотилцементные, композитные) включает в себя сплошной настил [по 5.1.4, перечисление е)] и подкладочный (водозащитный) ковер, по которому укладывают плитки.
6.3.2 Для крепления кровельных плиток применяют коррозионно-стойкие гвозди (медные или оцинкованные тянутые) или штифты и шурупы для сланца с диаметром шляпки не менее 9 мм, а также противоветровые кляммеры.
6.3.3 Крупноформатные плитки применяют по обрешетке. Детали примыканий кровли из плиток к стенам, парапетам и другим вертикальным конструкциям должны включать в себя металлические фартуки (например, из оцинкованной стали, меди, свинца, алюминия); в этих местах предусматривают также водоизоляционный слой из рулонных материалов с напуском на плитки не менее 150 мм.
6.4 Кровли из волнистых листов и гофрированных листовых профилей
6.4.1 Битумные листы
6.4.1.1 Основание под битумные волнистые листы назначают в зависимости от уклона кровли.
При уклоне от 10% до 20% (от 6° до 12°) основанием служит сплошной настил из досок или фанеры [5.1.4, перечисление е)]; при этом значение продольного нахлеста листов должно быть не менее 300 мм, а бокового нахлеста - равно двум волнам. Поперечные стыки между волнистыми листами следует уплотнять прокладкой-заполнителем, поставляемым в комплекте с листами.
При уклоне от 20% до 25% (от 12° до 15°) шаг обрешетки следует принимать равным не более 450 мм, продольную нахлестку - не менее 200 мм, а боковую - равной одной волне.
При уклоне более 25% (более 15°) шаг обрешетки должен быть не более 600 мм, продольная нахлестка - не менее 120 мм, а боковая - равной одной волне.
6.4.1.2 Для разжелобка (ендовы) и карнизного участка основание предусматривают в виде сплошного дощатого настила шириной 700 мм.
Разжелобок должен быть из оцинкованной стали, в т.ч. с полимерным покрытием, или из алюминия; волнистые листы должны перекрывать его на ширину не менее 150 мм.
6.4.1.3 Для примыканий кровли из волнистых листов к стене, парапету и дымовой трубе следует применять угловые детали, которые закрепляют шурупами, пропускаемыми через гребни волн рядовых листов; при этом по скату их устанавливают с нахлестом не менее 150 мм, а поперек ската - не менее чем на одну волну.
6.4.1.4 Крепление листов к деревянным брускам должно осуществляться оцинкованными крепежными элементами с уплотнительными эластичными шайбами.
6.4.1.5 Число креплений листов к обрешетке гвоздями или шурупами определяют расчетом на нагрузки в соответствии с СП 20.13330.
6.4.2 Хризотилцементные листы
6.4.2.1 Для кровель применяют хризотилцементные волнистые листы и изделия без отделки поверхности или окрашенные.
6.4.2.2 Для кровель зданий и сооружений предусматривают листы средневолнового профиля 40/150 с симметричными кромками (40 - высота волны, мм; 150 - шаг волны, мм) и листы среднеевропейского профиля 51/177 с асимметричными кромками (51 - высота волны, мм; 177 - шаг волны, мм).
6.4.2.3 Поперек ската волна перекрывающей кромки листа средневолнового профиля с симметричными кромками должна перекрывать волну перекрываемой кромки смежного листа, а листа среднеевропейского профиля с асимметричными кромками - половину волны смежного листа. Вдоль ската кровли нахлест хризотилцементных волнистых листов должен быть в пределах 150 - 300 мм.
6.4.2.4 Основанием под хризотилцементные волнистые листы служит обрешетка из рядовых брусков сечением 60 x 60 мм или разреженный настил из необрезной доски толщиной не менее 25 мм и влажностью не более 22%. Для обеспечения плотного продольного нахлеста листов все нечетные бруски обрешетки должны иметь высоту 60 мм, а четные - 63 мм. Шаг брусков обрешетки - не более 750 мм. Для брусков обрешетки применяют древесину хвойных пород в соответствии с требованиями СП 64.13330.
6.4.2.5 На карнизе используют бруски высотой 65 мм, на коньке - два коньковых бруска сечением 70 x 90 мм и 60 x 100 мм, а вдоль конька - дополнительные приконьковые бруски того же сечения, что и рядовые.
6.4.2.6 Для сопряжения элементов кровли из хризотилоцементных волнистых листов применяют хризотилцементные фасонные (доборные) детали. При отсутствии хризотилцементных фасонных деталей используют коньковые, угловые и лотковые металлические детали.
6.4.2.7 При длине здания более 25 м для компенсации деформаций в кровле должны быть предусмотрены компенсационные швы, располагаемые с шагом 12 м для кровель из хризотилцементных листов, не защищенных водостойким покрытием, и 24 м - для кровель из гидрофобизированных и окрашенных листов.
6.4.2.8 Требования к деталям кровли из хризотилцементных листов - по 6.4.1.2 - 6.4.1.5.
6.4.3 Цементно-волокнистые листы
6.4.3.1 Цементно-волокнистые листы выпускают размерами 920 x 585 мм и 920 x 875 мм с шагом волны 177 мм и нахлестом по длине 125 мм первые два; 1130 x 1750 мм с шагом волны и нахлестом по длине 150 мм.
6.4.3.2 Требования к основанию под цементно-волокнистые листы аналогичны требованиям, изложенным в 6.4.2.4.
6.4.3.3 Требования к деталям кровли из цементно-волокнистых листов аналогичны требованиям, изложенным в 6.4.1.2 - 6.4.1.5 и 6.4.2.4 - 6.4.2.7.
6.4.4 Стальные листовые гофрированные профили, в том числе металлочерепица
6.4.4.1 В качестве кровельных предусматривают стальные профили с цинковым, алюмоцинковым или алюминиевым либо защитно-декоративным лакокрасочным покрытием, в т.ч. с антиконденсатным покрытием на нижней поверхности, а также алюминиевые листы, металлочерепицу и композитную металлочерепицу. В качестве металлочерепицы следует применять стальной холоднокатаный горячеоцинкованный прокат с полимерным покрытием с толщиной металла не менее 0,5 мм без учета толщины полимерного защитного покрытия. Толщина композитной черепицы должна быть не менее 0,45 мм без учета толщины полимерного защитного покрытия.
6.4.4.2 Значение нахлеста профиля вдоль ската должно быть не менее 250 мм, а поперек ската - на один гофр.
6.4.4.3 Основанием под листовые гофрированные профили служат деревянные бруски или металлические прогоны.
Несущую способность основания устанавливают расчетом на нагрузки в соответствии с СП 20.13330.
6.4.4.4 Профили крепят к стальным прогонам самонарезающими винтами с уплотнительной эластичной атмосферостойкой шайбой.
6.4.4.5 На примыканиях кровли к стенам предусматривают фартуки из стальных листов с цинковым или полимерным покрытием, а соединение их между собой - фальцем. Коньковый и карнизный фасонные элементы, а также фартуки для отделки пропусков через кровлю должны иметь "гребенку" по форме поперечного сечения профиля.
6.4.4.6 Основанием под металлочерепицу и композитную металлочерепицу служит обрешетка из обрезных досок или брусков.
Расстояние между досками и брусками обрешетки принимают равным шагу волны металлочерепицы.
6.4.4.7 Кроме основных деталей карниза, конька, водоотводящего лотка (желоба) кровля комплектуется также набором кровельных аксессуаров (уплотнителем конька, заглушкой, снеговым барьером и др.).
6.4.4.8 На фронтонном свесе кровли следует предусматривать торцевую деревянную доску, которая должна быть выше обрешетки на высоту металлочерепицы. Сверху узел перекрывают металлической ветровой планкой.
6.4.4.9 В месте установки желоба (в ендовах), вокруг дымоходов, мансардных окон, под ограждением на карнизном участке предусматривают сплошное основание, толщина которого равна толщине обрешетки. Нахлест элементов (заготовок) желоба должен быть не менее 150 мм.
7 Кровли фальцевые из металлических рулонных или листовых материалов
7.1 Для кровель в качестве водоизоляционного слоя используют металлические рулонные или листовые материалы: стальные оцинкованные, в т.ч. с полимерным покрытием толщиной 0,5 - 0,6 мм; нержавеющую сталь толщиной не менее 0,4 мм; медные толщиной 0,6 - 0,7 мм, шириной рулона 600 и 670 мм, листов не более 1000 мм; цинковые толщиной не менее 0,6 мм; цинк-титановые толщиной не менее 0,7 мм, шириной рулона 500, 600 и 670 мм, листов - не более 1000 мм; алюминиевые толщиной 0,7 мм, шириной рулона 500 или 650 мм, листов - не более 1000 мм; свинцовые толщиной 1,5 - 2,5 мм и металлическую фальцевую черепицу, изготовленную из вышеперечисленных материалов, кроме свинцовых.
7.2 Кляммеры, крепежные элементы, водосточные желоба и трубы, а также комплектующие изделия для выполнения примыканий кровли к выступающим над нею конструкциям должны быть предусмотрены из материалов с учетом их совместимости для предотвращения коррозии.
Края кровли из металлических листов на примыканиях к выступающим над ней конструкциям (например, стенам, парапетам и т.п.) следует поднимать на высоту не менее 150 мм и защищать от попадания атмосферных осадков в подкровельное пространство с помощью металлической планки с последующей герметизацией.
7.3 Основанием под водоизоляционный слой из металлических материалов служит сплошной настил из досок толщиной не менее 25 мм, из фанеры повышенной водостойкости толщиной не менее 18 мм, ОСП-3 или ОСП-4 толщиной не менее 22 мм. В стыках между досками, листами фанеры и ОСП предусматривают зазор 3 - 5 мм.
Несущую способность основания под листы следует устанавливать расчетом на нагрузки в соответствии с СП 20.13330. При этом расстояние между осями стропил не должно превышать 900 мм.
7.4 В кровлях с водоизоляционным слоем из металлических материалов (рулонных, листовых и фальцевой черепицы), за исключением оцинкованных стальных, цинковых и цинк-титановых, укладываемых по сплошному настилу, между водоизоляционным слоем и основанием под него (сплошным настилом) для отвода конденсата следует предусматривать подкровельный водоизоляционный ковер из рулонных материалов, а в кровлях с водоизоляционным слоем из оцинкованных стальных, цинковых и цинк-титановых материалов - объемную диффузионную мембрану.
7.5 Основание под водоизоляционный слой из стальных оцинкованных, в т.ч. с полимерным покрытием листовых материалов на кровлях с уклоном свыше 25°, может быть выполнено в виде деревянной обрешетки из брусков и досок хвойных пород либо обрешетки из стальных оцинкованных тонкостенных профилей.
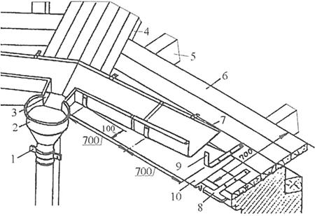
На свесе кровли с водоизоляционным слоем из стальных оцинкованных, в т.ч. с полимерным покрытием листовых материалов, основание под кровельные листы следует предусматривать из сплошного дощатого настила шириной не менее 700 мм, а далее в сторону конька - из брусков обрешетки, располагаемых параллельно свесу с расстоянием в свету не более 100 мм. При этом обрешетка должна чередоваться с доской, на которой располагают лежачие фальцы стыкуемых картин. В желобах и ендовах обрешетку следует предусматривать в виде сплошного дощатого настила шириной до 700 мм.
7.6 При выборе материала для кровли необходимо учитывать их физико-механические показатели.
Такие металлы, как медь, алюминий, цинк-титан (таблица И.2), обладают высокими показателями линейного расширения, поэтому компенсацию деформаций кровель необходимо предусматривать как вдоль, так и поперек скатов.
Оптимальная длина кровельных картин из цинк-титана, меди и алюминия при закреплении их подвижными и неподвижными кляммерами без их поперечного соединения не должна превышать 10 м, а кровельных картин из оцинкованной или нержавеющей стали - 14 м. При большей длине кровельных картин для восприятия деформаций удлинения или укорочения следует предусматривать компенсационные стыки, температурные швы и специальные удлиненные подвижные кляммеры, которые располагают вдоль ската в стоячих фальцах, а также на карнизе и местах нахождения встраиваемых в кровлю конструкций.
7.7 Для защитных фартуков на парапете и (или) других конструкциях следует применять те же металлические материалы, из которых предусмотрено выполнение кровли или с учетом их совместимости.
Их закрепление к парапету необходимо осуществлять с помощью костылей/держателей, а соединение между собой - фальцем.
Защитные фартуки из металлических листов следует выносить за боковые грани парапета на расстояние не менее 60 мм и выполнять с уклоном 3% в сторону кровли.
7.8 Крепление металлических листов и фальцевой черепицы к основанию под кровлю следует предусматривать кляммерами.
Число кляммеров для крепления кровельных картин определяют расчетом на пиковую ветровую нагрузку (СП 20.13330) с учетом усилия на выдергивание кляммера. Число кляммеров для крепления металлической фальцевой черепицы должно быть не менее четырех на один элемент.
На коньке крыши, карнизе, фронтоне и примыканиях к выступающим над кровлей конструкциям число кляммеров следует удваивать.
7.9 Кровли из медных листов не допускается располагать выше кровли из других металлических листов для исключения коррозии последних из-за попадания на них окислов меди.
На кровле из меди предусматривают водосточные лотки (желоба) и трубы только из меди.
7.10 Зоны (шириной 3 м) неподвижных (жестких) кляммеров располагают на расстоянии:
- 2/3 длины кровельной картины от карниза на кровле с уклоном от 3° до 10°;
- 3/4 длины кровельной картины от карниза на кровле с уклоном от 10° до 29°;
- у конька на кровле с уклоном 30° и более.
Деформационный зазор в поперечных соединениях кровельных картин следует принимать по расчету с учетом коэффициента линейного расширения металлических материалов, но не менее 10 мм.
7.11 Неподвижные (жесткие) кляммеры следует предусматривать также для закрепления кровли к обрешетке вокруг выступающих над нею конструкций.
7.12 Соединение кровельных картин поперек ската следует предусматривать на кровлях с уклоном от 3° до 10° - в виде двойного лежачего фальца с уплотнительной лентой или в виде ступени, либо использовать металлический рулонный материал длиной от карниза до конька без поперечных соединений с продольными двойными стоячими фальцами повышенной высоты до 50 мм с применением средств уплотнения, например уплотнительных лент (рисунок 7.1.а); от 10° до 29° - в виде одинарного лежачего фальца с дополнительной планкой и нахлестом не менее 250 мм (рисунок 7.1.б); от 30° и более - в виде одинарного лежачего фальца (рисунок 7.1.в).

1 - стропило; 2 - сплошной деревянный настил; 3 – доборный брус; 4 - доска; 5 - подкладочный ковер из рулонных материалов или объемная диффузионная мембрана; 6 - костыль; 7 - металлическая полоса; 8 - металлический лист; 9 - фальшпланка; 10 - припой; 11 - загнутый край нижней картины; 12 - загнутый край верхней картины; 13 - уплотнительная лента
Рисунок 7.1 - Соединение кровельных картин вдоль ската с уклоном от 3° до 10° (5% - 18%) (а), от 10° до 29° (18% - 45%) (б), более 30° (47%) (в)
7.13 Соединение кровельных картин вдоль ската и на примыканиях к выступающим над кровлей конструкциям (например, стенам, дымовым трубам и т.п.) следует предусматривать только двойными стоячими фальцами высотой не менее 25 мм.
Необходимо герметизировать фальцы с помощью уплотнительных лент: на примыкании кровли к выступающим над нею конструкциям и разжелобку (в ендове), металлических листов карнизного свеса и настенного желоба (лотка), а также на кровле с уклоном менее 22°.
7.14 На крышах с уклоном более 35° стыки кровельных картин вдоль ската допускается предусматривать в виде углового стоячего фальца.
При уклонах кровли не менее 3% допускается применение алюминиевых кровельных листов с фальцевым соединением, имеющим водоотводящую канавку внутри стыка на всю длину листа.
7.15 Варианты конструктивных решений кровель из металлических листов приведены на рисунке И.1, совместимость металлических листовых материалов - в таблице И.1, а их физико-механические показатели - в таблице И.2 приложения И.
8 Кровли из железобетонных лотковых панелей
8.1 Кровли из железобетонных лотковых панелей предусматривают в зданиях с вентилируемым чердаком. В их состав входят кровельные железобетонные лотковые панели, железобетонные водосборные лотки (при внутреннем водоотводе) с водоизоляционным слоем из мастичных окрасочных составов (из холодной битумно-полимерной или полимерной мастики) и доборные элементы (фризовые панели, опорные столбики, балки и т.п.).
8.2 В местах пропуска вентиляционных блоков, труб и другого инженерного оборудования в железобетонных панелях должны быть предусмотрены отверстия с обрамлением, выступающим на высоту не менее 100 мм.
8.3 Вынос карнизов кровельных панелей при наружном водоотводе за грань наружной стены должен быть не менее 600 мм, а при внутреннем водоотводе - не менее 100 мм.
8.4 В опорных фризовых панелях стен должны быть предусмотрены вентиляционные отверстия, общую площадь которых в каждой из продольных стен принимают в соответствии с требованиями 4.5.
8.5 Стыки между кровельными панелями, водосборными лотками, а также стыки этих элементов с вентиляционными шахтами, торцовыми фризовыми панелями, стояками вытяжной вентиляции и т.д. должны располагаться выше основной водосливной поверхности кровельных панелей и водосборных лотков.
8.6 Водосборные лотки должны быть однопролетными. Не допускается пропускать через днище водосборных лотков стояки вытяжной вентиляции, стойки радио-, телеантенн и др.
8.7 В крышах с наружным неорганизованным водоотводом для конькового стыка между кровельными панелями предусматривают П-образные железобетонные нащельники, для стыка кровельных панелей и водосборных лотков с торцовыми фризовыми панелями - фартуки из оцинкованной стали с пристрелкой их дюбелями к фризовой панели и последующей установкой парапетной плитки, а в местах сопряжения кровельных панелей с вентиляционными шахтами - фартуки из оцинкованной кровельной стали с пристрелкой их дюбелями к вертикальной плоскости вентиляционных шахт и прокладкой между стенкой шахты и фартуком герметизирующей ленты.
8.8 Для сопряжения кровельных панелей со стояками вытяжной вентиляции могут быть предусмотрены металлические зонты из оцинкованной стали с обжимными кольцами.
9 Водоотвод с кровли и снегозадержание
9.1 Для удаления воды с кровель предусматривается внутренний или наружный (организованный и неорганизованный) водоотвод в соответствии с требованиями СП 54.13330, СП 56.13330, СП 118.13330 и других сводов правил по проектированию конкретных зданий и сооружений.
9.2 Водосточные воронки внутреннего организованного водоотвода должны располагаться равномерно по площади кровли на пониженных участках; на самом низком участке, при необходимости, предусматривают аварийный водоотвод сквозь стену (парапет) с помощью парапетной воронки. На каждом участке кровли, ограниченном стенами (парапетами), число воронок в зависимости от их пропускной способности и района строительства определяют по СП 30.13330 и СП 32.13330.
9.3 Величину выноса карниза от плоскости стены при неорганизованном водоотводе устанавливают в соответствии с требованиями СП 54.13330, СП 56.13330, СП 64.13330, СП 118.13330 и других сводов правил по проектированию конкретных зданий и сооружений, но не менее 100 мм.
9.4 Присоединение воронок, установленных по обеим сторонам деформационного шва, к одному стояку или общей подвесной линии предусматривают при условии обязательного устройства компенсационных стыков. Чаши водосточных воронок должны быть закреплены к плитам крыши и соединены со стояками внутреннего водостока через компенсаторы.
9.5 На крышах с холодным чердаком и в покрытиях с вентилируемыми воздушными каналами приемные патрубки водосточных воронок и охлаждаемые участки водостоков должны быть теплоизолированы и с возможностью обогрева.
9.6 В крышах с несущим настилом из листовых гофрированных профилей для установки водосточных воронок должны быть предусмотрены поддоны.
9.7 При наружном организованном отводе воды с кровли расстояние между водосточными трубами следует принимать не более 24 м, а площадь поперечного сечения (диаметр) водосточных труб - по расчету (приложение Л).
9.8 Соединение водоизоляционного ковра с воронкой предусматривают с помощью съемного или несъемного фланца либо интегрированного соединительного фартука, при этом последний должен быть совместимым с материалом водоизоляционного ковра.
9.9 Водостоки должны быть защищены от засорения листво- или гравиеуловителями, а на эксплуатируемых кровлях-террасах над воронками и лотками предусматривают съемные дренажные решетки или ревизионные колодцы. Для обеспечения устойчивости верхней части воронки на участках кровли, подверженной воздействию значительных вертикальных нагрузок (на паркингах, пожарных проездах), вокруг надставного элемента и трапа с решеткой предусматривают устройство ограждающего колодца со стенками из железобетона и установленного на дренажный мат.
9.10 В местах перепада высот (при каскадном водоотводе) на пониженных участках кровли следует предусматривать ее усиление защитными слоями в соответствии с 5.3.3 на ширину 1,5 - 2,0 м.
На перепадах высот кровли более 1,5 м неорганизованный сброс на нижележащий уровень не допускается.
9.11 На кровлях зданий с уклоном 5% (~ 3°) и более и наружным водостоком следует предусматривать снегозадерживающие устройства, которые должны быть закреплены в зависимости от типа кровли и крепления к фальцам кровли (не нарушая их целостности), обрешетке, прогонам или несущим конструкциям крыши. Снегозадерживающие устройства устанавливают на карнизном участке над несущей стеной (0,6 - 1,0 м от карнизного свеса), выше мансардных окон, а также, при необходимости, на других участках крыши. Снегозадерживающие устройства рассчитывают в зависимости от снеговой нагрузки в соответствии с СП 20.13330.2016 (раздел 10).
9.12 При применении линейных (трубчатых) снегозадержателей под ними предусматривают сплошную обрешетку. Расстояние между опорными кронштейнами определяют в зависимости от снеговой нагрузки в районе строительства и уклона кровли.
При применении локальных снегозадерживающих элементов схема их расположения зависит от типа и уклона кровли.
9.13 Для предотвращения образования ледяных пробок и сосулек в водосточной системе кровли, а также скопления снега и наледей в водоотводящих желобах и на карнизном участке следует предусматривать установку на кровле системы противообледенения.
На кровле зданий высотой менее 5 м допускается не предусматривать установку системы противообледенения при условии ориентации ската кровли в сторону, исключающую нахождение людей в зоне возможного падения снега и наледей.
9.14 Высота примыкания кровли у дверей выхода на покрытие (крышу) должна быть не менее 150 мм от поверхности водоизоляционного ковра, защитных слоев или грунта озелененной кровли.
На эксплуатируемых и озелененных кровлях допускается уменьшать указанное значение при условии предохранения помещений от попадания осадков, например с помощью устройства водоотводящего лотка с защитной решеткой у примыкания к дверному проему.
Приложение А
Свойства элементов вентилируемых стропильных и совмещенных крыш зданий и сооружений
А.1 Показатели подкровельных пленок приведены в таблице А.1.
Таблица А.1
|
Наименование показателя, единица измерения |
Диффузионная ветроводозащитная пленка, укладываемая по утеплителю с одним вентиляционным зазором |
Водозащитная (антиконденсатная) пленка, укладываемая с образованием двух вентиляционных зазоров |
|
1 Плотность потока водяного пара по ГОСТ 32318, г/м2 за 24 ч, или |
Не менее 300 |
- |
|
Эквивалентная толщина диффузии водяного пара Sd, м, по ГОСТ 32318 |
Не менее 0,03 |
- |
|
2 Свойства при растяжении: максимальное усилие при растяжении, Н/5 см (по ГОСТ 2678, ГОСТ Р 58913) |
Не менее 115 |
Не менее 200 |
|
3 Водонепроницаемость (по ГОСТ Р 58913) |
Класс W1 |
Класс W1 |
|
4 Стойкость к искусственному старению (по ГОСТ Р 58913) |
Изменение максимального усилия при растяжении должно быть не более 15% от нормируемых показателей после воздействия ультрафиолетовых лучей и тепла |
Изменение максимального усилия при растяжении должно быть не более 15% от нормируемых показателей после воздействия ультрафиолетовых лучей и тепла |
А.2 Высота вентиляционного канала в крышах стропильной конструкции приведена в таблице А.2.
Таблица А.2
|
Длина ската крыши, м |
Высота канала, мм, в крышах с уклоном, % (град) | ||||
|
18 (10) |
27 (15) |
36 (20) |
47 (25) |
56 (30) | |
|
5 |
50 |
50 |
50 |
50 |
50 |
|
10 |
80 |
60 |
50 |
50 |
50 |
|
15 |
100 |
80 |
60 |
50 |
50 |
|
20 |
100 |
100 |
80 |
60 |
50 |
|
25 |
100 |
100 |
100 |
80 |
60 |
А.3 Осушающая способность системы вентилируемых каналов и число аэрационных патрубков в совмещенной крыше зданий и сооружений
А.3.1 Количество влаги, г/м2, удаляемой из утеплителя через вентилируемые каналы за период со среднемесячными температурами выше 0 °C, определяют по формуле
, (А.1)
где f - площадь сечения канала, м2;
N - число вентилируемых каналов на участке крыши или на всей крыше;
n - число месяцев со средней температурой наружного воздуха ti> 0 °C;
B2i - влагосодержание воздуха, выходящего из каналов, при температуре ti, г/м3, определяют по формуле (А.2);
B1i - фактическое влагосодержание воздуха, входящего в каналы при температуре ti и средней за этот месяц относительной влажности наружного воздуха, г/м3, определяют по формуле (А.5);
τi - длительность месяца, с;
vi - - средняя за месяц скорость движения воздуха в каналах, м/с;
F - площадь крыши или ее участка, м2.
Влагосодержание воздуха, выходящего из каналов, определяют по формуле
, (А.2)
где Eк - парциальное давление насыщенного водяного пара на выходе воздуха из каналов, Па, определяется по tкс [9, таблицы С.1 и С.2];
tкс - температура воздуха на выходе из каналов, °C, определяемая по формуле
, (А.3)
здесь tв - температура воздуха помещения, °C;
kв, kн - коэффициенты теплопередачи частей крыши ниже центра сечения канала и выше него, Вт/(м2·°C);
tнс - среднемесячная температура наружного воздуха с учетом солнечной радиации, определяемая с учетом прозрачности атмосферы:
, (А.4)
здесь tн - среднемесячная температура наружного воздуха, °C (СП 131.13330.2020, таблица 5.1);
ρ - коэффициент поглощения теплоты (для крупнозернистой посыпки верхнего слоя кровельного ковра ρ = 0,75);
Jрад - среднемесячное значение солнечной радиации, Вт/м2 (СП 131.13330.2020, таблица 8.1);
ψ - коэффициент прозрачности атмосферы (для городской застройки принимают ψ = 0,7);
αн - коэффициент теплоотдачи [принимают αн = 23 Вт/(м2·ºС)].
, (А.5)
где eн - упругость водяного пара наружного воздуха, средняя за данный месяц, Па.
А.3.2 В качестве примера расчета приведено определение осушающей способности вентилируемых и диффузионных каналов в конструкции ремонтируемой крыши.
Здание имеет размеры в плане 36 x 144 м, высота до вентиляционных отверстий 10 м. Выступающие над кровлей части здания отсутствуют. При ширине здания 36 м длина скатов с уклоном 1,5% составляет 18 м. Параметры внутреннего микроклимата: tв = 18 °C; φ = 60% - для зимних условий и tв = 20 °C; φ = 60% - для летних.
Обследованием было установлено, что весовая влажность пенобетона с начальной плотностью ~ 400 кг/м3 на некоторых участках крыши составляет 22%, 30% и 40% при нормативном значении 12%.
Влагосодержание слоя пенобетона толщиной 100 мм при весовой влажности φ = 22% составляет 400·0,1·0,22 = 8,8 кг/м2, при этом допустимое влагосодержание (при ω = 12%) - 4,8 кг/м2. Следовательно, количество сверхнормативной влаги составит 8,8 - 4,8 = 4 кг/м2, при влажности пенобетона 30% - 7,2 кг/м2, а при влажности пенобетона 40% - 11,2 кг/м2.
Было принято решение снять старый водоизоляционный ковер, выполнить ремонт стяжки, дополнительно утеплить крышу двумя слоями минераловатных плит, раздвинуть плиты с образованием вентилируемых каналов шириной 100 мм через 1,1 м и диффузионных каналов шириной 50 мм через 550 мм поперек скатов; поверх плит утеплителя следует уложить сборную стяжку из ЦСП толщиной δ = 12 мм или из хризотилцементных плоских листов толщиной δ = 12 мм (рисунки А.1 и А.2).
А.3.3 Возможны два варианта конструктивных решений для сушки увлажненного утеплителя.
Первый вариант (предпочтительный) заключается в устройстве вентилируемых каналов в теплоизоляционном слое по всей поверхности крыши (рисунок А.2) и сообщением их с наружным воздухом через козырек над парапетами продольных стен (рисунок А.3). В данном случае под воздействием ветра в каналах происходят движение воздуха и сушка утеплителя.
Второй вариант - установить над частью вентилируемых и диффузионных каналов кровельные аэраторы с внутренним диаметром патрубков 100 мм.

1 - новый водоизоляционный ковер; 2 - сборная стяжка из ЦСП или хризотилцементных плоских листов; 3 – минераловатные плиты; 4 - вентилируемые каналы; 5 - существующая стяжка из цементно-песчаного раствора; 6 - увлажненный пенобетон
Рисунок А.1 - Вентилируемые каналы через 1,1 м (в осях)

1 - вентилируемый канал; 2 - диффузионные каналы; 3 - движение влаги
Рисунок А.2 - Расчетная схема вентиляции каналов и диффузии водяного пара

1 - парапет; 2 - козырек; 3 - вентилируемая воздушная прослойка или канал; 4 - верхняя часть крыши; 5 – нижняя часть крыши; 6 - стена; 7 - направления движения воздуха
Рисунок А.3 - Схема устройства парапетного узла вентилируемой крыши
Скорость движения воздуха в канале для каждого из n месяцев определяют по формуле
, (А.6)
где V̅Θi - средневзвешенная скорость ветра, м/с, на высоте 10 м для каждого летнего месяца; для данного расчета была принята V̅Θi= 3,4 м/с;
k1, k2 - аэродинамические коэффициенты на входе в канал и выходе из него приведены в таблице А.3. Для данного примера k1 - k2 = 0,3.
Если высота здания больше или меньше 10 м, скорость движения воздуха в канале определяют с учетом изменения скорости ветра V̅'Θi по высоте по формуле
, (А.6а)
здесь V̅'Θi - средневзвешенная скорость ветра, м/с, на высоте меньше или больше 10 м для каждого летнего месяца;
H - высота до входа в отверстие вентиляционного канала, м.
Таблица А.3
|
Направление ветра, град |
Обозначение |
Аэродинамические коэффициенты при | |||||
|
3 |
6 | ||||||
|
L/H0 |
L/H0 | ||||||
|
1 |
2 |
3 |
4 |
6 |
8 | ||
|
90° |
k1 |
+0,6 |
+0,6 |
+0,6 |
+0,5 |
+0,5 |
+0,5 |
|
k2 |
-0,6 |
-0,2 |
-0,15 |
-0,15 |
-0,1 |
-0,05 | |
|
45° |
k1 |
+0,2 |
+0,2 |
+0,2 |
+0,2 |
+0,2 |
+0,2 |
|
k2 |
-0,8 |
-0,6 |
-0,3 |
-0,1 |
-0,1 |
-0,1 | |
|
S - длина зданий, м; H0 - высота здания от уровня земли до верха козырька, м; L - ширина здания, длина вентилируемого канала, м. | |||||||
L - длина вентилируемого канала, м;
Л - коэффициент сопротивления трению, определяется по формуле
, (А.7)
где Δ - приведенная шероховатость стенок канала;
, (А.8)
здесь Δ1 и Δ2 - абсолютная шероховатость материала стенок канала, принимаемая по таблице А.4;
Таблица А.4 - Абсолютная шероховатость основных материалов, используемых в вентилируемых крышах
|
Типы поверхностей |
Абсолютная шероховатость Δj, мм |
|
Хризотилцементные, ЦСП |
0,6 |
|
Деревянные остроганные |
0,3 |
|
Деревянные неостроганные |
2,0 |
|
Бетонные из необработанного бетона |
0,3 |
|
Шлакобетонные, опилко-алебастровые и т.д. |
1,5 |
|
Из штучных изделий (блоков, плит, кирпичей) без заполнения швов |
10,0 |
|
Из штучных теплоизоляционных изделий с заполнением швов |
6,0 |
d - эквивалентный диаметр канала, м; для канала прямоугольного сечения со сторонами a и b определяют по формуле
. (А.9)
При сечении канала с a = 0,1 м и b = 0,05 м получают d = 0,067 м.
Для данного примера расчета
.
Тогда
.
∑ξ - сумма местных сопротивлений. Для данного примера ∑ξ = 36 1.
--------------------------------
1 Идельчик И.Е. Справочник по гидравлическим сопротивлениям - М.: Машиностроение, 1992.
Средняя скорость движения воздуха в вентилируемом канале за летний период, рассчитанная по формуле (А.6), составит 0,23 м/с.
Результаты расчетов количества влаги q, г/м2, удаляемой из утеплителя через вентилируемые каналы за один летний сезон, приведены в таблице А.5.
Таблица А.5
|
Наименование |
Апрель |
Май |
Июнь |
Июль |
Август |
Сентябрь |
Октябрь |
|
tн,°C |
4,4 |
11,9 |
16,0 |
18,1 |
16,3 |
10,7 |
4,3 |
|
φн, % |
66 |
58 |
59 |
63 |
68 |
73 |
78 |
|
eн, Па |
552 |
813 |
1066 |
1293 |
1266 |
933 |
653 |
|
B1, г/м3 |
4,3 |
6,2 |
8,0 |
9,6 |
9,5 |
7,1 |
5,1 |
|
Jрад, Вт/м2 |
232 |
322 |
343 |
333 |
261 |
174 |
84 |
|
tкс, °C |
10,5 |
20,3 |
24,9 |
26,8 |
23,1 |
15,2 |
6,5 |
|
Eк, Па |
1321 |
2381 |
3093 |
3421 |
2792 |
1761 |
1029 |
|
B2, г/м3 |
10,1 |
17,6 |
25,6 |
24,8 |
20,5 |
13,2 |
8,0 |
|
q, г/м2 |
455 |
925 |
1146 |
1234 |
893 |
479 |
236 |
|
∑q = 5368 г/м2 | |||||||
Необходимо рассчитать время T, необходимое для сушки увлажненного утеплителя с учетом существующей влажности утеплителя и возможной технологической влаги при укладке теплоизоляции. Для этого в качестве источника увлажнения принимают 20-минутный дождь интенсивностью Q20 с вероятностью максимальной интенсивности 50%, учитывая относительно небольшую площадь крыши и соотношение сторон здания в плане. Так, например, при Q20 = 80 л/(с·га) дополнительное увлажнение утеплителя может составить 0,5·0,12·80 = 4,8 кг/м2.
Время T в летних сезонах с учетом воздействия солнечной радиации, в течение которого весовая влажность пенобетона и минераловатного утеплителя достигнут нормативного значения, составит:
- при ωпен = 22% T = (4 + 4,8)/5,368 ≈ 1,6 летних сезона;
- при ωпен = 30% T = (7,2 + 4,8)/5,368 ≈ 2,2 летнего сезона;
- при ωпен = 40% T = (11,2 + 4,8)/5,368 ≈ 3,0 летнего сезона.
Второй вариант
При отсутствии возможности выполнения парапета по схеме, приведенной на рисунке А.3, над местами пересечения вентилируемых и диффузионных каналов устанавливают кровельные аэраторы, требуемое число и диаметры которых определяются расчетом. На рисунке А.4 и А.5 показаны план кровли рассматриваемого здания и пример установки аэраторов.
На участке крыши площадью 930,6 м2 предварительно устанавливают 10 аэраторов диаметром 100 мм из условия действия одного аэратора на площади 80 - 90 м2, а на всей площади крыши, равной 5184 м2, - 56 аэраторов.

1 - ендова; 2 - конек; 3 - аэраторы
Рисунок А.4 - План расположения аэраторов диаметром 100 мм
Для крыши здания размером в плане не более 48 x 144 м и высотой 10 м на базе 6 - 18 м как вдоль, так и поперек линии конька в патрубках аэраторов одинакового диаметра при всех направлениях ветра скоростью 2 - 5 м/с возникает разность давлений ΔP, составляющая 0,12 - 0,14 кгс/м2, в результате чего в вентилируемых каналах происходит движение воздуха. В этом случае скорость движения воздуха в канале определяют по формуле (А.10). При высоте здания больше или меньше 10 м скорость движения воздуха в канале определяется по формуле (А.6) с учетом изменения скорости ветра V̅'Θi по высоте [формула (А.6а)].

1 - герметик; 2 - дополнительный водоизоляционный ковер; 3 - основной водоизоляционный ковер; 4 – сборная стяжка из ЦСП или хризотилцементных плоских листов; 5 - минераловатные плиты; 6 - монолитная существующая стяжка; 7 - увлажненный пенобетон; 8 – железобетонная несущая плита; 9 - вентилируемый канал; 10 – аэратор диаметром 100 мм
Рисунок А.5 - Пример установки кровельного аэратора (вентиляционного патрубка) диаметром 100 мм
Скорость движения воздуха в каналах между двумя аэраторами определяют по формуле
, (А.10)
где Yср - объемная плотность воздуха, кг/м3, определяемая по формуле
,
здесь tк - температура в канале, °C, определяемая по формуле
;
g - ускорение силы тяжести, равное 9,81 м/с2.
При подстановке исходных данных в формулу (А.10) скорость движения воздуха в вентилируемых каналах составит 0,11 м/с, а количество влаги, удаляемой из утеплителя за один летний сезон, приведено в таблице А.6.
Таблица А.6
|
Наименование |
Апрель |
Май |
Июнь |
Июль |
Август |
Сентябрь |
Октябрь |
|
tн,°C |
4,4 |
11,9 |
16,0 |
18,1 |
16,3 |
10,7 |
4,3 |
|
φн, % |
66 |
58 |
59 |
63 |
68 |
73 |
78 |
|
eн, Па |
552 |
813 |
1066 |
1293 |
1266 |
933 |
653 |
|
B1, г/м3 |
4,3 |
6,2 |
8,0 |
9,6 |
9,5 |
7,1 |
5,1 |
|
Jрад, Вт/м2 |
232 |
322 |
343 |
333 |
261 |
174 |
84 |
|
tкс, °C |
10,5 |
20,3 |
24,9 |
26,8 |
23,1 |
15,2 |
6,5 |
|
Eк, Па |
1321 |
2381 |
3093 |
3421 |
2792 |
1761 |
1029 |
|
B2, г/м3 |
10,1 |
17,6 |
25,6 |
24,8 |
20,5 |
13,2 |
8,0 |
|
q, г/м2 |
227 |
463 |
573 |
632 |
432 |
239 |
118 |
|
∑q = 2684 г/м2 | |||||||
Так как скорость движения воздуха в вентилируемых каналах и количество удаляемой влаги из утеплителя за летний сезон в два раза меньше, чем в предыдущем конструктивном решении (рисунок А.3 и таблица А.3), то время сушки T в летних сезонах составит:
- при ωпен = 22% T = (4 + 4,8)/2,684 ≈ 3,3 летнего сезона;
- при ωпен = 30% T = (7,2 + 4,8)/2,684 ≈ 4,5 летнего сезона;
- при ωпен = 40% T = (11,2 + 4,8)/2,684 ≈ 6,0 летнего сезона.
В первые зимние месяцы сушки происходят активное перемещение влаги из пенобетона в толщу минераловатных плит и перераспределение влагосодержания утеплителей по площади крыши. При недостаточных или неправильно выполненных нахлестках рулонных пароизоляционных материалов и некачественной герметизации стыков несущих плит или профнастила кратковременные протечки могут появиться там, где их не было до начала сушки. Во второй зимний период сушки эти протечки уже не возникают.
Приложение Б
Конструкции водоизоляционного ковра из рулонных и мастичных материалов
Характеристики водоизоляционных ковров из наплавляемых и полимерных рулонных материалов, рулонных материалов, наклеиваемых на мастиках, а также из битумосодержащих мастичных материалов приведены в таблицах Б.1 - Б.3.
Таблица Б.1 - Водоизоляционный ковер из наплавляемых (ГОСТ 32805) и полимерных (ГОСТ Р 57417) рулонных материалов
|
Рулонный материал и его показатели |
Число слоев в основном водоизоляционном ковре при уклоне кровли, % |
Число слоев в дополнительном водоизоляционном ковре |
Защитный слой | ||
|
От 0,5 до 1,5 |
1,5 и более |
Парапет (стена) и т.п. |
Конек, ендова (воронка) | ||
|
Битумосодержащий наплавляемый с гибкостью при температуре от 0 °C до 5 °C и теплостойкостью в соответствии с 5.1.26 |
4 |
3 |
2 |
1 |
Из гравия, наклеенного на мастике, - в соответствии с 5.2.2 либо из крупнозернистой посыпки или металлической фольги на верхнем слое рулонного материала; для эксплуатируемых кровель - в соответствии с 5.3.3 |
|
Битумосодержащий наплавляемый с гибкостью при температуре минус 15 °C - 0 °C и теплостойкостью в соответствии с 5.1.26 |
3 |
2 * - 3 |
2 |
1 | |
|
Битумно-полимерный наплавляемый с гибкостью при температуре не выше минус 15 °C и теплостойкостью в соответствии с 5.1.26 |
2 ** |
1 *** - 2 ** |
1 ** - 2 |
1 | |
|
Эластомерный вулканизованный или термопластичный с гибкостью при температуре не выше минус 40 °C и минус 20 °C соответственно, свободно уложенный на основание под кровлю с пригрузом или механическим креплением |
1 |
1 |
1 |
- |
Пригруз из гравия или бетонных плиток; для эксплуатируемых кровель - защитный слой в соответствии с 5.3.2 |
|
* При суммарной прочности на разрыв двухслойного ковра не менее 900/700 (Н/5 см). ** В двухслойном водоизоляционном ковре допускается нижний слой закреплять механическим способом при применении материала с относительным удлинением не менее 30%, прочностью вдоль/поперек полотна не менее 600/600 (Н/5 см) по ГОСТ 31899-1 и сопротивлением раздиру стержнем гвоздя не менее 200 Н по ГОСТ 31898-1. *** При применении приклеиваемого или закрепляемого механическим способом материала толщиной не менее 5 мм с относительным удлинением не менее 30% и прочностью вдоль/поперек полотна не менее 900/700 (Н/5 см) по ГОСТ 31899-1 и сопротивлением раздиру стержнем гвоздя не менее 240 Н по ГОСТ 31898-1. Примечание - Не допускается применение битумосодержащих наплавляемых рулонных материалов с армирующей основой из стеклохолста для нижнего слоя водоизоляционного ковра по выравнивающим стяжкам и сборным железобетонным плитам. | |||||
Таблица Б.2 - Водоизоляционный ковер из рулонных материалов, наклеиваемых на мастиках
|
Рулонный материал, приклеивающая мастика и ее показатели |
Число слоев в основном водозащитном ковре при уклоне кровли, % |
Число слоев в дополнительном водозащитном ковре |
Защитный слой | ||
|
Менее 1,5 |
1,5 и более |
Парапет (стена) и т.п. |
Конек, ендова (воронка) | ||
|
Рулонные материалы, наклеиваемые на холодных или горячих мастиках с гибкостью от 0 °C до 5 °C и теплостойкостью в соответствии с 5.1.26 |
4 |
3 |
2 |
2 |
Из гравия, наклеенного на мастике, - в соответствии с 5.2.2 либо из крупнозернистой посыпки или металлической фольги на верхнем слое рулонного материала; для эксплуатируемых кровель - в соответствии с 5.3.3 |
|
Рулонные материалы, наклеиваемые на холодных или горячих мастиках с гибкостью при температуре от минус 15 °C до 0 °C и теплостойкостью в соответствии с 5.1.26 |
3 |
2 * - 3 |
2 |
1 | |
|
Рулонные материалы, наклеиваемые на холодных или горячих мастиках с гибкостью при температуре не выше минус 15 °C и теплостойкостью в соответствии с 5.1.26 |
2 |
1 ** - 2 |
1 ** - 2 |
1 | |
|
Эластомерный вулканизованный или термопластичный с гибкостью при температурах не выше минус 40 °C и минус 20 °C соответственно, наклеиваемый на полимерной или горячей мастиках соответственно (для термопластичных рулонных материалов с дублирующим слоем из стеклохолста или полиэстера) |
1 |
1 |
1 |
- |
- |
|
* При суммарной прочности на разрыв двухслойного ковра не менее 900/700 (Н/5 см). ** При применении материала толщиной не менее 5 мм с относительным удлинением не менее 30% и прочностью вдоль/поперек полотна не менее 900/700 (Н/5 см) по ГОСТ 31899-1 и сопротивлением раздиру стержнем гвоздя не менее 240 Н по ГОСТ 31898-1. Примечание - Не допускается применение битумосодержащих наклеиваемых рулонных материалов с армирующей основой из стеклохолста для нижнего слоя водоизоляционного ковра по выравнивающим стяжкам и сборным железобетонным плитам. | |||||
Таблица Б.3 - Водоизоляционный ковер из битумосодержащих мастичных материалов (ГОСТ 30693)
|
Горячая или холодная мастика и ее показатели |
Число слоев мастик (в скобках - армирующих прокладок) в основном водоизоляционном ковре - в числителе и минимальная толщина ковра из горячих (в скобках - холодных) мастик - в знаменателе при уклоне кровли, % |
Число слоев мастик (в скобках - армирующих прокладок) в дополнительном водоизоляционном ковре - в числителе и минимальная толщина ковра из горячих (в скобках - холодных) мастик - в знаменателе |
Защитный слой | ||
|
Менее 1,5 |
1,5 и более |
Парапет (стена) и т.п. |
Конек, ендова (воронка) | ||
|
Мастика с гибкостью при температуре от минус 15 °C до минус 5 °C и теплостойкостью в соответствии с 5.1.26 |
4 (3) ------ 8 (6) |
2 (2) ------ 4 (3) |
1 (1) --------- 2 (1,5) |
Из гравия, наклеенного на мастиках, или из окрасочного состава в соответствии с 5.2.2; для эксплуатируемых кровель - в соответствии с 5.3.3 | |
|
Мастика с гибкостью при температуре не выше минус 15 °C и теплостойкостью в соответствии с 5.1.26 |
3 (2) -------- 6 (4,5) |
2 (2) ------- 4 (3) |
1 (1) --------- 2 (1,5) | ||
Приложение В
Расчет водоизоляционного ковра на ветровые нагрузки
В.1 Расчет водоизоляционного ковра на ветровые нагрузки зависит от способов его укладки (рисунок В.1), к которым относятся: сплошная приклейка всех слоев ковра; частичная (точечная или полосовая 25% - 35%-ная) приклейка; механическое крепление нижнего слоя ковра в местах нахлестов полотнищ рулонного материала; свободная укладка ковра с пригрузом.

1 - теплоизоляция; 2 - сплошная приклейка; 3 - ковер; 4 - выравнивающая стяжка; 5 - частичная приклейка ковра; 6 - свободно уложенный ковер; 7 - предохранительный слой; 8 и 9 - пригруз из гравия или бетонных плиток (монолитный цементно-песчаный раствор, асфальтобетон); 10 – механически закрепленный ковер; 11 - крепежный элемент с шайбой; 12 - приклейка (сварка) продольных кромок рулонных материалов; 13 - профилированный настил; 14 – сборная стяжка; 15 - пароизоляция
Рисунок В.1 - Способы укладки водоизоляционного ковра
В.2 Самым надежным способом крепления водоизоляционного ковра является сплошная приклейка его по всей поверхности плотного (малопористого) основания под кровлю (например, из асфальтобетона, цементно-песчаного раствора или бетона и т.п.). Однако и в этом случае ветровая нагрузка W, Па, определяемая по СП 20.13330, не должна превышать значения прочности сцепления ковра с основанием и между слоями Q, Па, т.е. должно выполняться условие
W
Если при наклейке кровельного материала на волокнистое основание отрыв происходит по волокнистому материалу (когезионный разрыв), то ветровая нагрузка в этом случае не должна быть больше напряжения растяжения P, Па, волокнистого материала
W
8.3 При точечной или полосовой 25% - 35%-ной наклейке должны соблюдаться следующие условия:
, т.е. W <0,25Q; (В.3)
, т.е. W <0,25P. (В.4)
В.4 При свободной укладке водоизоляционного ковра (с проклейкой швов) с пригрузом последний принимают таким, чтобы распределенная поверхностная нагрузка от него Pп, Па, превышала значение ветровой нагрузки
W <Pп. (В.5)

b - ширина полотнищ рулонного материала; H - распор; h - высота подъема кровельного ковра; lk – расстояние между крепежными элементами; N - продольное усилие; q - распределенная ветровая нагрузка, Н/м; C, K, L, M, O - точки
Рисунок В.2 - План участка водоизоляционного ковра (а) и схема деформирования ковра (б и в)
В.5 На рисунке В.2 показан план крыши, над водоизоляционным ковром которой создается отрицательное давление, т.е. подъемная сила, приводящая к деформированию ковра.
Приняв ковер в сечении в виде нити шириной 50 мм, закрепленной по концам и нагруженной распределенной ветровой нагрузкой q (см. рисунок В.2), получают, что продольное усилие N состоит из распора H (горизонтальная составляющая) и поперечной силы Q (вертикальная составляющая) и равно
(В.6)
Высоту подъема кривой равновесия нити определяют из прямоугольного треугольника KOC (рисунок В.2), принимая KC = KO + Δl, где KO = 0,5 м, а Δl - удлинение рулонного материала при нагревании в летний период, равное 0,01 м, исходя из показателя относительного удлинения, равного 2%.
Тогда
м, а формулы (В.6) и (В.7) примут следующий вид:
; (В.7)
. (В.8)
Значение нагрузки, действующей на водоизоляционный ковер и крепежный элемент на базе lk (рисунок В.2), равной произведению продольного усилия N в гибкой полоске (нити) на lk, должна быть не более прочности рулонного материала Fкр (Н/5 см), т.е. должно выполняться условие Nlk ≤ Fкр, тогда
. (В.9)
В.6 Рулонный материал в ковре закрепляют точечно, что также влияет на его показатель прочности. Поэтому формула (В.9) для определения шага крепежных элементов lk, м, примет следующий вид:
, (В.10)
где Fразд - сопротивление рулонного материала раздиру стержнем крепежного элемента, Н.
Значение W, Н/м2, определяют для каждого участка кровли согласно СП 20.13330.2016 (приложение В).
В.7 Шаг крепежных элементов, определяемый расчетом, должен быть в пределах 150 - 350 мм; при большем значении расчетного шага его принимают равным 350 мм.
При шаге менее 150 мм кровельный материал дополнительно крепят по его центральной оси, закрывая крепежные элементы полосой рулонного материала и приваривая ее по кромкам или приклеивая к основному водоизоляционному ковру. Допускается применять рулонный материал шириной более 1,0 м (например, ПВХ-мембрану шириной 2 м), который, при необходимости, также дополнительно крепят по центральной оси.
В двухслойном водоизоляционном ковре из битуминозных рулонных материалов с механическим креплением нижнего слоя шаг крепежных элементов рассчитывают, как для однослойной кровли. Крепежный элемент допускается устанавливать как в нахлестах рулонных материалов, так и на поверхности нижнего слоя ковра.
Приложение Г
Кровли из рулонных и мастичных материалов
Г.1 Конструктивные решения неэксплуатируемых кровель приведены на рисунке Г.1

1 - металлический листовой гофрированный профиль; 2 - пароизоляция; 3 - теплоизоляционные плиты из минеральной ваты (ГОСТ 9573, ГОСТ 32314) или стекловолокна (ГОСТ 10499) с прочностью на сжатие при 10%-ной линейной деформации не менее 40 кПа; 3а - плиты из пенополистирола (ГОСТ 15588) или минеральной ваты с прочностью на сжатие при 10%-ной линейной деформации не менее 100 или 60 кПа соответственно; 4 - крепежный элемент; 5 - грунтовка; 6 – водоизоляционный ковер (см. приложение Б); 7 - сборная стяжка из прессованных хризотилцементных плоских листов (ГОСТ 18124) или цементно-стружечных плит (ГОСТ 26816); 7а – сплошной настил из досок (ГОСТ 8486), водостойкой фанеры (ГОСТ 3916.2) или ОСП-3, ОСП-4; 8 – теплоизоляция из пенополиуретановых плит с деревянными вкладышами; 9 - слой битума; 10 - водоизоляционный ковер из полимерных (эластомерных или термопластичных) рулонных материалов; 11 - теплоизоляция из пеностекла; 12 - плитный утеплитель; 13 - контробрешетка; 14 - обрешетка; 15 - стропило; 16 - каркас под обшивку; 16а - деревянный брус; 17 - внутренняя обшивка; 18 - диффузионная ветроводозащитная пленка; 19 - водозащитная пленка; 20 - двухканальный зазор; 21 - монолитная выравнивающая стяжка из цементно-песчаного раствора (ГОСТ 28013, ГОСТ 31357), мелкозернистого бетона (ГОСТ 26633) или асфальтобетона (ГОСТ 31015); 22 - разделительный слой; 23 - монолитный утеплитель (например, полистиролбетон по ГОСТ 33929 или легкий бетон по ГОСТ 25820); 24 - одноканальный зазор; 25 - сборные или монолитные плиты
Рисунок Г.1 - Неэксплуатируемые кровли с несущими волнистыми листами, металлическими листовыми профилями и деревянными стропилами (а) и монолитными или сборными несущими железобетонными плитами (б)
Г.2 Конструктивные решения эксплуатируемых, инверсионных и озелененных кровель приведены на рисунке Г.2.



1 - сборные или монолитные железобетонные плиты; 2 - выравнивающая стяжка из цементно-песчаного раствора или слой литого асфальтобетона; 3 - пароизоляция; 4 - уклонообразующий слой, в том числе из подсыпки с применением песка или мелкофракционного теплоизоляционного материала фракцией 5 - 10 мм по ГОСТ 32496; 5 - теплоизоляция; 6 - разделительный слой; 7 - цементно-песчаная стяжка; 8 - водоизоляционный ковер; 9 - фильтрующий слой (нетканый геотекстиль); 10 - регулируемая опора; 11 - тротуарная плитка; 12 - гранитный щебень толщиной не менее 150 мм; 13 - бетонная, гранитная плитка или брусчатка; 14 - цементно-песчаная смесь; 15 - асфальтобетон; 16 - армированная бетонная плита; 17 – предохранительный слой, например из геотекстиля с прочностью при статическом продавливании не менее 1300 Н (ГОСТ Р 56335); 18 - армированная цементно-песчаная стяжка; 19 - гравийный слой; 20 - противокорневая пленка; 21 - дренажно-водонакопительная мембрана; 22 – почвенный слой; 23 - растительный слой; 24 - влагонакопительный мат или дренажно-удерживающий элемент (для кровли с уклоном более 3%); 25 - экструзионный пенополистирол (ГОСТ 32310); 26 - дренажный слой (мат); 27 - средний или крупный песок или гранитный отсев фракцией 2 - 5 мм толщиной 30 - 50 мм; 28 - резиновое покрытие; 29 - террасная доска; 30 – лаги для террасной доски; 31 - засыпка между регулируемыми опорами гранитным щебнем фракции 20 - 40 мм толщиной не менее 50 мм; 32 - керамзитовый гравий по уклону
Рисунок Г.2 - Эксплуатируемые (а), инверсионные (б) и озелененные (в) кровли
Г.3 Техническая характеристика материалов
Г.3.1 Фильтрующий слой (нетканый геотекстиль): толщина - 1 мм; поверхностная плотность - 150 г/м2; прочность при статическом продавливании - не менее 2025 Н; прочность при растяжении - не менее 500 Н/5 см; водопроницаемость - не менее 50 л/(м2·с).
Г.3.2 Дренажная водонакопительная мембрана: высота - не менее 25 мм; толщина - не менее 2,1 мм; поверхностная плотность - не менее 1700 г/м2; водонакопление - не менее 3 л/м2; прочность на сжатие - не менее 250 кН/м2.
Г.3.3 Влагонакопительный мат: геотекстиль толщиной не менее 5 мм; поверхностная плотность - не менее 470 г/м2; водонакопление - не менее 5 л/м2; прочности при статическом продавливании - не менее 2000 Н. Влагонакопительный мат не допускается применять в инверсионной кровле и по бетонной или цементно-песчаной стяжке, уложенной по водоизоляционному ковру.
Г.3.4 Противокорневая пленка: толщина - не менее 350 мкн; поверхностная плотность - не менее 300 г/м2; прочность при растяжении - не менее 40 Н/мм2; относительное удлинение при разрыве - не менее 400%.
Приложение Д
Элементы озеленения кровли и объектов благоустройства
Д.1 В качестве субстрата для растений на кровле используют специально подготовленную смесь органических и минеральных компонентов, свободных от сорняков, вредителей и болезнетворных микроорганизмов, которая должна обладать следующими свойствами: химическая нейтральность и инертность, легкая механическая структура, высокий коэффициент влагоудержания, высокая степень аэрируемости. Она должна содержать оптимальное количество основных элементов питания, необходимых для успешного роста и развития растений, обладать высокой дренирующей способностью, содержать органические вещества низкой степени разложения, не иметь в своем составе мелкодисперсных частиц.
Субстрат должен быть также достаточно плодородным, т.е. содержать в 20 г не менее 6 мг легкогидролизуемого (доступного) растениям азота и не менее чем по 10 мг фосфорного ангидрида (P2O5) и окиси калия (K2O).
Плодородие субстрата повышают введением в него минеральных и органических удобрений и добавок (песка, торфа, керамзита, перлита и т.п.).
Д.2 Используемые для субстрата компоненты должны удовлетворять следующим требованиям:
- они должны быть инертны, не изменять химический состав почвенного раствора и не оказывать токсическое действие на растения;
- соотношение воды и воздуха в почвенном субстрате при поливе должно быть благоприятным для нормальной жизнедеятельности растений, что достигается соответствующими размерами частиц субстрата. Оптимальными считаются частицы диаметром 3 - 6 мм, допускается наличие частиц до 1 см;
- почвенный субстрат должен обладать достаточной механической прочностью и долговечностью в сочетании с небольшим объемным весом.
Д.3 Важное значение имеет кислотность почв, которую определяют по шкале pH:
|
- сильно кислые |
почвы |
ниже 4; |
|
- средне кислые |
" |
4,1 - 4,5; |
|
- слабокислые |
" |
4,6 - 5,2; |
|
- нейтральные |
" |
6,7 - 7,4; |
|
- щелочные |
" |
7,5 и более. |
Следует избегать применения удобрений, имеющих щелочную реакцию, чтобы избежать негативного воздействия на кровлю.
Д.4 Мощность субстрата, рекомендованная для различных типов растительности: почвопокровные (очитки, седумы) - не менее 7 см; цветы (однолетние, многолетние) - не менее 15 см; газон - не менее 20 см; кустарники - не менее 30 см; деревья - не менее 70 см.
Д.5 На кровле кроме зеленых насаждений устраивают пешеходные дорожки и детские или спортивные площадки, зоны отдыха. Основной тип покрытия для дорожек и зоны отдыха - тротуарная плитка размерами 50 x 50 из бетона марки 400 с морозостойкостью не менее 300 циклов, а для детских и спортивных площадок - упругоэластичное бесшовное покрытие с шероховатой поверхностью (например, из резиновой крошки).
Д.6 Площадки отдыха взрослого населения на кровле должны устраиваться таким образом, чтобы была обеспечена возможность просмотра окрестностей через проемы в парапете ограждения. На них устанавливаются скамьи и столики, возможно устройство пергол, увитых вьющимися растениями. Столики и скамьи должны быть удалены от парапета на расстояние не менее 1,5 м, чтобы исключить возможность залезания детей на парапет ограждения. На детских площадках могут быть установлены малые архитектурные формы в соответствии с таблицей Д.1.
Таблица Д.1
|
Наименование малых архитектурных форм |
Материал |
Длина, м |
Ширина, м |
Высота, м |
|
Качели из труб |
Металл, сиденье деревянное |
1,50 |
1,50 |
1,66 |
|
Качалка |
Металл, дерево |
3,00 |
3,00 |
0,64 |
|
Лиана |
Дерево |
2,76 |
- |
1,83 |
|
Песочница |
Дерево |
1,47 |
1,47 |
0,18 |
|
Стол со скамьями |
Дерево |
2,00 |
1,40 |
0,82 |
|
Скамьи |
Металл, дерево |
2,08 |
0,80 |
0,80 |
В соответствии с пожеланиями заказчика набор малых архитектурных форм может быть скорректирован в сторону как уменьшения, так и расширения номенклатуры.
Д.7 Возможны следующие виды участков с растительностью на кровле:
- высадка неприхотливых растений типа седумов;
- установка клумб с однолетними и многолетними цветами;
- устройство газонов (посев семян газонных трав в подготовленный субстрат или использование рулонного газона);
- устройство садов с деревьями, кустарниками, декоративными водоемами и т.п.
Требования к посадочным материалам - по СП 82.13330.
В местах, где необходима повышенная мощность субстрата, по краям участка возводят подпорные стенки из легких материалов, устанавливая их на бетонную подготовку, выполняемую непосредственно на дренажном элементе.
Д.8 Все малые архитектурные формы, детские городки, столбики для ограждений, ванны для декоративных водоемов, столбы для освещения и другие элементы, требующие дополнительного крепления, монтируют на бетонной подготовке необходимых размеров и прочности с закладными, выполняемой непосредственно на дренажном элементе для обеспечения свободного водоотведения.
Д.9 Для озеленения кровель рекомендуется использовать древесные кустарники и деревья с плоскокомной корневой системой.
Д.10 Другая форма озеленения кровли - высаживание растений в емкостях-вазонах; возможно применение вертикального озеленения. Небольшие по размеру емкости с растениями удобны, легко перемещаются с одного места на другое, что позволяет создавать различные композиции из растений.
Д.11 Для отдельно стоящих малых архитектурных форм с грядками и газонами, расположенными непосредственно на эксплуатируемой кровле, можно применять широкие (1 - 2 м) длинные емкости глубиной 0,3 - 0,4 м. Для ампельных (со свисающими, стелющимися или ползучими стеблями) растений часть емкостей-цветочниц размещают на подставках высотой 0,3 - 0,4 м от поверхности. Емкости могут быть изготовлены из железобетона, бетона, хризотилцемента, полимерных материалов, керамики, дерева, пенопласта, а также из комбинации этих материалов.
Деревянные емкости (ящики, бочки и пр.) необходимо антисептировать и защищать с внутренней стороны водоизоляционным материалом с организацией отвода излишней воды.
Д.12 Рекомендуемый ассортимент растений для вертикального озеленения приведен в [8, таблица 13.1].
Д.13 Благоустройство на кровлях над подземными сооружениями (гаражей, объектов ГО и т.п.) входит в композицию прилегающих территорий, озеленение которых выполняют в соответствии с СП 82.13330.
Часть территории может быть использована под автостоянку, требующую усиленных несущих конструкций подземных сооружений, позволяющих применять дорожные плиты и укладку асфальта.
Д.14 Территория наземного сада должна быть ограничена высоким (высотой 0,5 м) ограждением для предотвращения заезда автотранспорта. Спортивные площадки должны быть ограждены сеткой высотой до 4 м.
Д.15 При выполнении детских и спортивных площадок на кровлях подземных сооружений на дренажный слой укладывают гранитный щебень фракций 2 - 20 мм слоями 3 - 4 мм до общей толщины 100 мм, при этом каждый слой проливают водой и укатывают, затем на щебень укладывают и утрамбовывают крупнозернистый песок, а на него - гранитный отсев фракцией до 5 мм толщиной 50 мм, который также укатывают с проливкой. Сверху выполняют спортивное покрытие или травмобезопасную детскую площадку.
Д.16 Устройство эксплуатируемых крыш с благоустройством и озеленением (скверы, дороги, стоянки автомобилей, клумбы, детские и спортивные площадки, тротуары и т.п.) необходимо выполнять в соответствии с ГОСТ Р 58875 и другими действующими нормативными документами и требованиями правил безопасности.
Приложение Е
Кровли из штучных материалов, волнистых листов и гофрированных листовых профилей
Е.1 Конструктивные решения кровель утепленной крыши приведены на рисунке Е.1.

1 - сборная или монолитная железобетонная плита; 2 - внутренняя обшивка; 3 - пароизоляция; 4 – плитный утеплитель; 5 - каркас под обшивку; 6 – двухканальный вентиляционный зазор; 7 - контробрешетка; 8 - обрешетка; 9 - металлический профилированный лист (листовой профиль по ГОСТ 24045); 10 - волнистый хризотилцементный (ГОСТ 30340) или цементно-волокнистый лист; 11 – битумный волнистый лист; 12 - металлочерепица (ГОСТ Р 58153) или композитная черепица; 13 - водозащитная пленка; 14 - битумная плоская черепица (ГОСТ 32806); 14а - битумная волнистая черепица; 15 – сплошной настил из ОСП-3 или ОСП-4 по ГОСТ Р 56309 с подкладочным ковром; 16 - стропило; 16а - стропило из термопрофиля из ЛСТК; 16б - деревянный брус; 17 - цементно-песчаная или керамическая (ГОСТ Р 56688) черепица; 18 - дополнительная теплоизоляция; 19 - диффузионная ветроводозащитная пленка; 20 - одноканальный вентиляционный зазор; 21 – металлическая зубчатая пластина, приклеенная битумом; 22 - битум; 23 - битумный рулонный материал, прибитый к сплошному настилу; 24 - теплоизоляция из паронепроницаемого пеностекла; 25 - стальной профилированный настил; 26 - рулонный битумный или битумно-полимерный материал; 27 - брусок толщиной, равной толщине дополнительной теплоизоляции
Рисунок Е.1 - Кровли утепленной крыши
Е.2 Конструктивные решения кровель неутепленной крыши приведены на рисунке Е.2.

1 - контробрешетка; 2 - обрешетка; 3 - сплошной настил из ОСП-3 или ОСП-4 по ГОСТ Р 56309 с подкладочным ковром; 4 - металлический профилированный лист (ГОСТ 24045); 5 - волнистый хризотилцементный (ГОСТ 30340) или цементно-волокнистый лист; 6 - битумный волнистый лист; 7 - металлочерепица (ГОСТ Р 58153) или композитная черепица; 8 - водозащитная пленка; 9 - битумная плоская черепица (ГОСТ 32806); 9а - битумная волнистая черепица; 10 - стропило; 11 - стропило из термопрофиля из ЛСТК; 12 - вентиляционный канал; 13 - цементно-песчаная или керамическая (ГОСТ Р 56688) черепица
Рисунок Е.2 - Кровли неутепленной крыши
Приложение Ж
Уклоны черепичной кровли
Таблица Ж.1
|
Форма черепицы |
Вид кладки |
Форма |
Уклон, % (град), не менее |
|
1 Черепица с пазами | |||
|
1.1 Однопазовая цементно-песчаная черепица (вертикальный замок) | |||
|
1.1.1 Волновая черепица |
Простая * |
|
40 (22) |
|
1.1.2 Плоская черепица |
|
47 (25) | |
|
1.2 Двухпазовая керамическая черепица по ГОСТ Р 56688 (вертикальный и горизонтальный замки) | |||
|
1.2.1 Волновая черепица |
Простая * |
|
40 (22) |
|
1.2.2 Черепица с двумя желобками |
|
47 (25) | |
|
1.2.3 Черепица с одним желобком |
|
47 (25) | |
|
1.2.4 Плоская черепица |
|
58 (30) | |
|
1.2.5 Пазы по диагоналям |
|
29 (16) | |
|
2 Черепица без пазов | |||
|
2.1 Шпунтовая |
Простая * |
|
70 (35) |
|
2.2 Желобчатая (голландская (S-образная)) |
С нахлестом |
|
70 (35) |
|
Встык |
84 (40) | ||
|
2.3 "Монах" - "Монашка" |
Простая * |
|
84 (40) |
|
2.4 Плоская ("Бобровый хвост") |
Двойная кладка ** |
|
58 (30) |
|
Кладка "венцом" *** | |||
|
* Простая кладка - кладка черепицы, при которой на каждом бруске обрешетки лежит один ряд черепицы без горизонтального смещения последующих листов, причем ее продольные швы соединены внахлест. ** Двойная кладка - кладка черепицы, при которой на каждом бруске обрешетки лежит один ряд черепицы, образующий перевязку с находящимися выше и ниже рядами черепиц с горизонтальным смещением на половину ширины черепицы. *** Кладка "венцом" - кладка черепицы, при которой на каждом бруске обрешетки лежат два ряда черепицы, при этом каждый нижний край верхнего ряда оперт на верхний край черепицы нижнего ряда с горизонтальным смещением на половину ширины черепицы. | |||
Приложение И
Кровли фальцевые из металлических рулонных или листовых материалов
Конструктивные решения кровель из металлических рулонных и листовых материалов приведены на рисунке И.1, а совместимость и физико-механические показатели металлических материалов для кровли - в таблицах И.1 и И.2 соответственно.


1 - несущая железобетонная плита; 2 - пароизоляция; 2а - битумный рулонный материал, прибитый к настилу; 3 - утеплитель; 4 - диффузионная ветроводозащитная пленка; 5 - двухканальный вентиляционный зазор; 6 – сплошной деревянный настил; 6а - обрешетка; 6б - сплошной деревянный настил (для поз. 7); 6в - обрешетка (для поз. 7а); 7 - кровля из медных (ГОСТ 1173, ГОСТ Р 58953), цинковых (ГОСТ 3640), цинк-титановых (ГОСТ Р 58953), стальных оцинкованных, в т.ч. с полимерным покрытием (ГОСТ 14918, ГОСТ Р 58953), алюминиевых (ГОСТ 21631, ГОСТ Р 58953), нержавеющая сталь (ГОСТ Р 58953) или свинцовых (ГОСТ 9559) рулонных или листовых материалов; 7а - кровля из стальных оцинкованных, в т.ч. с полимерным покрытием (ГОСТ 14918, ГОСТ Р 58953), листовых материалов; 8 - контробрешетка; 9 - подкладочный ковер или ОДМ; 9а - водозащитная пленка; 9б - подкладочный ковер или ОДМ (для поз. 7); 10 - стропило; 10а - стропило из термопрофиля из ЛСТК; 11 – обшивка из гипсокартона; 11а - каркас под обшивку из гипсокартона; 12 - приклейка битумом; 13 – теплоизоляция из паронепроницаемого пеностекла; 13а – теплоизоляция из пенополиуретановых плит с деревянными вкладышами; 14 - рулонный битумный материал; 15 – одноканальный вентиляционный зазор; 16 - брусок толщиной, равной толщине дополнительной теплоизоляции; 17 - выравнивающая затирка из цементно-песчаного раствора; 18 - металлическая зубчатая пластина 150 x 150 мм, приклеенная битумом; 19 - настил из листового гнутого профиля; 20 - дополнительная теплоизоляция
Рисунок И.1 - Конструктивные решения кровель утепленной (а) и неутепленной (б) крыши

1 - несущая железобетонная плита; 2 - пароизоляция; 2а - битумный рулонный материал, прибитый к настилу; 3 - утеплитель; 4 - диффузионная ветроводозащитная пленка; 5 - двухканальный вентиляционный зазор; 6 – обрешетка или сплошной деревянный настил; 7 - кровля из медных (ГОСТ 1173), цинковых (ГОСТ 3640), цинк-титановых листов; 7а - кровля из оцинкованных стальных листов (ГОСТ 14918); 7б - кровля из алюминиевых (ГОСТ 21631), свинцовых (ГОСТ 9559) листов; 8 - контробрешетка; 9 - ОДМ; 9а - водозащитная пленка; 10 - стропило; 10а – стропило из термопрофиля из ЛСТК; 11 - обшивка из гипсокартона; 11а - каркас под обшивку из гипсокартона; 12 – приклейка битумом; 13 - теплоизоляция из паронепроницаемого пеностекла; 13а - теплоизоляция из пенополиуретановых плит с деревянными вкладышами; 14 - рулонный битумный материал; 15 - одноканальный вентиляционный зазор; 16 – брусок толщиной, равной толщине дополнительной теплоизоляции; 17 - выравнивающая затирка из цементно-песчаного раствора; 18 - металлическая зубчатая пластина 150 x 150 мм, приклеенная битумом; 19 - настил из листового гнутого профиля; 20 - дополнительная теплоизоляция
Рисунок И.1, лист 2
Таблица И.1 - Совместимость металлических листовых материалов для кровли
|
Наименование материала |
Медь |
Нержавеющая сталь |
Оцинкованная сталь |
Цинк-титан |
Алюминий |
Свинец |
|
Медь |
+ |
+ |
- |
- |
- |
+ |
|
Нержавеющая сталь |
+ |
+ |
+ |
+ |
+ |
+ |
|
Оцинкованная сталь |
- |
+ |
+ |
+ |
+ |
+ |
|
Цинк-титан |
- |
+ |
+ |
+ |
+ |
+ |
|
Алюминий |
- |
+ |
+ |
+ |
+ |
+ |
|
Свинец |
+ |
+ |
+ |
+ |
+ |
+ |
Таблица И.2 - Физико-механические показатели металлических листовых материалов для кровли
|
Наименование материала |
Медь |
Нержавеющая сталь |
Оцинкованная сталь |
Цинк-титан |
Алюминий |
Свинец |
|
1 Плотность, т/м3 |
8,93 |
7,7 - 7,9 |
7,8 |
7,2 |
2,7 |
11,34 |
|
2 Коэффициент линейного расширения, мм/(м·°C) |
0,017 |
0,011 - 0,016 |
0,012 |
0,022 |
0,024 |
0,029 |
|
3 Временное сопротивление растяжению, МПа |
200 - 260 |
530 - 700 |
255 - 490 |
120 - 140 |
80 - 120 |
18 |
|
4 Относительное удлинение, % |
50 - 60 |
45 - 50 |
21 - 26 |
30 |
30 - 40 |
65 |
Приложение К
Прочность легких теплоизоляционных плит при воздействии пешеходной нагрузки на неэксплуатируемую кровлю
Таблица К.1
|
Интенсивность пешеходной нагрузки на кровлю |
Варианты применения теплоизоляционных плит |
Число слоев водоизоляционного ковра и способ его крепления | |||
|
Один слой (по приложению Б) |
Два слоя (по приложению Б) | ||||
|
Механическое крепление |
Приклейка/наплавление |
Верх: приклейка/наплавление |
Верх: приклейка/наплавление | ||
|
Низ: механическое крепление |
Низ: приклейка/наплавление | ||||
|
Однородная теплоизоляция и ее прочность (σ10), кПа | |||||
|
Тип I * |
1 |
MW (не менее 60) | |||
|
2 |
PIR, XPS, EPS (не менее 100) | ||||
|
Тип II * |
1 |
MW (не менее 70) |
MW (не менее 60) | ||
|
2 |
PIR, XPS, EPS (не менее 100) | ||||
|
Тип III * |
1 |
- |
MW (не менее 80) |
MW (не менее 70) |
MW (не менее 60) |
|
2 |
PIR, XPS, EPS (не менее 150) | ||||
|
Комбинированная теплоизоляция и ее прочность (σ10), кПа | |||||
|
Тип I * |
1 |
Верх: MW (не менее 60) | |||
|
Низ: MW (не менее 40) | |||||
|
2 |
Верх: PIR, XPS, EPS (не менее 100) | ||||
|
Низ: MW (не менее 40) | |||||
|
Тип II * |
1 |
Верх: MW (не менее 70) |
Верх: MW (не менее 60) | ||
|
Низ: MW (не менее 60) |
Низ: MW (не менее 40) | ||||
|
2 |
Верх: PIR, XPS, EPS, (не менее 100) | ||||
|
Низ: MW (не менее 40) | |||||
|
Тип III * |
1 |
- |
Верх: MW (не менее 70) |
Верх: MW (не менее 60) | |
|
- |
Низ: MW (не менее 60) |
Низ: MW (не менее 60) | |||
|
2 |
Верх: PIR, XPS, EPS (не менее 150) | ||||
|
Низ: MW (не менее 40) | |||||
|
* Тип кровли в зависимости от интенсивности пешеходной нагрузки на кровлю принимают по 5.2.9. | |||||
Приложение Л
Расчет водоотвода с кровли
Отвод воды с кровли производится при помощи элементов внутреннего либо наружного водостока.
Л.1 Внутренний водоотвод
Л.1.1 Расчет воронок внутреннего водостока на кровле выполняют в соответствии с требованиями СП 30.13330.2020 (раздел 21) и СП 32.13330.
Л.1.2 Аварийную систему внутреннего водостока выполняют в соответствии с требованиями СП 30.13330.2020 (пункт 21.23).
Л.2 Наружный водоотвод
Наружный водоотвод на кровлях выполняют с применением настенного желоба или подвесной системы из водосточных желобов.
Л.2.1 Настенный водоотвод
При настенном водоотводе сбор воды с кровли осуществляется настенными желобами 7, уложенными на сплошной деревянный настил 6 или карнизную плиту; по настенному желобу 7 вода стекает в лоток 3 разжелобка 4, соединенному с воронкой 2 водоотводящего стояка (рисунок Л.1).

1 - скоба; 2 - водоприемная воронка; 3 - лоток; 4 – настил разжелобка; 5 - стропило; 6 - сплошной деревянный карнизный настил; 7 - настенный желоб; 8 - Т-образная полоса; 9 - крюк для желоба; 10 - картина карнизного свеса
Рисунок Л.1 - Настенный желоб
Для определения размеров сечения и количества водоотводящих стояков необходимо определить водосборную площадь F, м2, в случае примыкания кровли к стенам необходимо дополнительно учитывать 30% суммарной площади двух смежных вертикальных стен, примыкающих к кровле и возвышающихся над ней.
Водосборную площадь кровли F, м2, определяют по формуле
, (Л.1)
где L - длина горизонтальной проекции ската, м;
b - ширина ската, м;
α - угол наклона кровли, град.
В зависимости от района строительства и интенсивности дождя в соответствии с СП 30.13330.2020 (пункт 21.10), СП 32.13330.2018 (рисунок Ж.1, таблица Ж.1) определяют расчетный расход дождевых вод Q, л/с.
По СП 30.13330.2020 (таблица 21.1) в зависимости от расчетного расхода дождевых вод на водосточный стояк принимают диаметр, мм, и количество водосточных стояков, шт. Количество водосточных стояков следует назначать с учетом требований 9.7.
Л.2.2 Подвесная система водоотвода
На карнизе кронштейны для установки водосточного желоба размещают по уровню шнура, натянутого между конечным кронштейном и воронкой. Перепад высоты между конечными точками шнура должен обеспечивать уклон около 3 мм/пог. м.
Для определения размеров сечения и количества водоотводящих стояков, а также сечения водоотводящего подвесного желоба вычисляют водосборную площадь кровли и расчетный расход дождевых вод по Л.2.1.
Площадь поперечного сечения подвесного желоба, Fж, см2, должна быть не менее площади водоотводящего стояка, Fст, см2.
Библиография
[1] Федеральный закон от 30 декабря 2009 г. N 384-ФЗ "Технический регламент о безопасности зданий и сооружений"
[2] Федеральный закон от 22 июля 2008 г. N 123-ФЗ "Технический регламент о требованиях пожарной безопасности"
[3] Федеральный закон от 23 ноября 2009 г. N 261-ФЗ "Об энергосбережении и о повышении энергетической эффективности и о внесении изменений в отдельные законодательные акты Российской Федерации"
[4] Приказ Министерства труда и социальной защиты Российской Федерации от 11 декабря 2020 г. N 883н "Об утверждении Правил по охране труда при строительстве, реконструкции и ремонте"
[5] СНиП 12-03-2001 Безопасность труда в строительстве. Часть 1. Общие требования
[6] СНиП 12-04-2002 Безопасность труда в строительстве. Часть 2. Строительное производство
[7] СО 153-34.21.122-2003 Инструкция по устройству молниезащиты зданий, сооружений и промышленных коммуникаций
[8] Рекомендации по проектированию озеленения и благоустройства крыш жилых и общественных зданий и других искусственных оснований (приняты и введены в действие указанием Комитета по архитектуре и градостроительству города Москвы от 18 октября 2000 г. N 43)
[9] СП 23-101-2004 Проектирование тепловой защиты зданий











