СП 50.13330.2012 (15.12.2021) ТЕПЛОВАЯ ЗАЩИТА ЗДАНИЙ Актуализированная редакция СНиП 23-02-2003
Утв. Приказом Министерства регионального развития РФ от 30 июня 2012 г. N 265
Свод правил СП-50.13330.2012
"СНиП 23-02-2003. ТЕПЛОВАЯ ЗАЩИТА ЗДАНИЙ"
Актуализированная редакция СНиП 23-02-2003
С изменениями:
(14 декабря 2018 г., 15 декабря 2021 г.)
Thermal performance of the buildings
Дата введения 1 июля 2013 г.
Предисловие
Цели и принципы стандартизации в Российской Федерации установлены Федеральным законом от 27 декабря 2002 г. N 184-ФЗ "О техническом регулировании", а правила разработки - Постановлением Правительства Российской Федерации от 19 ноября 2008 г. N 858 "О порядке разработки и утверждения сводов правил".
Сведения о своде правил
1 ИСПОЛНИТЕЛЬ - Научно-исследовательский институт строительной физики Российской академии архитектуры и строительных наук (НИИСФ РААСН)
2 ВНЕСЕН Техническим комитетом по стандартизации ТК 465 "Строительство"
3 ПОДГОТОВЛЕН к утверждению Департаментом архитектуры, строительства и градостроительной политики
4 УТВЕРЖДЕН Приказом Министерства регионального развития Российской Федерации (Минрегион России) от 30 июня 2012 г. N 265 и введен в действие с 1 июля 2013 г.
5 ЗАРЕГИСТРИРОВАН Федеральным агентством по техническому регулированию и метрологии (Росстандарт)
Информация об изменениях к настоящему актуализированному своду правил публикуется в ежегодно издаваемом информационном указателе "Национальные стандарты", а текст изменений и поправок - в ежемесячно издаваемых информационных указателях "Национальные стандарты". В случае пересмотра (замены) или отмены настоящего свода правил соответствующее уведомление будет опубликовано в ежемесячно издаваемом информационном указателе "Национальные стандарты". Соответствующая информация, уведомление и тексты размещаются также в информационной системе общего пользования - на официальном сайте разработчика (Минрегион России) в сети Интернет
Введение
Настоящий свод правил разработан с целью повышения уровня безопасности людей в зданиях и сооружениях и сохранности материальных ценностей в соответствии с Федеральным законом от 30 декабря 2009 г. N 384-ФЗ "Технический регламент о безопасности зданий и сооружений", повышения уровня гармонизации нормативных требований с европейскими и международными нормативными документами, применения единых методов определения эксплуатационных характеристик и методов оценки.
В разработке настоящего документа принимали участие: канд. техн. наук Н.П. Умнякова, д-р техн. наук В.Г. Гагарин, кандидаты техн. наук В.В. Козлов, И.Н. Бутовский (НИИСФ РААСН), канд. техн. наук Е.Г. Малявина (МГСУ), канд. техн. наук О.А. Ларин (ОАО "КТБ ЖБ"), канд. техн. наук В.С. Беляев (ОАО ЦНИИЭП жилища).
Изменение N 1 к СП 50.13330.2012 подготовлено авторским коллективом НИИСФ РААСН (д-р техн. наук В.Г. Гагарин, канд. техн. наук В.В. Козлов, канд. техн. наук А.Ю. Неклюдов, канд. техн. наук П.П. Пастушков, канд. техн. наук Д.Ю. Желдаков, канд. техн. наук Н.П. Умнякова).
Изменение N 2 к СП 50.13330.2012 выполнено авторским коллективом НИИСФ РААСН (д-р техн. наук В.Г. Гагарин, канд. техн. наук В.В. Козлов, канд. техн. наук П.П. Пастушков, канд. техн. наук Е.В. Коркина).
Настоящий свод правил распространяется на проектирование тепловой защиты строящихся или реконструируемых жилых, общественных, производственных, сельскохозяйственных и складских зданий общей площадью более 50 м2 (далее - зданий), в которых необходимо поддерживать определенный температурно-влажностный режим.
Нормы не распространяются на тепловую защиту:
культовых зданий;
жилых и общественных зданий, отапливаемых периодически (менее трех дней в неделю) или сезонно (непрерывно менее трех месяцев в году);
временных зданий, находящихся в эксплуатации не более двух отопительных сезонов;
теплиц, парников и зданий холодильников;
зданий, строений, сооружений, которые в соответствии с законодательством Российской Федерации отнесены к объектам культурного наследия (памятникам истории и культуры);
строений и сооружений в составе инженерного обеспечения объекта - трансформаторные подстанции, котельные, КНС, ВНС, ЦТП и т.д.
Уровень тепловой защиты указанных зданий устанавливается соответствующими нормами, а при их отсутствии - по решению собственника (заказчика) при соблюдении санитарно-гигиенических норм.
Настоящие нормы при строительстве и реконструкции существующих зданий, имеющих архитектурно-историческое значение, применяются в каждом конкретном случае с учетом их исторической ценности на основании решений органов власти и согласования с органами государственного контроля в области охраны памятников истории и культуры.
В настоящем своде правил использованы нормативные ссылки на следующие документы:
ГОСТ 12.1.005-88 Система стандартов безопасности труда. Общие санитарно-гигиенические требования к воздуху рабочей зоны
ГОСТ 530-2012 Кирпич и камень керамические. Общие технические условия
ГОСТ 8736-2014 Песок для строительных работ. Технические условия
ГОСТ 10832-2009 Песок и щебень перлитовые вспученные. Технические условия
ГОСТ 12865-67 Вермикулит вспученный
ГОСТ 23166-2021 Конструкции оконные и балконные светопрозрачные ограждающие. Общие технические условия
ГОСТ 24816-2014 Материалы строительные. Метод определения равновесной сорбционной влажности
ГОСТ 25609-2015 Материалы полимерные рулонные и плиточные для полов. Метод определения показателя теплоусвоения
ГОСТ 25820-2014 Бетоны легкие. Технические условия
ГОСТ 26253-2014 Здания и сооружения. Метод определения теплоустойчивости ограждающих конструкций
ГОСТ 30494-2011 Здания жилые и общественные. Параметры микроклимата в помещениях
ГОСТ 32496-2013 Заполнители пористые для легких бетонов. Технические условия
ГОСТ 33929-2016 Полистиролбетон. Технические условия
СП 60.13330.2020 "СНиП 41-01-2003 Отопление, вентиляция и кондиционирование воздуха"
СП 106.13330.2012 "СНиП 2.10.03-84 Животноводческие, птицеводческие и звероводческие здания и помещения" (с изменением N 1)
СП 109.13330.2012 "СНиП 2.11.02-87 Холодильники" (с изменениями N 1, N 2, N 3)
СП 118.13330.2012 "СНиП 31-06-2009 Общественные здания и сооружения" (с изменениями N 1, N 2, N 3, N 4)
СП 131.13330.2020 "СНиП 23-01-99* Строительная климатология"
СП 230.1325800.2015 Конструкции ограждающие зданий. Характеристики теплотехнических неоднородностей (с изменением N 1)
СП 345.1325800.2017 Здания жилые и общественные. Правила проектирования тепловой защиты (с изменением N 1)
СП 426.1325800.2020 Конструкции ограждающие светопрозрачные зданий и сооружений. Правила проектирования
Примечание - При пользовании настоящим сводом правил целесообразно проверить действие ссылочных документов в информационной системе общего пользования - на официальном сайте федерального органа исполнительной власти в сфере стандартизации в сети Интернет или по ежегодному информационному указателю "Национальные стандарты", который опубликован по состоянию на 1 января текущего года, и по выпускам ежемесячного информационного указателя "Национальные стандарты" за текущий год. Если заменен ссылочный документ, на который дана недатированная ссылка, то рекомендуется использовать действующую версию этого документа с учетом всех внесенных в данную версию изменений. Если заменен ссылочный документ, на который дана датированная ссылка, то рекомендуется использовать версию этого документа с указанным выше годом утверждения (принятия). Если после утверждения настоящего свода правил в ссылочный документ, на который дана датированная ссылка, внесено изменение, затрагивающее положение, на которое дана ссылка, то это положение рекомендуется применять без учета данного изменения. Если ссылочный документ отменен без замены, то положение, в котором дана ссылка на него, рекомендуется применять в части, не затрагивающей эту ссылку. Сведения о действии сводов правил целесообразно проверить в Федеральном информационном фонде стандартов.
В настоящем своде правил применены термины по ГОСТ 23166, ГОСТ 25609, ГОСТ 30494, СП 426.1325800, а также следующие термины с соответствующими определениями:
3.1 влажностное состояние ограждающей конструкции: Состояние ограждающей конструкции, характеризующееся влажностью материалов, из которых она состоит.
3.2 влажностный режим помещения: Совокупность состояний влажности воздуха в помещении.
3.3 воздухопроницаемость ограждающей конструкции: Физическое явление, заключающееся в фильтрации воздуха в ограждающей конструкции, вызванной перепадом давления воздуха. Физическая величина, численно равная массе воздуха усредненной по площади поверхности ограждающей конструкции, прошедшего через единицу площади поверхности ограждающей конструкции при наличии перепада давления воздуха.
3.4 защита от переувлажнения ограждающей конструкции: Мероприятия, обеспечивающие влажностное состояние ограждающей конструкции, при котором влажность материалов, ее составляющих, не превышает нормируемых значений.
3.5 зона влажности района строительства: Характеристика района территории Российской Федерации, на котором осуществляется строительство, с точки зрения влажности воздуха и выпадения осадков.
3.6 класс энергосбережения: Характеристика энергосбережения здания, представленная интервалом значений удельной характеристики расхода тепловой энергии на отопление и вентиляцию здания, измеряемая в процентах от базового нормируемого значения.
3.7 коэффициент остекленности фасада здания: Отношение площадей светопроемов к суммарной площади наружных ограждающих конструкций фасада здания, включая светопроемы.
3.8 коэффициент теплотехнической однородности фрагмента ограждающей конструкции: Безразмерный показатель, численно равный отношению значения приведенного сопротивления теплопередаче к условному сопротивлению теплопередаче фрагмента ограждающей конструкции.
3.9
|
микроклимат помещения: Состояние внутренней среды помещения, оказывающее воздействие на человека, характеризуемое показателями температуры воздуха и ограждающих конструкций, влажностью и подвижностью воздуха. [ГОСТ 30494-2011, статья 2.4] |
3.10
|
оптимальные параметры микроклимата помещений: Сочетание значений показателей микроклимата, которые при длительном и систематическом воздействии на человека обеспечивают нормальное тепловое состояние организма при минимальном напряжении механизмов терморегуляции и ощущение комфорта не менее чем у 80% людей, находящихся в помещении. [ГОСТ 30494-2011, статья 2.6] |
3.11 отапливаемый объем здания: Объем, ограниченный внутренними поверхностями наружных ограждений здания - стен, покрытий (чердачных перекрытий), перекрытий пола первого этажа или пола подвала при отапливаемом подвале.
3.12 показатель компактности здания: Отношение общей площади внутренней поверхности наружных ограждающих конструкций здания к заключенному в них отапливаемому объему.
3.13 приведенное сопротивление теплопередаче фрагмента ограждающей конструкции: Физическая величина, характеризующая усредненную по площади плотность потока теплоты через фрагмент теплозащитной оболочки здания в стационарных условиях теплопередачи, численно равная отношению разности температур по разные стороны фрагмента к усредненной по площади плотности потока теплоты через фрагмент.
3.14 продолжительность отопительного периода: Расчетный период времени работы системы отопления здания, представляющий собой среднее статистическое число суток в году, когда средняя суточная температура наружного воздуха устойчиво равна и ниже 8 °C или 10 °C в зависимости от вида здания.
3.15 расход тепловой энергии на отопление и вентиляцию за отопительный период: Суммарное количество тепловой энергии, необходимое для отопления и вентиляции объекта в течение отопительного периода.
3.16 средняя температура наружного воздуха отопительного периода: Расчетная температура наружного воздуха, осредненная за отопительный период по средним суточным температурам наружного воздуха.
3.17 температурный перепад: Разность двух значений температуры.
3.18 тепловая защита здания: Совокупность теплофизических и теплоэнергетических характеристик элементов здания, обеспечивающих безопасную эксплуатацию здания с позиции теплового режима помещений и способствующих экономному расходованию энергетических ресурсов. К тепловой защите здания относятся теплофизические свойства и характеристики наружных и внутренних ограждающих конструкций здания, удельная теплозащитная характеристика здания, защита от переувлажнения и воздухопроницаемость ограждающих конструкций.
3.19 тепловая защита ограждающих конструкций: Теплофизические свойства и характеристики наружных и внутренних ограждающих конструкций здания. К тепловой защите ограждающих конструкций относятся приведенное сопротивление теплопередаче отдельных ограждающих конструкций, свойства теплоустойчивости ограждающих конструкций, теплоусвоения поверхности пола, санитарно-гигиенические требования, предъявляемые к ограждающим конструкциям.
3.20 тепловые затраты здания: Количество тепловой энергии, подводимое от источника к системам отопления и вентиляции, в единицу времени.
3.21 тепловые поступления здания: Количество тепловой энергии, поступающее в здание от внутренних источников, образующихся в результате жизнедеятельности человека, и от солнечной радиации, в единицу времени.
3.22 тепловые потери здания: Количество тепловой энергии, необходимое для компенсации теплопередачи через ограждающие конструкции здания в наружную окружающую среду и для нагревания наружного воздуха, поступающего в помещения здания, в единицу времени.
3.23 тепловые потребности здания: Количество тепловой энергии, необходимое для компенсации теплопередачи через ограждающие конструкции здания в наружную окружающую среду и для нагревания наружного воздуха, поступающего в помещения здания, в единицу времени с учетом полезно используемых тепловых поступлений.
3.24 теплозащитная оболочка здания: Совокупность ограждающих конструкций, образующих замкнутый контур, ограничивающий отапливаемый объем здания.
3.25
|
теплоотдача внутренней поверхности ограждающей конструкции: Физический процесс, заключающийся в теплообмене внутренней поверхности ограждающей конструкции с окружающей средой. [ГОСТ 25609-2015, статья 3.1] |
3.26 теплотехнически неоднородный фрагмент ограждающей конструкции (теплотехническая неоднородность): Фрагмент ограждающей конструкции, в котором линии равной температуры располагаются не параллельно друг другу.
3.27
|
теплоусвоение поверхности пола: Свойство поверхности пола поглощать теплоту в контакте с какими-либо предметами. [ГОСТ 25609-2015, статья 3.2] |
3.28 теплоустойчивость ограждающей конструкции: Свойство ограждающей конструкции сохранять относительное постоянство температуры при периодическом изменении тепловых воздействий со стороны наружной и внутренней сред помещения.
3.29 теплый период года (здесь): Период года, характеризующийся средней суточной температурой воздуха выше 8 °C или 10 °C в зависимости от вида здания.
3.30 точка росы: Температура, при которой начинается образование конденсата в воздухе с определенной температурой и относительной влажностью.
3.31 удельная теплозащитная характеристика здания: Количество теплоты, равное потерям тепловой энергии через теплозащитную оболочку здания единицы отапливаемого объема в единицу времени при перепаде температуры в 1 °C.
3.32 удельная характеристика расхода тепловой энергии на отопление и вентиляцию здания: Количество теплоты, равное потребностям в тепловой энергии единицы отапливаемого объема здания в единицу времени при перепаде температуры в 1 °C.
3.33 удельные потери теплоты через линейную теплотехническую неоднородность: Поток теплоты через линейную теплотехническую неоднородность, отнесенный к единице длины, единице времени и 1 °C.
3.34 удельные потери теплоты через точечную теплотехническую неоднородность: Поток теплоты через точечную теплотехническую неоднородность, отнесенный к единице времени и 1 °C.
3.35 удельный расход тепловой энергии на отопление и вентиляцию здания за отопительный период: Количество тепловой энергии, необходимое для удовлетворения тепловых потребностей здания за отопительный период и отнесенное к единице площади или к единице отапливаемого объема.
3.36 условия эксплуатации ограждающих конструкций: Характеристика совокупности параметров воздействия внешней и внутренней среды, оказывающих существенное влияние на влажность материалов наружной ограждающей конструкции.
3.37 условное сопротивление теплопередаче ограждающей конструкции: Физическая величина, численно равная приведенному сопротивлению теплопередаче условной ограждающей конструкции, в которой отсутствуют теплотехнические неоднородности.
3.38 фрагмент теплозащитной оболочки здания: Совокупность наружных ограждающих конструкций, соединенных между собой, образующая часть теплозащитной оболочки здания.
3.39 энергетическая эффективность: Характеристика, отражающая отношение полезного эффекта от использования энергетических ресурсов к затратам энергетических ресурсов, произведенным в целях получения такого эффекта, применительно к продукции, технологическому процессу, юридическому лицу, индивидуальному предпринимателю.
3.39а энергетическая эффективность (энергоэффективность) материала слоя теплоизоляции: Отношение полезного эффекта (возможно, выраженного в денежном эквиваленте) от использования данного материала к затратам энергетических ресурсов (либо их денежному эквиваленту), произведенным в целях получения такого эффекта.
3.40 энергетические характеристики здания: Комплекс показателей, необходимых для оценки здания с позиции эффективности использования энергии. К энергетическим характеристикам здания относят тепловую защиту здания, удельную характеристику расхода тепловой энергии на отопление и вентиляцию за отопительный период и характеристику тепловой мощности систем отопления и вентиляции.
3.41 энергетический паспорт проекта здания: Документ, содержащий энергетические, теплотехнические и геометрические характеристики как существующих зданий, так и проектов зданий и их ограждающих конструкций, и устанавливающий соответствие их требованиям нормативных документов.
3.42 энергосбережение: Реализация организационных, правовых, технических, технологических, экономических и иных мер, направленных на уменьшение объема используемых энергетических ресурсов при сохранении соответствующего полезного эффекта от их использования (в том числе объема произведенной продукции, выполненных работ, оказанных услуг).
4.1 Проектирование зданий и сооружений должно осуществляться с учетом требований к ограждающим конструкциям, приведенных в настоящих правилах, в целях обеспечения:
заданных параметров микроклимата, необходимых для жизнедеятельности людей и работы технологического или бытового оборудования;
тепловой защиты;
защиты от переувлажнения ограждающих конструкций;
эффективности расхода тепловой энергии на отопление и вентиляцию;
необходимой надежности и долговечности конструкций.
Долговечность ограждающих конструкций следует обеспечивать применением материалов, имеющих надлежащую стойкость (морозостойкость, влагостойкость, биостойкость, коррозионную стойкость, стойкость к температурным воздействиям, в том числе циклическим, к другим разрушительным воздействиям окружающей среды), предусматривая в случае необходимости специальную защиту элементов конструкций.
4.2 В нормах устанавливают требования к:
приведенному сопротивлению теплопередаче ограждающих конструкций здания;
удельной теплозащитной характеристике здания;
ограничению минимальной температуры и недопущению конденсации влаги на внутренней поверхности ограждающих конструкций в холодный период года, за исключением светопрозрачного заполнения (стеклопакетов, стекла) с вертикальным остеклением (с углом наклона заполнений к горизонту 45° и более);
теплоустойчивости ограждающих конструкций в теплый период года;
воздухопроницаемости ограждающих конструкций;
влажностному состоянию ограждающих конструкций;
теплоусвоению поверхности полов;
расходу тепловой энергии на отопление и вентиляцию зданий.
4.3 Влажностный режим помещений зданий в холодный период года в зависимости от относительной влажности и температуры внутреннего воздуха следует устанавливать по таблице 1.
|
Режим |
Влажность внутреннего воздуха, %, при температуре, °C | ||
|
до 12 |
свыше 12 до 24 |
свыше 24 | |
|
Сухой |
До 60 |
До 50 |
До 40 |
|
Нормальный |
Свыше 60 до 75 |
Свыше 50 до 60 |
Свыше 40 до 50 |
|
Влажный |
Свыше 75 |
Свыше 60 до 75 |
Свыше 50 до 60 |
|
Мокрый |
- |
Свыше 75 |
Свыше 60 |
4.4 Условия эксплуатации ограждающих конструкций А или Б в зависимости от влажностного режима помещений и зон влажности района строительства, необходимые для выбора теплотехнических показателей материалов наружных ограждений, следует устанавливать по таблице 2. Зоны влажности территории России следует принимать по приложению В.
|
Влажностный режим помещений зданий (по таблице 1) |
Условия эксплуатации А и Б в зоне влажности (по приложению В) | ||
|
сухой |
нормальной |
влажной | |
|
Сухой |
А |
А |
Б |
|
Нормальный |
А |
Б |
Б |
|
Влажный или мокрый |
Б |
Б |
Б |
5.1 Теплозащитная оболочка здания должна отвечать следующим требованиям:
а) приведенное сопротивление теплопередаче отдельных ограждающих конструкций должно быть не меньше нормируемых значений (поэлементные требования);
б) удельная теплозащитная характеристика здания должна быть не больше нормируемого значения (комплексное требование);
в) температура на внутренних поверхностях ограждающих конструкций должна быть не ниже минимально допустимых значений (санитарно-гигиеническое требование).
Требования тепловой защиты здания будут выполнены при одновременном выполнении требований а), б) и в).
Поэлементные требования
5.2 Нормируемое значение приведенного сопротивления теплопередаче ограждающей конструкции Rонорм, (м2·°C)/Вт, следует определять по формуле
Rонорм = Rотрmp, (5.1)
где Rотр - базовое значение требуемого сопротивления теплопередаче ограждающей конструкции, м2·°C/Вт, следует принимать в зависимости от градусо-суток отопительного периода (ГСОП), °C·сут/год, региона строительства и определять по таблице 3;
mр - коэффициент, учитывающий особенности региона строительства. В расчете по формуле (5.1) принимается равным 1. Допускается снижение значения коэффициента mр в случае, если при выполнении расчета удельной характеристики расхода тепловой энергии на отопление и вентиляцию здания по методике приложения Г выполняются требования 10.1 к данной удельной характеристике. Значения коэффициента mр при этом должны быть не менее: mр = 0,63 - для стен, mр = 0,80 - для остальных ограждающих конструкций (кроме светопрозрачных), mр = 1,00 - для светопрозрачных конструкций.
Таблица 3
|
Здания и помещения, коэффициенты a и b |
Градусо-сутки отопительного периода, °C·сут/год |
Базовые значения требуемого сопротивления теплопередаче Rотр, (м2·°C)/Вт, ограждающих конструкций | ||||
|
Стен, включая стены в грунте |
Покрытий и перекрытий над проездами |
Перекрытий чердачных, перекрытий над неотапливаемыми подпольями и подвалами, полов по грунту |
Окна, светопрозрачные фасадные конструкции и другие типы светопрозрачных конструкций, за исключением фонарей |
Фонарей | ||
|
1 |
2 |
3 |
4 |
5 |
6 |
7 |
|
1.1 Жилые, гостиницы и общежития |
2000 |
2,1 |
3,2 |
2,8 |
0,49 |
0,3 |
|
4000 |
2,8 |
4,2 |
3,7 |
0,63 |
0,35 | |
|
6000 |
3,5 |
5,2 |
4,6 |
0,73 |
0,4 | |
|
8000 |
4,2 |
6,2 |
5,5 |
0,75 |
0,45 | |
|
10000 |
4,9 |
7,2 |
6,4 |
0,77 |
0,5 | |
|
12000 |
5,6 |
8,2 |
7,3 |
0,8 |
0,55 | |
|
a |
- |
0,00035 |
0,0005 |
0,00045 |
- |
0,000025 |
|
b |
- |
1,4 |
2,2 |
1,9 |
- |
0,25 |
|
1.2 Дошкольные образовательные организации, общеобразовательные организации, медицинские организации и интернаты |
2000 |
2,1 |
3,2 |
2,8 |
0,3 |
0,3 |
|
4000 |
2,8 |
4,2 |
3,7 |
0,45 |
0,35 | |
|
6000 |
3,5 |
5,2 |
4,6 |
0,6 |
0,4 | |
|
8000 |
4,2 |
6,2 |
5,5 |
0,7 |
0,45 | |
|
10000 |
4,9 |
7,2 |
6,4 |
0,75 |
0,5 | |
|
12000 |
5,6 |
8,2 |
7,3 |
0,8 |
0,55 | |
|
a |
- |
0,00035 |
0,0005 |
0,00045 |
- |
0,000025 |
|
b |
- |
1,4 |
2,2 |
1,9 |
- |
0,25 |
|
2 Общественные, кроме указанных выше, административные и бытовые, за исключением помещений с влажным или мокрым режимом |
2000 |
1,8 |
2,4 |
2,0 |
0,49 |
0,3 |
|
4000 |
2,4 |
3,2 |
2,7 |
0,63 |
0,35 | |
|
6000 |
3,0 |
4,0 |
3,4 |
0,73 |
0,4 | |
|
8000 |
3,6 |
4,8 |
4,1 |
0,75 |
0,45 | |
|
10000 |
4,2 |
5,6 |
4,8 |
0,77 |
0,5 | |
|
12000 |
4,8 |
6,4 |
5,5 |
0,8 |
0,55 | |
|
a |
- |
0,0003 |
0,0004 |
0,00035 |
- |
0,000025 |
|
b |
- |
1,2 |
1,6 |
1,3 |
- |
0,25 |
|
3 Производственные с сухим и нормальным режимами |
2000 |
1,4 |
2,0 |
1,4 |
0,25 |
0,2 |
|
4000 |
1,8 |
2,5 |
1,8 |
0,3 |
0,25 | |
|
6000 |
2,2 |
3,0 |
2,2 |
0,35 |
0,3 | |
|
8000 |
2,6 |
3,5 |
2,6 |
0,4 |
0,35 | |
|
10000 |
3,0 |
4,0 |
3,0 |
0,45 |
0,4 | |
|
12000 |
3,4 |
4,5 |
3,4 |
0,5 |
0,45 | |
|
a |
- |
0,0002 |
0,00025 |
0,0002 |
0,000025 |
0,000025 |
|
b |
- |
1,0 |
1,5 |
1,0 |
0,2 |
0,15 |
|
Примечания 1 Значения для величин ГСОП, отличающихся от табличных, следует определять по формуле Rотр = а·ГСОП + b, где ГСОП - градусо-сутки отопительного периода, °C·сут/год, для конкретного пункта; a, b - коэффициенты, значения которых следует принимать по данным настоящей таблицы для соответствующих групп зданий, за исключением графы 6, для группы зданий в строках 1 и 2. Для графы 6 для интервала до 2000 °C·сут/год следует принимать базовое значение требуемого сопротивления теплопередаче равным значению для 2000 °C·сут/год, для интервала свыше 12000 °C·сут/год следует принимать базовое значение требуемого сопротивления теплопередаче равным значению для 12000 °C·сут/год. 2 Для зданий с избытками явной теплоты более 23 Вт/м3 нормируемые значения приведенного сопротивления теплопередаче должны определяться для каждого конкретного здания. | ||||||
Градусо-сутки отопительного периода, °C·сут/год, определяют по формуле
ГСОП = (tв - tот)zот, (5.2)
где tот, zот - средняя температура наружного воздуха, °C, и продолжительность, сут/год, отопительного периода, принимаемые по СП 131.13330 для жилых и общественных зданий для периода со среднесуточной температурой наружного воздуха не более 8 °C, а при проектировании дошкольных образовательных организаций, общеобразовательных организаций, медицинских организаций и домов-интернатов для престарелых не более 10 °C;
tв - расчетная температура внутреннего воздуха здания, °C, принимаемая при расчете ограждающих конструкций групп зданий, указанных в таблице 3: по поз. 1 - по минимальным значениям оптимальной температуры соответствующих зданий по ГОСТ 30494 (в интервале 20 - 22 °C); по поз. 2 - согласно классификации помещений и минимальных значений оптимальной температуры по ГОСТ 30494 (в интервале 16 - 21 °C); по поз. 3 - по нормам проектирования соответствующих зданий.
В случаях, когда средняя наружная или внутренняя температура для отдельных помещений отличается от принятых в расчете ГСОП, базовые значения требуемого сопротивления теплопередаче наружных ограждающих конструкций, определенные по таблице 3, умножаются на коэффициент nt, который рассчитывается по формуле
, (5.3)
где tв*, tот* - средняя температура внутреннего и наружного воздуха для данного помещения, °C;
tв, tот - то же, что в формуле (5.2).
В случаях реконструкции зданий, для которых по архитектурным или историческим причинам невозможно утепление стен снаружи, нормируемое значение сопротивления теплопередаче стен допускается определять по формуле
, (5.4)
где αв - коэффициент теплоотдачи внутренней поверхности ограждающей конструкции, Вт/(м2·°C), принимаемый по таблице 4;
Δtн - нормируемый средний температурный перепад между температурой внутреннего воздуха tв и температурой внутренней поверхности ограждающей конструкции - τв, °C, принимаемый по таблице 5;
tв - то же, что в формуле (5.2);
tн - расчетная температура наружного воздуха в холодный период года, °C, принимаемая равной средней температуре наиболее холодной пятидневки обеспеченностью 0,92 по СП 131.13330.
|
Внутренняя поверхность ограждения |
Коэффициент теплоотдачи αв, Вт/(м2·°C) |
|
1 Стен, полов, гладких потолков, потолков с выступающими ребрами при отношении высоты h ребер к расстоянию a, между гранями соседних ребер h/a ≤ 0,3 |
8,7 |
|
2 Потолков с выступающими ребрами при отношении h/a > 0,3 |
7,6 |
|
3 Окон |
8,0 |
|
4 Зенитных фонарей |
9,9 |
|
Примечание - Коэффициент теплоотдачи αв внутренней поверхности ограждающих конструкций животноводческих и птицеводческих зданий следует принимать в соответствии с СП 106.13330. | |
|
Здания и помещения |
Нормируемый температурный перепад Δtн, °C, для | |||
|
наружных стен |
покрытий и чердачных перекрытий |
перекрытий над проездами, подвалами и подпольями |
зенитных фонарей | |
|
1 Жилые, лечебно-профилактические и детские учреждения, школы, интернаты |
4,0 |
3,0 |
2,0 |
tв - tр |
|
2 Общественные, кроме указанных в строке 1, административные и бытовые, за исключением помещений с влажным или мокрым режимом |
4,5 |
4,0 |
2,5 |
tв - tр |
|
3 Производственные с сухим и нормальным режимами |
tв - tр, но не более 7 |
0,8(tв - tр), но не более 6 |
2,5 |
tв - tр |
|
4 Производственные и другие помещения с влажным или мокрым режимом |
tв - tр |
0,8(tв - tр) |
2,5 |
Не нормируется |
|
5 Производственные здания со значительными избытками явной теплоты (более 23 Вт/м3) и расчетной относительной влажностью внутреннего воздуха не более 50% |
12 |
12 |
2,5 |
tв - tр |
|
Обозначения: tв - то же, что в формуле (5.2); tр - температура точки росы, °C, при расчетной температуре tв и относительной влажности внутреннего воздуха, принимаемым согласно СанПиН 2.1.2.2645, ГОСТ 12.1.005 и СанПиН 2.2.4.548, СП 60.13330 и нормам проектирования соответствующих зданий. | ||||
|
Примечание - Для зданий картофеле- и овощехранилищ нормируемый температурный перепад Δtн для наружных стен, покрытий и чердачных перекрытий следует принимать по СП 109.13330. | ||||
Нормируемое значение сопротивления теплопередаче входных дверей Rонорм должно быть не менее 0,6Rонорм стен зданий, определяемого по формуле (5.4).
Если температура воздуха двух соседних помещений отличается больше, чем на 8 °C, то минимально допустимое приведенное сопротивление теплопередаче ограждающих конструкций, разделяющих эти помещения (кроме светопрозрачных), следует определять по формуле (5.4), принимая за величину tн расчетную температуру воздуха в более холодном помещении.
Расчетную температуру воздуха в теплом чердаке, техническом подполье, остекленной лоджии или балконе при проектировании допускается принимать на основе расчета теплового баланса по методикам раздела 11 СП 345.1325800.2017.
5.3 Для помещений зданий с влажным или мокрым режимом, а также для производственных зданий со значительными избытками теплоты нормируемое значение сопротивления теплопередаче определяется по формуле (5.4).
5.4 Приведенное сопротивление теплопередаче фрагмента теплозащитной оболочки здания (или любой выделенной ограждающей конструкции) Rопр, (м2·°C)/Вт, рассчитывается в соответствии с приложением Е, а для светопрозрачных ограждающих конструкций - в соответствии с пунктом 11.4 СП 345.1325800.2017.
При расчете приведенного сопротивления теплопередаче, коэффициенты теплоотдачи внутренних поверхностей ограждающих конструкций следует принимать в соответствии с таблицей 4, а коэффициенты теплоотдачи наружных поверхностей - в соответствии с таблицей 6.
|
Наружная поверхность ограждающих конструкций |
Коэффициент теплоотдачи для зимних условий αн, Вт/(м2·°C) |
|
1 Наружных стен, покрытий, перекрытий над проездами и над холодными (без ограждающих стенок) подпольями в Северной строительно-климатической зоне |
23 |
|
2 Перекрытий над холодными подвалами, сообщающимися с наружным воздухом, перекрытий над холодными (с ограждающими стенками) подпольями и холодными этажами в Северной строительно-климатической зоне |
17 |
|
3 Перекрытий чердачных и над неотапливаемыми подвалами со световыми проемами в стенах, а также наружных стен с воздушной прослойкой, вентилируемой наружным воздухом |
12 |
|
4 Перекрытий над неотапливаемыми подвалами и техническими, подпольями, не вентилируемых наружным воздухом |
6 |
Приведенное сопротивление теплопередаче наружных стен следует рассчитывать для всех фасадов с учетом откосов проемов, без учета их заполнений.
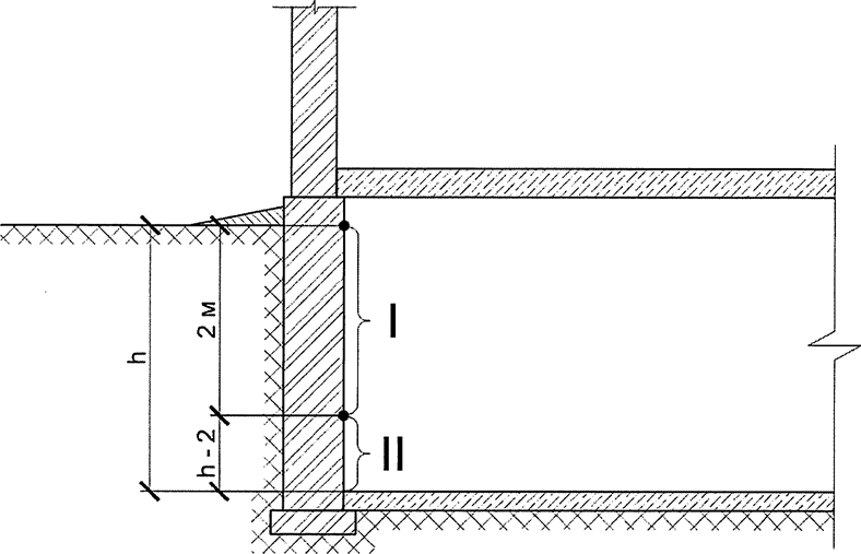
Приведенное сопротивление теплопередаче ограждающих конструкций, контактирующих с грунтом, следует определять по методике Е.7 приложения Е.
Приведенное сопротивление теплопередаче светопрозрачных фасадных конструкций принимается по результатам испытаний в аккредитованной лаборатории; при отсутствии таких данных оно оценивается по методике пункта 11.4 СП 345.1325800.2017.
Приведенное сопротивление теплопередаче ограждающих конструкций с вентилируемыми воздушными прослойками следует рассчитывать в соответствии с СП 345.1325800.2017. При расчете температурного поля узла установки кронштейна следует учитывать связь кронштейна с наружным металлическим каркасом (направляющими) и перераспределение теплоты в нем. Термомост между кронштейном и основанием учитывается в расчетах только при наличии данных по средней теплопроводности термомоста, определенных в аккредитованной лаборатории.
Комплексное требование
5.5 Нормируемое значение удельной теплозащитной характеристики здания
, Вт/(м3·°C), следует принимать в зависимости от отапливаемого объема здания и градусо-суток отопительного периода района строительства по таблице 7 с учетом примечаний.
|
Отапливаемый объем здания Vот, м3 |
Значения | ||||
|
1000 |
3000 |
5000 |
8000 |
12000 | |
|
150 |
1,206 |
0,892 |
0,708 |
0,541 |
0,411 |
|
300 |
0,957 |
0,708 |
0,562 |
0,429 |
0,326 |
|
600 |
0,759 |
0,562 |
0,446 |
0,341 |
0,259 |
|
1200 |
0,606 |
0,449 |
0,356 |
0,272 |
0,207 |
|
2500 |
0,486 |
0,360 |
0,286 |
0,218 |
0,166 |
|
6000 |
0,391 |
0,289 |
0,229 |
0,175 |
0,133 |
|
15000 |
0,327 |
0,242 |
0,192 |
0,146 |
0,111 |
|
50000 |
0,277 |
0,205 |
0,162 |
0,124 |
0,094 |
|
200000 |
0,246 |
0,182 |
0,145 |
0,111 |
0,084 |
|
Примечания 1 Для промежуточных значений величин объема зданий и ГСОП, а также для зданий с отапливаемым объемом более 200000 м3 значение
2 При достижении величиной | |||||
5.6 Удельная теплозащитная характеристика здания kоб, Вт/(м3·°C), рассчитывается по приложению Ж.
Санитарно-гигиеническое требование
5.7 Температура внутренней поверхности ограждающей конструкции (за исключением вертикальных светопрозрачных конструкций, т.е. с углом наклона к горизонту 45° и более) должна быть не ниже точки росы внутреннего воздуха при расчетной температуре наружного воздуха tн, °C, принимаемой в соответствии с пояснениями к формуле (5.4). Особое внимание при проверке температуры внутренней поверхности ограждающих конструкций необходимо обращать на зоны теплопроводных включений, внешние углы, места перехода от конструкций вне грунта к конструкциям в грунте, оконным откосам и откосам зенитных фонарей.
Минимальная температура внутренней поверхности остекления вертикальных светопрозрачных конструкций, т.е. с углом наклона к горизонту 45° и более (кроме производственных зданий) должна быть не ниже 3 °C, для производственных зданий - не ниже 0 °C. Указанное требование должно быть обеспечено на всей внутренней поверхности остекления, в том числе в зоне примыкания к непрозрачным элементам вертикальных светопрозрачных конструкций (в зоне штапиков). Минимальная температура внутренней поверхности непрозрачных элементов вертикальных светопрозрачных конструкций не должна быть ниже точки росы внутреннего воздуха помещения при расчетной температуре наружного воздуха tн, °C, принимаемой в соответствии с пояснениями к формуле (5.4). Относительную влажность внутреннего воздуха при проверке минимальной температуры внутренней поверхности непрозрачных элементов вертикальных светопрозрачных конструкций следует принимать равной 45% независимо от относительной влажности помещения.
Температура внутренней поверхности ограждающей конструкции должна определяться по результатам расчета температурных полей всех зон с теплотехнической неоднородностью или по результатам испытаний в климатической камере в аккредитованной лаборатории.
Относительную влажность внутреннего воздуха для определения точки росы следует принимать:
для помещений жилых зданий, больничных учреждений, диспансеров, амбулаторно-поликлинических учреждений, родильных домов, домов-интернатов для престарелых и инвалидов, общеобразовательных детских школ, детских садов, яслей, яслей-садов (комбинатов) и детских домов - 55%;
для кухонь - 60%;
для ванных комнат - 65%;
для теплых подвалов и подполий с коммуникациями - 75%;
для теплых чердаков жилых зданий - 55%;
для других помещений общественных зданий (за исключением вышеуказанных) - 50%.
5.8 Нормируемые значения сопротивления теплопередаче ворот следует принимать по таблице 7а. Градусо-сутки отопительного периода для нахождения нормируемых значений по таблице 7а следует принимать отдельно для помещения, в котором устанавливаются ворота.
В квадратных метрах-градусах Цельсия на ватт
|
Площадь ворот, м2 |
ГСОП ≤ 3500 |
3500 < ГСОП ≤ 7000 |
7000 < ГСОП |
|
S ≤ 8 |
0,64 |
0,81 |
0,93 |
|
8 < S ≤ 14 |
0,69 |
0,87 |
0,99 |
|
S > 14 |
0,74 |
0,93 |
1,05 |
Приведенное сопротивление теплопередаче ворот находится расчетом по методике, изложенной в приложении Е.
6.1 В районах со среднемесячной температурой июля 21 °C и выше расчетная амплитуда колебаний температуры внутренней поверхности ограждающих конструкций (наружных стен и перекрытий/покрытий) Aτ, °C, зданий жилых, больничных учреждений (больниц, клиник, стационаров и госпиталей), диспансеров, амбулаторно-поликлинических учреждений, родильных домов, домов ребенка, домов-интернатов для престарелых и инвалидов, детских садов, яслей, яслей-садов (комбинатов) и детских домов, а также производственных зданий, в которых необходимо соблюдать оптимальные параметры температуры и относительной влажности воздуха в рабочей зоне в теплый период года или по условиям технологии поддерживать постоянными температуру или температуру и относительную влажность воздуха, не должна быть более нормируемой амплитуды колебаний температуры внутренней поверхности ограждающей конструкции Aτтр, °C, определяемой по формуле
Aτтр = 2,5 – 0,1(tн – 21), (6.1)
где tн - средняя месячная температура наружного воздуха за июль, °C, принимаемая по СП 131.13330.
6.2 Амплитуду колебаний температуры внутренней поверхности ограждающих конструкций
, °C, следует определять по формуле
, (6.2)
где
- расчетная амплитуда колебаний температуры наружного воздуха, °C, определяемая согласно 6.3;
v - величина затухания расчетной амплитуды колебаний температуры наружного воздуха
в ограждающей конструкции, определяемая согласно 6.4.
6.3 Расчетную амплитуду колебаний температуры наружного воздуха
, °C, следует определять по формуле
, (6.3)
где
- максимальная амплитуда суточных колебаний температуры наружного воздуха в июле, °C, принимаемая согласно СП 131.13330;
ρ - коэффициент поглощения солнечной радиации материалом наружной поверхности ограждающей конструкции, принимаемый по таблице И.1 (приложение И);
Imax, Iср - соответственно максимальное и среднее значения суммарной солнечной радиации (прямой и рассеянной), Вт/м2, принимаемые по таблице И.2 (приложение И) для наружных стен - как для вертикальных поверхностей западной ориентации и для покрытий - как для горизонтальной поверхности;
αн - коэффициент теплоотдачи наружной поверхности ограждающей конструкции по летним условиям, Вт/(м2·°C), определяемый по формуле (6.9).
6.4 Величину затухания расчетной амплитуды колебаний температуры наружного воздуха v в ограждающей конструкции, состоящей из однородных слоев, следует определять по формуле
, (6.4)
где e = 2,718 - основание натуральных логарифмов;
D - тепловая инерция ограждающей конструкции, определяемая согласно 6.5;
s1, s2, ..., sn - расчетные коэффициенты теплоусвоения материала отдельных слоев ограждающей конструкции, Вт/(м2·°C);
Y1, Y2, ..., Yn-1, Yn - коэффициенты теплоусвоения наружной поверхности отдельных слоев ограждающей конструкции, Вт/(м2·°C), определяемые согласно 6.5;
αв - то же, что в формуле (5.4);
αн - то же, что в формуле (6.3).
Порядок нумерации слоев в формуле (6.4) принят в направлении от внутренней поверхности к наружной.
Для многослойной неоднородной ограждающей конструкции с теплопроводными включениями величину затухания расчетной амплитуды колебаний температуры наружного воздуха v в ограждающей конструкции следует определять в соответствии с ГОСТ 26253.
6.5 Тепловую инерцию D ограждающей конструкции следует определять как сумму значений тепловой инерции Di всех слоев многослойной конструкции, определяемых по формуле
Di= Risi, (6.5)
где Ri - термическое сопротивление отдельного i-го слоя ограждающей конструкции, м2·°C/Вт, определяемое по формуле
, (6.6)
где δi - толщина i-го слоя конструкции, м;
λi - расчетная теплопроводность материала i-го слоя конструкции, Вт/(м·°C).
Примечания
1 Расчетное теплоусвоение воздушных прослоек принимается равным нулю.
2 Слои конструкции, расположенные между воздушной прослойкой, вентилируемой наружным воздухом, и наружной поверхностью ограждающей конструкции не учитываются.
3 При суммарной тепловой инерции ограждающей конструкции D ≥ 4 расчет на теплоустойчивость не требуется.
6.6 Для определения теплоусвоения наружной поверхности отдельных слоев ограждающей конструкции следует предварительно вычислить тепловую инерцию D каждого слоя по формуле (6.5).
Теплоусвоение наружной поверхности слоя Y, Вт/(м2·°C), с тепловой инерцией D ≥ 1 следует принимать равным расчетному теплоусвоению s материала этого слоя конструкции.
Теплоусвоение наружной поверхности слоя Y с тепловой инерцией D < 1 следует определять расчетом, начиная с первого слоя (считая от внутренней поверхности ограждающей конструкции), следующим образом:
а) для первого слоя - по формуле
; (6.7)
б) для i-го слоя - по формуле
, (6.8)
где R1, Ri - термические сопротивления соответственно первого и i-го слоев ограждающей конструкции, м2·°C/Вт, определяемые по формуле (6.6);
s1, si - расчетное теплоусвоение материала соответственно первого и i-го слоев, Вт/(м2·°C);
αв - то же, что в формуле (5.4);
Y1, Yi, Yi-1 - теплоусвоение наружной поверхности соответственно первого, i-го и (i - 1)-го слоев ограждающей конструкции, Вт/(м2·°C).
6.7 Коэффициент теплоотдачи наружной поверхности ограждающей конструкции по летним условиям αн, Вт/(м2·°C), следует определять по формуле
αн = 1,16(5 + 10√ν), (6.9)
где v - минимальная из средних скоростей ветра по румбам за июль, повторяемость которых составляет 16% и более, принимаемая согласно СП 131.13330, но не менее 1 м/с.
6.8 В районах со среднемесячной температурой июля 21 °C и выше для окон, светопрозрачных фасадных конструкций и фонарей зданий жилых, больничных учреждений (больниц, клиник, стационаров и госпиталей), диспансеров, амбулаторно-поликлинических учреждений, родильных домов, домов ребенка, домов-интернатов для престарелых и инвалидов, детских садов, яслей, яслей-садов (комбинатов) и детских домов, а также производственных зданий, в которых должны соблюдаться оптимальные нормы температуры и относительной влажности воздуха в рабочей зоне или по условиям технологии должны поддерживаться постоянными температура или температура и относительная влажность воздуха, следует предусматривать солнцезащитное остекление и (или) солнцезащитные устройства.
Коэффициент теплопропускания солнцезащитного устройства должен быть не более нормируемой величины βнсз, установленной таблицей 8.
|
Здания |
Коэффициент теплопропускания солнцезащитного устройства βнсз |
|
1 Здания жилые, больничных учреждений (больниц, клиник, стационаров и госпиталей), диспансеров, амбулаторно-поликлинических учреждений, родильных домов, домов ребенка, домов-интернатов для престарелых и инвалидов, детских садов, яслей, яслей-садов (комбинатов) и детских домов |
0,2 |
|
2 Производственные здания, в которых должны соблюдаться заданные параметры микроклимата в рабочей зоне или по условиям технологии должны поддерживаться постоянными температура или температура и относительная влажность воздуха в здании |
0,4 |
7.1 Сопротивление воздухопроницанию ограждающих конструкций, за исключением светопрозрачных конструкций, зданий и сооружений Ru должно быть не менее нормируемого сопротивления воздухопроницанию Ruтр, (м2·ч·Па)/кг, определяемого по формуле
Ruтр= ∆p/Gн, (7.1)
где ∆p - разность давлений воздуха на наружной и внутренней поверхностях ограждающих конструкций, Па, определяемая в соответствии с 7.2;
Gн - нормируемая поперечная воздухопроницаемость ограждающих конструкций, кг/(м2·ч), принимаемая в соответствии с 7.3.
7.2 Разность давлений воздуха на наружной и внутренней поверхностях ограждающих конструкций ∆p, Па, следует определять по формуле
Δp = 0,55H(γн - γв) + 0,03γнν2, (7.2)
где H - высота здания (от уровня пола первого этажа до верха вытяжной шахты), м;
γн, γв - удельный вес соответственно наружного и внутреннего воздуха, Н/м3, определяемый по формуле
γ = 3463/(273 + t), (7.3)
t - температура воздуха: внутреннего (для определения γв) - принимается согласно оптимальным параметрам по ГОСТ 12.1.005, ГОСТ 30494 и СанПиН 2.1.2.2645; наружного (для определения γн) - принимается равной средней температуре наиболее холодной пятидневки обеспеченностью 0,92 по СП 131.13330;
v - максимальная из средних скоростей ветра по румбам за январь, повторяемость которых составляет 16% и более, принимаемая по СП 131.13330.
7.3 Нормируемую поперечную воздухопроницаемость Gн, кг/(м2·ч), ограждающих конструкций зданий следует принимать по таблице 9.
|
Ограждающие конструкции |
Поперечная воздухопроницаемость Gн, кг/(м2·ч), не более |
|
1 Наружные стены, перекрытия и покрытия жилых, общественных, административных и бытовых зданий и помещений |
0,5 |
|
2 Наружные стены, перекрытия и покрытия производственных зданий и помещений |
1,0 |
|
3 Стыки между панелями наружных стен: | |
|
а) жилых зданий |
0,5 <*> |
|
б) производственных зданий |
1,0 <*> |
|
4 Входные двери в квартиры |
1,5 |
|
5 Входные двери в жилые, общественные и бытовые здания |
7,0 |
|
6 Окна и балконные двери жилых, общественных и бытовых зданий и помещений с деревянными переплетами; окна и фонари производственных зданий с кондиционированием воздуха |
6,0 |
|
7 Окна и балконные двери жилых, общественных и бытовых зданий и помещений с пластмассовыми или алюминиевыми переплетами |
5,0 |
|
8 Окна, двери и ворота производственных зданий |
8,0 |
|
9 Фонари производственных зданий |
10,0 |
|
10 Окна и фонари производственных зданий с кондиционированием воздуха |
6,0 |
|
<*> В кг/м·ч. | |
7.4 Сопротивление воздухопроницанию Ru многослойной ограждающей конструкции следует рассчитывать как сумму сопротивлений воздухопроницанию отдельных слоев по формуле
Ru= Ru1 + Ru2 + …+ Run, (7.4)
где Ru1, Ru2, ..., Run - сопротивления воздухопроницанию отдельных слоев ограждающей конструкции, (м2·ч·Па)/кг, принимаются по результатам испытаний или по приложению С.
7.5 Сопротивление воздухопроницанию окон и балконных дверей жилых и общественных зданий, а также окон и фонарей производственных зданий Ru должно быть не менее нормируемого сопротивления воздухопроницанию Ruтр, (м2·ч)/кг, определяемого по формуле
Ruтр= (1/Gн)·(Δp/Δp0)2/3, (7.5)
где Gн - то же, что и в формуле (7.1);
Δp - то же, что и в формуле (7.2);
Δp0 = 10 Па - разность давлений воздуха на наружной и внутренней поверхностях светопрозрачных ограждающих конструкций, при которой экспериментально определяется сопротивление воздухопроницанию конструкций выбранного типа Ru.
7.6 Сопротивление воздухопроницанию выбранного типа светопрозрачной конструкции Ru, (м2·ч)/кг, определяют по формуле
Ru= (1/Gc)·(Δp/Δp0)n, (7.6)
где Gc - воздухопроницаемость светопрозрачной конструкции, кг/(м2·ч), при Δp0 = 10 Па, полученная в результате испытаний;
n - показатель режима фильтрации светопрозрачной конструкции, полученный в результате испытаний.
7.7 В случае выполнения условия Ru≥ Ruтр, выбранная ограждающая конструкция удовлетворяет требованию 7.1.
В случае Ru< Ruтр необходимо применить ограждающую конструкцию другого типа, добиваясь выполнения требований 7.1.
7.8 Для обеспечения нормируемого воздухообмена при оборудовании помещений только вытяжной вентиляцией в наружных ограждениях (стенах, окнах) следует предусмотреть регулируемые приточные устройства.
8.1 Защита от переувлажнения ограждающих конструкций должна обеспечиваться путем проектирования ограждающих конструкций с сопротивлением паропроницанию внутренних слоев не менее требуемого значения, определяемого расчетом одномерного влагопереноса (осуществляемому по механизму паропроницаемости).
Сопротивление паропроницанию Rn, (м2·ч·Па)/мг, ограждающей конструкции (в пределах от внутренней поверхности до плоскости максимального увлажнения, определяемой в соответствии с 8.5) должно быть не менее наибольшего из следующих требуемых сопротивлений паропроницанию:
а) требуемого сопротивления паропроницанию
, (м2·ч·Па)/мг (из условия недопустимости накопления влаги в ограждающей конструкции за годовой период эксплуатации), определяемого по формуле
; (8.1)
б) требуемого сопротивления паропроницанию
, (м2·ч·Па)/мг (из условия ограничения влаги в ограждающей конструкции за период с отрицательными средними месячными температурами наружного воздуха), определяемого по формуле
, (8.2)
где ев - парциальное давление водяного пара внутреннего воздуха, Па, при расчетных температуре и относительной влажности воздуха в помещении, определяемое по формуле
ев = (φв/100)Eв, (8.3)
где Eв - парциальное давление насыщенного водяного пара, Па, при температуре внутреннего воздуха помещения tв, определяемое в соответствии с 8.6;
φв - относительная влажность внутреннего воздуха, %, принимаемая для различных зданий в соответствии с 5.7;
Rп.н - сопротивление паропроницанию, (м2·ч·Па)/мг, части ограждающей конструкции, расположенной между наружной поверхностью ограждающей конструкции и плоскостью максимального увлажнения, определяемое по 8.7;
ен - среднее парциальное давление водяного пара наружного воздуха за годовой период, Па, определяемое по СП 131.13330;
z0 - продолжительность периода влагонакопления, сут, принимаемая равной периоду с отрицательными средними месячными температурами наружного воздуха по СП 131.13330;
E0 - парциальное давление насыщенного водяного пара в плоскости максимального увлажнения, Па, определяемое при средней температуре наружного воздуха периода влагонакопления z0 согласно 8.6 и 8.8;
ρw - плотность материала увлажняемого слоя, кг/м3;
δw - толщина увлажняемого слоя ограждающей конструкции, м, принимаемая равной 2/3 толщины однородной (однослойной) стены или толщине слоя многослойной ограждающей конструкции, в котором располагается плоскость максимального увлажнения;
Δw - предельно допустимое приращение влажности в материале увлажняемого слоя, % по массе, за период влагонакопления z0, принимаемое по таблице 10.
|
Материал ограждающей конструкции |
Предельно допустимое приращение влажности в материале <*> Δw, % по массе |
|
1 Кладка из глиняного кирпича и керамических блоков |
1,5 |
|
2 Кладка из силикатного кирпича |
2,0 |
|
3 Легкие бетоны на пористых заполнителях (керамзитобетон, шунгизитобетон, перлитобетон, шлакопемзобетон) |
5 |
|
4 Ячеистые бетоны (газобетон, пенобетон, газосиликат и др.) |
6 |
|
5 Пеногазостекло |
1,5 |
|
6 Фибролит и арболит цементные |
7,5 |
|
7 Минераловатные плиты и маты |
3 |
|
8 Пенополистирол и пенополиуретан |
25 |
|
9 Фенольно-резольный пенопласт |
50 |
|
9а Экструзионный пенополистирол |
1,5 |
|
10 Теплоизоляционные засыпки из керамзита, шунгизита, шлака |
3 |
|
11 Тяжелый бетон, цементно-песчаный раствор |
2 |
|
<*> В случае, если значение сорбционной влажности материала при относительной влажности воздуха 97% меньше, чем значение влажности материала при условии эксплуатации Б, и разница между этими значениями составляет Δwc, % по массе, то значение предельно допустимого приращения влажности в материале Δw увеличивается на величину Δwc. Сорбционную влажность материала определяют по ГОСТ 24816. | |
В случае, когда плоскость максимального увлажнения приходится на стык между двумя слоями, ρwδwΔw в формуле (8.2) принимают равным сумме ρ1δw1Δw1 + ρ2δw2Δw2, где δw1 и δw2 соответствуют половинам толщин стыкующихся слоев.
E - парциальное давление насыщенного водяного пара в плоскости максимального увлажнения за годовой период эксплуатации, Па, определяемое по формуле
E = (E1z1 + E2z2 + E3z3)/12, (8.4)
где E1, E2, E3 - парциальные давления насыщенного водяного пара в плоскости максимального увлажнения соответственно зимнего, весенне-осеннего и летнего периодов, Па, определяемые согласно 8.6, по температуре в плоскости максимального увлажнения (определяется согласно 8.8), при средней температуре наружного воздуха соответствующего периода;
z1, z2, z3 - продолжительность зимнего, весенне-осеннего и летнего периодов года, мес, определяемая по СП 131.13330, с учетом следующих условий:
а) к зимнему периоду относятся месяцы со средними температурами наружного воздуха ниже минус 5 °C;
б) к весенне-осеннему периоду относятся месяцы со средними температурами наружного воздуха от минус 5 до 5 °C;
в) к летнему периоду относятся месяцы со средними температурами воздуха выше плюс 5 °C;
η - коэффициент, определяемый по формуле
, (8.5)
где ен,отр - среднее парциальное давление водяного пара наружного воздуха периода месяцев с отрицательными среднемесячными температурами, Па, определяемое по СП 131.13330.
Примечание - При определении парциального давления Е3 для летнего периода температуру в плоскости максимального увлажнения во всех случаях следует принимать не ниже средней температуры наружного воздуха летнего периода, парциальное давление водяного пара внутреннего воздуха ев - не ниже среднего парциального давления водяного пара наружного воздуха за этот период.
8.2 Сопротивление паропроницанию Rn, (м2·ч·Па)/мг, чердачного перекрытия или части конструкции вентилируемого покрытия, расположенной между внутренней поверхностью покрытия и воздушной прослойкой, в зданиях со скатными кровлями должно быть не менее требуемого сопротивления паропроницанию Rnтр, (м2·ч·Па)/мг, определяемого по формуле
Rnтр = 0,0012(ев - ен,отр), (8.6)
где ев, ен,отр - то же, что и в формулах (8.1) и (8.5).
8.3 Для защиты от увлажнения теплоизоляционного слоя (утеплителя) в покрытиях зданий с влажным или мокрым режимом следует предусматривать пароизоляцию ниже теплоизоляционного слоя, которую следует учитывать при определении сопротивления паропроницанию покрытия в соответствии с 8.7.
8.4 Для защиты от переувлажнения навесных фасадных систем с вентилируемой воздушной прослойкой необходимо дополнительно выполнить проверку на "невыпадение конденсата" в вентилируемой воздушной прослойке в соответствии с расчетом, представленным в приложении Л.
8.5 Плоскость максимального увлажнения определяется для периода с отрицательными среднемесячными температурами следующим образом:
8.5.1 Для каждого слоя многослойной конструкции по формуле (8.7) вычисляется значение комплекса fi(tм.у.), характеризующего температуру в плоскости максимального увлажнения.
, (8.7)
где Rо,п - общее сопротивление паропроницанию ограждающей конструкции, м2·ч·Па/мг, определяемое согласно 8.7;
Rоусл - условное сопротивление теплопередаче однородной многослойной ограждающей конструкции, (м2·°C)/Вт, определяемое по формулам (Е.6), (Е.7);
tн,отр - средняя температура наружного воздуха для периода с отрицательными среднемесячными температурами, °C;
ев - то же, что и в формуле (8.1);
ен,отр - то же, что и в формуле (8.5);
λi, μi - расчетные теплопроводность, Вт/(м2·°C), и паропроницаемость, мг/(м·ч·Па), материала соответствующего слоя.
8.5.2 По полученным значениям комплекса fi(tм.у.) по таблице 11 определяются значения температур в плоскости максимального увлажнения, tм.у для каждого слоя многослойной конструкции.
|
tм.у, °C |
f(tм.у), К2/Па |
tм.у, °C |
f(tм.у), К2/Па |
tм.у, °C |
f(tм.у), К2/Па |
tм.у, °C |
f(tм.у), К2/Па |
|
-40 |
2539 |
-23 |
616,9 |
-6 |
181,1 |
11 |
62,0 |
|
-39 |
2322 |
-22 |
571,2 |
-5 |
169,3 |
12 |
58,5 |
|
-38 |
2126 |
-21 |
529,2 |
-4 |
158,4 |
13 |
55,2 |
|
-37 |
1947 |
-20 |
490,7 |
-3 |
148,3 |
14 |
52,1 |
|
-36 |
1785 |
-19 |
455,2 |
-2 |
138,9 |
15 |
49,1 |
|
-35 |
1638 |
-18 |
422,5 |
-1 |
130,2 |
16 |
46,4 |
|
-34 |
1504 |
-17 |
392,5 |
0 |
122,1 |
17 |
43,9 |
|
-33 |
1382 |
-16 |
364,8 |
1 |
114,5 |
18 |
41,5 |
|
-32 |
1271 |
-15 |
339,2 |
2 |
107,5 |
19 |
39,2 |
|
-31 |
1170 |
-14 |
315,6 |
3 |
100,9 |
20 |
37,1 |
|
-30 |
1077 |
-13 |
293,9 |
4 |
94,8 |
21 |
35,1 |
|
-29 |
992,7 |
-12 |
273,8 |
5 |
89,1 |
22 |
33,2 |
|
-28 |
915,5 |
-11 |
255,2 |
6 |
83,8 |
23 |
31,5 |
|
-27 |
844,8 |
-10 |
238,0 |
7 |
78,8 |
24 |
29,8 |
|
-26 |
780,2 |
-9 |
222,1 |
8 |
74,2 |
25 |
28,3 |
|
-25 |
721,0 |
-8 |
207,4 |
9 |
69,9 |
26 |
26,8 |
|
-24 |
666,7 |
-7 |
193,7 |
10 |
65,8 |
27 |
25,4 |
8.5.3 Составляется таблица, содержащая: номер слоя, tм.у для этого слоя, температуры на границах слоя, полученные расчетом по 8.8 (при средней температуре наружного воздуха периода с отрицательными среднемесячными температурами).
8.5.4 Для определения слоя, в котором находится плоскость максимального увлажнения, производится сравнение полученных значений tм.у с температурами на границах слоев конструкции. Если температура tм.у в каком-то из слоев расположена в интервале температур на границах этого слоя, то делается вывод о наличии в данном слое плоскости максимального увлажнения и определяется координата плоскости - xм.у (в предположении линейного распределения температуры внутри слоя).
8.5.5 Если в каждом из двух соседних слоев конструкции отсутствует плоскость с температурой tм.у, при этом у более холодного слоя tм.у выше его температуры, а у более теплого слоя tм.у ниже его температуры, то плоскость максимального увлажнения находится на границе этих слоев.
Если внутри конструкции плоскость максимального увлажнения отсутствует, то она расположена на наружной поверхности конструкции.
Если при расчете обнаружилось две плоскости с tм.у в конструкции, то за плоскость максимального увлажнения принимается плоскость, расположенная в слое утеплителя.
Для многослойных ограждающих конструкций с выраженным теплоизоляционным слоем (термическое сопротивление теплоизоляционного слоя больше 2/3Rоусл) и наружным защитным слоем, паропроницаемость материала которого меньше, чем у материала теплоизоляционного слоя, допускается принимать плоскость максимального увлажнения на наружной границе утеплителя при условии выполнения неравенства
,
где λут, μут - расчетная теплопроводность, Вт/(м2·°C), и паропроницаемость, мг/м·ч·Па, материала теплоизоляционного слоя.
Упрощенный метод нахождения плоскости максимального увлажнения содержится в СП 345.1325800.2017.
8.6 Парциальное давление насыщенного водяного пара E, Па, при температуре t, °C, от минус 40 до плюс 45 °C определяется по формуле
. (8.8)
8.7 Сопротивление паропроницанию Rni, м2·ч·Па/мг, однослойной или отдельного слоя многослойной ограждающей конструкции определяется по формуле
, (8.9)
где δi - толщина слоя ограждающей конструкции, м;
μi - расчетная паропроницаемость материала слоя ограждающей конструкции, мг/(м·ч·Па).
Сопротивление паропроницанию Rп,о, (м2·ч·Па)/мг, многослойной ограждающей конструкции (или ее части) равно сумме сопротивлений паропроницанию составляющих ее слоев
Rп,о = ∑Rni.. (8.9*)
Сопротивление паропроницанию Rп,о, (м2·ч·Па)/мг, листовых материалов и тонких слоев пароизоляции следует принимать по приложению Н.
Примечания
1 Сопротивление паропроницанию замкнутых воздушных прослоек в ограждающих конструкциях следует принимать равным нулю, независимо от расположения и толщины этих прослоек.
2 Для обеспечения требуемого сопротивления паропроницанию Rптр ограждающей конструкции следует определять сопротивление паропроницанию Rп конструкции в пределах от внутренней поверхности до плоскости максимального увлажнения.
3 В помещениях с влажным или мокрым режимом следует предусматривать пароизоляцию теплоизолирующих уплотнителей сопряжений элементов ограждающих конструкций (мест примыкания заполнений проемов к стенам и т.п.) со стороны помещений; сопротивление паропроницанию в местах таких сопряжений проверяется из условия ограничения накопления влаги в сопряжениях за период с отрицательными среднемесячными температурами наружного воздуха на основании расчетов температурного и влажностного полей.
8.8 Температуру tx, °C, ограждающей конструкции в плоскости, отстоящей от внутренней поверхности на расстоянии x, м, следует определять по формуле
, (8.10)
где tв и tн - температура внутреннего и наружного воздуха соответственно, °C;
Rx - сопротивление теплопередаче части многослойной ограждающей конструкции от внутренней поверхности до плоскости, отстоящей от внутренней поверхности на расстоянии x, м2·°C/Вт, определяемое по формуле
. (8.11)
9.1 Поверхность пола жилых и общественных зданий, вспомогательных зданий и помещений промышленных предприятий и отапливаемых помещений производственных зданий (на участках с постоянными рабочими местами) должна иметь расчетный показатель теплоусвоения Yпол, Вт/(м2·°C), не более нормируемой величины
, установленной в таблице 12.
|
Здания, помещения и отдельные участки |
Показатель теплоусвоения поверхности пола |
|
1 Здания жилые, больничных учреждений (больниц, клиник, стационаров и госпиталей), диспансеров, амбулаторно-поликлинических учреждений, родильных домов, домов ребенка, домов-интернатов для престарелых и инвалидов, общеобразовательных детских школ, детских садов, яслей, яслей-садов (комбинатов), детских домов и детских приемников-распределителей |
12 |
|
2 Общественные здания (кроме указанных в поз. 1); вспомогательные здания и помещения промышленных предприятий; участки с постоянными рабочими местами в отапливаемых помещениях производственных зданий, где выполняются легкие физические работы (категория I) |
14 |
|
3 Участки с постоянными рабочими местами в отапливаемых помещениях производственных зданий, где выполняются физические работы средней тяжести (категория II) |
17 |
|
4 Участки животноводческих зданий в местах отдыха животных при бесподстилочном содержании: | |
|
а) коровы и нетели за 2 - 3 месяца до отела, быки-производители, телята до 6 месяцев, ремонтный молодняк крупного рогатого скота, свиньи-матки, хряки, поросята-отъемыши |
11 |
|
б) коровы стельные и новотельные, молодняк свиней, свиньи на откорме |
13 |
|
в) крупный рогатый скот на откорме |
14 |
9.2 Расчетная величина показателя теплоусвоения поверхности пола Yпол, Вт/(м2·°C), определяется следующим образом:
а) если покрытие пола (первый слой конструкции пола) имеет тепловую инерцию D1 = R1s1 ≥ 0,5, то показатель теплоусвоения поверхности пола следует определять по формуле
Yпол = 2s1; (9.1)
б) если первые n слоев конструкции пола (n ≥ 1) имеют суммарную тепловую инерцию D1 + D2 + …+ Dn< 0,5, но тепловая инерция (n + 1) слоев D1 + D2 + …+ Dn+1 ≥ 0,5, то показатель теплоусвоения поверхности пола Yпол следует определять последовательно расчетом показателей теплоусвоения поверхностей слоев конструкции, начиная с n-го до 1-го:
для n-го слоя - по формуле
Yn = (2Rnsn2 + sn+1)/(0,5 + Rnsn+1); (9.2)
для i-го слоя (i = n - 1; n - 2; ...; 1) - по формуле
Yi = (4Risi2 + Yi+1)/(1 + RiYi+1). (9.3)
Показатель теплоусвоения поверхности пола Yпол принимается равным показателю теплоусвоения поверхности первого слоя Y1.
В формулах (9.1) - (9.3) и неравенствах
D1, D2, ..., Dn+1 - тепловая инерция соответственно 1-го, 2-го, ..., (n + 1)-го слоев конструкции пола, определяемая по формулам:
D1 = R1s1; D2 = R2s2; ...; Dn = Rnsn; (9.4)
R1, R2, ..., Rn - термические сопротивления, (м2·°C)/Вт, соответственно 1-го, 2-го, ..., n-го слоев конструкции пола, определяемые по формулам:
;
; ...;
; (9.5)
s1, si, sn, sn+1 - расчетное теплоусвоение материала соответственно 1-го, 2-го, ..., n-го, (n + 1)-го слоев конструкции пола, Вт/(м2·°C), принимаемое расчетом по результатам испытаний в аккредитованной лаборатории; при отсутствии таких данных оно оценивается по приложению Т;
δ1, δ2, ..., δn - толщины соответственно 1-го, 2-го,..., n-го слоев конструкции пола, м;
λ1, λ2, ..., λn - расчетные теплопроводности материала соответственно 1-го, 2-го, ..., n-го слоев конструкции пола, Вт/(м2·°C), Вт/(м·°C), принимаемые по результатам испытаний в аккредитованной лаборатории; при отсутствии таких данных они оцениваются по приложению Т.
Если расчетная величина Yпол показателя теплоусвоения поверхности пола окажется не более нормируемой величины
, установленной в таблице 12, то этот пол удовлетворяет требованиям в отношении теплоусвоения; если
, то следует разработать другую конструкцию пола или изменить толщины его отдельных слоев до удовлетворения требованиям
.
9.3 Не нормируется показатель теплоусвоения поверхности полов:
а) имеющих температуру поверхности выше 23 °C;
б) в отапливаемых помещениях производственных зданий, где выполняются тяжелые физические работы (категория III);
в) в производственных зданиях при условии укладки на участке постоянных рабочих мест деревянных щитов или теплоизолирующих ковриков;
г) помещений общественных зданий, эксплуатация которых не связана с постоянным пребыванием в них людей (залы музеев и выставок, фойе театров, кинотеатров и т.п.).
9.4 Теплотехнический расчет полов животноводческих, птицеводческих и звероводческих зданий следует выполнять с учетом требований СП 106.13330.
10.1 Показателем расхода тепловой энергии на отопление и вентиляцию жилого или общественного здания на стадии разработки проектной документации является удельная характеристика расхода тепловой энергии на отопление и вентиляцию здания, численно равная расходу тепловой энергии на 1 м3 отапливаемого объема здания в единицу времени при перепаде температуры в 1 °C, qот, Вт/(м3·°C). Расчетное значение удельной характеристики расхода тепловой энергии на отопление и вентиляцию здания qрот, Вт/(м3·°C), определяется по методике приложения Г с учетом климатических условий района строительства, выбранных объемно-планировочных решений, ориентации здания, теплозащитных свойств ограждающих конструкций, принятой системы вентиляции здания, а также применения энергосберегающих технологий. Расчетное значение удельной характеристики расхода тепловой энергии на отопление и вентиляцию здания должно быть меньше или равно нормируемому значению
, Вт/(м3·°C). Для нормирования энергопотребления здания расчетное значение удельной характеристики расхода тепловой энергии на отопление и вентиляцию определяется в режиме, усредненном за отопительный период.
, (10.1)
где
- нормируемая удельная характеристика расхода тепловой энергии на отопление и вентиляцию зданий, Вт/(м3·°C), определяемая для различных типов жилых и общественных зданий по таблице 13 или 14.
|
Площадь здания, м2 |
С числом этажей | |||
|
1 |
2 |
3 |
4 | |
|
50 |
0,579 |
- |
- |
- |
|
100 |
0,517 |
0,558 |
- |
- |
|
150 |
0,455 |
0,496 |
0,538 |
- |
|
250 |
0,414 |
0,434 |
0,455 |
0,476 |
|
400 |
0,372 |
0,372 |
0,393 |
0,414 |
|
600 |
0,359 |
0,359 |
0,359 |
0,372 |
|
1000 и более |
0,336 |
0,336 |
0,336 |
0,336 |
|
Примечание - При промежуточных значениях отапливаемой площади здания в интервале 50 - 1000 м2 значения | ||||
|
Тип здания |
Этажность здания | |||||||
|
1 |
2 |
3 |
4, 5 |
6, 7 |
8, 9 |
10, 11 |
12 и выше | |
|
1 Жилые многоквартирные, гостиницы, общежития |
0,455 |
0,414 |
0,372 |
0,359 |
0,336 |
0,319 |
0,301 |
0,290 |
|
2 Общественные и производственные, кроме перечисленных в строках 3 - 6 |
0,487 |
0,440 |
0,417 |
0,371 |
0,359 |
0,342 |
0,324 |
0,311 |
|
3 Поликлиники и лечебные учреждения, дома-интернаты |
0,394 |
0,382 |
0,371 |
0,359 |
0,348 |
0,336 |
0,324 |
0,311 |
|
4 Дошкольные учреждения, хосписы |
0,521 |
0,521 |
0,521 |
- |
- |
- |
- |
- |
|
5 Сервисного обслуживания, культурно-досуговой деятельности, технопарки, склады |
0,266 |
0,255 |
0,243 |
0,232 |
0,232 |
- | ||
|
6 Административного назначения (офисы) |
0,417 |
0,394 |
0,382 |
0,313 |
0,278 |
0,255 |
0,232 |
0,232 |
|
Примечание - Для регионов, имеющих значение ГСОП = 8000 °C·сут и более, нормируемые | ||||||||
10.3 Для оценки достигнутой в проекте здания или в эксплуатируемом здании потребности в энергии на отопление и вентиляцию установлены следующие классы энергосбережения (таблица 15) в % отклонения расчетной удельной характеристики расхода тепловой энергии на отопление и вентиляцию здания от нормируемой (базовой) величины.
|
Обозначение класса |
Наименование класса |
Величина отклонения расчетного (фактического) значения удельной характеристики расхода тепловой энергии на отопление и вентиляцию здания от нормируемого, % |
Рекомендуемые мероприятия, разрабатываемые субъектами РФ |
|
При проектировании и эксплуатации новых и реконструируемых зданий | |||
|
A++ |
Очень |
Ниже -60 |
Экономическое стимулирование |
|
A+ |
высокий |
От -50 до -60 включительно | |
|
A |
От -40 до -50 включительно | ||
|
B+ |
Высокий |
От -30 до -40 включительно |
Экономическое стимулирование |
|
B |
От -15 до -30 включительно | ||
|
C+ |
Нормальный |
От -5 до -15 включительно |
Мероприятия не разрабатываются |
|
C |
От +5 до -5 включительно | ||
|
C- |
От +15 до +5 включительно | ||
|
При эксплуатации существующих зданий | |||
|
D |
Пониженный |
От +15,1 до +50 включительно |
Реконструкция при соответствующем экономическом обосновании |
|
E |
Низкий |
Более +50 |
Реконструкция при соответствующем экономическом обосновании, или снос |
10.4 Проектирование зданий с классами энергосбережения D, E не допускается. Классы A, B, C устанавливают для вновь возводимых и реконструируемых зданий на стадии разработки проектной документации.
10.5 К энергетическим характеристикам здания также относится тепловая мощность систем отопления и вентиляции, которая выражает величину тепловых затрат, образуемых системами отопления и вентиляции в расчетном режиме (или в режиме при наиболее неблагоприятных условиях).
Примечание - В отличие от рассматриваемого в приложении Г режима, усредненного за отопительный период, под расчетным режимом (или режимом при наиболее неблагоприятных условиях) понимается такой режим, при котором требуемая температура помещения обеспечивается при температуре наружного воздуха района строительства, равной температуре наиболее холодной пятидневки обеспеченностью 0,92, и при отсутствии тепловых поступлений от солнечной радиации. Расчетный режим при определении тепловых затрат применяют для последующего подбора элементов инженерных систем при проектировании инженерных систем.
Тепловая мощность систем отопления и вентиляции характеризуется в СП 60.13330.
Приложение А
(обязательное)
Приложение А исключено с 15 июня 2019 года. - Изменение N 1
Приложение Б
(обязательное)
Приложение Б исключено с 15 июня 2019 года. - Изменение N 1
Приложение В

Приложение Г
Г.1 Расчетную удельную характеристику расхода тепловой энергии на отопление и вентиляцию здания qрот, Вт/(м3·°C), следует определять по формуле
qрот = kоб + kвент - βКПИ(kбыт + kрад), (Г.1)
где kоб - удельная теплозащитная характеристика здания, Вт/(м3·°C), определяется в соответствии с приложением Ж;
kвент - удельная вентиляционная характеристика здания, Вт/(м3·°C);
kбыт - удельная характеристика внутренних теплопоступлений здания, Вт/(м3·°C);
kрад - удельная характеристика теплопоступлений в здание от солнечной радиации, Вт/(м3·°C);
βКПИ - коэффициент полезного использования теплопоступлений, определяемый по формуле
βКПИ = Kрег/(1 + 0,5nв), (Г.1а)
здесь Kрег - коэффициент эффективности регулирования подачи теплоты в системах отопления; рекомендуемые значения:
Kрег = 0,95 - в системе отопления с местными терморегуляторами и пофасадным авторегулированием на вводе;
Kрег = 0,9 - в системе отопления с местными терморегуляторами и центральным авторегулированием на вводе;
Kрег = 0,85 - в системе отопления без местных терморегуляторов и пофасадным авторегулированием;
Kрег = 0,8 - в системе отопления с местными терморегуляторами и без авторегулирования на вводе;
Kрег = 0,7 - в системе отопления без местных терморегуляторов и центральным авторегулированием на вводе;
Kрег = 0,6 - в системе отопления без местных терморегуляторов и без авторегулирования на вводе;
nв - средняя кратность воздухообмена здания за отопительный период, ч-1.
Г.2 Удельную вентиляционную характеристику здания kвент, Вт/(м3·°C), следует определять по формуле
kвент = 0,28c(Lвентρввентnвент(1 – kэф) + Gинфnинф)/(168Vот), (Г.2)
где c - удельная теплоемкость воздуха, равная 1 кДж/(кг·°C);
ρввент - средняя плотность приточного воздуха за отопительный период, кг/м3, определяемая по формуле
ρввент = 353/[273 + tот], (Г.3)
здесь tот - то же, что и в формуле (5.2), °C;
Lвент - количество приточного воздуха в здание, м3/ч, определяемое по Г.3;
nвент - число часов работы механической вентиляции в течение недели;
Gинф - количество инфильтрующегося воздуха в здание, кг/ч, определяемое по Г.4;
nинф - число часов учета инфильтрации в течение недели, ч, равное 168 для зданий со сбалансированной приточно-вытяжной вентиляцией и (168 - nвент) для зданий, в помещениях которых поддерживается подпор воздуха во время действия приточной механической вентиляции;
Vот - отапливаемый объем здания, равный объему, ограниченному внутренними поверхностями наружных ограждений зданий, м3;
kэф - коэффициент эффективности рекуператора.
Г.3 Средняя кратность воздухообмена здания за отопительный период nв, ч-1, рассчитывается по суммарному воздухообмену за счет вентиляции и инфильтрации по формуле
nв = [(Lвентnвент)/168 + (Gинфnинф)/(168ρввент)]/(βνVот), (Г.4)
где Lвент - количество приточного воздуха в здание при неорганизованном притоке либо нормируемое значение при механической вентиляции, м3/ч, равное для:
а) жилых зданий с расчетной заселенностью квартир менее 20 м2 общей площади на человека - 3Аж;
б) других жилых зданий - 0,35hэтAоб, но не менее 30m, где Aоб - общая площадь квартир, м2; m - расчетное число жителей в здании;
в) общественных и административных зданий определяют согласно подразделу проектной документации "Отопление, вентиляция и кондиционирование воздуха, тепловые сети" с учетом баланса приточного и вытяжного воздуха, в том числе при использовании систем рециркуляции, либо согласно приложению В СП 60.13330.2020 с учетом количества человек в помещениях;
Aж - для жилых зданий - площадь жилых помещений, к которым относятся спальни, детские, гостиные, кабинеты, библиотеки, столовые, кухни-столовые, м2;
hэт - высота этажа от пола до потолка, м;
nвент - то же, что и в Г.2;
168 - число часов в неделе;
Gинф - количество инфильтрующегося воздуха в здание через ограждающие конструкции, кг/ч, определяемое согласно Г.4;
nинф - то же, что и в Г.2;
βν - коэффициент снижения объема воздуха в здании, учитывающий наличие внутренних ограждающих конструкций. При отсутствии данных следует принимать βν = 0,85.
В случаях, когда здание состоит из нескольких зон с различным воздухообменом, средние кратности воздухообмена находятся для каждой зоны в отдельности (зоны, на которые разделено здание, должны составлять весь отапливаемый объем). Все полученные средние кратности воздухообмена суммируются, и суммарный коэффициент подставляется в формулу (Г.2) для расчета удельной вентиляционной характеристики здания.
Г.4 Количество инфильтрующегося воздуха, поступающего в лестничную клетку жилого здания или в помещения общественного здания через неплотности заполнений проемов, полагая, что все они находятся на наветренной стороне, следует определять по формуле
, (Г.5)
где Аок и Адв - соответственно суммарная площадь окон, балконных дверей и входных наружных дверей, м2;
и
- соответственно фактическое сопротивление воздухопроницанию светопрозрачных конструкций и входных наружных дверей, (м2·ч)/кг;
Δpок и Δpдв - соответственно расчетная разность давлений наружного и внутреннего воздуха, Па, для окон и балконных дверей и входных наружных дверей, определяют по формуле (7.2) для окон и балконных дверей с заменой в ней величины 0,55 на 0,28 и с вычислением удельного веса по формуле (7.3) при температуре воздуха, равной tот, где tот - то же, что и в формуле (5.2).
Для общественных зданий в нерабочее время - количество инфильтрующегося воздуха, поступающего через неплотности светопрозрачных конструкций и дверей, допускается принимать в зависимости от этажности здания: до трех этажей - равным 0,1βνVобщ, от четырех до девяти этажей - 0,15βνVобщ, выше девяти этажей - 0,2βνVобщ, где Vобщ - отапливаемый объем общественной части здания.
Для лестнично-лифтовых узлов (ЛЛУ) жилых зданий - количество инфильтрующегося воздуха, поступающего через неплотности заполнения проемов, допускается принимать в зависимости от этажности здания: до трех этажей - равным 0,3βνVЛЛУ, от четырех до девяти этажей - 0,45βνVЛЛУ, выше девяти этажей - 0,6βνVЛЛУ, где VЛЛУ - отапливаемый объем лестнично-лифтовых холлов здания. Для ЛЛУ без поэтажных выходов на балконы количество инфильтрующегося воздуха, полученное по упрощенным формулам, следует уменьшать в два раза.
Г.5 Удельную характеристику бытовых тепловыделений жилых зданий kбыт, Вт/(м3·°C), следует определять по формуле
, (Г.6)
где Aж - то же, что и в Г.3;
qбыт - величина бытовых тепловыделений на 1 м2 площади жилых помещений, Вт/м2, принимаемая для:
а) жилых зданий с расчетной заселенностью квартир менее 20 м2 общей площади на человека qбыт = 17 Вт/м2;
б) жилых зданий с расчетной заселенностью квартир 45 м2 общей площади и более на человека qбыт = 10 Вт/м2;
в) других жилых зданий - в зависимости от расчетной заселенности квартир по интерполяции величины qбыт между 17 и 10 Вт/м2;
tв, tот - то же, что и в формуле (5.2), °C.
Удельную характеристику бытовых тепловыделений общественных и административных зданий, kбыт, Вт/(м3·°C), следует определять по формуле
, (Г.6а)
где Aр - для общественных и административных зданий - расчетная площадь, определяемая согласно СП 118.13330 как сумма площадей всех помещений, за исключением коридоров, тамбуров, переходов, лестничных клеток, лифтовых шахт, внутренних открытых лестниц и пандусов, а также помещений, предназначенных для размещения инженерного оборудования и сетей, м2;
qбыт - величина бытовых тепловыделений на 1 м2 площади; для общественных и административных зданий бытовые тепловыделения учитываются по расчетному числу людей (90 Вт/чел.), находящихся в здании, в пересчете на 1 м2, нужд освещения (по мощности осветительных приборов) и оргтехники (10 Вт/м2) с учетом рабочих часов в неделю.
Г.6 Удельную характеристику теплопоступлений в здание от солнечной радиации kрад, Вт/(м3·°C), следует определять по формуле
, (Г.7)
где
- теплопоступления через окна и фонари от солнечной радиации в течение отопительного периода, МДж/год, для четырех фасадов зданий, ориентированных по четырем направлениям, определяемые по методике раздела 10 СП 345.1325800.2017.
Г.7 Удельный расход тепловой энергии на отопление и вентиляцию здания за отопительный период q, кВт·ч/(м3·год) или кВт·ч/(м2·год), следует определять по формулам:
q = 0,24ГСОПqрот, кВт·ч/(м3·год); (Г.9)
q = 0,24ГСОПqротh, кВт·ч/(м2·год), (Г.9а)
где qрот - то же, что в Г.1;
h - средняя высота этажа здания, м, равная Vот/Аот;
Аот - сумма площадей этажей здания, измеренных в пределах внутренних поверхностей наружных стен, м2, за исключением технических этажей и гаражей;
Vот - то же, что в Г.2.
Расход тепловой энергии на отопление и вентиляцию здания за отопительный период
, кВт·ч/год, следует определять по формуле
. (Г.10)
Г.8 Общие теплопотери здания за отопительный период
, кВт·ч/год, следует определять по формуле
, (Г.11)
где ГСОП - то же, что в (5.2);
Vот - то же, что в Г.3;
kоб, kвент - то же, что в Г.1.
Приложение Д
Д.1 Энергетический паспорт проекта здания разрабатывается в целях обеспечения системы мониторинга расхода тепловой энергии на отопление и вентиляцию зданием, что подразумевает установление соответствия теплозащитных и энергетических характеристик здания нормируемым показателям, определенным в настоящих нормах, и (или) требованиям энергетической эффективности объектов капитального строительства, определяемых федеральным законодательством.
Д.2 Энергетический паспорт следует разрабатывать в ходе проектирования новых или реконструируемых зданий.
Для зданий производственного назначения с температурой внутреннего воздуха ниже +12 °C энергетический паспорт не разрабатывается, а проводится расчет на соответствие ограждающих конструкций нормативным требованиям.
Д.3 Энергетический паспорт проекта здания разрабатывает проектная организация в составе раздела "Энергоэффективность".
Д.4 В задании на проектирование здания следует устанавливать класс энергосбережения не ниже "С" в соответствии с классификацией по таблице 15.
Д.5 Энергетический паспорт проекта здания должен разрабатываться раздельно для жилой и нежилой частей для жилых зданий со встроенно-пристроенными нежилыми помещениями, полезная площадь которых превышает 20% площади квартир, и для нежилых пристроенных помещений, не объединенных со встроенными помещениями.
Энергетический паспорт проекта здания должен разрабатываться единым для жилых зданий со встроенно-пристроенными помещениями меньшей площади.
Д.6 Проверку соответствия энергетического паспорта проекта здания требованиям настоящих норм должны выполнять органы экспертизы.
Д.7 На стадии оформления ввода объекта строительства в эксплуатацию проектная организация на основе анализа отступлений от проекта, допущенных при строительстве, обязана разработать перечень мероприятий по повышению энергетической эффективности здания.
В случае необходимости (несогласованное отступление от проекта, отсутствие необходимой технической документации, брак) инспекция Государственного строительного надзора вправе потребовать у Заказчика подтверждения соответствия основных показателей энергоэффективности и теплозащитных параметров проекту расчетно-экспериментальными методами, включая испытания конструкций и инженерных систем объекта.
Д.8 Энергетический паспорт здания может заполняться по следующей форме.
1 Общая информация
|
Дата заполнения (число, месяц, год) | |
|
Адрес здания | |
|
Разработчик проекта | |
|
Адрес и телефон разработчика | |
|
Шифр проекта | |
|
Назначение здания, серия | |
|
Этажность, количество секций | |
|
Количество квартир | |
|
Расчетное количество жителей или служащих | |
|
Размещение в застройке | |
|
Конструктивное решение |
2 Расчетные условия
|
Наименование расчетных параметров |
Обозначение параметра |
Единица измерения |
Расчетное значение |
|
1 Расчетная температура наружного воздуха для проектирования теплозащиты |
tн |
°C | |
|
2 Средняя температура наружного воздуха за отопительный период |
tот |
°C | |
|
3 Продолжительность отопительного периода |
zот |
сут/год | |
|
4 Градусо-сутки отопительного периода |
ГСОП |
°C·сут/год | |
|
5 Расчетная температура внутреннего воздуха для проектирования теплозащиты |
tв |
°C | |
|
6 Расчетная температура чердака |
tчерд |
°C | |
|
7 Расчетная температура техподполья |
tподп |
°C |
3 Показатели геометрические
|
Показатель |
Обозначение и единица измерения |
Расчетное проектное значение |
Фактическое значение |
|
8 Сумма площадей этажей здания |
Аот, м2 | ||
|
9 Площадь жилых помещений |
Аж, м2 | ||
|
10 Расчетная площадь (общественных зданий) |
Ар, м2 | ||
|
11 Отапливаемый объем |
Vот, м3 | ||
|
12 Коэффициент остекленности фасада здания |
f | ||
|
13 Показатель компактности здания |
Kкомп | ||
|
14 Общая площадь наружных ограждающих конструкций здания, в том числе: |
Ансум, м2 | ||
|
фасадов |
Афас | ||
|
стен (раздельно по типу конструкции) |
Аст | ||
|
окон и балконных дверей |
Аок.1 | ||
|
витражей |
Аок.2 | ||
|
фонарей |
Аок.3 | ||
|
окон лестнично-лифтовых узлов |
Аок.4 | ||
|
балконных дверей наружных переходов |
Адв | ||
|
входных дверей и ворот (раздельно) |
Адв | ||
|
покрытий (совмещенных) |
Апокр | ||
|
чердачных перекрытий |
Ачерд | ||
|
перекрытий "теплых" чердаков (эквивалентная) |
Ачерд.т | ||
|
перекрытий над техническими подпольями или над неотапливаемыми подвалами (эквивалентная) |
Ацок1 | ||
|
перекрытий над проездами или под эркерами |
Ацок2 | ||
|
стен в земле и пола по грунту (раздельно) |
Ацок3 |
4 Показатели теплотехнические
|
Показатель |
Обозначение и единица измерения |
Нормируемое значение |
Расчетное проектное значение |
Фактическое значение |
|
15 Приведенное сопротивление теплопередаче наружных ограждений, в том числе: |
Rопр, м2·°C/Вт | |||
|
стен (раздельно по типу конструкции) |
| |||
|
окон и балконных дверей |
| |||
|
витражей |
| |||
|
фонарей |
| |||
|
окон лестнично-лифтовых узлов |
| |||
|
балконных дверей наружных переходов |
| |||
|
входных дверей и ворот (раздельно) |
| |||
|
покрытий (совмещенных) |
| |||
|
чердачных перекрытий |
| |||
|
перекрытий "теплых" чердаков (эквивалентное) |
| |||
|
перекрытий над техническими подпольями или над неотапливаемыми подвалами (эквивалентное) |
| |||
|
перекрытий над проездами или под эркерами |
| |||
|
стен в земле и пола по грунту (раздельно) |
|
5 Показатели вспомогательные
|
Показатель |
Обозначение показателя и единицы измерения |
Нормируемое значение показателя |
Расчетное проектное значение показателя |
|
16 Общий коэффициент теплопередачи здания |
Kобщ, Вт/(м·°C) | ||
|
17 Средняя кратность воздухообмена здания за отопительный период при удельной норме воздухообмена |
nв, ч-1 | ||
|
18 Удельные бытовые тепловыделения в здании |
qбыт, Вт/м2 | ||
|
19 Тарифная цена тепловой энергии для проектируемого здания |
Степл, руб./кВт·ч |
6 Удельные характеристики
|
Показатель |
Обозначение показателя и единицы измерения |
Нормируемое значение показателя |
Расчетное проектное значение показателя |
|
20 Удельная теплозащитная характеристика здания |
kоб, Вт/(м3·°C) | ||
|
21 Удельная вентиляционная характеристика здания |
kвент, Вт/(м3·°C) | ||
|
22 Удельная характеристика бытовых тепловыделений здания |
kбыт, Вт/(м3·°C) | ||
|
23 Удельная характеристика теплопоступлений в здание от солнечной радиации |
kрад, Вт/(м3·°C) |
7 Коэффициенты
|
Показатель |
Обозначение показателя и единицы измерения |
Нормативное значение показателя |
|
26 Коэффициент эффективности рекуператора |
kэф |
8 Комплексные показатели расхода тепловой энергии
|
Показатель |
Обозначение показателя и единицы измерения |
Значение показателя |
|
29 Расчетная удельная характеристика расхода тепловой энергии на отопление и вентиляцию здания за отопительный период |
qрот, Вт/(м3·°C) | |
|
30 Нормируемая удельная характеристика расхода тепловой энергии на отопление и вентиляцию здания за отопительный период |
Вт/(м3·°C) | |
|
31 Класс энергосбережения | ||
|
32 Соответствует ли проект здания нормативному требованию по теплозащите |
9 Энергетические нагрузки здания
|
Показатель |
Обозначение |
Единица измерений |
Значение показателя |
|
33 Удельный расход тепловой энергии на отопление и вентиляцию здания за отопительный период |
q |
кВт·ч/(м3·год) кВт·ч/(м2·год) | |
|
34 Расход тепловой энергии на отопление и вентиляцию здания за отопительный период |
|
кВт·ч/(год) | |
|
35 Общие теплопотери здания за отопительный период |
|
кВт·ч/(год) |
Приложение Е
Расчет основан на представлении фрагмента теплозащитной оболочки здания в виде набора независимых элементов, каждый из которых влияет на тепловые потери через фрагмент. Удельные потери теплоты, обусловленные каждым элементом, находятся на основе сравнения потока теплоты через узел, содержащий элемент, и через тот же узел, но без исследуемого элемента.
Е.1 Приведенное сопротивление теплопередаче фрагмента теплозащитной оболочки здания Rопр, (м2·°C)/Вт, следует определять по формуле
, (Е.1)
где Rоусл - осредненное по площади условное сопротивление теплопередаче фрагмента теплозащитной оболочки здания либо выделенной ограждающей конструкции, м2·°C/Вт;
lj - протяженность линейной неоднородности j-го вида, приходящаяся на 1 м2 фрагмента теплозащитной оболочки здания, или выделенной ограждающей конструкции, м/м2;
Ψj - удельные потери теплоты через линейную неоднородность j-го вида, Вт/(м·°C);
nk - количество точечных неоднородностей k-го вида, приходящихся на 1 м2 фрагмента теплозащитной оболочки здания или выделенной ограждающей конструкции, шт./м2;
χk - удельные потери теплоты через точечную неоднородность k-го вида, Вт/°C;
ai - площадь плоского элемента конструкции i-го вида, приходящаяся на 1 м2 фрагмента теплозащитной оболочки здания или выделенной ограждающей конструкции, м2/м2;
, (Е.2)
где Ai - площадь i-той части фрагмента, м2;
Ui - коэффициент теплопередачи однородной i-той части фрагмента теплозащитной оболочки здания (удельные потери теплоты через плоский элемент i-го вида), Вт/(м2·°C).
. (Е.3)
Е.2 Коэффициент теплотехнической однородности r - вспомогательная величина, характеризующая эффективность утепления конструкции, определяется по формуле
. (Е.4)
Величина Rоусл определяется осреднением по площади значений условных сопротивлений теплопередаче всех частей фрагмента теплозащитной оболочки здания
, (Е.5)
где
- условное сопротивление теплопередаче однородной части фрагмента теплозащитной оболочки здания i-го вида, м2·°C/Вт, которое определяется либо экспериментально, либо расчетом по формуле
, (Е.6)
где αв - коэффициент теплоотдачи внутренней поверхности ограждающей конструкции, Вт/(м2·°C), принимаемый согласно таблице 4;
αн - коэффициент теплоотдачи наружной поверхности ограждающей конструкции, Вт/(м2·°C), принимаемый согласно таблице 6;
Rs - термическое сопротивление слоя однородной части фрагмента, (м2·°C)/Вт, определяемое для невентилируемых воздушных прослоек по таблице Е.1, для материальных слоев по формуле
, (Е.7)
где δs - толщина слоя, м;
λs - теплопроводность материала слоя при условиях эксплуатации конструкции А или Б, Вт/(м·°C), определяемая для теплоизоляционных материалов по приложению Д СП 345.1325800.2017, для других материалов принимаемая по приложению Т настоящего свода правил;
ysу.э. - коэффициент условий эксплуатации слоя материала, доли ед., определяемый для теплоизоляционных материалов по приложению Е СП 345.1325800.2017. При отсутствии данных принимается равным 1.
Для материала слоя теплоизоляции s рассчитывают энергетическую эффективность εs, (год·м4·°C)/(Вт·руб.), по формуле
, (Е.7а)
где NэS - срок эффективной эксплуатации материала слоя теплоизоляции, определяемый для каждого вида материала по соответствующим стандартам, год;
Cs - цена материала слоя теплоизоляции, руб./м3.
Таблица Е.1
|
Толщина воздушной прослойки, м |
Термическое сопротивление замкнутой воздушной прослойки, м2·°C/Вт | |||
|
горизонтальной при потоке тепла снизу вверх и вертикальной |
горизонтальной при потоке тепла сверху вниз | |||
|
при температуре воздуха в прослойке | ||||
|
положительной |
отрицательной |
положительной |
отрицательной | |
|
0,01 |
0,13 |
0,15 |
0,14 |
0,15 |
|
0,02 |
0,14 |
0,15 |
0,15 |
0,19 |
|
0,03 |
0,14 |
0,16 |
0,16 |
0,21 |
|
0,05 |
0,14 |
0,17 |
0,17 |
0,22 |
|
0,1 |
0,15 |
0,18 |
0,18 |
0,23 |
|
0,15 |
0,15 |
0,18 |
0,19 |
0,24 |
|
0,2 - 0,3 |
0,15 |
0,19 |
0,19 |
0,24 |
|
Примечание - При наличии отражательной теплоизоляции на основе алюминиевой фольги на одной из поверхностей воздушной прослойки термическое сопротивление воздушной прослойки, м2·°C/Вт, следует принимать равным: 0,40 - для воздушной прослойки толщиной 0,02 м; 0,45 - для воздушной прослойки толщиной 0,03 м; 0,50 - для воздушной прослойки толщиной 0,05 м. | ||||
Е.3 Удельные потери теплоты через линейную теплотехническую неоднородность определяются по результатам расчета двухмерного температурного поля узла конструкций при температуре внутреннего воздуха tв и температуре наружного воздуха tн.
, (Е.8)
где tв - расчетная температура внутреннего воздуха, °C;
tн - расчетная температура наружного воздуха, °C;
∆QjL - дополнительные потери теплоты через линейную теплотехническую неоднородность j-го вида, приходящиеся на 1 пог. м, Вт/м, определяемые по формуле
∆QjL = QjL - Qj,1 - Qj,2, (Е.9)
где QjL - потери теплоты через расчетную область с линейной теплотехнической неоднородностью j-го вида, приходящиеся на 1 пог. м стыка, являющиеся результатом расчета температурного поля, Вт/м;
Qj,1, Qj,2 - потери теплоты через участки однородных частей фрагмента, вошедшие в расчетную область при расчете температурного поля области с линейной теплотехнической неоднородностью j-го вида, Вт/м, определяемые по формулам:
;
, (Е.10)
где Sj,1, Sj,2 - площади однородных частей конструкции, вошедшие в расчетную область при расчете температурного поля, м2.
При этом величина Sj,1 + Sj,2 равна площади расчетной области при расчете температурного поля.
Ψj - удельные линейные потери теплоты через линейную теплотехническую неоднородность j-го вида, Вт/(м·°C).
Е.4 Удельные потери теплоты через точечную теплотехническую неоднородность k-го вида определяются по результатам расчета трехмерного температурного поля участка конструкции, содержащего точечную теплотехническую неоднородность, по формуле
, (Е.11)
где ∆QkK - дополнительные потери теплоты через точечную теплотехническую неоднородность k-го вида, Вт, определяемые по формуле
∆QkK = Qk – Q̃k, (Е.12)
где Qk - потери теплоты через узел, содержащий точечную теплотехническую неоднородность k-го вида, являющиеся результатом расчета температурного поля, Вт;
Q̃k - потери теплоты через тот же узел, не содержащий точечную теплотехническую неоднородность k-го вида, являющиеся результатом расчета температурного поля, Вт.
Е.5 Результатом расчета температурного поля узла конструкции является распределение температур в сечении узла, в том числе по внутренней и наружной поверхностям.
Поток теплоты через внутреннюю поверхность узла определяется по формуле
Qв = αвSв(tв - τвср). (Е.13)
Поток теплоты через наружную поверхность узла определяется по формуле
Qн = αнSн(tн – τнср), (Е.14)
tв, tн - расчетные температуры внутреннего и наружного воздуха соответственно, °C;
τвср, τнср - осредненные по площади температуры внутренней и наружной поверхностей узла ограждающей конструкции соответственно, °C;
αв, αн - коэффициенты теплоотдачи внутренней и наружной поверхностей узла конструкции соответственно, Вт/(м2·°C);
Sв, Sн - площади внутренней и наружной поверхностей узла ограждающей конструкции, м2.
Е.6 Описание расчета приведенного сопротивления теплопередаче ограждающей конструкции должно содержать следующие части:
1 Четкое наименование конструкции и указание места, занимаемого ею в оболочке здания.
2 Перечисление всех элементов, составляющих конструкцию.
Для каждого из перечисленных элементов представить:
3 Удельную геометрическую характеристику элемента (s, l или n).
4 Схему или чертеж, позволяющие понять состав и устройство элемента.
5 Температурное поле узла, содержащего элемент.
6 Принятые в расчете температурного поля температуры наружного и внутреннего воздуха, а также геометрические размеры узла конструкции, включенного в расчетную область.
7 Минимальную температуру на внутренней поверхности конструкции и поток теплоты через узел, полученные в результате расчетов.
8 Удельные потери теплоты через элемент.
(Вместо пунктов 5 - 7 можно использовать ранее посчитанные удельные потери теплоты через элемент с указанием ссылки на официальный, общедоступный документ, содержащий их расчет).
9 Расчет приведенного сопротивления теплопередаче по формуле (Е.1).
10 Таблицу с геометрическими и теплозащитными характеристиками элементов, а также промежуточными данными расчетов. Форма приведена в таблице Е.2.
Таблица Е.2
|
Элемент конструкции |
* |
Удельный геометрический показатель |
Удельные потери теплоты |
Удельный поток теплоты, обусловленный элементом |
Доля общего потока теплоты через фрагмент, % |
|
Название элемента |
Плоский |
a1 = м2/м2 |
U1 = Вт/(м2·°С) |
U1a1 = Вт/(м2·°С) | |
|
... |
... |
... |
... |
... | |
|
Название элемента |
ai= м2/м2 |
Ui = Вт/(м2·°С) |
Uiai= Вт/(м2·°С) | ||
|
Название элемента |
Линейный |
l1 = м/м2 |
Ψ1 = Вт/(м·°С) |
Ψ1l1 = Вт/(м2·°С) | |
|
... |
... |
... |
... |
... | |
|
Название элемента |
lj = м/м2 |
Ψj = Вт/(м·°С) |
Ψjlj= Вт/(м2·°С) | ||
|
Название элемента |
Точечный |
n1 = 1/м2 |
χ1 = Вт/°С |
χ1n1 = Вт/(м2·°С) | |
|
... |
... |
... |
... |
... | |
|
Название элемента |
nk = 1/м2 |
χk = Вт/°С |
χknk= Вт/(м2·°С) | ||
|
Итого |
1/Rпр = Вт/(м2·°С) |
100% | |||
|
Столбец * может не приводиться. | |||||
Е.7 Инженерная методика расчета теплопотерь через ограждающие конструкции (стены и пол) в грунте
Приведенное сопротивление теплопередаче пола по грунту определяется полосами шириной 2 м, проведенными по полу, вдоль контура здания. Каждая полоса - это зона со своим сопротивлением теплопередаче. Приведенное сопротивление теплопередаче пола по грунту рассчитывают по формуле
, (Е.15)
где Aпол - общая площадь пола по грунту, м2;
AI, AII, AIII, AIV - площади первой, второй, третьей и четвертой зон, отсчитываемых от контура здания полосами шириной 2 м вдоль контура здания, м2; в четвертую зону относят весь пол, не попавший в остальные три зоны;
RI, RII, RIII, RIV - сопротивления теплопередаче первой, второй, третьей и четвертой зон, (м2·°C)/Вт;
Ψн - удельные потери теплоты в месте стыка пола со стеной в случае расположения пола по грунту на уровне земли или выше, Вт/(м·°C), принимаемые по СП 230.1325800;
Lн - периметр здания на уровне земли, м;
Ψпс - удельные потери теплоты в месте стыка пола со стеной в случае расположения пола по грунту ниже уровня земли, Вт/(м·°C), принимаемые по СП 230.1325800;
Lпс - периметр здания на уровне стыка пола и стен в грунте, м.
Сопротивление теплопередаче соответствующих зон определяют по формуле
, (Е.16)
где δут - толщина дополнительного утепляющего слоя, м;
λут - теплопроводность материала дополнительного утепляющего слоя, Вт/(м·°C);
λгр - теплопроводность грунта (в случае отсутствия документального подтверждения иной расчетной теплопроводности грунта, граничащего с фундаментом здания, принимается равной 1,6 (базовая расчетная теплопроводность грунта)), Вт/(м·°C);
Rбпi - базовое сопротивление теплопередаче зоны для пола по грунту (м2·°C)/Вт, принимаемое по таблице Е.3.
|
N зоны |
Сопротивление теплопередаче, (м2·°C)/Вт |
|
I |
2,1 |
|
II |
3,8 |
|
III |
5,2 |
|
IV |
7,7 |
При расчете полов ниже уровня земли при разделении на зоны учитывают наличие стен в грунте. Для этого пол по грунту наращивается эффективной полосой вдоль контура здания, шириной равной половине средней высоты стен в грунте. Отсчет зон начинают с эффективной полосы. Деление на полосы пояснено на рисунке Е.1.

Рисунок Е.1 - Деление на зоны пола по грунту
Приведенное сопротивление теплопередаче стен в грунте рассчитывают полосами вдоль контура здания высотой 2 м. Деление на полосы пояснено на рисунке Е.2.

Рисунок Е.2 - Деление на зоны стены в грунте
Каждая полоса - отдельная зона со своим сопротивлением теплопередаче. Приведенное сопротивление теплопередаче стен в грунте рассчитывают по формуле
, (Е.17)
где Aстен - общая площадь стен в грунте, м2.
Сопротивление теплопередаче соответствующих зон определяют по формуле
, (Е.18)
где Rбсi - базовое сопротивление теплопередаче зоны для стен в грунте (м2·°C)/Вт, принимаемое по таблице Е.4.
|
N зоны |
Сопротивление теплопередаче, (м2·°C)/Вт |
|
I |
1,05 |
|
II |
1,9 |
|
III |
2,6 |
|
IV |
3,85 |
При использовании описанной выше методики для расчета годового потребления тепловой энергии необходимо учитывать, что потери теплоты через ограждающие конструкции в грунте продолжаются в течение не только отопительного периода, но и всего года. Поэтому в расчетах вместо средней температуры отопительного периода и продолжительности отопительного периода к таким конструкциям необходимо принимать среднегодовую температуру и продолжительность всего года. Значения среднегодовой температуры при проектировании необходимо принимать по таблице 5.1 СП 131.13330.2020 (графа "Год").
Е.8 Приведенное сопротивление теплопередаче рассчитывается для закрытых ворот без учета движения воздуха. Влияние установки ворот на окружающие конструкции следует учитывать при расчете приведенного сопротивления теплопередаче этих конструкций. Расчет проводят в соответствии с методологией, изложенной выше в настоящем приложении.
Для проведения расчетов приведенного сопротивления теплопередаче ворота разделяются на шесть основных теплозащитных элементов:
1) ворота по глади (плоский элемент);
2) стык панелей (линейный элемент);
3) верхнее примыкание ворот к стене (линейный элемент);
4) боковое примыкание ворот к стене (линейный элемент);
5) нижнее примыкание ворот к полу (линейный элемент);
6) крепление петель (точечный элемент).
Характеристики элементов находятся расчетом температурных полей или по СП 230.1325800.
Приложение Ж
Ж.1 Удельная теплозащитная характеристика здания kоб, Вт/(м3·°C), рассчитывается по формуле
, (Ж.1)
где
- приведенное сопротивление теплопередаче i-го фрагмента теплозащитной оболочки здания, (м2·°C)/Вт;
Аф,i - площадь соответствующего фрагмента теплозащитной оболочки здания, м2;
Vот - отапливаемый объем здания, м3;
nt,i - коэффициент, учитывающий отличие внутренней или наружной температуры у конструкции от принятых в расчете ГСОП, определяется по формуле (5.3);
Kобщ - общий коэффициент теплопередачи здания, Вт/(м2·°C), определяемый по формуле
; (Ж.2)
Kкомп - коэффициент компактности здания, м-1, определяемый по формуле
; (Ж.3)
Ансум - сумма площадей (по внутреннему обмеру всех наружных ограждений теплозащитной оболочки здания), м2.
Совокупность фрагментов теплозащитной оболочки здания, характеристики которых используются в формуле (Ж.1), должна полностью замыкать оболочку отапливаемой части здания.
Ж.2 Удельная теплозащитная характеристика может быть найдена непосредственно через характеристики элементов, составляющих все конструкции оболочки здания.
, (Ж.4)
где Rоусл, Ψj, χk - принимаются по приложению Е;
Lj - суммарная протяженность линейной неоднородности j-го вида по всей оболочке здания, м;
Nk - суммарное количество точечных неоднородностей k-го вида по всей оболочке здания, шт.
Ж.3 Расчет удельной теплозащитной характеристики здания оформляется в виде таблицы, которая должна содержать следующие сведения:
1 Наименование каждого фрагмента, составляющего оболочку здания;
2 Площадь каждого фрагмента;
3 Приведенное сопротивление теплопередаче каждого фрагмента со ссылкой на расчет (согласно приложению Е);
4 Коэффициент, учитывающий отличие внутренней или наружной температуры у фрагмента конструкции от принятых в расчете ГСОП.
Форма таблицы представлена в таблице Ж.1.
Таблица Ж.1
|
Наименование фрагмента |
nt,i |
Аф,i, м2 |
|
|
% |
|
Сумма |
- |
- |
- |
100 |
Ж.4 Контроль соответствия удельной теплозащитной характеристики здания требованиям 5.5 возлагается на органы экспертизы на стадии разработки проектной документации.
Приложение И
|
N |
Цвет (наиболее близкий оттенок) |
Коэффициент поглощения солнечной радиации ρ |
|
Фасадная штукатурка для СФТК | ||
|
1 |
Розовый |
0,4 |
|
2 |
Желтый |
0,3 |
|
3 |
Голубой |
0,4 |
|
4 |
Белый |
0,1 |
|
Фасадная краска для СФТК | ||
|
5 |
Серый |
0,5 |
|
6 |
Светло-серый |
0,3 |
|
7 |
Желтый |
0,3 |
|
8 |
Светло-желтый |
0,2 |
|
9 |
Светло-оранжевый |
0,3 |
|
10 |
Светло-персиковый |
0,3 |
|
11 |
Светло-фиолетовый |
0,8 |
|
12 |
Светло-сиреневый |
0,6 |
|
13 |
Розово-коричневый |
0,6 |
|
14 |
Светло-розовый |
0,4 |
|
15 |
Серый |
0,8 |
|
16 |
Розовый |
0,3 |
|
17 |
Синий |
0,5 |
|
18 |
Голубой |
0,4 |
|
19 |
Морской волны |
0,5 |
|
20 |
Светло-бирюзовый |
0,4 |
|
21 |
Синий |
0,6 |
|
22 |
Темно-голубой |
0,5 |
|
23 |
Зеленый |
0,5 |
|
24 |
Светло-зеленый |
0,4 |
|
25 |
Салатовый |
0,4 |
|
26 |
Светло-салатовый |
0,3 |
|
27 |
Красно-коричневый |
0,8 |
|
28 |
Темно-зеленый |
0,7 |
|
29 |
Темно-серый |
0,9 |
|
30 |
Черный |
0,9 |
|
Кирпич керамический лицевой и цементно-песчаный раствор | ||
|
31 |
М100 <*> |
0,5 |
|
32 |
М200 <*> |
0,4 |
|
33 |
М500 <*> |
0,3 |
|
34 |
Цементно-песчаный раствор N 1 |
0,6 |
|
Керамогранитные панели | ||
|
35 |
Белый |
0,4 |
|
36 |
Светло-бежевый |
0,3 |
|
37 |
Светло-зеленый |
0,5 |
|
Композитный материал | ||
|
38 |
Черно-бело-бежевый |
0,7 |
|
39 |
Темно-красный |
0,6 |
|
40 |
Металлический |
0,4 |
|
41 |
Серый |
0,5 |
|
42 |
Белый |
0,3 |
|
Оконные профили | ||
|
43 |
Синий |
0,9 |
|
44 |
Темно-серый |
0,9 |
|
45 |
Белый |
0,3 |
|
<*> Марка прочности по ГОСТ 530. | ||
|
Градусы с.ш. |
Ориентация поверхности |
Суммарная солнечная радиация, Вт/м2 | |
|
максимальная |
средняя | ||
|
36 |
Горизонтальная |
1000 |
344 |
|
Западная |
712 |
162 | |
|
38 |
Горизонтальная |
942 |
334 |
|
Западная |
721 |
163 | |
|
40 |
Горизонтальная |
928 |
333 |
|
Западная |
740 |
169 | |
|
42 |
Горизонтальная |
915 |
334 |
|
Западная |
748 |
175 | |
|
44 |
Горизонтальная |
894 |
331 |
|
Западная |
756 |
180 | |
|
46 |
Горизонтальная |
880 |
329 |
|
Западная |
752 |
182 | |
|
48 |
Горизонтальная |
866 |
328 |
|
Западная |
764 |
184 | |
|
50 |
Горизонтальная |
859 |
328 |
|
Западная |
774 |
187 | |
|
52 |
Горизонтальная |
852 |
329 |
|
Западная |
781 |
194 | |
|
54 |
Горизонтальная |
838 |
329 |
|
Западная |
788 |
200 | |
|
56 |
Горизонтальная |
817 |
327 |
|
Западная |
786 |
201 | |
Приложение К
(рекомендуемое)
Приложение К исключено с 15 июня 2019 года. - Изменение N 1
Приложение Л
(рекомендуемое)
Приложение Л исключено с 15 июня 2019 года. - Изменение N 1
Приложение М
Таблица М.1
|
Материал |
Толщина слоя, мм |
Сопротивление паропроницанию Rvp, м2·ч·Па/мг |
|
1 Картон обыкновенный |
1,3 |
0,016 |
|
2 Листы асбестоцементные |
6 |
0,3 |
|
3 Листы гипсовые обшивочные (сухая штукатурка) |
10 |
0,12 |
|
4 Листы древесно-волокнистые жесткие |
10 |
0,11 |
|
5 То же, мягкие |
12,5 |
0,05 |
|
6 Окраска горячим битумом за один раз |
2 |
0,3 |
|
7 То же, за два раза |
4 |
0,48 |
|
8 Окраска масляная за два раза с предварительной шпатлевкой и грунтовкой |
- |
0,64 |
|
9 Окраска эмалевой краской |
- |
0,48 |
|
10 Покрытие изольной мастикой за один раз |
2 |
0,60 |
|
11 Покрытие битумно-кукерсольной мастикой за один раз |
1 |
0,64 |
|
12 То же, за два раза |
2 |
1,1 |
|
13 Пергамин кровельный |
0,4 |
0,33 |
|
14 Полиэтиленовая пленка |
0,16 |
7,3 |
|
15 Рубероид |
1,5 |
1,1 |
|
16 Толь кровельный |
1,9 |
0,4 |
|
17 Фанера клееная трехслойная |
3 |
0,15 |
Приложение Н
Н.1 Описание конструкции, выбранной для расчета
Стена с теплоизоляционной фасадной системой с тонким штукатурным слоем. Фасадная система монтируется на стену здания, выполненного с каркасом из монолитного железобетона. Наружные стены выполняются из кирпичной кладки из полнотелого кирпича толщиной 250 мм (в один кирпич). Толщина теплоизоляционного слоя фасада из каменной ваты составляет 150 мм. Высота этажа от пола до пола 3300 мм. Толщина железобетонного перекрытия 200 мм. Под перекрытием проходит железобетонный ригель высотой 400 мм. Вертикальный разрез стены с фасадом и с оконными проемами схематично представлен на рисунке Н.1. Состав стены (изнутри наружу) представлен в таблице Н.1.

Рисунок Н.1 - Схематическое изображение вертикального разреза стены с теплоизоляционным фасадом в зоне расположения светопроемов с оконными блоками
Таблица Н.1
|
Материал слоя |
δ, мм |
λ, Вт/(м·°C) |
|
Внутренняя штукатурка |
20 |
0,93 |
|
Кладка из полнотелого кирпича или монолитный железобетон |
250 250 |
0,81 2,04 |
|
Минераловатные плиты |
150 |
0,045 |
|
Наружная штукатурка |
6 |
- |
Н.2 Перечисление элементов, составляющих ограждающую конструкцию:
железобетонный ригель с участком перекрытия, утепленный слоем минераловатной плиты, закрытой тонким слоем штукатурки - плоский элемент 1;
кирпичная кладка, утепленная слоем минераловатной плиты, закрытой тонким слоем штукатурки - плоский элемент 2;
оконный откос, образованный железобетонным ригелем, утепленным слоем минераловатной плиты, закрытой тонким слоем штукатурки - линейный элемент 1;
оконный откос, образованный кирпичной кладкой, утепленной слоем минераловатной плиты, закрытой тонким слоем штукатурки - линейный элемент 2;
дюбель со стальным сердечником, прикрепляющий слой минераловатной плиты к железобетонному ригелю - точечный элемент 1;
дюбель со стальным сердечником, прикрепляющий слой минераловатной плиты к кирпичной кладке - точечный элемент 2.
Таким образом, в рассматриваемом фрагменте ограждающей конструкции два вида плоских, два вида линейных и два вида точечных элементов.
Н.3 Геометрические характеристики проекций элементов
Весь фасад здания, включая светопроемы, имеет общую площадь 2740 м2. Фасад содержит следующие светопроемы: 2400 x 2000 мм - 80 шт., 1200 x 2000 мм - 80 шт., 1200 x 1200 мм - 24 шт. Суммарная площадь светопроемов 611 м2.
Площадь поверхности фрагмента ограждающей конструкции для расчета Rопр составляет: A = 2740 - 611 = 2129 м2;
суммарная протяженность торцов перекрытий, а также ригелей на фасаде составляет 822 м. Таким образом, площадь стены с основанием из монолитного железобетона (т.е. площадь проекции на поверхность фрагмента) составляет: А1 = 822(0,2 + 0,4) = 493 м2. Доля этой площади от общей площади фрагмента ограждающей конструкции равна
;
площадь стены с основанием из кирпичной кладки: А2 = 2129 – 493 = 1636 м2. Доля этой площади от общей площади фрагмента ограждающей конструкции равна
;
общая длина проекции оконного откоса, образованного железобетонным ригелем, утепленным слоем минераловатной плиты, определяется по экспликации оконных проемов и равна: L1 = 2,4·80 + 1,2·80 + 1,2·24 = 317 м. Длина проекции этих откосов, приходящаяся на 1 м2 площади фрагмента, равна
м-1;
общая длина проекции оконного откоса, образованного кирпичной кладкой, утепленной слоем минераловатной плиты, определяется по экспликации оконных проемов и равна: L2 = (2,4 + 2·2,0)·80 + (1,2 + 2·2,0)·80 + (1,2 + 2·1,2)·24 = 1014 м. Длина проекции этих откосов, приходящаяся на 1 м2 площади фрагмента, равна
м-1;
общее количество тарельчатых дюбелей на железобетонном ригеле и торце перекрытия равно 3944 шт. Количество таких дюбелей, приходящихся на 1 м2 фрагмента, равно:
м-2;
общее количество тарельчатых дюбелей на кирпичной кладке равно 13088 шт. Количество таких дюбелей, приходящихся на 1 м2 фрагмента, равно:
м-2.
Н.4 Расчет удельных потерь теплоты, обусловленных элементами
Все температурные поля рассчитываются для температуры наружного воздуха минус 28 °C и температуры внутреннего воздуха 20 °C.
Для плоского элемента 1 удельные потери теплоты определяются по формулам (Е.6), (Е.3):
(м2·°С)/Вт,
Вт/(м2·°С).
Для плоского элемента 2 удельные потери теплоты определяются аналогично:
(м2·°С)/Вт,
Вт/(м2·°С).
Для линейного элемента 1 рассчитывается температурное поле узла конструкции, содержащего элемент. Определяется величина Q1L, Вт/м, - потери теплоты через участок фрагмента с данным линейным элементом, приходящиеся на 1 пог. м.
Двумерное температурное поле представлено на рисунке Н.2.

Q = 12,0 Вт/м
Рисунок Н.2 - Температурное поле узла конструкции, содержащего линейный элемент 1
Расчетный участок имеет размеры 426 x 800 мм. Площадь стены, вошедшей в расчетный участок, S1,1 = 0,532 м2.
Потери теплоты через стену с оконным откосом, вошедшую в участок, по результатам расчета температурного поля равны Q1L = 12,0 Вт/м.
Потери теплоты через участок однородной стены той же площади определяются по формуле (Е.10):
Вт/м.
Дополнительные потери теплоты через линейный элемент 1 составляют:
∆Q1L = 12,0 – 7,0 = 5,0 Вт/м.
Удельные линейные потери теплоты через линейный элемент 1 определяются по формуле (Е.8):
Вт/(м·°С).
Расчеты удельных характеристик других элементов проводятся аналогично и сведены в таблицу Н.2.
Таблица Н.2
|
Элемент фрагмента |
Потери теплоты через участок однородной стены |
Потери теплоты через неоднородной участок |
Удельные потери теплоты |
Удельный геометрический показатель |
|
Линейный элемент 1 (рисунок Н.2) |
Q1,1 = 7,0Вт/м |
Q1L = 12,0 Вт/(м2·°С) |
Ψ1 = 0,104 Вт/(м·°С) |
l1 = 0,149 м/м2 |
|
Линейный элемент 2 (рисунок Н.3) |
Q2,1=6,7 Вт/м |
Q2L = 11,2 Вт/м |
Ψ2 = 0,094 Вт/(м·°С) |
l2 = 0,476 м/м2 |
|
Точечный элемент 1 (рисунок Н.4) |
Q̃1= 1,65 Вт |
Q1= 1,9 Вт |
χ1= 0,0052 Вт/°С |
n1= 1,85 м/м2 |
|
Точечный элемент 2 (рисунок Н.5) |
Q̃1= 1,57 Вт |
Q1= 1,8 Вт |
χ2= 0,0048 Вт/°С |
n2= 6,15 м/м2 |

Q = 11,2 Вт/м
Рисунок Н.3 - Температурное поле узла конструкции, содержащего линейный элемент 2

Q = 1,90 Вт
Рисунок Н.4 - Температурное поле узла конструкции, содержащего точечный элемент 1

Q = 1,80 Вт
Рисунок Н.5 - Температурное поле узла конструкции, содержащего точечный элемент 2
Таким образом, определены все удельные потери теплоты, обусловленные всеми элементами в рассматриваемом фрагменте ограждающей конструкции.
Н.5 Расчет приведенного сопротивления теплопередаче стены
Данные расчетов сведены в таблицу Н.3.
Таблица Н.3
|
Элемент конструкции |
Удельный геометрический показатель |
Удельные потери теплоты |
Удельный поток теплоты, обусловленный элементом |
Доля общего потока теплоты через фрагмент, % |
|
Плоский элемент 1 |
a1= 0,232 м2/м2 |
U1= 0,275 Вт/(м2·°С) |
U1a1= 0,0638 Вт/(м2·°С) |
17,5 |
|
Плоский элемент 2 |
a2= 0,768 м2/м2 |
U2= 0,262 Вт/(м2·°С) |
U2a2= 0,201 Вт/(м2·°С) |
55,2 |
|
Линейный элемент 1 |
l1= 0,149 м/м2 |
Ψ1= 0,104 Вт/(м·°С) |
Ψ1l1= 0,0155 Вт/(м2·°С) |
4,26 |
|
Линейный элемент 2 |
l2= 0,476 м/м2 |
Ψ2= 0,094 Вт/(м·°С) |
Ψ2l2= 0,0447 Вт/(м2·°С) |
12,3 |
|
Точечный элемент 1 |
n1= 1,85 1/м2 |
χ1= 0,0052 Вт/°С |
χ1n1= 0,00962 Вт/(м2·°С) |
2,64 |
|
Точечный элемент 2 |
n2= 6,15 1/м2 |
χ2= 0,0048 Вт/°С |
χ2n2= 0,0295 Вт/(м2·°С) |
8,10 |
|
Итого |
1/Rпр = 0,364 Вт/(м2·°С) |
100 |
Приведенное сопротивление теплопередаче фрагмента ограждающей конструкции рассчитывается по формуле (Е.1).
м2·°С/Вт.
Коэффициент теплотехнической однородности, определенный по формуле (Е.4), равен:
.
Приложение П
П.1 Удельная теплозащитная характеристика рассчитывается для многоэтажного жилого дома, расположенного в г. Дубна Московской области.
Климатические параметры района строительства принимаются по СП 131.13330 для г. Дмитров Московской обл.
Средняя температура отопительного периода tот = -3,1°С;
продолжительность отопительного периода zот = 216 сут;
температура внутреннего воздуха tв = 20°С.
На основе климатических характеристик района строительства и микроклимата помещения по формуле (5.2) рассчитывается величина градусо-суток отопительного периода:
ГСОП = (tв - tот)·zот = 23,1·216 = 4990 °С·сут.
В технических помещениях и лестнично-лифтовых узлах (ЛЛУ) температура внутреннего воздуха отличается от основных (жилых) помещений здания. В среднем за отопительный период она составляет tЛЛУ = 18°С.
Коэффициент, учитывающий отличие внутренней температуры ЛЛУ от температуры жилых помещений, рассчитанный по формуле (5.3), составляет
.
Подвальные помещения не отапливаются, поэтому они не входят в отапливаемый объем здания. В подвале расположен ИТП и разводка труб отопления и водоснабжения. В среднем за отопительный период температура воздуха в подвале составляет tпод = 8°С.
Коэффициент, учитывающий отличие внутренней температуры подвала от температуры наружного воздуха, составляет
.
П.2 Описание ограждающих конструкций здания
На исследуемом здании использованы десять различных по своему составу видов ограждающих конструкций:
П.2.1 Навесная фасадная система с основанием из керамзитобетона
Приведенное сопротивление теплопередаче составляет Rст1 = 3,16 (м2·°С)/Вт.
Площадь стен данной конструкции составляет:
по основной части здания Аст1 = 3406 м2;
по техническим помещениям и ЛЛУ Аст1ЛЛУ = 503 м2.
П.2.2 Навесная фасадная система с основанием из железобетона
Приведенное сопротивление теплопередаче составляет Rст2 = 3,34 (м2·°С)/Вт.
Площадь стен данной конструкции составляет:
по основной части здания Аст2 = 608 м2;
по техническим помещениям и ЛЛУ Аст2ЛЛУ = 336 м2.
П.2.3 Трехслойная стена по кладке из керамзитобетона
Приведенное сопротивление теплопередаче составляет Rст3 = 3,19 (м2·°С)/Вт.
Площадь стен данной конструкции составляет:
по основной части здания Аст3 = 1783 м2;
по техническим помещениям и ЛЛУ Аст3ЛЛУ = 55 м2.
П.2.4 Трехслойная стена по монолитному железобетону
Приведенное сопротивление теплопередаче составляет Rст4 = 3,42 (м2·°С)/Вт.
Площадь стен данной конструкции составляет:
по основной части здания Аст4 = 447 м2;
по техническим помещениям и ЛЛУ Аст4ЛЛУ = 130 м2.
П.2.5 Эксплуатируемая кровля
Приведенное сопротивление теплопередаче составляет Rкр1 = 5,55 (м2·°С)/Вт.
Площадь кровельного покрытия данной конструкции составляет Акр1 = 1296 м2.
П.2.6 Совмещенное кровельное покрытие
Приведенное сопротивление теплопередаче составляет Rкр2 = 4,48 (м2·°С)/Вт.
Площадь кровельного покрытия данной конструкции составляет Акр2 = 339 м2.
П.2.7 Перекрытие над подвалом
Приведенное сопротивление теплопередаче составляет Rцок1 = 1,32 (м2·°С)/Вт.
Площадь перекрытия данной конструкции составляет Ацок1 = 1550 м2.
П.2.8 Перекрытие над проездом
Приведенное сопротивление теплопередаче составляет Rцок2 = 4,86 (м2·°С)/Вт.
Площадь перекрытия данной конструкции составляет Ацок2 = 85 м2.
П.2.9 Окна
Приведенное сопротивление теплопередаче составляет Rок = 0,56 (м2·°С)/Вт.
Площадь окон составляет:
по основной части здания Аок = 1383 м2;
по техническим помещениям и ЛЛУ АокЛЛУ = 430 м2.
П.2.10 Входные двери
Приведенное сопротивление теплопередаче составляет Rдв = 0,83 (м2·°С)/Вт.
Площадь входных дверей составляет Адв = 64 м2.
Отапливаемый объем здания Vот = 34229 м3.
П.3 Удельная теплозащитная характеристика здания рассчитывается по формуле (Ж.1):

Детали расчета сведены в таблицу П.1.
Таблица П.1
|
Наименование фрагмента |
nt,i |
Аф,i, м2 |
(м2·°C)/Вт |
Вт/°C |
% |
|
Навесная фасадная система с основанием из керамзитобетона |
1 |
3406 |
3,16 |
1078 |
16,9 |
|
0,913 |
503 |
145 |
2,3 | ||
|
Навесная фасадная система с основанием из железобетона |
1 |
608 |
3,34 |
182 |
2,8 |
|
0,913 |
336 |
92 |
1,4 | ||
|
Трехслойная стена по кладке из керамзитобетона |
1 |
1783 |
3,19 |
559 |
8,8 |
|
0,913 |
55 |
16 |
0,3 | ||
|
Трехслойная стена по монолитному железобетону |
1 |
447 |
3,42 |
131 |
2,1 |
|
0,913 |
130 |
35 |
0,5 | ||
|
Эксплуатируемая кровля |
0,913 |
1296 |
5,55 |
213 |
3,3 |
|
Совмещенное кровельное покрытие |
0,913 |
339 |
4,48 |
69 |
1,1 |
|
Перекрытие над подвалом |
0,519 |
1550 |
1,32 |
609 |
9,5 |
|
Перекрытие над проездом |
1 |
85 |
4,86 |
17 |
0,3 |
|
Окна |
1 |
1383 |
0,56 |
2470 |
38,7 |
|
0,913 |
430 |
701 |
11,0 | ||
|
Входные двери |
0,913 |
64 |
0,83 |
70 |
1,1 |
|
Сумма |
- |
12415 |
- |
6387 |
100 |
Нормируемое значение удельной теплозащитной характеристики здания определяется по формуле (5.5)
Вт/(м3·°С).
Удельная теплозащитная характеристика здания больше нормируемой величины на 10%. Как видно из таблицы П.1, наибольший вклад в тепловые потери здания в данном случае вносят окна, стены, слабо утепленное перекрытие над подвалом. В данном случае наиболее эффективно дорабатывать теплозащитную оболочку здания за счет повышения сопротивления теплопередаче окон. В проекте заменяются окна на имеющие приведенное сопротивление теплопередаче 0,65 (м2·°C)/Вт. Кроме того, доутепляется перекрытие над подвалом, так что приведенное сопротивление теплопередаче конструкции составляет 1,88 (м2·°C)/Вт.

Детали расчета сведены в таблицу П.2.
Таблица П.2
|
Наименование фрагмента |
nt,i |
Аф,i, м2 |
(м2·°C)/Вт |
Вт/°C |
% |
|
Навесная фасадная система с основанием из керамзитобетона |
1 |
3406 |
3,16 |
1078 |
18,7 |
|
0,913 |
503 |
145 |
2,5 | ||
|
Навесная фасадная система с основанием из железобетона |
1 |
608 |
3,34 |
182 |
3,2 |
|
0,913 |
336 |
92 |
1,6 | ||
|
Трехслойная стена по кладке из керамзитобетона |
1 |
1783 |
3,19 |
559 |
9,7 |
|
0,913 |
55 |
16 |
0,3 | ||
|
Трехслойная стена по монолитному железобетону |
1 |
447 |
3,42 |
131 |
2,3 |
|
0,913 |
130 |
35 |
0,6 | ||
|
Эксплуатируемая кровля |
0,913 |
1296 |
5,55 |
213 |
3,7 |
|
Совмещенное кровельное покрытие |
0,913 |
339 |
4,48 |
69 |
1,2 |
|
Перекрытие над подвалом |
0,519 |
1550 |
1,88 |
428 |
7,4 |
|
Перекрытие над проездом |
1 |
85 |
4,86 |
17 |
0,3 |
|
Окна |
1 |
1383 |
0,65 |
2128 |
36,9 |
|
0,913 |
430 |
604 |
10,5 | ||
|
Входные двери |
0,913 |
64 |
0,83 |
70 |
1,2 |
|
Сумма |
- |
12415 |
- |
5767 |
100 |
После доработки теплозащитной оболочки здания удельная теплозащитная характеристика меньше нормируемой величины, оболочка удовлетворяет нормативным требованиям.
Справочно рассчитывается приведенный трансмиссионный коэффициент:
Вт/(м2·°С).
Данный коэффициент не участвует в расчетах и его расчет не обязателен.
Приложение Р
(справочное)
Приложение Р исключено с 15 июня 2019 года. - Изменение N 1
Приложение С
Таблица С.1
|
Материалы и конструкции |
Толщина слоя, мм |
Сопротивление воздухопроницанию Rф, (м2·ч·Па)/кг |
|
1 Бетон сплошной (без швов) |
100 |
20000 |
|
2 Газосиликат сплошной (без швов) |
140 |
21 |
|
3 Известняк-ракушечник |
500 |
6 |
|
4 Картон строительный (без швов) |
1,3 |
64 |
|
5 Кирпичная кладка из сплошного кирпича на цементно-песчаном растворе толщиной в один кирпич и более |
250 и более |
18 |
|
6 Кирпичная кладка из сплошного кирпича на цементно-шлаковом растворе толщиной в полкирпича |
120 |
1 |
|
7 Кладка кирпича керамического пустотного на цементно-песчаном растворе толщиной в полкирпича |
- |
2 |
|
8 Кладка из легкобетонных камней на цементно-песчаном растворе |
400 |
13 |
|
9 Листы асбестоцементные с заделкой швов |
6 |
200 |
|
10 Обои бумажные обычные |
- |
20 |
|
11 Обшивка из обрезных досок, соединенных впритык или вчетверть |
20 - 25 |
0,1 |
|
12 Обшивка из обрезных досок, соединенных в шпунт |
20 - 25 |
1,5 |
|
13 Обшивка из досок двойная с прокладкой между обшивками строительной бумаги |
50 |
100 |
|
14 Обшивка из фибролита или из древесно-волокнистых бесцементных мягких плит с заделкой швов |
15 - 70 |
2,5 |
|
15 Обшивка из фибролита или из древесно-волокнистых бесцементных мягких плит без заделки швов |
15 - 70 |
0,5 |
|
16 Обшивка из жестких древесно-волокнистых листов с заделкой швов |
10 |
3,3 |
|
17 Обшивка из гипсовой сухой штукатурки с заделкой швов |
10 |
20 |
|
18 Пенобетон автоклавный (без швов) |
100 |
2000 |
|
19 Пенобетон неавтоклавный (без швов) |
100 |
200 |
|
20 Пенополистирол |
50 - 100 |
80 |
|
21 Пеностекло сплошное (без швов) |
120 |
Более 2000 |
|
22 Плиты минераловатные жесткие |
50 |
2 |
|
23 Рубероид |
1,5 |
Воздухонепроницаем |
|
24 Толь |
1,5 |
490 |
|
25 Фанера клееная (без швов) |
3 - 4 |
2900 |
|
26 Шлакобетон сплошной (без швов) |
100 |
14 |
|
27 Штукатурка цементно-песчаным раствором по каменной или кирпичной кладке |
15 |
373 |
|
28 Штукатурка известковая по каменной или кирпичной кладке |
15 |
142 |
|
29 Штукатурка известково-гипсовая по дереву (по драни) |
20 |
17 |
|
30 Керамзитобетон плотностью 1000 кг/м3 |
250 - 400 |
53 - 80 |
|
31 То же, 1100 - 1300 кг/м3 |
250 - 450 |
390 - 590 |
|
Примечания 1 Для кладки из кирпича и камней с расшивкой швов на наружной поверхности приведенное в настоящей таблице сопротивление воздухопроницанию следует увеличивать на 20 (м2·ч·Па)/кг. 2 Сопротивление воздухопроницанию воздушных прослоек и слоев ограждающих конструкций из сыпучих (шлака, керамзита, пемзы и т.п.), рыхлых и волокнистых (минеральной ваты, соломы, стружки и т.п.) материалов следует принимать равным нулю независимо от толщины слоя. 3 Для материалов и конструкций, не указанных в настоящей таблице, сопротивление воздухопроницанию следует определять экспериментально. | ||
Приложение Т
Таблица Т.1
|
Материал |
Характеристики материалов в сухом состоянии |
Расчетные характеристики материалов при условиях эксплуатации конструкций А и Б | |||||||||
|
плотность ρ0, кг/м3 |
удельная теплоемкость c0, кДж/(кг·°C) |
теплопроводность λ0, Вт/(м·°C) |
влажность w, % |
теплопроводность λ, Вт/(м·°C) |
теплоусвоение (при периоде 24 ч) s, Вт/(м2·°C) |
паропроницаемость μ, мг/(м·ч·Па) | |||||
|
А |
Б |
А |
Б |
А |
Б |
А, Б | |||||
|
1 |
2 |
3 |
4 |
5 |
6 |
7 |
8 |
9 |
10 |
11 | |
|
Теплоизоляционные материалы | |||||||||||
|
1 Плиты из пенополистирола |
25 - 35 |
1,34 |
0,038 |
2 |
10 |
0,040 |
0,049 |
0,34 |
0,38 |
0,05 | |
|
2 То же |
17 - 25 |
1,34 |
0,039 |
2 |
10 |
0,041 |
0,051 |
0,29 |
0,32 |
0,05 | |
|
3 |
" |
13 - 17 |
1,34 |
0,041 |
2 |
10 |
0,043 |
0,053 |
0,25 |
0,28 |
0,05 |
|
4 |
" |
10 - 13 |
1,34 |
0,044 |
2 |
10 |
0,047 |
0,057 |
0,23 |
0,25 |
0,05 |
|
5 |
" |
До 10 |
1,34 |
0,055 |
2 |
10 |
0,058 |
0,072 |
0,22 |
0,24 |
0,05 |
|
6 Плиты из пенополистирола фасадные |
16 - 18,5 |
1,34 |
0,037 |
2 |
10 |
0,039 |
0,048 |
0,26 |
0,29 |
0,05 | |
|
7 Плиты из экструзионного пенополистирола |
До 35 |
1,34 |
0,033 |
1 |
2 |
0,034 |
0,035 |
0,31 |
0,32 |
0,005 | |
|
8 То же |
35 - 45 |
1,34 |
0,034 |
1 |
2 |
0,035 |
0,036 |
0,37 |
0,38 |
0,005 | |
|
9 Пенополиуретан |
80 |
1,47 |
0,041 |
2 |
5 |
0,043 |
0,047 |
0,62 |
0,70 |
0,05 | |
|
10 То же |
60 |
1,47 |
0,035 |
2 |
5 |
0,037 |
0,040 |
0,49 |
0,55 |
0,05 | |
|
11 |
" |
40 |
1,47 |
0,029 |
2 |
5 |
0,031 |
0,033 |
0,37 |
0,44 |
0,05 |
|
12 Плиты из пенополиизоцианурата |
30 - 45 |
1,47 |
0,027 |
2 |
5 |
0,029 |
0,031 |
0,34 |
0,35 |
0,03 | |
|
13 Плиты из резольно-фенолформальдегидного пенопласта |
80 |
1,68 |
0,044 |
5 |
20 |
0,051 |
0,071 |
0,75 |
1,02 |
0,23 | |
|
14 То же |
50 |
1,68 |
0,041 |
5 |
20 |
0,045 |
0,064 |
0,56 |
0,77 |
0,23 | |
|
15 Перлитопластбетон |
200 |
1,05 |
0,041 |
2 |
3 |
0,052 |
0,06 |
0,93 |
1,01 |
0,008 | |
|
16 То же |
100 |
1,05 |
0,035 |
2 |
3 |
0,041 |
0,05 |
0,58 |
0,66 |
0,008 | |
|
17 Перлитофосфогелевые изделия |
300 |
1,05 |
0,076 |
3 |
12 |
0,08 |
0,12 |
1,43 |
2,02 |
0,2 | |
|
18 То же |
200 |
1,05 |
0,064 |
3 |
12 |
0,07 |
0,09 |
1,1 |
1,43 |
0,23 | |
|
19 Теплоизоляционные изделия из вспененного синтетического каучука |
60 - 95 |
1,81 |
0,034 |
5 |
15 |
0,040 |
0,052 |
0,62 |
0,68 |
0,003 | |
|
20 То же |
45 - 60 |
1,81 |
0,039 |
5 |
15 |
0,046 |
0,059 |
0,55 |
0,60 |
0,003 | |
|
21 Минераловатные изделия из каменного волокна |
160 - 180 |
0,84 |
0,039 |
2 |
5 |
0,042 |
0,047 |
0,67 |
0,71 |
0,3 | |
|
22 То же |
125 - 160 |
0,84 |
0,038 |
2 |
5 |
0,041 |
0,046 |
0,60 |
0,64 |
0,31 | |
|
23 |
" |
80 - 125 |
0,84 |
0,037 |
2 |
5 |
0,040 |
0,044 |
0,51 |
0,54 |
0,32 |
|
24 |
" |
60 - 80 |
0,84 |
0,036 |
2 |
5 |
0,039 |
0,043 |
0,41 |
0,44 |
0,34 |
|
25 |
" |
40 - 60 |
0,84 |
0,037 |
2 |
5 |
0,040 |
0,044 |
0,35 |
0,38 |
0,35 |
|
26 |
" |
25 - 40 |
0,84 |
0,038 |
2 |
5 |
0,041 |
0,046 |
0,29 |
0,31 |
0,37 |
|
27 Минераловатные изделия из стеклянного волокна |
75 - 85 |
0,84 |
0,042 |
2 |
5 |
0,045 |
0,050 |
0,48 |
0,51 |
0,3 | |
|
28 То же |
60 - 75 |
0,84 |
0,039 |
2 |
5 |
0,042 |
0,047 |
0,42 |
0,45 |
0,35 | |
|
29 |
" |
35 - 60 |
0,84 |
0,038 |
2 |
5 |
0,041 |
0,046 |
0,35 |
0,37 |
0,4 |
|
30 |
" |
25 - 35 |
0,84 |
0,037 |
2 |
5 |
0,040 |
0,044 |
0,27 |
0,29 |
0,45 |
|
31 |
" |
20 - 25 |
0,84 |
0,039 |
2 |
5 |
0,042 |
0,047 |
0,24 |
0,26 |
0,5 |
|
32 |
" |
17 - 20 |
0,84 |
0,04 |
2 |
5 |
0,043 |
0,048 |
0,22 |
0,24 |
0,52 |
|
33 |
" |
15 - 17 |
0,84 |
0,041 |
2 |
5 |
0,044 |
0,049 |
0,21 |
0,22 |
0,53 |
|
34 |
" |
12 - 15 |
0,84 |
0,042 |
2 |
5 |
0,045 |
0,050 |
0,20 |
0,21 |
0,55 |
|
35 |
" |
До 12 |
0,84 |
0,046 |
2 |
5 |
0,050 |
0,055 |
0,18 |
0,19 |
0,59 |
|
36 Плиты древесно-волокнистые и древесно-стружечные |
1000 |
2,3 |
0,15 |
10 |
12 |
0,23 |
0,29 |
6,75 |
7,7 |
0,12 | |
|
37 То же |
800 |
2,3 |
0,13 |
10 |
12 |
0,19 |
0,23 |
5,49 |
6,13 |
0,12 | |
|
38 |
" |
600 |
2,3 |
0,11 |
10 |
12 |
0,13 |
0,16 |
3,93 |
4,43 |
0,13 |
|
39 |
" |
400 |
2,3 |
0,08 |
10 |
12 |
0,11 |
0,13 |
2,95 |
3,26 |
0,19 |
|
40 |
" |
200 |
2,3 |
0,06 |
10 |
12 |
0,07 |
0,08 |
1,67 |
1,81 |
0,24 |
|
41 Плиты фибролитовые и арболит на портландцементе |
500 |
2,3 |
0,095 |
10 |
15 |
0,15 |
0,19 |
3,86 |
4,50 |
0,11 | |
|
42 То же |
450 |
2,3 |
0,09 |
10 |
15 |
0,135 |
0,17 |
3,47 |
4,04 |
0,11 | |
|
43 |
" |
400 |
2,3 |
0,08 |
10 |
15 |
0,13 |
0,16 |
3,21 |
3,70 |
0,26 |
|
44 Плиты камышитовые |
300 |
2,3 |
0,07 |
10 |
15 |
0,09 |
0,14 |
2,31 |
2,99 |
0,45 | |
|
45 То же |
200 |
2,3 |
0,06 |
10 |
15 |
0,07 |
0,09 |
1,67 |
1,96 |
0,49 | |
|
46 Плиты торфяные теплоизоляционные |
300 |
2,3 |
0,064 |
15 |
20 |
0,07 |
0,08 |
2,12 |
2,34 |
0,19 | |
|
47 То же |
200 |
2,3 |
0,052 |
15 |
20 |
0,06 |
0,064 |
1,6 |
1,71 |
0,49 | |
|
48 Пакля |
150 |
2,3 |
0,05 |
7 |
12 |
0,06 |
0,07 |
1,3 |
1,47 |
0,49 | |
|
49 Плиты гипсовые пазогребневые |
1350 |
0,84 |
0,35 |
4 |
6 |
0,50 |
0,56 |
7,04 |
7,76 |
0,1 | |
|
50 То же |
1100 |
0,84 |
0,23 |
4 |
6 |
0,35 |
0,41 |
5,32 |
5,99 |
0,11 | |
|
51 Гипсовые строительные плиты/гипсокартонные листы |
1050 |
0,84 |
0,15 |
4 |
6 |
0,34 |
0,36 |
5,12 |
5,48 |
0,075 | |
|
52 То же |
800 |
0,84 |
0,15 |
4 |
6 |
0,19 |
0,21 |
3,34 |
3,66 |
0,075 | |
|
53 Изделия из вспученного перлита на битумном связующем |
300 |
1,68 |
0,087 |
1 |
2 |
0,09 |
0,099 |
1,84 |
1,95 |
0,04 | |
|
54 То же |
250 |
1,68 |
0,082 |
1 |
2 |
0,085 |
0,099 |
1,53 |
1,64 |
0,04 | |
|
55 |
" |
225 |
1,68 |
0,079 |
1 |
2 |
0,082 |
0,094 |
1,39 |
1,47 |
0,04 |
|
56 |
" |
200 |
1,68 |
0,076 |
1 |
2 |
0,078 |
0,09 |
1,23 |
1,32 |
0,04 |
|
57 Пенополиэтилен |
26 - 31 |
2,0 |
0,040 |
1 |
2 |
0,041 |
0,042 |
0,41 |
0,42 |
0,001 | |
|
58 То же |
19 - 26 |
2,0 |
0,048 |
1 |
2 |
0,049 |
0,051 |
0,40 |
0,41 |
0,001 | |
|
Засыпки | |||||||||||
|
59 Гравий керамзитовый |
600 |
0,84 |
0,14 |
2 |
3 |
0,17 |
0,19 |
2,62 |
2,83 |
0,23 | |
|
60 То же |
500 |
0,84 |
0,14 |
2 |
3 |
0,15 |
0,165 |
2,25 |
2,41 |
0,23 | |
|
61 |
" |
450 |
0,84 |
0,13 |
2 |
3 |
0,14 |
0,155 |
2,06 |
2,22 |
0,235 |
|
62 Гравий керамзитовый |
400 |
0,84 |
0,12 |
2 |
3 |
0,13 |
0,145 |
1,87 |
2,02 |
0,24 | |
|
63 То же |
350 |
0,84 |
0,115 |
2 |
3 |
0,125 |
0,14 |
1,72 |
1,86 |
0,245 | |
|
64 |
" |
300 |
0,84 |
0,108 |
2 |
3 |
0,12 |
0,13 |
1,56 |
1,66 |
0,25 |
|
65 |
" |
250 |
0,84 |
0,099 |
2 |
3 |
0,11 |
0,12 |
1,22 |
1,3 |
0,26 |
|
66 |
" |
200 |
0,84 |
0,090 |
2 |
3 |
0,10 |
0,11 |
1,16 |
1,24 |
0,27 |
|
68 Гравий шунгизитовый (ГОСТ 32496) |
700 |
0,84 |
0,16 |
2 |
4 |
0,18 |
0,21 |
2,91 |
3,29 |
0,21 | |
|
69 То же |
600 |
0,84 |
0,13 |
2 |
4 |
0,16 |
0,19 |
2,54 |
2,89 |
0,22 | |
|
70 |
" |
500 |
0,84 |
0,12 |
2 |
4 |
0,15 |
0,175 |
2,25 |
2,54 |
0,22 |
|
71 |
" |
450 |
0,84 |
0,11 |
2 |
4 |
0,14 |
0,16 |
2,06 |
2,30 |
0,22 |
|
72 |
" |
400 |
0,84 |
0,11 |
2 |
4 |
0,13 |
0,15 |
1,87 |
2,10 |
0,23 |
|
73 Щебень шлакопемзовый и аглопоритовый (ГОСТ 32496) |
800 |
0,84 |
0,18 |
2 |
3 |
0,21 |
0,26 |
3,36 |
3,83 |
0,22 | |
|
74 То же |
700 |
0,84 |
0,16 |
2 |
3 |
0,19 |
0,23 |
2,99 |
3,37 |
0,23 | |
|
75 |
" |
600 |
0,84 |
0,15 |
2 |
3 |
0,18 |
0,21 |
2,7 |
2,98 |
0,24 |
|
76 |
" |
500 |
0,84 |
0,14 |
2 |
3 |
0,16 |
0,19 |
2,32 |
2,59 |
0,25 |
|
77 |
" |
450 |
0,84 |
0,13 |
2 |
3 |
0,15 |
0,17 |
2,13 |
2,32 |
0,255 |
|
78 |
" |
400 |
0,84 |
0,122 |
2 |
3 |
0,14 |
0,16 |
1,94 |
2,12 |
0,26 |
|
79 Пористый гравий с остеклованной оболочкой из доменного и ферросплавного шлаков (ГОСТ 25820) |
700 |
0,84 |
0,14 |
2 |
3 |
0,17 |
0,19 |
2,84 |
3,06 |
0,22 | |
|
80 То же |
600 |
0,84 |
0,13 |
2 |
3 |
0,16 |
0,18 |
2,54 |
2,76 |
0,235 | |
|
81 |
" |
500 |
0,84 |
0,12 |
2 |
3 |
0,14 |
0,15 |
2,17 |
2,30 |
0,24 |
|
82 |
" |
400 |
0,84 |
0,10 |
2 |
3 |
0,13 |
0,14 |
1,87 |
1,98 |
0,245 |
|
83 Щебень и песок из перлита вспученного (ГОСТ 10832) |
500 |
0,84 |
0,09 |
1 |
2 |
0,1 |
0,11 |
1,79 |
1,92 |
0,26 | |
|
84 То же |
400 |
0,84 |
0,076 |
1 |
2 |
0,087 |
0,095 |
1,5 |
1,6 |
0,3 | |
|
85 |
" |
350 |
0,84 |
0,07 |
1 |
2 |
0,081 |
0,085 |
1,35 |
1,42 |
0,3 |
|
86 |
" |
300 |
0,84 |
0,064 |
1 |
2 |
0,076 |
0,08 |
0,99 |
1,04 |
0,34 |
|
87 Вермикулит вспученный (ГОСТ 12865) |
200 |
0,84 |
0,065 |
1 |
3 |
0,08 |
0,095 |
1,01 |
1,16 |
0,23 | |
|
88 То же |
150 |
0,84 |
0,060 |
1 |
3 |
0,074 |
0,098 |
0,84 |
1,02 |
0,26 | |
|
89 |
" |
100 |
0,84 |
0,055 |
1 |
3 |
0,067 |
0,08 |
0,66 |
0,75 |
0,3 |
|
90 Песок для строительных работ (ГОСТ 8736) |
1600 |
0,84 |
0,35 |
1 |
2 |
0,47 |
0,58 |
6,95 |
7,91 |
0,17 | |
|
Конструкционные и конструкционно-теплоизоляционные материалы | |||||||||||
|
Бетоны на заполнителях из пористых горных пород | |||||||||||
|
91 Туфобетон |
1800 |
0,84 |
0,64 |
7 |
10 |
0,87 |
0,99 |
11,38 |
12,79 |
0,09 | |
|
92 То же |
1600 |
0,84 |
0,52 |
7 |
10 |
0,7 |
0,81 |
9,62 |
10,91 |
0,11 | |
|
93 |
" |
1400 |
0,84 |
0,41 |
7 |
10 |
0,52 |
0,58 |
7,76 |
8,63 |
0,11 |
|
94 |
" |
1200 |
0,84 |
0,32 |
7 |
10 |
0,41 |
0,47 |
6,38 |
7,2 |
0,12 |
|
95 Бетон на литоидной пемзе |
1600 |
0,84 |
0,52 |
4 |
6 |
0,62 |
0,68 |
8,54 |
9,3 |
0,075 | |
|
96 То же |
1400 |
0,84 |
0,42 |
4 |
6 |
0,49 |
0,54 |
7,1 |
7,76 |
0,083 | |
|
97 |
" |
1200 |
0,84 |
0,30 |
4 |
6 |
0,4 |
0,43 |
5,94 |
6,41 |
0,098 |
|
98 |
" |
1000 |
0,84 |
0,22 |
4 |
6 |
0,3 |
0,34 |
4,69 |
5,2 |
0,11 |
|
99 |
" |
800 |
0,84 |
0,19 |
4 |
6 |
0,22 |
0,26 |
3,6 |
4,07 |
0,12 |
|
100 Бетон на вулканическом шлаке |
1600 |
0,84 |
0,52 |
7 |
10 |
0,64 |
0,7 |
9,2 |
10,14 |
0,075 | |
|
101 То же |
1400 |
0,84 |
0,41 |
7 |
10 |
0,52 |
0,58 |
7,76 |
8,63 |
0,083 | |
|
102 |
" |
1200 |
0,84 |
0,33 |
7 |
10 |
0,41 |
0,47 |
6,38 |
7,2 |
0,09 |
|
103 |
" |
1000 |
0,84 |
0,24 |
7 |
10 |
0,29 |
0,35 |
4,9 |
5,67 |
0,098 |
|
104 |
" |
800 |
0,84 |
0,20 |
7 |
10 |
0,23 |
0,29 |
3,9 |
4,61 |
0,11 |
|
105 Керамзитобетон на керамзитовом песке |
1800 |
0,84 |
0,66 |
5 |
10 |
0,80 |
0,92 |
10,5 |
12,33 |
0,09 | |
|
106 То же |
1600 |
0,84 |
0,58 |
5 |
10 |
0,67 |
0,79 |
9,06 |
10,77 |
0,09 | |
|
107 |
" |
1400 |
0,84 |
0,47 |
5 |
10 |
0,56 |
0,65 |
7,75 |
9,14 |
0,098 |
|
108 |
" |
1200 |
0,84 |
0,36 |
5 |
10 |
0,44 |
0,52 |
6,36 |
7,57 |
0,11 |
|
109 |
" |
1000 |
0,84 |
0,27 |
5 |
10 |
0,33 |
0,41 |
5,03 |
6,13 |
0,14 |
|
110 |
" |
800 |
0,84 |
0,21 |
5 |
10 |
0,24 |
0,31 |
3,83 |
4,77 |
0,19 |
|
111 |
" |
600 |
0,84 |
0,16 |
5 |
10 |
0,2 |
0,26 |
3,03 |
3,78 |
0,26 |
|
112 |
" |
500 |
0,84 |
0,14 |
5 |
10 |
0,17 |
0,23 |
2,55 |
3,25 |
0,3 |
|
113 Керамзитобетон на кварцевом песке с умеренной (до Vв = 12%) поризацией |
1200 |
0,84 |
0,41 |
4 |
8 |
0,52 |
0,58 |
6,77 |
7,72 |
0,075 | |
|
114 То же |
1000 |
0,84 |
0,33 |
4 |
8 |
0,41 |
0,47 |
5,49 |
6,35 |
0,075 | |
|
115 |
" |
800 |
0,84 |
0,23 |
4 |
8 |
0,29 |
0,35 |
4,13 |
4,9 |
0,075 |
|
116 Керамзитобетон на перлитовом песке |
1000 |
0,84 |
0,28 |
9 |
13 |
0,35 |
0,41 |
5,57 |
6,43 |
0,15 | |
|
117 То же |
800 |
0,84 |
0,22 |
9 |
13 |
0,29 |
0,35 |
4,54 |
5,32 |
0,17 | |
|
118 Керамзитобетон беспесчаный |
700 |
0,84 |
0,135 |
3,5 |
6 |
0,145 |
0,155 |
2,70 |
2,94 |
0,145 | |
|
119 То же |
600 |
0,84 |
0,130 |
3,5 |
6 |
0,140 |
0,150 |
2,46 |
2,68 |
0,155 | |
|
120 |
" |
500 |
0,84 |
0,120 |
3,5 |
6 |
0,130 |
0,140 |
2,16 |
2,36 |
0,165 |
|
121 |
" |
400 |
0,84 |
0,105 |
3,5 |
6 |
0,115 |
0,125 |
1,82 |
1,99 |
0,175 |
|
122 |
" |
300 |
0,84 |
0,095 |
3,5 |
6 |
0,105 |
0,110 |
1,51 |
1,62 |
0,195 |
|
123 Шунгизитобетон |
1400 |
0,84 |
0,49 |
4 |
7 |
0,56 |
0,64 |
7,59 |
8,6 |
0,098 | |
|
124 То же |
1200 |
0,84 |
0,36 |
4 |
7 |
0,44 |
0,5 |
6,23 |
7,04 |
0,11 | |
|
125 |
" |
1000 |
0,84 |
0,27 |
4 |
7 |
0,33 |
0,38 |
4,92 |
5,6 |
0,14 |
|
126 Перлитобетон |
1200 |
0,84 |
0,29 |
10 |
15 |
0,44 |
0,5 |
6,96 |
8,01 |
0,15 | |
|
127 То же |
1000 |
0,84 |
0,22 |
10 |
15 |
0,33 |
0,38 |
5,5 |
6,38 |
0,19 | |
|
128 |
" |
800 |
0,84 |
0,16 |
10 |
15 |
0,27 |
0,33 |
4,45 |
5,32 |
0,26 |
|
129 Перлитобетон |
600 |
0,84 |
0,12 |
10 |
15 |
0,19 |
0,23 |
3,24 |
3,84 |
0,3 | |
|
130 Бетон на шлакопемзовом щебне |
1800 |
0,84 |
0,52 |
5 |
8 |
0,63 |
0,76 |
9,32 |
10,83 |
0,075 | |
|
131 То же |
1600 |
0,84 |
0,41 |
5 |
8 |
0,52 |
0,63 |
7,98 |
9,29 |
0,09 | |
|
132 |
" |
1400 |
0,84 |
0,35 |
5 |
8 |
0,44 |
0,52 |
6,87 |
7,9 |
0,098 |
|
133 |
" |
1200 |
0,84 |
0,29 |
5 |
8 |
0,37 |
0,44 |
5,83 |
6,73 |
0,11 |
|
134 |
" |
1000 |
0,84 |
0,23 |
5 |
8 |
0,31 |
0,37 |
4,87 |
5,63 |
0,11 |
|
135 Бетон на остеклованном шлаковом гравии |
1800 |
0,84 |
0,46 |
4 |
6 |
0,56 |
0,67 |
8,60 |
9,80 |
0,08 | |
|
136 То же |
1600 |
0,84 |
0,37 |
4 |
6 |
0,46 |
0,55 |
7,35 |
8,37 |
0,085 | |
|
137 |
" |
1400 |
0,84 |
0,31 |
4 |
6 |
0,38 |
0,46 |
6,25 |
7,16 |
0,09 |
|
138 |
" |
1200 |
0,84 |
0,26 |
4 |
6 |
0,32 |
0,39 |
5,31 |
6,10 |
0,10 |
|
139 |
" |
1000 |
0,84 |
0,21 |
4 |
6 |
0,27 |
0,33 |
4,45 |
5,12 |
0,11 |
|
140 Мелкозернистые бетоны на гранулированных доменных и ферросплавных (силикомарганца и ферромарганца) шлаках |
1800 |
0,84 |
0,58 |
5 |
8 |
0,7 |
0,81 |
9,82 |
11,18 |
0,083 | |
|
141 То же |
1600 |
0,84 |
0,47 |
5 |
8 |
0,58 |
0,64 |
8,43 |
9,37 |
0,09 | |
|
142 |
" |
1400 |
0,84 |
0,41 |
5 |
8 |
0,52 |
0,58 |
7,46 |
8,34 |
0,098 |
|
143 |
" |
1200 |
0,84 |
0,36 |
5 |
8 |
0,49 |
0,52 |
6,57 |
7,31 |
0,11 |
|
145 Аглопоритобетон и бетоны на заполнителях из топливных шлаков |
1800 |
0,84 |
0,7 |
5 |
8 |
0,85 |
0,93 |
10,82 |
11,98 |
0,075 | |
|
146 То же |
1600 |
0,84 |
0,58 |
5 |
8 |
0,72 |
0,78 |
9,39 |
10,34 |
0,083 | |
|
147 |
" |
1400 |
0,84 |
0,47 |
5 |
8 |
0,59 |
0,65 |
7,92 |
8,83 |
0,09 |
|
148 |
" |
1200 |
0,84 |
0,35 |
5 |
8 |
0,48 |
0,54 |
6,64 |
7,45 |
0,11 |
|
149 |
" |
1000 |
0,84 |
0,29 |
5 |
8 |
0,38 |
0,44 |
5,39 |
6,14 |
0,14 |
|
150 Бетон на зольном обжиговом и безобжиговом гравии |
1400 |
0,84 |
0,47 |
5 |
8 |
0,52 |
0,58 |
7,46 |
8,34 |
0,09 | |
|
151 То же |
1200 |
0,84 |
0,35 |
5 |
8 |
0,41 |
0,47 |
6,14 |
6,95 |
0,11 | |
|
152 |
" |
1000 |
0,84 |
0,24 |
5 |
8 |
0,3 |
0,35 |
4,79 |
5,48 |
0,12 |
|
153 Вермикулитобетон |
800 |
0,84 |
0,21 |
8 |
13 |
0,23 |
0,26 |
3,97 |
4,58 |
- | |
|
154 То же |
600 |
0,84 |
0,14 |
8 |
13 |
0,16 |
0,17 |
2,87 |
3,21 |
0,15 | |
|
155 |
" |
400 |
0,84 |
0,09 |
8 |
13 |
0,11 |
0,13 |
1,94 |
2,29 |
0,19 |
|
156 |
" |
300 |
0,84 |
0,08 |
8 |
13 |
0,09 |
0,11 |
1,52 |
1,83 |
0,23 |
|
Бетоны особо легкие на пористых заполнителях и ячеистые | |||||||||||
|
157 Полистиролбетон на портландцементе (ГОСТ 32929) |
600 |
1,06 |
0,145 |
4 |
8 |
0,175 |
0,20 |
3,07 |
3,49 |
0,068 | |
|
158 То же |
500 |
1,06 |
0,125 |
4 |
8 |
0,14 |
0,16 |
2,5 |
2,85 |
0,075 | |
|
159 |
" |
400 |
1,06 |
0,105 |
4 |
8 |
0,12 |
0,135 |
2,07 |
2,34 |
0,085 |
|
160 |
" |
350 |
1,06 |
0,095 |
4 |
8 |
0,11 |
0,12 |
1,85 |
2,06 |
0,09 |
|
161 |
" |
300 |
1,06 |
0,085 |
4 |
8 |
0,09 |
0,11 |
1,55 |
1,83 |
0,10 |
|
162 |
" |
250 |
1,06 |
0,075 |
4 |
8 |
0,085 |
0,09 |
1,38 |
1,51 |
0,11 |
|
163 |
" |
200 |
1,06 |
0,065 |
4 |
8 |
0,07 |
0,08 |
1,12 |
1,28 |
0,12 |
|
164 |
" |
150 |
1,06 |
0,055 |
4 |
8 |
0,057 |
0,06 |
0,87 |
0,96 |
0,135 |
|
165 Полистиролбетон модифицированный на шлакопортландцементе |
500 |
1,06 |
0,12 |
3,5 |
7 |
0,13 |
0,14 |
2,39 |
2,63 |
0,075 | |
|
166 То же |
400 |
1,06 |
0,09 |
3,5 |
7 |
0,10 |
0,11 |
1,87 |
1,98 |
0,08 | |
|
167 |
" |
300 |
1,06 |
0,08 |
3,5 |
7 |
0,08 |
0,09 |
1,45 |
1,63 |
0,10 |
|
168 |
" |
250 |
1,06 |
0,07 |
3,5 |
7 |
0,07 |
0,08 |
1,24 |
1,40 |
0,11 |
|
169 |
" |
200 |
1,06 |
0,06 |
3,5 |
7 |
0,06 |
0,07 |
1,02 |
1,09 |
0,12 |
|
170 Газо- и пенобетон на цементном вяжущем |
1000 |
0,84 |
0,29 |
8 |
12 |
0,38 |
0,43 |
5,71 |
6,49 |
0,11 | |
|
171 То же |
800 |
0,84 |
0,21 |
8 |
12 |
0,33 |
0,37 |
4,92 |
5,63 |
0,14 | |
|
172 |
" |
600 |
0,84 |
0,14 |
8 |
12 |
0,22 |
0,26 |
3,36 |
3,91 |
0,17 |
|
173 |
" |
400 |
0,84 |
0,11 |
8 |
12 |
0,14 |
0,15 |
2,19 |
2,42 |
0,23 |
|
174 Газо- и пенобетон на известняковом вяжущем |
1000 |
0,84 |
0,31 |
12 |
18 |
0,48 |
0,55 |
6,83 |
7,98 |
0,13 | |
|
175 То же |
800 |
0,84 |
0,23 |
11 |
16 |
0,39 |
0,45 |
6,07 |
7,03 |
0,16 | |
|
176 |
" |
600 |
0,84 |
0,15 |
11 |
16 |
0,28 |
0,34 |
5,15 |
6,11 |
0,18 |
|
177 |
" |
500 |
0,84 |
0,13 |
11 |
16 |
0,22 |
0,28 |
4,56 |
5,55 |
0,235 |
|
178 Газо- и пенозолобетон на цементном вяжущем |
1200 |
0,84 |
0,37 |
15 |
22 |
0,60 |
0,66 |
7,99 |
9,18 |
0,085 | |
|
179 То же |
1000 |
0,84 |
0,32 |
15 |
22 |
0,52 |
0,58 |
7,43 |
8,62 |
0,098 | |
|
180 |
" |
800 |
0,84 |
0,23 |
15 |
22 |
0,41 |
0,47 |
6,61 |
7,60 |
0,12 |
|
181 Ячеистые бетоны автоклавного твердения |
800 |
0,84 |
0,194 |
4 |
6 |
0,225 |
0,241 |
3,38 |
3,51 |
0,08 | |
|
182 То же |
700 |
0,84 |
0,173 |
4 |
6 |
0,201 |
0,215 |
2,98 |
3,10 |
0,09 | |
|
183 |
" |
600 |
0,84 |
0,152 |
4 |
6 |
0,176 |
0,188 |
2,59 |
2,69 |
0,1 |
|
184 |
" |
500 |
0,84 |
0,131 |
4 |
6 |
0,152 |
0,162 |
2,19 |
2,28 |
0,11 |
|
185 |
" |
400 |
0,84 |
0,11 |
4 |
6 |
0,128 |
0,136 |
1,80 |
1,87 |
0,12 |
|
186 |
" |
300 |
0,84 |
0,089 |
4 |
6 |
0,103 |
0,110 |
1,40 |
1,46 |
0,13 |
|
187 |
" |
200 |
0,84 |
0,068 |
4 |
6 |
0,079 |
0,084 |
1,00 |
1,04 |
0,14 |
|
188 |
" |
100 |
0,84 |
0,047 |
4 |
6 |
0,055 |
0,058 |
0,59 |
0,61 |
0,2 |
|
Кирпичная кладка из сплошного кирпича | |||||||||||
|
189 Глиняного обыкновенного на цементно-песчаном растворе |
1800 |
0,88 |
0,56 |
1 |
2 |
0,7 |
0,81 |
9,2 |
10,12 |
0,11 | |
|
190 Глиняного обыкновенного на цементно-шлаковом растворе |
1700 |
0,88 |
0,52 |
1,5 |
3 |
0,64 |
0,76 |
8,64 |
9,7 |
0,12 | |
|
191 Глиняного обыкновенного на цементно-перлитовом растворе |
1600 |
0,88 |
0,47 |
2 |
4 |
0,58 |
0,7 |
8,08 |
9,23 |
0,15 | |
|
192 Силикатного на цементно-песчаном растворе |
1800 |
0,88 |
0,7 |
2 |
4 |
0,76 |
0,87 |
9,77 |
10,9 |
0,11 | |
|
193 Трепельного на цементно-песчаном растворе |
1200 |
0,88 |
0,35 |
2 |
4 |
0,47 |
0,52 |
6,26 |
6,49 |
0,19 | |
|
194 То же |
1000 |
0,88 |
0,29 |
2 |
4 |
0,41 |
0,47 |
5,35 |
5,96 |
0,23 | |
|
195 Шлакового на цементно-песчаном растворе |
1500 |
0,88 |
0,52 |
1,5 |
3 |
0,64 |
0,7 |
8,12 |
8,76 |
0,11 | |
|
196 Керамического пустотного плотностью 1400 кг/м3 (брутто) на цементно-песчаном растворе |
1600 |
0,88 |
0,47 |
1 |
2 |
0,58 |
0,64 |
7,91 |
8,48 |
0,14 | |
|
197 Керамического пустотного плотностью 1300 кг/м3 (брутто) на цементно-песчаном растворе |
1400 |
0,88 |
0,41 |
1 |
2 |
0,52 |
0,58 |
7,01 |
7,56 |
0,16 | |
|
198 Керамического пустотного плотностью 1000 кг/м3 (брутто) на цементно-песчаном растворе |
1200 |
0,88 |
0,35 |
1 |
2 |
0,47 |
0,52 |
6,16 |
6,62 |
0,17 | |
|
199 Силикатного одиннадцатипустотного на цементно-песчаном растворе |
1500 |
0,88 |
0,64 |
2 |
4 |
0,7 |
0,81 |
8,59 |
9,63 |
0,13 | |
|
200 Силикатного четырнадцатипустотного на цементно-песчаном растворе |
1400 |
0,88 |
0,52 |
2 |
4 |
0,64 |
0,76 |
7,93 |
9,01 |
0,14 | |
|
Дерево и изделия из него | |||||||||||
|
201 Сосна и ель поперек волокон |
500 |
2,3 |
0,09 |
15 |
20 |
0,14 |
0,18 |
3,87 |
4,54 |
0,06 | |
|
202 Сосна и ель вдоль волокон |
500 |
2,3 |
0,18 |
15 |
20 |
0,29 |
0,35 |
5,56 |
6,33 |
0,32 | |
|
203 Дуб поперек волокон |
700 |
2,3 |
0,1 |
10 |
15 |
0,18 |
0,23 |
5,0 |
5,86 |
0,05 | |
|
204 Дуб вдоль волокон |
700 |
2,3 |
0,23 |
10 |
15 |
0,35 |
0,41 |
6,9 |
7,83 |
0,3 | |
|
205 Фанера клееная |
600 |
2,3 |
0,12 |
10 |
13 |
0,15 |
0,18 |
4,22 |
4,73 |
0,02 | |
|
206 Картон облицовочный |
1000 |
2,3 |
0,18 |
5 |
10 |
0,21 |
0,23 |
6,2 |
6,75 |
0,06 | |
|
207 Картон строительный многослойный |
650 |
2,3 |
0,13 |
6 |
12 |
0,15 |
0,18 |
4,26 |
4,89 |
0,083 | |
|
Конструкционные материалы | |||||||||||
|
Бетоны | |||||||||||
|
208 Железобетон |
2500 |
0,84 |
1,69 |
2 |
3 |
1,92 |
2,04 |
17,98 |
18,95 |
0,03 | |
|
209 Бетон на гравии или щебне из природного камня |
2400 |
0,84 |
1,51 |
2 |
3 |
1,74 |
1,86 |
16,77 |
17,88 |
0,03 | |
|
210 Раствор цементно-песчаный |
1800 |
0,84 |
0,58 |
2 |
4 |
0,76 |
0,93 |
9,6 |
11,09 |
0,09 | |
|
211 Раствор сложный (песок, известь, цемент) |
1700 |
0,84 |
0,52 |
2 |
4 |
0,7 |
0,87 |
8,95 |
10,42 |
0,098 | |
|
212 Раствор известково-песчаный |
1600 |
0,84 |
0,47 |
2 |
4 |
0,7 |
0,81 |
8,69 |
9,76 |
0,12 | |
|
Облицовка природным камнем | |||||||||||
|
213 Гранит, гнейс и базальт |
2800 |
0,88 |
3,49 |
0 |
0 |
3,49 |
3,49 |
25,04 |
25,04 |
0,008 | |
|
214 Мрамор |
2800 |
0,88 |
2,91 |
0 |
0 |
2,91 |
2,91 |
22,86 |
22,86 |
0,008 | |
|
215 Известняк |
2000 |
0,88 |
0,93 |
2 |
3 |
1,16 |
1,28 |
12,77 |
13,7 |
0,06 | |
|
216 То же |
1800 |
0,88 |
0,7 |
2 |
3 |
0,93 |
1,05 |
10,85 |
11,77 |
0,075 | |
|
217 |
" |
1600 |
0,88 |
0,58 |
2 |
3 |
0,73 |
0,81 |
9,06 |
9,75 |
0,09 |
|
218 |
" |
1400 |
0,88 |
0,49 |
2 |
3 |
0,56 |
0,58 |
7,42 |
7,72 |
0,11 |
|
219 Туф |
2000 |
0,88 |
0,76 |
3 |
5 |
0,93 |
1,05 |
11,68 |
12,92 |
0,075 | |
|
220 То же |
1800 |
0,88 |
0,56 |
3 |
5 |
0,7 |
0,81 |
9,61 |
10,76 |
0,083 | |
|
221 |
" |
1600 |
0,88 |
0,41 |
3 |
5 |
0,52 |
0,64 |
7,81 |
9,02 |
0,09 |
|
222 |
" |
1400 |
0,88 |
0,33 |
3 |
5 |
0,43 |
0,52 |
6,64 |
7,6 |
0,098 |
|
223 |
" |
1200 |
0,88 |
0,27 |
3 |
5 |
0,35 |
0,41 |
5,55 |
6,25 |
0,11 |
|
224 |
" |
1000 |
0,88 |
0,21 |
3 |
5 |
0,24 |
0,29 |
4,2 |
4,8 |
0,11 |
|
Материалы кровельные, гидроизоляционные, облицовочные и рулонные покрытия для полов | |||||||||||
|
225 Листы асбестоцементные плоские |
1800 |
0,84 |
0,35 |
2 |
3 |
0,47 |
0,52 |
7,55 |
8,12 |
0,03 | |
|
226 То же |
1600 |
0,84 |
0,23 |
2 |
3 |
0,35 |
0,41 |
6,14 |
6,8 |
0,03 | |
|
227 Битумы нефтяные строительные и кровельные |
1400 |
1,68 |
0,27 |
0 |
0 |
0,27 |
0,27 |
6,8 |
6,8 |
0,008 | |
|
228 То же |
1200 |
1,68 |
0,22 |
0 |
0 |
0,22 |
0,22 |
5,69 |
5,69 |
0,008 | |
|
229 |
" |
1000 |
1,68 |
0,17 |
0 |
0 |
0,17 |
0,17 |
4,56 |
4,56 |
0,008 |
|
230 Асфальтобетон |
2100 |
1,68 |
1,05 |
0 |
0 |
1,05 |
1,05 |
16,43 |
16,43 |
0,008 | |
|
231 Рубероид, пергамин, толь |
600 |
1,68 |
0,17 |
0 |
0 |
0,17 |
0,17 |
3,53 |
3,53 | ||
|
232 Линолеум поливинилхлоридный на теплоизолирующей подоснове |
1800 |
1,47 |
0,38 |
0 |
0 |
0,38 |
0,38 |
8,56 |
8,56 |
0,002 | |
|
233 То же |
1600 |
1,47 |
0,33 |
0 |
0 |
0,33 |
0,33 |
7,52 |
7,52 |
0,002 | |
|
234 Линолеум поливинилхлоридный на тканевой основе |
1800 |
1,47 |
0,35 |
0 |
0 |
0,35 |
0,35 |
8,22 |
8,22 |
0,002 | |
|
235 То же |
1600 |
1,47 |
0,29 |
0 |
0 |
0,29 |
0,29 |
7,05 |
7,05 |
0,002 | |
|
236 |
" |
1400 |
1,47 |
0,2 |
0 |
0 |
0,23 |
0,23 |
5,87 |
5,87 |
0,002 |
|
Металлы и стекло | |||||||||||
|
237 Сталь стержневая арматурная |
7850 |
0,482 |
58 |
0 |
0 |
58 |
58 |
126,5 |
126,5 |
0 | |
|
238 Чугун |
7200 |
0,482 |
50 |
0 |
0 |
50 |
50 |
112,5 |
112,5 |
0 | |
|
239 Алюминий |
2600 |
0,84 |
221 |
0 |
0 |
221 |
221 |
187,6 |
187,6 |
0 | |
|
240 Медь |
8500 |
0,42 |
407 |
0 |
0 |
407 |
407 |
326 |
326 |
0 | |
|
241 Стекло оконное |
2500 |
0,84 |
0,76 |
0 |
0 |
0,76 |
0,76 |
10,79 |
10,79 |
0 | |
|
242 Плиты из пеностекла |
80 - 100 |
0,84 |
0,041 |
1 |
1 |
0,042 |
0,042 |
0,55 |
0,55 |
0,006 | |
|
243 То же |
101 - 120 |
0,84 |
0,046 |
1 |
1 |
0,047 |
0,047 |
0,63 |
0,63 |
0,006 | |
|
244 |
" |
121 - 140 |
0,84 |
0,050 |
1 |
1 |
0,051 |
0,051 |
0,69 |
0,69 |
0,005 |
|
245 |
" |
141 - 160 |
0,84 |
0,052 |
1 |
1 |
0,053 |
0,053 |
0,74 |
0,74 |
0,004 |
|
246 |
" |
161 - 200 |
0,84 |
0,060 |
1 |
1 |
0,061 |
0,061 |
0,88 |
0,88 |
0,004 |
|
Примечания 1 Расчетные значения теплоусвоения (при периоде 24 ч) материала в конструкции вычислены по формуле
где λ, ρ0, c0, w - принимают по соответствующим графам настоящей таблицы. 2 Характеристики материалов в сухом состоянии приведены при влажности материала w, %, равной нулю. 3 Теплопроводность материалов в сухом состоянии и при условиях эксплуатации конструкции А и Б приведена при средней температуре 25 °C. | |||||||||||
(5.5)
. (5.6)

