электронный сборник нормативных документов по строительству
Обновления
29.04.2026 12:38
электронный сборник нормативных документов по строительству

ГОСТ Р 71372-2024 ИЗДЕЛИЯ АВИАЦИОННОЙ ТЕХНИКИ. ВЫХОД РЕЗЬБЫ. СБЕГИ, НЕДОРЕЗЫ, НЕДОКАТЫ, ПРОТОЧКИ И ФАСКИ

Утв. и введен в действие Приказом Федерального агентства по техническому регулированию и метрологии от 16 октября 2024 г. N 1464-ст

Национальный стандарт РФ ГОСТ Р 71372-2024

"ИЗДЕЛИЯ АВИАЦИОННОЙ ТЕХНИКИ. ВЫХОД РЕЗЬБЫ. СБЕГИ, НЕДОРЕЗЫ, НЕДОКАТЫ, ПРОТОЧКИ И ФАСКИ"

Aircraft items. Screw thread runout. Washout threads, total thread runouts, undercuts, grooves and chamfers

ОКС 21.060.01

Дата введения - 1 ноября 2024 года

Введен впервые

Предисловие

1 РАЗРАБОТАН Федеральным государственным унитарным предприятием "Всероссийский научно-исследовательский институт "Центр" (ФГУП "ВНИИ "Центр")

2 ВНЕСЕН Техническим комитетом по стандартизации ТК 323 "Авиационная техника"

3 УТВЕРЖДЕН И ВВЕДЕН В ДЕЙСТВИЕ Приказом Федерального агентства по техническому регулированию и метрологии от 16 октября 2024 г. N 1464-ст

4 ВВЕДЕН ВПЕРВЫЕ

Правила применения настоящего стандарта установлены в статье 26 Федерального закона от 29 июня 2015 г. N 162-ФЗ "О стандартизации в Российской Федерации". Информация об изменениях к настоящему стандарту публикуется в ежегодном (по состоянию на 1 января текущего года) информационном указателе "Национальные стандарты", а официальный текст изменений и поправок - в ежемесячном информационном указателе "Национальные стандарты". В случае пересмотра (замены) или отмены настоящего стандарта соответствующее уведомление будет опубликовано в ближайшем выпуске ежемесячного информационного указателя "Национальные стандарты". Соответствующая информация, уведомление и тексты размещаются также в информационной системе общего пользования - на официальном сайте Федерального агентства по техническому регулированию и метрологии в сети Интернет (www.rst.gov.ru)

Введение

Стандарт разработан на основе отраслевого стандарта ОСТ 1 00010-81 "Выход резьбы. Сбеги, недорезы, недокаты, проточки и фаски".

1 Область применения

Настоящий стандарт распространяется на изделия авиационной техники с метрической резьбой (далее - резьба) и устанавливает размеры сбега, недоката, недореза в месте перехода резьбы в гладкую часть стержня, образуемого заборной частью инструмента, или при выходе инструмента; размеры недоката, недореза при выполнении резьбы в упор; размеры сбега и фасок на конце крепежных элементов, формы и размеры проточек для выхода резьбообразующего инструмента.

2 Нормативные ссылки

В настоящем стандарте использована нормативная ссылка на следующий стандарт:

ГОСТ Р 71373 Изделия авиационной техники. Предельные отклонения размеров, допуски формы и расположения поверхностей, не указанные на чертеже

Примечание - При пользовании настоящим стандартом целесообразно проверить действие ссылочных стандартов в информационной системе общего пользования - на официальном сайте национального органа Российской Федерации по стандартизации в сети Интернет или по ежегодно издаваемому информационному указателю "Национальные стандарты", который опубликован по состоянию на 1 января текущего года, и по выпускам ежемесячно издаваемого информационного указателя "Национальные стандарты" за текущий год. Если заменен ссылочный стандарт, на который дана недатированная ссылка, то рекомендуется использовать действующую версию этого стандарта с учетом всех внесенных в данную версию изменений. Если ссылочный стандарт отменен без замены, то положение, в котором дана ссылка на него, рекомендуется применять в части, не затрагивающей эту ссылку.

3 Основные положения

3.1 Наружная резьба (сбеги у гладкой части стержня крепежного элемента)

3.1.1 При выполнении резьбы накатыванием размеры сбегов у гладкой части стержня крепежных элементов для наружной резьбы должны соответствовать указанным на рисунках 1 и 2 и в таблице 1.

image001.png

Рисунок 1

image002.png

Рисунок 2

Таблица 1

В миллиметрах

Шаг резьбы P

Сбег X, не более

Недокат (недорез) X1, не более

Сбег на конце стержня X2, не более ≈ 2P

Фаска Z, не более

нормальный ≈ 2P

короткий ≈ 1,25P

уменьшенный ≈ 0,7P

нормальный ≈ 3P

короткий ≈ 2P

0,25

0,50

0,30

0,20

0,80

0,50

0,50

0,20

0,30

0,60

0,40

0,90

0,60

0,60

0,35

0,70

0,45

0,30

1,00

0,70

0,70

0,30

0,40

0,80

0,50

1,10

0,80

0,80

0,45

0,90

0,60

1,20

0,90

0,90

0,50

1,00

0,70

0,40

1,30

1,00

1,00

0,50

0,60

1,20

0,75

1,50

1,20

1,20

0,70

1,40

0,90

0,50

1,90

1,40

1,40

0,75

1,50

1,00

2,00

1,50

1,50

0,80

1,60

1,00

0,60

2,30

1,60

1,60

0,70

1,00

2,00

1,25

0,70

2,70

2,00

2,00

1,25

2,50

1,60

0,90

3,40

2,50

2,50

1,00

1,50

3,00

1,90

1,00

3,90

3,00

3,00

1,75

3,50

2,20

1,20

4,60

3,50

3,50

1,50

2,00

4,00

2,50

1,40

5,20

4,00

4,00

3.1.2 При выполнении резьбы нарезанием размеры сбегов у гладкой части стержня крепежных элементов для наружной резьбы - в соответствии с указанными на рисунке 3 и в таблице 1.

image003.png

Рисунок 3

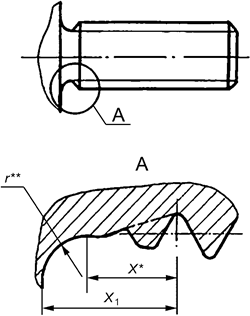
3.2 Наружная резьба в упор (недокаты и недорезы)

3.2.1 При выполнении наружной резьбы в упор накатыванием размеры недокатов и сбегов должны соответствовать указанным на рисунках 4 и 5 и в таблице 1.

image004.png

Рисунок 4

image005.png

Рисунок 5

--------------------------------

* Сбег резьбы не должен заходить на радиус r.

** Радиус r настоящим стандартом не регламентирован.

3.2.2 При выполнении наружной резьбы в упор нарезанием размеры недорезов и сбегов - в соответствии с указанными на рисунках 6 и 7 и в таблице 1.

image006.png

Рисунок 6

image007.png

Рисунок 7

--------------------------------

* Сбег резьбы не должен заходить на радиус r.

** Радиус r настоящим стандартом не регламентирован.

3.3 Наружная резьба (сбеги и фаски на конце крепежного элемента)

3.3.1 При выполнении резьбы накатыванием размеры сбегов на конце крепежных элементов для наружной резьбы должны соответствовать указанным на рисунках 8 и 9 и в таблице 1.

image008.png

Рисунок 8

image009.png

Рисунок 9

3.3.2 При выполнении резьбы нарезанием размеры фасок на конце крепежных элементов для наружной резьбы - в соответствии с указанными на рисунке 10 и в таблице 1.

image010.png

Рисунок 10

3.4 Наружная резьба (проточки)

При выполнении наружной резьбы независимо от метода ее выполнения форма и размеры проточки должны соответствовать указанным на рисунке 11 и в таблице 2.

Примечание - Для обеспечения нормальной работы резьбового соединения длину резьбы целесообразно делать равной не менее шести шагов. В технически обоснованных случаях допускается длина резьбы, равная не менее трех шагов (при этом резьбу выполняют с уменьшенным сбегом и проточкой по типу 1).

image011.png

Рисунок 11

Таблица 2

В миллиметрах

Шаг резьбы P

Проточка

Тип 1

Тип 2 *

f1

r

r1

df

f2

r2

r3

0,35

1,0

0,3

d - 0,5

-

-

-

0,40

d - 0,6

0,45

d - 0,7

0,50

d - 0,8

0,60

d - 0,9

0,70

1,6

0,5

d - 1,0

-

-

-

0,75

d - 1,2

0,80

1,00

2,0

d - 1,5

2,8

1,00

2,0

1,25

d - 1,8

3,3

1,15

2,5

1,50

3,0

1,0

0,5

d - 2,2

3,5

1,36

1,75

3,5

d - 2,5

3,8

1,50

3,0

2,00

4,0

d - 3,0

4,1

1,75

* Выполнять на деталях из материала с временным напряжением (механическим) σв ≥ 1373 МПа (140 кгс/мм2), титановых сплавов или из материала, имеющего повышенную чувствительность к концентрации напряжений.

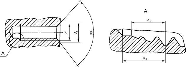
3.5 Внутренняя резьба (сбеги, недорезы, проточки и фаски)

3.5.1 При выполнении резьбы нарезанием размеры сбегов, недорезов, проточек и фасок для внутренней резьбы - в соответствии с указанными на рисунках 12 и 13 и в таблицах 3 и 4.

image012.png

Рисунок 12 - Сбеги, недорезы и фаски

image013.png

Рисунок 13 - Проточки и фаски

Таблица 3

В миллиметрах

Шаг резьбы P

Сбег X3, не более

Недорез X4, не более

Фаска d5

нормальный

увеличенный *

нормальный

увеличенный *

минимальный

максимальный

0,25

1,0

-

1,5

-

d

d + 0,05

0,30

d + 0,07

0,35

d + 0,08

0,40

1,8

d + 0,10

0,45

d + 0,11

0,50

1,5

2,0

2,5

d + 0,15

0,60

1,20

1,8

2,2

2,8

d + 0,18

0,70

1,40

2,1

2,9

3,6

d + 0,20

0,75

1,50

2,3

3,0

3,8

d + 0,23

0,80

1,60

2,4

3,6

4,4

d + 0,25

1,00

2,00

3,0

4,0

5,0

d + 0,30

1,25

2,50

3,8

5,5

6,8

d + 0,40

1,50

3,00

4,5

6,0

7,5

d + 0,50

1,75

3,50

5,3

7,5

9,3

d + 0,60

2,00

4,00

6,0

8,0

10,0

d + 0,70

* Применять на деталях из жаропрочной и нержавеющей сталей, титановых сплавов и в случае применения резьбы с натягом.

Таблица 4

В миллиметрах

Шаг резьбы P

Проточка

Тип 1 *

Тип 2 **

f3

r4

r5

df1

d4

h

0,25

-

-

-

-

-

-

0,30

0,35

0,40

0,45

0,50

1,0

0,3

0,3

d + 0,2

d + 1

0,5

0,60

-

-

-

-

0,70

0,75

1,6

0,5

0,3

d + 0,2

0,80

-

-

-

-

1,00

2,0

0,5

0,5

d + 0,2

1,25

3,0

1,0

1,0

1,50

d + 0,3

1,75

4,0

2,00

5,0

d + 0,4

* Для резьб диаметром не менее 6 мм.

** Для резьб с натягом и на деталях из алюминиевых и магниевых сплавов.

3.5.2 При изготовлении внутренних резьб допускается применять фаски под углом 60° между образующей и осью конуса.

3.6 Технические требования

3.6.1 Размеры сбегов, проточек и фасок обеспечиваются инструментом.

3.6.2 Для деталей из материала с временным напряжением (механическим) σв ≥ 1373 МПа (140 кгс/мм2), титановых сплавов или из материала, имеющего повышенную чувствительность к концентрации напряжений, профиль впадины наружной резьбы на участке сбега должен быть закруглен радиусом не менее 0,05 мм с постепенным переходом в размер радиуса впадины полного профиля; радиус закругления профиля впадины резьбы на участке сбега обеспечивается инструментом.

При накатывании резьба не должна заходить на гладкую конусовидную часть между концом сбега и безрезьбовой частью стержня.

3.6.3 Неуказанные предельные отклонения размеров, допуски формы и расположения поверхностей - по ГОСТ Р 71373.

3.6.4 Допускается не указывать на изображении размеры элементов выхода резьбы, а делать запись в технических требованиях.

В случаях применения нормального сбега, нормального недоката (недореза) вид сбега или недоката (недореза) не указывают.

Примеры

1 Сбег и фаска резьбы - по ГОСТ Р 71372-2024.

2 Недокат и фаска резьбы - по ГОСТ Р 71372-2024.

3 Недорез и фаска резьбы - по ГОСТ Р 71372-2024.

4 Сбег, недокат и фаска резьбы - по ГОСТ Р 71372-2024.

5 Сбег, недорез и фаска резьбы - по ГОСТ Р 71372-2024.

В остальных случаях указывают вид сбега, недоката (недореза) и тип проточки.

Примеры

1 Сбег (указывается вид сбега) и фаска резьбы - по ГОСТ Р 71372-2024.

2 Недокат (указывается вид недоката) и фаска резьбы - по ГОСТ Р 71372-2024.

3 Недорез (указывается вид недореза) и фаска резьбы - по ГОСТ Р 71372-2024.

4 Проточка (указывается тип проточки), фаска и сбег резьбы - по ГОСТ Р 71372-2024.

5 Сбег (указывается вид сбега), недорез (указывается вид недореза) и фаска резьбы - по ГОСТ Р 71372-2024.

6 Сбег (указывается вид сбега), недокат (указывается вид недоката) и фаска резьбы - по ГОСТ Р 71372-2024.

Яндекс.Метрика