ГОСТ 24334-2020 КАБЕЛИ СИЛОВЫЕ ДЛЯ НЕСТАЦИОНАРНОЙ ПРОКЛАДКИ. ОБЩИЕ ТЕХНИЧЕСКИЕ ТРЕБОВАНИЯ
Power cables for non-stationary laying. General technical requirements
МКС 29.060.20
ОКПД2 27.32.13.125
27.32.13.124
Дата введения - 1 декабря 2021 г.
Взамен ГОСТ 24334-80
Предисловие
Цели, основные принципы и общие правила проведения работ по межгосударственной стандартизации установлены ГОСТ 1.0 "Межгосударственная система стандартизации. Основные положения" и ГОСТ 1.2 "Межгосударственная система стандартизации. Стандарты межгосударственные, правила и рекомендации по межгосударственной стандартизации. Правила разработки, принятия, обновления и отмены"
Сведения о стандарте
1 Разработан Акционерным обществом "Научно-исследовательский, проектно-конструкторский и технологический кабельный институт (НИКИ) г. Томск с опытным производством" (АО "НИКИ г. Томск")
2 Внесен Межгосударственным техническим комитетом по стандартизации МТК 46 "Кабельные изделия"
3 Принят Межгосударственным советом по стандартизации, метрологии и сертификации (протокол от 29 мая 2020 г. N 130-П)
За принятие проголосовали:
|
Краткое наименование страны по МК (ИСО 3166) 004-97 |
Код страны по МК (ИСО 3166) 004-97 |
Сокращенное наименование национального органа по стандартизации |
|
Армения |
AM |
Минэкономики Республики Армения |
|
Беларусь |
BY |
Госстандарт Республики Беларусь |
|
Киргизия |
KG |
Кыргызстандарт |
|
Россия |
RU |
Росстандарт |
|
Таджикистан |
TJ |
Таджикстандарт |
|
Узбекистан |
UZ |
Узстандарт |
4 Приказом Федерального агентства по техническому регулированию и метрологии от 30 июня 2020 г. N 331-ст межгосударственный стандарт ГОСТ 24334-2020 введен в действие в качестве национального стандарта Российской Федерации с 1 декабря 2021 г.
5 Взамен ГОСТ 24334-80
6 В настоящем стандарте использованы объекты патентного права - полезные модели Российской Федерации (патентообладатель - Акционерное общество "Научно-исследовательский, проектно-конструкторский и технологический кабельный институт (НИКИ) г. Томск с опытным производством").
Межгосударственный совет по стандартизации, метрологии и сертификации не несет ответственности за достоверность информации о патентных правах. При необходимости ее уточнения патентообладатель может направить в национальный орган по стандартизации своего государства аргументированное предложение о внесении в настоящий стандарт поправки.
Настоящий стандарт распространяется на силовые кабели для нестационарной прокладки (далее - кабели), предназначенные для присоединения передвижных машин, механизмов и оборудования к электрическим сетям и к передвижным источникам электрической энергии на номинальное напряжение не более 450/750 В переменного тока частотой до 400 Гц.
Стандарт устанавливает основные требования к конструкциям и техническим характеристикам кабелей, методы контроля и эксплуатационные характеристики.
Стандарт не распространяется на силовые гибкие кабели, используемые для подземных и открытых горных работ, и лифтовые кабели.
В настоящем стандарте использованы нормативные ссылки на следующие межгосударственные стандарты:
ГОСТ 12.2.007.14 Система стандартов безопасности труда. Кабели и кабельная арматура. Требования безопасности
ГОСТ 15.309 Система разработки и постановки продукции на производство. Испытания и приемка выпускаемой продукции. Основные положения
ГОСТ 20.57.406 Комплексная система контроля качества. Изделия электронной техники, квантовой электроники и электротехнические. Методы испытаний
ГОСТ 427 Линейки измерительные металлические. Технические условия
ГОСТ 2990 Кабели, провода и шнуры. Методы испытания напряжением
ГОСТ 3345 Кабели, провода и шнуры. Метод определения электрического сопротивления изоляции
ГОСТ 7229 Кабели, провода и шнуры. Метод определения электрического сопротивления токопроводящих жил и проводников
ГОСТ 12177 Кабели, провода и шнуры. Методы проверки конструкции
ГОСТ 12182.1 Кабели, провода и шнуры. Методы проверки стойкости к многократному перегибу через систему роликов
ГОСТ 12182.3 Кабели, провода и шнуры. Методы проверки стойкости к изгибу с осевым кручением
ГОСТ 12182.5 Кабели, провода и шнуры. Метод проверки стойкости к растяжению
ГОСТ 12182.6 Кабели, провода и шнуры. Метод проверки стойкости к раздавливанию
ГОСТ 12182.8 Кабели, провода и шнуры. Метод проверки стойкости к изгибу
ГОСТ 14192 Маркировка грузов
ГОСТ 15150 Машины, приборы и другие технические изделия. Исполнения для различных климатических районов. Категории, условия эксплуатации, хранения и транспортирования в части воздействия климатических факторов внешней среды
ГОСТ 15845 Изделия кабельные. Термины и определения
ГОСТ 17491 Кабели, провода и шнуры с резиновой и пластмассовой изоляцией и оболочкой. Методы испытания на холодостойкость
ГОСТ 18690 Кабели, провода, шнуры и кабельная арматура. Маркировка, упаковка, транспортирование и хранение
ГОСТ 20799 Масла индустриальные. Технические условия
ГОСТ 22483 Жилы токопроводящие для кабелей, проводов и шнуров
ГОСТ 23216 Изделия электротехнические. Хранение, транспортирование, временная противокоррозионная защита, упаковка. Общие требования и методы испытаний
ГОСТ 23286 Кабели, провода и шнуры. Нормы толщин изоляции, оболочек и испытаний напряжением. Общие требования и методы испытаний
ГОСТ 31565 Кабельные изделия. Требования пожарной безопасности
ГОСТ IEC 60331-21 Испытания электрических и оптических кабелей в условиях воздействия пламени. Сохранение работоспособности. Часть 21. Проведение испытаний и требования к ним. Кабели на номинальное напряжение до 0,6/1,0 кВ включительно
ГОСТ IEC 60332-1-2 Испытания электрических и оптических кабелей в условиях воздействия пламени. Часть 1-2. Испытание на нераспространение горения одиночного вертикально расположенного изолированного провода или кабеля. Проведение испытания при воздействии пламенем газовой горелки мощностью 1 кВт с предварительным смешением газов
ГОСТ IEC 60332-1-3 Испытания электрических и оптических кабелей в условиях воздействия пламени. Часть 1-3. Испытание на нераспространение горения одиночного вертикально расположенного изолированного провода или кабеля. Проведение испытания на образование горящих капелек/частиц
ГОСТ IEC 60332-3-21 Испытания электрических и оптических кабелей в условиях воздействия пламени. Часть 3-21. Распространение пламени по вертикально расположенным пучкам проводов или кабелей. Категория A F/R
ГОСТ IEC 60332-3-22 Испытания электрических и оптических кабелей в условиях воздействия пламени. Часть 3-22. Распространение пламени по вертикально расположенным пучкам проводов или кабелей. Категория А
ГОСТ IEC 60332-3-23 Испытания электрических и оптических кабелей в условиях воздействия пламени. Часть 3-23. Распространение пламени по вертикально расположенным пучкам проводов или кабелей. Категория В
ГОСТ IEC 60332-3-24 Испытания электрических и оптических кабелей в условиях воздействия пламени. Часть 3-24. Распространение пламени по вертикально расположенным пучкам проводов или кабелей. Категория С
ГОСТ IEC 60332-3-25 Испытания электрических и оптических кабелей в условиях воздействия пламени. Часть 3-25. Распространение пламени по вертикально расположенным пучкам проводов или кабелей. Категория D
ГОСТ IEC 60754-1 Испытания материалов конструкции кабелей при горении. Часть 1. Определение количества выделяемых газов галогенных кислот
ГОСТ IEC 60754-2 Испытания материалов конструкции кабелей при горении. Часть 2. Определение степени кислотности выделяемых газов измерением рН и удельной проводимости
ГОСТ IEC 60811-401 Кабели электрические и волоконно-оптические. Методы испытаний неметаллических материалов. Часть 401. Разные испытания. Методы теплового старения. Старение в термостате
ГОСТ IEC 60811-403 Кабели электрические и волоконно-оптические. Методы испытаний неметаллических материалов. Часть 403. Разные испытания. Испытание сшитых композиций на озоностойкость
ГОСТ IEC 60811-404 Кабели электрические и волоконно-оптические. Методы испытаний неметаллических материалов. Часть 404. Разные испытания. Испытание оболочки кабеля на стойкость к минеральному маслу
ГОСТ IEC 60811-501 Кабели электрические и волоконно-оптические. Методы испытаний неметаллических материалов. Часть 501. Механические испытания. Испытания для определения механических свойств композиций изоляции и оболочки
ГОСТ IEC 60811-504 Кабели электрические и волоконно-оптические. Методы испытаний неметаллических материалов. Часть 504. Механические испытания. Испытания изоляции и оболочек на изгиб при низкой температуре
ГОСТ IEC 60811-505 Кабели электрические и волоконно-оптические. Методы испытаний неметаллических материалов. Часть 505. Механические испытания. Испытания изоляции и оболочек на удлинение при низкой температуре
ГОСТ IEC 60811-506 Кабели электрические и волоконно-оптические. Методы испытаний неметаллических материалов. Часть 506. Механические испытания. Испытания изоляции и оболочек на удар при низкой температуре
ГОСТ IEC 60811-507 Кабели электрические и волоконно-оптические. Методы испытаний неметаллических материалов. Часть 507. Механические испытания. Испытания на тепловую деформацию для сшитых композиций
ГОСТ IEC 60811-508 Кабели электрические и волоконно-оптические. Методы испытаний неметаллических материалов. Часть 508. Механические испытания. Испытание изоляции и оболочек под давлением при высокой температуре
ГОСТ IEC 60811-509 Кабели электрические и волоконно-оптические. Методы испытаний неметаллических материалов. Часть 509. Механические испытания. Испытание изоляции и оболочек на стойкость к растрескиванию (испытание на тепловой удар)
ГОСТ IEC 61034-2 Измерение плотности дыма при горении кабелей в заданных условиях. Часть 2. Метод испытания и требования к нему
Примечание - При пользовании настоящим стандартом целесообразно проверить действие ссылочных стандартов и классификаторов на официальном интернет-сайте Межгосударственного совета по стандартизации, метрологии и сертификации (www.easc.by) или по указателям национальных стандартов, издаваемых в государствах, указанных в предисловии, или на официальных сайтах соответствующих национальных органов по стандартизации. Если на документ дана недатированная ссылка, то следует использовать документ, действующий на текущий момент, с учетом всех внесенных в него изменений. Если заменен ссылочный документ, на который дана датированная ссылка, то следует использовать указанную версию этого документа. Если после принятия настоящего стандарта в ссылочный документ, на который дана датированная ссылка, внесено изменение, затрагивающее положение, на которое дана ссылка, то это положение применяется без учета данного изменения. Если ссылочный документ отменен без замены, то положение, в котором дана ссылка на него, применяется в части, не затрагивающей эту ссылку.
В настоящем стандарте применены термины по ГОСТ 15845, а также следующие термины с соответствующими определениями:
3.1 номинальное напряжение: Напряжение, на которое рассчитана изоляция кабеля и которое служит для определения параметров электрических испытаний.
Примечание - Номинальное напряжение выражается сочетанием двух значений U0/U, выраженных в вольтах (В):
U0 - среднеквадратическое значение между любой изолированной жилой и "землей" (металлическим покрытием кабеля или окружающей средой);
U - среднеквадратическое значение между любыми двумя фазными жилами многожильного кабеля или системы одножильных кабелей.
В системе переменного тока номинальное напряжение кабеля должно быть не менее номинального напряжения системы, для которой он предназначен.
Это условие относится как к значению U0, так и к значению U.
3.2 номинальное значение: Нормированное значение параметра, являющееся исходным для отсчета отклонений этого параметра.
3.3 длительно допустимая температура нагрева токопроводящей жилы: Допустимая температура нагрева токопроводящей жилы кабеля при нормальном режиме эксплуатации.
3.4 резина: Сложная многокомпонентная система на основе каучука(ов), приобретающая свои ценные свойства в процессе вулканизации (сшивания эластомера).
3.5 резина общего назначения: Резина на основе комбинации изопренового или натурального каучука с другими синтетическими каучуками.
3.6 полихлоропреновая резина или другой аналогичный синтетический эластомер: Резина, в которой эластомером является полихлоропрен или другой аналогичный синтетический эластомер, придающий резине свойства, аналогичные свойствам хлоропрена.
3.7 этиленпропиленовая резина или другой аналогичный синтетический эластомер: Резина, в которой эластомером является этиленпропилен или другой аналогичный синтетический эластомер, придающий резине свойства, аналогичные свойствам этиленпропилена.
3.8 эластомер: Полимер, обладающий высокоэластичными свойствами во всем диапазоне температур его эксплуатации.
3.9 термопластичный эластомер: Полимерный материал, проявляющий свойства эластомеров (резин) в условиях эксплуатации, а в условиях переработки при высоких температурах способен течь подобно расплавам термопластов.
3.10 кремнийорганическая резина: Эластичный материал, получаемый на базе высокомолекулярных кремнийорганических соединений.
3.11 поливинилхлоридный пластикат: Смесь поливинилхлоридной смолы (поливинилхлорида) с пластификаторами, стабилизаторами, наполнителями и другими компонентами.
3.12 нераспространение горения: Способность кабеля или группы совместно проложенных кабелей самостоятельно прекращать горение после удаления источника зажигания.
3.13 нулевая жила (N): Изолированная токопроводящая жила кабеля, выполняющая функцию нулевого рабочего проводника.
3.14 жила заземления (РЕ): Изолированная токопроводящая жила кабеля, выполняющая функцию нулевого защитного проводника.
3.15 старение: Процесс накопления необратимых изменений в изоляции или наружной оболочке кабеля в результате воздействия одного или совокупности факторов, приводящего к ухудшению эксплуатационных свойств кабеля или его отказу.
3.16 показатель пожарной опасности: Количественная характеристика одного или нескольких свойств, составляющих пожарную безопасность кабеля.
3.17 легкий режим работы: Регулярная работа при малых и средних нагрузках, при ограниченных перемещениях, где риск механического воздействия и механического напряжения незначителен.
Примечание - К данным условиям можно отнести влияние внешних факторов, возможных при использовании небольших, переносных приборов и легкого передвижного оборудования в обычном режиме работы в жилых и нежилых зданиях.
3.18 средний (обычный) режим работы: Регулярная работа при малых и средних нагрузках, где риск механического повреждения и механического воздействия носит характер средней тяжести.
Примечание - К данным условиям можно отнести влияние внешних факторов, возможных при использовании средних по величине приборов и механизмов в помещениях жилых и нежилых зданий, а также в промышленных зданиях с легким режимом работ оборудования.
3.19 тяжелый режим работы: Работа с нагрузками, близкими к максимальным.
Примечание - К данным условиям можно отнести влияние внешних факторов, возможных при использовании оборудования в производственных и сельскохозяйственных зданиях, а также на местах сооружаемых зданий.
4.1 Кабели подразделяют по следующим признакам:
а) по материалу токопроводящих жил:
- из медной проволоки (без обозначения);
- из проволоки из алюминиевого сплава (Ас);
б) по степени гибкости:
- кабель силовой гибкий (Г);
- кабель силовой повышенной гибкости (ПГ);
- кабель силовой особо гибкий (ОГ);
в) по типу материала изоляции и оболочки:
- из резины:
- если изоляция и оболочка выполнены из резины (без обозначения);
- если изоляция (или оболочка) выполнена из резины, а оболочка (или изоляция) - из других типов материалов (Р);
- из термопластичного эластомера (ТП). Допускается добавление строчной буквы, обозначающей основу полимерного соединения. Например, термопластичный эластомер на основе полиуретана - ТПу;
- из поливинилхлоридного пластиката, в том числе пониженной пожарной опасности (В).
Если изоляция и оболочка кабелей выполнены из одного и того же типа материала, то в марке кабеля можно указывать только один раз обозначение данного материала;
г) по конструктивному исполнению:
- с сердечником (С);
- с упрочняющими элементами (У);
- с экраном (э).
Допускается вводить другие буквы, характеризующие конструктивные особенности кабелей;
д) по теплостойкости:
- нормальной теплостойкости (без обозначения);
- повышенной теплостойкости:
- для кабелей с длительно допустимой температурой нагрева жил свыше 75 °С до 105 °С (Т);
- для кабелей с длительно допустимой температурой нагрева жил свыше 105 °С до 180 °С (Тк);
е) по типам исполнения в части показателей пожарной опасности:
- кабели, к которым не предъявляют требования по пожарной безопасности (без обозначения);
- не распространяющие горение при одиночной прокладке (Н);
- по другим типам - в соответствии с требованиями ГОСТ 31565;
ж) по климатическому исполнению - в соответствии с требованиями ГОСТ 15150.
Структура обозначения марок кабелей следующая:
обозначение марки кабеля формируется в зависимости от конструкции из букв, приведенных в 4.1, в следующей последовательности: перечисление а), буква "К" - кабель, перечисления б) - ж).
Климатическое исполнение указывают через тире (не указывают исполнения У, УХЛ).
Примеры обозначений марок:
- кабель силовой гибкий с токопроводящими жилами из медной проволоки с изоляцией и оболочкой из резины общего назначения - КГ;
- то же, с оболочкой из полихлоропреновой резины, не распространяющий горение при одиночной прокладке - КГН;
- то же, с токопроводящими жилами из проволоки из алюминиевого сплава - АсКГ;
- кабель силовой гибкий с токопроводящими жилами из медной проволоки с изоляцией и оболочкой из термопластичного эластомера - КГТП;
- кабель силовой гибкий с токопроводящими жилами из медной проволоки с изоляцией и оболочкой из поливинилхлоридного пластиката, не распространяющий горение при одиночной прокладке - КГВН;
- то же, не распространяющий горение при групповой прокладке по категории (А), с пониженным дымо- и газовыделением по ГОСТ 31565 - КГВнг(A)-LS;
- кабель силовой гибкий с токопроводящими жилами из медной проволоки с изоляцией из резины общего назначения и оболочкой из поливинилхлоридного пластиката, не распространяющий горение при одиночной прокладке - КГРВН;
- кабель силовой повышенной гибкости с токопроводящими жилами из медной проволоки с изоляцией и оболочкой из резины общего назначения - КПГ;
- то же, с сердечником - КПГС;
- кабель силовой повышенной гибкости с токопроводящими жилами из медной проволоки с изоляцией и оболочкой из резины общего назначения, с упрочняющими элементами - КПГУ;
- то же, в тропическом исполнении - КПГУ-Т;
- то же, исполнения ХЛ - КПГУ-ХЛ;
- кабель силовой особо гибкий с токопроводящими жилами из медной проволоки с изоляцией и оболочкой из резины общего назначения - КОГ;
- кабель силовой гибкий с токопроводящими жилами из медной проволоки с изоляцией из этиленпропиленовой резины, с оболочкой из полихлоропреновой резины, не распространяющий горение при одиночной прокладке, с длительно допустимой температурой нагрева жил 90 °С - КГТН;
- кабель силовой гибкий с токопроводящими жилами из медной проволоки с изоляцией и оболочкой из кремнийорганической резины, с длительно допустимой температурой нагрева жил 180 °С, огнестойкий, не распространяющий горение при групповой прокладке по категории (В) и не выделяющий коррозионно-активных газообразных продуктов при горении и тлении по ГОСТ 31565 - КГТкнг(B)-FRHF.
4.2 Номинальное напряжение кабелей U0/U устанавливают из ряда: 220/380, 300/500, 380/660 и 450/750 В.
Допускается устанавливать другие значения напряжения по согласованию с потребителем.
Число жил кабелей и их номинальные сечения устанавливают в соответствии с таблицей 1.
Таблица 1
|
Номинальное сечение жил, мм2 |
Вид жилы |
Число жил |
|
0,50; 0,75; 1,0; 1,5; 2,5; 4; 6; 10; 16; 25; 35; 50; 70; 95; 120; 150; 185; 240; 300; 400; 500; 630 |
Основная |
1-3 |
|
0,50; 0,75; 1,0; 1,5; 2,5; 4; 6; 10; 16; 25; 35; 50; 70; 95; 120, 150; 185; 240 |
Жила заземления и/или нулевая |
1,2 |
|
0,50; 0,75; 1,0; 1,5; 2,5; 4; 6; 10; 16 |
Вспомогательная |
1,2 |
|
Примечание - Минимальное сечение токопроводящих жил из проволоки из алюминиевого сплава 6 мм2. | ||
Допускается другое количество основных, вспомогательных жил, а также расщепленная жила заземления или нулевая. Особенности конструкции этих кабелей и дополнительные требования к ним должны быть приведены в технических условиях на кабели конкретных марок.
Рекомендуемые номинальные сечения нулевой жилы, жилы заземления и вспомогательных жил (если их номинальные значения не равны сечению основных жил) приведены в таблице 2.
Таблица 2
|
Номинальное сечение жил, мм2 | |||||||
|
основных |
заземления |
нулевой |
вспомогательных |
основных |
заземления |
нулевой |
вспомогательных |
|
0,50 |
0,50 |
0,50 |
0,50 |
25 |
10 |
16 |
10 |
|
0,75 |
0,75 |
0,75 |
0,75 |
35 |
10 |
16 |
10 |
|
1,0 |
1,0 |
1,0 |
1,0 |
50 |
16 |
25 |
10 |
|
1,5 |
1,5 |
1,5 |
1,5 |
70 |
25 |
35 |
10 |
|
2,5 |
1,5 |
1,5 |
1,5 |
95 |
35 |
50 |
10 |
|
4 |
2,5 |
2,5 |
2,5 |
120 |
35 |
70 |
16 |
|
6 |
4 |
4 |
4 |
150 |
50 |
70 |
16 |
|
10 |
6 |
6 |
6 |
185 |
70 |
95 |
16 |
|
16 |
6 |
10 |
10 |
240 |
95 |
120 |
16 |
|
Примечание - Номинальное сечение токопроводящих жил многожильных кабелей должно быть не более 240 мм2. | |||||||
4.3 В условное обозначение кабелей должны входить:
- торговая марка (при наличии), марка кабеля с добавлением через пробел групп цифр, обозначающих число и (через знак умножения) номинальное сечение основных токопроводящих жил; для кабелей со вспомогательными жилами или жилой заземления, или нулевой жилой меньших сечений через знак сложения добавляют число и (через знак умножения) номинальное сечение вспомогательной жилы или жилы заземления, или нулевой жилы. Для кабелей с жилами равного сечения допускается не проводить деление жил на группы. После цифр, обозначающих номинальное сечение жил (без пробела, в скобках), при наличии в кабелях нулевой жилы добавляют букву N, жилы заземления - РЕ. При наличии в конструкции кабеля той и другой жилы в обозначение вводят буквы N, РЕ;
- буква "л" для кабелей с жилами из медной луженой проволоки, кроме кабелей с резиновой изоляцией в тропическом исполнении;
- значение номинального напряжения U0/U через пробел (допускается с единицей измерения);
- цифры 1, 2 или 3, обозначающие режим работы кабеля (через тире):
1 - тяжелый, 2 - средний, 3 - легкий;
- обозначение технических условий на кабель конкретной марки (через пробел).
Примеры условных обозначений:
- кабеля марки КГ с одной основной жилой с номинальным сечением 25 мм2 на номинальное напряжение 450/750 В для среднего режима работы:
Кабель КГ 1 x 25 450/750-2 ТУ *
──────────────────────────────
* Обозначение технических условий на кабели конкретных марок.
──────────────────────────────
- то же, торговой марки "HoldFlex":
Кабель HoldFlex КГ 1 x 25 450/750-2 ТУ *
──────────────────────────────
* Обозначение технических условий на кабели конкретных марок.
──────────────────────────────
- кабеля марки АсКГТП с двумя основными жилами с номинальным сечением 6 мм2 на номинальное напряжение 220/380 В для легкого режима работы:
Кабель АсКГТП 2 x 6 220/380-3 ТУ *
──────────────────────────────
* Обозначение технических условий на кабели конкретных марок.
──────────────────────────────
- кабеля марки КПГ-ХЛ с тремя основными жилами с номинальным сечением 16 мм2 и одной жилой заземления номинальным сечением 16 мм2 на номинальное напряжение 380/660 В для среднего режима работы:
Кабель КПГ-ХЛ 3 x 16 + 1 х 16(РЕ) 380/660-2 ТУ *
──────────────────────────────
* Обозначение технических условий на кабели конкретных марок.
──────────────────────────────
то же, с жилами из медной луженой проволоки:
Кабель КПГ-ХЛ 3 х 16 + 1 х 16(РЕ)л 380/660-2 ТУ *
──────────────────────────────
* Обозначение технических условий на кабели конкретных марок.
──────────────────────────────
- кабеля марки КПГС-Т с тремя основными жилами с номинальным сечением 10 мм2, одной жилой заземления и одной нулевой жилой номинальным сечением 6 мм2 и двумя вспомогательными жилами номинальным сечением 6 мм2 на номинальное напряжение 380/660 В для тяжелого режима работы:
Кабель КПГС-Т 3 x 10 + 2 х 6(РЕ, N) + 2 x 6 380/660-1 ТУ *
──────────────────────────────
* Обозначение технических условий на кабели конкретных марок.
──────────────────────────────
- кабеля марки КГТП с двумя основными жилами с номинальным сечением 0,75 мм2 на номинальное напряжение 300/500 В для легкого режима работы:
Кабель КГТП 2 x 0,75 300/500-3 ТУ *
──────────────────────────────
* Обозначение технических условий на кабели конкретных марок.
──────────────────────────────
- кабеля марки КОГ с основной жилой с номинальным сечением 35 мм2 на номинальное напряжение 220/380 В для среднего режима работы:
Кабель КОГ 1 x 35 220/380-2 ТУ *
──────────────────────────────
* Обозначение технических условий на кабели конкретных марок.
──────────────────────────────
- кабеля марки КГВэнг(А)-LS с тремя основными жилами с номинальным сечением 2,5 мм2 на номинальное напряжение 300/500 В для легкого режима работы:
Кабель КГВэнг(A)-LS 3 x 2,5 300/500-3 ТУ *
──────────────────────────────
* Обозначение технических условий на кабели конкретных марок.
──────────────────────────────
4.4 Классификация гибких кабелей по типам, преимущественная область применения и рекомендуемый режим работы в зависимости от конструкции и применяемых материалов приведены в таблице 3.
Таблица 3
|
Тип кабеля |
Преимущественная область применения и рекомендуемый режим работы |
|
1 Гибкие кабели с токопроводящими жилами из медной проволоки или из проволоки из алюминиевого сплава |
Для подключения переносных приборов, передвижных электродвигателей или механизмов, различного используемого в производстве оборудования с радиусом изгиба не менее восьми диаметров кабеля |
|
а) Кабели с изоляцией и оболочкой из резины общего назначения |
При длительно допустимой температуре нагрева токопроводящих жил до 75 °С, для легкого и среднего режимов работы |
|
б) Кабели с оболочкой из полихлоропреновой резины |
При длительно допустимой температуре нагрева токопроводящих жил до 90 °С, при возможности попадания на оболочку смазочных масел, а также других агрессивных веществ, для среднего и тяжелого режимов работы (с токопроводящими жилами из проволоки из алюминиевого сплава исключительно для среднего режима работы) |
|
в) Кабели с изоляцией и оболочкой из этиленпропиленовой резины |
При длительно допустимой температуре нагрева токопроводящих жил до 105 °С, при наличии риска возникновения пожаров допускается использовать во взрывоопасных зонах любого класса (с медными жилами), для среднего и тяжелого режимов работы (с токопроводящими жилами из проволоки из алюминиевого сплава только для среднего режима работы) |
|
г) Кабели с изоляцией и оболочкой из кремнийорганической резины с токопроводящими жилами из медной проволоки |
При длительно допустимой температуре нагрева токопроводящих жил до 180 °С, для использования в агрессивных средах, во влажных помещениях, для подключения различных нагревательных установок и других устройств, подверженных воздействию повышенных температур, для легкого и среднего режимов работы |
|
д) Кабели с изоляцией и оболочкой из термопластичных эластомеров 1) |
При длительно допустимой температуре нагрева токопроводящих жил до 70 °С, для легкого и среднего режимов работы |
|
е) Кабели с оболочкой из термопластичного эластомера на основе полиуретана с токопроводящими жилами из медной проволоки |
При длительно допустимой температуре нагрева токопроводящих жил до 90 °С, для использования в условиях одновременных изгибающих и скручивающих нагрузках, для тяжелого режима работы |
|
ж) Кабели с изоляцией и оболочкой из поливинилхлоридного пластиката, в том числе с изоляцией из поливинилхлоридного пластиката пониженной пожарной опасности и оболочкой из поливинилхлоридного пластиката пониженной горючести или пониженной пожарной опасности |
При длительно допустимой температуре нагрева токопроводящих жил до 70 °С, для соединения частей механизмов, используемых в производстве, в том числе станков и механического оборудования для легкого и среднего режимов работы |
|
2 Кабели повышенной гибкости с изоляцией и оболочкой по 1а) - 1в) с токопроводящими жилами из медной проволоки |
То же, что для гибких кабелей по пункту 1 [1а) - 1в)] с радиусом изгиба не менее пяти диаметров кабеля |
|
а) Кабели с сердечником |
При возможности воздействия на кабель раздавливающих нагрузок, для тяжелого режима работы |
|
б) Кабели с упрочняющими элементами |
При возможности воздействия на кабель растягивающих нагрузок с радиусом изгиба не менее 10 диаметров кабеля, для тяжелого режима работы |
|
3 Особо гибкие кабели с изоляцией и оболочкой по 1а) - 1в) с токопроводящими жилами из медной проволоки |
Для соединения при дуговой сварке электродержателей, автоматических или полуавтоматических сварочных аппаратов с источником тока |
|
1) В технических условиях на кабели конкретных марок должна быть указана основа полимерного соединения, используемая для изготовления термопластичного эластомера. Примечания 1 Возможно изготовление кабелей с различным сочетанием материалов изоляции и оболочки при условии их совместимости. 2 Режимы работы должны быть установлены в технических условиях на кабели конкретных марок. | |
5.1.1 Кабели следует изготовлять в соответствии с требованиями настоящего стандарта и технических условий на кабели конкретных марок по технологической документации, утвержденной в установленном порядке.
5.2.1 Требования к конструкции
5.2.1.1 Конструкции и конструктивные размеры кабелей должны быть указаны в технических условиях на кабели конкретных марок.
5.2.1.2 Токопроводящие жилы кабелей должны быть изготовлены:
- из медной проволоки, должны соответствовать ГОСТ 22483 и быть не ниже класса 5. Класс токопроводящих жил должен быть указан в технических условиях на кабели конкретных марок;
- из проволоки из алюминиевого сплава, должны соответствовать нормативным документам * государств, принявших настоящий стандарт. Максимальные диаметры проволок должны соответствовать диаметрам проволок медной жилы класса 5 по ГОСТ 22483.
──────────────────────────────
* В Российской Федерации действует ГОСТ Р 58019-2017 "Катанка из алюминиевых сплавов марок 8176 и 8030. Технические условия".
──────────────────────────────
Токопроводящие жилы огнестойких кабелей должны быть медными.
Токопроводящие жилы из медной проволоки кабелей с резиновой изоляцией (кроме изоляции из кремнийорганической резины), предназначенных для работы в районах с тропическим климатом, должны быть изготовлены из медной проволоки, покрытой оловом или оловянно-свинцовым сплавом с содержанием олова не менее 40 %. По требованию заказчика допускается изготовление всех типов кабелей с жилами из медной луженой проволоки.
Допускается наложение разделительного слоя на каждую токопроводящую жилу из материала, указанного в технических условиях на кабели конкретных марок.
Допускается разрушение разделительного слоя, при отсутствии залипания изоляции к жиле.
5.2.1.3 На все жилы кабелей должна быть наложена методом экструзии изоляция. Тип материала должен быть указан в технических условиях на кабели конкретных марок.
Номинальная толщина резиновой или поливинилхлоридной изоляции жил кабелей должна соответствовать ГОСТ 23286. В технических условиях на кабели конкретных марок должна быть указана категория изоляции в соответствии с требованиями ГОСТ 23286, и/или приведены значения номинальной толщины изоляции. Номинальная толщина изоляции из термопластичного эластомера не должна быть меньше толщины резиновой изоляции соответствующей категории по ГОСТ 23286.
Нижнее предельное отклонение от номинальной толщины изоляции не должно быть более (0,1 + 0,1δ) мм, где δ - номинальная толщина изоляции. Верхнее предельное отклонение не нормируют.
Изоляция должна плотно прилегать к токопроводящей жиле или к разделительному слою, но легко отделяться без повреждения самой изоляции, жилы и слоя полуды, если такой имеется.
На поверхности изоляции не должно быть трещин, вмятин и утолщений, выводящих толщину изоляции за предельное отклонение.
5.2.1.4 Соседние (рядом расположенные) изолированные жилы кабелей с числом жил 2-5 должны отличаться друг от друга цветом изоляции. При этом каждая изолированная жила должна быть только одного цвета, кроме двухцветной жилы заземления, обозначенной комбинацией цветов зеленого и желтого.
Маркировка должна быть сплошной, допускается расцветка в виде продольной полосы шириной не менее 1 мм, кроме жилы заземления и нулевой.
Цвета красный и, если не в сочетании, зеленый и желтый, не следует использовать для расцветки изоляции кабелей.
Предпочтительные цвета изоляции основных жил, жил заземления и нулевой приведены в таблице 4.
Таблица 4
|
Число жил |
Цвет изоляции основных жил, жил заземления и нулевой | ||||
|
Порядковый номер жилы | |||||
|
1 |
2 |
3 |
4 |
5 | |
|
3 |
Серый * |
Коричневый |
Черный |
- |
- |
|
Серый * |
Синий |
Зелено-желтый |
- |
- | |
|
4 |
Серый * |
Коричневый |
Черный |
Синий |
- |
|
Серый * |
Коричневый |
Черный |
Зелено-желтый |
- | |
|
5 |
Серый * |
Коричневый |
Черный |
Синий |
Зелено-желтый |
|
* Или натуральный цвет. Примечание - По согласованию с заказчиком допускается другая расцветка основных жил. | |||||
Расцветку одножильных и двухжильных кабелей не нормируют.
Изоляция жилы заземления (РЕ) должна быть зелено-желтого цвета.
Распределение цветов на жиле с зелено-желтой расцветкой должно соответствовать следующему условию: на любом отрезке жилы длиной 15 мм один из указанных цветов должен покрывать сплошным слоем не менее 30 %, но не более 70 % поверхности изолированной жилы, другой цвет должен покрывать оставшуюся часть.
Изоляция нулевой жилы (N) должна быть синего цвета.
Изоляция вспомогательных жил может быть любого из цветов, указанных в таблице 4, кроме синего и зелено-желтого.
Допускается маркировка изоляции жил цифрами, начиная с единицы, кроме жилы заземления и нулевой. При цифровой маркировке все изолированные жилы должны быть одного цвета, за исключением зелено-желтой жилы заземления и синей нулевой.
Маркировку цифрами выполняют печатанием арабскими цифрами на наружной поверхности изоляции. Все цифры должны быть одного цвета, контрастного цвету изоляции. Цифры должны быть расположены вдоль оси жилы через равные промежутки по всей длине жилы. Под цифрой должна быть расположена черта. Следующие друг за другом цифры должны быть перевернуты относительно друг друга. Высота цифр должна быть не менее 2,5 мм, расстояние между цифрами - не более 35 мм.
5.2.1.5 Маркировка расцветкой или цифрами должна быть стойкой, различимой и прочной. Напечатанные цифры должны быть четкими.
5.2.1.6 Изолированные жилы многожильных кабелей должны быть скручены между собой или вокруг сердечника.
Шаг скрутки изолированных жил должен быть не более:
- 16 диаметров - по скрутке для гибких кабелей (Г);
- 14 диаметров - по скрутке для кабелей повышенной гибкости (ПГ) с упрочняющими элементами (У);
- 12 диаметров - по скрутке кабелей повышенной гибкости (ПГ) и повышенной гибкости с сердечником (ПГС). Допускается 14 диаметров по скрутке для кабелей с номинальным сечением основных жил 150 мм2 и более.
Наружные и внутренние промежутки между жилами могут быть, а в кабелях исполнений нг(...); нг(...)-LS; нг(...)-HF; нг(...)-FRHF по ГОСТ 31565 они должны быть заполнены.
Способы заполнения наружных и внутренних промежутков и требования к заполнителю, сердечнику и упрочняющим элементам должны быть изложены в технических условиях на кабели конкретных марок.
Материалы заполнителей и изоляции должны быть совместимы.
Удаление заполнителей не должно вызывать повреждения изолированных жил.
5.2.1.7 Поверх скрученных изолированных жил может быть наложен слой лент из синтетической пленки или другого материала. Допускается разрушение лент.
Поверх скрученных изолированных жил может быть наложена внутренняя экструдированная оболочка из смеси на основе невулканизированной резины, термопластичного эластомера или пластмасс, которая может заполнять наружные промежутки между жилами. Толщина внутренней оболочки должна быть указана в технических условиях на кабели конкретных марок.
5.2.1.8 На скрученные изолированные жилы кабелей, слой лент или внутреннюю оболочку может быть наложен экран. Допускается наложение экрана на отдельные изолированные жилы.
Экран кабелей может быть из медных проволок или комбинированный с синтетическими нитями. Конструкция экрана и требования к нему должны быть указаны в технических условиях на кабели конкретных марок.
5.2.1.9 Изолированные или экранированные жилы кабелей должны без повреждения отделяться друг от друга и от других элементов конструкции.
5.2.1.10 Наличие текстильной оплетки и требования к ней должны быть указаны в технических условиях на кабели конкретных марок.
Оплетка должна быть однородной структуры, без узлов или пропусков.
5.2.1.11 Поверх скрученных жил или лент, или внутренней оболочки, или экрана, или оплетки должна быть наложена одно- или двухслойная наружная оболочка.
Наружная оболочка или ее внутренний слой могут заполнять промежутки между скрученными изолированными жилами.
Тип материала наружной оболочки должен быть указан в технических условиях на кабели конкретных марок.
В одножильных кабелях допускается замена изоляции и оболочки изоляционно-защитной оболочкой, при этом ее номинальная толщина должна быть равна сумме номинальных толщин изоляции и оболочки.
Номинальная толщина наружной оболочки кабелей должна быть указана в технических условиях на кабели конкретных марок в соответствии с требованиями ГОСТ 23286.
Номинальная толщина наружной оболочки из термопластичного эластомера не должна быть меньше толщины резиновой оболочки соответствующей категории по ГОСТ 23286.
Нижнее предельное отклонение от номинальной толщины оболочки не должно быть более (0,1 + 0,15σ) мм, где σ - номинальная толщина оболочки. Верхнее предельное отклонение не нормируют.
Поливинилхлоридная оболочка кабелей, предназначенных для работы в районах с тропическим климатом, не должна быть белого или натурального цвета.
Оболочка кабелей климатического исполнения ХЛ должна быть синего или черного цвета.
В остальных случаях цвет оболочки не нормируют.
Неровности на оболочке не должны выводить ее размеры за предельные отклонения.
5.2.1.12 Наружные размеры кабеля должны быть указаны в технических условиях на кабели конкретных марок в виде номинального или минимального и максимального значений.
При указании только номинального значения верхнее предельное отклонение 0,1D, где D - номинальный наружный диаметр кабеля. Нижнее предельное отклонение не нормируют.
Разность между двумя значениями наружного диаметра кабеля, измеренного в одном сечении (овальность кабеля), не должна превышать 15 % максимального наружного диаметра.
Расчетные массы кабелей должны быть указаны в технических условиях на кабели конкретных марок в качестве справочного материала.
5.2.1.13 Строительная длина кабелей, минимальная длина отрезков и их количество в партии должны быть указаны в технических условиях на кабели конкретных марок.
5.2.1.14 Материалы, применяемые для изготовления кабелей, должны быть указаны в технических условиях на кабели конкретных марок или в конструкторско-технологической документации, утвержденной в установленном порядке.
5.2.2 Требования к электрическим параметрам
5.2.2.1 Электрическое сопротивление токопроводящих жил из медной проволоки постоянному току, пересчитанное на 1 км длины кабеля и температуру 20 °С, должно соответствовать:
а) при приемке, поставке и хранении в течение гарантийного срока эксплуатации - ГОСТ 22483;
б) на период эксплуатации и хранения свыше гарантийного срока эксплуатации - не более 110 % от нормируемого при приемке и поставке.
5.2.2.2 Электрическое сопротивление токопроводящих жил из проволоки из алюминиевого сплава постоянному току, пересчитанное на 1 км длины кабеля и температуру 20 °С, должно соответствовать указанному в таблице 5.
Таблица 5
|
Номинальное сечение токопроводящих жил, мм2 |
Электрическое сопротивление токопроводящих жил из проволоки из алюминиевого сплава постоянному току, пересчитанное на 1 км длины кабеля и температуру 20 °С, Ом, не более |
|
6 |
5,4800 |
|
10 |
3,1700 |
|
16 |
2,0100 |
|
25 |
1,2900 |
|
35 |
0,9190 |
|
50 |
0,6400 |
|
70 |
0,4510 |
|
95 |
0,3420 |
|
120 |
0,2670 |
|
150 |
0,2140 |
|
185 |
0,1760 |
|
240 |
0,1330 |
|
300 |
0,1060 |
|
400 |
0,0806 |
5.2.2.3 Электрическое сопротивление изоляции жил, пересчитанное на 1 км длины кабеля и температуру 20 °С, должно быть:
а) при приемке, поставке и хранении в течение гарантийного срока эксплуатации - не менее указанного в технических условиях на кабели конкретных марок;
б) на период эксплуатации и хранения свыше гарантийного срока эксплуатации - не менее 1 МОм.
5.2.2.4 Испытательное напряжение изолированных жил кабелей должно соответствовать категории ЭИ-2 по ГОСТ 23286.
5.2.2.5 Кабели должны выдерживать испытательное переменное напряжение номинальной частотой 50 Гц:
а) при приемке, поставке и хранении в течение гарантийного срока эксплуатации - по ГОСТ 23286. Допускается увеличение значения испытательного напряжения для кабелей конкретных марок;
б) на период эксплуатации и хранения свыше гарантийного срока эксплуатации, сниженное на 50 % от установленного при приемке, поставке.
Категория или значение испытательного напряжения и условия испытаний должны быть указаны в технических условиях на кабели конкретных марок.
5.2.3 Требования стойкости при механических воздействиях
5.2.3.1 Многожильные кабели с номинальным сечением основных жил свыше 4 мм2, одножильные кабели и с числом жил более пяти должны быть стойкими к многократным изгибам.
Значения показателей, устанавливаемых в технических условиях на кабели конкретных марок, выбирают из рядов:
- число циклов изгиба - 3000, 4000, 5000, 6000, 7000, 8000, 9000, 10 000, 12 000, 15 000, 20 000, 25 000, 30 000, 35 000 и более. Для многожильных кабелей с жилами из алюминиевого сплава допускается выбирать минимальное число циклов изгиба 3000;
- нагрузка, создающая усилие натяжения кабеля, - 0; 50 (5); 100 (10); 150 (15); 200 (20); 250 (25) Н (кгс);
- угол изгиба - ± π/2; ± 3π/4; ± π рад.
Номинальный диаметр роликов в зависимости от минимального допустимого радиуса изгиба должен соответствовать значениям, указанным в таблице 6.
Таблица 6
В миллиметрах
|
Наружный диаметр кабеля |
Номинальный диаметр роликов в зависимости от минимально допустимого радиуса изгиба кабеля | |
|
5D |
6D и более | |
|
До 10 |
100 |
200 |
|
Св. 10 до 15 | ||
|
Св. 15 до 20 |
200 | |
|
Св. 20 до 30 | ||
|
Св. 30 до 40 | ||
|
Св. 40 до 50 |
200 |
400 |
|
Св. 50 до 60 |
400 | |
|
Св. 60 до 70 |
600 | |
|
Св. 70 |
- |
600 |
|
Примечание - D - диаметр кабеля. | ||
Для кабелей с числом жил более трех и экранированных кабелей допускается устанавливать диаметр ролика, отличный от указанного в таблице 6.
5.2.3.2 Кабели с номинальным сечением основных жил до 4 мм2 включительно (кроме одножильных и с числом жил более пяти) должны быть стойкими к многократным перегибам через систему роликов под токовой нагрузкой и выдерживать не менее 30 000 циклов перегиба.
Номинальный диаметр роликов и нагрузка, создающая усилие натяжения кабелей, должны соответствовать значениям, приведенным в таблице 7.
Для экранированных кабелей номинальный диаметр роликов может быть увеличен, но не более чем в два раза от значений, приведенных в таблице 7.
Таблица 7
|
Тип кабеля |
Число жил |
Номинальное сечение основных жил, мм2 |
Номинальный диаметр роликов, мм |
Номинальная растягивающая нагрузка, Н (кгс) |
|
Кабель в резиновой или из термопластичного эластомера оболочке |
2-5 |
0,5 |
80 |
5,0 (0,50) |
|
0,75 |
80 |
10 (1,00) | ||
|
2 |
1,0 |
120 |
10 (1,00) | |
|
1,5 |
120 |
10 (1,00) | ||
|
2,5 |
120 |
15 (1,50) | ||
|
4 |
160 |
25 (2,50) | ||
|
3 |
1,0 |
120 |
10 (1,00) | |
|
1,5 |
120 |
15 (1,50) | ||
|
2,5 |
160 |
20 (2,00) | ||
|
4 |
200 |
30 (3,00) | ||
|
4 |
1,0 |
120 |
15 (1,50) | |
|
1,5 |
120 |
15 (1,50) | ||
|
2,5 |
160 |
25 (2,50) | ||
|
4 |
200 |
35 (3,50) | ||
|
5 |
1,0 |
120 |
10 (1,00) | |
|
1,5 |
160 |
25 (2,50) | ||
|
2,5 |
160 |
30 (3,00) | ||
|
4 |
200 |
40 (4,00) | ||
|
Кабель в поливинилхлоридной оболочке |
2 |
0,5 |
60 |
0,5 (0,05) |
|
0,75 |
80 |
1,0 (0,10) | ||
|
1,0 |
80 |
1,0 (0,10) | ||
|
1,5 |
80 |
1,0 (0,10) | ||
|
2,5 |
120 |
1,5 (0,15) | ||
|
3 |
0,5 |
80 |
0,5 (0,05) | |
|
0,75 |
80 |
1,0 (0,10) | ||
|
1,0 |
80 |
1,0 (0,10) | ||
|
1,5 |
120 |
1,5 (0,15) | ||
|
2,5 |
80 |
1,0 (0,10) | ||
|
4 |
0,5 |
80 |
0,5 (0,05) | |
|
0,75 |
80 |
1,0 (0,10) | ||
|
1,0 |
80 |
1,0 (0,10) | ||
|
1,5 |
120 |
1,5 (0,10) | ||
|
2,5 |
120 |
1,5 (0,15) | ||
|
5 |
0,5 |
80 |
1,0 (0,10) | |
|
0,75 |
80 |
1,0 (0,10) | ||
|
1,0 |
120 |
1,0 (0,10) | ||
|
1,5 |
120 |
1,5 (0,15) | ||
|
2,5 |
120 |
2,0 (0,20) |
5.2.3.3 Кабели, предназначенные для тяжелого режима работ, в условиях многократных изгибов с осевым кручением должны быть стойкими к ним, что должно быть установлено в технических условиях на кабели конкретных марок.
Число циклов изгиба, в зависимости от угла закручивания образца, должно соответствовать значениям, указанным в таблице 8.
Допустимое отклонение угла закручивания не должно превышать ± 10 %.
5.2.3.4 Кабели с сердечником (С) с номинальным сечением основных жил 16 мм2 и более должны быть стойкими к раздавливанию при нагрузке не менее 8 кН (800 кгс).
5.2.3.5 Кабели с упрочняющими элементами (У), предназначенные для работы в условиях растяжения, должны быть стойкими к воздействию растягивающих усилий, указанных в технических условиях на кабели конкретных марок.
5.2.3.6 Кабели особо гибкие с номинальным сечением основных жил 16-150 мм2 должны выдерживать испытание на статическую гибкость. Максимальное расстояние между зажимами должно соответствовать значениям, установленным в таблице 9.
Таблица 8
|
Номинальное сечение основных жил, мм2 |
Число циклов изгиба при угле закручивания образца, рад | ||||
|
3π |
4π |
5π |
6π |
7π | |
|
0,5-4 |
- |
- |
- |
- |
4000 |
|
6 |
4000 |
3000 | |||
|
10 |
4000 |
3000 |
- | ||
|
16 | |||||
|
25 |
4000 |
3000 |
- | ||
|
35 | |||||
|
50 |
3000 |
- | |||
|
70 |
3000 |
- | |||
|
95 |
3000 |
- |
- |
- |
- |
|
120 | |||||
Таблица 9
|
Номинальное сечение основных жил, мм2 |
Максимальное расстояние между зажимами, см |
Номинальное сечение основных жил, мм2 |
Максимальное расстояние между зажимами, см |
|
16 |
45 |
70,0 |
55 |
|
25 |
45 |
95,0 |
60 |
|
35 |
50 |
120 |
70 |
|
50 |
50 |
150 |
80 |
5.2.4 Требования стойкости к внешним воздействующим факторам
5.2.4.1 Вид климатического исполнения должен быть указан в технических условиях на кабели конкретных марок. Категории размещения кабелей с показателем пожарной опасности O2 по ГОСТ 31565 должны быть 1 или 2 - по ГОСТ 15150.
5.2.4.2 Максимально допустимая температура окружающей среды при эксплуатации кабелей должна быть указана в технических условиях на кабели конкретных марок.
5.2.4.3 Кабели должны быть стойкими к воздействию пониженной температуры окружающей среды. Минимально допустимая температура окружающей среды должна быть не ниже предельной рабочей температуры по ГОСТ 15150 для вида климатического исполнения, указанного в технических условиях на кабели конкретных марок.
5.2.4.4 Кабели климатического исполнения ХЛ должны быть стойкими к смене температур в диапазоне, указанном в технических условиях на кабели конкретных марок.
5.2.4.5 Кабели, предназначенные для эксплуатации на открытом воздухе (категории размещения 1 по ГОСТ 15150), должны быть стойкими к воздействию солнечного излучения. Требование должно быть указано в технических условиях на кабели конкретных марок.
5.2.4.6 Кабели, предназначенные для эксплуатации в условиях воздействия озона, должны быть озоностойкими. Требование должно быть указано в технических условиях на кабели конкретных марок.
5.2.4.7 Кабели в тропическом исполнении должны быть стойкими к поражению плесневыми грибами.
5.2.4.8 Кабели, предназначенные для эксплуатации в условиях попадания масел на оболочку, должны быть маслостойкими. Требование должно быть указано в технических условиях на кабели конкретных марок.
5.2.4.9 Требования стойкости кабелей к другим агрессивным веществам должны быть установлены в технических условиях на кабели конкретных марок.
5.2.5 Требования к характеристикам изоляции и оболочки
5.2.5.1 Характеристики изоляции и оболочки должны соответствовать указанным в таблицах 10 и 11.
Значения характеристик изоляции и оболочки из материалов, не указанных в таблицах 10 и 11, в том числе изоляционно-защитной оболочки, должны быть приведены в технических условиях на кабели конкретных марок, при этом прочность при разрыве изоляции, оболочки, изоляционно-защитной оболочки кабелей до старения должна быть не менее 5, 10, 10 Н/мм2 соответственно.
Таблица 10
|
Наименование характеристики |
Значение для изоляции из | ||||||||
|
резины общего назначения |
этиленпропиленовой резины |
кремнийорганической резины |
термопластичного эластомера |
поливинилхлоридного пластиката | |||||
|
для кабелей с длительно допустимой температурой на токопроводящей жиле, °С | |||||||||
|
60 |
60 |
90 |
180 |
70 |
70 | ||||
|
1 До старения 1.1 Прочность при разрыве, Н/мм2, не менее |
5,0 |
5,0 |
5,0 |
5,0 |
5,0 |
10,0 | |||
|
1.2 Относительное удлинение при разрыве, %, не менее |
300 |
200 |
200 |
150 |
200 |
150 | |||
|
2 После старения 2.1 Прочность при разрыве, Н/мм2, не менее |
4,2 |
4,2 |
5,0 |
4,0 |
5,0 |
10,0 | |||
|
Отклонение значения прочности при разрыве, %, не более |
± 30 |
± 25 |
± 30 |
- |
± 30 |
± 20 | |||
|
2.2 Относительное удлинение при разрыве, %, не менее |
250 |
200 |
- |
120 |
200 |
150 | |||
|
Отклонение значения удлинения при разрыве, %, не более |
± 25 |
± 25 |
± 30 |
- |
± 30 |
± 20 | |||
|
2.3 Условия старения: | |||||||||
|
- температура, °С |
100 ± 2 |
100 ± 2 |
135 ± 2 |
200 ± 2 |
80 ± 2 |
80 ± 2 | |||
|
- продолжительность, ч |
72 |
168 |
168 |
240 |
168 |
168 | |||
|
3 Тепловая деформация * 3.1 Относительное удлинение под нагрузкой, %, не более |
175 |
100 |
100 |
100 |
175 |
- | |||
|
3.2 Относительное удлинение после снятия нагрузки и охлаждения, %, не более |
25 |
25 |
25 |
25 |
25 | ||||
|
* Для термопластичных эластомеров проверяют только сшиваемые композиции. Примечания 1 Значения после старения и условия старения при других длительно допустимых температурах на токопроводящей жиле должны быть определены в технических условиях на кабели конкретных марок. 2 Отклонение - разница между средним значением, полученным после старения, и средним значением, полученным до старения, выраженная в процентах от последнего. | |||||||||
5.2.5.2 Изоляция и оболочка кабелей из поливинилхлоридных пластикатов и термопластичного эластомера должны быть стойкими к растрескиванию при повышенной температуре.
5.2.5.3 Изоляция и оболочка кабелей из поливинилхлоридных пластикатов и термопластичного эластомера должны быть стойкими к деформации под давлением при температуре (80 ± 2) °С. Глубина продавливания должна быть не более 50 %.
5.2.5.4 Изоляция и оболочка кабелей должны быть стойкими к изгибу, растяжению и удару при пониженной температуре. Температура испытаний должна быть указана в технических условиях на кабели конкретных марок.
5.2.5.5 Кабели должны быть стойкими к старению при воздействии температуры, превышающей на (10 ± 3) °С длительно допустимую температуру нагрева жилы.
Таблица 11
|
Наименование характеристики |
Значение для оболочки из | |||||||
|
резины общего назначения |
полихлоропреновой резины |
этиленпропиленовой резины |
кремнийорганической резины |
термопластичного эластомера |
поливинилхлоридного пластиката | |||
|
полиуретана |
других термопластичных эластомеров | |||||||
|
для кабелей с длительно допустимой температурой на токопроводящей жиле, °С | ||||||||
|
60 |
60 |
90 |
90 |
180 |
90 |
70 |
70 | |
|
1 До старения 1.1 Прочность при разрыве, Н/мм2, не менее |
10,0 (7,0) ** |
10,0 |
10,0 |
10,0 (7,0) * |
10,0 (5,0) ** |
25,0 |
10,0 |
10,0 |
|
1.2 Относительное удлинение при разрыве, %, не менее |
300 |
300 |
250 |
200 |
150 |
300 |
300 |
150 |
|
2 После старения 2.1 Прочность при разрыве, Н/мм2, не менее |
- |
- |
- |
- |
- (4,0) ** |
- |
10,0 |
10,0 |
|
Отклонение значения прочности при разрыве, %, не более |
± 20 |
- 15 |
± 30 |
± 20 |
- |
± 30 |
± 20 |
± 20 |
|
2.2 Относительное удлинение при разрыве, %, не менее |
250 |
250 |
- |
- |
120 |
300 |
300 |
150 |
|
Отклонение значения удлинения при разрыве, %, не более |
+ 20 |
- 25 |
± 40 |
± 30 |
- |
± 30 |
± 20 |
± 20 |
|
2.3 Условия старения: | ||||||||
|
- температура, °С |
70 ± 2 |
70 ± 2 |
120 ± 2 |
120 ± 2 |
200 ± 2 |
110 ± 2 |
80 ± 2 |
80 ± 2 |
|
- продолжительность, ч |
240 |
240 |
168 |
240 |
240 |
168 |
168 |
168 |
|
3 Тепловая деформация *** 3.1 Относительное удлинение под нагрузкой, %, не более |
175 |
100 |
100 |
100 |
100 |
- |
175 |
- |
|
3.2 Относительное удлинение после снятия нагрузки и охлаждения, %, не более |
25 |
25 |
25 |
25 |
25 |
- |
25 | |
|
* Значение для кабелей, предназначенных для среднего режима работы. ** Значение для кабелей, предназначенных для легкого режима работы. *** Для термопластичных эластомеров проверяют только сшиваемые композиции. Примечания 1 Значения после старения и условия старения при других допустимых температурах на токопроводящей жиле должны быть определены в технических условиях на кабели конкретных марок. 2 Отклонение - разница между средним значением, полученным после старения, и средним значением, полученным до старения, выраженная в процентах от последнего. | ||||||||
5.2.6 Требования надежности
5.2.6.1 Минимальная наработка кабелей в режимах и условиях, установленных в настоящем стандарте, выраженная в часах или числом циклов деформаций, должна быть указана в технических условиях на кабели конкретных марок.
5.2.6.2 Минимальный срок службы кабелей, в пределах которого обеспечивается минимальная наработка, должен быть выбран из ряда 2,5; 3; 3,5; 4; 5; 6; 8; 10; 12, 15 лет.
5.2.7 Маркировка
5.2.7.1 Маркировка кабелей должна соответствовать требованиям, установленным ГОСТ 18690, с дополнениями, изложенными в настоящем стандарте.
5.2.7.2 Кабели должны иметь маркировку в виде надписи, нанесенной на поверхность оболочки кабеля по всей длине.
5.2.7.3 Надпись должна содержать:
- наименование и/или товарный знак предприятия-изготовителя;
- условное обозначение кабеля (марка кабеля, число и номинальное сечение жил, номинальное напряжение);
- обозначение технических условий на кабели конкретных марок;
- обозначение настоящего стандарта;
- год выпуска;
- наименование страны-изготовителя.
Допускается в содержании маркировки указывать дополнительную информацию.
Допускается на кабели в климатическом исполнении "ХЛ" по всей длине кабеля наносить рядом две продольно расположенные выпуклые риски.
5.2.7.4 Маркировка в виде надписи может быть выполнена рельефно или печатным (в том числе лазерным) способами и должна быть нанесена через равномерные промежутки.
Расстояние между концом одной надписи и началом следующей не должно превышать 550 мм.
5.2.7.5 Маркировка, выполненная печатным способом, должна быть четкой и прочной.
5.2.7.6 На щеке барабана или ярлыке, прикрепленном к бухте, барабану, должны быть указаны:
- товарный знак и/или наименование предприятия-изготовителя;
- условное обозначение кабеля (марка кабеля, число и номинальное сечение жил, номинальное напряжение);
- обозначение технических условий на кабели конкретных марок;
- обозначение настоящего стандарта;
- длина каждого отрезка кабеля в метрах;
- надпись "Сделано в __________________";
- масса брутто в килограммах (при поставке на барабанах), кг;
- заводской номер барабана;
- дата изготовления (число, месяц и год);
- знак соответствия и/или знак обращения на рынке.
На ярлыке должно быть проставлено клеймо технического контроля.
5.2.7.7 При поставке кабелей в страны с тропическим климатом на транспортной таре должен быть проставлен знак "Тропическая упаковка" по ГОСТ 14192.
5.2.8 Упаковка
5.2.8.1 Упаковка должна соответствовать требованиям ГОСТ 18690, с дополнениями, изложенными в настоящем стандарте.
5.2.8.2 Кабели должны быть намотаны на барабаны или смотаны в бухты. Масса бухты - не более 50 кг.
5.2.8.3 Диаметр шейки барабана или внутренний диаметр бухты должны быть не менее полутора минимальных радиусов изгиба кабелей, указанных в 10.4.
5.2.8.4 Длина нижнего конца, выведенного на щеку барабана для испытаний кабеля, не нормируется.
5.2.8.5 Барабан с кабелем должен иметь полную или частичную обшивку, или должен быть обернут матами. При автомобильных отправках, по согласованию с заказчиком, допускается не проводить обшивку барабанов.
Перевязанные бухты кабелей должны быть упакованы в пленку или уложены в бумажные или полиэтиленовые мешки. Допускается упаковка других видов, обеспечивающая сохранность кабелей при хранении и транспортировании.
5.2.8.6 Техническая и товаросопроводительная документация должна быть помещена в водонепроницаемую упаковку и прикреплена к внутренней стороне щеки барабана или помещена внутрь бухты. Место нахождения документации в барабане должно быть указано на наружной стороне щеки барабана.
Кабели должны соответствовать требованиям безопасности по ГОСТ 12.2.007.14.
Электрическая безопасность кабелей обеспечивается выполнением требований по 5.2.1.1-5.2.1.11, 5.2.2-5.2.4.
6.3.1 Кабели в исполнении "Н" [пункт 4.1е)] не должны распространять горение при одиночной прокладке.
6.3.2 Другие требования к кабелям по пожарной опасности - стойкость к нераспространению горения при групповой прокладке, показатель дымообразования при горении и тлении, показатели токсичности продуктов горения, показатели коррозионной активности продуктов дымо- и газовыделения при горении и тлении, огнестойкость должны быть установлены в технических условиях на кабели конкретных марок в соответствии с установленным классом пожарной опасности по ГОСТ 31565.
6.3.3 Классы пожарной опасности должны быть определены в технических условиях на кабели конкретных марок в соответствии с ГОСТ 31565.
6.4.1 Экологическая безопасность кабелей обеспечивается применяемыми материалами и выполнением требований по 6.1-6.3.
Материалы конструкции кабелей при установленной температуре их хранения и эксплуатации не выделяют вредных продуктов в концентрациях, опасных для организма человека и загрязняющих окружающую среду.
Кабели не являются опасными в экологическом отношении, и специальные требования по утилизации при выводе их из эксплуатации не предъявляются.
Правила приемки кабелей должны соответствовать требованиям ГОСТ 15.309, требованиям настоящего стандарта и технических условий на кабели конкретных марок.
Для проверки соответствия качества кабелей требованиям настоящего стандарта установлены следующие виды испытаний:
- приемо-сдаточные;
- периодические;
- типовые.
7.3.1 Кабели предъявляют к приемке партиями. За партию принимают число кабелей одного маркоразмера, одновременно предъявляемые к приемке.
Минимальный и максимальный объемы партии должны быть установлены в технических условиях на кабели конкретных марок.
Время выдержки кабелей после изготовления в нормальных климатических условиях по ГОСТ 15150 до предъявления к приемке должно быть не менее 16 ч, если иное не указано в методике проверки контролируемых параметров.
7.3.2 Состав испытаний, деление состава испытаний на группы и объем выборки должны соответствовать указанным в таблице 12.
Испытания проводят по плану сплошного контроля с приемочным числом С = 0 или по плану выборочного двухступенчатого контроля с объемом выборок n1 = n2.
Выборки составляют от разных строительных длин кабеля методом случайного отбора.
Для первой выборки приемочное число С1 = 0, браковочное число С2 = 2.
При числе дефектных изделий первой выборки, равном 1, проверяют вторую выборку по тому же показателю. Приемочное число суммарной (n1 и n2) выборки С3 = 1.
Результаты испытаний второй выборки распространяют на всю партию. При отрицательных результатах приемо-сдаточных испытаний решение принимают по ГОСТ 15.309.
Таблица 12
|
Группа испытаний |
Вид испытания или проверки |
Пункт |
Объем выборки от партии, %, не менее | |
|
технических требований |
методов контроля | |||
|
С1 |
Проверка конструкции и конструктивных размеров |
5.2.1.1-5.2.1.13 |
8.2.1-8.2.3 |
3, но не менее трех строительных длин |
|
С2 |
Проверка электрического сопротивления токопроводящих жил |
5.2.2.1а), 5.2.2.2 |
8.3.1 | |
|
С3 |
Проверка электрического сопротивления изоляции |
5.2.2.3а) |
8.3.1 | |
|
С4 |
Испытание напряжением |
5.2.2.4, 5.2.2.5а) |
8.3.2, 8.3.3 |
100 |
|
С5 |
Проверка маркировки и упаковки |
5.2.7, 5.2.8 |
8.8.1 | |
|
Примечание - Испытания по 5.2.2.4 и 5.2.1.13 проводят в процессе производства. | ||||
7.4.1 Состав испытаний указывают в технических условиях на кабели конкретных марок из числа приведенных в таблице 13.
7.4.2 Периодические испытания проводят на кабелях, выдержавших приемо-сдаточные испытания, не реже одного раза в год, для группы испытаний П14 - не реже одного раза в 3 мес.
Таблица 13
|
Группа испытаний |
Вид испытания или проверки |
Пункты | |
|
технических требований |
методов контроля | ||
|
П1 |
Испытание на стойкость к многократным изгибам |
5.2.3.1 |
8.4.1 |
|
П2 |
Испытание на стойкость к многократным перегибам через систему роликов |
5.2.3.2 |
8.4.2 |
|
П3 |
Испытание на стойкость к многократным изгибам с осевым кручением |
5.2.3.3 |
8.4.3 |
|
П4 |
Испытание на стойкость к раздавливающей нагрузке |
5.2.3.4 |
8.4.4 |
|
П5 |
Испытание на стойкость к растягивающим усилиям |
5.2.3.5 |
8.4.5 |
|
П6 |
Испытание на статическую гибкость |
5.2.3.6 |
8.4.6 |
|
П7 |
Испытание на стойкость к повышенной температуре окружающей среды |
5.2.4.2 |
8.5.1 |
|
П7 |
Испытание на стойкость к пониженной температуре окружающей среды |
5.2.4.3 |
8.5.2 |
|
П8 |
Испытание на стойкость к смене температур кабелей климатического исполнения ХЛ |
5.2.4.4 |
8.5.3 |
|
П9 |
Испытание на нераспространение горения |
6.3.1, 6.3.2 |
8.9.1, 8.9.2 |
|
П10 |
Проверка дымообразования |
6.3.2 |
8.9.3 |
|
П11 |
Проверка на огнестойкость |
6.3.2 |
8.9.6 |
|
П12 |
Проверка качества маркировки |
5.2.1.5, 5.2.7.5 |
8.8.2 |
|
П13 |
Проверка прочности оболочки и относительного удлинения до старения и после старения |
5.2.5.1, таблица 11, пункты 1 и 2 |
8.6.1 |
|
П14 |
Проверка стойкости изоляции и оболочки к тепловой деформации |
5.2.5.1, таблицы 10, 11, пункт 3 |
8.6.2 |
7.4.3 Испытания проводят по плану выборочного двухступенчатого контроля с объемом выборки n1 = n2 = 3 образцам с приемочным числом С1 = 0 и браковочным числом С2 = 2 для первой выборки, и приемочным числом С3 = 1 для суммарной (n1 и n2) выборки.
В выборки включают образцы кабелей от партии текущего выпуска или от последней принятой партии, взятые от разных строительных длин методом случайного отбора.
При получении неудовлетворительных результатов испытаний второй выборки приемку кабелей прекращают. После устранения причин дефектов и получения удовлетворительных результатов периодических испытаний на удвоенной выборке приемку возобновляют.
7.4.4 Испытания по группам испытаний проводят на самостоятельных выборках.
7.5.1 Типовые испытания проводят при изменении конструкции, замене применяемых материалов или при изменении технологических процессов по программе, утвержденной в установленном порядке. По результатам испытаний, оформленных протоколом и актом, принимают решение о возможности и целесообразности внесения изменений в техническую документацию. Протокол предъявляют потребителю по его требованию.
8.1.1 Все испытания и измерения проводят в нормальных климатических условиях по ГОСТ 15150, если иное не указано при изложении конкретного метода.
8.1.2 Внешний осмотр проводят без применения увеличительных приборов.
8.2.1 Проверку конструкции и конструктивных размеров кабелей (5.2.1.1-5.2.1.13) проводят внешним осмотром при разделке концов кабеля и измерениями по ГОСТ 12177.
Отбор образцов для измерения по 5.2.1.4 проводят так, чтобы они имели маркировочный знак.
Проверку процентного распределения цветов жилы заземления по 5.2.1.4 определяют по формуле
,
(1)
где Δ - ширина измеряемой цветовой полосы, мм;
L - длина окружности изолированной жилы, мм.
Длину окружности изолированной жилы и ширину цветовой полосы определяют путем измерения по ГОСТ 12177 после обертывания изолированной жилы полоской телефонной бумаги или аналогичного материала и нанесения на нее соответствующих меток.
8.2.2 Проверку овальности кабелей (5.2.1.12) проводят измерениями диаметра по ГОСТ 12177 в двух взаимно перпендикулярных направлениях в одном сечении кабеля.
8.2.3 Проверку отделяемости элементов кабелей (5.2.1.3, 5.2.1.6 и 5.2.1.9) проводят при разделке концов кабелей на длине не менее 0,25 м.
При внешнем осмотре не должно быть обнаружено повреждения жил, слоя полуды, если такой имеется, изоляции, экрана и оплетки, если они имеются, внутренней и наружной оболочек.
8.3.1 Измерение электрического сопротивления токопроводящих жил кабелей (5.2.2.1, 5.2.2.2) проводят по ГОСТ 7229, электрического сопротивления изоляции (5.2.2.3) - по ГОСТ 3345.
8.3.2 Испытание напряжением изолированных жил (5.2.2.4) проводят по ГОСТ 2990.
8.3.3 Испытание напряжением готовых кабелей (5.2.2.5) проводят по ГОСТ 2990 с погружением или без погружения в воду, одножильных - с погружением в воду.
Минимальная длина образцов - 10 м. Температура воды при испытании с погружением в воду - (20 ± 5) °С. Время выдержки в воде - не менее 1 ч. Время приложения испытательного напряжения - не менее 5 мин.
8.4.1 Испытание кабелей на стойкость к многократным изгибам (5.2.3.1) проводят по ГОСТ 12182.8 на образцах длиной не менее 1,5 м.
Кабели считают выдержавшими испытание, если после воздействия заданного числа циклов изгиба образцы удовлетворяют требованиям 5.2.2.5б), оболочка и изоляция не имеют трещин, видимых при внешнем осмотре, а число разрушенных проволок жил и металлических экранов не превышает 30 %.
8.4.2 Испытание кабелей на стойкость к многократным перегибам через систему роликов (5.2.3.2) проводят по ГОСТ 12182.1 на образцах длиной не менее 5,0 м с приложением к кабелю токовой нагрузки.
Кабели считают выдержавшими испытание, если после воздействия 30 000 циклов перегиба через систему роликов, не произошло:
- прерывания тока;
- короткого замыкания между жилами;
- короткого замыкания между образцом и роликами стенда.
8.4.3 Испытание на стойкость к изгибу с осевым кручением (5.2.3.3) должно быть проведено по ГОСТ 12182.3 на образцах длиной не менее 3,5 м, взятых от разных барабанов или бухт с кабелем.
Оценку результатов испытания проводят по 8.4.1.
8.4.4 Испытание на стойкость к раздавливанию (5.2.3.4) должно быть проведено по ГОСТ 12182.6 на образцах длиной не менее 2,0 м. Профиль матриц должен быть указан в технических условиях на кабели конкретных марок.
Кабели считают выдержавшими испытание, если при воздействии заданной раздавливающей нагрузки не произойдет короткого замыкания между жилами или между жилами и экраном. Контроль замыкания может быть проведен любым способом.
8.4.5 Проверка стойкости к растягивающим усилиям (5.2.3.5) должна быть проведена по ГОСТ 12182.5 на образцах длиной не менее 1,5 м.
Оценку результатов испытания проводят по 8.4.1.
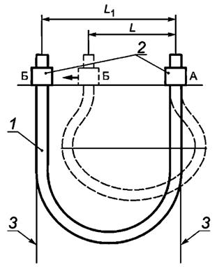
8.4.6 Испытание на статическую гибкость (5.2.3.6) проводят на стенде, схема которого приведена на рисунке 1, на трех образцах.

1 - испытуемый образец; 2 - зажимы; 3 - ограничительные линии
Рисунок 1
Образец длиной (3,00 ± 0,05) м закрепляют в зажимах А и Б, расположенных на высоте не менее 1,5 м над уровнем поверхности. Зажим А закреплен неподвижно, зажим Б может двигаться горизонтально.
Концы образца закрепляют вертикально (они остаются вертикальными в течение испытания): один конец - в зажиме А, другой - в зажиме Б, который должен находиться на расстоянии L = (0,20 ± 0,02) м от зажима А. Кабель приобретает форму, показанную на рисунке штриховой линией.
Затем подвижный зажим Б удаляют от закрепленного зажима А, пока петля, образованная кабелем, не примет U-образную форму, показанную на рисунке сплошной линией, и полностью расположится между двумя вертикальными линиями, проходящими через зажимы по касательной к внешней образующей кабеля.
Данное испытание проводят дважды. После первого испытания кабель поворачивают в зажимах на угол π рад и повторяют испытание.
Кабель считают выдержавшим испытание, если среднее арифметическое из двух значений L1, измеренных между двумя вертикальными линиями, не больше максимального расстояния, указанного в таблице 9.
Если результаты испытаний неудовлетворительные, образец навивают четыре раза на стержень диаметром, приблизительно равным 20-кратному наружному диаметру кабеля; в этом случае образец каждый раз поворачивают на угол π/2 рад. После этого образец испытывают, как указано выше.
8.5.1 Испытание кабелей на стойкость к повышенной температуре окружающей среды (2.5.4.2) проводят по ГОСТ 20.57.406 (метод 201-1.1) на трех образцах кабелей, свернутых в бухты с внутренним диаметром не более трех минимально допустимых радиусов изгиба при эксплуатации.
Длина образцов - не менее 3 м. Время выдержки образцов в нормальных климатических условиях до и после проведения испытания - не менее 1 ч. Время выдержки в камере тепла - не менее 10 ч.
Кабели считают выдержавшими испытание, если после проведения испытания электрическое сопротивление изоляции кабелей соответствует указанному в 5.2.2.3б) и при внешнем осмотре на поверхности оболочки не обнаружено трещин.
8.5.2 Испытание на стойкость к воздействию пониженной температуры окружающей среды (5.2.4.3) проводят по ГОСТ 17491 (метод испытания на изгиб при отрицательных температурах). Допускается подвергать кабели циклическим изгибам при нормальной температуре в течение не более 3 мин после удаления их из камеры холода.
Диаметр роликов (стержня) должен быть указан в технических условиях на кабели конкретных марок.
Время выдержки образцов в нормальных климатических условиях до и после проведения испытания - не менее 1 ч.
Кабели считают выдержавшими испытание, если после испытания при внешнем осмотре на поверхности оболочки не обнаружено трещин.
8.5.3 Испытание на стойкость к смене температур (5.2.4.4) проводят тремя последовательными циклами по ГОСТ 20.57.406 (метод 205-1) на трех образцах кабелей, смотанных в бухты. Количество витков в бухте должно быть не менее двух. Внутренний диаметр должен быть указан в технических условиях на кабели конкретных марок.
Время выдержки образцов в нормальных климатических условиях до и после проведения испытания - не менее 1 ч. Время выдержки образцов в камере тепла и холода после достижения в них заданных температур - не менее 1 ч.
Кабели считают выдержавшими испытание, если после воздействия изменения температур образцы выдерживают испытание напряжением по 5.2.2.5б) и при внешнем осмотре на поверхности оболочки не обнаружено трещин.
8.5.4 Испытание на стойкость к воздействию солнечного излучения (5.2.4.5) проводят по ГОСТ 20.57.406 (метод 211-1) на трех образцах кабелей длиной не менее 1 м.
Кабели считают выдержавшими испытание, если после воздействия солнечного излучения при внешнем осмотре на поверхности оболочки не обнаружено трещин.
8.5.5 Испытание на озоностойкость (5.2.4.6) проводят по ГОСТ IEC 60811-403.
Образцы помещают в испытательную камеру с концентрацией озона не менее 0,0015 % и выдерживают в течение не менее 180 мин, если другие значения не предусмотрены в технических условиях на кабели конкретных марок.
Кабели считают выдержавшими испытание, если при внешнем осмотре на поверхности оболочки не обнаружено трещин.
8.5.6 Испытание на стойкость к воздействию плесневых грибов (5.2.4.7) проводят по ГОСТ 20.57.406 (метод 214-1) на трех образцах кабелей длиной не менее 0,2 м. Степень биологического обрастания кабелей указывают в технических условиях на кабели конкретных марок.
8.5.7 Испытание на маслостойкость (5.2.4.8) проводят по ГОСТ IEC 60811-404 в среде индустриального масла И-40А или И-50А по ГОСТ 20799. Время выдержки и температура нагрева масла должны быть установлены в технических условиях на кабели конкретных марок.
Кабели считают выдержавшими испытание, если отклонения прочности при разрыве и относительного удлинения при разрыве до и после воздействия масла не превышают 40 %.
8.6.1 Проверку характеристик до и после старения изоляции (5.2.5.1, таблица 10, пункты 1 и 2) и оболочки (5.2.5.1, таблица 11, пункты 1 и 2) проводят по ГОСТ IEC 60811-501. Старение проводят в термостате по ГОСТ IEC 60811-401.
8.6.2 Проверку стойкости изоляции (5.2.5.1, таблица 10, пункт 3) и оболочки (5.2.5.1, таблица 11, пункт 3) к тепловой деформации проводят по ГОСТ IEC 60811-507 под воздействием нагрузки 20 Н/см2 в течение 15 мин при температуре, °С:
200 ± 3 - изоляции из резины общего назначения, этиленпропиленовой резины для кабелей с длительно допустимой температурой на токопроводящей жиле 60 °С, сшитого термопластичного эластомера; оболочки из резины общего назначения, полихлоропреновой резины, сшитого термопластичного эластомера;
250 ± 3 - изоляции и оболочки из этиленпропиленовой резины для кабелей с длительно допустимой температурой на токопроводящей жиле 90 °С, кремнийорганической резины.
8.6.3 Проверку стойкости изоляции и оболочки к растрескиванию (5.2.5.2) проводят по ГОСТ IEC 60811-509 после выдержки образцов при температуре (150 ± 3) °С в течение не менее 1 ч.
8.6.4 Проверку стойкости изоляции и оболочки к деформации под давлением (5.2.5.3) проводят по ГОСТ IEC 60811-508.
8.6.5 Проверку стойкости изоляции и оболочки при низких температурах (5.2.5.4) проводят: к изгибам - по ГОСТ IEC 60811-504, к растяжению - по ГОСТ IEC 60811-505, к удару - по ГОСТ IEC 60811-506.
8.6.6 Испытание кабелей на стойкость к старению (5.2.5.5) и проверку на совместимость материалов изоляции, заполнителей и оболочки (5.2.1.6 и 4.4, примечание 1 таблицы 3) проводят по ГОСТ IEC 60811-401. Образцы кабеля длиной не менее 150 мм выдерживают при заданной температуре в течение 168 часов.
Кабели считают выдержавшими испытание, если после старения характеристики изоляции соответствуют значениям, приведенным в 5.2.5.1, таблица 10, пункты 2.1 и 2.2, оболочки - в 5.2.5.1, таблица 11, пункты 2.1 и 2.2, изоляция, заполнители и оболочка не должны свариваться между собой и при разделке кабеля должны отделяться без повреждения изоляции.
8.7.1 Проверку минимальной наработки (5.2.6.1) и подтверждение минимального срока службы кабелей (5.2.6.2) проводят прямым способом на 10 образцах кабелей, прошедших приемо-сдаточные испытания. Образцы кабелей последовательно подвергают воздействиям факторов по 5.2.4.2; 5.2.3.1 или 5.2.3.2; 5.2.4.3.
После каждого вида климатического воздействия образцы кабелей выдерживают в нормальных климатических условиях в течение 3 ч.
Кабели считают выдержавшими испытания по подтверждению минимальной наработки, если после воздействия указанных факторов на оболочке кабеля при внешнем осмотре отсутствуют трещины и образцы соответствуют требованиям 5.2.2.3б) и 5.2.2.5б).
8.8.1 Проверку маркировки (5.2.7.1-5.2.7.4, 5.2.7.6, 5.2.7.7) и упаковки (5.2.8.1-5.2.8.6) проводят внешним осмотром и измерениями линейкой по ГОСТ 427.
8.8.2 Проверку качества маркировки изоляции жил расцветкой или цифрами (5.2.1.5) и надписи на оболочке (5.2.7.5) проводят легким десятикратным протиранием (в двух противоположных направлениях) ватным или марлевым тампоном, смоченным водой.
Кабели считают выдержавшими испытание, если при протирании не происходит окрашивание тампона.
8.9.1 Проверку нераспространения горения одиночного кабеля (6.3.1) проводят по ГОСТ IEC 60332-1-2 и ГОСТ IEC 60332-1-3.
8.9.2 Проверку нераспространения горения кабелей при групповой прокладке (6.3.2) проводят по ГОСТ IEC 60332-3-21 или ГОСТ IEC 60332-3-22, или ГОСТ IEC 60332-3-23, или ГОСТ IEC 60332-3-24, или ГОСТ IEC 60332-3-25.
8.9.3 Проверку дымообразования при горении и тлении кабелей (6.3.2) проводят по ГОСТ IEC 61034-2.
8.9.4 Эквивалентный показатель токсичности продуктов горения кабелей (6.3.2) определяют по ГОСТ 31565.
8.9.5 Проверку кабелей по показателям коррозионной активности продуктов дымо- и газовыделения при горении и тлении (6.3.2) проводят по ГОСТ IEC 60754-1 и ГОСТ IEC 60754-2.
8.9.6 Испытание кабелей на огнестойкость (6.3.2) проводят по ГОСТ IEC 60331-21.
9.1 Транспортирование и хранение кабелей должны соответствовать ГОСТ 18690 с дополнениями, изложенными в настоящем разделе.
9.2 Условия транспортирования и хранения должны соответствовать:
- в части воздействия механических факторов - ГОСТ 23216;
- в части воздействия климатических факторов - ГОСТ 15150.
Группы условий транспортирования и хранения должны быть указаны в технических условиях на кабели конкретных марок.
10.1 Монтаж, эксплуатацию и ремонт кабелей проводят в соответствии с нормативными документами * государств, принявших настоящий стандарт.
──────────────────────────────
* В Российской Федерации действуют "Правила устройств электроустановок" (ПУЭ)"; 7-е изд.; и "Правила технической эксплуатации электроустановок у потребителей" (ПТЭЭП).
──────────────────────────────
10.2 Максимальное переменное напряжение, при котором допускается эксплуатация кабелей, Um равно 1,2U. Допускается эксплуатация кабелей в электрических сетях постоянного напряжения, не превышающего 2,4U0.
10.3 Кабели на номинальное напряжение 450/750 В могут использоваться при стационарной прокладке на номинальное напряжение 660/1000 В, при этом в технических условиях на кабели конкретных марок должны быть указаны допустимые токовые нагрузки кабелей при эксплуатации.
10.4 Минимально допустимый радиус изгиба кабелей и минимально допустимая температура окружающей среды при монтаже и эксплуатации кабелей без предварительного подогрева должны быть указаны в технических условиях на кабели конкретных марок.
10.5 Допустимые токовые нагрузки и допустимые температуры нагрева токопроводящих жил кабелей при эксплуатации должны быть указаны в технических условиях на кабели конкретных марок.
10.6 Растягивающее усилие на кабели с медными жилами должно быть не более 19,6 Н (2,0 кгс) на 1 мм2 суммарного сечения всех жил, на кабели с жилами из алюминиевого сплава должно быть не более 9,8 Н (1,0 кгс) на 1 мм2 суммарного сечения всех жил.
Запрещается перемещение кабелей волоком по любой поверхности с помощью механизмов без применения приспособлений, исключающих повреждение кабелей.
10.7 Кабели с показателем пожарной опасности O2 запрещается использовать в любых помещениях.
10.8 На токопроводящую жилу из алюминиевого сплава не допускается воздействие щелочных растворов и атмосферы воздуха типов III и IV по ГОСТ 15150.
10.9 Дополнительные указания по эксплуатации приводят в технических условиях на кабели конкретных марок.
11.1 Изготовитель гарантирует соответствие кабелей требованиям настоящего стандарта и технических условий на кабели конкретных марок при соблюдении правил транспортирования, хранения, монтажа и эксплуатации.
11.2 Гарантийный срок эксплуатации кабелей указывают в технических условиях на кабели конкретных марок. Гарантийный срок исчисляют с даты ввода кабеля в эксплуатацию, но не позднее 6 мес со дня даты изготовления.


