Введен в действие приказом Федерального агентства по техническому регулированию и метрологии от 19 ноября 2019 г. N 1193-ст
Межгосударственный стандарт ГОСТ 25809-2019
"СМЕСИТЕЛИ И КРАНЫ ВОДОРАЗБОРНЫЕ. ТИПЫ И ОСНОВНЫЕ РАЗМЕРЫ"
Water supply mixing valves and taps. Types and principal dimensions
МКС 91.140.70
Дата введения - 1 июня 2020 г.
Взамен ГОСТ 25809-96
Предисловие
Цели, основные принципы и общие правила проведения работ по межгосударственной стандартизации установлены ГОСТ 1.0 "Межгосударственная система стандартизации. Основные положения" и ГОСТ 1.2 "Межгосударственная система стандартизации. Стандарты межгосударственные, правила и рекомендации по межгосударственной стандартизации. Правила разработки, принятия, обновления и отмены"
Сведения о стандарте
1 Разработан Акционерным обществом "Центр методологии нормирования и стандартизации в строительстве" (АО "ЦНС")
2 Внесен Федеральным агентством по техническому регулированию и метрологии
3 Принят Межгосударственной научно-технической комиссией по стандартизации, техническому нормированию и сертификации в строительстве (протокол от 30 апреля 2019 г. N 118-П)
За принятие проголосовали:
|
Краткое наименование страны по МК (ИСО 3166)004-97
|
Код страны по МК (ИСО 3166) 004-97
|
Сокращенное наименование национального органа по стандартизации
|
|
Беларусь
|
BY
|
Госстандарт Республики Беларусь
|
|
Киргизия
|
KG
|
Кыргызстандарт
|
|
Россия
|
RU
|
Росстандарт
|
|
Таджикистан
|
TJ
|
Таджикстандарт
|
|
Узбекистан
|
UZ
|
Узстандарт
|
4 Приказом Федерального агентства по техническому регулированию и метрологии от 19 ноября 2019 г. N 1193-ст межгосударственный стандарт ГОСТ 25809-2019 введен в действие в качестве национального стандарта Российской Федерации с 1 июня 2020 г.
5 Взамен ГОСТ 25809-96
1 Область применения
1.1 Настоящий стандарт распространяется на водоразборные смесители и краны для умывальников, рукомойников, моек, раковин, ванн, душа, бидэ, предназначенные для подачи и смешения холодной и горячей (температурой до 75 °С) воды, поступающей из централизованных или местных систем холодного и горячего водоснабжения при рабочем давлении от 0,05 до 1,0 МПа.
1.2 Форма и конструкция корпусов смесителей и кранов, переключателей воды, изливов, аэраторов, душевых трубок, шлангов, душевых сеток, щеток, маховичков вентильных головок или рукояток, деталей присоединения смесителей и кранов к сетям холодной и горячей воды, крепления душевых сеток к стене или на корпусе смесителя настоящим стандартом не регламентируются, а определяются рабочими чертежами.
2 Нормативные ссылки
В настоящем стандарте использованы нормативные ссылки на следующие межгосударственные стандарты:
ГОСТ 8870 Колонки водогрейные для ванн. Технические условия
ГОСТ 19681 Арматура санитарно-техническая водоразборная. Общие технические условия
Примечание - При пользовании настоящим стандартом целесообразно проверить действие ссылочных стандартов и классификаторов на официальном интернет-сайте Межгосударственного совета по стандартизации, метрологии и сертификации (www.easc.by) или по указателям национальных стандартов, издаваемым в государствах, указанных в предисловии, или на официальных сайтах соответствующих национальных органов по стандартизации. Если на документ дана недатированная ссылка, то следует использовать документ, действующий на текущий момент, с учетом всех внесенных в него изменений. Если заменен ссылочный документ, на который дана датированная ссылка, то следует использовать указанную версию этого документа. Если после принятия настоящего стандарта в ссылочный документ, на который дана датированная ссылка, внесено изменение, затрагивающее положение, на которое дана ссылка, то это положение применяется без учета данного изменения. Если ссылочный документ отменен без замены, то положение, в котором дана ссылка на него, применяется в части, не затрагивающей эту ссылку
3 Типы и основные размеры
3.1 Обозначения и применяемые наименования типа смесителя или крана приведены в таблице 1.
Таблица 1
|
Применяемое наименование
|
Обозначение
|
|
Смеситель
|
См
|
|
Кран
|
Кр
|
|
Умывальник
|
Ум
|
|
Мойка
|
М
|
|
Ванна
|
В
|
|
Ванна и умывальник
|
ВУ
|
|
Душ
|
Дш
|
|
Бидэ
|
Бд
|
|
Водогрейная колонка
|
К
|
|
Двухрукояточный
|
Д
|
|
Однорукояточный
|
О
|
|
Локтевой
|
Л
|
|
С подводками в раздельных отверстиях
|
Р
|
|
Центральный (с подводками, размещенными в одном отверстии)
|
Ц
|
|
Набортный
|
Б
|
|
Настенный
|
Н
|
|
Застенный
|
З
|
|
С душевой сеткой на гибком шланге
|
Шл
|
|
С душевой сеткой на штанге
|
Шт
|
|
С душевой сеткой на стационарной трубке
|
Тр
|
|
С щеткой с набортным креплением
|
Щб
|
|
С щеткой с настенным креплением
|
Щн
|
|
Излив с аэратором
|
А
|
|
Излив выдвижной
|
Ив
|
|
Излив со струевыпрямителем
|
Ст
|
|
Излив с развальцованным носиком
|
Р
|
3.2 Условное обозначение типа смесителя или крана в технической документации или при заказе должно состоять из букв: См - для смесителя или Кр - для крана, типа смесителя или крана, указанного последовательным набором буквенных обозначений, приведенных в таблице 1, и обозначения настоящего стандарта.
В условное обозначение настенного смесителя перед обозначением настоящего стандарта добавляют цифры 10 или 15 в зависимости от межцентрового расстояния штуцеров 100 или 150 мм.
Примеры условных обозначений:
Смеситель для умывальника, однорукояточный, центральный, набортный, с аэратором
См-УмОЦБА ГОСТ 25809-2019
Смеситель для мойки двухрукояточный, центральный, набортный с аэратором
См-МДЦБА ГОСТ 25809-2019
Смеситель для ванны, однорукояточный, раздельный, настенный, с душевой сеткой на гибком шланге и штанге, со струевыпрямителем и межцентровым расстоянием 150 мм
См-ВОРНШлШтCm-15 ГОСТ 25809-2019
Смеситель общий для ванны и умывальника, двухрукояточный, раздельный, настенный, с душевой сеткой на гибком шланге, с аэратором и межцентровым расстоянием 150 мм
См-ВУДРНШлА-15 ГОСТ 25809-2019
Смеситель общий для душа, двухрукояточный, раздельный, настенный, с душевой сеткой на стационарной трубке и межцентровым расстоянием 150 мм:
См-ДшДРНТр-15 ГОСТ 25809-2019
3.3 Настенные смесители изготовляют с расстоянием между центрами штуцеров для присоединения патрубков подвода воды, равным 100 и 150 мм, в соответствии с заказами потребителей.
3.4 Изливы смесителей и кранов изготавливают с аэратором, струевыпрямителем или развальцованным носиком.
3.5 Основные и присоединительные размеры смесителей и кранов и предельные отклонения от размеров должны соответствовать указанным на рисунках 1-29 и в таблицах 2-6.
3.6 Центральные смесители для умывальников, моек изготовляют с литым тройником или с гибкими трубками, предназначенными для присоединения смесителя к сетям холодной и горячей воды, основные размеры которых указаны на рисунке 22.
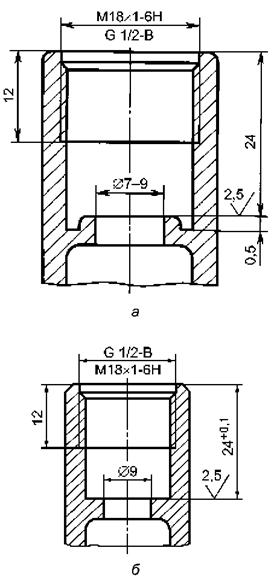
3.7 Основные размеры седла клапана и резьбы седла для присоединения вентильных головок должны соответствовать указанным на рисунке 24.
3.8 Размер резьбы накидных гаек и штуцеров для присоединения душевых трубок и шлангов должен быть G 1/2-В, а поворотных изливов - G 3/4-В.
3.9 Размер резьбы узла присоединения душевой сетки к душевой трубке и трубке рукоятки гибкого шланга должен быть G 1/2-В.
3.10 Размеры резьбы узла присоединения аэратора к изливам должны соответствовать указанным на рисунке 25.
3.11 Центральные набортные смесители и краны должны иметь размер корпуса, обеспечивающий их монтаж на отверстии мойки, раковины, умывальника или рукомойника диаметром 34 мм.
3.12 Гибкие подводки центральных набортных смесителей (рисунок 22) должны обеспечивать удобство монтажа (гибку без применения дополнительного инструмента).
3.13 Патрубки для присоединения настенных смесителей к сетям холодной и горячей воды должны иметь эксцентриситет не менее 3 мм и внутренние реборды или наружные лыски для завинчивания их в муфту или угольник.
3.14 Конструкция смесителей к водогрейным колонкам должна исключать возможность повышения давления в водяном баке колонки выше 0,1 МПа.
3.15 Предприятия-изготовители должны поставлять смесители и краны комплектно. В комплект входит смеситель или кран со всеми деталями (облицовочные шайбы, патрубки или узлы присоединения к сетям холодной или горячей воды, детали крепления, прокладки и т.д.), предусмотренными технической документацией.
3.16 Технические требования, правила приемки, методы испытаний, маркировка, упаковка, транспортирование, хранение, указания по монтажу и эксплуатации смесителей и кранов и гарантии изготовителя - по ГОСТ 19681.
3.17 Время действия порционных полуавтоматических смесителей и кранов не должно превышать 60 с.

Рисунок 1 - Смеситель для умывальника и мойки двухрукояточный центральный набортный, излив с аэратором. Типы См-УмДЦБА, См-МДЦБА

Рисунок 2 - Смеситель для умывальника и мойки двухрукояточный центральный набортный, излив с аэратором. Типы См-УмДЦБА, См-МДЦБА
Таблица 2 - Смеситель для умывальника и мойки двухрукояточный центральный набортный, излив с аэратором (типы См-УмДЦБА, См-МДЦБА)
В миллиметрах
|
L
|
H
|
Область применения
|
|
не менее
|
|
110
|
70
|
В смесителях для умывальников
|
|
180
|
130
|
В смесителях для моек с одной чашей
|
|
240
|
130
|
То же, с двумя чашами
|

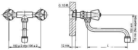
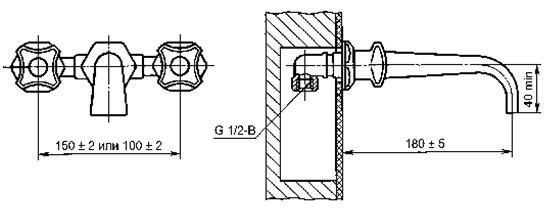
Рисунок 3 - Смеситель для умывальника однорукояточный локтевой с подводками в раздельных отверстиях настенный. Тип См-УмОЛРН

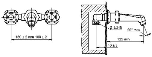
Рисунок 4 - Смеситель для умывальника двухрукояточный с подводками в раздельных отверстиях застенный, излив с аэратором. Тип См-УмДРЗА

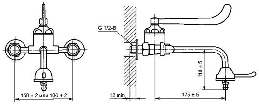
Рисунок 5 - Смеситель для умывальника двухрукояточный с подводками в раздельных отверстиях настенный, излив с аэратором. Тип См-УмДРНА

Рисунок 6 - Смеситель для умывальника и мойки двухрукояточный с подводками в раздельных отверстиях набортный, излив с аэратором. Типы См-УмДРБА, См-МДРБА
Значения для смесителя типов См-УмДРБА, См-МДРБА соответствуют значениям, приведенным в таблице 2.

Рисунок 7 - Смеситель для умывальника и мойки однорукояточный центральный набортный, излив с аэратором. Типы См-УмОЦБА, См-МОЦБА
Значения для смесителя типов См-УмОЦБА, См-МОЦБА соответствуют значениям, приведенным в таблице 2.

Рисунок 8 - Смеситель для мойки двухрукояточный центральный набортный со щеткой с набортным креплением, излив с аэратором. Тип См-МДЦБЩбА
Таблица 3 - Смеситель для мойки двухрукояточный центральный набортный со щеткой с набортным креплением, излив с аэратором (тип См-МДЦБЩбА)
В миллиметрах
|
L, не менее
|
Область применения
|
|
180
|
В смесителях для моек с одной чашей
|
|
240
|
То же, с двумя чашами
|

Рисунок 9 - Смеситель для мойки двухрукояточный центральный набортный со щеткой с настенным креплением, излив с аэратором. Тип См-МДЦБЩнА
Значения для смесителя типа См-МДЦБЩнА соответствуют значениям, приведенным в таблице 3.

Рисунок 10 - Смеситель для умывальника и мойки двухрукояточный с подводками в раздельных отверстиях настенный, излив с аэратором. Типы См-УмДРНА, См-МДРНА
Значения для смесителя типов См-УмДРНА, См-МДРНА соответствуют значениям, приведенным в таблице 2.

Рисунок 11 - Смеситель для мойки двухрукояточный с подводками в раздельных отверстиях настенный со щеткой с настенным креплением, излив с развальцованным носиком. Тип См-МДРНЩнр
Значения для смесителя типа См-МДРНЩнр соответствуют значениям, приведенным в таблице 3.

──────────────────────────────
* Размер для справок.
──────────────────────────────
Рисунок 12 - Смеситель общий для ванны и умывальника двухрукояточный с подводками в раздельных отверстиях настенный с душевой сеткой на гибком шланге, излив с развальцованным носиком. Тип См-ВУДРНШлр

Рисунок 13 - Смеситель общий для ванны и умывальника двухрукояточный с подводками в раздельных отверстиях настенный с душевой сеткой на штанге, излив с развальцованным носиком. Тип См-ВУДРНШтр

──────────────────────────────
* Размер для справок.
──────────────────────────────
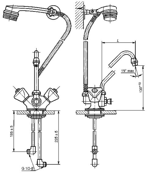
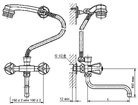
Рисунок 14 - Смеситель для ванны двухрукояточный с подводками в раздельных отверстиях настенный с душевой сеткой на гибком шланге. Тип См-ВДРНШл

Рисунок 15 - Смеситель для ванны однорукояточный с подводками в раздельных отверстиях настенный с душевой сеткой на гибком шланге, излив с аэратором. Тип См-ВОРНШлА

Рисунок 16 - Смеситель для ванны двухрукояточный с подводками в раздельных отверстиях застенный. Тип См-ВДРЗ

──────────────────────────────
* Размер для справок.
──────────────────────────────
Рисунок 17 - Смеситель для душа двухрукояточный с подводками в раздельных отверстиях застенный с душевой сеткой на штанге. Тип См-ДшДРЗШт

──────────────────────────────
* Размер для справок.
──────────────────────────────
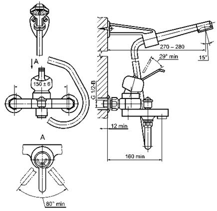
Рисунок 18 - Смеситель для душа двухрукояточный с подводками в раздельных отверстиях настенный с душевой сеткой на гибком шланге. Тип См-ДшДРНШл

──────────────────────────────
* Размер для справок.
──────────────────────────────
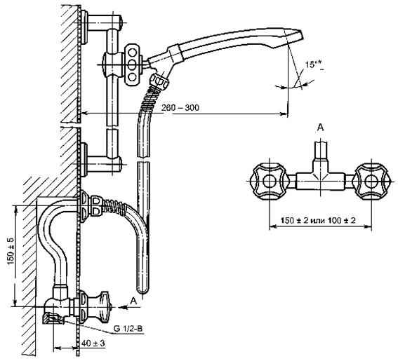
Рисунок 19 - Смеситель для душа двухрукояточный с подводками в раздельных отверстиях настенный с душевой сеткой на стационарной трубке. Тип См-ДшДРНТр

──────────────────────────────
* Размеры для справок.
──────────────────────────────
Рисунок 20 - Смеситель для водогрейной колонки двухрукояточный настенный с душевой сеткой на стационарной трубке. Тип См-КДНТр
Таблица 4 - Смеситель для водогрейной колонки двухрукояточный настенный с душевой сеткой на стационарной трубке (тип См-КДНТр)
В миллиметрах
|
А
± 10
|
В
± 20
|
Область применения
|
|
1112
|
530
|
В смесителях к колонкам типов КВЭ-I и КВЦ-I ГОСТ 8870
|
|
800
|
652
|
То же, типа КВЭ-II
|
|
Примечание - Размеры L = (160 ± 5) мм - в смесителях к колонке только для ванн;
L = (310 ± 6) мм - в смесителях к колонке, общих для ванны и умывальника.
|

Рисунок 21 - Смеситель для бидэ двухрукояточный центральный набортный. Тип См-БдДЦБ

Рисунок 22 - Основные размеры гибких медных подводок для присоединения центральных набортных смесителей к сетям холодной и горячей воды

Рисунок 23 - Присоединительные размеры корпусов вентильных головок водоразборной и смесительной санитарно-технической арматуры
Таблица 5 - Присоединительные размеры корпусов вентильных головок водоразборной и смесительной санитарно-технической арматуры
В миллиметрах
|
Номинальный диаметр арматуры DN, мм
|
Размер резьбы D
|
|
15
|
М18x1-6Н, G 1/2-В
|
|
20
|
G 1/2-В
|

а - для вентильных головок с вращательным и возвратно-поступательным движением клапана; б - для вентильных головок с керамическими запорными элементами
Рисунок 24 - Основные размеры седла клапана и резьб для присоединения вентильных головок

а - с внешней резьбой; б - с внутренней резьбой
Рисунок 25 - Размеры резьбы узла присоединения аэратора к изливам

Рисунок 26 - Размеры конца шпинделя вентильных головок водоразборной санитарно-технической арматуры

Рисунок 27 - Кран водоразборный настенный. Тип КрН
Таблица 6 - Кран водоразборный настенный (тип КрН)
В миллиметрах
|
Тип крана
|
Резьба трубная d
|
Строительная длина L ± 3
|
Диаметр уплотнительного бурта D ± 1
|
Длина цапфы l ± 1
|
|
КрН15
|
G 1/2-В
|
90
|
30
|
13
|
|
КрН20
|
G 3/4-В
|
105
|
35
|
14
|

──────────────────────────────
* Размеры для справок.
──────────────────────────────
Рисунок 28 - Кран водоразборный набортный (типы КрЦБр, КрЦБА)

──────────────────────────────
* Размеры для справок.
──────────────────────────────
Рисунок 29 - Кран туалетный настенный (тип КрНр)