ГОСТ 24033-2018 ОКНА, ДВЕРИ, ВОРОТА. МЕТОДЫ МЕХАНИЧЕСКИХ ИСПЫТАНИЙ
Windows, doors, gates. Mechanical testing methods
МКС 91.060.50
Дата введения - 1 мая 2019 г.
Взамен ГОСТ 24033-80, ГОСТ 26892-86
Предисловие
Цели, основные принципы и основной порядок проведения работ по межгосударственной стандартизации установлены в ГОСТ 1.0-2015 "Межгосударственная система стандартизации. Основные положения" и ГОСТ 1.2-2015 "Межгосударственная система стандартизации. Стандарты межгосударственные, правила и рекомендации по межгосударственной стандартизации. Правила разработки, принятия, обновления и отмены"
Сведения о стандарте
1 Разработан частным учреждением - Центром по сертификации оконной и дверной техники (ЦС ОДТ), Обществом с ограниченной ответственностью "РОТО ФРАНК" (ООО "РОТО ФРАНК"), Обществом с ограниченной ответственностью "ВЕКА Рус" (ООО "ВЕКА Рус"), Обществом с ограниченной ответственностью "ДорХан 21 век" (ООО "ДорХан 21 век")
2 Внесен Техническим комитетом по стандартизации ТК 465 "Строительство"
3 Принят Межгосударственным советом по стандартизации, метрологии и сертификации (протокол от 27 июня 2018 г. N 53)
За принятие проголосовали:
|
Краткое наименование страны по МК (ИСО 3166) 004-97 |
Код страны по МК (ИСО 3166) 004-97 |
Сокращенное наименование национального органа по стандартизации |
|
Армения |
AM |
Минэкономики Республики Армения |
|
Казахстан |
KZ |
Госстандарт Республики Казахстан |
|
Киргизия |
KG |
Кыргызстандарт |
|
Россия |
RU |
Росстандарт |
4 Приказом Федерального агентства по техническому регулированию и метрологии от 12 апреля 2019 г. N 132-ст межгосударственный стандарт ГОСТ 24033-2018 введен в действие в качестве национального стандарта Российской Федерации с 1 мая 2019 г.
5 В настоящем стандарте учтены основные нормативные положения следующих европейских стандартов:
- EN 1191:2012 "Окна и двери. Сопротивление поворотному открыванию и закрыванию. Метод испытания" ("Windows and doors - Resistance to repeated opening and closing - Test method", NEQ);
- EN 13126-1:2011 "Скобяные изделия для окон, дверей и высоких окон. Требования и методы испытаний. Часть 1. Требования к скобяным изделиям общего типа" ("Building hardware - Hardware for windows and door height windows - Requirements and test methods - Part 1: Requirements common to all types of hardware", NEQ);
- EN 12046-1:2004 "Воздействующие силы. Метод испытания. Часть 1. Окна" ("Operating forces - Test method - Part 1: Windows", NEQ);
- EN 12046-2:2004 "Воздействующие силы. Метод испытания. Часть 2. Двери" ("Operating forces - Test method - Part 2: Doors", NEQ);
- EN 949:1999 "Окна, двери, рольставни, жалюзи и ставни. Определение стойкости к удару мягким и тяжелым телом" ("Windows and curtain walling, doors, blinds and shutters - Determination of the resistance to soft and heavy body impact for doors", NEQ);
- EN 1627:2011 "Пешеходная дверь с дверной коробкой, окна, перегородки решетки и ставни. Противовзломная прочность. Требования и классификация" ("Pedestrian doorsets, windows, curtain walling, grilles and shutters - Burglar resistance - Requirements and classification", NEQ);
- EN 1628:2011+A1:2015 "Пешеходная дверь, окна, перегородки, решетки и ставни. Противовзломная прочность. Метод определения сопротивления статической нагрузке" ("Pedestrian doorsets, windows, curtain walling, grilles and shutters - Burglar resistance - Test method for the determination of resistance under static loading", NEQ);
- EN 1629:2011 "Входные двери, окна, перегородки, решетки и ставни. Противовзломная прочность. Метод определения сопротивления динамической нагрузке" ("Pedestrian doorsets, windows, curtain walling, grilles and shutters - Burglar resistance - Test method for the determination of resistance under dynamic loading", NEQ);
- EN 1630:2011 "Входные двери, окна, перегородки, решетки и ставни. Противовзломная прочность. Метод определения сопротивления ручному взлому" ("Pedestrian doorsets, windows, curtain walling, grilles and shutters - Burglar resistance - Test method for the determination of resistance to manual burglary attempts", NEQ)
6 Взамен ГОСТ 24033-80, ГОСТ 26892-86
Настоящий стандарт устанавливает методы механических испытаний окон, дверей и ворот из различных материалов и различных конструкций в лабораторных условиях.
Настоящий стандарт не распространяется на дополнительно устанавливаемые стопорные устройства (штыревые ограничители, крючки, ригели), а также на элементы крепления, не являющиеся составными компонентами оконного, дверного, воротного элемента, например приспособления для крепления к стене, полу.
В настоящем стандарте использованы нормативные ссылки на следующие межгосударственные стандарты:
ГОСТ 27.002-2015 Надежность в технике. Термины и определения
ГОСТ 162-90 Штангенглубиномеры. Технические условия
ГОСТ 166-89 (ИСО 3599-76) Штангенциркули. Технические условия
ГОСТ 427-75 Линейки измерительные металлические. Технические условия
ГОСТ 475-2016 Блоки дверные деревянные и комбинированные. Общие технические условия
ГОСТ 577-68 Индикаторы часового типа с ценой деления 0,01 мм. Технические условия
ГОСТ 5088-2005 Петли для оконных и дверных блоков. Технические условия
ГОСТ 5089-2011 Замки, защелки, механизмы цилиндровые. Технические условия
ГОСТ 7502-98 Рулетки измерительные металлические. Технические условия
ГОСТ 8925-68 Щупы плоские для станочных приспособлений. Конструкция
ГОСТ 13837-79 Динамометры общего назначения. Технические условия
ГОСТ 16504-81 Система государственных испытаний продукции. Испытания и контроль качества продукции. Основные термины и определения
ГОСТ 19091-2012 Замки, защелки, механизмы цилиндровые. Методы испытаний
ГОСТ 23166-99 Блоки оконные. Общие технические условия
ГОСТ 23747-2014 Блоки дверные из алюминиевых сплавов. Общие технические условия
ГОСТ 24866-2014 Стеклопакеты клееные. Технические условия
ГОСТ 30698-2014 Стекло закаленное. Технические условия
ГОСТ 30777-2012 Устройства поворотные, откидные, поворотно-откидные, раздвижные для оконных и балконных дверных блоков. Технические условия
ГОСТ 30826-2014 Стекло многослойное. Технические условия
ГОСТ 30970-2014 Блоки дверные из поливинилхлоридных профилей. Общие технические условия
ГОСТ 31173-2016 Блоки дверные стальные. Технические условия
ГОСТ 31462-2011 Блоки оконные защитные. Общие технические условия
ГОСТ 31814-2012 Оценка соответствия. Общие правила отбора образцов для испытаний продукции при подтверждении соответствия
Примечание - При пользовании настоящим стандартом целесообразно проверить действие ссылочных стандартов в информационной системе общего пользования - на официальном сайте Федерального агентства по техническому регулированию и метрологии в сети Интернет или по ежегодному информационному указателю "Национальные стандарты", который опубликован по состоянию на 1 января текущего года, и по выпускам ежемесячного информационного указателя "Национальные стандарты" за текущий год. Если ссылочный стандарт заменен (изменен), то при пользовании настоящим стандартом следует руководствоваться заменяющим (измененным) стандартом. Если ссылочный стандарт отменен без замены, то положение, в котором дана ссылка на него, применяется в части, не затрагивающей эту ссылку.
В настоящем стандарте применены термины по ГОСТ 16504, ГОСТ 31462, ГОСТ 31173, ГОСТ 30777, ГОСТ 23166, ГОСТ 27.002, а также следующие термины с соответствующими определениями:
3.1 активный подвижный элемент: Створка окна или полотно двери и ворот, которые открываются первыми посредством изменения положения ручки.
3.2 базовая скорость: Фактическое значение скорости перемещения подвижного элемента при его прямолинейном движении и скорости перемещения ребра закрывания при поворотном движении.
3.3 взломоустойчивые (устойчивые к взлому) защитные изделия: Изделия, установленные в проеме здания, находящиеся в закрытом или запертом состоянии и являющиеся препятствием для проникновения в здание с использованием физической силы и/или с помощью определенного инструмента.
3.4 главная рабочая функция: Наиболее важный из предусмотренных видов или способов функционирования, предназначенный для регулярного использования.
Примечание - Оконные или дверные блоки могут характеризоваться несколькими различными главными рабочими функциями (например, откидывания и сдвигания).
3.5 динамическая (ударная) нагрузка: Нагрузка, создаваемая массой движущегося тела, обладающего определенным значением кинетической энергии, и характеризующаяся быстрым изменением во времени.
3.6 дополнительная рабочая функция: Вспомогательный вид или способ функционирования изделия, предназначенный для нерегулярного использования.
3.7 запирающие устройства: Устройства, предназначенные для удержания оконных створок, полотен дверей и ворот в закрытом положении (замки, защелки и т.д.).
3.8 запорный механизм: Фурнитурный элемент или комплект, удерживающий подвижный элемент в закрытом и зафиксированном положении (система, обеспечивающая блокирование и/или запирание).
3.9 защитные изделия: Оконные и дверные блоки, ворота, имеющие специальные конструктивные решения, предназначенные для защиты от повышенных механических и других видов нагрузок и воздействий.
3.10 испытание: Техническая операция, заключающаяся в определении одной или нескольких характеристик данной продукции, процесса или услуги в соответствии с установленной процедурой (методикой).
3.11 испытания на устойчивость к взлому: Испытания, проводимые для контроля способности изделия выполнять свои функции и сохранять значения параметров в пределах установленных норм во время действия на него определенных факторов.
3.12 класс устойчивости к взлому: Характеристика, определяющая степень сопротивления защитного изделия усилиям, направленным на его взлом.
3.13 метод испытания: Установленные технические процедуры проведения испытаний.
Примечание - Метод испытания предполагает применение определенных принципов и средств, обеспечивающих реализацию целей испытания.
3.14 надежность (безотказность): Свойство изделия сохранять во времени в установленных пределах значения всех параметров, характеризующих способность изделия выполнять требуемые функции в заданных режимах и условиях применения.
3.15 образец продукции: Единица конкретной продукции, используемая в качестве представителя этой продукции при испытаниях, исследованиях.
3.16 общее время испытания: Время с момента начала испытания до момента его завершения или прекращения.
3.17 пассивный подвижный элемент: Створка многостворчатого окна, полотна двери или ворот, которые могут быть открытыми только после открытия активного элемента.
3.18 период покоя: Выраженный в секундах период времени, в течение которого подвижный элемент находится в неподвижном состоянии:
- между периодами движения в разных направлениях;
- между моментом окончания работы какого-либо подвижного элемента и моментом начала работы соответствующего запорного механизма;
- между моментом завершения работы какого-либо запорного механизма и моментом начала движения соответствующего подвижного элемента;
- между двумя циклами.
3.19 подвижный элемент: Элементы окон, дверей и ворот, обладающие в процессе эксплуатации функцией перемещения.
3.20 подцикл: Последовательность рабочих функций, применимая к единственной рабочей функции и/или к перемещению на ограниченное расстояние или ограниченный угол.
Примечание - Если образец для испытаний может при эксплуатации выполнять несколько главных рабочих функций (например, откидывания и сдвигания), то испытательный цикл может подразделяться на соответствующие подциклы. При этом подциклы должны выполняться таким образом, чтобы никакие шаги цикла не повторялись. Все подциклы должны выполняться на одном и том же испытательном образце.
3.21 приводной механизм: Фурнитурный элемент (например, оконная или нажимная дверная ручка), позволяющий пользователю привести в действие запорный механизм и/или подвижный элемент.
3.22 протокол испытаний: Документ, содержащий результаты испытаний и другую информацию, относящуюся к испытаниям.
3.23 рабочая функция: Прямолинейное или поворотное перемещение подвижного элемента.
Примечание - Несколько фурнитурных систем обеспечивают возможность сочетания различных рабочих функций (например, для поворотно-откидного или параллельно-складного окна, в котором комбинируются поворотные и прямолинейные рабочие функции).
3.24 рабочее время испытания на устойчивость к взлому: Время, в течение которого в процессе испытания используют один или несколько инструментов для взлома испытательного образца.
3.25 репрезентативность: Соответствие характеристик изделий в выборке характеристикам всего модельного ряда изделий данного типа.
Примечание - Репрезентативность определяет, насколько возможно распространить результаты испытаний изделий в выборке на всю генеральную совокупность изделий, из которой состоит модельный ряд.
3.26 ребро закрывания: Самое крайнее ребро (условная линия) подвижного элемента, максимально удаленное от оси поворота (вращения).
3.27 результаты испытаний: Полученные при испытаниях значения характеристики продукции.
3.28 средство испытания: Техническое устройство, вещество и/или материал для проведения испытания.
3.29 статическая нагрузка: Нагрузка определенного значения, действующая на заданную зону изделия в течение определенного времени и неизменяемая во времени.
3.30 стойкость к нагрузке: Способность изделия оставаться работоспособной во время и после воздействия определенной нагрузки.
3.31 сторона взлома: Определяемая заказчиком или производителем сторона образца для испытаний, подвергающаяся атаке при взломе.
Примечание - Стороной взлома считают сторону, выходящую на улицу, если перед началом испытаний не оговорено иное.
3.32 типоразмерный ряд: Параметрический ряд однородной продукции, различия которой определяются геометрическими параметрами.
3.33 точка приложения динамической нагрузки (удара): Место на поверхности испытательного образца, к которому прикладывают динамическую нагрузку.
3.34 устойчивость к взлому: Способность защитного изделия оказывать сопротивление силовому проникновению внутрь здания (или способность изделия противостоять достижению полного доступа при воздействии на него статической и ударной нагрузок и/или приложения инструмента).
3.35 условия испытаний: Совокупность воздействующих факторов и/или режимов функционирования продукции при испытаниях.
3.36 ходовая створка (полотно): Створка многостворчатого окна, полотна двери или ворот, которая может быть открыта только после приведения в действие ручки.
3.37 цикл: Серия рабочих процессов.
Примечания
1 Цикл включает в себя открывание какого-либо подвижного элемента [например, отпирание запорного(ных) механизма(ов), перемещение в открытое положение, перемещение обратно в закрытое положение и повторное запирание запорного(ных) механизма(ов)]. В цикле могут содержаться несколько рабочих процессов, которые допускается проводить совместно или раздельно.
2 При испытании, например, сдвижных окон с функцией откидывания допускается использование цикла с комбинированными функциями откидывания и сдвигания, или во время испытания эти рабочие процессы могут выполняться раздельно, при этом сначала проводят циклы откидывания, затем циклы сдвигания.
3.38 число циклов: Число завершенных циклов.
4.1 Испытательный стенд
4.1.1 Испытательные стенды должны быть сконструированы таким образом, чтобы они могли принимать на себя нагрузки без образования недопустимых деформаций, приводящих к поломке и способных повлиять на результаты испытаний. Допускается использование вспомогательных рам и приспособлений для установки испытательного образца. При этом способ монтажа образца не должен влиять на результаты испытаний. Управление стендами может осуществляться как с помощью компьютерного программного обеспечения, так и в полуавтоматическом и ручном режимах.
4.1.2 Испытательный стенд должен обеспечивать воспроизведение необходимого числа циклов открывания створки/полотна на определенный угол и закрывания с заданной постоянной скоростью от 0,10 до 0,50 м/с. У стендов, управление которых происходит с помощью программного обеспечения, значение скорости устанавливается автоматически в зависимости от выбранной программы.
Для стендов, у которых скорость задается без использования программного обеспечения, ее рекомендуется настроить перед началом испытаний. В случае, когда в состав образца входит приводной механизм (например, электропривод закрывания открывания ворот), необходимую скорость настраивают в соответствии с рекомендациями производителя (см. таблицу 1).
|
Масса створки, полотна m, кг |
Режим функционирования | ||
|
Скорость на прямолинейном участке, м/с |
Скорость на поворотном участке, м/с |
Скорость на откидном участке, м/с | |
|
m ≤ 65 |
0,25 |
0,50 |
0,50 |
|
65 |
0,20 |
0,35 |
0,50 |
|
100 |
0,16 |
0,30 |
0,41 |
|
150 |
0,14 |
0,25 |
0,35 |
|
200 |
0,12 |
0,20 |
0,29 |
|
m> 300 |
0,10 |
0,18 |
0,25 |
|
Примечание - Значения рекомендуемых базовых скоростей приведены в настоящей таблице с установленным пределом погрешности ± 10%. | |||
4.1.3 Измерение базовой скорости рекомендуется проводить на участке, который находится на расстоянии (начало измерительного участка) 5+5 мм от закрытого положения и за 5+5 мм (конец измерительного участка) до положения "открыто" (на этом участке должна достигаться базовая скорость) для поворотного перемещения в пределах сектора, соответствующего (90-10)°, и откидного перемещения в пределах сектора, соответствующего (30-5)°. Для сдвижного перемещения измерение базовой скорости следует проводить на участке, который находится на расстоянии (начало измерительного участка)
мм от закрытого положения и за
(конец измерительного участка) до положения "Открыто". При асимметричном расположении подвижных элементов базовую скорость следует измерять по главному ребру закрывания.
4.1.4 Конструкции испытательных стендов должны обеспечивать безопасность испытаний для обслуживающего персонала и возможность наблюдения за процессом испытаний.
4.1.5 Испытательные стенды должны быть аттестованы в установленном порядке *.
──────────────────────────────
*В Российской Федерации - в соответствии с Федеральным законом от 26 июня 2008 г. N 102-ФЗ "Об обеспечении единства измерений".
──────────────────────────────
4.2 Приводные устройства
Приводные устройства, входящие в комплект испытательного стенда, могут быть гидравлическими, пневматическими или электрическими, обеспечивающими вращательное или возвратно-поступательное (прямолинейное) движение, и подбираются с учетом следующих параметров:
- поддержание базовой скорости;
- масса подвижных элементов и действующая сила трения;
- прикладываемые нагрузки;
- продолжительность испытаний.
4.3 Измерительные приборы (аппаратура)
4.3.1 Для проведения испытаний могут быть применены следующие измерительные приборы:
- электромеханический или электронный счетчик импульсов (циклов);
- приборы для измерения скорости и времени с пределом погрешности ± 5 %;
- приборы для измерения силы и массы (веса) с пределом погрешности ± 2 %;
- механические или электронные динамометры с тензометрическим датчиком силы растяжения и сжатия с пределом погрешности ± 2 %;
- динамометрические ключи с пределом погрешности ± 3 %;
- измерительная рулетка (линейка) класса точности 2;
- механический или электронный штангенциркуль с пределом погрешности ± 0,1 мм;
- механические или электронные индикаторы часового типа с пределом погрешности ± 0,1 мм.
4.3.2 Средства измерений, применяемые при проведении испытаний, должны быть поверены (калиброваны) в установленном порядке * с оформлением свидетельства о поверке или сертификата о калибровке.
──────────────────────────────
*В Российской Федерации - в соответствии с Федеральным законом от 26 июня 2008 г. N 102-ФЗ "Об обеспечении единства измерений".
──────────────────────────────
Примечания
1 Испытания, проведенные на неаттестованном оборудовании или с применением неповеренных средств измерений, не могут быть признаны легитимными.
2 При проведении испытаний для целей подтверждения соответствия испытательная лаборатория должна быть аккредитована **.
──────────────────────────────
**В Российской Федерации - в соответствии с Федеральным законом от 28 декабря 2013 г. N 412-ФЗ "Об аккредитации в национальной системе аккредитации".
──────────────────────────────
4.3.3 Допускается применять другие измерительные приборы с характеристиками не хуже приведенных в 4.3.1.
5.1 К методам механических испытаний относятся испытания по определению:
- надежности (безотказности);
- сопротивления статической нагрузке, действующей в плоскости створки полотна;
- сопротивления статической нагрузке, действующей перпендикулярно к плоскости створки/полотна и в зоне петель;
- сопротивления динамической нагрузке от удара мягким неупругим телом, действующим в направлении открывания;
- сопротивления динамической нагрузке от удара твердым телом;
- сопротивления взлому.
Настоящий стандарт применяют при квалификационных, приемо-сдаточных, типовых (исследовательских), периодических испытаниях, а также при испытаниях в целях подтверждения соответствия в форме сертификации и декларирования продукции.
Методы испытаний, приведенные в настоящем стандарте, основаны на воспроизведении эксплуатационных перемещений отдельных конструктивных узлов и деталей окон, дверей и ворот и действующих на них нагрузок;
- испытания первого образца - одноразовое определение рабочих характеристик.
Данный вид испытаний относится к квалификационным испытаниям.
Квалификационные испытания проводят при постановке продукции на производство по инициативе производителя, предоставляющего образцы в испытательную лабораторию. Объем испытаний определяет производитель в соответствии с действующими нормативными документами на продукцию. К квалификационным испытаниям относятся также испытания, проводимые по инициативе разработчиков системы профилей (системодателей).
К квалификационным испытаниям относятся также испытания, проводимые в соответствии с требованиями действующих нормативных документов *;
──────────────────────────────
*В Российской Федерации действует ГОСТ Р 15.301-2016 "Система разработки и постановки продукции на производство. Продукция производственно-технического назначения. Порядок разработки и постановки продукции на производство".
──────────────────────────────
- испытания серийно выпускаемой продукции.
Данный вид испытаний относится к приемо-сдаточным и периодическим испытаниям.
Примечание - Периодические испытания - испытания, проводимые в целях проверки постоянства соответствия продукции техническим требованиям.
Периодичность и объем испытаний устанавливают в соответствии с нормативными документами на продукцию. Образец для испытаний предоставляет производитель.
Периодические испытания применяют также в целях подтверждения соответствия. В этом случае выбор и отбор образцов проводят совместно с испытательной лабораторией или органом по сертификации;
- испытания, проводимые после внесения изменений в серийно выпускаемую продукцию.
Данный вид испытаний относится к типовым испытаниям. Типовые испытания проводят в объеме проведенных изменений. Образец предоставляет производитель продукции. К типовым испытаниям можно отнести также исследовательские испытания, проводимые в целях определения отдельных параметров или их совокупности;
- испытания, проводимые по инициативе потребителя, изготовителя или надзорных органов для решения спорных вопросов, связанных с установлением факта несоответствия (соответствия) продукции (либо отдельных ее частей) требованиям нормативных документов;
- испытания каскадные.
Каскадные испытания: первичные испытания изделий из определенных систем профилей, проводимые системодателем и передаваемые им переработчикам своей продукции, на условиях установленных в соглашении (контракте) между создателем системы и переработчиком;
- испытания, проводимые в случае предъявления претензий.
Данные испытания проводят по показателям, вызывающим претензии потребителя. Образцы для испытаний предоставляет потребитель, или они должны быть отобраны комиссией, состоящей из представителей потребителя, изготовителя и испытательной лаборатории у производителя (продавца);
- испытания, проводимые по инициативе разработчика системы профилей (системодателя).
Полученные результаты испытаний системодатель может передавать переработчикам своей продукции, т.е. непосредственно изготовителям оконных и дверных блоков и ворот, что позволит им экономить время и средства на проведение отдельных видов испытаний. При этом необходимо соблюдать следующие условия системодателя:
- необходимо согласовывать со системодателем конструкцию и технологическую документацию;
- иметь систему внутреннего контроля производства, документально подтверждать и гарантировать, что выпускаемое изделие соответствует заданным рабочим характеристикам, установленным системодателем.
Примечание - Разработчик системы (системодатель) группирует из отдельных элементов (оконные профили, стеклопакеты, фурнитура, уплотнения и т.д.) общую работоспособную систему и составляет для изделия подробное описание и указания по производству, которые будут являться основой для первичного испытания, а также руководством по проектированию. Документ должен содержать все необходимые указания по конструированию, применению, монтажу, а также данные для заводского контроля продукции. Разработчик системы может поручить аккредитованной лаборатории провести первичное испытание и предоставить результаты разработчику системы. Собранные результаты системодатель передает переработчикам в виде результатов "каскадных испытаний".
5.2 Выбор образцов для испытаний
5.2.1 Выбор образцов для испытаний обеспечивает возможность адекватно оценивать результаты испытаний и распространять их на аналогичные варианты оконных, дверных и воротных конструкций.
При выборе образцов рекомендуется исходить из необходимости нахождения такого сочетания параметров, которое является репрезентативным для целого ряда изделий в части:
- конструктивного исполнения;
- применяемых материалов и компонентов;
- наличия внутризаводского контроля производства, гарантирующего стабильность качества продукции.
Примечание - При правильном подходе к выбору образцов можно существенно сократить расходы на испытания.
5.2.2 При выборе репрезентативных образцов для испытаний необходимо установить размеры образцов и их комплектацию. Для этой цели определяют комбинации рабочих характеристик, являющихся наиболее одинаковыми и неблагоприятными с точки зрения определения этих характеристик в процессе испытаний.
Для получения более широкой области применения результатов испытаний на надежность, прочность, эксплуатационные усилия, взлом рекомендуется выбирать образец с максимальными габаритными размерами, регламентированными производителями фурнитуры и профильных систем на основе каталогов и монтажных инструкций, максимальной массой и в наиболее полной комплектации. К неблагоприятным условиям можно отнести геометрическую форму (например, изделия прямоугольной формы, у которых ширина больше, чем высота).
Примечание - Рекомендуемые размеры образцов (высота х ширина, мм):
- для оконных одностворчатых блоков при максимально допустимой нагрузке ... 1500 х 700;
- для оконных двухстворчатых блоков при максимально допустимой нагрузке
на каждую створку ... 1500 х 1500:
- для однопольных дверных блоков при максимально допустимой нагрузке, не менее ... 2100 х 800;
- для ворот, не менее ... 1800 х 2000:
- для ролетных рулонных ворот, не менее ... 2000 х 1800.
Для оконных блоков с поворотным, откидным, поворотно-откидным открыванием рекомендуется испытывать поворотно-откидную створку. При испытаниях сдвижных, раздвижных, параллельно-выдвижных створок рекомендуется использовать параллельно-выдвижную створку.
На устойчивость к взлому испытывают оконные блоки с импостом и без импоста, при этом результаты испытаний окон с импостом не распространяются на окна без импоста и наоборот.
При указанном выборе образцов результаты испытаний будут распространяться на весь модельный ряд изделий с меньшими размерами.
Примечание - Для распространения результатов испытаний на образцы размерами, большими, чем испытанные, необходимо определяемые характеристики подтверждать расчетным методом.
5.2.3 В случае невозможности проведения испытаний полноразмерного образца, размеры которого превышают возможности испытательного оборудования, допускается проводить испытания на фрагменте, который имитирует большие размеры образца. При этом массу изделия увеличивают дополнительными грузами, распределенными так же, как распределяется масса фрагмента, имитирующего образец.
5.2.4 Число образцов для испытаний назначает испытательная лаборатория, исходя из условия, что характеристики могут быть определены независимо одна от другой или в сочетании, при этом эти характеристики не должны оказывать влияния на последующие испытания. Число образцов должно обеспечивать возможность проведения испытаний в полном объеме.
5.3 Отбор образцов для испытаний
5.3.1 Отбор образцов для испытаний может быть проведен в соответствии с ГОСТ 31814. В этом случае образцы отбирают у производителя или у продавца из продукции, принятой службой контроля качества производителя продукции, комиссией с участием представителей производителя (продавца) и испытательной лаборатории. По результатам отбора составляют акт отбора образцов по форме, установленной в ГОСТ 31814.
Производитель продукции изготавливает образец и предоставляет с учетом требований к репрезентативности, существующей технологии, правил внутризаводского контроля и рекомендаций испытательной лаборатории в соответствии с 5.2. В этом случае образец передают в испытательную лабораторию с сопроводительным письмом, подписанным руководителем предприятия или службы контроля качества, в котором подтверждается соответствие образца по конструкции, применяемым материалам и компонентам, технологии изготовления требованиям нормативных документов, рекомендаций производителей комплектующих и внутренним документам по контролю качества. Таким образом, подтверждается ответственность производителя за изготовление образца.
5.3.2 Отобранные образцы при поступлении в испытательную лабораторию должны быть зарегистрированы и промаркированы. При маркировке на образец наносят идентификационный номер и дату получения образца.
5.3.3 После проведения испытаний и оформления результатов испытаний в виде протокола образцы возвращают производителю, если иное не предусмотрено схемой испытаний и не оговорено в договоре на проведение испытаний.
Примечание - При оформлении результатов испытаний необходимо учитывать погрешность испытательного оборудования, установленную при аттестации.
6.1 Образцы для испытаний следует хранить и испытывать в помещении, в котором поддерживают температуру в диапазоне от 15 °С до 30 °С и относительную влажность воздуха от 25 % до 75 %.
6.2 Образцы для испытаний, в которых предусматривается остекление, следует поставлять с остеклением, соответствующим техническим требованиям производителя. В качестве альтернативного варианта (вместо стекла, стеклопакета) допускается использование фанеры, древесно-волокнистой плиты, древесно-стружечной плиты или другого материала с достаточной прочностью на изгиб и с применением (при необходимости) дополнительных грузов, масса которых дополняет массу указанных материалов до массы заменяемых стекол или стеклопакетов. Все дополнительные грузы должны быть размещены равномерно по всей площади снаружи и внутри таким образом, чтобы центр тяжести и центр инерции масс создавали эквивалент замещаемому стеклу или стеклопакету.
6.3 При установке образца в испытательный стенд следует соблюдать правила, не позволяющие крепежным деталям препятствовать функционированию открывающихся элементов. Коробка оконного (дверного) блока, ворот должна быть закреплена неподвижно.
6.4 Перед началом испытаний подвижный элемент (створка, полотно) должен выполнить пять рабочих циклов в ручном или автоматическом режиме.
Исходное положение подвижного элемента - закрытое, запертое или защелкнутое.
6.5 Перед началом испытаний следует:
- проверить наличие маркировки в соответствии с нормативным документом на продукцию;
- измерить массу (вес) створки, полотна (если производитель не предоставил эту информацию);
- определить первоначальные размеры диагоналей. Для этого створку или полотно поворачивают на угол α = 60° и измеряют в миллиметрах первоначальные размеры диагоналей A0, B0 с погрешностью не более 0,5 мм и значение зазора между створкой и коробкой S0 с погрешностью не более 0,1 мм. Результаты измерений фиксируют в журнале.
6.6 Последовательность проведения испытаний
Необходимо соблюдать изложенную ниже последовательность проведения испытаний от неразрушающих методов к разрушающим:
- надежность (безотказность), циклы открывания и закрывания;
- эргономические требования - усилия открывания, закрывания, прикладываемые к ручкам для открывания и закрывания створок, полотен;
- статические нагрузки (вдоль плоскости и перпендикулярно к плоскости полотна, створки);
- стойкость к удару твердым телом (динамическая нагрузка);
- стойкость к удару о преграду или откос (динамическая нагрузка);
- стойкость к удару мягким неупругим телом (динамическая нагрузка);
- стойкость к ручному взлому.
7.1 Сущность метода заключается в определении стойкости оконных, дверных балконных, дверных, воротных элементов к многократному открыванию и закрыванию.
7.2 Число циклов устанавливают в соответствии с требованиями ГОСТ 5088, ГОСТ 30777 и нормативных документов на изделия конкретных видов.
7.3 Испытания проводят по заданному числу циклов в соответствии с нормативным документом на изделие или до первого отказа. Под отказом понимают возникновение повреждений [отрыв, смещение, изгиб петель, предельный износ роллера (износ трущихся деталей, осей петель, подвижных соединений и т.д.), смещение деталей в угловых соединениях, нарушение работоспособности в связи с поломкой или изменением размеров диагоналей и зазоров].
7.4 Изменение размеров диагоналей ΔA, ΔB и зазора ΔS в миллиметрах по окончании испытаний вычисляют по формулам:
ΔA=A-A0,
(1)
ΔB=B-B0,
(2)
ΔS=S-S0,
(3)
где А, В - размеры диагоналей после испытаний, мм;
A0, В0 - первоначальные размеры диагоналей, мм;
S - зазор после испытаний, мм;
S0 - зазор до испытаний, мм.
Допустимые значения изменения размеров диагоналей ΔA, ΔB, а также значение зазора ΔS устанавливают в нормативных документах на конкретный вид продукции.
Примечание - После контрольной наработки образцы не должны иметь повреждений, а изменения размеров диагоналей ΔA, ΔB и изменение размера зазора ΔS не должны превышать значений, установленных в нормативных документах на конкретный вид продукции. Допускается проводить испытания на безотказность отдельными операциями, являющимися частью общего цикла работ.
7.5 Испытание оконных, дверных балконных блоков с поворотными, откидными, поворотно-откидными и сдвижными устройствами
7.5.1 При испытании оконных и дверных балконных блоков с поворотными, откидными, поворотно-откидными и сдвижными устройствами на надежность (безотказность) образец устанавливают в испытательный стенд (приложение А, рисунок А.1). Коробку закрепляют неподвижно без искажения (сжатия, растяжения). Допускается использовать вспомогательную раму для установки образца для испытаний. Проводят необходимую регулировку, проверяют работу фурнитуры. Проверяют размеры и форму согласно 6.5 и требованиям нормативных документов и конструкторской документации на изделие.
7.5.2 Устанавливают (соединяют со створкой или полотном) устройство или привод перемещения ручки и створки или полотна (например, электромеханический, пневматический), воспроизводящий циклы открывания и закрывания. Затем проводят пробный пуск и настройку датчиков ограничения угла открывания и закрывания на заданный угол (расстояние перемещения) с заданной скоростью. Число воспроизведенных циклов фиксируется счетчиком циклов.
7.5.3 Проводят испытание при открывании створки (полотна) на угол не менее 60° в соответствии с пунктом 3.23 ГОСТ 30777, или 90° по методикам испытательных лабораторий, при откидывании створки на угол не менее 10° - в соответствии с пунктом 3.24 ГОСТ 30777. При перемещении створки сдвижного окна диапазон перемещения определяют, исходя из ширины испытуемой створки, но не более 1000 мм. Время полного прохождения одного цикла устанавливают в зависимости от ширины испытуемой створки и по таблице 1, но не менее 4 с и с продолжительностью периода покоя между циклами, при необходимости, от 1 до 4 с.
7.5.4 Испытания проводят до заданного числа циклов или до первого отказа, осматривая образец через каждые 2500 циклов. Смазывание и регулировку фурнитуры испытательного образца допускается проводить во время испытания в соответствии с указаниями производителя по техническому обслуживанию. Фиксируют наработку Т1 в циклах и повреждения, вызвавшие отказ.
7.6 Испытания параллельно-складывающихся, параллельно выдвижных, параллельно-сдвижных (раздвижных) окон
7.6.1 Испытания на надежность (безотказность) параллельно-складывающихся и параллельно-выдвижных окон проводят в следующем порядке:
- устанавливают створку в исходное положение в соответствии с рисунком А.2 приложения А [почти закрытое положение (угол от 0° до 10°), показанное сквозными линиями];
- с помощью приводного устройства прилагают усилие в соответствующей точке створки, при этом створка перемещается в "почти полностью сложенное положение" [цикл открывания (для функции складывания)];
- после достижения складного положения (показанными пунктирными линиями угол от 80° до 90°) поддерживают период покоя не менее 2 с;
- по истечении периода покоя створку с помощью приводного устройства перемещают в исходное (почти закрытое) положение.
7.6.2 Циклы параллельного складывания должны выполняться с базовыми скоростями, указанными в таблице 1. При этом для расчета значений базовой скорости следует учитывать массу всех перемещаемых створок.
При испытаниях на надежность (безотказность) сдвижных (раздвижных), складывающихся оконных блоков циклы должны выполняться со скоростью не более 200 циклов/ч [таблица 1 (прямолинейное движение)]. Исходное состояние подвижной рамы - закрытое положение. Расстояние перемещения подвижной створки при испытаниях зависит от ширины рамы минус 200 мм (например, при ширине рамы 1200 мм расстояние перемещения должно быть 1000 мм).
7.6.3 Для сдвижных (раздвижных) оконных блоков вместе с контрольной наработкой циклов проверяют износостойкость роликов, деформацию роликов в неподвижном состоянии и деформацию конструкции направляющих. Значения контрольной наработки в циклах, износостойкости роллеров установлены в ГОСТ 30777. После контрольной наработки не должно быть повреждений, нарушающих работоспособность оконных блоков.
7.7 Испытание полотен дверей и распашных ворот
7.7.1 Испытание полотен дверей и распашных ворот проводят в следующем порядке:
- образец устанавливают в испытательный стенд, аналогичный стенду указанному в разделе 4. Коробку дверного (воротного) блока закрепляют неподвижно. Крепление проводят не менее чем в восьми точках дверного (воротного) блока, при необходимости число точек крепления можно увеличить;
- проверяют размеры и форму согласно требованиям нормативных документов и конструкторской документации на дверные блоки и ворота;
- проверяют работу открывания и закрывания полотна, запирание и отпирание приборов (замков). Полотно дверного блока (ворот) должно открываться и закрываться без заеданий. Усилия, необходимые для запирания и открывания, не должны превышать значений, установленных в нормативных документах на изделия;
- устанавливают (соединяют с полотном) устройство или привод перемещения полотна (электромеханический или пневматический), воспроизводящий циклы открывания и закрывания.
Испытание проводят при открывании дверного (воротного) полотна на угол не менее 90°.
Время полного прохождения одного цикла - не более 10 с.
7.7.2 Смазку и регулировку испытательного образца допускается проводить во время испытания в соответствии с указаниями производителя по техническому обслуживанию.
В случае возникновения отказа до окончания контрольной наработки фиксируют фактическую наработку в циклах и повреждения, вызвавшие отказ.
7.7.3 Результаты испытания признают удовлетворительными, если все испытанные образцы выдержали без отказа контрольную наработку циклов.
Значения отклонений формы полотен и зазоров между полотнами и коробками должны оставаться в пределах, установленных техническими требованиями на конкретный вид изделия.
7.8 Испытание дверей с устройствами закрывания (доводчиками)
7.8.1 При использовании устройств закрывания дверей (доводчиков) без функции амортизации при закрывании момент закрывания должен устанавливаться согласно требованиям нормативных документов на доводчики *.
──────────────────────────────
*В Российской Федерации действует ГОСТ Р 56177-2014 "Устройства закрывания дверей (доводчики). Технические условия".
──────────────────────────────
Скорость закрывания определяют с учетом данного параметра.
При использовании дверных доводчиков с контролируемым закрыванием момент закрывания должен устанавливаться согласно требованиям НД на эти доводчики.
7.8.2 При проведении испытаний следует обеспечить контролируемое равномерное (плотное) закрывание дверных створок.
Общее время закрывания из положения 90° до 0° должно составлять (5 ± 2) с, при этом предпочтительным значением является 5 с. При ширине двери более 1600 мм время закрывания устанавливают в соответствии с требованиями, установленными производителем дверей.
7.8.3 Во время проведения испытаний функция замедления при закрывании и стопорные устройства должны отключаться.
В случае если дверной доводчик имеет функцию амортизации при открывании, испытания и оценку результатов испытания следует проводить согласно требованиям нормативных документов на эти доводчики, за исключением случаев, когда доводчики с функцией амортизации при открывании должны испытываться числом циклов, составляющим 20 % числа циклов, предусмотренного для дверного доводчика.
7.8.4 Испытания на надежность (безотказность) распашных ворот проводят аналогично испытаниям дверей.
7.9 Испытания полотен роллетных рулонных ворот
7.9.1 Сущность метода заключается в определении стойкости роллетных рулонных ворот к многократному открыванию и закрыванию. Испытания на надежность (безотказность) роллетных рулонных ворот проводят на образцах размерами (высота х ширина) не менее 2000 х 1800 мм.
7.9.2 Испытания проводят в следующем порядке:
- образец устанавливают в испытательный стенд согласно рисунку А.3 приложения А. Крепление образца проводят в соответствии с рекомендациями производителя;
- проверяют размеры и форму образца согласно требованиям нормативных документов и конструкторской документации на ворота;
- проводят открывание и закрывание полотна, запирание и отпирание приборов (замков). Полотно ворот должно открываться и закрываться без заеданий;
- соединяют с полотном образца устройство или привод перемещения полотна (электромеханический или пневматический), воспроизводящий циклы открывания и закрывания. Время полного прохождения одного цикла - не более 30 с.
Примечание - Применяемый при испытаниях привод должен входить в комплект ворот. Допускается проводить испытания на безотказность приборов (замков) отдельными операциями, являющимися частью общего цикла работ.
7.9.3 Через каждые 2500 циклов испытания проводят осмотр образца (полотна и направляющих) в целях обнаружения повреждений. Проверяют размеры образца, размеры зазоров и отклонения от формы.
Смазку и регулировку трущихся элементов образца для испытаний допускается проводить во время испытания в соответствии с указаниями производителя по техническому обслуживанию.
В случае возникновения отказа ворот до окончания контрольной наработки фиксируют наработку в циклах и повреждения, вызвавшие отказ.
7.9.4 Результаты испытания признают удовлетворительными, если все испытанные образцы выдержали без отказа контрольную наработку циклов.
Значения отклонений формы полотен и зазоров между полотнами и направляющими должны оставаться в пределах, установленных техническими требованиями к конкретному виду изделия.
8.1 Определение сопротивления статической нагрузке, действующей в плоскости створок оконных блоков, полотен дверных блоков и ворот
8.1.1 Сущность метода заключается в нагружении створки (полотна), открытой на заданный угол (для деревянных дверных блоков этот угол зависит от типа петель, для оконных и дверных блоков из других материалов - 90°), статической сосредоточенной нагрузкой, действующей на створку (полотно) в направлении силы тяжести и возрастающей до контрольного значения Р (рисунок Б.1 приложения Б).
Примечание - Данный вид испытаний учитывает также непредвиденные нагрузки, связанные с ненадлежащей эксплуатацией, например дополнительные (непредвиденные) нагрузки в плоскости створки, вызванные при опирании на створку окон при мытье.
8.1.2 Устройство для создания и измерения статических нагрузок представляет собой гидравлический цилиндр (гидравлический домкрат), на выдвижной шток которого закреплен тензометрический датчик силы растяжения и сжатия, измеряющий нагрузку, необходимую для проведения испытаний, с погрешностью не более 2 %.
8.1.3 Средства измерений, применяемые для испытаний:
- секундомер;
- штангенциркуль по ГОСТ 166;
- набор плоских щупов по ГОСТ 8925;
- линейка по ГОСТ 427;
- рулетка по ГОСТ 7502;
- динамометр по ГОСТ 13837;
- индикатор часового типа по ГОСТ 577.
8.1.4 Испытания проводят в следующем порядке:
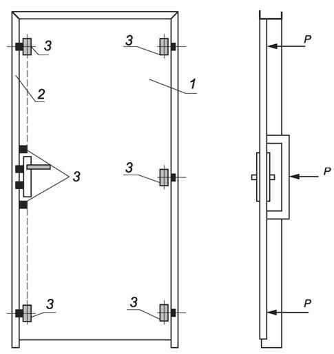
- образец устанавливают в испытательный стенд. Коробку закрепляют неподвижно не менее чем в шести точках для окон и восьми точках - для дверей и ворот, при необходимости число точек крепления допускается увеличить;
- проверяют размеры и форму согласно требованиям 6.5, нормативных документов и конструкторской документации;
- проводят открывание и закрывание створки, полотна, запирание и отпирание приборов. Створку или полотно открывают на угол 90° ± 5°;
- открытую створку раздвижных складывающихся окон нагружают согласно рисункам Б.2, Б.3 приложения Б. Поворотные окна нагружают аналогичным способом на угол, противоположный верхней петле. Измеряют диагонали D1 и D2 дверного полотна с точностью до 1 мм (см. рисунок Б.1) приложения Б.
Место нагружения открытого полотна дверей и ворот должно находиться на расстоянии (50 ± 5) от края вертикальной кромки в направлении силы тяжести (см. рисунок Б.1 приложения Б).
Нагрузку увеличивают равномерно и плавно со скоростью 300 Н в минуту или равномерно и ступенчато, без ударов, с интервалом 100 Н, с точностью до 2 % в течение (120 ± 5) с. Контрольное значение нагрузки Р удерживают в течение (300 ± 5) с, измеряют максимальную деформацию под нагрузкой с точностью до 0,1 мм. Снимают нагрузку и через (180 ± 5) с повторяют измерение у нижнего угла дверного полотна, а также измеряют диагонали D1 и D2, затем уменьшают ее до нуля.
После снятия нагрузки проводят визуальную оценку состояния испытанного образца, проверяют форму по размеру диагоналей по 7.4, значения зазоров (проверяют щупами), открывание и закрывание, отпирание и запирание приборов.
8.1.5 Результаты испытаний образцов считают удовлетворительными, если после испытания нагрузкой контрольного значения в образцах не возникло разрушений, изменения формы, зазоры не превысили допустимых размеров, а разность длин диагоналей D1 и D2 до испытаний и после не превышает установленных пределов. Изделия после испытаний должны сохранить свою работоспособность.
8.2 Испытание по определению сопротивления статической нагрузке, действующей перпендикулярно, плоскости оконных створок, полотен дверей и ворот и в зоне петель
8.2.1 Сущность метода заключается в нагружении створки окна и полотна двери и ворот статической сосредоточенной нагрузкой, действующей перпендикулярно к плоскости створки окна, полотна двери и ворот в направлении открывания и возрастающей до контрольного значения Р (имитация выдавливания створки окна, полотна двери и ворот) согласно рисункам Б.4 и Б.6 приложения Б.
Устройство для создания и измерения статических нагрузок - по 8.1.2.
8.2.2 Испытания проводят в следующем порядке:
- образец устанавливают в испытательный стенд. Коробку закрепляют неподвижно;
- проверяют форму и размеры створки и полотна по 6.5;
- створку окна, полотно двери и ворот закрывают (запирают) с помощью имеющихся на образце запирающих устройств (замков). В зоне петель и к свободному углу прикладывают перпендикулярную нагрузку.
Примечание - По значению нагрузки определяют класс прочности дверных стальных блоков по ГОСТ 31173, дверных блоков из поливинилхлоридных профилей - по ГОСТ 30970, дверных блоков из алюминиевых профилей - по ГОСТ 23747, дверных деревянных блоков - по ГОСТ 475.
Нагружение угла створки оконного блока, полотна дверей и ворот проводят в направлении открывания, перпендикулярно к первоначальному положению. Предварительно измеряют первоначальное положение угла створки, который будет подвергнут нагружению.
Нагрузку увеличивают равномерно и плавно со скоростью 300 Н в минуту или равномерно и ступенчато, без ударов, с интервалом 100 Н с точностью до 2 % в течение (120 ± 5) с. Контрольное значение нагрузки Р удерживают (300 ± 5) с (см. рисунок Б.4 приложения Б).
Для определения отклонения створки или полотна от первоначального положения измеряют штангенциркулем или индикатором часового типа с точностью не менее 0,5 мм перемещение створки или полотна под нагрузкой относительно первоначального положения в направлении действия нагрузки согласно рисунку Б.4 приложения Б.
В процессе нагружения наблюдают за состоянием испытуемого образца, затем нагрузку уменьшают до нуля.
Через 15 мин после снятия нагрузки по размерам диагоналей проверяют форму. Осматривают состояние образца.
Примечание - При испытании нагрузкой, возрастающей до предельного (разрушающего) значения, определяют значение нагрузки P1, вызвавшей разрушения или недопустимые изменения формы (отрыв, смещение или изгиб петель, разрушение стекла и др.), нарушающие функционирование изделия. Нагружение выполняют в соответствии с порядком, установленным в настоящем пункте.
Испытание до предельной нагрузки проводят при исследовательских испытаниях или по требованию заказчика.
8.2.3 Испытание образцов считают удовлетворительным, если под действием контрольного значения нагрузки Р в течение (300 ± 5) с в образцах не возникло разрушений, перемещение створки или полотна от первоначального положения не превысило 7 % ширины створки, полотна, изменения формы не превысили допустимых значений (по изменению диагоналей в соответствии с 7.4).
8.2.4 Испытания по определению остаточной деформации после приложения статической нагрузки, действующей перпендикулярно к плоскости полотна дверей, распашных ворот в зоне свободного угла в направлении открывания
При испытании дверное полотно должно быть расположено под углом (90° ± 5°) к плоскости коробки, установленной в вертикальном положении. Верхний угол дверного полотна со стороны установки замка должен быть зафиксирован в точке, расположенной на расстоянии (50 ± 5) мм от продольной и поперечной кромок.
Для устранения люфта в петлях к точке, расположенной в нижнем углу дверного полотна со стороны замка на расстоянии (50 ± 5) мм от продольной и поперечной кромок, перпендикулярно к дверному полотну прилагают предварительную нагрузку, составляющую (200 ± 4) Н, и удерживают ее в течение (60 ± 5) с. После этого снимают нагрузку и через (60 ± 5) с измеряют расположение нижнего угла дверного полотна с точностью до 0,1 мм (рисунок Б.5).
К данной точке прилагают статическую нагрузку Р и удерживают в течение (300 ± 5) с. Измеряют максимальную деформацию под нагрузкой с точностью до 0,1 мм. Затем снимают нагрузку и через (180 ± 5) с измеряют остаточную деформацию нижнего угла дверного полотна.
Для исключения динамических воздействий нагрузку необходимо прилагать и снимать постепенно с интервалом приложения нагрузки, не превышающим 100 Н, с погрешностью до 2 % и продолжительностью каждого интервала не менее 1 с, или с соответствующей постоянной скоростью приложения нагрузки.
После испытаний регистрируют деформацию под нагрузкой Р и остаточную деформацию дверного полотна, выраженную разницей в измерениях расположения нижнего угла дверного полотна до приложения нагрузки Р и через (180 ± 5) с после ее снятия.
8.3 Испытание створок окон, полотен дверей и ворот на сопротивление эксплуатационным динамическим нагрузкам
8.3.1 Сопротивление динамической нагрузке, действующей в сторону открывания створок окон, полотен дверей и ворот
8.3.1.1 Сущность метода заключается в создании эксплуатационной нагрузки, при которой створка (полотно) резко распахивается и ударяется об угол стены (откос), ограничитель открывания или дверной упор (см. рисунки В.1-В.3 приложения В).
8.3.1.2 Испытания проводят в следующем порядке:
- образец устанавливают в испытательный стенд. Коробку закрепляют неподвижно;
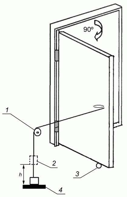
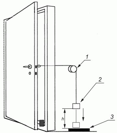
- в месте расположения ручки (створка находится в положении "Открыто") закрепляют один конец троса с помощью соединительного приспособления, другой конец соединяют с грузом (см. рисунок В.1 приложения В). Длину троса определяют из условия одновременного касания грузом основания и упора;
- створку закрывают до поднятия груза на заданную высоту, после чего створку (полотно) отпускают и не препятствуют свободному падению груза.
Падение груза прекращают на расстоянии 20 мм от основания (пола) с помощью резиновой прокладки. Испытание каждого образца проводят три раза.
8.3.1.3 После окончания испытания выявляют наличие и характер разрушений створок (полотен) и коробок, разрушений и изменений формы петель и других конструктивных элементов, проверяют функции открывания и закрывания.
Результат испытания признают положительным, если не выявлено отрыва петель, изделие не имеет разрушений и повреждений и сохранило свою работоспособность.
8.3.1.4 Испытание полотен дверей и ворот динамической нагрузкой в сторону открывания, при которой створка (полотно) ударяется об угол стены (откос) или дверной упор, проводят по аналогии с испытанием оконных блоков, при этом изменяют массу груза в соответствии с нормативными документами на конкретный вид дверей или ворот (см. рисунок В.2 приложения В).
8.3.2 Сопротивление динамической нагрузке, действующей в сторону закрывания створок окон, полотен дверей и ворот (рисунки В.4, В.5 приложения В)
8.3.2.1 Сущность метода заключается в создании эксплуатационной нагрузки, при которой при закрывании створки (полотна) между коробкой и створкой (полотном) попадает посторонний предмет на расстоянии 200 мм от вертикальной оси петли габаритными размерами, приведенными на рисунке В.4 приложения В.
8.3.2.2 Испытания проводят в следующем порядке:
- образец устанавливают в испытательный стенд. Коробку закрепляют неподвижно. Створка или полотно находится в положении "Открыто";
- в месте расположения ручки закрепляют один конец троса с помощью соединительного приспособления, другой конец троса соединяют с грузом. Падение груза прекращают на расстоянии 20 мм от основания (пола) с помощью резиновой прокладки. Длину троса определяют из условия одновременного касания грузом основания и упора. Испытание каждого образца проводят три раза.
8.3.2.3 После окончания испытания выявляют наличие и характер разрушений створки (полотна) и коробки, разрушений и изменений формы петель и других конструктивных элементов.
8.3.3 Сопротивление динамической нагрузке (удар мягким неупругим телом) полотен дверей, ворот и створок оконных блоков *
──────────────────────────────
*Испытания динамической нагрузкой створок оконных блоков проводят только для оконных защитных блоков по ГОСТ 31462.
──────────────────────────────
8.3.3.1 Сущность метода заключается в создании эксплуатационной динамической нагрузки действующей в сторону открывания (попытка выбивания полотна двери, ворот или створки защитного оконного блока, рисунки В.6, В.7 приложения В).
8.3.3.2 Испытания проводят в следующем порядке:
- образец устанавливают в испытательный стенд. Коробку закрепляют неподвижно. Места нанесения ударов для оконных створок определяют в соответствии с рисунком В.7 приложения В, для дверных полотен в соответствии с рисунком В.6 приложения В. Створка, полотно должны находиться в положении "Закрыто";
- мягкое неупругое тело (груз с песком массой 30 кг) подвешивают в соответствии с рисунками В.8, В.9 приложения В;
- отклоняя груз на заданную нормативным документом высоту падения для конкретных дверных и оконных блоков, освобождают съемный крюк и дают возможность грузу ударить в испытуемый образец. Число наносимых ударов - в соответствии с рисунками В.6, В.7 приложения В. Вместо мягкого неупругого тела [груза с песком массой (30,0 ± 0,1) кг] допускается применять груз с двойными шинами массой (50,0 ± 0,1) кг (см. рисунок В.10 приложения В).
Соотношение массы и высоты падения ударного тела в зависимости от вида ударного тела приведено в таблице 2.
|
Ударное тело |
Масса, кг |
Высота падения h, мм |
|
Груз с песком |
30,0 ± 0,1 |
800, 1000, 1200 |
|
Груз с двойными шинами |
50,0 ± 0,1 |
450, 550, 750 |
8.3.3.3 После испытаний по показателям, установленным в 8.3.3.2, испытуемый образец должен сохранять эксплуатационную пригодность. По окончании испытания выявляют наличие и характер разрушений створки (полотна) и коробки, разрушений и изменений формы петель и других конструктивных элементов, что делает образец непригодным для применения. По результатам испытаний определяют класс прочности дверных блоков в соответствии с ГОСТ 31173, для защитных оконных блоков - один из показателей взломоустойчивости по ГОСТ 31462.
8.3.3.4 Полотна подъемно-секционных, подъемно-вертикальных и подъемно-поворотных ворот должны выдерживать без разрушений нагрузку, возникающую при падении полотна ворот под собственной массой (например, на фундаментный бетонный блок размерами 300 x 300 x 300 мм) и рассчитываемую исходя из массы и наибольшей высоты падения полотна ворот.
8.4 Испытание на стойкость к удару твердым телом
8.4.1 Сущность метода заключается в определении в соответствии с ГОСТ 31173 остаточных деформаций и установлении повреждений полотна дверного блока от удара свободно падающим твердым телом (стальным шаром). Испытанию подвергают деревянные дверные блоки, а также изделия с отделкой из древесины, древесно-волокнистой плиты, натурального и синтетического шпона и т.д.
8.4.2 Испытания проводят в следующем порядке:
- образец устанавливают в горизонтальном положении в испытательный стенд. Коробку закрепляют неподвижно;
- обе поверхности полотна делят пополам и на каждой половине проводят по одной диагонали. Направления диагоналей на противоположных поверхностях полотен не должны совпадать (см. рисунок В.11 приложения В);
- на каждой поверхности полотна перед проведением испытания наносят по 20 точек. Для этого каждую диагональ делят на 11 частей. Точки располагают на расстоянии друг от друга, равном 0,1 длины диагонали, крайние точки на расстоянии, равном 0,05 длины от краев полотна;
- стальной шар массой 1 кг бросают один раз в каждую точку. Высота падения шара - 0,50; 0,80; 1,0 м. Отпечаток от удара измеряют через 5 мин после удара;
- проверяют визуально места удара после каждого падения шара, выявляя изменения поверхности полотна (остаточные деформации - вогнутости и повреждения). Для удобства обнаружения мест удара допускается накладывать на полотно в зонах падения шара копировальную бумагу. Остаточные деформации измеряют штангенглубиномером по ГОСТ 162:
- максимальный диаметр отпечатка - с точностью до 0,50 мм,
- максимальную глубину отпечатка - с точностью до 0,10 мм.
8.4.3 Значения остаточных деформаций сравнивают с допускаемыми значениями деформаций конкретных видов дверных блоков.
8.5 Испытание на соответствие эргономическим требованиям [определение усилия закрывания и открывания дверных полотен, оконных створок, усилия, прикладываемого к ручкам (прочность ручек оконных и дверных балконных блоков)]
8.5.1 Определение усилия закрывания створок окон, полотен дверей и ворот
8.5.1.1 Сущность метода заключается в определении усилия, необходимого для закрывания створки, полотна. Необходимое усилие определяют по свободному вхождению защелки замка в ответную планку двери и зацепов оконных блоков в ответные планки фурнитуры *.
──────────────────────────────
* Испытание проводят надверных и оконных блоках с установленными замками и уплотняющими прокладками.
──────────────────────────────
8.5.1.2 Испытания проводят в следующем порядке:
- образец устанавливают в испытательный стенд;
- открывают створку окна (дверное полотно). Все запирающие приборы (замки) должны находиться в положении "Открыто";
- створку (полотно) прикрывают так, чтобы расстояние от края коробки до края створки (полотна) было около 30,0 мм. Прикладывают нагрузку Р (см. рисунок Г.1 приложения Г). Допускается проводить испытание согласно рисунку Г.2 приложения Г, для чего к ручке прикрепляют шнур, перекидывают его через шкив, к другому концу прикрепляют груз массой 1 кг. При закрытой створке (закрытом полотне) груз должен находиться на расстоянии 20-30 мм выше уровня пола;
- створку (полотно) открывают так, чтобы груз поднялся на расстояние 200 мм над его первоначальным положением, после чего створку отпускают, позволяя ей под действием груза двигаться в направлении закрывания.
Испытание повторяют, применяя груз большей массы, пока не установят минимальную нагрузку, необходимую для закрывания створки (полотна).
8.5.1.3 Нагрузку считают достаточной, если она не превысила требований, установленных в нормативных документах на конкретный вид изделия.
8.5.2 Определение усилия открывания оконной створки, полотна дверей и ворот
Испытания проводят в порядке, описанном в 8.5.1.2, при этом оконная створка, полотно дверей и ворот должны находиться в положении "Закрыто" так, чтобы все запирающие приборы были убраны. Усилие прикладывают в сторону открывания.
8.5.3 Определение крутящего момента (момента силы), прикладываемого к ручкам оконных и дверных балконных блоков
8.5.3.1 Сущность метода заключается в определении максимального крутящего момента, необходимого для поворота ручки створки окна (ручки полотна дверного балконного блока) из положения "Закрыто" в положение "Открыто" и наоборот.
Крутящий момент создают динамометрическим ключом, фиксируя максимальные значения из положения "Закрыто" в положение "Открыто" и наоборот.
8.5.3.2 Испытания образцов считают удовлетворительными, если максимальные значения крутящего момента не превысили значений, установленных в нормативных документах (см. пункт 5.5.2 ГОСТ 30777).
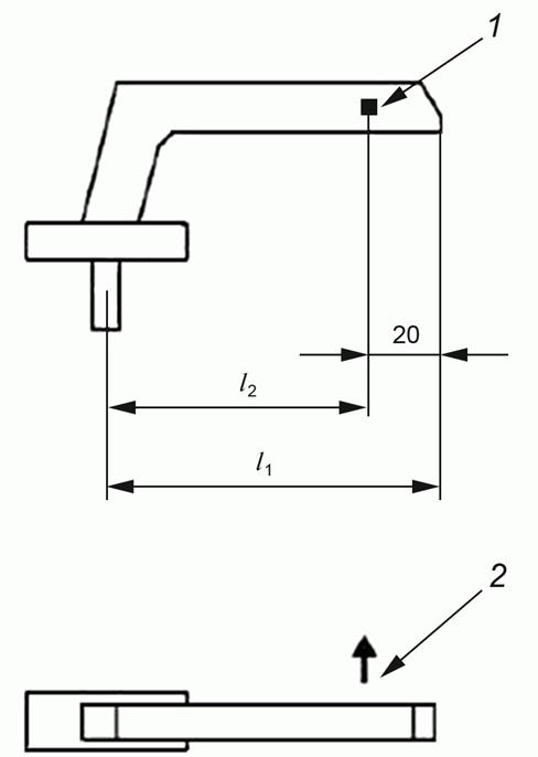
8.5.3.3 Прочность ручки базового комплекта поворотных и поворотно-откидных створок оконных блоков проверяют приложением статической нагрузки Р = 500 Н на расстоянии 100 мм от оси ручки перпендикулярно к плоскости вращения ручки в течение не менее 5 мин (рисунок Г.3 приложения Г).
8.5.3.4 Крутящий момент для ручек сдвижных и раздвижных оконных блоков длиной, отличающейся в сторону увеличения от длины ручек базового комплекта, рассчитывают по формуле M=[(h-20)·100], где h - длина ручки.
8.5.3.5 Крутящий момент (момент силы), прикладываемый к фалевым ручкам замков и защелок, устанавливаемых в полотна дверей, определяют по ГОСТ 19091.
8.5.3.6 Поворотные, откидные, поворотно-откидные устройства, применяемые в оконных и дверных балконных блоках, должны выдерживать крутящий момент М = 25 Н·м, приложенный к приводу в сторону закрывания в течение не менее 1 мин, при этом устройство должно находиться в положении "Закрыто" (см. пункт 5.4.7 ГОСТ 30777).
9.1 Сущность метода заключается в имитации эксплуатационных нагрузок на крепление несущих деталей [верхние петли (ножничные петли) и нижние петли]. Для обеспечения длительной эксплуатационной надежности, а также надежности обслуживания оконных и дверных балконных блоков в течение предполагаемого срока их эксплуатации следует уделять особое внимание креплению фурнитурных деталей.
9.2 Требования к прочности петель в зависимости от массы оконной створки и балконного дверного полотна установлены в ГОСТ 30777 (таблицы 2 и 3). Указанные таблицы устанавливают значения усилий, прилагаемых к ножничным (верхним) и нижним петлям. Данные усилия должны быть учтены при применении поворотных, откидных, поворотно-откидных устройств в изделиях.
9.3 Определение прочности крепления петель и ножничных опор к оконным и дверным балконным блокам
9.3.1 В таблицах Д.1 и Д.2 приложения Д установлены значения усилий, прикладываемых к ножничным (верхним) и нижним петлям в собранном состоянии. Данные усилия производитель оконных и дверных балконных блоков должен обеспечивать при использовании поворотной и поворотно-откидной фурнитуры своих изделий.
9.3.2 Подготовка испытуемых образцов
Для проведения испытаний образцы (часть оконного блока - рамы) изготовляют в соответствии с указаниями изготовителя оконных и дверных балконных блоков или в соответствии с конструкцией, определенной системодателем. Испытуемые образцы должны быть выбраны с учетом конструкции, например на основании наиболее неблагоприятного расположения крепления деталей петель на профиле рамы (все винты, часть винтов или ни один винт в креплении не соединены с усиливающими профилями).
Примечание - В зависимости от возможностей испытательного стенда испытания по определению прочности крепления петель допускается проводить на готовой оконной раме с соблюдением методов испытаний по 9.4 и 9.5.
Образцы для испытаний изготовляет производитель окон. Для этого должно быть предоставлено подробное описание испытуемого образца. На испытания должны быть представлены не менее пяти одинаковых образцов. При необходимости для определения усилия разрушения необходимо изготовить два дополнительных образца. Требования к нагрузкам приведены в таблицах Д.1 и Д.2 приложения Д.
9.4 Испытания по определению прочности крепления ножничной опоры (верхней петли) на фрагменте профиля
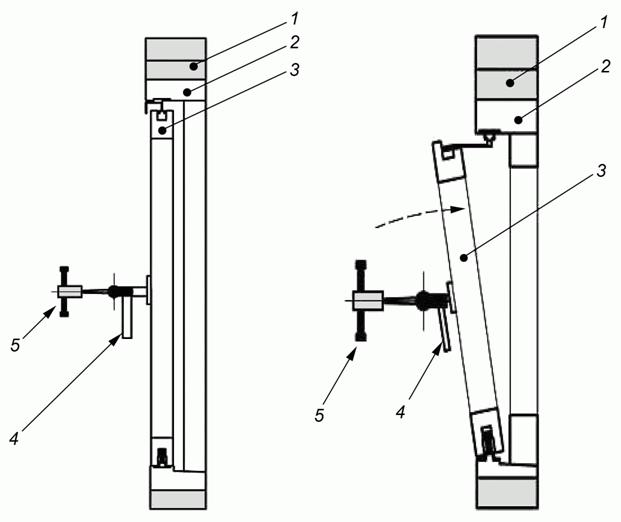
9.4.1 В связи с конструктивными особенностями размещения винтов допускается использовать фрагмент профиля (сегмент бруска) длиной около 300 мм. Внешние резьбовые соединения должны располагаться от обрезных кромок фрагмента профиля (сегмента бруска) на расстоянии не менее 50 мм.
Ножничную опору следует поместить в предусмотренном монтажном положении посередине фрагмента профиля.
9.4.2 Для приложения усилия растяжения испытуемый образец помещают в крепление, как показано на рисунках Д.1 и Д.4. Внутренняя сторона фрагмента профиля должна горизонтально прилегать к верхней поверхности крепежного угла. Концы углубления в крепежном угле должны быть на расстоянии не менее 10 мм от края ножничной опоры.
Примечание - В системах, открывающихся наружу, к верхней поверхности крепежного угла должна горизонтально прилегать наружная сторона фрагмента профиля.
9.5 Определение прочности крепления ножничной опоры (верхней петли) на уголке рамы
9.5.1 Если в связи с конструктивными особенностями размещение крепления петель предусмотрено в вертикальной и горизонтальной частях профиля (сегмента бруска) (например, в случае с опорными участками скрытых петель) или винты находятся в области углового рамного соединения (например, на деревянных окнах), то для испытания следует использовать уголок рамы.
Уголок рамы следует выбирать таким образом, чтобы винты (саморезы) ножничной опоры можно было завинтить целиком. Внешние резьбовые соединения должны располагаться на расстоянии не менее 50 мм от обрезных кромок уголка рамы.
9.5.2 Для приложения нагрузки при определении усилия растяжения испытуемый образец помещают в соответствующее крепление, как показано на рисунке Д.3. При этом внутренняя сторона уголка рамы горизонтально прилегает к верхним поверхностям испытательного стенда. Концы углубления в крепежном угле должны быть удалены от концов ножничной опоры не менее чем на 10 мм.
Примечание - В системах, открывающихся наружу, к верхним поверхностям крепежного угла горизонтально прилегает наружная сторона угла рамы.
9.6 Порядок проведения испытаний
В комбинации с ножничной опорой для приложения усилия применяют соответствующий раздвижной кронштейн.
Для предотвращения деформации раздвижного кронштейна или скручивания угловой петли необходимо принять меры, чтобы точка приложения усилия оставалась неизменной. При необходимости на двух испытуемых образцах проводят предварительное испытание для определения усилия растяжения.
Для проведения испытания отбирают пять одинаковых образцов.
Испытуемые образцы подвергают нагрузке со скоростью подачи 10 мм/мин до достижения предусмотренного усилия растяжения. Данное усилие выдерживают в течение 5 с. Затем нагрузку снимают.
9.7 Испытание прочности крепления нижней петли на угловой опоре
Указанные в таблице Д.1 значения усилия растяжения относятся к применяемым ножницам во взаимодействии с соответствующей ножничной опорой (верхней петлей). Для нижней петли отдельное подтверждение усилия сжатия согласно таблице Д.2 не требуется, если крепежная система угловой опоры технически сопоставима с системой ножничной опоры. Если системы не сопоставимы, необходимо отдельно подтвердить усилия сжатия для нижней петли в соответствии с заданными значениями усилия по таблице Д.2 и в соответствии со схемой, приведенной на рисунке Д.2.
9.8 Порядок проведения испытаний
Испытуемый образец из угла оконной рамы и оконной створки должен иметь длину полок 300 мм. Если должен быть установлен носитель нагрузки (например, стержень, действующий через соответствующую опору между оконной рамой и оконной створкой), то длина полки должна быть больше. В угол створки следует установить достаточно жесткую пластину (например, из древесно-композитного материала). Пластину устанавливают непосредственно на поверхность фальца (допускается отказаться от использования колодок для остекления). Крепление пластины осуществляется крепежными планками и/или винтами, которые ввинчиваются через раму оконной створки в пластину.
Для приложения сжимающего усилия испытуемый образец помещается в крепление, как показано на рисунке Д.2 приложения Д. При необходимости оконная рама может быть закреплена зажимами в креплении. Угол створки приводят в положение "Открыто" на 90°. Образец устанавливают в испытательный стенд (преимущественно в универсальную испытательную машину для испытаний на растяжение и сжатие) так, чтобы усилие прилагалось под углом 30° (при скрытых и полускрытых угловых опорах относительно нижнего угла створки, при лежащих сверху угловых опорах - относительно центра вращения). При ориентировании испытуемого образца следует следить за тем, чтобы оконная створка располагалась параллельно оконной раме и не образовывались точки касания. В этом положении полотно створки фиксируется на держателе образца испытательного стенда. Присоединение следует выполнить так, чтобы угол створки во время испытаний направлялся испытательным устройством. При необходимости крепление фиксируют на столе испытательного стенда.
При необходимости на двух испытуемых образцах проводят предварительное испытание для определения сжимающего усилия. Испытание проводят на пяти одинаковых образцах. Испытуемые образцы подвергают нагрузке со скоростью подачи 10 мм/мин до достижения предусмотренного сжимающего усилия, которое выдерживают в течение 5 с. Затем нагрузку снимают.
9.9 Оценка результатов испытания
В процессе испытания расчетное значение усилия растяжения следует поддерживать на каждом из пяти образцов. После снятия нагрузки результаты испытания должны подтвердить следующие параметры:
- ножничная опора не должна подниматься более чем на 2 мм во всех точках винтового соединения. Контрольной поверхностью считают недеформированную внутреннюю сторону фрагмента профиля/угла рамы;
- головки винтов не должны выступать над фрагментом профиля/углом рамы более чем на 2 мм;
- ни один винт/элемент крепежа не должен быть надорван или разрушен;
- головки винтов/элемента крепежа не должны быть втянуты в винтовое отверстие ножничной опоры;
- на ножничных опорах не должно быть трещин или других повреждений. Допускается легкая деформация;
- на фрагменте профиля/уголков рамы не должно быть трещин или других повреждений. Допускаются деформации, например конические вздутия, если все другие критерии отказа оценены положительно.
10.1 В общем случае сущность метода заключается в создании основных видов механического воздействия на защитные конструкции при их эксплуатации (статические нагрузки, динамические нагрузки, нагрузки при ручном взломе). В зависимости от результатов испытания защитные конструкции классифицируют на классы устойчивости к взлому.
10.2 Согласно нормам различные классы устойчивости к взлому должны соответствовать описанию квалификации взломщика (испытателя) (таблица Е.4 приложения Е) с применением соответствующего инструмента, продолжительности взлома, а также возможностям применения защитных изделий в конструкциях зданий.
В общем виде при испытаниях на взлом к образцу последовательно прикладывают следующие нагрузки:
- статические - 1-й этап;
- динамические - 2-й этап;
- "ручное" воздействие - 3-й этап.
Примечание - Принципиальным для конструкций с защитой от взлома считается, что общая цепь безопасности должна быть замкнута, т.е. примыкание к стене, устройство фальца, выбор подходящего замка и его крепление, выбор фурнитуры, профиля, армирования, крепежных элементов и остекления должны быть согласованы с требованиями защиты от взлома.
10.3 Испытания на взлом всех видов проводят на полностью закрытых (запертых) образцах и прикладывают нагрузку в сторону их открывания.
10.4 При испытаниях статической нагрузкой прикладывают усилия с помощью цилиндров давлением на элементы блокировки (ригеля), свободные углы створки или систему крепления стекла (заполнения). Относительный критерий испытания - соблюдение при нагружении граничных значений, приведенных в нормах, т.е. образовавшийся во время приложения усилия зазор между коробкой и створкой характеризуется значением, определяющим класс устойчивости к взлому при действии статической нагрузки.
10.5 При испытаниях динамической нагрузкой усилия прикладывают только со стороны взлома на наиболее слабые области образца: угол створки или стеклопакета и центр створки или стеклопакета. В качестве груза используют мешок с песком массой (30,0 ± 0,1) кг или сдвоенную шину массой (50,0 ± 0,1) кг и высоту падения, назначенную в зависимости от класса устойчивости защитных изделий. Допускается разрушение стеклопакета, но без образования сквозных отверстий. Створка должна остаться в закрытом положении (рисунок В.7 приложения В).
10.6 При ручном воздействии проводят взлом с помощью инструмента в течение определенного времени и с определенным набором инструмента с учетом квалификации взломщика (испытателя).
Испытание при ручном воздействии разделяют на предварительное и основное. В течение предварительного испытания испытатель должен найти слабое место конструкции. Основное испытание проводят в течение времени, установленного нормами.
Методы испытаний на устойчивость к взлому приведены в приложении Е и ГОСТ 31462 для защитных оконных блоков.
11.1 Результаты испытаний оформляют протоколом.
11.2 Протокол испытания должен включать в себя следующую информацию:
- наименование организации, проводившей испытания *;
──────────────────────────────
*При проведении испытаний для целей подтверждения соответствия протокол должен иметь информацию об аккредитации испытательной лаборатории.
──────────────────────────────
- основание для проведения испытаний;
- дата оформления протокола;
- наименование продукции;
- нормативный документ, на соответствие которому проводят испытание;
- производитель продукции;
- дата получения образцов;
- сведения об образцах;
- условия проведения испытаний;
- сведения об испытательном оборудовании и средствах измерений, используемых для испытаний (должны быть аттестованы и поверены в установленном порядке);
- методики испытаний образцов;
- результаты испытаний;
- заключение.
Приложение А
(рекомендуемое)
А.1 Примеры схем проведения испытаний на надежность (безотказность) окон, дверей, ворот приведены на рисунках А.1-А.3.
1 - вспомогательная рама (часть стенда); 2 - образец оконного блока; 3 - подвижная створка; 4 - ручка; 5 - привод для перемещения ручки и створки
Рисунок А.1 - Схема стенда для испытания на надежность (безотказность) поворотных, откидных и поворотно-откидных оконных и дверных балконных блоков
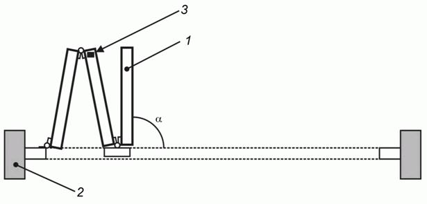
1 - длина перемещения; 2 - поворотная опора; 3 - вспомогательная рама; 4 - образец параллельно-складывающегося окна (для второй параллельно-складной створки); 5 - образец поворотной створки; 6 - соединение между поворотной и складной створками
Рисунок А.2 - Схема испытания на безотказность параллельно-раздвижных, параллельно-складных окон, дверей, ворот

1 - направляющая; 2 - полотно ворот; 3 - испытательный стенд
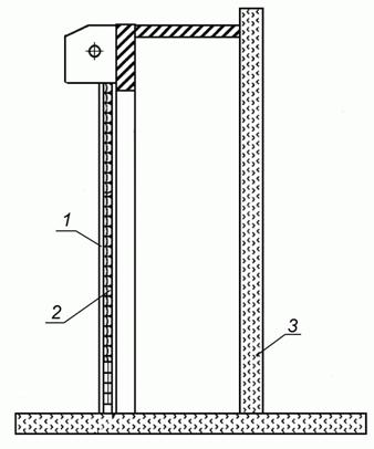
Рисунок А.3 - Схема испытания на безотказность роллетных рулонных ворот
Приложение Б
(обязательное)
Б.1 Схемы проведения испытаний по определению сопротивления статической нагрузке окон, дверей, ворот приведены на рисунках Б.1-Б.6.

Рисунок Б.1 - Схема испытания по определению сопротивления статической нагрузке, действующей в плоскости полотна дверных и воротных блоков

1 - створка; 2 - часть испытательного стенда; 3 - место приложения статической нагрузки; α = 90°
Рисунок Б.2 - Схема испытания по определению сопротивления статической нагрузке оконных блоков со сдвижными (раздвижными) складывающимися устройствами в плоскости створки (полотна)

1 - место приложения статической нагрузки; 2 - часть испытательного стенда; α = 90°
Рисунок Б.3 - Схема испытания окон со сдвижными (раздвижными) складывающимися устройствами в плоскости створки (полотна), повернутой на угол 90°

1 - петля; 2 - направление открывания; 3 - свободный угол полотна; 4 - замок
Рисунок Б.4 - Схема испытания по определению сопротивления статической нагрузке, действующей перпендикулярно к плоскости полотна закрытых дверей, распашных ворот в зоне петель, свободного угла в направлении открывания

Рисунок Б.5 - Схема испытания по определению остаточной деформации после приложения статической нагрузки, действующей перпендикулярно к плоскости полотна дверей, распашных ворот в зоне свободного угла в направлении открывания

1 - полотно; 2 - коробка; 3 - запорные элементы (места приложения статической нагрузки)
Рисунок Б.6 - Схема испытания по определению сопротивления статической нагрузке перпендикулярно к плоскости полотна дверных блоков, створки оконных и дверных балконных блоков
Приложение В
(обязательное)
В.1 Схемы приведены на рисунках В.1-В.10.

1 - откос; 2 - створка оконного блока; 3 - основание (пол)
Примечание - Падение груза массой 10,0 кг ± 0,5 % прекращают на расстоянии 20 мм от основания (например, с помощью резиновой прокладки). Длину троса определяют из условия одновременного касания грузом основания и створкой упора.
Рисунок В.1 - Схема испытания по определению сопротивления динамической нагрузке в сторону открывания створок оконных блоков с поворотными и поворотно-откидными устройствами на откосе без ограничителя поворота

1 - трос; 2 - груз в исходном состоянии; 3 - ограничитель угла открывания (упор); 4 - прокладка; h - высота падения груза (h = 450 мм); масса груза 20,0 кг ± 1 %, толщина прокладки 40 мм (материал - резина)
Рисунок В.2 - Схема испытания по определению сопротивления динамической нагрузке в сторону открывания дверных полотен (удар об ограничитель угла открывания)

h - высота падения груза (h = 200 мм); масса груза 20,0 кг ± 1 %
Рисунок В.3 - Схема испытания по определению сопротивления динамической нагрузке сдвижных оконных створок и дверных полотен (удар об ограничитель открывания)

1 - препятствие (посторонний предмет); 2 - створка оконного блока; 3 - основание (пол)
Примечание - Падение груза массой 10,0 кг ± 0,5 % прекращают на расстоянии 20 мм от основания (с помощью резиновой прокладки). Длину троса определяют из условия одновременного касания грузом резиновой прокладки и створкой препятствия (постороннего предмета).
Рисунок В.4 - Динамические испытания (посторонним предметом) с препятствием в сторону закрывания на фальце в оконных блоках с поворотными и поворотно-откидными устройствами

1 - шкив; 2 - груз; 3 - прокладка; h - высота падения груза (h = 450 мм), масса груза 20 кг ± 0,5 % (прокладка толщиной 40 мм, материал резина)
Рисунок В.5 - Схема испытания по определению сопротивления динамической нагрузке (посторонний предмет в притворе) при закрывании полотна

А - ширина полотна двери; В - высота полотна двери;
- однократное приложение динамической нагрузки;
- трехкратное приложение динамической нагрузки
Рисунок В.6 - Пример расположения точек нанесения ударов на однопольном дверном блоке

А - расстояние между точками приложения динамической нагрузки; если А ≤ 300 мм, то динамическую нагрузку прикладывают посередине между этими точками;
- однократное приложение динамической нагрузки;
- трехкратное приложение динамической нагрузки
Рисунок В.7 - Пример расположения точек нанесения ударов на одностворчатом оконном блоке

1 - прижим; 2 - запирающий прибор или ограничитель; 3 - гибкая нить; 4 - мягкое неупругое тело (груз с песком 30,0 ± 0,1 кг); 5 - съемный крюк; h - высота падения груза
Рисунок В.8 - Схема испытания по определению сопротивления динамической нагрузке (удар мягким телом в направлении открывания дверного полотна)

1 - испытуемый образец; 2 - мешок с песком [мягкое неупругое тело массой (30,0 ± 0,1) кг]; 3 - съемный крюк; L - высота маятника; h - высота падения маятника
Рисунок В.9 - Пример устройства для создания динамических нагрузок (удар мягким неупругим телом в направлении открывания створки защитного оконного блока)

1 - трос; 2 - съемный крюк; 3 - груз
Рисунок В.10 - Груз с двойными шинами массой (50,0 ± 0,1) кг

d - длина диагонали
Рисунок В.11 - Примеры расположения точек нацеливания для проведения испытания на удар твердым телом
Приложение Г
(обязательное)
Г.1 Схемы проведения испытаний по определению усилий открывания, закрывания окон, дверей, ворот и прочности ручек приведены на рисунках Г.1-Г.3.

Р - нагрузка
Рисунок Г.1 - Схема испытания по определению усилия открывания (закрывания) оконных створок, дверных и воротных полотен с помощью динамометра

Р - нагрузка
Рисунок Г.2 - Схема испытания по определению усилия открывания (закрывания) оконных створок, дверных и воротных полотен с помощью грузов

1 - место приложения силы; 2 - сила F (F = 100 Н); l1 - длина ручки; l2 - рабочая длина
Рисунок Г.3 - Схема испытания ручек на прочность
Приложение Д
(обязательное)
Д.1 Схемы проведения испытаний по определению прочности крепления петель на оконных и дверных балконных блоках из поливинилхлоридных и деревянных профилей приведены на рисунках Д.1-Д.4.

1 - ножничная опора (верхняя петля); 2 - фрагмент профиля рамы; F - усилие растяжения (значения приведены в таблице Д.1)
Рисунок Д.1 - Схема испытания ножничной опоры (верхней петли)
|
Максимальная масса створки m, кг |
Усилие растяжения F, Н |
Формулы для расчета усилия растяжения F |
|
50 |
1400 |
Для фурнитуры с максимально допустимой массой створок mF ≤ 130 кг усилие растяжения F, H, при котором необходимо проводить испытание, вычисляют по формуле
где mF - максимально допустимая масса створок, кг |
|
60 |
1650 | |
|
70 |
1900 | |
|
80 |
2200 | |
|
90 |
2450 | |
|
100 |
2710 | |
|
110 |
3000 | |
|
120 |
3250 | |
|
130 |
3525 | |
|
140 |
3900 |
Для фурнитуры с максимально допустимой массой створок mF более 150 кг усилие растяжения F, H, при котором необходимо проводить испытание, вычисляют по формуле
где mF - максимально допустимая масса створок, кг |
|
150 |
4200 | |
|
160 |
4450 | |
|
170 |
4710 | |
|
180 |
5000 | |
|
190 |
5300 | |
|
200 |
5550 | |
|
Примечание - Скорость приложения нагрузки (усилия растяжения F) 10 мм/мин. Угол приложения нагрузки 90° в направлении раскрытия верхней петли. | ||

F - усилие сжатия (значения приведены в таблице Д.2)
Рисунок Д.2 - Схема испытания по определению прочности крепления нижней петли на угловой опоре
|
Максимальная масса створки m, кг |
Усилие сжатия F, Н |
Формулы для расчета усилия сжатия F |
|
50 |
1450 |
При фурнитуре с максимально допустимой массой створок mF до 130 кг включительно усилие растяжения F, Н, при котором необходимо проводить испытание, вычисляют по формуле
где mF - максимально допустимая масса створок, кг |
|
60 |
1740 | |
|
70 |
2225 | |
|
80 |
2310 | |
|
90 |
2600 | |
|
100 |
2890 | |
|
110 |
3180 | |
|
120 |
3740 | |
|
130 |
3760 | |
|
140 |
4050 |
При фурнитуре с максимально допустимой массой створок mF более 150 кг, а также до 200 кг усилие растяжения F, Н, при котором необходимо проводить испытание, вычисляют по формуле
где mF - максимально допустимая масса створок, кг |
|
150 |
4340 | |
|
160 |
4620 | |
|
170 |
4910 | |
|
180 |
5200 | |
|
190 |
5490 | |
|
200 |
5780 | |
|
Примечание - Скорость приложения нагрузки (усилия сжатия F) 10 мм/мин. Угол приложения нагрузки 30° в направлении раскрытия нижней петли. | ||

Рисунок Д.3 - Схема испытания по определению прочности крепления ножничной опоры (скрытой верхней петли) на уголке рамы

Рисунок Д.4 - Схема испытания по определению прочности крепления ножничной опоры (накладной верхней петли) на фрагменте профиля длиной 300 мм
Приложение Е
(обязательное)
Е.1 Сущность методов
Е.1.1 Сущность методов заключается в определении значений статической нагрузки, динамической нагрузки и времени противостояния попыткам ручного взлома в целях несанкционированного проникновения взломщика в защищаемое помещение (или зону) с применением физической силы и использованием определенного инструмента. По совокупности этих значений определяют класс устойчивости к взлому.
Е.1.2 Испытания на устойчивость к взлому оконных блоков проводят в соответствии с ГОСТ 31462 и отдельными требованиями настоящего стандарта.
Е.2 Требования к оборудованию для испытаний дверей и ворот
Е.2.1 Испытательный стенд, аналогичный указанному в 4.1. Испытательный стенд должен обладать прочностью и жесткостью диагоналей, чтобы сила 20 кН, приложенная в любой точке рамы, не вызывала деформацию более 5 мм.
Е.2.2 Устройство для создания и измерения статических нагрузок (см. 8.1.2), передающее через специальное устройство - адаптер (см. рисунки Е.1-Е.3 приложения Е) статическую нагрузку на образец со стороны взлома (рисунок Б.5 приложения Б). Для проведения испытаний динамическими нагрузками используют тот же стенд, применяя неупругое мягкое тело (груша с песком или двойная шина (см. рисунки В.9, В.10 приложения В). Испытания проводят в соответствии с 8.1.4 и рисунком В.8 приложения В. Динамическую нагрузку прикладывают только со стороны взлома в углы створки, стеклопакета и в центр (см. рисунок В.6 приложения В).
Е.2.3 Измерительные приборы, аналогичные указанным в 4.3.
Е.3 Требования к образцам для испытаний
Е.3.1 Образцы для испытаний представляют собой готовый дверной блок или воротную конструкцию.
Е.3.2 Если на испытание представляется серия изделий различных размеров, испытательная лаборатория вправе выбрать образец для испытаний из типоразмерного ряда.
Е.3.3 Комплектация дверного блока должна соответствовать рекомендациям испытательной лаборатории, быть согласована с производителем изделий и оформлена заданием на проведение испытаний. Рекомендуется в качестве запирающих изделий использовать замки не ниже 3-го класса по ГОСТ 5089.
Примечание - При выборе замков с различными типами механизмов секретности, многоригельной системой запирания и т.д. необходимо помнить, что первые попытки вскрытия дверной конструкции начинаются с попытки вскрытия замка (замков) разрушающими и/или неразрушающими методами (способами) вскрытия. Поэтому выбор замка (замков) должен осуществляться из условий его соответствия ГОСТ 5089 с присвоением класса по всем параметрам: механической прочности, надежности, стойкости к вскрытию.
Е.3.4 При испытаниях остекления взломоустойчивых дверных (воротных) конструкций в качестве наружного стекла рекомендуется применять многослойное стекло по ГОСТ 30826 или закаленное стекло по ГОСТ 30698, или стеклопакеты по ГОСТ 24866.
В качестве дополнительной защиты от взлома допускается применять стекло с оптически прозрачной полиэтилентерефталатной пленкой и другие материалы по рекомендациям производителей стекла.
Примечание - При наличии документов, подтверждающих класс защиты стекла и стеклопакета, по согласованию с заказчиком допускается в процессе испытаний не прикладывать к стеклопакету (стеклу) разрушающих динамических нагрузок. Но при определении стойкости к статическим нагрузкам проверяют прочность установки стеклопакета (стекла) в изделии.
Е.3.5 Образцы для испытаний представляют вместе с конструкторской документацией, содержащей основные особенности конструкции, материала изготовления, габаритные размеры, сечения профилей, типы замка (замков), наличие участков, защищенных специальными защитными материалами, а также с рекомендациями по монтажу.
Для изделий класса устойчивости к взлому Д1 на испытания представляют один образец. Все испытания проводят на этом образце.
Для изделий классов устойчивости к взлому Д2-Д5 на испытания представляют два образца. Испытания статической и динамической нагрузками проводят на первом образце. Основное испытание на взлом вручную проводят на втором образце. По усмотрению изготовителя все испытания допускается проводить на отдельном образце.
При испытании изделий с несколькими состояниями закрывания и более чем одной стороной взлома (по заданию заказчика) требуется три образца.
Е.3.6 Изделия, поставленные на испытания, условно разделяют на группы:
- 1-я группа - изделия, имеющие прочную и устойчивую или глухую створку, открывание которой осуществляется поворотным устройством. К таким изделиям относятся поворотные, откидные, поворотно-откидные окна, двери, ворота;
- 2-я группа - изделия, имеющие прочную и устойчивую створку или неподвижный элемент для открывания раздвижением. К таким изделиям относятся раздвижные окна и двери;
- 3-я группа - изделия, имеющие створку или элемент для открывания, состоящий из некоторого количества подвижных элементов, при этом элементы могут двигаться относительно друг друга. К таким изделиям относятся сдвижные, параллельно-выдвижные, подъемные окна и двери.
Е.4 Порядок проведения испытаний
Е.4.1 Образец устанавливают в испытательный стенд. Все запорные приборы должны быть в положении "Закрыто". Испытания проводят поэтапно от неразрушающего к разрушающему методу.
Е.4.2 Определение стойкости к статическим нагрузкам. Этап 1
Е.4.2.1 Сущность метода изложена в 8.1. При испытаниях используют нагрузки, приведенные в таблице Е.1.
|
Класс устойчивости к взлому |
Нагрузка, кН |
Тип шаблона |
Значение смещения полотна, мм |
|
Д1 |
3 |
А |
10 |
|
Д2 |
6 |
А |
10 |
|
Д3 |
10 |
Б |
25 |
|
Д4 |
15 |
Б |
25 |
|
Д5 |
15 |
В |
50 |
|
Примечание - Стойкость к статическим нагрузкам для оконных блоков допускается определять по размеру смещения створки (полотна) (пункт 8.3.5.5 ГОСТ 31462) или для дверных блоков по размеру образовавшегося зазора, который измеряют по возможному входу калиброванных шаблонов (см. рисунок Е.4). | |||
Образец при испытании в соответствии с указанными в таблице Е.1 для соответствующего класса устойчивости к взлому не должен выходить из строя.
Адаптеры для передачи статической нагрузки на испытуемый образец приведены на рисунках Е.1-Е.3.

Рисунок Е.1 - Адаптер для приложения статической нагрузки к оконным и дверным блокам, воротам, на углы створок и стеклопакетов, точки запирания и между ними, импост (основной материал - алюминий, материал контакта - нитриловый каучук)

Рисунок Е.2 - Адаптер для приложения статической нагрузки при наличии выступающих частей (ручки, замки), (основной материал - алюминий, материал контакта - нитриловый каучук)

Рисунок Е.3 - Адаптер для приложения статической нагрузки к труднодоступным местам оконных и дверных блоков (основной материал - алюминий)
Е.4.2.2 Оценка результатов испытаний (изделие остается закрытым)
Образовавшийся зазор при приложении статической нагрузки характеризуется размером шаблонов (см. рисунок Е.4), определяющий класс устойчивости к взлому при действии статических нагрузок. Отказом считается, если соответствующий шаблон смог пройти через любое отверстие в образце при приложении статической нагрузки.

Рисунок Е.4 - Шаблоны
Е.4.3 Определение стойкости к динамическим нагрузкам. Этап 2
При определении стойкости к динамическим нагрузкам используется ударное тело, масса и высота падения которого указаны в таблице Е.2. Испытуемый образец должен выдержать нагрузки, соответствующие заявленному классу устойчивости к взлому. Центральная часть испытуемого образца и заполнения должны быть подвергнуты трем ударам, остальные точки воздействия - одному удару (рисунки В.7, В.8).
|
Класс устойчивости к взлому |
Масса ударного тела, кг |
Высота падения ударного тела, мм | ||
|
Сдвоенные шины |
Мешок с песком |
Сдвоенные шины |
Мешок с песком | |
|
Д1 |
50 |
30 |
450 |
800 |
|
Д2 |
50 |
30 |
500 |
1000 |
|
Д3 |
50 |
30 |
750 |
1200 |
|
Д4, Д5 |
Динамические испытания не требуются | |||
|
Примечание - Энергию удара w, Дж, рассчитывают по формуле W=2mgh(1-cosα)/2, где m - масса ударного тела (груза), кг; g - ускорение свободного падения, м/с2; h - высота падения груза, мм; α - угол отклонения груза, град. | ||||
Е.5 Определение стойкости к попытке ручного воздействия (взлома). Этап 3
Е.5.1 Сущность метода заключается в определении времени противостояния попыткам ручного взлома в целях несанкционированного проникновения взломщика в защищаемое помещение (или зону) с применением физической силы и использованием определенного инструмента.
Е.5.2 Подготовка и испытание образца
Образец должен быть установлен в испытательный стенд в соответствии с инструкцией или рекомендациями по монтажу производителя. Образец должен быть визуально осмотрен (исследован) на наличие повреждений, дефектов или несоответствий нормативным документам на данный вид продукции. Результат осмотра должен быть зарегистрирован, а производитель проинформирован о наличии повреждений, дефектов или несоответствий нормативным документам.
Испытуемый образец должен быть закрыт и заперт перед испытанием на все замки и дополнительные запоры в соответствии с инструкцией производителя.
Е.5.3 Испытательная группа
Испытательная группа должна включать в себя не менее двух человек. Одному члену группы поручают наблюдение, контроль и ответственность за испытания, другому - проведение испытаний (испытатель). Испытательная группа должна отметить все наблюдения при проведении испытаний.
Примечание - Испытание может выполнить любой член испытательной группы.
Е.5.4 Области (места) взлома:
- периметр створок полотен (отгибание, отжимание, выдавливание, попытка проникновения);
- отдельные элементы конструкции;
- открытые петли;
- замки и запирающие приборы;
- непрозрачное заполнение створок и полотен;
- прозрачное заполнение створок и полотен;
- любые другие области взлома.
Е.5.5 Сторона и высота взлома (нападения)
Взломщик (испытатель) должен определить сторону взлома, если заказчиком не определена сторона взлома (нападения). В этом случае все запорные приборы, которые могут быть открыты со стороны нападения без использования ключа или инструмента, должны быть в положении "Открыто" во время испытаний. Во время испытаний испытатель (при необходимости) для удобства может стоять на платформе высотой до 1,5 м. Платформа должна быть устойчивой, прочной и безопасной для испытателя.
Е.5.6 Подготовка к испытаниям
Образец подвергают предварительному визуальному осмотру, изучению в целях определения слабых, уязвимых мест конструкции без разбора ее частей.
Испытатель (взломщик) должен проверить каждое место взлома (область нападения). Взломщик может подготовить предварительный план эффективности своих действий.
Эффективность каждой единицы инструмента, имеющейся в соответствующем наборе инструмента, должна быть оценена на каждом этапе испытания. Последовательность применения комплекта инструмента - согласно таблице Е.5 приложения Е.
Е.5.7 Проведение испытания
Во время испытаний должны быть предприняты все попытки, чтобы открыть или взломать испытуемый образец через слабые, уязвимые места (области нападения), определенные во время осмотра (изучения) образца с использованием самого эффективного инструмента или набора инструмента, соответствующего классу устойчивости к взлому испытательного образца. Это должно быть сделано в течение времени сопротивления и полного испытательного времени для данного класса.
Время сопротивления и полное испытательное время должны быть измерены.
Во время испытаний испытатель должен выбрать любые инструменты или набор, соответствующий классу устойчивости образца, который будет испытан. Время сопротивления взлому включает в себя интервалы времени менее 5 с для замены инструмента, например замены отвертки на монтировку.
Е.5.8 Критерии оценки результатов
Образец, выдержавший испытания, должен противостоять попыткам ручного взлома максимальное время, определенное для конкретного класса устойчивости, с применением определенного набора инструмента и квалификации взломщика. Не прошедшим испытания считают образец, который удалось взломать, открыть, получить доступ в охраняемое помещение за время, меньшее чем определено для конкретного класса и, с определенным набором инструмента.
По окончании испытаний в зависимости от набора инструмента и времени воздействия испытателя (взломщика) на образец по таблице Е.3 определяют класс устойчивости к ручному взлому.
Таблица Е.3
|
Класс устойчивости к ручному взлому |
Набор инструмента |
Время сопротивления взлому, мин, не менее |
|
Д1 |
НИ1 |
3 |
|
Д2 |
НИ1+НИ2 |
5 |
|
Д3 |
НИ1+НИ2+НИ3 |
10 |
|
Д4 |
НИ1+НИ2+НИ3+НИ4 |
15 |
|
Д5 |
НИ1+НИ2+НИ3+НИ4+НИ5 |
20 |
Е.5.9 Схема последовательности проведения испытаний на устойчивость к ручному взлому приведена на рисунке Е.5.

Рисунок Е.5 - Схема последовательности проведения испытаний
После проведения испытаний проводят следующий анализ:
- по пункту 5 - наличие зазора и определение его размера по типу шаблонов, либо с помощью щупов. Сохранение целостности двери (дверь осталась закрытой, засовы замков не вышли из зацепления);
- по пункту 6 - после нанесения ударов замер деформации, возможность отрыва петель, полотна. Образование деформации, позволяющей применить такой инструмент, как лом, фомка для разрушения конструкции;
по пункту 7 - использование копра или другого разрушающего инструмента для вырезания отверстия для частичного доступа или до полной утраты функционального назначения.
Е.6 Классы устойчивости к ручному взлому
Классы устойчивости к взлому в зависимости от предполагаемого способа получения доступа и квалификации взломщика приведены в таблице Е.4.
|
Класс устойчивости к ручному взлому |
Предполагаемый способ получения доступа в зависимости от квалификации взломщика |
|
Д1 |
Попытки случайного взломщика проникнуть с помощью такого инструмента, как отвертка, клещи, клинья, небольшие ножовки для решеток и открытых петель. Злоумышленник обычно пытается воспользоваться удобным случаем, не имея информации об уровне стойкости конструкции, и связанными с этим затратами времени и создаваемым шумом. Как правило, он не имеет конкретной информации о предполагаемом вознаграждении и готов идти на низкую степень риска |
|
Д2 |
Попытки взломщика проникнуть с помощью монтировки, дополнительных отверток и ручного инструмента, как молоток, пробойник и механический инструмент для сверления. С помощью монтировки злоумышленник может развивать большее усилие воздействия, а с помощью инструмента для сверления - воздействовать на уязвимые места системы запирания. Злоумышленник обычно использует благоприятные возможности, имеет некоторое представление о вероятном уровне стойкости конструкции, может оценить время необходимое для взлома, и шум сопровождающий действия при взломе. Как правило, он не имеет конкретной информации о предполагаемом вознаграждении и готов к средней степени риска |
|
Д3 |
Кроме указанного выше инструмента опытный взломщик может применять кувалду, топор, зубила и аккумуляторную дрель. Этот инструмент значительно увеличивает число возможных способов взлома. Злоумышленник предполагает разумное вознаграждение, и, скорее всего, будет настойчивым в своих попытках проникновения. Он в меньшей степени озабочен производимым шумом и готов к высокому риску |
|
Д4 |
Опытный взломщик дополнительно может использовать электроинструмент, такой как дрель, лобзик, ножовочная пила и угловая шлифовальная машина с диаметром диска не более 125 мм. Использование угловой шлифовальной машины еще более расширяет спектр возможных способов взлома и дает возможность предположить, что попытка доступа будет успешной. Злоумышленник предполагает разумное вознаграждение, решителен в своих действиях и хорошо организован. Он не особо беспокоится по поводу производимого шума и готов к высокой степени риска |
|
Д5 |
Опытный взломщик использует дополнительно молот для дробления камней, мощный электроинструмент, такой как дрель, лобзик, ножовочная пила и угловая шлифовальная машина с диаметром диска не более 230 мм. Этот инструмент может использоваться одним оператором, имеет высокую производительность и потенциально очень эффективен. Злоумышленник рассчитывает на большое вознаграждение, настойчив в попытке получения доступа и очень хорошо организован. Он не беспокоится по поводу производимого шума и готов к высокой степени риска |
Е.7 Наборы инструмента, применяемого при испытаниях на ручной взлом
Е.7.1 Общие требования
Во время испытаний испытатель (взломщик) может выбрать любой инструмент или инструменты из набора в соответствии с классом устойчивости испытуемого образца.
Номинальная мощность инструмента с электрическим приводом, указанного в наборе, является необходимой входной мощностью.
Е.7.2 Набор инструмента НИ1 для изделий класса устойчивости к взлому Д1
Перед испытанием на статическую и динамическую нагрузку для подготовки испытуемого образца класса Д1 следует применять набор инструмента НИ1 по таблице Е.5.
Набор инструментов НИ1 следует также использовать в ходе предварительного и основного испытания вручную образцов класса Д2 и выше.
Резиновый молоток служит для защиты испытателя (взломщика), который может использовать молоток (вместо своей руки) для забивания клиньев или отверток. Резиновый молоток следует использовать только для забивания клиньев, отверток или стамесок в отверстия испытуемого образца. Резиновый молоток предназначен для имитации ударов рукой. Резиновый молоток не должен контактировать с испытуемым образцом.
В процессе забивания не допускается использовать какой-либо другой инструмент.
Пилы, бугельные пилы и ручные ножовки допускается использовать только для распила наружных петель или доступных запирающих элементов.
|
Количество, шт. |
Наименование инструмента |
Номер инструмента |
|
1 |
Многозахватные клещи, длина (250 ± 10) мм |
1.1 |
|
1 |
Отвертка, общая длина (365 ± 25) мм, диаметр стержня (16 ± 2) мм, ширина шлица (10 ± 1) мм |
1.2 |
|
1 |
Трубный ключ, длина (240 ± 20) мм |
2.2 |
|
1 |
Набор маленьких отверток, с разными формами шлица, диаметр стержня (6 ± 2) мм, общая длина не более 250 мм |
1.3 |
|
6 |
Ключи-шестигранники, максимальная длина 120 мм |
1.4 |
|
10 |
Гаечные ключи, максимальная длина 180 мм |
1.6 |
|
1 |
Универсальные пассатижи, максимальная длина 200 мм |
1.5 |
|
1 |
Пинцет |
1.7 |
|
1 |
Нож, максимальная длина лезвия 120 мм, максимальная толщина лезвия 3 мм |
1.8 |
|
1 |
Ножовка для резки труб, два полотна (биметаллическая или быстрорежущая металлическая пила), длина (310 ± 25) мм |
2.7 |
|
1 |
Ручная ножовка, два полотна (биметаллическая или быстрорежущая металлическая пила), размеры 300 х 13 х 0,65 мм |
2.5 |
|
1 |
Бугельная пила, два полотна (биметаллическая или быстрорежущая металлическая пила), длина (330 ± 25) мм |
2.6 |
|
2 |
Крючки |
1.10 |
|
1 |
Стальная проволока |
1.11 |
|
1 |
Липкая лента |
1.12 |
|
1 |
Веревка |
1.13 |
|
2 |
Пластмассовые клинья, длина (200 ± 25) мм, ширина (80 ± 10) мм, высота (40 ± 5) мм |
2.3 |
|
2 |
Деревянные клинья, длина 200+25 мм, ширина 80+10 мм, высота 40+5 мм |
2.4 |
|
1 |
Резиновый молоток, твердость по Шору (90 ± 10), масса: головка (100 ± 20) г, общая (145 ± 20) г, длина (260 ± 20) мм |
1.14 |
|
1 |
Универсальный ключ замка |
1.15 |
Е.7.3 Набор инструмента НИ2 для изделий класса устойчивости к взлому Д2
|
Количество шт. |
Дополнительно к НИ1 |
Номер инструмента |
|
1 |
Отвертка, длина (365 ± 25) мм, ширина шлица (16 ± 2) мм |
3.1 |
|
1 |
Монтировка-гвоздодер, длина (710 ± 10) мм |
3.2 |
|
1 |
Слесарный молоток, масса (200 ± 20) г, длина (300 ± 20) мм |
3.3 |
|
1 |
Набор цилиндрических пробойников |
3.4 |
|
1 |
Ручная дрель, длина (330 ± 25) мм |
3.5 |
|
1 |
Набор сверел, HSS или HS/CO, диаметр от 1,0 до 6 мм с шагом 0,5 мм |
3.6 |
Монтировку допускается использовать как рычаг. Прямой рычаг может быть погружен в образец, чтобы обеспечить отверстие для доступа или доступ к запирающим элементам.
Слесарный молоток допускается использовать только вместе с пробойниками или зубилом. Слесарный молоток не должен влиять на испытуемый образец непосредственно.
Е.7.4 Набор инструмента НИ3 для изделий класса устойчивости к взлому Д3
|
Количество шт. |
Дополнительно к НИ2 |
Номер инструмента |
|
1 |
Кувалда, длина (300 ± 25) мм, масса (1,25 ± 0,1) кг макс. |
4.2 |
|
1 |
Слесарное зубило, длина (250 ± 25) мм, ширина шлица (30 ± 5) мм |
4.3 |
|
1 |
Стамеска, длина (350 ± 25) мм, ширина шлица (30 ± 5) мм |
4.4 |
|
2 |
Ножницы для резки листового металла, лево- и правосторонние, длина (260 ± 25) мм |
4.5 |
|
1 |
Топор, длина (350 ± 25) мм, масса обуха (800 ± 30) г |
4.6 |
|
1 |
Болторез, длина (460 ± 50) мм |
4.7 |
|
1 |
Аккумуляторная дрель-шуруповерт без ударного действия, с двумя аккумуляторными батареями 14,4 В; 2,4 А-ч |
4.8 |
|
1 |
Набор сверел, HSS или HS/CO, диаметр от 1,0 до 13 мм с шагом 0,5 мм |
4.8.1 |
Е.7.5 Набор инструмента НИ4 для изделий класса устойчивости к взлому Д4
|
Количество шт. |
Дополнительно к НИ3 |
Номер инструмента |
|
1 |
Электродрель, номинальная мощность 650 Вт ± 10 %, с ударным действием |
5.1 |
|
1 |
Набор сверел, HSS или HS/CO, диаметр от 1,0 до 13 мм с шагом 0,5 мм |
5.1.1 |
|
1 |
Набор сверел, твердосплавная режущая пластина, диаметр от 3,0 до 13 мм с шагом 1,0 мм |
5.1.2 |
|
2 |
Коронка, HSS, HS/CO, карбид, максимальный диаметр 50 мм |
5.1.3 |
|
1 |
Электрическая ножовочная пила, номинальная мощность 1100 Вт ± 10 % |
5.2 |
|
3 |
Ножовочные полотна (биметаллические) |
5.2.1 |
|
1 |
Электрический лобзик, номинальная мощность 650 Вт ± 10 % |
5.3 |
|
3 |
Ножовочные полотна |
5.3.1 |
|
1 |
Ручная машина для шлифования под углом, номинальная мощность 1100 Вт ± 10 % |
4.4 |
|
3 |
Диски, номинальный диаметр 125 мм, толщина 2,5 мм (для стали или камня, кроме алмаза) |
4.4.1 |
Е.7.6 Набор инструмента НИ5 для изделий класса устойчивости к взлому Д5
|
Количество шт. |
Дополнительно к НИ4 |
Номер инструмента |
|
1 |
Электродрель, номинальная мощность 1050 Вт ± 10 %, с ударным действием |
6.1 |
|
1 |
Ручная машина для шлифования под углом, номинальная мощность 2300 Вт ± 10 %, максимальный диаметр диска 230 мм |
6.2 |
|
4 |
Диски, диаметр не более 230 мм, толщина 3,0 мм (для стали или камня, кроме алмаза) |
6.2.1 |
|
1 |
Молоток для дробления камня, длина (800 ± 50) мм, масса (3,5 ± 0,25) кг |
6.3 |
|
2 |
Стальные клинья, длина (200 ± 10) мм, ширина (80 ± 10) мм, высота (40 ± 5) мм |
6.4 |
Молоток для дробления камня должен использоваться для удара по образцу не более 20 раз.
,
,

