ГОСТ 24767-2018 ПРОФИЛИ ХОЛОДНОГНУТЫЕ ИЗ АЛЮМИНИЯ И АЛЮМИНИЕВЫХ СПЛАВОВ ДЛЯ ОГРАЖДАЮЩИХ СТРОИТЕЛЬНЫХ КОНСТРУКЦИЙ. ТЕХНИЧЕСКИЕ УСЛОВИЯ
Aluminium and aluminium alloys cold-formed sections for enclosing structures. Specifications
Предисловие
Цели, основные принципы и основной порядок проведения работ по межгосударственной стандартизации установлены в ГОСТ 1.0-2015 "Межгосударственная система стандартизации. Основные положения" и ГОСТ 1.2-2015 "Межгосударственная система стандартизации. Стандарты межгосударственные, правила и рекомендации по межгосударственной стандартизации. Правила разработки, принятия, обновления и отмены"
Сведения о стандарте
1 Разработан Закрытым акционерным обществом "Центральный ордена Трудового Красного Знамени научно-исследовательский и проектный институт строительных металлоконструкций им. Н.П. Мельникова" (ЗАО "ЦНИИПСК им. Мельникова")
2 Внесен Техническим комитетом по стандартизации ТК 465 "Строительство"
3 Принят Межгосударственным советом по стандартизации, метрологии и сертификации (протокол от 30 мая 2018 г. N 109-П)
За принятие проголосовали:
|
Краткое наименование страны по МК (ИСО 3166) 004-97 |
Код страны по МК (ИСО 3166) 004-97 |
Сокращенное наименование национального органа по стандартизации |
|
Армения |
AM |
Минэкономики Республики Армения |
|
Беларусь |
BY |
Госстандарт Республики Беларусь |
|
Киргизия |
KG |
Кыргызстандарт |
|
Россия |
RU |
Росстандарт |
4 Приказом Федерального агентства по техническому регулированию и метрологии от 2 ноября 2018 г. N 920-ст межгосударственный стандарт ГОСТ 24767-2018 введен в действие в качестве национального стандарта Российской Федерации с 1 мая 2019 г.
5 Взамен ГОСТ 24767-81
Настоящий стандарт распространяется на холодногнутые профили из алюминия и алюминиевых сплавов, изготовляемые на профилегибочных станах и предназначенные для ограждающих строительных конструкций.
В настоящем стандарте использованы ссылки на следующие межгосударственные стандарты:
ГОСТ 9.510-93 Единая система защиты от коррозии и старения. Полуфабрикаты из алюминия и алюминиевых сплавов. Общие требования к временной противокоррозионной защите, упаковке, транспортированию и хранению
ГОСТ 162-90 Штангенглубиномеры. Технические условия
ГОСТ 164-90 Штангенрейсмасы. Технические условия
ГОСТ 166-89 (ИСО 3599-76) Штангенциркули. Технические условия
ГОСТ 427-75 Линейки измерительные металлические. Технические условия
ГОСТ 3749-77 Угольники поверочные 90°. Технические условия
ГОСТ 7502-98 Рулетки измерительные металлические. Технические условия
ГОСТ 8026-92 Линейки поверочные. Технические условия
ГОСТ 13726-97 Ленты из алюминия и алюминиевых сплавов. Технические условия
ГОСТ 14192-96 Маркировка грузов
ГОСТ 15150-69 Машины, приборы и другие технические изделия. Исполнения для различных климатических районов. Категории, условия эксплуатации, хранения и транспортирования в части воздействия климатических факторов внешней среды
ГОСТ 21631-76 Листы из алюминия и алюминиевых сплавов. Технические условия
Примечание - При пользовании настоящим стандартом целесообразно проверить действие ссылочных стандартов в информационной системе общего пользования - на официальном сайте Федерального агентства по техническому регулированию и метрологии в сети Интернет или по ежегодному информационному указателю "Национальные стандарты", который опубликован по состоянию на 1 января текущего года, и по выпускам ежемесячного информационного указателя "Национальные стандарты" за текущий год. Если ссылочный стандарт заменен (изменен), то при пользовании настоящим стандартом следует руководствоваться заменяющим (измененным) стандартом. Если ссылочный стандарт отменен без замены, то положение, в котором дана ссылка на него, применяется в части, не затрагивающей эту ссылку.
В настоящем стандарте применены следующие термины с соответствующими определениями:
3.1 гофрированный листовой гнутый профиль проката: Листовой гнутый профиль проката с повторяющимися по всей ширине гофрами длиной, равной длине профиля.
3.2 стеновой профиль: Гофрированный профиль, образующий сплошные поверхности стен и перегородок, воспринимающий преимущественно ветровые нагрузки и передающий их на каркас зданий и сооружений.
3.3 перфорация: Отверстия по полкам или стенкам профиля, образованные в целях обеспечения специальных требований, включая звукоизоляцию.
4.1 По назначению профили подразделяются на типы:
А - для стен, перегородок и покрытий;
ПА - для обшивок трехслойных панелей;
СА - для подвесных потолков, нащельников, солнцезащитных устройств и других конструкций специального назначения.
4.2 Схема и пример условного обозначения профилей приведены в приложении А.
4.3 Форма сечений, размеры, площади сечений, масса 1 м длины и 1 м2, а также справочные значения профилей должны соответствовать указанным на рисунках 1-14 и в таблицах 1-14.
4.4 Профили должны быть изготовлены:
- мерной длины от 1,2 до 7,8 м - для профилей типа А;
- кратной (300 мм) мерной длины от 1,2 до 7,8 м - для профилей типов ПА и СА.
Длина профилей не должна превышать размеров, указанных в таблицах 1-14.
По соглашению сторон допускается поставка профилей немерной длины (не менее 1,0 м) в количестве не более 2 % массы поставляемой продукции.

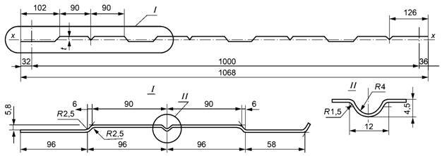
Рисунок 1 - Профили типа А высотой 6 мм
Таблица 1
|
Обозначение профиля |
t, мм |
Длина профиля, мм, не более |
Площадь сечения, см2 |
Масса, кг |
Справочное значение | ||
|
1 м длины профиля |
1 м2 |
Момент инерции на 1 м ширины профиля Iх, см4 |
Ширина заготовки, мм | ||||
|
А6-1000-0,8 |
0,8 |
7200 |
8,64 |
2,33 |
2,20 |
1,36 |
1080 |
|
А6-1000-1,0 |
1,0 |
10,80 |
2,92 |
2,74 |
1,72 | ||

Рисунок 2 - Профили типа А высотой 8 мм
Таблица 2
|
Обозначение профиля |
Длина профиля, мм, не более |
Площадь сечения, см2 |
Масса, кг |
Справочное значение | ||
|
1 м длины профиля |
1 м2 |
Момент инерции на 1 м ширины профиля Iх, см4 |
Ширина заготовки, мм | |||
|
А8-2700-1,0 |
1500 |
32,0 |
8,64 |
3,24 |
0,43 |
2992 |

Рисунок 3 - Профили типа А высотой 14 мм
Таблица 3
|
Обозначение профиля |
Размер сечения, мм |
n |
Длина профиля, мм, не более |
Площадь сечения, см2 |
Масса, кг |
Справочные значения | ||||||||
|
В |
B1 |
b |
b1 |
s |
s1 |
t |
1 м длины профиля |
1 м2 |
Момент инерции на 1 м ширины профиля, Iх, см4 |
Ширина заготовки, мм | ||||
|
А14-900-0,8 |
970 |
900 |
22,5 |
- |
50 |
0,8 |
18 |
2500 |
10,31 |
2,78 |
2,87 |
2,52 |
1200 | |
|
А14-900-1,0 |
1,0 |
12,88 |
3,48 |
3,59 |
3,09 | |||||||||
|
А14-1000-0,8 |
1090 |
1000 |
27,5 |
37,5 |
- |
100 |
0,8 |
10 |
10,11 |
2,73 |
2,50 |
1,83 | ||
|
А14-1000-1,0 |
1,0 |
12,64 |
3,41 |
3,13 |
2,26 | |||||||||
|
А14-1200-0,8 |
1340 |
1200 |
52,5 |
62,5 |
- |
0,8 |
12 |
10,27 |
2,77 |
2,07 |
1,79 |
1500 | ||
|
А14-1200-1,0 |
1,0 |
12,84 |
3,47 |
2,59 |
2,20 | |||||||||
|
А14-1800-0,8 |
1800 |
- |
37,5 |
100 |
- |
0,8 |
18 |
16,82 |
4,54 |
2,52 |
2,00 |
2000 | ||
|
А14-1800-1,0 |
1,0 |
21,02 |
5,68 |
3,16 |
2,46 | |||||||||
|
А14-2400-0,8 |
2400 |
- |
12,5 |
50 |
- |
0,8 |
48 |
1200 |
25,63 |
6,92 |
2,88 |
2,72 |
3000 | |
|
А14-2400-1,0 |
1,0 |
32,04 |
8,65 |
3,61 |
3,33 | |||||||||
|
А14-2700-0,8 |
2700 |
- |
37,5 |
100 |
- |
0,8 |
27 |
25,22 |
6,81 |
2,52 |
2,00 | |||
|
А14-2700-1,0 |
1,0 |
31,53 |
8,51 |
3,15 |
2,46 | |||||||||
|
А14-3600-0,8 |
3600 |
- |
37,5 |
100 |
- |
0,8 |
36 |
1500 |
33,62 |
9,08 |
2,52 |
2,00 |
4000 | |
|
А14-3600-1,0 |
1,0 |
42,03 |
11,35 |
3,15 |
2,46 | |||||||||

Примечание - Неуказанные радиусы - 1,5 мм.
Рисунок 4 - Профили типа А высотой 15 мм
Таблица 4
|
Обозначение профиля |
t, мм |
Длина профиля, мм, не более |
Площадь сечения, см2 |
Масса, кг |
Справочное значение | ||
|
1 м длины профиля |
1 м2 |
Момент инерции на 1 м ширины профиля Iх, см4 |
Ширина заготовки, мм | ||||
|
А15-750-0,8 |
0,8 |
6000 |
8,22 |
2,20 |
2,92 |
2,26 |
1028 |
|
А15-750-1,0 |
1,0 |
10,28 |
2,78 |
3,65 |
2,94 | ||

Примечание - Радиусы - 2 мм.
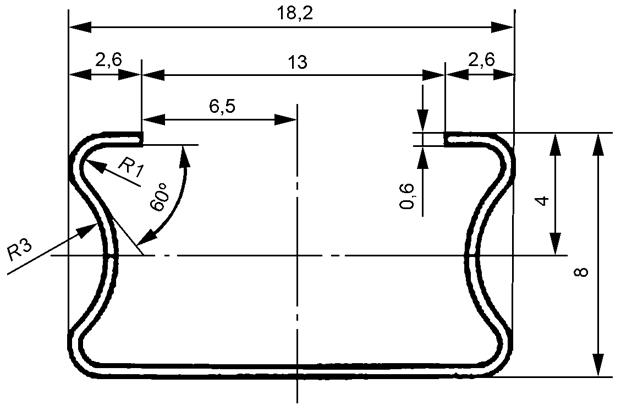
Рисунок 5 - Профили типа А высотой 28 мм
Таблица 5
|
Обозначение профиля |
t, мм |
Длина профиля, мм, не более |
Площадь сечения, см2 |
Масса, кг |
Справочное значение | ||
|
1 м длины профиля |
1 м2 |
Момент инерции на 1 м ширины профиля Iх, см4 |
Ширина заготовки, мм | ||||
|
А28-1200-0,8 |
0,8 |
6000 |
11,36 |
3,11 |
2,47 |
10,17 |
1440 |
|
А28-1200-1,0 |
1,0 |
14,20 |
3,89 |
3,09 |
12,72 | ||

Рисунок 6 - Профили типа А высотой 35 мм
Таблица 6
|
Обозначение профиля |
t, мм |
Длина профиля, мм, не более |
Площадь сечения, см2 |
Масса, кг |
Справочное значение | ||
|
1 м длины профиля |
1 м2 |
Момент инерции на 1 м ширины профиля Iх, см4 |
Ширина заготовки, мм | ||||
|
А35-1000-0,8 |
0,8 |
7000 |
9,93 |
2,68 |
2,53 |
8,24 |
1245 |
|
А35-1000-1,0 |
1,0 |
12,41 |
3,35 |
3,16 |
10,32 | ||

Примечание - Радиусы - не более 3 мм.
Рисунок 7 - Профили типа А высотой 50 мм
Таблица 7
|
Обозначение профиля |
t, мм |
Длина профиля, мм, не более |
Площадь сечения, см2 |
Масса, кг |
Справочное значение | ||
|
1 м длины профиля |
1 м2 |
Момент инерции на 1 м ширины профиля Iх, см4 |
Ширина заготовки, мм | ||||
|
А50-1000-0,8 |
0,8 |
7800 |
10,87 |
3,11 |
3,02 |
39,1 |
1440 |
|
А50-1000-1,0 |
1,0 |
13,60 |
3,89 |
3,78 |
48,8 | ||

Примечание - Радиусы - 2 мм.
Рисунок 8 - Профили типа ПА высотой 10 мм
Таблица 8
|
Обозначение профиля |
Длина профиля, мм, не более |
Площадь сечения, см2 |
Масса, кг |
Справочное значение | ||
|
1 м длины профиля |
1 м2 |
Момент инерции на 1 м ширины профиля Iх, см4 |
Ширина заготовки, мм | |||
|
ПА10-1000-1,0 |
7800 |
11,9 |
3,21 |
2,96 |
1,50 |
1200 |

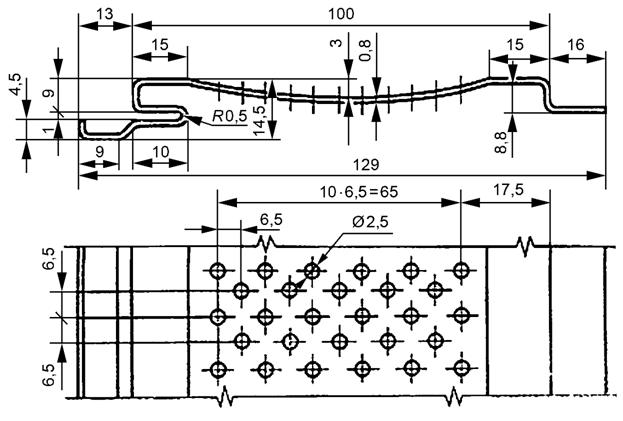
Рисунок 9 - Профили типа СА высотой 20 мм
Таблица 9
|
Обозначение профиля |
Длина профиля, мм, не более |
Площадь сечения, см2 |
Масса, кг |
Ширина заготовки, мм | |
|
1 м длины профиля |
1 м2 | ||||
|
СА 20-150-0,8 |
6000 |
1,248 |
0,337 |
2,247 |
208 |
|
СА 20-150-0,8п |
1,248 |
0,296 |
1,973 | ||

Рисунок 10 - Профили типа СА высотой 8 мм
Таблица 10
|
Обозначение профиля |
Длина профиля, мм, не более |
Площадь сечения, см2 |
Масса, кг |
Ширина заготовки, мм | |
|
1 м длины профиля |
1 м2 | ||||
|
СА8-13-0,6 |
3000 |
0,26 |
0,06 |
3,41 |
38 |

Примечание - Неуказанные радиусы - 2 мм.
Рисунок 11 - Профили типа СА высотой 11 мм
Таблица 11
|
Обозначение профиля |
t, мм |
Длина профиля, мм, не более |
Площадь сечения, см2 |
Масса, кг |
Ширина заготовки, мм | |
|
1 м длины профиля |
1 м2 | |||||
|
СА11-210-0,8 |
0,8 |
6000 |
2,05 |
0,55 |
2,52 |
256 |
|
СА11-210-1,0 |
1,0 |
2,56 |
0,69 |
3,15 | ||

Рисунок 12 - Профили типа СА высотой 15 мм
Таблица 12
|
Обозначение профиля |
Длина профиля, мм, не более |
Площадь сечения, см2 |
Масса, кг |
Ширина заготовки, мм | |
|
1 м длины профиля |
1 м2 | ||||
|
СА15-100-0,8 |
7800 |
1,30 |
0,35 |
2,71 |
163 |
|
СА15-100-0,8п |
1,30 |
0,34 |
2,57 | ||

Примечание - Неуказанные радиусы - не более 3 мм.
Рисунок 13 - Профили типа СА высотой 16 мм
Таблица 13
|
Обозначение профиля |
Размер сечения, мм |
n |
Длина профиля, мм, не более |
Площадь сечения, см2 |
Масса, кг |
Ширина заготовки, мм | ||||
|
В |
B1 |
b |
b1 |
1 м длины профиля |
1 м2 | |||||
|
СА16-72-0,6 |
84 |
72 |
- |
- |
- |
3000 |
0,71 |
0,19 |
2,26 |
117 |
|
СА16-72-0,6п |
62,4 |
10,8 |
12 |
0,16 |
1,90 | |||||
|
СА16-122-0,6 |
134 |
122 |
- |
- |
- |
1,01 |
0,27 |
2,02 |
167 | |
|
СА16-122-0,6п |
114,4 |
9,8 |
22 |
0,23 |
1,72 | |||||

Примечание - Неуказанные радиусы - 2 мм.
Рисунок 14 - Профили типа СА высотой 20 мм
Таблица 14
|
Обозначение профиля |
Длина профиля, мм, не более |
Площадь сечения, см2 |
Масса, кг |
Ширина заготовки, мм | |
|
1 м длины профиля |
1 м2 | ||||
|
СА20-280-0,8п |
6000 |
3,09 |
0,74 |
2,33 |
386 |
|
СА20-280-0,8 |
0,83 |
2,61 | |||
Профили должны изготовлять в соответствии с требованиями настоящего стандарта по рабочим чертежам, утвержденным в установленном порядке.
5.2.1 Профили должны изготовлять из алюминиевой ленты по ГОСТ 13726 или листов по ГОСТ 21631 из алюминия марки АД1 и из сплавов марок АМц, АМг2 толщиной 0,6; 0,8; 1,0 мм нормальной точности изготовления по толщине и обычной отделки поверхности.
5.2.2 Состояние поставки материала профилей для всех марок: без термической обработки, отожженные (М) и полунагартованные (Н2).
5.2.3 На поверхности профилей не допускаются:
- трещины, рванины, расслоения;
- риски глубиной, превышающей значение минусового отклонения на толщину профиля.
Остальные требования к качеству поверхности профилей - по ГОСТ 21631 и ГОСТ 13726.
5.2.4 По согласованию с изготовителем профили могут поставлять с защитными покрытиями в соответствии с нормативными документами 1), действующими на территории государства - участника Соглашения, принявшего настоящий стандарт.
──────────────────────────────
1) В Российской Федерации действует СП 28.13330.2017 "СНиП 2.03.11-85 Защита строительных конструкций от коррозии".
──────────────────────────────
5.3.1 Предельные отклонения размеров профилей от номинальных не должны превышать указанных в таблице 15.
Таблица 15
В миллиметрах
|
Параметр профиля |
Предельные отклонения профиля | |
|
высшей категории качества |
первой категории качества | |
|
Высота |
± 1,0 |
± 1,0 |
|
Ширина: | ||
|
не более 1000 |
+ 3,5 |
+ 3,5 |
|
св. 1000 |
± 5,0 |
± 5,0 |
|
Длина: | ||
|
не более 3000 |
± 6,0 |
± 8,0 |
|
св. 3000 |
± 8,0 |
± 10,0 |
Размеры, для которых предельные отклонения не установлены, на профилях не контролируют. Шаг, ширину, радиусы кривизны и глубину гофров контролируют при расточке валков.
5.3.2 Предельные отклонения по толщине профилей должны соответствовать предельным отклонениям по толщине исходной заготовки по ГОСТ 21631 и ГОСТ 13726. Предельные отклонения не распространяются на отклонения по толщине профиля в местах изгиба.
5.3.3 Волнистость кромок профилей не должна превышать 5 мм на 1 м длины профиля. В профилях со свободными боковыми кромками более 70 мм допускается волнистость с амплитудой 25 мм.
5.3.4 Допуск перпендикулярности кромок профилей не должен превышать 5,0 мм на ширину профиля. Для профилей высшей категории качества допуск перпендикулярности кромок не должен превышать 3,0 мм на ширину профиля.
5.3.5 На торцевых и боковых кромках профилей не допускается местное смятие глубиной более 3 мм.
В комплект поставки профилей должны входить:
- профили одного типоразмера и марки алюминиевого сплава;
- сопроводительная документация на отгружаемую продукцию.
5.5.1 Маркировку профилей выполняют по ГОСТ 14192.
5.5.2 Маркировку наносят на ярлык, который крепят к пакету или коробке. Маркировка должна содержать:
- наименование или товарный знак предприятия-изготовителя;
- условное обозначение профиля;
- длину и число профилей в пакете или коробке;
- массу пакета или коробки;
- номер пакета или коробки;
- штамп технического контроля предприятия-изготовителя.
5.6.1 Упаковку профилей выполняют по ГОСТ 9.510.
5.6.2 Профили упаковывают в пакеты. Пакетирование проводят по чертежам предприятия-изготовителя, утвержденным в установленном порядке. Упаковка пакетов должна обеспечивать сохранность профилей и защитного покрытия от механических повреждений.
Масса пакета не должна превышать 3000 кг.
Допускается профили типа СА упаковывать в коробки. Масса коробок с профилями не должна превышать 300 кг.
6.1 Технический контроль предприятия-изготовителя должен принимать профили партиями. Партией следует считать профили одного типоразмера, изготовленные в течение смены из одного вида заготовки, с одной установкой профилирующих валков, одинаковых марки сплава и состояния поставки металла.
6.2 Проверке внешнего вида подлежит каждый профиль.
6.3 Для контроля профилей на соответствие требованиями 5.3.1-5.3.5 отбирают 5 % профилей партии, но не менее 3 шт.
6.4 Партию считают принятой, если показатели качества профилей соответствуют требованиям настоящего стандарта.
6.5 При получении неудовлетворительных результатов контроля минимум по одному из показателей качества проводят повторный контроль по тому же показателю на удвоенном числе образцов, отобранных от той же партии.
Если при повторной проверке окажется хотя бы один профиль, не удовлетворяющий требованиям настоящего стандарта, то всю партию подвергают поштучной приемке.
6.6 Каждая партия отгружаемой продукции должна сопровождаться документом о качестве (сертификатом), который должен содержать следующие данные:
- наименование или товарный знак предприятия-изготовителя;
- наименование потребителя;
- номер заказа;
- условное обозначение профиля;
- вид и цвет защитного покрытия;
- число и номера пакетов или коробок с указанием массы каждого пакета или коробки;
- общую массу профилей в партии с указанием массы профилей немерной длины.
6.7 Потребитель имеет право проводить контрольную проверку соответствия профилей требованиям настоящего стандарта, соблюдая при этом приведенный порядок отбора профилей и применяя указанные методы контроля.
7.1 Качество поверхности профилей определяют визуально.
7.2 Контроль линейных размеров профилей проводят измерительным инструментом: рулеткой по ГОСТ 7502 2-го класса точности, металлической линейкой по ГОСТ 427, штангенрейсмасом по ГОСТ 164 и штангенциркулем по ГОСТ 166. Ширину и высоту профилей измеряют на расстоянии 500 мм от торцов профилей или по средней линии.
7.3 Волнистость профилей проверяют с помощью поверочной линейки по ГОСТ 8026 и штангенциркуля по ГОСТ 166 или штангенглубиномера по ГОСТ 162.
7.4 Допуск перпендикулярности и смятие кромок профилей проверяют угольником по ГОСТ 3749 и набором щупов по действующим нормативным документам или металлической линейкой по ГОСТ 427.
7.5 Качество и толщину защитного покрытия контролируют по нормативным документам 1), действующим на территории государства - участника Соглашения, принявшего настоящий стандарт.
──────────────────────────────
1) В Российской Федерации действует СП 72.13330.2016 "СНиП 3.04.03-85 Защита строительных конструкций и сооружений от коррозии".
──────────────────────────────
8.1 Транспортирование и хранение профилей проводят в соответствии с ГОСТ 9.510 и требованиями настоящего стандарта.
8.2 Условия транспортирования профилей при воздействии климатических факторов должны соответствовать группе Ж1, условия хранения - группе Ж3 по ГОСТ 15150.
Приложение А
(справочное)
Схема условных обозначений профилей приведена на рисунке А.1.

Рисунок А.1 - Схема условного обозначения профилей
Пример условного обозначения алюминиевого профиля типа СА высотой 20 мм, шириной 300 мм, толщиной листа 0,8 мм, имеющего перфорацию (п), из алюминиевой ленты сплава марки АМц, отожженной (М) по ГОСТ 13726-97:
![]()


