ГОСТ 22233-2018 ПРОФИЛИ ПРЕССОВАННЫЕ ИЗ АЛЮМИНИЕВЫХ СПЛАВОВ ДЛЯ ОГРАЖДАЮЩИХ КОНСТРУКЦИЙ. ТЕХНИЧЕСКИЕ УСЛОВИЯ
Aluminium alloy extruded sections for translucent envelopes. Specifications
МКС 77.150.10
Предисловие
Цели, основные принципы и основной порядок проведения работ по межгосударственной стандартизации установлены в ГОСТ 1.0-2015 "Межгосударственная система стандартизации. Основные положения" и ГОСТ 1.2-2015 "Межгосударственная система стандартизации. Стандарты межгосударственные, правила и рекомендации по межгосударственной стандартизации. Правила разработки, принятия, обновления и отмены"
Сведения о стандарте
1 Разработан Обществом с ограниченной ответственностью "Алюком" (ООО "Алюком")
2 Внесен Федеральным агентством по техническому регулированию и метрологии
3 Принят Межгосударственным советом по стандартизации, метрологии и сертификации (протокол от 27 июля 2018 г. N 110-П)
За принятие проголосовали:
|
Краткое наименование страны по МК (ИСО 3166) 004-97 |
Код страны по МК (ИСО 3166) 004-97 |
Сокращенное наименование национального органа по стандартизации |
|
Армения |
AM |
Минэкономики Республики Армения |
|
Беларусь |
BY |
Госстандарт Республики Беларусь |
|
Казахстан |
KZ |
Госстандарт Республики Казахстан |
|
Киргизия |
KG |
Кыргызстандарт |
|
Россия |
RU |
Росстандарт |
|
Узбекистан |
UZ |
Узстандарт |
4 Приказом Федерального агентства по техническому регулированию и метрологии от 14 сентября 2018 г. N 604-ст межгосударственный стандарт ГОСТ 22233-2018 введен в действие в качестве национального стандарта Российской Федерации с 1 сентября 2019 г.
5 Настоящий стандарт соответствует в части технических требований следующим европейским и международным стандартам:
EN 515:1993 "Алюминий и алюминиевые сплавы. Полуфабрикат. Обозначение состояния материала" ("Aluminium and aluminium alloys - Wrought products; temper designations", NEQ);
EN 573-3:2013 "Алюминий и алюминиевые сплавы. Химический состав и форма изготовленного продукта. Часть 3. Химический состав" ("Aluminium and aluminium alloys - Chemical composition and form of wrought products - Part 3: Chemical composition and form of products", NEQ);
EN 755-2:2016 "Алюминий и алюминиевые сплавы. Прессованные пруток, труба и профили. Часть 2. Механические свойства" ("Aluminium and aluminium alloys - Extruded rod/bar, tube and profiles - Part 2: Mechanical properties", NEQ);
EN 755-9:2016 "Алюминий и алюминиевые сплавы. Прессованные пруток, труба и профили. Часть 9. Допуски на размеры и форму" ("Aluminium and aluminium alloys - Extruded rod/bar, tube and profiles - Part 9: Profiles, tolerances on dimensions and form", NEQ);
EN ISO 1519:2011 "Лаки и краски. Метод определения прочности пленок при изгибе вокруг цилиндрического стержня" ("Paints and varnishes - Bend test (cylindrical mandrel)", NEQ);
EN ISO 2813:2014 "Лаки и краски. Определение блеска лакокрасочных покрытий без глянцевого эффекта под углом 20 градусов, 60 градусов и 85 градусов" ("Paints and varnishes - Determination of gloss value at 20 degrees, 60 degrees and 85 degrees", NEQ);
EN ISO 2815:2003 "Лаки и краски. Метод определения сопротивления вдавливанию по Бухгольцу" ("Paints and varnishes - Buchholz indentation test", NEQ);
EN ISO 7599:2010 "Анодирование алюминия и алюминиевых сплавов. Основные требования к анодно-окисным покрытиям" ("Anodizing of aluminium and its alloys - General specifications for anodic oxidation coatings on aluminium", NEQ);
EN ISO 9227:2012 "Испытания на коррозию в искусственной атмосфере. Испытания в соляном тумане" ("Corrosion tests in artificial atmospheres - Salt spray tests", NEQ);
EN 12020-2:2015 "Алюминий и алюминиевые сплавы. Прессованные прецизионные профили из алюминиевых сплавов EN AW-6060 и EN AW-6063. Часть 2. Допуски на размеры и форму" ("Aluminium and aluminium alloys - Extruded precision profiles in alloys EN AW-6060 and EN AW-6063 - Part 2: Tolerances on dimensions and form", NEQ);
EN 12206-1:2004 "Лаки и краски. Покрытия алюминия и алюминиевых сплавов для архитектурных профилей. Часть 1. Порошковые полимерные покрытия" ("Paints and varnishes - Coating of aluminium and aluminium alloys for architectural purposes - Part 1: Coatings prepared from coating powder", NEQ);
EN 14024:2004 "Металлические профили с термовставками. Механические характеристики. Требования, испытания и методики оценки" ("Metal profiles with thermal barrier - Mechanical performance - Requirements, proof and tests for assessment", NEQ)
6 Взамен ГОСТ 22233-2001
Настоящий стандарт распространяется на профили из алюминиевых сплавов АД31, 6060, 6063, изготовленные методом горячего прессования и предназначенные для применения в ограждающих конструкциях зданий и сооружений, в том числе светопрозрачных ограждающих конструкциях.
Требования настоящего стандарта распространяются на профили-полуфабрикаты и готовые профили, в т. ч. на комбинированные (далее - профили), с диаметром описанной окружности (для комбинированных профилей - с общим диаметром описанной окружности) до 350 мм включительно.
В настоящем стандарте использованы нормативные ссылки на следующие межгосударственные стандарты:
ГОСТ 9.031-74 Единая система защиты от коррозии и старения. Покрытия анодно-окисные полуфабрикатов из алюминия и его сплавов. Общие требования и методы контроля
ГОСТ 9.032-74 Единая система защиты от коррозии и старения. Покрытия лакокрасочные. Группы, технические требования и обозначения
ГОСТ 9.301-86 Единая система защиты от коррозии и старения. Покрытия металлические и неметаллические неорганические. Общие требования
ГОСТ 9.302-88 Единая система защиты от коррозии и старения. Покрытия металлические и неметаллические неорганические. Методы контроля
ГОСТ 9.308-85 Единая система защиты от коррозии и старения. Покрытия металлические и неметаллические неорганические. Методы ускоренных коррозионных испытаний
ГОСТ 9.410-88 Единая система защиты от коррозии и старения. Покрытия порошковые полимерные. Типовые технологические процессы
ГОСТ 9.510-93 Единая система защиты от коррозии и старения. Полуфабрикаты из алюминия и алюминиевых сплавов. Общие требования к временной противокоррозионной защите, упаковке, транспортированию и хранению
ГОСТ 166-89 Штангенциркули. Технические условия
ГОСТ 427-75 Линейки измерительные металлические. Технические условия
ГОСТ 515-77 Бумага упаковочная битумированная и дегтевая. Технические условия
ГОСТ 896-69 Материалы лакокрасочные. Фотоэлектрический метод определения блеска
ГОСТ 1497-84 Металлы. Методы испытания на растяжение
ГОСТ 2228-81 Бумага мешочная. Технические условия
ГОСТ 2912-79 Хрома окись техническая. Технические условия
ГОСТ 2991-85 Ящики дощатые неразборные для грузов массой до 500 кг. Общие технические условия
ГОСТ 3560-73 Лента стальная упаковочная. Технические условия
ГОСТ 3749-77 Угольники поверочные 90°. Технические условия
ГОСТ 4233-77 Реактивы. Натрий хлористый. Технические условия
ГОСТ 4461-77 Реактивы. Кислота азотная. Технические условия
ГОСТ 4765-73 Материалы лакокрасочные. Метод определения прочности при ударе
ГОСТ 4784-97 Алюминий и сплавы деформируемые. Марки
ГОСТ 5100-85 Сода кальцинированная техническая. Технические условия
ГОСТ 5959-80 Ящики из листовых древесных материалов неразборные для грузов массой до 200 кг. Общие технические условия
ГОСТ 6507-90 Микрометры. Технические условия
ГОСТ 6552-80 Реактивы. Кислота ортофосфорная. Технические условия
ГОСТ 6709-72 Вода дистиллированная. Технические условия
ГОСТ 6806-73 Материалы лакокрасочные. Метод определения эластичности пленки при изгибе
ГОСТ 7502-98 Рулетки измерительные металлические. Технические условия
ГОСТ 7727-81 Сплавы алюминиевые. Методы спектрального анализа
ГОСТ 8828-89 Бумага-основа и бумага двухслойная водонепроницаемая упаковочная. Технические условия
ГОСТ 8832-76 Материалы лакокрасочные. Методы получения лакокрасочного покрытия для испытаний
ГОСТ 9347-74 Картон прокладочный и уплотнительные прокладки из него. Технические условия
ГОСТ 9569-2006 Бумага парафинированная. Технические условия
ГОСТ 10198-91 Ящики деревянные для грузов массой св. 200 до 20 000 кг. Общие технические условия
ГОСТ 10354-82 Пленка полиэтиленовая. Технические условия
ГОСТ 10929-76 Реактивы. Водорода пероксид. Технические условия
ГОСТ 11701-84 Металлы. Методы испытаний на растяжение тонких листов и лент
ГОСТ 11739.1-90 Сплавы алюминиевые литейные и деформируемые. Методы определения оксида алюминия
ГОСТ 11739.6-99 Сплавы алюминиевые литейные и деформируемые. Методы определения железа
ГОСТ 11739.7-99 Сплавы алюминиевые литейные и деформируемые. Методы определения кремния
ГОСТ 11739.11-98 Сплавы алюминиевые литейные и деформируемые. Методы определения магния
ГОСТ 11739.12-98 Сплавы алюминиевые литейные и деформируемые. Методы определения марганца
ГОСТ 11739.13-98 Сплавы алюминиевые литейные и деформируемые. Методы определения меди
ГОСТ 11739.20-99 Сплавы алюминиевые литейные и деформируемые. Метод определения титана
ГОСТ 11739.21-90 Сплавы алюминиевые литейные и деформируемые. Методы определения хрома
ГОСТ 11739.24-98 Сплавы алюминиевые литейные и деформируемые. Методы определения цинка
ГОСТ 12082-82 Обрешетки дощатые для грузов массой до 500 кг. Общие технические условия
ГОСТ 13624-90 Профили прессованные прямоугольные отбортованного швеллерного сечения из алюминиевых и магниевых сплавов. Сортамент
ГОСТ 14192-96 Маркировка грузов
ГОСТ 15140-78 Материалы лакокрасочные. Методы определения адгезии
ГОСТ 16295-93 Бумага противокоррозионная. Технические условия
ГОСТ 16711-84 Основа парафинированной бумаги. Технические условия
ГОСТ 18477-79 Контейнеры универсальные. Типы, основные параметры и размеры
ГОСТ 19300-86 Средства измерений шероховатости поверхности профильным методом. Профилографы-профилометры контактные. Типы и основные параметры
ГОСТ 21631-76 Листы из алюминия и алюминиевых сплавов. Технические условия
ГОСТ 21650-76 Средства скрепления тарно-штучных грузов в транспортных пакетах. Общие требования
ГОСТ 22225-76 Контейнеры универсальные массой брутто 0, 625 и 1, 25 т. Технические условия
ГОСТ 23616-79 Система обеспечения точности геометрических параметров в строительстве. Контроль точности
ГОСТ 24047-80 Полуфабрикаты из цветных металлов и их сплавов. Отбор проб для испытания на растяжение
ГОСТ 24231-80 Цветные металлы и сплавы. Общие требования к отбору и подготовке проб для химического анализа
ГОСТ 24297-2013 Верификация закупленной продукции. Организация проведения и методы контроля
ГОСТ 24634-81 Ящики деревянные для продукции, поставляемой для экспорта. Общие технические условия
ГОСТ 25951-83 Пленка полиэтиленовая термоусадочная. Технические условия
ГОСТ 26877-2008 Металлопродукция. Методы измерения отклонений формы
ГОСТ 28840-90 Машины для испытания материалов на растяжение, сжатие и изгиб. Общие технические требования
ГОСТ 29309-92 Покрытия лакокрасочные. Определение прочности при растяжении
ГОСТ 29319-92 (ИСО 3668-76) Материалы лакокрасочные. Метод визуального сравнения цвета
ГОСТ 31014-2002 Профили полиамидные стеклонаполненные. Технические условия
Примечание - При пользовании настоящим стандартом целесообразно проверить действие ссылочных стандартов в информационной системе общего пользования - на официальном сайте Федерального агентства по техническому регулированию и метрологии в сети Интернет или по ежегодному информационному указателю "Национальные стандарты", который опубликован по состоянию на 1 января текущего года, и выпускам ежемесячного информационного указателя "Национальные стандарты" за текущий год. Если ссылочный стандарт заменен (изменен), то при пользовании настоящим стандартом следует руководствоваться заменяющим (измененным) стандартом. Если ссылочный стандарт отменен без замены, то положение, в котором дана ссылка на него, применяется в части, не затрагивающей эту ссылку.
В настоящем стандарте применены следующие термины с соответствующими определениями:
3.1 ограждающая конструкция: Конструкция, выполняющая функции ограждения или разделения объемов (помещений) здания.
3.2 светопрозрачная ограждающая конструкция: Конструкция, выполняющая функции ограждения, предназначенная для обеспечения естественного освещения внутренних помещений здания или сооружения.
3.3 профиль: Прессованное изделие с заданными размерами и формой поперечного сечения.
3.4 профиль без покрытия: Профиль, не имеющий защитно-декоративного покрытия.
3.5 профиль с покрытием: Профиль, имеющий защитно-декоративное покрытие.
3.6 сплошной профиль: Профиль, в поперечном сечении которого отсутствует полость.
Примечание - Пример поперечного сечения сплошного профиля приведен на рисунке 1.
3.7 полый профиль: Профиль, сечение которого включает одно или несколько внутренних полых пространств.
Примечание - Пример поперечного сечения полого профиля приведен на рисунке 2.
3.8 комбинированный профиль: Профиль, состоящий из сплошных и полых профилей любого сочетания, соединенных между собой термовставкой из материала с более низкой теплопроводностью.
Примечание - Пример поперечного сечения комбинированного профиля приведен на рисунке 3.
3.9 полка профиля: Элемент, не образующий замкнутого контура сечения профиля.
Примечание - Пример полки профиля приведен на рисунке 4.
3.10 стенка профиля: Элемент, участвующий в образовании замкнутого контура сечения профиля.
Примечание - Пример стенки профиля приведен на рисунке 4.
3.11 отклонение от плоскостности: Наибольшее расстояние от точек поверхности профиля до прилегающей горизонтальной или вертикальной плоскости.
3.12 отклонение от прямолинейности: Отклонение продольной оси или любой кромки профиля от прямой линии.
3.13 волнистость: Отклонение от плоскостности по длине профиля, имеющее характер периодически чередующихся гребней и впадин.
3.14 скручивание: Отклонение формы, характеризующееся поворотом поперечного сечения вокруг продольной оси изделия.
3.15 лицевая поверхность профиля: Поверхность профиля, установленная в конструкторской документации как поверхность, к которой предъявляют требования по показателям внешнего вида.
3.16 критические дефекты покрытия: Повреждения защитно-декоративного покрытия до металлической поверхности профиля-полуфабриката, возникшие в процессе изготовления, транспортирования или хранения готовых профилей (например, царапины, сколы, кратеры, проколы и т.п.), ухудшающие эксплуатационные характеристики профилей.
3.17 эстетические дефекты покрытия: Дефекты внешнего вида защитно-декоративного покрытия, возникшие в процессе изготовления, транспортирования или хранения профилей (например, потертости, посторонние включения, поры, царапины, потеки, шагрень, раковины, забоины, пятна, разнооттеночность, следы от зачистки профилей-полуфабрикатов, следы от инструмента вытравы, световые полосы и т.п.), не обнажающие металлическую поверхность профиля-полуфабриката и не ухудшающие эксплуатационные характеристики профилей.

Рисунок 1 - Сплошной профиль

Рисунок 2 - Полый профиль

1 - полый профиль; 2 - термоизолирующая камера, заполненная воздухом или теплоизоляционным материалом; 3 - термовставки; 4 - сплошной профиль
Рисунок 3 - Комбинированный профиль
4.1 Профили классифицируются:
- по виду поперечного сечения;
- состоянию материала;
- виду защитно-декоративного покрытия.
4.2 По виду поперечного сечения профили подразделяют на сплошные, полые и комбинированные. Комбинированные профили следует относить к полым (см. рисунок 3а) или сплошным (см. рисунок 3б) профилям в зависимости от вида поперечного сечения составляющих профилей.
4.3 По состоянию материала профили подразделяют:
- на закаленные и естественно состаренные - Т, Т4;
- закаленные от температуры прессования и искусственно состаренные - Т5;
- закаленные и искусственно состаренные - Т1, Т6;
- закаленные и искусственно состаренные до недостаренного состояния с повышенной пластичностью - Т64;
- закаленные и искусственно состаренные с повышенной прочностью - Т66.
4.4 Профили изготавливают с защитно-декоративным покрытием и без покрытия. Устанавливают следующие обозначения отсутствия покрытия или его наличия и вида:
- без покрытия - БП;
- анодно-окисное покрытие - Ан;
- жидкое лакокрасочное - Жл;
- порошковое полимерное - П;
- жидкое электрофорезное - Жэ;
- комплексное - К (двухслойное, состоящее из различных видов покрытий).
4.5 Условное обозначение профиля следует выполнять по схеме:

Примеры условного обозначения
1 Готовый профиль, обозначенный по чертежу СПЛ 01-001 из алюминиевого сплава марки АД31, закаленный и искусственно состаренный, с белым порошковым полимерным покрытием, артикул 9016 по цветовой шкале RAL, минимальной толщины 60 мкм:
.
2 Готовый профиль, обозначенный номером 441166 по ГОСТ 13624 из сплава 6063, закаленный и искусственно состаренный повышенной прочности, с анодно-окисным покрытием цвета бронза, артикул 32 по цветовой шкале RAH, минимальной толщины 20 мкм:
.
3 Профиль-полуфабрикат, обозначенный номером 441166 по ГОСТ 13624 из сплава 6060, закаленный и естественно состаренный, без покрытия:
.
5.1 Профили должны изготавливаться в соответствии с требованиями настоящего стандарта по технологической и конструкторской документации, утвержденной изготовителем.
Для размеров профилей, критически влияющих на функциональность готовых конструкций, могут быть установлены допуски более жесткие, чем приведены в данном стандарте. Рекомендуется такие допуски устанавливать в пределах 2/3 значений, приведенных в 5.2.2 и 5.2.3, но не менее 0, 3 мм.
5.2 Геометрические размеры и формы
5.2.1 Профили изготавливают фиксированной длины. Предельные отклонения фиксированной длины профиля должны соответствовать значениям, установленным в таблице 1.
Таблица 1
В миллиметрах
|
Диаметр описанной окружности |
Предельное отклонение фиксированной длины | |||
|
До 2000 включ. |
От 2000 до 5000 включ. |
От 5000 до 10 000 включ. |
От 10 000 | |
|
От 0 до 100 включ. |
+ 50 |
+ 70 |
+ 100 |
По согласованию с заказчиком |
|
Св. 100 до 200 включ. |
+ 70 |
+ 90 |
+ 120 | |
|
Св. 200 до 350 включ. |
+ 80 |
+ 110 |
+ 140 | |
Профили должны быть отрезаны под прямым углом. Косина реза не должна превышать половины значения, указанного в таблице 1.
5.2.2 Предельные отклонения номинальной толщины полок и стенок а, b (см. рисунок 4) профилей следует устанавливать не более значений, приведенных в таблице 2.
Таблица 2
В миллиметрах
|
Номинальная толщина стенки и полки |
Предельное отклонение номинальной толщины полок а и стенок b при диаметре описанной окружности профиля | ||||
|
а |
b | ||||
|
до 100 включ. |
от 100 до 350 включ. |
до 100 включ. |
от 100 до 350 включ. | ||
|
От 0 до 2 включ. |
± 0, 15 |
± 0, 20 |
± 0, 20 |
± 0, 30 | |
|
Св. 2 до 3 включ. |
± 0, 15 |
± 0, 25 |
± 0, 25 |
± 0, 40 | |
|
Св. 3 до 6 включ. |
± 0, 20 |
± 0, 30 |
± 0, 40 |
± 0, 60 | |
|
Св. 6 до 10 включ. |
± 0, 25 |
± 0, 35 |
± 0, 60 |
± 0, 80 | |
|
Св. 10 до 15 включ. |
± 0, 30 |
± 0, 40 |
± 0, 80 |
± 1, 0 | |
|
Св. 15 до 20 включ. |
± 0, 35 |
± 0, 45 |
± 1, 20 |
± 1, 50 | |
|
Св. 20 до 30 включ. |
± 0, 40 |
± 0, 50 |
* |
* | |
|
Св. 30 до 40 включ. |
± 0, 45 |
± 0, 60 |
* |
* | |
|
* Устанавливается по согласованию с заказчиком. Примечание - В комбинированных профилях предельные отклонения устанавливаются в отдельности для каждого профиля, составляющего комбинацию. | |||||

а - полка профиля; b - стенка профиля; е - полка профиля; h - расстояние между стенками профиля; h1 - расстояние между полками профиля
Рисунок 4
5.2.3 Предельные отклонения размеров поперечного сечения h и h1 (см. рисунок 4) следует устанавливать не более значений, указанных в таблице 3.
Таблица 3
В миллиметрах
|
Размер h и h1 |
Предельное отклонение размера h |
Предельное отклонение размера h1 при величине е | |
|
до 60 |
св. 60 до 120 включ.* | ||
|
От 0 до 10 включ. |
± 0, 15 |
± 0, 15 |
По согласованию с заказчиком |
|
Св. 10 до 15 включ. |
± 0, 20 |
± 0, 20 | |
|
Св. 15 до 30 включ. |
± 0, 25 |
± 0, 25 | |
|
Св. 30 до 45 включ. |
± 0, 30 |
± 0, 30 |
± 0, 45 |
|
Св. 45 до 60 включ. |
± 0, 40 |
± 0, 40 |
± 0, 55 |
|
Св. 60 до 90 включ. |
± 0, 45 |
± 0, 45 |
± 0, 65 |
|
Св. 90 до 120 включ. |
± 0, 60 |
± 0, 60 |
± 0, 8 |
|
Св. 120 до 150 включ. |
± 0, 80 |
± 0, 80 |
± 1, 00 |
|
Св. 150 до 180 включ. |
± 1, 00 |
± 1, 00 |
± 1, 30 |
|
Св. 180 до 240 включ. |
± 1, 20 |
± 1, 20 |
± 1, 50 |
|
Св. 240 до 300 включ. |
± 1, 50 |
± 1, 50 |
± 1, 80 |
|
Св. 300 до 350 включ. |
± 1, 80 |
± 1, 80 |
± 2, 10 |
|
* Предельные отклонения размеров поперечного сечения профилей с величиной е свыше 120 мм устанавливаются по согласованию с заказчиком. Примечание - За величину е принимается длина более короткой полки профиля с открытыми краями. | |||
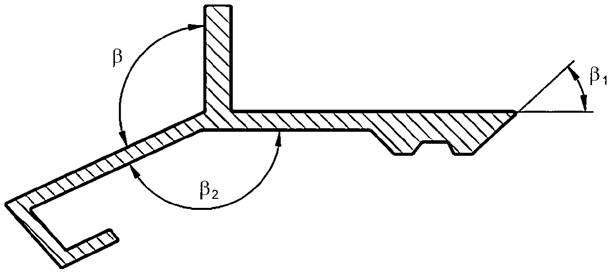
5.2.4 Предельные отклонения β, β1 и β2 непрямых углов поперечного сечения профилей (см. рисунок 5) от значений, установленных в конструкторской документации, не должны быть более ± 2, 0°.

Рисунок 5
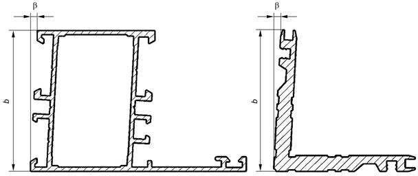
5.2.5 Максимальные отклонения угловых размеров поперечного сечения профилей (см. рисунок 6) от прямого угла не должны быть более приведенных в таблице 4.

Рисунок 6
Таблица 4
В миллиметрах
|
Длина стороны, b |
Максимальное отклонение от прямого угла, β |
|
От 0 до 30 включ. |
0, 30 |
|
Св. 30 до 50 включ. |
0, 40 |
|
Св. 50 до 80 включ. |
0, 50 |
|
Св. 80 до 100 включ. |
0, 60 |
|
Св. 100 до 120 включ. |
0, 70 |
|
Св. 120 до 140 включ. |
0, 80 |
|
Св. 140 до 160 включ. |
0, 90 |
|
Св. 160 до 180 включ. |
1, 00 |
|
Св. 180 до 200 включ. |
1, 20 |
|
Св. 200 до 250 включ. |
1, 50 |
Максимальное отклонение угловых размеров профиля при различной длине сторон принимают по стороне меньшей длины, при этом размер β измеряют от основания стороны с большей длиной.
5.2.6 Острые кромки должны быть закруглены, если иное не указано в конструкторской документации. Максимально допустимые радиусы закругления должны соответствовать значениям, указанным в таблице 5.
Таблица 5
В миллиметрах
|
Толщина стенки и полки |
Максимально допустимый радиус закругления кромки |
|
От 0 до 3 включ. |
0, 50 |
|
Св. 3 до 6 включ. |
0, 60 |
|
Св. 6 до 10 включ. |
0, 80 |
|
Св. 10 до 20 включ. |
1, 00 |
|
Св. 20 до 40 включ. |
1, 50 |
При различной толщине стенок профиля радиус закругления кромок следует устанавливать по наибольшей толщине стенки.
5.2.7 Отклонение k от плоскостности в поперечном сечении профиля в зависимости от величины b (см. рисунок 7) не должно быть более значений, указанных в таблице 6.

Рисунок 7
Таблица 6
В миллиметрах
|
Ширина, b |
Максимальное отклонение, k |
|
От 0 до 30 включ. |
0, 20 |
|
Св. 30 до 60 включ. |
0, 30 |
|
Св. 60 до 100 включ. |
0, 40 |
|
Св. 100 до 150 включ. |
0, 50 |
|
Св. 150 до 200 включ. |
0, 70 |
|
Св. 200 до 250 включ. |
0, 85 |
|
Св. 250 до 300 включ. |
1, 00 |
|
Св. 300 до 350 включ. |
1, 20 |
5.2.8 Предельное отклонение от прямолинейности Δ профиля по длине L (см. рисунок 8) не должно превышать значений, приведенных в таблице 7.

Рисунок 8
Таблица 7
В миллиметрах
|
Длина профиля, L |
До 1000 включ. |
От 1000 до 2000 включ. |
От 2000 до 3000 включ. |
От 3000 до 4000 включ. |
От 4000 до 5000 включ. |
От 5000 до 6000 включ. |
От 6000 |
|
Предельное отклонение от прямолинейности, Δ, не более |
0, 70 |
1, 30 |
1, 80 |
2, 20 |
2, 60 |
3, 00 |
3, 50 |
5.2.9 Допускается плавная волнистость профиля по длине с высотой волны не более 0, 3 мм и числом волн не более трех на 1 м длины профиля. Требования по волнистости не распространяются на профили, конечная форма которых придается роликовой формовкой или если в договоре на поставку заказчик не предъявляет указанное требование к профилю.
5.2.10 Скручивание профиля γ вдоль продольной оси (см. рисунок 9) не должно превышать значений, приведенных в таблице 8.

Рисунок 9
Таблица 8
В миллиметрах
|
Ширина b |
Скручивание γ для профилей длиной L | ||||||
|
до 1000 включ. |
от 1000 до 2000 включ. |
от 2000 до 3000 включ. |
от 3000 до 4000 включ. |
от 4000 до 5000 включ. |
от 5000 до 7000 включ. |
от 7000 | |
|
От 0 до 75 включ. |
1, 00 |
1, 20 |
1, 50 |
1, 80 |
2, 00 |
2, 00 |
Устанавливает изготовитель |
|
Св. 75 до 100 включ. |
1, 00 |
1, 20 |
1, 50 |
2, 00 |
2, 20 |
2, 50 | |
|
Св. 100 до 125 включ. |
1, 00 |
1, 50 |
1, 80 |
2, 20 |
2, 50 |
3, 00 | |
|
Св. 125 до 150 включ. |
1, 20 |
1, 50 |
1, 80 |
2, 20 |
2, 50 |
3, 00 | |
|
Св. 150 до 200 включ. |
1, 50 |
1, 80 |
2, 20 |
2, 60 |
3, 00 |
3, 50 | |
|
Св. 200 до 350 включ. |
1, 80 |
2, 50 |
3, 00 |
3, 50 |
4, 00 |
4, 50 | |
5.2.11 Непараллельность наружной и внутренней сопрягаемых поверхностей составных элементов комбинированного профиля должна быть не более 0, 5 мм (см. рисунок 10).
Перепад сопрягаемых поверхностей в комбинированном профиле, состоящем из наружного и внутреннего элементов, не должен превышать 0, 5 мм (см. рисунок 10). При этом в качестве базовой принимают поверхность с большей шириной.

Рисунок 10
5.3 Характеристики (свойства)
5.3.1 Механические показатели профилей при растяжении должны соответствовать значениям, указанным в таблице 9.
Таблица 9
|
Марка сплава |
Состояние материала1 |
Толщина стенки (полки)2, мм |
Значение показателей, не менее | ||
|
Временное сопротивление δВ, МПа |
Предел текучести δ0, 2, МПа |
Относительное удлинение, % | |||
|
АД31 |
Т |
Все размеры |
127 |
69 |
13 |
|
Т5 |
157 |
118 |
8 | ||
|
Т1 |
196 |
147 |
10 | ||
|
6060 |
Т4 |
До 25 включ. |
120 |
60 |
16 |
|
Т5 |
До 5 включ. |
160 |
120 |
8 | |
|
Св. 5 до 25 включ. |
140 |
100 |
8 | ||
|
Т6 |
До 3 включ. |
190 |
150 |
8 | |
|
Св. 3 до 25 включ. |
170 |
140 |
8 | ||
|
Т64 |
До 15 включ. |
180 |
120 |
12 | |
|
Т66 |
До 3 включ. |
215 |
160 |
8 | |
|
Св. 3 до 25 включ. |
195 |
150 |
8 | ||
|
6063 |
Т4 |
До 25 включ. |
130 |
65 |
14 |
|
Т5 |
До 3 включ. |
175 |
130 |
8 | |
|
Св. 3 до 25 включ. |
160 |
110 |
7 | ||
|
Т6 |
До 10 включ. |
215 |
170 |
8 | |
|
Св. 10 до 25 включ. |
195 |
160 |
8 | ||
|
Т64 |
До 15 включ. |
180 |
120 |
12 | |
|
Т66 |
До 10 включ. |
245 |
200 |
8 | |
|
Св. 10 до 25 включ. |
225 |
180 |
8 | ||
|
Примечания 1 На профилях, подвергаемых закалке, допускается сквозная рекристаллизация по всему сечению полки или стенки, если механические свойства вырезанных из них образцов соответствуют указанным в таблице. 2 При различных толщинах стенок (полок) одного сечения профиля значения показателей устанавливаются по наибольшей толщине стенки (полки). 3 Состояния для профилей из сплавов АД31, 6060, 6063 (Т; Т1; Т4; Т6; Т64; Т66) могут быть достигнуты путем ускоренного охлаждения профилей с температуры прессования без проведения отдельной операции закалки в печи. | |||||
5.3.2 На поверхности профиля-полуфабриката не должно быть следов расслоений, неметаллических и металлических включений, коррозионных пятен и раковин, кратеров.
На поверхности профиля-полуфабриката не допускаются механические повреждения, плены, пузыри величиной более 0, 07 мм, продольные следы от матрицы, задиры и налипы размером более 0, 03 мм, а также поперечные следы от матрицы, образующиеся при остановке пресса.
На лицевой поверхности профиля-полуфабриката, указываемой на его чертеже, не допускаются механические повреждения, плены, пузыри величиной более 0, 01 мм, продольные следы от матрицы глубиной более 0, 005 мм, а также поперечные следы от матрицы, образующиеся при остановке пресса.
Шероховатость лицевой поверхности профиля-полуфабриката, предназначенного для анодно-окисного покрытия, не должна быть более Ra 1, 6 мкм, для других видов покрытий - не более Ra 3, 2 мкм.
Шероховатость нелицевых поверхностей не должна быть более Ra 10, 0 мкм.
На поверхности профилей-полуфабрикатов перед нанесением порошкового полимерного покрытия допускается местная пологая зачистка, если при этом отклонения их геометрических размеров не превышают установленных предельных значений.
5.3.3 Комбинированные профили должны выдерживать испытания на несущую способность зон соединения при сдвиге и поперечном растяжении.
Несущая способность при сдвиге комбинированных профилей с многорядными термовставками (см. рисунок 3а), Н/мм длины образца, должна быть не менее:
- для готовых профилей - 24;
- профилей-полуфабрикатов - 40.
Несущая способность при поперечном растяжении таких профилей, как готовых, так и профилей-полуфабрикатов, должна быть не менее 80 Н/мм длины образца.
Для комбинированных профилей с однорядными термовставками (см. рисунок 3б) минимальная несущая способность при сдвиге и поперечном растяжении устанавливается вдвое меньше указанных выше значений.
Для готовых профилей, изготовленных способом запенивания без завальцовки, несущая способность при поперечном растяжении должна быть не менее 12 Н/мм длины образца.
Несущая способность при сдвиге комбинированных профилей, предназначенных для компенсации температурных деформаций в створочных конструкциях, должна устанавливаться в технической документации изготовителя.
5.3.4 Готовые профили должны иметь защитно-декоративное покрытие. Назначают следующие покрытия:
- анодно-окисные по ГОСТ 9.301;
- порошковые полимерные однослойные и многослойные по ГОСТ 9.410;
- жидкие лакокрасочные по ГОСТ 9.032;
- жидкие электрофорезные по технической документации изготовителя.
Качество лакокрасочного покрытия должно соответствовать III классу, порошково-полимерного покрытия - IV классу по ГОСТ 9.032.
На поверхности профилей с порошковым полимерным или анодно-окисным покрытием не допускаются любые критические дефекты. Допускается наличие эстетических дефектов, не видимых с расстояния, м:
- 2, 0 - для профилей, используемых во внутренних конструкциях;
- 3, 0 - для профилей, используемых в наружных конструкциях.
Требования к качеству электрофорезных покрытий устанавливаются в технической документации изготовителя покрытия.
5.3.5 Физико-механические показатели, толщина и химическая стойкость защитно-декоративных покрытий должны соответствовать требованиям, приведенным в таблице 10.
Таблица 10
|
Наименование показателя качества покрытия |
Значение показателя качества для покрытия | |||
|
анодно-окисного |
порошкового полимерного |
жидкого лакокрасочного |
жидкого электрофорезного | |
|
Цвет |
По согласованию с заказчиком в соответствии с утвержденными эталонами | |||
|
Блеск | ||||
|
Толщина покрытия, назначаемая в зависимости от климатического исполнения, мкм, не менее: | ||||
|
- для закрытых помещений |
15 |
50 |
30-50 |
25 |
|
- для атмосферных условий |
20 |
60 |
50-70 |
25 |
|
Адгезия, баллы, не более |
- |
1 | ||
|
Твердость по Бухгольцу (сопротивление вдавливанию), усл. ед., не менее |
- |
80 | ||
|
Эластичность при изгибе, мм, не более |
- |
5 |
5 и 10* |
5 |
|
Эластичность при растяжении, мм, не менее |
- |
5 |
3 |
5 |
|
Прочность при ударе, см, не менее: | ||||
|
- при толщине покрытия до 70 мкм |
- |
40 | ||
|
- при толщине покрытия св. 70 мкм и двухслойного комплексного |
- |
22 | ||
|
Качество степени наполнения анодно-окисного покрытия (метод потери массы), мг/дм2, не более |
30 |
- |
- |
- |
|
Коррозионная стойкость, ч: | ||||
|
- в нейтральном солевом тумане |
1000 |
1000 | ||
|
- по тесту МАХА |
- |
48 | ||
|
* Значения приведены для двухслойного комплексного покрытия и водорастворимых красок. | ||||
Допускается нанесение лакокрасочного и порошкового полимерного покрытия только на лицевую поверхность профиля. При этом другие поверхности профиля должны быть защищены от коррозии хроматным, фосфохроматным, анодно-окисным покрытием или иным видом предварительной химической обработки, удовлетворяющей требованиям коррозионной стойкости в соответствии с таблицей 10.
5.4 Требования к сырью и материалам
5.4.1 Для производства прессованных профилей применяют деформируемые алюминиевые сплавы системы алюминий-магний-кремний марок АД31, 6060, 6063 по ГОСТ 4784 и действующим нормативным документам.
5.4.2 В качестве конструктивного элемента комбинированных профилей применяют, как правило, полиамидные стеклонаполненные профили по ГОСТ 31014.
Для фасадных систем в комбинированных профилях допускается применение вставок из других материалов при условии обеспечения комбинированным профилем несущей способности при поперечном растяжении не менее 20 Н/мм длины образца, при этом прочность при поперечном растяжении определяют при температурах минус 40 °С, минус 20 °С, плюс 20 °С, плюс 80 °С.
5.4.3 Материалы, применяемые для анодно-окисного, лакокрасочного и полимерного покрытий профилей, должны удовлетворять требованиям действующей нормативной документации и обеспечивать получение защитно-декоративного покрытия с заданными техническими характеристиками.
По согласованию с заказчиком допускается применение других видов покрытий, не ухудшающих заданных характеристик и свойств профилей.
5.5 Комплектность
Профили должны поставляться комплектно. В общем случае, если иное не оговорено в договоре на поставку, к комплекту товаросопроводительной документации должен прилагаться документ изготовителя, свидетельствующий о качестве поставляемого профиля в соответствии с 6.15.
5.6 Маркировка
5.6.1 Каждое упаковочное место должно иметь маркировку, размещенную таким образом, чтобы обеспечивалась ее сохранность при транспортировании и хранении профилей, а также считываемость указанных в ней данных.
В общем случае маркировка должна содержать:
- условное обозначение профиля;
- число профилей;
- дату изготовления;
- заводской номер партии;
- наименование или товарный знак изготовителя;
- массу (нетто, брутто).
Допускается по усмотрению изготовителя увеличивать количество выходных данных, указываемых в маркировке.
5.6.2 Каждое грузовое место при поставке профилей в транспортной таре должно иметь транспортную маркировку по ГОСТ 14192.
5.7 Упаковка
5.7.1 В качестве средств пакетирования применяют:
- ящики дощатые по ГОСТ 2991, ГОСТ 5959, ГОСТ 9.510 (рисунок 3), ГОСТ 10198, ГОСТ 24634;
- контейнеры универсальные по ГОСТ 22225, ГОСТ 18477;
- обрешетки дощатые для грузов массой до 500 кг по ГОСТ 12082;
- мягкую тару из водостойкого картона для грузов массой до 200 кг по технической документации изготовителя;
- тару, изготовленную по технической документации изготовителя и согласованную в установленном порядке.
5.7.2 Для упаковки профилей используют бумагу мешочную марок В-70, В-78 и П по ГОСТ 2228, оберточную ОДП по ГОСТ 16711, двухслойную водонепроницаемую упаковочную по ГОСТ 8828, парафинированную по ГОСТ 9569, пленку полиэтиленовую толщиной 0, 1 или 0, 2 мм по ГОСТ 10354, пленку термоусадочную по ГОСТ 25951.
Допускается для упаковки профилей-полуфабрикатов использовать битумированную бумагу по ГОСТ 515 или противокоррозионную по ГОСТ 16295.
5.7.3 При укладке профили должны быть отделены друг от друга бумагой или пленкой в один слой.
Свободное пространство при укладке профилей в средства пакетирования должно быть заполнено жгутами из бумаги или картоном прокладочным по ГОСТ 9347.
5.7.4 Масса упаковочного места в мягкой таре должна быть не более 200 кг. При упаковке в ящик, контейнер или дощатую обрешетку масса не должна превышать 1000 кг.
5.7.5 Для обвязки грузовых мест применяют стальную ленту по ГОСТ 3560. Упаковку профилей и формирование грузового места следует проводить в соответствии с ГОСТ 9.510 (пункт 5.22). Средства скрепления грузов должны удовлетворять требованиям ГОСТ 21650.
5.7.6 По усмотрению изготовителя профилей могут применяться иные средства, отличные от указанных, в соответствии с технической документацией изготовителя, при условии обеспечения сохранности профилями заданных характеристик и свойств.
6.1 Профили должны быть приняты службой технического контроля изготовителя.
6.2 Профили принимают партиями. За партию профилей-полуфабрикатов принимают количество профилей одинаковой формы поперечного сечения, изготовленных из одной марки алюминиевого сплава, одного химического состава и одного состояния материала.
За партию готовых профилей принимают профили из одной или нескольких однотипных партий профилей-полуфабрикатов, на которые в течение смены нанесено покрытие одного типа и цвета.
6.3 Для проверки соответствия профилей требованиям настоящего стандарта проводят входной, операционный и приемочный контроль. Объем и порядок проведения входного и операционного контроля устанавливает изготовитель в технологической документации с учетом основных требований ГОСТ 24297. Приемочный контроль осуществляют путем проведения приемо-сдаточных и периодических испытаний.
План контроля, объем выборки при проведении приемо-сдаточных и периодических испытаний должны устанавливаться в технологической документации изготовителя и соответствовать требованиям ГОСТ 23616.
6.4 Приемо-сдаточные испытания осуществляют по следующим показателям:
- геометрические размеры и форма;
- предел текучести при растяжении, относительное удлинение и временное сопротивление при растяжении;
- состояние профилей-полуфабрикатов;
- несущая способность при сдвиге зон соединения комбинированного профиля;
- цвет, толщина, блеск, качество или класс покрытия, степень наполнения анодно-окисного покрытия;
- упаковка и маркировка.
6.5 При проведении приемо-сдаточных испытаний партия профилей подвергается выборочному или сплошному контролю. Контроль осуществляют по альтернативному признаку.
6.6 Выборочный контроль проводят по механическим показателям профилей, отклонениям от геометрических размеров и формы, несущей способности при сдвиге комбинированных профилей, состоянию поверхности профилей-полуфабрикатов, толщине защитно-декоративного покрытия.
6.7 Приемку партии профилей допускается проводить по результатам технологического и инструментального контроля в процессе производства.
6.8 При периодических испытаниях определяют:
- химический состав алюминиевого сплава - каждая произведенная плавка или каждая поставка слитков;
- несущую способность комбинированного профиля при поперечном растяжении - не реже одного раза в десять дней;
- прочность при ударе, твердость, эластичность и адгезию покрытий - для каждой партии поступившего в производство материала защитно-декоративного покрытия;
- коррозионную стойкость защитно-декоративного покрытия - не реже одного раза в год в нейтральном солевом тумане и не реже одного раза в квартал по тесту МАХА.
Испытаниям подвергаются профили, прошедшие приемо-сдаточные испытания и отобранные методом случайной выборки.
6.9 Контролю по физико-механическим показателям подвергаются два профиля от каждой партии методом случайного отбора, от которых с двух концов отрезают по одному образцу заданной длины.
6.10 Для определения толщины покрытия готового профиля от партии отбирают 2 % профилей, но не менее 3 шт.
6.11 Цвет, блеск и качество или класс защитно-декоративного покрытия, упаковку и маркировку профилей определяют при сплошном контроле на всей партии готовых профилей.
Для контроля химического состава сплава методом случайного отбора отбирают слитки или профили-полуфабрикаты в количестве, установленном изготовителем, но не менее 2 шт.
Допускается проводить контроль на пробах, поставляемых с партией слитков.
6.12 Для определения несущей способности при сдвиге и растяжении комбинированных профилей от партии методом случайного отбора отбирают три профиля.
6.13 Порядок оформления результатов контроля устанавливается в технологической документации изготовителя.
6.14 При поставке заказчику допускается формировать отгружаемую партию профилей из разных изготовленных и принятых изготовителем партий. В этом случае на поставляемую партию оформляется общий документ о качестве.
В общем случае документ о качестве должен содержать:
- наименование изготовителя и/или его товарный знак и адрес;
- наименование и адрес заказчика;
- номер и дату выдачи документа;
- условное обозначение профилей;
- номер заказа (партии);
- число упаковочных мест;
- число и массу отгружаемых профилей;
- полученные результаты приемо-сдаточных и периодических испытаний с заключением о состоянии материала. Допускается сведения о результатах испытаний указывать по альтернативному признаку фразой: "Профили соответствуют ГОСТ 22233-2017";
- знак соответствия (при наличии сертификата соответствия).
При экспортно-импортных поставках содержание документа о качестве устанавливают в договоре на поставку.
6.15 Потребитель имеет право проводить контрольную проверку соответствия профилей требованиям настоящего стандарта, соблюдая при этом установленные порядок отбора образцов и методы контроля.
7.1 Химический состав сплава определяют методом спектрального анализа в соответствии с ГОСТ 7727 или методами по ГОСТ 11739.1, ГОСТ 11739.6, ГОСТ 11739.7, ГОСТ 11739.11 - ГОСТ 11739.13, ГОСТ 11739.20, ГОСТ 11739.21, ГОСТ 11739.24.
От каждого отобранного слитка или профиля-полуфабриката вырезают по одному контрольному образцу размером, установленным изготовителем. Дальнейшую подготовку образцов для определения химического состава сплава проводят по ГОСТ 7727 или ГОСТ 24231.
7.2 Размеры поперечного сечения профилей определяют микрометром по ГОСТ 6507, штангенциркулем по ГОСТ 166, угломером по ГОСТ 3749, радиусомером или другим инструментом, обеспечивающим необходимую точность измерения.
Длину профилей измеряют рулеткой по ГОСТ 7502 или линейкой по ГОСТ 427.
7.3 Предельное отклонение от прямолинейности, непараллельность сторон сопрягаемых элементов и перепад сопрягаемых плоскостей комбинированного профиля, волнистость, отклонение от прямолинейности в плоскости поперечного сечения, скручивание профиля вдоль продольной оси, косину реза, отклонение угловых размеров определяют по ГОСТ 26877.
При контроле показателей отклонения от прямолинейности и скручивания профили укладывают на ровную поверхность таким образом, чтобы отклонения были минимизированы под воздействием массы профиля.
7.4 Для определения физико-механических показателей от выбранных профилей с любого конца в продольном направлении вырезают по одному образцу.
Механические свойства профилей определяют по ГОСТ 1497 или ГОСТ 11701 на образцах расчетной длины, определяемой по формуле
l0=5, 65√F0,
(1)
где l0 - начальная расчетная длина образца, мм;
F0 - начальная площадь поперечного сечения образца, мм2.
При невозможности изготовления стандартного образца испытания проводят на образцах, форму и размеры которых устанавливает изготовитель, при этом определяют только временное сопротивление при растяжении.
Отбор образцов для испытания на растяжение проводят по ГОСТ 24047.
7.5 Состояние поверхности профилей-полуфабрикатов определяют визуально. Глубину дефектов при необходимости определяют контрольной зачисткой или с помощью профилометра по ГОСТ 19300. Шероховатость поверхности определяют по ГОСТ 19300.
7.6 Испытания на несущую способность комбинированных профилей проводят на образцах заданной длины, вырезанных по одному с обоих концов отобранных профилей.
Несущую способность комбинированного профиля определяют по методике:
- при сдвиге - приведенной в приложении А;
- при поперечном растяжении - приведенной в приложении Б.
7.7 Класс жидкого лакокрасочного покрытия определяют по ГОСТ 9.032.
Контроль качества порошкового полимерного и анодно-окисного покрытий (наличие на поверхности дефектов) проводят визуально, без применения мерительных инструментов, путем осмотра поверхностей профилей невооруженным глазом, при необходимости с корректировкой зрения (линзы, очки), при нормальном освещении или искусственном освещении не менее 300 лк лампами накаливания и не менее 600 лк - люминесцентными лампами.
Качество жидких электрофорезных покрытий определяют по методикам, утвержденным изготовителем покрытия.
7.8 Измерение толщины защитно-декоративного покрытия должно проводиться любым неразрушающим методом по ГОСТ 9.302. Толщину покрытия измеряют не менее чем в пяти зонах, каждая из которых площадью не менее 1 см2, при этом в каждой зоне проводят не менее трех измерений. За результат принимают среднеарифметическое значение, полученное в каждой зоне, при этом если один из полученных результатов измерений толщины будет менее 80 % требуемой минимальной толщины, результат измерения считают неудовлетворительным.
7.9 Цвет защитно-декоративного покрытия определяют визуально по ГОСТ 29319 сравнением с образцом-эталоном, утвержденным в установленном порядке. Рекомендуется сравнение цвета проводить при искусственном освещении.
7.10 Блеск, адгезию, эластичность, твердость и прочность при ударе защитно-декоративного покрытия определяют на образцах-подложках из алюминиевых сплавов по ГОСТ 21631.
Нанесение лакокрасочного и порошкового материала на образец-подложку проводят в соответствии с установленной изготовителем технологией, электрофорезного - в соответствии с требованиями ГОСТ 8832.
7.11 Блеск измеряют по ГОСТ 896 с помощью блескомера по количеству отраженного светового потока, направленного под углом 60°. Допускается определение степени блеска визуально сравнением с утвержденным эталоном.
7.12 Прочность защитно-декоративного покрытия при ударе определяют методом обратного удара по ГОСТ 4765 при массе груза (1000 ± 1) г и диаметре бойка 15, 9 мм.
7.13 Эластичность защитно-декоративного покрытия при изгибе определяют по ГОСТ 6806. На поверхности не должно быть трещин или отслоений, видимых невооруженным глазом.
7.14 Твердость защитно-декоративного покрытия определяют методом Бухгольца по длине отпечатка, образующегося при приложении индентора прибора к покрытию, нанесенному на образец-подложку.
7.14.1 Средства контроля и вспомогательное оборудование:
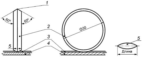
- прибор Бухгольца (см. рисунок 11) или аналогичный ему, состоящий из металлического корпуса, двух выступающих опор и индентора, снабженный микроскопом. Форма поперечного сечения и размеры индентора должны соответствовать указанным на рисунке 12;
- микроскоп типа МИР-2 или МИР-3, снабженный окуляром с градуировочной шкалой.

1 - индентор; 2 - опоры
Рисунок 11
7.14.2 Порядок подготовки и проведения испытания
Образец-подложку с нанесенным на него покрытием выдерживают в течение 16 ч при температуре (20 ± 2) °С и относительной влажности воздуха (65 ± 5) %.
Образец помещают покрытием вверх на твердую горизонтальную поверхность, на него устанавливают в горизонтальном положении прибор для вдавливания так, чтобы индентор соприкоснулся с покрытием. Индентор оставляют в таком положении (30 ± 1) с, затем осторожно снимают таким образом, чтобы сначала отрывался индентор, а затем опоры.

1 - острый край; 2 - индентор; 3 - покрытие; 4 - основание; 5 - форма отпечатка
Рисунок 12 - Схема проведения испытания
Источник света и микроскоп располагают таким образом, чтобы угол падения лучей на площадь вдавливания превышал 60°, как показано на рисунке 13.

1 - источник света; 2 - микроскоп; 3 - отпечаток индентора; 4 - покрытие; 5 - образец
Рисунок 13 - Расположение источника света и микроскопа при проведении испытаний
При этом микроскоп располагают вертикально под освещаемой площадью и фокусируют так, чтобы тень, образованная отпечатком от индентора (см. рисунок 14), и градуировочная шкала совпали.
Выполняют пять измерений на различных участках образца.

1 - длина тени
Рисунок 14 - Тень, образованная отпечатком от индентора
7.14.3 Обработка результатов испытаний
За результат испытания принимают среднеарифметическое значение пяти параллельных измерений, рассчитанное до второго знака после запятой. Сопротивление вдавливанию определяют по таблице 11.
Таблица 11
|
Минимальная толщина покрытия, мкм |
Длина отпечатка, мм |
Глубина отпечатка, мкм |
Сопротивление вдавливанию, усл. ед. |
|
15 |
0, 8 |
5 |
125, 0 |
|
20 |
0, 9 |
7 |
111, 1 |
|
20 |
1, 0 |
8 |
100, 0 |
|
20 |
1, 1 |
10 |
90, 9 |
|
25 |
1, 2 |
12 |
83, 3 |
|
25 |
1, 3 |
14 |
76, 9 |
|
30 |
1, 4 |
16 |
71, 4 |
|
30 |
1, 5 |
19 |
66, 7 |
|
35 |
1, 6 |
21 |
62, 5 |
|
35 |
1, 7 |
24 |
58, 8 |
|
40 |
1, 8 |
27 |
55, 6 |
|
40 |
1, 9 |
30 |
52, 6 |
|
45 |
2, 0 |
33 |
50, 0 |
7.15 Эластичность покрытия при растяжении определяют по ГОСТ 29309.
7.16 Адгезию покрытия определяют методом решетчатых надрезов по ГОСТ 15140.
7.17 Коррозионную стойкость защитно-декоративных покрытий к воздействию соляного тумана определяют по ГОСТ 9.308.
7.18 Коррозионную стойкость защитно-декоративных покрытий по тесту МАХА определяют на образцах-подложках, на которые наносят насечку крест-накрест толщиной 1 мм, прорезанную до металла. Готовят раствор с (3, 0-3, 3) рН, содержащий (50 ± 1) г/л хлорида натрия NaCl по ГОСТ 4233, (10 ± 1) мл/л уксусной кислоты СН3СООН по ГОСТ 61, (5 ± 1) мл/л 30 %-го раствора перекиси водорода по ГОСТ 10929. Полученный раствор нагревают до температуры (37 ± 1) °С и погружают в него образцы-подложки на 48 ч, поддерживая заданную температуру.
По истечении 24 ч добавляют еще 5 мл 30 %-ной перекиси водорода и восстанавливают рН в пределах от 3, 0 до 3, 3 с помощью холодной уксусной кислоты или каустической соды Na2CO3 по ГОСТ 5100.
Покрытие считают выдержавшим испытание, если глубина проникновения коррозии (отслаивание) не превышает 0, 5 мм по обе стороны насечки.
7.19 Качество степени наполнения анодно-окисного покрытия определяют по методикам, утвержденным в установленном порядке, или методом капли по ГОСТ 9.031.
В качестве поверочного (арбитражного) метода применяют метод потери массы при обработке в кислых растворах. Оценку степени наполнения анодно-окисного покрытия проводят на образцах анодированного изделия площадью 1 дм2 без учета площади торцов. На поверхность образца наносят маркировку с указанием порядкового номера образца и номера партии.
Непокрытые части поверхности образца защищают акриловым лаком АК-20 или аналогичным. Образец помещают в эксикатор на 20 мин, после чего взвешивают с точностью до 1 мг и определяют массу m1. Образец помещают в раствор азотной кислоты концентрацией 455 г/л по ГОСТ 4461 и выдерживают в течение 10 мин. После чего образец тщательно промывают дистиллированной водой по ГОСТ 6709 и высушивают. Затем образец помещают в раствор, содержащий 35 мл фосфорной кислоты по ГОСТ 6552 и 20 г оксида хрома Vl-валентного по ГОСТ 2912 в 1 л раствора, и выдерживают при температуре (38 ± 1) °С в течение 15 мин.
Образец извлекают из раствора, промывают тщательно сначала проточной, а затем дистиллированной водой, высушивают, охлаждают, помещают на 20 мин в эксикатор, затем взвешивают и определяют массу m2.
Потерю массы Δm, мг/дм2, определяют по формуле
,
(2)
где m1 - масса образца до испытания, мг;
m2 - масса образца после испытания, мг;
S - площадь поверхности образца, дм2.
Качество степени наполнения анодно-окисного покрытия считают удовлетворительным, если потеря массы образца не превышает 30 мг/дм2.
8.1 Профили транспортируют всеми видами крытого транспорта согласно правилам, установленным для каждого вида. При этом погрузка, разгрузка и условия транспортирования должны исключать возможность механического повреждения профилей и/или их упаковки.
8.2 Профили должны храниться в заводской упаковке в условиях, исключающих механические повреждения их упаковки, воздействие агрессивных сред, попадание атмосферных осадков и почвенной влаги.
Предприятие-изготовитель гарантирует соответствие профилей требованиям настоящего стандарта при соблюдении потребителем условий транспортирования, хранения и области применения, установленных в стандарте.
Гарантийный срок - 12 мес. со дня отгрузки профилей потребителю.
Приложение А
(обязательное)
Сущность метода заключается в определении усилия, при котором наблюдается смещение термовставки вдоль одного из алюминиевых элементов комбинированного профиля.
Требования настоящего метода распространяются на комбинированные профили с защитно-декоративным покрытием и без него (профили-полуфабрикаты).
А.1 Средства контроля и вспомогательное оборудование
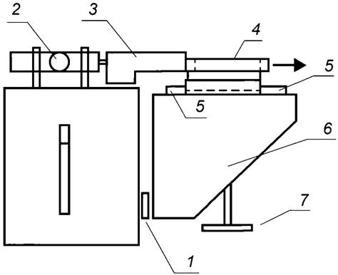
Прибор для испытания на устойчивость к сдвигу комбинированного профиля, схема которого приведена на рисунке А.1, или машина разрывная универсальная по ГОСТ 28840 с силоизмерительным устройством.
Приспособления для жесткой фиксации образцов в разрывной универсальной машине.

1 - устройство возврата в исходное положение; 2 - силоизмерительное устройство со стрелкой или цифровым индикатором; 3 - суппорт; 4 - образец; 5 - зажимы; 6 - стол; 7 - устройство регулировки высоты рабочей плоскости стола
Рисунок А.1
А.2 Порядок подготовки к проведению испытания
Для определения несущей способности комбинированного профиля по показателю устойчивости к сдвигу при приложении кратковременной сдвигающей нагрузки от контролируемой партии отбирают три профиля одинакового сечения. От края каждого профиля отрезают строго перпендикулярно продольной оси профиля по одному образцу длиной (100 ± 1) мм. Испытания проводят при температуре (20 ± 3) °С и относительной влажности воздуха (60 ± 5) %.
Определение несущей способности комбинированных профилей на приборе для испытания на устойчивость к сдвигу проводят по схеме А, в разрывной машине - по схеме Б (см. рисунок А.2).

1 - суппорт; 2 - образец; 3 - упор; 4 - стол; 5 - жесткая опора; 6 - силоизмерительное устройство
Рисунок А.2 - Схема приложения сдвигающей нагрузки
А.3 Проведение испытания
Образец помещают на стол между упорами при испытании по схеме А или жестко фиксируют в универсальных приспособлениях разрывной машины при испытании по схеме Б. Образец нагружают с равномерной скоростью от (1 ± 0, 1) до (3 ± 0, 1) мм/мин вплоть до выхода термовставки из комбинированного профиля на 2 мм, при этом фиксируют усилие сдвига на силоизмерительном устройстве.
А.4 Обработка результатов испытания
Несущую способность комбинированного профиля по устойчивости к сдвигу Q, Н/мм, вычисляют по формуле
,
(А.1)
где F - усилие, при котором произошло смещение термовставки на 2 мм вдоль комбинированного профиля, Н;
l - длина образца, мм.
За результат определения несущей способности комбинированного профиля принимают округленное до первого десятичного знака среднеарифметическое значение шести определений.
Приложение Б
(обязательное)
Сущность метода заключается в определении усилия, при котором происходит разрушение комбинированного профиля при растяжении в направлении, перпендикулярном его продольной оси.
Требования настоящего метода распространяются на комбинированные профили с защитно-декоративным покрытием и без него (профили-полуфабрикаты).
Б.1 Средства контроля и вспомогательное оборудование
Машина разрывная универсальная по ГОСТ 28840 с силоизмерительным устройством.
Устройство универсальное зажимное, схема которого приведена на рисунке Б.1.

1 - хомут; 2 - опора; 3 - образец
Рисунок Б.1
Б.2 Порядок подготовки к проведению испытания
От контролируемой партии отбирают три профиля. От каждого края каждого профиля отрезают строго перпендикулярно продольной оси по одному образцу заданной длины. Длина образца зависит от типа применяемой разрывной машины и составляет, как правило, (100 ± 1) или (50 ± 1) мм. Испытания проводят при температуре (20 ± 3) °С и относительной влажности воздуха (60 ± 5) %. В зависимости от типа разрывной машины допускается применение образцов длиной не менее (18 ± 1) мм при условии получения результатов, сопоставимых с результатами, полученными при испытании образцов длиной (100 ± 1) мм.
Б.3 Проведение испытания
Образец жестко закрепляют в универсальном зажимном устройстве согласно рисунку Б.1, помещают в разрывную универсальную машину и проводят нагружение образца со скоростью от (1 ± 0, 1) до (3 ± 0, 1) мм/мин до усилия, соответствующего разрушению комбинированного профиля по термовставке. Усилие определяют по явно выраженной остановке стрелки или цифровому индикатору силоизмерительного устройства.
Б.4 Обработка результатов испытаний
Несущую способность комбинированного профиля при поперечном растяжении Q, Н/мм, вычисляют по формуле (А.1), где F - усилие, при котором произошло разрушение профиля по термовставке, Н.
За результат определения несущей способности комбинированного профиля при поперечном растяжении принимают округленное до первого десятичного знака среднеарифметическое значение шести определений.


