Утв. Постановлением Государственного комитета СССР по стандартам от 31 мая 1982 г. N 2204
Межгосударственный стандарт ГОСТ 21560.0-82
"УДОБРЕНИЯ МИНЕРАЛЬНЫЕ. МЕТОДЫ ИСПЫТАНИЙ"
Mineral fertilizers. Methods of sampling and preparation of samples
Дата введения - 1 января 1983 г.
Взамен ГОСТ 21560.0-76
Ограничение срока действия снято по протоколу N 3-93
Межгосударственного совета по стандартизации,
метрологии и сертификации (ИУС 5-6-93)
Настоящий стандарт распространяется на твердые (гранулированные, порошковидные, кристаллические и зернистые) и жидкие минеральные удобрения и устанавливает методы отбора и подготовки проб минеральных удобрений для контроля их физических и химических свойств.
Стандарт не устанавливает методы отбора и подготовки проб минеральных удобрений, находящихся в силосах и в движении по пневмотрубопроводам (у потребителя), а также жидкого аммиака.
(Измененная редакция, Изм. N 2, 3).
1. Отбор проб
1.1а. Минимальная масса точечных проб для продукта, не находящегося в движении, должна соответствовать значениям, указанным в табл. 1.
Таблица 1
|
Состояние продукта
|
Основная фракция с максимальным
размером зерна, мм
|
Масса точечных проб, г
|
|
Жидкий
Твердый
|
-
1
5
10
|
200
100
200
500
|
(Измененная редакция, Изм. N 1, 2).
1.1б. Количество точечных проб
Минимальное количество точечных проб должно соответствовать значениям, указанным в табл. 2.
Таблица 2
|
Количество единиц продукта
(N)
|
Количество точечных
проб
|
Количество единиц продукта
(N)
|
Количество точечных
проб
|
|
До 50 включ.
|
5
|
Св. 400 до 500 включ.
|
25
|
|
Св. 50 до 90 включ.
|
7
|
" 500 " 1200 "
|
35
|
|
" 90 " 150 "
|
10
|
" 1200 " 3200 "
|
50
|
|
" 150 " 280 "
|
15
|
" 3200 " 10000 "
|
75
|
|
" 280 " 400 "
|
20
|
" 10000
|
100
|
(Измененная редакция, Изм. N 1).
1.1. Точечные пробы, отобранные в соответствии с требованиями настоящего стандарта и НТД на продукт, объединяют, перемешивают и сокращают, как указано в п. 2.3, до получения средней пробы.
1.2а. Общие требования
1.2а.1. За единицу продукции (N) принимают любую упаковочную единицу, а для неупакованного продукта ее рассчитывают по формуле
,
где М - масса продукта, поставляемого потребителю, кг;
50 - условная масса упаковочной единицы, кг (см. приложение 1).
Для неупакованного продукта, находящегося в движении (на конвейере, трубопроводном транспорте - у изготовителя), допускается за единицу продукции (N) принимать величину, в десять раз меньшую, чем рассчитано по формуле. При этом масса точечной пробы должна быть не менее 500 г.
(Измененная редакция, Изм. 1, 2, 3).
1.2а.2. Вновь применяемый механический пробоотборник должен быть подвергнут испытанию в соответствии с приложением 2.
(Измененная редакция, Изм. N 1).
1.2. Среднюю пробу плотно упаковывают в чистую сухую банку с крышкой или двойной полиэтиленовый мешок, который завязывают или заваривают.
Среднюю пробу маркируют, указывая наименование предприятия-изготовителя, наименование продукта, номер партии, сорт, марку, обозначение стандарта или технических условий, дату отбора пробы и фамилию пробоотборщика (у изготовителя).
(Измененная редакция, Изм. N 2, 3).
1.3. Отбор проб от неупакованного продукта, находящегося в движении
1.3.1. Аппаратура
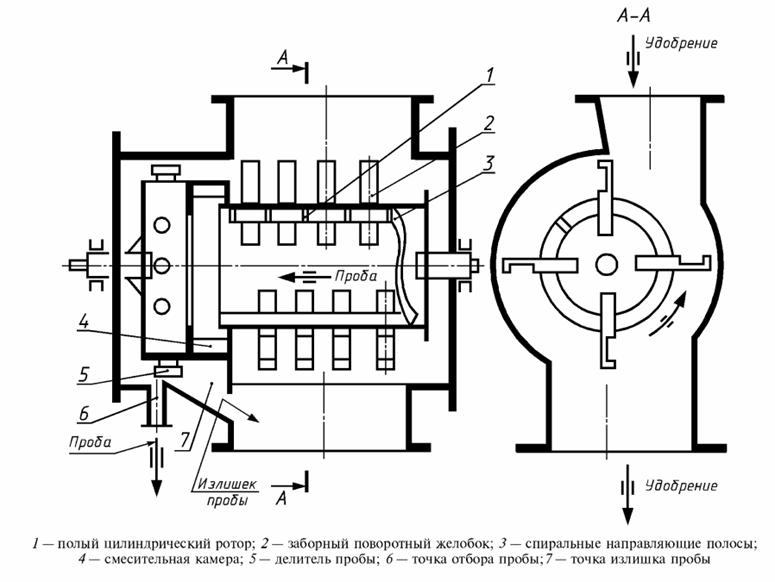
Механический пробоотборник-делитель типа ПРОН-2 (см. черт. 1) или любой другой, работающий по принципу полного пересечения потока по всей его ширине в местах перепада.
Сосуд щелевой (черт. 1а) или любой другой сосуд для ручного отбора проб.
Сосуд щелевой (черт.1а) или любой другой сосуд для ручного отбора проб.
1.3.2. Пробы от минеральных удобрений, находящихся в движении, отбирают непрерывно или через равные интервалы времени механическим пробоотборником, обеспечивающим отбор точечных проб из расчета не менее 0, 5 кг от каждых 15 - 17 т продукта при погрузке, выгрузке или перегрузке удобрения, поставляемого насыпью, или перед упаковыванием продукта.
Допускается отбирать пробы твердых удобрений от движущегося потока вручную с помощью щелевого или любого другого сосуда методом полного пересечения струи в местах перепада потока через равные интервалы времени. При отборе проб щелевой или любой другой сосуд не должен наполняться до краев при одноразовом проходе через поток. Ширина щели при этом должна быть не менее чем в 2, 5 раза больше максимальной величины гранул. Отобранные пробы объединяют, перемешивают и сокращают, как указано в п. 2.3, до получения средней пробы.
1.3.1, 1.3.2. (Измененная редакция, Изм. N 1, 2).
1.4. Отбор проб от неупакованного продукта из вагонов, автомашин, насыпей
1.4.1. Пробы минеральных удобрений из вагонов отбирают, как указано в п. 1.3.2.
Допускается отбирать пробы у потребителя из вагонов общего назначения по схеме, приведенной на черт. 2. Точечные пробы отбирают совком или ручным пробоотборником в два приема: первый - после выгрузки удобрений у дверного проема, второй - после выгрузки половины продукта. От верхнего, среднего и нижнего горизонтов левой и правой насыпи отбирают по три пробы, всего 36 точечных проб, которые объединяют, перемешивают и сокращают, как указано в п. 2.3.
Механический пробоотборник-делитель для гранулированных материалов ПРОН-2

"Черт. 1"
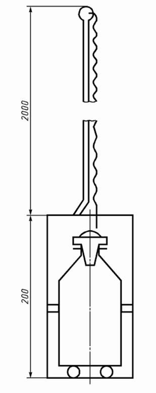
Сосуд щелевой

"Черт. 1а"
Схема отбора проб из крытого вагона общего назначения

"Черт. 2"
1.4.2. Пробы удобрений из каждой автомашины или тракторной тележки отбирают ручным пробоотборником по схеме, приведенной на черт. 3.
Схема отбора проб из автомашины

"Черт. 3"
Допускается отбирать пробы удобрений по п. 1.3.2.
Пробы объединяют, перемешивают и сокращают, как указано в п. 2.3.
(Измененная редакция, Изм. N 2).
1.4.3. От насыпей пробы отбирают по схеме, приведенной на черт. 4, ручным закрывающимся пробоотборником с глубины не менее 30 см от поверхности по всей высоте насыпи по двум противоположным образующим.
Схема отбора проб из конической насыпи

"Черт. 4"
Расстояние между точками отбора по образующей конуса 20 - 25 см, при этом исключают из отбора по 50 см от вершины и основания конуса.
Точечные пробы объединяют, перемешивают и сокращают, как указано в п. 2.3.
1.4.4. При неправильном конусе допускается отбор точечных проб из бокового поперечного разреза, как показано на черт. 4а. Точечные пробы от продукта, находящегося в неконусообразной насыпи, отбирают с помощью щелевидного пробоотборника равномерно на расстоянии не менее 50 см от поверхности или от основания насыпи, как показано на черт. 4б. Упаковочные единицы выбирают методом случайного отбора в соответствии с ГОСТ 18321-73. Объем выборки - по ГОСТ 23954-80.
Схема отбора проб от неправильного конуса

"Черт. 4а"
Схема отбора проб от не конусообразной насыпи

"Черт. 4б"
(Измененная редакция, Изм. N 1, 2).
1.5. Отбор проб от продукта, упакованного в мешки, контейнеры
1.5.1. Точечные пробы из мешка отбирают щелевидным пробоотборником (см. черт. 5 и 6) или аналогичным средством, обеспечивающим сохранность гранулометрического состава при отборе. Пробы отбирают при горизонтальном положении мешка, погружая пробоотборник на 3/4 длины мешка по двум диагоналям. Точечные пробы объединяют, перемешивают и сокращают, как указано в п. 2.3.
Пробоотборник ручной щелевидный

"Черт. 5"
1.5, 1.5.1. (Измененная редакция, Изм. N 2).
1.5.2. Точечные пробы из контейнера отбирают щелевидным пробоотборником или аналогичным средством, обеспечивающим сохранность гранулометрического состава при отборе. Пробы отбирают через горловину для загрузки контейнера из пяти точек по направлениям четырех диагоналей к углам контейнера и по его центру сверху вниз.
Допускается из контейнеров одноразового использования с заваренной или заклеенной горловиной отбирать пробы в конечном пункте их грузопереработки после вскрытия горловин.
Точечные пробы объединяют, перемешивают и сокращают, как указано в п. 2.3.
(Введен дополнительно, Изм. N 2).
Схема отбора проб из мешка

"Черт. 6"
1.6. При получении объединенной пробы массой 1, 0 - 2, 5 кг ее сокращают, как указано в п. 3.3.
(Измененная редакция, Изм. N 2).
1.7. Отбор проб для определения рассыпчатости
1.7.1. Точечные пробы от неупакованных удобрений отбирают равномерно от всей массы продукта совковой лопатой из разных мест вагона или насыпи и помещают в мешки, которые завязывают и подвергают испытанию по ГОСТ 21560.5-82. Масса каждого мешка должна составлять от 35 до 50 кг. Масса объединенной пробы должна составлять от 210 до 300 кг (не менее шести мешков) от каждого вагона, насыпи.
1.7.2. Точечные пробы от упакованных удобрений отбирают в виде отдельных мешков в соответствии с п. 1.4.4. При этом мешки отбирают из разных мест штабеля, вагона, в равном количестве по горизонтали (верх, середина, низ). Из отобранных мешков составляют объединенную пробу в количестве не менее шести мешков, которые испытывают по ГОСТ 21560.5-82.
(Измененная редакция, Изм. N 2).
1.8. Отбор проб от жидких удобрений
(Введен дополнительно, Изм. N 1).
1.8.1. Аппаратура
Ковш для отбора проб жидких удобрений (черт. 6а).
Зонд бутылочный для отбора проб жидких удобрений, толщина слоя которых свыше 1, 5 м (черт. 6б).
Зонд однотрубный с нижним отверстием для отбора проб жидких удобрений, толщина слоя которых не более 1, 5 м.
Допускается применение других пробоотборников, обеспечивающих равномерность отбора пробы по высоте.
Ковш для отбора проб жидких удобрений

"Черт. 6а"
Зонд бутылочный для отбора проб жидких удобрений

"Черт. 6б"
(Измененная редакция, Изм. N 1, 2).
1.8.2. Легкоосаждающиеся жидкие удобрения до отбора точечных проб гомогенизируют (посредством перемешивания, качания бочек или вдувания воздуха в цистерну или любым другим способом).
1.8.3. Точечные пробы от жидких удобрений, турбулентно текущих в трубопроводах, отбирают через равные промежутки времени в сборник при помощи боковой отводной трубки. Количество точечных проб отбирают в соответствии с табл. 2. Частоту отбора проб (τ) в часах рассчитывают по формуле
,
где τ1 - время движения продукта, ч; n - количество точечных проб (см. приложение 1).
1.8.4. Пробы от жидких удобрений, текущих в плоских резервуарах или желобах, отбирают с помощью ковша и переносят в сборник.
1.8.2 - 1.8.4. (Введены дополнительно, Изм. N 1).
1.8.5. Пробы от упакованных жидких удобрений при массе упаковочной единицы более 5 кг отбирают при помощи однотрубного зонда с нижним отверстием. Допускается отбирать пробы при помощи бутылочного зонда из верхней, средней и нижней трети упаковочной единицы.
Допускается отбирать средние пробы автоматическим пробоотборником, установленным на линии перекачки жидких удобрений в хранилища, цистерны.
(Измененная редакция, Изм. N 1, 2).
1.8.6. Отобранные точечные пробы объединяют в сборник и перемешивают. Аналитические пробы отбирают непосредственно из сборника в склянки.
Массу аналитических проб устанавливают в стандартах на конкретный продукт.
(Введен дополнительно, Изм. N 1).
2. Подготовка средней пробы
2.1. Сущность метода
Среднюю пробу готовят сокращением на делителе объединенной пробы, полученной смешением точечных проб.
2.2. Аппаратура
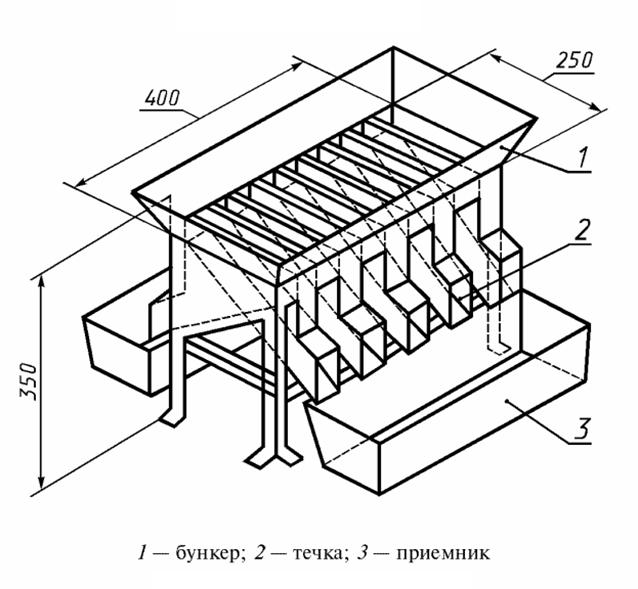
Для подготовки средней пробы используют делитель ДМП-2 (черт. 7) или делитель Джонса (черт. 8), или любой другой механический делитель, обеспечивающий равномерность разделения объединенной пробы по массе с относительной погрешностью не более 15%.
Делитель минеральных продуктов ДМП-1 (ДМП-2)

"Черт. 7"
Делитель Джонса

"Черт. 8"
(Измененная редакция, Изм. N 2).
2.3. Проведение сокращения
2.3.1. Объединенную пробу делят на приборе на средние пробы массой от 1, 0 до 2, 5 кг каждая.
Если масса средней пробы больше требуемой, то объединяют полностью содержимое такого количества приемных емкостей, которое при повторном делении обеспечит получение средней пробы требуемой массы.
Если масса средней пробы меньше требуемой, то среднюю пробу получают объединением содержимого любых двух приемных емкостей делителя.
Искусственное увеличение или уменьшение средней пробы в приемной емкости не допускается.
Допускается ручное сокращение объединенной пробы способом последовательного квартования, которое проводится на гладкой поверхности в закрытом помещении.
(Измененная редакция, Изм. N 2).
2.3.2. Среднюю пробу упаковывают и маркируют, как указано в п. 1.2.
3. Подготовка аналитической пробы
3.1. Сущность метода
Аналитическую пробу получают сокращением на делителе средней пробы, подготовленной как указано в разд. 2.
3.2. Аппаратура
Для подготовки аналитической пробы используют делитель типа ДСМ-1 (черт. 9) или типа ДМП-1 (черт. 7), или любой другой механический делитель, обеспечивающий равномерность разделения средней пробы по массе с относительной погрешностью не более 15%.
Делитель типа ДСМ-1

"Черт. 9"
3.3. Проведение сокращения
Среднюю пробу массой от 1, 0 до 2, 5 кг делят на аналитические пробы массой от 100 до 250 г каждая.
Искусственное увеличение или уменьшение массы аналитической пробы в приемной емкости не допускается.
Если при сокращении средней пробы на делителе получают аналитические пробы массой больше или меньше требуемой, то объединяют полностью содержимое такого количества приемных емкостей, которое при повторном делении обеспечило бы получение аналитических проб требуемой массы.
Допускается ручное сокращение средней пробы способом последовательного квартования, которое проводится на гладкой поверхности в закрытом помещении.
При необходимости выполнения химического анализа из растертых проб аналитическую пробу дополнительно сокращают до массы 30 - 50 г механическим делителем или вручную методом последовательного квартования, растирают на механическом истирателе любого типа или в ступке и просеивают через сито с отверстиями размером 0, 5 мм. Комочки, не прошедшие через сито, растирают до полного просева.
3.2, 3.3. (Измененная редакция, Изм. N 2).
Приложение 1
Справочное
Примеры расчета
1. Пример расчета единиц продукции (N) для неупакованного продукта при массе продукта, поставляемого потребителю, 50 т
.
2. Пример расчета частоты отбора проб (τ) жидких удобрений при времени движения продукта 10 ч, N = 400, n = 20
.
Приложение 2
Справочное
Метод определения расхождений между результатами, полученными механическим и ручным способами отбора проб
Одновременно отбирают пробы механическим и ручным способами от 20 партий (см. разд. 1).
В качестве определяемого признака выбирают критический параметр (в большинстве случаев - гранулометрический состав).
По полученным числовым значениям признака вычисляют разность числовых значений признака и его среднее значение
d1=x1м-x1р,
(1)
,
(2)
где d1 - разность числовых значений признака;
x1м - первое значение признака, полученное при механическом способе отбора проб; x1р - первое значение признака, полученное при ручном способе отбора проб; d̅ - среднее значение разности числовых значений признака; 20 - количество партий.
Для сравнивания результатов механического и ручного отборов проб вычисляют значение критерия t по формуле
,
(3)
где Sd - стандартное отклонение разности числовых значений признака от ее среднего значения, которое вычисляют по формуле
,
(4)
19 - число степеней свободы.
.
(5)
Если значение t больше 2, 09, то механический способ отбора проб нельзя применять, если меньше применение механического способа отбора проб допускается.
Значение 2, 09 определено по таблице распределения t по Стьюденту для доверительной вероятности 95% и числа степеней свободы 19.
Пример проверки расхождений результатов, полученных механическим и ручным способами отбора проб
Расхождение результатов отбора проб рассчитывают по формулам (1) - (5)/
|
Массовая доля гранул размером более 4 мм, %, определенная
|
Разность d1
|
Отклонение разности
|
|
с применением ручного способа
x1р
|
с применением механического способа
x1м
|
d1-d̅
|
(d1-d̅)2
|
|
2
2
4
3
1
0
4
3
3
4
4
1
3
2
1
0
3
2
1
2
|
3
4
2
5
2
1
2
3
1
2
3
1
2
4
3
1
1
0
1
0
|
1
2
-2
2
1
1
-2
0
-2
-2
-1
0
-1
2
2
1
-2
-2
0
-2
|
1, 2
2, 2
-1, 8
2, 2
1, 2
1, 2
-1, 8
0, 2
-1, 8
-1, 8
-0, 8
0, 2
-0, 8
-1, 8
-1?8
1, 2
-1, 8
-1, 8
0, 2
-1, 8
|
1, 44
4, 84
3, 24
4, 84
1, 44
1, 44
3, 24
0, 04
3, 24
3, 24
0, 64
0, 04
0, 64
4, 84
4, 84
1, 44
3, 24
3, 24
0, 04
3, 24
|
|
∑d1=-4
|
∑49, 2
|
Стандартное отклонение разности числовых значений признака
.
Расчетное значение критерия
;
; 0, 556<2, 09.
Проверка расхождений результатов, полученных механическим и ручным способами отбора проб, показала, что tрассч<tтабл. Следовательно, может быть использован механический способ отбора проб.
ПРИЛОЖЕНИЯ 1, 2. (Введены дополнительно, Изм. N 1).