Введен в действие постановлением Госстандарта СССР от 27 апреля 1976 г. N 949
Государственный стандарт Союза ССР ГОСТ 21751-76*
"ГЕРМЕТИКИ. МЕТОД ОПРЕДЕЛЕНИЯ УСЛОВНОЙ ПРОЧНОСТИ, ОТНОСИТЕЛЬНОГО УДЛИНЕНИЯ ПРИ РАЗРЫВЕ И ОТНОСИТЕЛЬНОЙ ОСТАТОЧНОЙ ДЕФОРМАЦИИ ПОСЛЕ РАЗРЫВА"
С изменениями:
(10 июня 1987 г.)
Sealants. Determination method of tensile strength, ultimate elongation at break and deformation set after break
Срок введения установлен с 1 января 1978 г.
Постановлением Госстандарта от 14 июля 1982 г. N 2640
срок действия продлен до 1 января 1988 г.
Настоящий стандарт распространяется на эластичные герметики и устанавливает метод определения условной прочности, относительного удлинения при разрыве и относительной остаточной деформации после разрыва.
Сущность метода заключается в растяжении образцов с постоянной скоростью при заданной температуре до разрыва, измерении силы и удлинения образца при разрыве и вычислении относительной остаточной деформации после разрыва.
1. Метод отбора образцов
1.1. Образцы для испытаний должны быть изготовлены из одной партии герметика. Способ изготовления образцов должен соответствовать указанному в обязательном приложении.
1.2. Образцы для испытания должны быть трех типов: 1, 2 и 3.
Тип образца указывают в технической документации на герметик.
1.3. Форма и размеры образцов в зависимости от типа должны соответствовать указанным на черт. 1, 2 и табл. 1.
Разность между максимальной и минимальной толщиной образца в рабочем участке не должна превышать 0, 2 мм.
Тип 1
Типы 2 и 3
Таблица 1
|
Типы образцов
|
Размеры, мм
|
|
Общая длина L1, не менее
|
Ширина широкой части В
|
Длина узкой части L2
|
Длина между утолщениями L3
|
Ширина узкой части b
|
Большой радиус R
|
Малый радиус r
|
Радиус закругления наплыва r1
|
Длина рабочего участка l0
|
Толщина наплыва h2, не более
|
Толщина h
|
|
1
|
115
|
25, 0±1, 0
|
33, 0±1, 0
|
-
|
6, 0 (+0, 4)
|
25, 0±1, 0
|
14, 0±1, 0
|
-
|
25, 0±1, 0
|
-
|
1, 0±0, 2 или 2, 0±0, 2
|
|
2
|
74
|
12, 5±1, 0
|
34, 0±1, 0
|
50±3
|
6, 0 (+0, 4)
|
-
|
14, 0±1, 0
|
5, 0±1, 0
|
25, 0±1, 0
|
6, 0
|
|
3
|
69
|
12, 5±1, 0
|
27, 0±1, 0
|
45±3
|
6, 0 (+0, 4)
|
-
|
14, 0±1, 0
|
5, 0±1, 0
|
25, 0±1, 0
|
6, 0
|
Размеры образцов, кроме толщины, определяются размерами штанцевых ножей и после вырубки не контролируются. Предельные отклонения даны для штанцевых ножей.
1.4. Образцы не должны иметь раковин, механических повреждений и включений, видимых визуально.
1.5. Для испытаний должно быть не менее пяти образцов.
2. Аппаратура
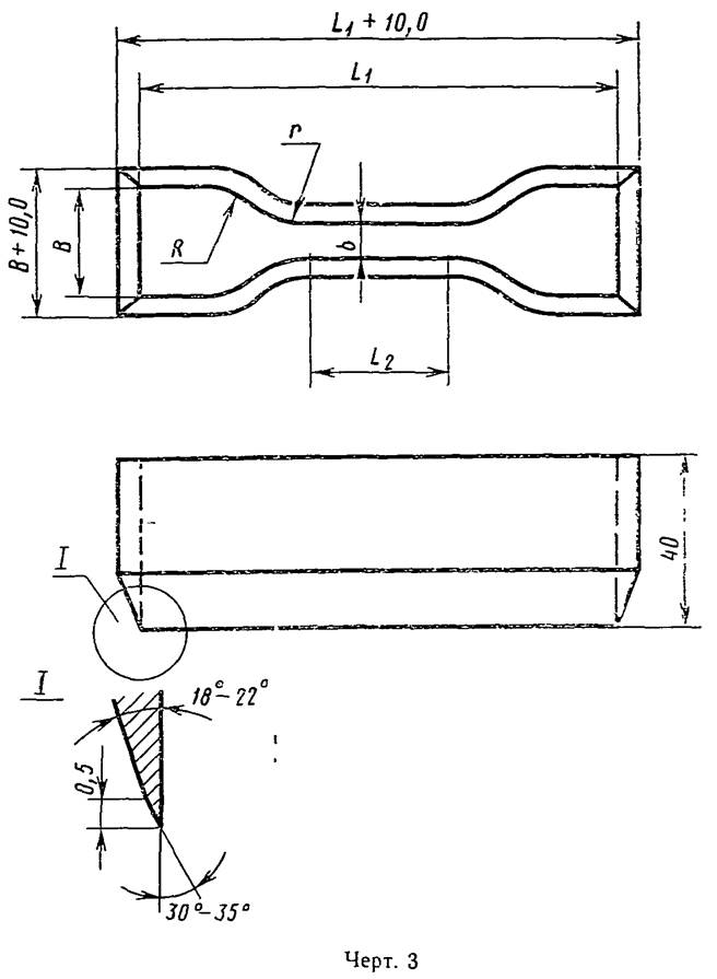
2.1. Вырубные ножи. Форма и размеры ножей для вырубки образцов должны соответствовать указанным на черт. 3-4 и в табл. 2.
Форма и угол заточки режущей кромки ножа для вырубки образцов типа 1
Форма ножа для вырубки образцов типов 2 и 3
Таблица 2
|
Нож для вырубки образцов топов
|
Размеры, мм
|
|
L, не менее
|
L1, не менее
|
L2
|
L3
|
L4, не менее
|
h, не менее
|
h1, не менее
|
B1, не менее
|
B2
|
В
|
b
|
r
|
r1
|
R
|
|
1
|
125
|
115
|
33, 0±1, 0
|
-
|
-
|
40
|
-
|
-
|
35, 0±1, 0
|
25, 0±1, 0
|
6, 0 (+0, 4)
|
14, 0±1, 0
|
-
|
25, 0±1, 0
|
|
2
|
84
|
74
|
34, 0±1, 0
|
50±3
|
78
|
25
|
10
|
25
|
17, 0±1, 0
|
12, 0±1, 0
|
6, 0 (+0, 4)
|
14, 0±1, 0
|
5, 0±1, 0
|
-
|
|
3
|
79
|
69
|
27, 0±1, 0
|
45±3
|
75
|
25
|
10
|
25
|
17, 0±1, 0
|
12, 0±1, 0
|
6, 0 (+0, 4)
|
14, 0±1, 0
|
5, 0±1, 0
|
-
|
2.2. Угол заточки режущей кромки ножа для вырубки образцов типов 2 и 3 должен быть 50°.
2.3. Вырубные ножи не должны иметь повреждений на режущей кромке.
2.4. Разность между максимальной и минимальной шириной ножа в пределах рабочего участка не должна превышать 0, 05 мм.
2.5. Разрывная машина - по ГОСТ 7762-74.
Допускается применение разрывной машины по ГОСТ 20480-75.
2.6. Разрывная машина должна быть снабжена термической криогенной камерой, обеспечивающей испытание при температурах:
от минус 100 до 0°С с интервалом 20°С и погрешностью ±2°С;
от 0 до 150°С с погрешностью ±3°С;
свыше 150°С с погрешностью ±5°С;
(23±2)°С.
Температуру измеряют термометрами по ГОСТ 2823-73.
Допускается применять другие средства измерения и контроля, обеспечивающие точность измерения в соответствии с требованиями настоящего стандарта.
2.7. Разрывная машина должна обеспечивать скорость движения подвижного зажима 50, 100, 200 или 500 мм/мин.
2.8. Толщиномер по ГОСТ 11358-74, с ценой деления 0, 01 мм и измерительным усилием от 0, 785 до 1, 961 Н (от 80 до 200 гс).
(Измененная редакция, Изм. N 1).
2.9. Штамп для нанесения меток на образцы, схема которого приведена на черт. 5.

2.10. Линейка металлическая - по ГОСТ 427-75.
3. Подготовка к испытаниям
3.1. Измеряют толщину образца в рабочем участке не менее, чем в трех точках, и записывают среднее значение.
3.2. Отмечают рабочий участок (l) на узкой части образца с помощью параллельных меток в виде штрихов шириной не более 0, 5 мм, которые наносят штампом.
3.3. Для обеспечения одинаковой установки образцов типа 1 в зажимах рекомендуется наносить установочные метки, расстояние между которыми должно быть (50±1) мм.
(Измененная редакция, Изм. N 1).
3.4. Метки должны быть нанесены симметрично относительно центра образца. Краска для нанесения меток не должна вызывать изменения свойств герметика, влияющих на результаты испытаний.
3.5. Образцы маркируют порядковым номером.
3.6. Образцы перед испытанием кондиционируют при температуре (23±2)°С не менее 1 ч.
(Измененная редакция, Изм. N 1).
4. Проведение испытаний
4.1. Образец для испытания закрепляют в зажимном устройстве разрывной машины.
Образец типа 1 закрепляют строго по меткам a-a1 так, чтобы ось образца совпадала с направлением растяжения.
При работе с самоподжимающими зажимами образец типа 1 закрепляют таким образом, чтобы метки a-a1 находились посередине наружной стороны поджимающих валиков.
Образцы типов 2 и 3 закрепляют в зажимах строго по краям наплывов.
4.2. Для проведения испытаний при температурах минус 20±2, минус 40±2, минус 60±2, минус 80±2 и минус 100±2°С или (23±2)°С, или 70±3, 100±3, 125±3, 150±3, 200±5, 225±5, 250±5, 275±5 и 300±5°С в термической криогенной камере разрывной машины устанавливают заданную температуру.
Температуру испытания устанавливают в соответствии с настоящим стандартом в технической документации на герметик.
4.3. Образцы выдерживают в термической криогенной камере (15±5) мин после установления в ней температуры испытания.
4.4. Проверяют нулевые установки приборов, измеряющих силу и удлинение, включают самопишущие приборы и приводят в действие механизм растяжения с заданной скоростью.
Скорость растяжения устанавливают в технической документации на герметик.
4.5. При разрыве образца фиксируют силу и длину рабочего участка (расстояние lp между метками).
Допускается для образцов типа 2 и 3 измерять удлинение образца по расстоянию между наплывами, что соответствует расстоянию между зажимами.
4.6. При испытании при температуре (23±2)°С части разорванного образца, освобожденные из зажимов, помещают на ровную поверхность и через 1 мин после разрыва измеряют расстояние (l1) между метками двух сложенных по месту разрыва частей образца.
Измерение производят с погрешностью не более ±0, 5 мм.
(Измененная редакция, Изм. N 1)
5. Обработка результатов
5.1. Условную прочность герметика при растяжении (fp) в Па (кгс/см2) вычисляют по формуле
,
где Pp - сила, вызывающая разрыв образца, Н (кгс);
h - среднее арифметическое значение первоначальной толщины образца, м (см);
b - первоначальная ширина образца, м (см).
5.2. Относительное удлинение (εp) в процентах вычисляют по формуле
,
где lp - длина рабочего участка образца при разрыве, м (мм);
l0 - первоначальная длина рабочего участка образца, м (мм).
5.3. Относительную остаточную деформацию после разрыва (Θ) в процентах вычисляют по формуле
,
где li - длина рабочего участка по двум сложенным вместе частям разорванного образца, м (мм).
(Измененная редакция, Изм. N 1).
5.4. За результат испытания принимают среднее арифметическое показателей всех испытуемых образцов, кроме тех, у которых разрыв произошел по месту с внутренним дефектом или отклонения от среднего значения которых превышают установленное в технической документации на герметик.
При подсчете среднего арифметического значения допускается включать образцы, у которых разрыв произошел не по рабочему участку образца, но в узкой его части, если результаты испытаний соответствуют нормам, установленным в технической документации на герметик. Минимальное количество образцов должно быть не менее трех.
5.5. Результаты испытаний сопоставимы на образцах одного типа, одной толщины, заготовленных одним способом и испытуемых в одинаковых условиях (температура, скорость).
5.6. Результаты испытаний записывают в протокол, который должен содержать следующие данные:
даты изготовления образцов и проведения испытания, марку герметика;
условия вулканизации образцов (продолжительность, температуру);
тип образца, толщину, ширину и сечение образца;
условия испытания (температуру, скорость растяжения);
силу, вызвавшую разрыв образца; условную прочность герметика при растяжении; длину рабочего участка образца при разрыве; относительное удлинение образца при разрыве; длину рабочего участка двух сложенных по месту разрыва частей образца через 1 мин после разрыва; относительное остаточное удлинение образца после разрыва;
среднее арифметическое значение определяемых показателей.
Примечание. В протоколе испытания допускается указывать условия вулканизации образцов, тип образцов и условия испытания образцов, если эти сведения приведены в нормативно-технической документации на герметик".
6. Требования безопасности
6.1. Помещение для испытаний должно быть оборудовано приточно-вытяжной вентиляцией и соответствовать требованиям ГОСТ 12.1.004-85 и ГОСТ 12.1.005-76.
6.2. При подготовке и проведении испытаний должны соблюдаться типовые правила пожарной безопасности промышленных предприятий, утвержденные ГУПО МВД СССР и установленные ГОСТ 12.3.002-75.
6.3. Аппаратура в части электробезопасности должна соответствовать требованиям ГОСТ 12.1.019-79 и ГОСТ 12.1.030-81.
6.4. Работающие должны быть обеспечены спецодеждой, а при работе при повышенных температурах - теплоизолирующими перчатками.
Приложение
Обязательное
Способ изготовления образцов
1. Образцы в зависимости от консистенции герметика готовят по пунктам, указанным ниже.
1.1. Изготовление пластин из пастообразных и тиксотропных герметиков (шпательного и кистевого способов нанесения).
1.1.1. Для изготовления образцов типа 1 пластины толщиной не менее 3 мм из металла, стекла, фторопласта или полиэтилена покрывают антиадгезионным составом (раствором полиизобутилена по ГОСТ 13303-86 в бензине по ГОСТ 443-76 с массовой долей сухого остатка от 5 до 10%, который затем сушат 10-15 мин, или парафином по ГОСТ 23683-79, или вазелином. Допускается применение других антиадгезионных составов, не влияющих на свойства герметика).
На покрытую составом пластину помещают шаблон (черт. 1), внутреннюю часть которого также смазывают антиадгезионным составом. Толщину шаблона h устанавливают в технической документации на герметик.
Шаблон для изготовления образцов типа 1
Шаблон заполняют герметиком, поверхность которого выравнивают пластинкой с ровными краями.
1.1.2. Для изготовления образцов типов 2 и 3 используют металлические формы, размеры которых приведены на черт. 2 и в таблице. Высоту выемки металлической формы h устанавливают в технической документации на герметик.
Формы смазывают, как указано в п. 1.1.1, заполняют герметиком и покрывают сверху металлической плитой, смазанной антиадгезионным составом.
1.1.3. Для уменьшения количества воздушных включений рекомендуется герметик вакуумировать или заполненную герметиком форму или шаблон выдержать на воздухе и поместить под пресс или груз.
Условия вакуумирования, выдержки на воздухе, давление подпрессовки или массу груза устанавливают в технической документации на герметик.
Форма для изготовления образцов типов 2 и 3
мм
|
Типы образцов
|
Размеры, мм
|
|
L
|
C2
|
а
|
b
|
с
|
d
|
|
2
|
120 + 2
|
50±1
|
4, 0±0, 1
|
10, 0±0, 1
|
6, 0±0, 1
|
15, 0±0, 1
|
|
3
|
115±2
|
45±1
|
4, 0±0, 1
|
10, 0±0, 1
|
6, 0±0, 1
|
15, 0±0, 1
|
1.2. Изготовление пластин из вязкотекучих герметиков и герметиков заливочной консистенции.
1.2.1. Пластины герметиков для образцов типа 1 готовят в формах (черт. 3), а типов 2 и 3 - в формах, указанных в п. 1.1.2. Высоту выемки металлической формы h устанавливают в технической документации на герметик.
1.2.2. Формы смазывают антиадгезионным составом, указанным в п. 1.1.1, и заполняют их при помощи кисти или путем заливки герметиком.
Количество слоев и условия сушки каждого слоя устанавливают в технической документации на герметик.
Форма для изготовления образцов типа 1
2. Приготовленные по пп. 1.1 и 1.2 пластины герметиков вулканизуют при температуре (23±2)°С или при повышенной температуре в термостате.
Способ и условия вулканизации указывают в технической документации на герметик.
Образцы, изготовленные из герметика горячего способа вулканизации, подвергают испытаниям не ранее, чем через 6 ч, и не позднее, чем через 30 суток после вулканизации.
Образцы, изготовленные из герметика холодного способа вулканизации, выдерживают перед испытанием в соответствии с требованиями технической документации на герметик.