ГОСТ 25818-2017 ЗОЛЫ-УНОСА ТЕПЛОВЫХ ЭЛЕКТРОСТАНЦИЙ ДЛЯ БЕТОНОВ. ТЕХНИЧЕСКИЕ УСЛОВИЯ
Thermal plant fly-ashes for concretes. Specifications
МКС 91.100.15
Предисловие
Цели, основные принципы и основной порядок проведения работ по межгосударственной стандартизации установлены в ГОСТ 1.0-2015 "Межгосударственная система стандартизации. Основные положения" и ГОСТ 1.2-2015 "Межгосударственная система стандартизации. Стандарты межгосударственные, правила и рекомендации по межгосударственной стандартизации. Правила разработки, принятия, обновления и отмены"
Сведения о стандарте
1 Разработан Научно-исследовательским, проектно-конструкторским и технологическим институтом бетона и железобетона им. А.А. Гвоздева (НИИЖБ им. А.А. Гвоздева) АО "НИЦ "Строительство" при участии ООО "ПЦВ"
2 Внесен Техническим комитетом по стандартизации ТК 465 "Строительство"
3 Принят Межгосударственным советом по стандартизации, метрологии и сертификации (протокол от 25 сентября 2017 г. N 103-П)
За принятие проголосовали:
|
Краткое наименование страны по МК (ИСО 3166) 004-97 |
Код страны по МК (ИСО 3166) 004-97 |
Сокращенное наименование национального органа по стандартизации |
|
Армения |
AM |
Минэкономики Республики Армения |
|
Киргизия |
KG |
Кыргызстандарт |
|
Россия |
RU |
Росстандарт |
4 Приказом Федерального агентства по техническому регулированию и метрологии от 12 октября 2017 г. N 1403-ст межгосударственный стандарт ГОСТ 25818-2017 введен в действие в качестве национального стандарта Российской Федерации с 1 марта 2018 г.
5 Настоящий стандарт соответствует европейскому региональному стандарту EN 450-1:2012 "Бетон с применением золы уноса. Часть 1. Определения, требования и критерии соответствия" ("Fly ash for concrete. Definition, specifications and conformity criteria", NEQ) в части требований к золе-уноса и методов испытаний, а также стандарта ASTM С 430-08 (2015) "Стандартный метод определения тонкости помола гидравлического цемента на сите 45 мкм" ("Standard Test Method for Fineness of Hydraulic Cement by the 45-μm (No. 325) Sieve", NEQ) в части установления классификационных признаков золы уноса
6 Взамен ГОСТ 25818-91
Настоящий стандарт распространяется на золы-уноса (далее - золы) сухого отбора, образующиеся на тепловых электростанциях в результате сжигания углей или смесей углей в пылевидном состоянии и применяемые в качестве компонента для изготовления тяжелых, легких, ячеистых бетонов и строительных растворов, сухих строительных смесей, а также в качестве тонкомолотой добавки для жаростойких бетонов и минеральных вяжущих для приготовления смесей и укрепленных грунтов в дорожном строительстве.
Стандарт не распространяется на золу, образующуюся от сжигания горючих сланцев.
Требования настоящего стандарта следует соблюдать при разработке новых и пересмотре действующих стандартов и технических условий, проектной и технологической документации.
Рекомендации по применению золы приведены в приложении А.
В настоящем стандарте использованы нормативные ссылки на следующие межгосударственные стандарты:
ГОСТ 15.309-98 Система разработки и постановки продукции на производство (СРПП). Испытания и приемка выпускаемой продукции. Основные положения
ГОСТ 166-89 (ИСО 3599-76) Штангенциркули. Технические условия
ГОСТ 310.2-76 Цементы. Методы определения тонкости помола
ГОСТ 310.3-76 Цементы. Методы определения нормальной густоты, сроков схватывания и равномерности изменения объема
ГОСТ 3118-77 Реактивы. Кислота соляная. Технические условия
ГОСТ 5382-91 Цементы и материалы цементного производства. Методы химического анализа
ГОСТ 5833-75 Реактивы. Сахароза. Технические условия
ГОСТ 6139-2003 Песок для испытаний цемента. Технические условия
ГОСТ 8269.0-97 Щебень и гравий из плотных горных пород и отходов промышленного производства для строительных работ. Методы физико-механических испытаний
ГОСТ 8269.1-97 Щебень и гравий из плотных горных пород и отходов промышленного производства для строительных работ. Методы химического анализа
ГОСТ 8735-88 Песок для строительных работ. Методы испытаний
ГОСТ 10180-2012. Бетоны. Методы определения прочности по контрольным образцам
ГОСТ 11022-95* Топливо твердое минеральное. Методы определения зольности
──────────────────────────────
* В Российской Федерации действует ГОСТ Р 55661-2013 (ИСО 1171:2010) "Топливо твердое минеральное. Определение зольности".
ГОСТ 16504-81 Система государственных испытаний продукции. Испытания и контроль качества продукции. Основные термины и определения
ГОСТ 20851.2-75 (ИСО 5316-77, ИСО 6598-85, ИСО 7497-84) Удобрения минеральные. Методы определения фосфатов
ГОСТ 20910-90 Бетоны жаростойкие. Технические условия
ГОСТ 22235-2010 Вагоны грузовые магистральных железных дорог колеи 1520 мм. Общие требования по обеспечению сохранности при производстве погрузочно-разгрузочных и маневровых работ
ГОСТ 23227-78 Угли бурые, каменные, антрацит, горючие сланцы и торф. Метод определения свободного оксида кальция в золе
ГОСТ 24104-2001* Весы лабораторные. Общие технические требования
──────────────────────────────
* В Российской Федерации действует ГОСТ Р 53228-2008 "Весы неавтоматического действия. Часть 1. Метрологические и технические требования. Испытания".
ГОСТ 24211-2008 Добавки для бетонов и строительных растворов. Общие технические условия
ГОСТ 25192-2012 Бетоны. Классификация и общие технические требования
ГОСТ 25485-89 Бетоны ячеистые. Технические условия
ГОСТ 25820-2014 Бетоны легкие. Технические условия
ГОСТ 26633-2015 Бетоны тяжелые и мелкозернистые. Технические условия
ГОСТ 28013-98 Растворы строительные. Общие технические условия
ГОСТ 30108-94 Материалы и изделия строительные. Определение удельной эффективной активности естественных радионуклидов
ГОСТ 30515-2013 Цементы. Общие технические условия
ГОСТ 30744-2001 Цементы. Методы испытаний с использованием полифракционного песка
ГОСТ 31108-2016 Цементы общестроительные. Технические условия
ГОСТ 31359-2007 Бетоны ячеистые автоклавного твердения. Технические условия
ГОСТ 31384-2008 Защита бетонных и железобетонных конструкций от коррозии. Общие технические требования
ГОСТ 31914-2012 Бетоны высокопрочные тяжелые и мелкозернистые для монолитных конструкций. Правила контроля и оценки качества
Примечание - При пользовании настоящим стандартом целесообразно проверить действие ссылочных стандартов в информационной системе общего пользования - на официальном сайте Федерального агентства по техническому регулированию и метрологии в сети Интернет или по ежегодному информационному указателю "Национальные стандарты", который опубликован по состоянию на 1 января текущего года, и по выпускам ежемесячного информационного указателя "Национальные стандарты" за текущий год. Если ссылочный стандарт заменен (изменен), то при пользовании настоящим стандартом следует руководствоваться заменяющим (измененным) стандартом. Если ссылочный стандарт отменен без замены, то положение, в котором дана ссылка на него, применяется в части, не затрагивающей эту ссылку.
В настоящем стандарте применены термины по ГОСТ 25192, ГОСТ 24211, ГОСТ 30515, а также следующие термины с соответствующими определениями:
3.1 минеральная добавка: Дисперсный неорганический материал природного или техногенного происхождения, вводимый в бетонную или растворную смесь в процессе их приготовления в целях направленного регулирования их технологических свойств и/или строительно-технических свойств бетонов и/или придания им новых свойств.
3.2 зола-уноса: Мелкая, состоящая преимущественно из шарообразных стекловидных частиц пыль, образующаяся при сгорании мелко смолотого угля и обладающая пуццолановыми свойствами и/или гидравлической активностью.
3.3 стандартный цемент для испытаний: Портландцемент (типа ЦЕМ I) класса по прочности 42, 5 или выше согласно ГОСТ 31108 с установленными требованиями по качеству, применяемый для испытаний в целях доказательства соответствия или несоответствия требованиям.
3.4 средняя плотность частиц: Средняя плотность частиц золы-уноса, включая полое пространство внутри частиц.
3.5 индекс активности: Отношение в процентах предела прочности при сжатии испытанных в одном возрасте стандартных призм строительных растворов основного и контрольного составов.
3.6 производственный контроль: Текущий статистический контроль качества золы на основе контроля проб, взятых производителем или его представителем на выходе(ах) установки, производящей золу.
3.7 период наблюдений: Период времени производства и/или поставки, который установлен для оценки результатов контрольных испытаний.
3.8 перцентиль: Характеристика набора данных, выражающая ранг элемента в виде процента (от 0 % до 100 %) таким образом, что наименьшему значению соответствует нулевой перцентиль, наибольшему - 100-й перцентиль, медиане - 50-й перцентиль и т.д.
3.9 характеристическое значение: Требуемое значение показателя качества, за которым находится установленное процентное число (перцентиль Рk) всех значений генеральной совокупности.
3.10 установленное характеристическое значение: Характеристическое значение какого-либо химического или физического показателя качества, которое в случае максимально предельного значения не может быть превышено или, как минимум мере, не должно быть достигнуто в случае достижения минимальной предельной границы.
3.11 предельно допустимое значение единичного результата испытаний: Значение какого-либо химического или физического показателя качества, которое не может быть превышено для каждого отдельного результата испытания или, по меньшей мере, не должно быть достигнуто в случае достижения минимальной предельной границы.
3.12 допустимый риск потребителя; CR: Допустимая вероятность приемки партии продукции, обладающей браковочным уровнем дефектности.
3.13 план отбора проб: Специальный план, который содержит используемое(ые) [статистическое(ие)] значение(я) выборочной(ых) пробы (проб) (перцентиль Рk) и допустимый риск потребителя CR.
3.14 объединенная проба: Проба, состоящая из точечных проб, характеризующая партию в целом и предназначенная для всех лабораторных испытаний золы. Она может состоять из одного или нескольких следующих непосредственно друг за другом взятых порций.
3.15 лабораторная проба: Проба, приготовленная из объединенной пробы и предназначенная для лабораторных исследований или испытаний.
3.16 химическая добавка: Органическое или неорганическое вещество, вводимое в смеси в процессе их приготовления в целях направленного регулирования их технологических свойств и/или строительно-технических свойств бетонов и растворов и/или придания им новых свойств.
3.17 контрольный состав: Цементно-песчаный раствор, состоящий из одной части стандартного цемента и трех частей стандартного полифракционного песка.
3.18 основной состав: Цементно-зольно-песчаный раствор, состоящий из одной части смеси стандартного цемента с золой в заданном соотношении и трех частей стандартного полифракционного песка.
3.19 водопотребность золы: Отношение количества воды затворения в строительных растворах основного и контрольного составов одинаковой подвижности в процентах.
3.20 средняя насыпная плотность золы: Плотность золы в неуплотненном состоянии, которая учитывает стандартный объем частиц золы, включая их пористость, и объем пространства между частицами (пустотность).
4.1 Золы должны соответствовать требованиям настоящего стандарта и технологической документации предприятия - производителя бетона и изделий из него.
4.2 Характеристики золы
4.2.1 Основные параметры, виды и типы
4.2.1.1 Золы по виду сжигаемого угля подразделяют:
- на антрацитовые (А), образующиеся при сжигании антрацита, полуантрацита и тощего каменного угля;
- каменноугольные (КУ), образующиеся при сжигании каменного угля, кроме тощего;
- буроугольные (БУ), образующиеся при сжигании бурого угля.
4.2.1.2 Золы в зависимости от химического состава подразделяют на типы:
- кислые (К) - антрацитовые, каменноугольные и буроугольные, содержащие оксид кальция до 10 % масс.;
- основные (О) - буроугольные, содержащие оксид кальция более 10 % масс.
4.2.1.3 Золы по назначению подразделяют на четыре вида:
I - для железобетонных конструкций и изделий из тяжелого или мелко-зернистого по ГОСТ 26663 и легкого по ГОСТ 25820 бетонов;
II - для бетонных конструкций и изделий из тяжелого или мелкозернистого по ГОСТ 26663 и легкого по ГОСТ 25820 бетонов, строительных растворов по ГОСТ 28013;
III - для изделий и конструкций из ячеистого бетона по ГОСТ 25485 и ГОСТ 31359;
IV - для бетонных и железобетонных изделий и конструкций, работающих в особо тяжелых условиях (гидротехнические сооружения, дороги, аэродромы и др.) по ГОСТ 31384.
4.2.1.4 Золы в зависимости от потерь при прокаливании, % масс., подразделяют на категории:
А ... не более 2, 0;
Б ... не более 5, 0;
В ... не более 9, 0;
Г ... более 9, 0.
4.2.1.5 Золы в зависимости от показателя дисперсности подразделяют на классы по остатку на сите с размером ячеек 45 мкм*, определяемом методом мокрого просеивания по ГОСТ 8735:
1 ... остаток на сите менее 15 %;
2 ... остаток на сите свыше 15 %, но не более 40 %;
3 ... остаток на сите свыше 40 %.
──────────────────────────────
* В Российской Федерации размер сита - по ГОСТ Р 51568-99 (ИСО 3310-1-99) "Сита лабораторные из металлической проволочной сетки. Технические условия".
4.2.1.6 Условное обозначение золы включает в себя: сокращенное обозначение наименования (ЗУ), обозначение вида сжигаемого угля, типа, вида золы, ее категорию, класс, обозначение настоящего стандарта.
Пример условного обозначения каменноугольной кислой золы, применяемой для изготовления железобетонных конструкций, категории по потере при прокаливании Б, класса по остатку на сите 45 мм:
ЗУ КУК-Б-1 ГОСТ 25818-201X
4.2.1.7 Допускается применение золы, полученной при сжигании разных видов углей. Пригодность золы, полученной при совместном сжигании углей различных видов, считается установленной, если доказано полное ее соответствие требованиям, установленным согласно 4.2.2, 4.3 и 4.4.
Примечание - Пригодность золы, полученной при совместном сжигании разных видов углей, устанавливается и документируется производителем. Первое совместное сжигание в топочной камере проводят с использованием по возможности максимального соотношения частей совместного сжигаемых видов угля. Для установления пригодности золы отбирают представительную лабораторную пробу.
4.2.2 Характеристики
4.2.2.1 Качественные показатели зол различных видов должны соответствовать требованиям, указанным в таблице 1.
|
Наименование показателя |
Вид сжигаемого угля |
Значение показателя для золы вида | |||
|
I |
II |
III |
IV | ||
|
Содержание оксида кальция СаО, % масс.: | |||||
|
- для кислой золы, не более |
Любой |
10 |
10 |
10 |
10 |
|
- для основной золы, св. |
Бурый |
10 |
10 |
10 |
10 |
|
в том числе свободного оксида кальция СаОсв, не более: |
Не нормируется | ||||
|
- для кислой золы |
Любой | ||||
|
- для основной золы |
Бурый |
5 |
5 |
Не нормируется |
2 |
|
Содержание оксида магния MgO, % масс., не более |
Любой |
5 |
5 |
Не нормируется |
5 |
|
Содержание сернистых и сернокислых соединений в пересчете на SO3, % масс., не более: | |||||
|
- для кислой золы |
Любой |
3 |
5 |
3 |
3 |
|
- для основной золы |
Бурый |
5 |
5 |
6 |
3 |
|
Содержание щелочных оксидов в пересчете на Na2O, % масс., не более: | |||||
|
- для кислой золы |
Любой |
3 |
3 |
3 |
3 |
|
- для основной золы |
Бурый |
1, 5 |
1, 5 |
3, 5 |
1, 5 |
|
Содержание хлорид-ионов, % масс., не более |
Любой |
0, 1 |
0, 1 |
0, 1 |
0, 1 |
|
Потеря массы при прокаливании (п.п.п.), % масс., не более: | |||||
|
- для кислой золы |
Антрацитовый |
20 |
25 |
10 |
10 |
|
Каменный |
10 |
15 |
7 |
5 | |
|
Бурый |
3 |
5 |
5 |
2 | |
|
- для основной золы |
Бурый |
3 |
5 |
3 |
3 |
|
Удельная поверхность, м2/кг, не менее: | |||||
|
- для кислой золы |
Любой |
250 |
150 |
250 |
300 |
|
- для основной золы |
Бурый |
250 |
200 |
150 |
300 |
|
Остаток на сите N 008, % масс., не более: | |||||
|
- для кислой золы |
Любой |
20 |
30 |
20 |
15 |
|
- для основной золы |
Бурый |
20 |
20 |
30 |
15 |
|
Примечания 1 Допускается в основных золах содержание свободного оксида кальция СаОсв и оксида магния MgO вышеуказанного в настоящей таблице, если обеспечивается равномерность изменения объема образцов при испытании их в автоклаве или применение этих зол обосновано специальными исследованиями бетона по долговечности с учетом конкретных условий эксплуатации. 2 Допускается в золах содержание сернистых и сернокислых соединений и потеря массы при прокаливании вышеуказанных в настоящей таблице, если применение этих зол обосновано специальными исследованиями по долговечности бетонов и коррозионной стойкости арматуры. 3 Допускается в золах видов I-III больший остаток на сите N 008 и меньшее значение удельной поверхности, чем указано в настоящей таблице, если при применении этих зол обеспечиваются заданные показатели качества бетона. | |||||
4.2.2.2 Золы в смеси с портландцементом должны обеспечивать равномерность изменения объема по ГОСТ 30744 при испытании образцов кипячением в воде (расширение не более 10 мм), а золы, содержащие свободный оксид кальция СаОсв и оксид магния MgO вышеуказанных в таблице 1 значений, а также основные золы вида III - в автоклаве согласно методике ГОСТ 310.3.
4.2.2.3 Влажность золы должна быть не более 1 % масс.
4.2.2.4 Золы в зависимости от значения суммарной удельной эффективной активности естественных радионуклидов Аэфф по ГОСТ 30108 применяют:
- для производства материалов, изделий и конструкций, применяемых для строительства и реконструкции жилых и общественных зданий, при Аэфф до 370 Бк/кг;
- для производства материалов, изделий и конструкций, применяемых для строительства производственных зданий и сооружений, а также для строительства дорог в пределах территорий населенных пунктов и зон перспективной застройки при Аэфф свыше 370 до 740 Бк/кг.
При необходимости в нормативных нормах, действующих на территории государства - участника Соглашения, значение удельной эффективной активности естественных радионуклидов может быть изменено в пределах норм, указанных выше.
4.3 Дополнительные требования к химическому составу
4.3.1 Для кислых зол суммарное содержание диоксида кремния SiO2, оксида алюминия Al2O3 и оксида железа Fe2O3, определенное по ГОСТ 5382, не должно быть меньше 70 % масс.
4.3.2 Содержание растворимых фосфатов (в пересчете на Р2О5), определенное по ГОСТ 20851.2, не должно превышать 100 мг/кг.
4.4 Дополнительные требования к физико-химическим показателям
4.4.1 Индекс активности
Индекс активности золы через 28 суток должен составлять не менее 75 %, через 90 суток - не менее 85 %.
4.4.2 Плотность золы
Истинную плотность золы устанавливают пикнометрическим методом по ГОСТ 310.2 или ГОСТ 30744.
Насыпную плотность золы определяют в соответствии с методиками, приведенными в ГОСТ 8735 и ГОСТ 8269.0; при поставке она не должна отклоняться более чем на ± 0, 2 г/см3 (200 кг/м3) от заявленного производителем значения.
4.4.3 Начало схватывания
Время схватывания не должно наступать позже двойного времени схватывания испытательного цемента и не должно превышать 180 мин.
4.4.4 Водопотребность
Водопотребность золы не должна превышать 95 %.
4.5 Состав и свойства золы должны обеспечивать производство долговечного и высокофункционального бетона по ГОСТ 31384, ГОСТ 31914 и ГОСТ 25192.
4.6 Зола не должна содержать веществ, опасных для здоровья и окружающей среды.
5.1 Зола должна быть принята службой технического контроля предприятия-производителя в соответствии с ГОСТ 15.309 и ГОСТ 16504.
5.2 Предприятие-производитель осуществляет контроль качества зол путем проведения приемо-сдаточных и периодических испытаний.
5.3 При проведении приемо-сдаточных испытаний не реже одного раза в сутки определяют влажность, удельную поверхность или остаток из сите N 008, потерю массы при прокаливании, для основных зол дополнительно - содержание свободного оксида кальция СаОсв.
5.4 При периодических испытаниях определяют:
- один раз в неделю для основных зол - содержание сернистых и сернокислых соединений в пересчете на SO3 и равномерность изменения объема;
- один раз в месяц - насыпную плотность, индекс активности, водопотребность, начало схватывания, сумму оксидов;
- один раз в квартал - содержание оксидов кальция СаО, магния MgO, натрия и калия в пересчете на Na2O, содержание фосфатов, а для кислых зол - содержание сернистых и сернокислых соединений в пересчете на оксид серы (VI) SO3 и равномерность изменения объема;
- один раз в год - удельную активность радионуклидов, истинную плотность.
Указанные показатели качества определяют также каждый раз при изменении вида угля и условий его сжигания.
5.5 Для проверки качества зол используют одну объединенную пробу, которую составляют не менее чем из пяти точечных проб. Масса точечной пробы должна быть не менее 2 кг. Число и порядок отбора проб, обеспечивающие их представительность, устанавливают в технологической документации, разработанной в установленном порядке, с учетом конкретных условий работы тепловой станции. Объем пробы должен учитывать физические характеристики и степень гетерогенности материала.
Из объединенной пробы квартованием отбирают лабораторную пробу, масса которой должна быть достаточной для проведения всех испытаний, предусмотренных настоящим стандартом.
5.6 Потребитель проводит входной контроль качества зол, применяя при этом порядок отбора и подготовки проб в соответствии с требованиями ГОСТ 30515.
5.7 Количество поставляемой золы определяют по массе.
5.8 Предприятие-производитель сопровождает каждую партию золы документом о качестве.
Партией считают количество золы, одновременно отгружаемое одному потребителю в течение суток.
В документе о качестве указывают:
- обозначение золы в соответствии с 4.2.1.6;
- наименование и адрес предприятия-поставщика;
- наименование и адрес потребителя;
- номер и дату выдачи документа;
- номер партии и количество золы;
- номер транспортных средств и номера накладных;
- результаты периодических испытаний золы;
- суммарную удельную эффективную активность естественных радионуклидов.
5.9 Потребителю по запросу должна быть предоставлена информация о следующих свойствах золы и результатах испытаний:
- характеристика цемента, использованного для испытаний;
- произведена ли зола при совместном сжигании различных видов угля, если "да" - заявление о соответствии золы стандарту;
- химический состав золы, с указанием содержания диоксида кремния (SiO2), оксида алюминия (Al2O3) и оксида железа (III) (Fe2O3);
- общее содержание щелочей в пересчете на Na2O;
- значение насыпной и истинной плотности;
- водопотребность для стандартной консистенции цементного вяжущего, произведенного из золы и испытательного цемента;
- водопотребность золы.
6.1 Химический состав зол определяют по ГОСТ 8269.1, влажность - по ГОСТ 8269.0.
6.2 Содержание свободного оксида кальция СаОсв определяют по ГОСТ 23227 или по методике, приведенной в приложении Б.
6.3 Потерю массы при прокаливании определяют по ГОСТ 11022.
6.4 Остаток на сите N 008 и удельную поверхность определяют по ГОСТ 310.2 или ГОСТ 30744.
6.5 Равномерность изменения объема смеси цемента с золой определяют по ГОСТ 30744 при испытании образцов кипячением в воде, при этом золу смешивают с портландцементом в соотношении 30 % : 70 % массы соответственно до получения теста нормальной густоты.
Равномерность изменения объема смеси цемента с золой, содержащей свободный оксид кальция СаОсв и оксид магния MgO выше значений, указанных в таблице 1, а также с основной золой вида III определяют по ГОСТ 310.3 в автоклаве или в соответствии с приложением В. При этом золу смешивают с цементом в соотношении 1:1 до получения теста нормальной густоты.
6.6 Начало схватывания по ГОСТ 30744 определяют на цементном вяжущем с массовой долей золы, равной 25 %, и массовой долей испытательного цемента, равной 75 %.
6.7 Водопотребность золы определяют в соответствии с приложением Г с учетом требований ГОСТ 30744.
6.8 Индекс активности золы определяют в соответствии с приложением Д.
6.9 Содержание растворимых фосфатов [в пересчете на оксид фосфора (V) Р2O5] определяют по ГОСТ 20851.2. Для испытания требуется проба золы в количестве 250, 0 г.
6.10 Удельную эффективную активность естественных радионуклидов, содержащихся в золе, определяют гамма-спектрометрическим методом по ГОСТ 30108.
7.1 Соответствие уровня качества золы требованиям настоящего стандарта должно подтверждаться результатами приемо-сдаточных испытаний объединенных проб, полученных по ГОСТ 30515 с учетом 5.5, для каждой партии золы.
Порядок проведения приемо-сдаточных испытаний производителем установлен в 5.3.
Статистический метод, который следует применять для подтверждения соответствия качества золы, указан в таблице 2.
|
Наименование показателя |
Статистический метод доказательства | |
|
Оценка по переменным |
Оценка по приемочному числу (числу несоответствующих проб)* | |
|
Влажность |
+ |
- |
|
Потеря массы при прокаливании |
+ |
- |
|
Удельная поверхность |
+ |
- |
|
Остаток на сите |
+ |
- |
|
Свободный оксид кальция |
- |
+ |
|
Равномерность изменения объема (расширение) |
- |
+ |
|
Водопотребность |
- |
+ |
|
Плотность |
- |
+ |
|
Индекс активности в возрасте 28 и 90 сут |
- |
+ |
|
Начало схватывания |
- |
+ |
|
Вещественный состав, сумма оксидов кремния, алюминия и железа |
- |
+ |
|
Содержание оксида серы (VI) SO3 |
- |
+ |
|
Содержание хлорид-иона |
- |
+ |
|
Содержание оксида магния MgO |
- |
+ |
|
Содержание щелочей |
- |
+ |
|
Содержание фосфатов |
- |
+ |
|
Опасные вещества и радиоактивность |
- |
+ |
|
* Если в течение оцениваемого периода число испытанных проб было не менее одной в каждую неделю, то следует применять метод оценки по переменным. Примечание - Статистический метод распространяется на все типы зол. | ||
7.2 Соответствие уровня качества золы следует определять по статистическому критерию, основанному:
- на установленных значениях физико-механических и химических показателей золы;
- значении перцентиля Рk от 10 %, на котором базируются установленные значения (вероятность принятия партии золы, не отвечающей установленным требованиям);
- допустимом риске потребителя CR для приемочного числа, равном 5 % (риск получения потребителем партии золы, не отвечающей установленным требованиям).
Соответствие уровня качества золы требованиям настоящего стандарта должно быть доказано либо оценкой по переменным, либо оценкой по приемочному числу, как указано в таблице 2. Оценке подлежат результаты приемочного контроля за 12 мес.
7.3 При оценке по переменным исходят из того, что результаты испытаний имеют приблизительно нормальное распределение.
Оценку осуществляют по ГОСТ 30515. Соответствие считают подтвержденным, если выполняются условия, установленные ГОСТ 30515.
7.4 При оценке по приемочному числу (числу дефектных проб) следует определить число результатов испытаний СД, которые не удовлетворяют установленному значению (число дефектных проб), и сравнить его с приемочным числом СА, которое определяют в зависимости от числа испытаний n, выполненных в течение оцениваемого периода, а также от установленного перцентиля Рk. Оценку осуществляют по ГОСТ 30515.
Соответствие считают подтвержденным, если выполняется условие
СД ≤ СА.
(1)
7.5 Соответствие золы требованиям настоящего стандарта считают подтвержденным, если выполняются критерии соответствия по 7.2-7.4. Соответствие следует определять постоянно на основании результатов испытаний проб, отобранных от каждой партии золы за весь оцениваемый период.
7.6 При оценке качества золы на основе переменных соответствие требованиям качества считается доказанным, если выполняются равенства:
X̅+kA·s≤U,
(2)
X̅-kA·s≤L,
(3)
где X̅ - среднее арифметическое значение совокупности всех полученных за период наблюдения результатов контрольных испытаний;
kA - постоянная отбора проб;
s - стандартное отклонение совокупности всех полученных за период наблюдения результатов контрольных испытаний;
U - установленное верхнее предельное значение;
L - установленное нижнее предельное значение.
При проведении испытаний результаты испытаний считаются нормально распределенными.
Постоянная отбора проб kА зависит от Рk, на котором основывается характеристическое значение, а также от допустимого риска потребителя CR и числа результатов испытаний n.
В таблице 3 приведены значения для kА.
|
Число результатов испытаний n |
kА* |
|
От 20 до 21 включ. |
1, 93 |
|
" 22 " 23 " |
1, 89 |
|
" 24 " 25 " |
1, 85 |
|
" 26 " 27 " |
1, 82 |
|
" 28 " 29 " |
1, 80 |
|
" 30 " 34 " |
1, 78 |
|
" 35 " 39 " |
1, 73 |
|
" 40 " 44 " |
1, 70 |
|
" 45 " 49 " |
1, 67 |
|
" 50 " 59 " |
1, 65 |
|
" 60 " 69 " |
1, 61 |
|
" 70 " 79 " |
1, 58 |
|
" 80 " 89 " |
1, 56 |
|
" 90 " 99 " |
1, 54 |
|
" 100 " 149 " |
1, 53 |
|
" 150 " 199 " |
1, 48 |
|
" 200 " 299 " |
1, 45 |
|
" 300 " 399 " |
1, 42 |
|
От 400 |
1, 40 |
|
* Допускается использование значений kА для всех промежуточных значений n. | |
7.7 Для доказательства соответствия уровня качества золы требованиям настоящего стандарта дополнительно к оценке по статистическим критериям необходимо показать, что все единичные результаты приемо-сдаточных и периодических испытаний не более (не менее) предельных значений, приведенных в таблице 4.
|
Характеристика |
Предельные значения для единичных результатов |
|
Потери при прокаливании (верхнее предельное значение), % массовой доли, для золы категории: | |
|
А |
4, 0 |
|
Б |
7, 0 |
|
В |
10, 0 |
|
Г |
25, 0 |
|
Колебания дисперсности (нижнее и верхнее предельные значения), % заявленного значения |
± 15 |
|
Хлорид (верхнее предельное значение), % массовой доли |
0, 10 |
|
Свободный оксид кальция (верхнее предельное значение), % массовой доли |
2, 6 |
|
Триоксид серы (верхнее предельное значение), % массовой доли |
3, 5 |
|
Сумма оксидов кремния, алюминия и железа (нижнее предельное значение), % массовой доли |
65 |
|
Оксид магния (верхнее предельное значение), % массовой доли |
4, 5 |
|
Общее содержание щелочей (верхнее предельное значение), % массовой доли |
5, 5 |
|
Растворимые фосфаты (верхнее предельное значение), мг/кг |
110 |
|
Постоянство объема (верхнее предельное значение), мм |
10, 0 |
|
Индекс активности в возрасте 28 сут (нижнее предельное значение), % |
70 |
|
Индекс активности в возрасте 90 сут (нижнее предельное значение), % |
80 |
|
Колебания плотности (нижнее и верхнее предельные значения), кг/м3 от заявленного значения |
± 225 |
|
Начало схватывания (верхнее предельное значение) |
На 20 мин дольше двойного времени до момента начала схватывания испытательного цемента |
|
Водопотребность (верхнее предельное значение), % |
97 |
7.8 При контроле химического и вещественного состава золы допускается для единичных результатов предельное отклонение содержания компонентов не более + 2 % для установленного максимального значения.
8.1 Золы транспортируют в специализированных вагонах-цементовозах, хопперах, судах, а также в автоцементовозах в соответствии с правилами перевозки грузов, действующими на соответствующих видах транспорта.
При транспортировании зол в вагонах-цементовозах и хопперах необходимо соблюдать требования ГОСТ 22235, правил перевозок грузов и технических условий погрузки и крепления грузов на железных дорогах общего и необщего пользования, действующих на территории государства - участника Соглашения. Вагоны следует загружать с учетом полного использования их грузоподъемности.
8.2 Золу допускается поставлять специальными системами транспортирования для бестарных перевозок или в специальной упаковке.
На упаковке и в документах на бестарную перевозку должны быть указаны наименование предприятия-производителя и маркировка золы.
8.3 Золы хранят в силосах или других крытых емкостях.
9.1 Производитель гарантирует соответствие золы требованиям настоящего стандарта при соблюдении правил его транспортирования и хранения при поставке без упаковки на момент поставки, но не более 60 сут с даты отгрузки, а при поставке в таре - в течение 90 сут с даты отгрузки.
9.2 Гарантийный срок хранения золы при соблюдении требований раздела 8 должен быть приведен в стандарте организации или технических условиях на конкретный вид золы.
Приложение А
(рекомендуемое)
А.1 Золу применяют как минеральную добавку или наполнитель при изготовлении тяжелых, легких, ячеистых бетонов, сухих строительных смесей и строительных растворов, а также в составе минеральных вяжущих для приготовления смесей и укрепленных грунтов в дорожном строительстве.
А.2 При изготовлении тяжелых, легких бетонов и строительных растворов золы следует применять в целях экономии цемента, заполнителей, улучшения технологических свойств бетонной и растворной смесей, а также показателей качества бетонов и растворов.
А.3 При изготовлении ячеистых бетонов кислые золы следует применять в качестве кремнеземистого компонента смеси, а также в целях экономии цемента в бетонах неавтоклавного твердения. Основные золы с содержанием оксида кальция СаО не менее 30 % следует применять в качестве вяжущего для частичной замены извести или цемента в ячеистых бетонах автоклавного и неавтоклавного твердения. Применение золы с удельной поверхностью менее 250 м2/кг допускается после ее предварительного домола.
А.4 Зола для жаростойких бетонов, применяемая в целях экономии цемента и улучшения эксплуатационных свойств бетона, по химическому составу и дисперсности должна соответствовать требованиям ГОСТ 20910.
А.5 В конструкционно-теплоизоляционных бетонах кислую золу следует применять для частичной или полной замены пористых песков и снижения средней плотности бетона.
А.6 Для конструкций подводных и внутренних зон гидротехнических сооружений следует применять кислую золу вида IV.
А.7 Оптимальное содержание золы в тяжелых, легких, ячеистых бетонах, сухих строительных смесях и строительных растворах устанавливают в результате подбора составов на конкретных материалах при условии обеспечения требуемых показателей качества бетона и раствора в изделиях, конструкциях и коррозионной стойкости арматуры.
А.8 Для повышения эффективности применения золы в бетонах применяют химические добавки по ГОСТ 24211.
А.9 В целях обеспечения коррозионной стойкости ненапрягаемой арматуры в железобетонных конструкциях, эксплуатируемых в неагрессивных средах, содержание кислой золы в бетоне не должно превышать по массе расход портландцемента. При этом минимальное содержание цемента устанавливают по ГОСТ 26633 и ГОСТ 31384. Возможность увеличения содержания золы в тяжелых, легких бетонах сборных и монолитных железобетонных конструкций устанавливают после проведения специальных исследований по коррозионной стойкости арматуры, деформативным свойствам и долговечности бетонов, выполненных на конкретных материалах.
А.10 Применение кислой золы в бетонах железобетонных конструкций, в том числе преднапряженных, предназначенных для эксплуатации в агрессивных средах, допускается только при условии соответствия требованиям ГОСТ 31384. Применение золы в бетонах преднапряженных конструкций, армированных термически упрочненной арматурной сталью, склонной к коррозионному растрескиванию, не допускается без проведения специальных исследований.
А.11 Основные золы с содержанием оксида кальция СаО не менее 30 % масс. при изготовлении строительных растворов и бетонов для сборных и монолитных бетонных и железобетонных изделий и конструкций следует применять в качестве компонента цемента или другого вяжущего.
При этом суммарное содержание сернистых и сернокислых соединений в бетоне в пересчете на оксид серы (VI) SO3 не должно превышать 3 % по массе.
Приложение Б
(обязательное)
Б.1 Аппаратура, реактивы и растворы
Сахароза, 10 %-ный раствор по ГОСТ 5833.
Кислота соляная HCl, 0, 1 н раствор по ГОСТ 3118.
Фенолфталеин (индикатор), 1 %-ный спиртовой раствор.
Б.2 Проведение анализа
Навеску золы массой 1, 5 г растирают в агатовой ступке в течение 5 мин. Навеску свежерастертой золы массой (0, 2 ± 0, 0002) г помещают в стакан вместимостью 500 мл, добавляют 100 мл 10 %-ного раствора сахарозы и перемешивают в магнитной мешалке в течение 10 мин, после чего фильтруют в коническую колбу вместимостью 500 мл. С помощью пипетки отбирают 50 мл фильтрата и переносят в колбу вместимостью 250 мл, прибавляют две-три капли фенолфталеина и титруют 0, 1 н раствором соляной кислоты. Титрование проводят по каплям до исчезновения окраски.
Б.3 Обработка результатов
Массовую долю свободного оксида кальция в процентах вычисляют по формуле
,
(Б.1)
где V - объем раствора HCl, пошедший на титрование, мл;
V1 - объем исходного раствора, мл;
V2 - объем аликвотной части раствора, мл;
0, 002804 - количество оксида кальция, соответствующее 1 мл 0, 1 н раствора соляной кислоты;
m - масса навески, г.
Приложение В
(рекомендуемое)
В.1 Аппаратура
Формы для изготовления образцов-призм размерами 25 x 25 x 280 мм (см. рисунок В.1).
Вкладыши из нержавеющей стали (см. рисунок В.2).
Длинномер оптический вертикальный типа ИЗВ-2 или любой другой прибор для измерения длины образцов, обеспечивающий точность отсчета не менее 0, 01 мм.
Эталон с изолирующей оправой (см. рисунок В.3) для контрольной тарировки прибора.
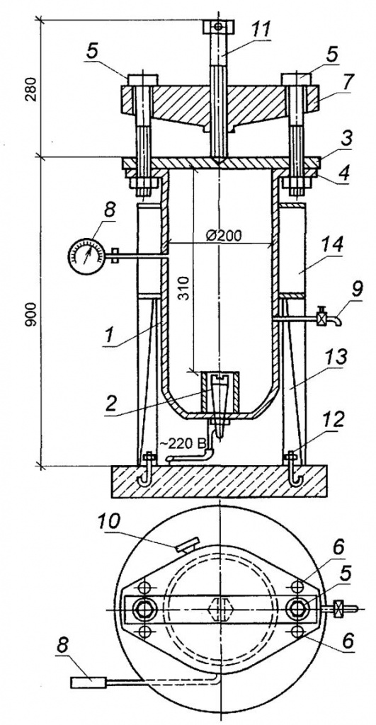
Автоклав лабораторный с контрольной автоматикой, способной поддерживать манометрическое давление (2, 1 ± 0, 1) МПа [(21 ± 1) кгс/см2] (см. рисунок В.4).
Ванна с гидравлическим затвором по ГОСТ 310.3.
В.2 Изготовление образцов
В.2.1 Из цементно-зольного теста нормальной густоты изготовляют образцы-призмы размерами 25 x 25 x 280 мм с двумя вкладышами, расстояние между торцами которых должно быть 250 мм. Вкладыши располагают по продольной оси образцов на их торцах. Цементно-зольное тесто нормальной густоты приготовляют по ГОСТ 310.3, при этом кислую золу смешивают с цементом в соотношении 1:1, а основную золу - в соотношении, в котором предполагается использовать в производстве. Одновременно на том же цементе изготовляют образцы-призмы из цементного теста нормальной густоты (без золы).
В.2.2 Перед изготовлением образцов внутреннюю поверхность форм (исключая вкладыши) смазывают машинным маслом. Стыки наружных стенок с поддоном формы промазывают тонким слоем солидола или другой густой смазкой.
В.2.3 После окончания перемешивания форму заполняют цементно-зольным (цементным) тестом в два приема, примерно равными по высоте слоями. Каждый слой уплотняют штыковкой с отжатием теста в углы вокруг вкладышей. Избыток теста срезают вровень с верхом формы и поверхность образцов заглаживают.
В.2.4 Изготовленные образцы в формах хранят в ванне с гидравлическим затвором при температуре (20 ± 2) °С в течение (21 ± 2) ч.
В.2.5 Образцы, имеющие через (24 ± 2) ч недостаточную прочность, допускается вынимать из форм через 48 ч с указанием этого срока в журнале.
В.3 Проведение испытаний
В.3.1 После распалубки измеряют первоначальную длину образцов-призм и эталона с точностью 0, 01 мм, после чего образцы помещают в предварительно подготовленный автоклав. Эталон хранят постоянно в том же помещении, где и измеритель длины. В автоклаве образцы устанавливают в вертикальном положении над водой таким образом, чтобы вес образца не передавался на вкладыш-упор и образцы не касались друг друга и стенок автоклава.
Автоклав должен содержать достаточное количество воды (7 % - 10 %) от рабочего объема резервуара автоклава температурой (20 ± 2) °С, обеспечивающей среду насыщенного пара в течение испытания.
После включения автоклава открывают спускной кран, чтобы вытеснить из автоклава воздух. Как только из крана начнет выходить пар, кран необходимо закрыть и поднимать температуру в автоклаве со скоростью, обеспечивающей получение давления (2, 1 ± 0, 1) МПа за 60-90 мин, считая со времени включения автоклава.
Давление (2, 1 ± 0, 1) МПа поддерживают в автоклаве в течение 3 ч. По окончании этого периода автоклав отключают и охлаждают с такой скоростью, чтобы через 1, 5 ч давление в автоклаве не превышало 0, 1 МПа. После этого осторожно открывают спускной кран и давление в автоклаве выравнивают с атмосферным.
Затем автоклав открывают, образцы помещают в воду температурой 90 °С. Далее воду, в которую помещены образцы, охлаждают добавлением холодной воды таким образом, чтобы через 15 мин температура воды снизилась до (20 ± 2) °С.
Последующие 15 мин образцы выдерживают в воде указанной температуры. Затем образцы извлекают из воды, их поверхность обтирают, измеряют длину образцов после испытания в автоклаве и длину эталона. Допускается открывать автоклав и измерять образцы на следующий день после испытания.
Эталоном служит стальной стержень с закаленными концами, вделанный в деревянную оправу для предохранения его от влияния температуры. С длиной эталона сравнивают длины измеряемых образцов-призм.
В процессе проведения автоклавного испытания необходимо строго соблюдать правила техники безопасности при работе с сосудами, находящимися под высоким давлением пара.
В.3.2 Значение относительного удлинения подсчитывают как среднее арифметическое результатов измерений четырех образцов. В случае получения отрицательной деформации (усадки) перед значением изменения длины ставят знак "минус".
В.4 Обработка результатов
Относительное удлинение каждого образца εi, %, рассчитывают по формуле
,
(В.1)
где
- длина образца до испытания в автоклаве с учетом длины вкладышей, мм;
- длина образца после испытания в автоклаве с учетом длины вкладышей, мм;
l0 - эффективная длина образца (расстояние между торцевыми поверхностями вкладышей), равная 250 мм;
- длина эталона, измеренная перед испытанием образцов в автоклаве, мм;
- длина эталона, измеренная после испытания образцов в автоклаве, мм.
Среднее относительное удлинение εcp определяют по формуле
.
(В.2)
Если при испытании относительное удлинение образцов не превышает 0, 5 %, золу считают выдержавшей испытание.

1 - донышко формы; 2 - боковая стенка формы; 3 - торцевая стенка формы; 4 - вкладыш из нержавеющей стали; 5 - винт М5 х 25; 6 - штифт
Рисунок В.1 - Форма для изготовления образцов-призм

Рисунок В.2 - Вкладыш из нержавеющей стали

1 - стержень из нержавеющей стали; 2 - изолирующая оправа (дуб с последующим покрытием наружной поверхности лаком)
Рисунок В.3 - Эталон с изолирующей оправой

1 - корпус; 2 - нагревательные электроды; 3 - крышка; 4 - верхний фланец; 5 - бугельные болты; 6 - фланцевые болты; 7 - двухплечий бугель; 8 - электроконтактный манометр; 9 - кран для спуска пара и воздуха; 10 - предохранительный клапан; 11 - упорный винт; 12 - фундаментные болты; 13 - опоры; 14 - защитный кожух автоклава
Рисунок В.4 - Схема лабораторного автоклава
Приложение Г
(обязательное)
Г.1 Сущность метода
Водопотребность золы определяют при ее добавке в растворную смесь путем сравнения водопотребности контрольной смеси (контрольный состав) и смеси, подвергаемой испытанию (основной состав), при обеспечении их равного расплыва.
Г.2 Аппаратура
Г.2.1 Мешалка по ГОСТ 30744.
Г.2.2 Гибкий скребок.
Г.2.3 Весы по ГОСТ 24104 с погрешностью не более 1 г.
Г.2.4 Встряхивающий стол.
Г.2.5 Форма, представляющая собой усеченный конус из нержавеющей стали или латуни высотой (60 ± 0, 5) мм, внутренним диаметром (100 ± 0, 5) мм снизу и (70 ± 0, 5) мм сверху. Внутренняя поверхность и края должны быть гладкими. Минимальная толщина стенок должна составлять 2, 0 мм.
Г.2.6 Трамбовка из прочного, не адсорбирующего воду стержня круглого поперечного сечения диаметром около 40 мм и длиной ≈ 200 мм. Срез стержня должен быть ровным и располагаться под прямым углом к длине трамбовки. Масса трамбовки - (0, 250 ± 0, 015) кг.
Г.2.7 Штангенциркуль с диапазоном измерения до 300 мм с точностью измерений 1 мм по ГОСТ 166.
Г.2.8 Мастерок.
Г.2.9 Линейка.
Г.3 Материалы
Г.3.1 Стандартный песок по ГОСТ 6139 и ГОСТ 30744.
Г.3.2 Контрольный цемент
Для определения водопотребности применяют общестроительный цемент по ГОСТ 31108 без минеральных добавок (типа ЦЕМ I) класса прочности 42, 5 и выше со следующими характеристиками:
- удельная поверхность - не менее 300 м2/кг (по Блейну);
- содержание трехкальциевого алюмината С3А в клинкере - от 6 % до 12 % масс.;
- содержание оксидов калия и натрия в пересчете на Na2O в клинкере - не более 1, 2 % масс.
Г.3.3 Дистиллированная вода.
Г.4 Состав растворной смеси
Состав растворной смеси должен соответствовать таблице Г.1.
|
Материал |
Контрольный состав |
Основной состав |
|
Цемент по 4.4.1, г |
450 ± 1 |
315 ± 1 |
|
Зола, г |
- |
135 ± 1 |
|
Песок, г |
1 350 ± 1 |
1 350 ± 1 |
|
Вода, г |
225 ± 1 |
Масса воды M, при добавлении которой консистенция по расплыву конуса растворной смеси отличается от консистенции растворной смеси контрольного состава не более чем на ± 10 мм |
Г.5 Методы
Метод смешивания - по ГОСТ 30744. Непосредственно после окончания смешивания должен быть определен расплыв растворной смеси на встряхивающем столе.
Форму устанавливают посредине на предварительно очищенном влажной тканью и смазанном минеральным маслом встряхивающем столе. Если стол не использовался в течение суток, проводят десять стряхиваний. Форму заполняют растворной смесью через (60 ± 5) с после окончания смешивания в два слоя, уплотняя каждый слой десятью ударами трамбовки и обеспечивая равномерное заполнение. Избыток растворной смеси убирают с помощью мастерка, со стола убирают остатки воды. Примерно через 15 с начинают встряхивание. В течение (15 ± 2) с стол должен подниматься и опускаться 15 раз. Затем снимают форму и определяют расплыв растворной смеси с помощью штангенциркуля в двух перпендикулярных направлениях, показания округляют с точностью до 1 мм. Для расчета используют среднее значение. Если результаты измерений различаются более чем на 10 %, проводят повторное испытание.
Содержание воды в растворной смеси основного состава, регулируют таким образом, чтобы ее расплыв находился в диапазоне, равном ± 10 мм расплыва растворной смеси контрольного состава.
Г.6 Расчет
Водопотребность золы рассчитывают в процентах по формуле
,
(Г.1)
где М - количество воды, используемое для приготовления испытуемой растворной смеси основного состава, г.
Г.7 Отчет об испытании
Значение водопотребности золы округляют до 1 %.
Приложение Д
(обязательное)
Д.1 Индекс активности определяют путем сравнения прочности при сжатии в возрасте 28 и 90 сут стандартных призм 40 х 40 x 160 мм, изготовленных по ГОСТ 30744 из растворных смесей контрольного цементно-песчаного и основного цементно-зольно-песчаного составов. При этом изготовляют не менее трех образцов для каждого установленного срока испытания контрольного и основного состава.
Д.2 Для определения индекса активности применяют общестроительный цемент по ГОСТ 31108 без минеральных добавок (типа ЦЕМ I) класса прочности 42, 5 и выше со следующими характеристиками:
- удельная поверхность - не менее 300 м2/кг (по Блейну);
- содержание трехкальциевого алюмината С3А в клинкере - от 6 % до 12 % масс.;
- содержание оксидов калия и натрия в пересчете на Na2O в клинкере - не более 1, 2 % масс.
Д.3 Состав растворных смесей должен соответствовать таблице Д.1.
|
Материал |
Контрольный состав |
Основной состав |
|
Цемент по 4.4.1, г |
450 ± 1 |
337, 5 ± 1 |
|
Зола, г |
- |
112, 5 ± 1 |
|
Песок, г |
1 350 ± 1 |
1 350 ± 1 |
|
Вода, г |
225 ± 1 |
225 ± 1 |
Д.4 Из растворных смесей изготовляют серии стандартных призм, которые выдерживают в нормальных условиях по ГОСТ 10180 в течение 28 и 90 сут, а затем определяют прочность при сжатии по ГОСТ 30744.
Д.5 Индекс активности рассчитывают по следующим формулам:
ИА28=Ro28/Rк28·100 %;
(Д.1)
ИА90=Ro90/Rк90·100 %;
(Д.2)
где ИА28 - индекс активности золы в возрасте 28 сут;
ИА90 - индекс активности золы в возрасте 90 сут;
Ro28 и Ro90 - прочность при сжатии раствора основного состава в возрасте 28 и 90 сут соответственно;
Rk28 и Rk90 - прочность при сжатии раствора контрольного состава в возрасте 28 и 90 сут соответственно.


