ГОСТ 24614-81 ЖИДКОСТИ И ГАЗЫ, НЕ ВЗАИМОДЕЙСТВУЮЩИЕ С РЕАКТИВОМ ФИШЕРА. КУЛОНОМЕТРИЧЕСКИЙ МЕТОД ОПРЕДЕЛЕНИЯ ВОДЫ
Liquids and gases not reacting with the Karl Fischer reagent. Coulonometric method of water determination
Дата введения - 1 января 1982 г.
Введен впервые
Настоящий стандарт распространяется на жидкости и газы, не взаимодействующие с реактивом Фишера, и устанавливает кулонометрический метод определения воды.
Метод позволяет определять массовую долю воды в жидкостях от 0, 0001 до 100%, в газах - от 0, 0001 до 0, 1%.
Метод основан на реакции взаимодействия между водой и реактивом Фишера (метанольнопиридиновый раствор йода и сернистого ангидрида). Допускается применение модифицированного реактива Фишера, в котором вместо метанола используется этиловый эфир этиленгликоля (этилцеллозольв). Состав реактива: раствор N 1 (193, 3 см3 пиридина и 25, 63 г двуокиси серы), раствор N 2 (193, 6 см3 этилцеллозольва и 50, 77 г йода). Перед использованием растворы N 1 и 2 смешивают в объемном соотношении 1:1. Реактив пригоден для определения массовой доли воды карбонилсодержащих соединений. Конечную точку титрования определяют биамперометрически или бипотенциометрически.
Предел обнаружения по воде составляет 0, 00005%.
(Измененная редакция, Изм. N 2).
1.1. Для анализа жидкого продукта с температурой кипения не ниже 40°С пробу отбирают шприцем из пробоотборника, указанного в нормативно-технической документации на продукт. Шприц предварительно промывают анализируемым продуктом.
1.2. Для анализа газообразного продукта пробу из баллона (ГОСТ 949, вместимостью не более 5 дм3) со скоростью не более 200 см3/мин (по газовому счетчику) подают непосредственно в кулонометрическую ячейку.
1.3. Анализ сжиженных газов проводят из жидкой фазы. Для этого баллон с пробой устанавливают вентилем вниз и через кран тонкой регулировки газ подают непосредственно в кулонометрическую ячейку.
(Введен дополнительно, Изм. N 2).
2.1. Аппаратура, реактивы, материалы
Схема электрическая для кулонометрического титрования (черт. 1) включает:
источник постоянного тока, обеспечивающий напряжение на выходе до 100 В и силу тока до 100 мА;
микроамперметр постоянного тока с классом точности не ниже 2, 5 и с падением напряжения на шкале 100 мкА не более 100 мВ (внутреннее сопротивление не более 1000 Ом);
миллиамперметр постоянного тока многопредельный с классом точности не ниже 1, 5, обеспечивающий измерение силы тока до 100 мА;
вольтметр цифровой или иономер (рН-метр);
резистор постоянный типа МЛТ сопротивлением от 10 до 50 кОм, мощностью не менее 0, 25 Вт;
резистор переменный по ГОСТ 10318 типа СПЗ-1, СПЗ-3 на 5 кОм, мощностью не менее 2 Вт;
резистор переменный (потенциометр) по ГОСТ 10318 типа СПБ-28 от 100 до 200 Ом, мощностью не менее 1 Вт;
резистор постоянный по ГОСТ 24013 типа МЛТ на 10 кОм, мощностью не менее 0, 25 Вт;
тумблеры-переключатели - 3 шт.;
батарею сухую на 1, 5 В;
ячейку кулонометрическую (черт. 2 - 3);
электросекундомер.

"Черт. 1"

"Черт. 2"

"Черт. 3"
Секундомер 2-го класса точности с емкостью шкалы счетчика 60 мин, с ценой деления шкалы 0, 20 с, погрешностью ±1, 10 с.
Мешалка магнитная ММ-3.
Шприцы медицинские вместимостью 1, 2 или 5 см3, с погрешностью ±0, 05 см3.
Микрошприцы типа МШ-1 и МШ-10.
Реактив Фишера по ТУ 6-09-1487 или приготовленный по ГОСТ 14870 (пригодность реактива проверяют по обесцвечиванию йодной окраски реактива при добавлении воды независимо от срока его хранения).
Кальций хлористый по ГОСТ 450, предварительно прокаленный, или силикагель-индикатор по ГОСТ 8984.
Спирт этиловый ректификованный технический по ГОСТ 18300.
Раствор йода в метаноле (раствор 2).
Фольга платиновая по ГОСТ 24353 толщиной 0, 2 мм, размером 1, 5 х 1, 0 см.
Проволока платиновая по ГОСТ 10821, диаметром 0, 5 мм, длиной 8 см или электроды платиновые по ГОСТ 6563, изделие 317.
Весы лабораторные общего назначения с наибольшим пределом взвешивания 200 г и погрешностью ±0, 0003 г.
Допускается применение любой установки для кулонометрического определения воды по Фишеру с параметрами, близкими к указанным выше.
(Измененная редакция, Изм. N 1, 2),
2.2. Подготовка к анализу
2.2.1. Описание электрической схемы
Электрическая схема кулонометрической установки (см. черт. 1) состоит из двух независимых цепей - генераторной и индикаторной.
Генераторная цепь включает в себя источник постоянного тока 1, переменный резистор 2 и миллиамперметр 12 для измерения силы генераторного тока между катодом и анодом кулонометрической ячейки 3. Одновременно с замыканием генераторной цепи предусмотрено включение электросекундомера 11 для измерения длительности титрования.
Для определения момента окончания титрования служит биамперометрическая система индикации, состоящая из источника постоянного напряжения (батареи) 7, выключателя 6, потенциометра 5 и микроамперметра 8, служащего для указания величины тока на индикаторных электродах кулонометрической ячейки, когда переключатель 9 находится в положении II. В положении I микроамперметр показывает напряжение, подаваемое на индикаторные электроды кулонометрической ячейки. В случае применения бипотенциометрического способа индикации конечной точки в индикаторную цепь последовательно подключают резистор сопротивлением от 10 до 50 кОм, а к индикаторным электродам - цифровой вольтметр или иономер (рН-метр).
(Измененная редакция, Изм. N 1, 2).
2.2.2. Описание кулонометрической ячейки
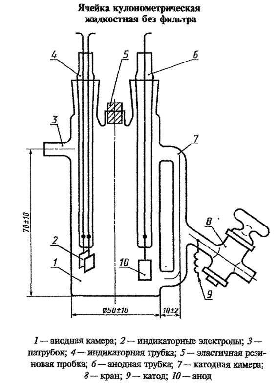
2.2.2.1. Жидкостная кулонометрическая ячейка без фильтра (черт. 2)
Ячейка для кулонометрического титрования представляет собой стеклянный сосуд (анодная камера 1), в боковую стенку которого впаяна обоими концами трубка (катодная камера 7) с отводом, расположенным под углом (45±15)° к катодной камере. На отводе расположен кран 8 для слива католита. В отвод катодной камеры впаян катод 9 - платиновая проволока. В анодную камеру на шлифе вставляют анодную трубку 6, в которую с помощью платиновой проволоки впаивают платиновый анод 10 размером 1 х 1 см. На другом шлифе помещают трубку 4 с двумя одинаково изготовленными индикаторными электродами 2 размером 0, 5 х 0, 5 см каждый. Один из выводов индикаторных электродов должен быть изолирован во избежание короткого замыкания. Выводы всех электродов представляют собой медную проволоку, приваренную к платиновой. В верхней части анодной камеры предусмотрен патрубок 3 для выхода газа, снабженный хлоркальциевой трубкой. Отверстие для внесения пробы в анодную камеру закрывают эластичной резиновой пробкой 5 или пришлифованной стеклянной пробкой с краном.
(Измененная редакция, Изм. N 1, 2).
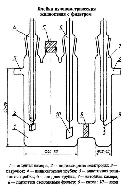
2.2.2.2. Жидкостная кулонометрическая ячейка с фильтром (черт. 3)
Кулонометрическая ячейка с фильтром отличается от ячейки, описанной в п. 2.2.2.1, тем, что катодная камера отделена от анодной пористым стеклянным фильтром по ГОСТ 25336 (тип ФКП, класс ПОР 16 или ПОР 10). При этом платиновый катод, впаянный в стеклянную трубку, вставляют в катодную камеру на шлифе.
Для уменьшения величины допускаемых расхождений по сравнению с указанными в табл. 2 целесообразно использовать кулонометрическую ячейку с двумя фильтрами между катодным и анодным пространством, что должно быть предусмотрено в нормативно-технической документации на анализируемый продукт.
2.2.3. Подготовка установки к работе
В ячейку без фильтра заливают раствор реактива Фишера до уровня на (7±2) мм выше отводной трубки, которую заполняют раствором, открывая кран 8.
В ячейку с фильтром раствор реактива Фишера заливают в катодную камеру до уровня на 2 - 5 мм ниже уровня в анодной камере. Во всех случаях электроды должны быть полностью погружены в раствор. Включают источник тока, магнитную мешалку, индикаторную цепь с помощью тумблера 6, тумблер 9 (см. черт. 1) ставят в положение и потенциометром 5 по микроамперметру 8 устанавливают индикаторное напряжение в пределах от 0, 15 до 0, 20 В на шкале 100 мкА, после чего тумблер 9 возвращают в положение II на измерение индикаторного тока. При избытке йода в растворе реактива Фишера величина индикаторного тока обычно составляет 1 - 5 мА. Перед началом анализа этот избыток устраняют осторожным добавлением воды малыми порциями или погружением влажной стеклянной палочки до концентрации, при которой индикаторный ток составляет от 70 до 90 мкА и точно фиксируют величину индикаторного тока. Если при этой операции индикаторный ток снизится до нуля (что свидетельствует о полном отсутствии йода в электролите или даже небольшом избытке воды), то его доводят до указанного значения с помощью йода, генерируемого на аноде в анодной камере при замкнутой генераторной цепи. При значительном избытке воды, т.е. когда продолжительная генерация не приводит к появлению йода, в электролит прибавляют по каплям свежий раствор реактива Фишера или раствор 2 до устойчивого отклонения стрелки микроамперметра. Небольшой избыток йода в электролите можно устранить не водой, а электрохимически, восстановлением его на катоде при переключении направления тока. Если индикаторный ток не снижается в течение 5 мин более чем на 10 мкА, а колеблется вблизи фиксированного значения, установка готова для проведения анализа. В случае применения бипотенциометрического способа индикации конечной точки напряжение на индикаторных электродах устанавливают (0, 35±0, 05) В, а за конечную точку принимают индикаторное напряжение в интервале от 20 до 50 мВ.
Условия проведения анализа приведены в табл. 1.
Таблица 1
|
Массовая доля воды, % |
Рекомендуемая сила генераторного тока, А |
Масса навески, г |
|
Менее 0, 001 Св. 0, 001 до 0, 01 " 0, 01 " 0, 1 " 0, 1 " 1, 0 " 1, 0 " 10, 0 " 10, 0 " 100 |
0, 005 Св. 0, 005 до 0, 01 " 0, 01 " 0, 02 " 0, 02 " 0, 05 " 0, 05 " 0, 10 " 0, 10 " 0, 50 |
5, 0 - 10, 0 Св. 1, 0 до 5, 0 " 0, 2 " 1, 0 " 1, 0 " 0, 2 " 0, 01 " 0, 1 " 0, 001 " 0, 01 |
2.2.2.2, 2.2.3. (Измененная редакция, Изм. N 2).
2.3. Проведение анализа
Массу навески анализируемого продукта, указанную в табл. 1, осторожно отбирают шприцем, взвешивают (кроме тех случаев, когда пробу отбирают микрошцрицем) и быстро вносят продукт в кулонометрическую ячейку с реактивом Фишера, прокалывая пробку иглой. Шприц снова взвешивают. Результаты всех взвешиваний записывают до четвертого десятичного знака. Допускается брать навеску шприцем без взвешивания, если расхождение между результатами двух определений не превышает допускаемого значения. Массу навески находят по разности. Через (30±5) с включают генераторный ток с одновременным включением электросекундомера или секундомера и генерацию йода проводят до фиксированного значения индикаторного тока перед внесением пробы (70 - 90 мкА). В этот момент генерацию выключают и время титрования отмечают по электросекундомеру или секундомеру. Если после выключения индикаторный ток быстро снижается, то снова включают генерацию и в расчет принимают суммарное время титрования. При использовании ячейки без фильтра после каждых 5 мин генерации сливают 3 - 5 капель электролита через отводную трубку. При массовой доле воды в пробе 10-3 % и ниже результат первого титрования не учитывают.
При бипотенциометрическом способе индикации конечной точки титрование ведут до ранее зафиксированного значения индикаторного напряжения в интервале от 20 до 50 мВ.
2.4. Обработка результатов
Массовую долю воды (X) в процентах вычисляют по формуле
,
где I - сила генераторного тока, А;
t - время титрования, с;
m - масса пробы, г;
9, 01 - молярная масса эквивалента воды, г/моль;
96484, 56 - число Фарадея,
;
V0 - объем электролита до внесения пробы, см3;
V - объем пробы, см3;
- поправка на разбавление электролита.
Поправку на разбавление учитывают при условии, если после внесения пробы индикаторный ток не снизился до нуля. Смену электролита в ячейке производят при достижении соотношения электролит - анализируемый продукт 3:1 (по объему). Затем заливают свежий реактив Фишера, как описано выше, предварительно промыв ячейку этиловым спиртом и высушив.
За результат анализа принимают среднее арифметическое результатов двух параллельных определений, абсолютное расхождение между которыми не превышает допускаемые расхождения, указанные в табл. 2.
Допускаемая абсолютная суммарная погрешность результата анализа при доверительной вероятности Р = 0, 95 приведена в табл. 2.
Таблица 2
|
Массовая доля воды, %, не более |
Допускаемое расхождение, %, не более |
Допускаемая абсолютная суммарная погрешность, %, не более |
Массовая доля воды, %, не более |
Допускаемое расхождение, %, не более |
Допускаемая абсолютная суммарная погрешность, %, не более |
|
1·10-4 1·10-3 5·10-3 1·10-2 |
3·10-5 2·10-4 1·10-3 2·10-3 |
2·10-5 1·10-4 5·10-4 1·10-3 |
5·10-2 1·10-1 1, 0 10 |
5·10-3 1·10-2 5·10-2 3·10-1 |
3·10-3 5·10-3 3·10-2 2·10-1 |
2.3, 2.4. (Измененная редакция, Изм. N 1, 2).
3.1. Аппаратура, реактивы, материалы
Схема электрическая для кулонометрического титрования по п. 2.1 (см. черт. 1).
Блок-схема установки при определении массовой доли воды в газах (черт. 4) состоит из:
ячейки кулонометрической (черт. 5 - 6);
реометра стеклянного лабораторного по ГОСТ 9932 или любого измерителя скорости газового потока в интервале 0 - 200 см3/мин;
счетчика газового барабанного, класс 1, с ценой деления 20 см3;
осушительных патронов с гидроокисью калия и пятиокисью фосфора;
баллона с азотом (аргоном);
баллона с пробой;
трубок полиэтиленовых и резиновых или фторопластовых.
Секундомер 2-го класса точности с емкостью шкалы счетчика 60 мин, ценой деления шкалы 0, 20 с, погрешностью ±1, 10 с.

"Черт. 4"
Реактив Фишера по ТУ 6-09-1487 или приготовленный по ГОСТ 14870 (пригодность реактива проверяют по обесцвечиванию йодной окраски реактива при добавлении воды независимо от срока его хранения).
Фосфора пятиокись.
Калия гидроокись по ГОСТ 24363.
Азот по ГОСТ 9293 или аргон по ГОСТ 10157.
Фольга платиновая толщиной 0, 2 мм, размером 1 х 1 см.
Проволока платиновая по ГОСТ 10821, диаметром 0, 5 мм, длиной 8 - 10 см или электроды платиновые по ГОСТ 6563, изделие 317.
Вентиль тонкой регулировки любого типа.
(Измененная редакция, Изм. N 1, 2).
3.2. Подготовка к анализу
3.2.1. Описание электрической схемы (см. п. 2.2.1)
3.2.2. Описание кулонометрической ячейки
3.2.2.1. Газовая кулонометрическая ячейка без фильтра (черт. 5)
Анодная камера 1 кулонометрической ячейки представляет собой трубку внутренним диаметром от 10 до 13 мм (размеры кулонометрической ячейки без фильтра приблизительно такие же, как и ячейки с фильтром), в стенки которой впаивают платиновый анод 2 размером 1 х 0, 5 см и два платиновых индикаторных электрода 9 размером 0, 5 х 0, 5 см каждый. В качестве катодной камеры 3 используют трубку внутренним диаметром 3 мм, в которую впаивают катод 4 в виде платиновой проволоки. Перемешивание электролита осуществляют осушенным инертным газом (азот, аргон), подаваемым через трехходовой кран 7 и трубку 8. Для перемешивания электролита допустимо применение осушенного анализируемого газа. Для смещения электролита из катодной и анодной камер и смывания осадка в месте контакта газа с электролитом открывают кран 6. При этом электролит сливается в баллончик 10. Анализируемый газ подают через трехходовой кран 7.

"Черт. 5"
3.2.2.2. Газовая кулонометрическая ячейка с фильтром (черт. 6)

"Черт. 6"
Кулонометрическая ячейка с фильтром отличается от описанной в п. 3.2.2.1 тем, что катодная камера 3 представляет собой трубку равного диаметра с анодной камерой 1 и отделена от нее пористым стеклянным фильтром 10 по ГОСТ 25336 (тип ФКП, класс ПОР 16).
3.2.3. Описание блок-схемы установки
Кулонометрическую ячейку, реометр, газовый счетчик, осушительные патроны, баллоны с азотом (аргоном) и анализируемым газом соединяют в последовательности, указанной на черт. 4. При этом осушительные патроны и линию с газом подключают вплотную к кулонометрической ячейке с помощью полиэтиленовых трубок.
Газообразный азот или аргон из баллона 5 через осушительные патроны 4 с гидроокисью калия, пятиокисью фосфора, смешанными с подходящими носителями (асбест, диатомитовый кирпич, стеклянные кольца Рашига и т.д.), проходит через кулонометрическую ячейку 1 к реометру 2 и далее к газовому счетчику 3. Анализируемый газ из баллона 6 пропускают через кулонометрическую ячейку только после отключения азота (аргона).
Для перемешивания электролита допустимо применение анализируемого газа из баллона-пробоотборника после переключения его потока через осушитель.
3.2.4. Подготовка установки к работе
В анодную камеру кулонометрической ячейки вносят раствор реактива Фишера при постоянном продувании осушенного газа со скоростью приблизительно 100 см3/мин. При этом уровень раствора должен быть не выше шаровидного расширения анодной камеры. В ячейке без фильтра катодная камера заполняется самопроизвольно, по принципу сообщающихся сосудов. Катодную камеру ячейки с фильтром заполняют тем же раствором до уровня на 5 - 10 мм ниже уровня в анодной камере.
Включают индикаторную цепь с помощью тумблера 6 (см. черт. 1), переключатель 9 ставят в положение I и потенциометром 5 устанавливают индикаторное напряжение от 0, 15 до 0, 20 В по микроамперметру 8 (в данном случае микроамперметр служит вольтметром благодаря подключению дополнительного резистора 4). Переключатель 9 переводят в положение II на измерение индикаторного тока. При большом избытке йода индикаторный ток составляет от 1 до 5 мА.
Перед началом анализа этот избыток необходимо устранить до концентрации, при которой индикаторный ток составляет от 70 до 90 мкА. Это достигается периодическим погружением в раствор влажной стеклянной палочки при снятой пробке 5 (см. черт. 5, 6). Если при этом индикаторный ток снизится до нуля (что свидетельствует о полном отсутствии йода или даже небольшом избытке воды), его доводят до вышеуказанного значения с помощью йода, генерируемого на аноде при силе генераторного тока от 10 до 20 мА. При значительном избытке воды в электролит следует прибавлять раствор 2 по каплям до достижения значения индикаторного тока от 70 до 90 мкА. По мере приближения показаний микроамперметра к выбранному значению, электролит из катодной и анодной камер перемешивают 2 - 3 раза, открывая кран 6 (для ячейки без фильтра).
Если после такой операции индикаторный ток будет колебаться вблизи нужного значения, ячейку закрывают пробкой и точно фиксируют величину индикаторного тока и скорость пропускания азота (аргона). Если индикаторный ток не изменяется в течение 10 - 20 мин - установка готова для проведения анализа.
3.2.2.1 - 3.2.4. (Измененная редакция, Изм. N 2).
3.3. Проведение анализа
Быстро прекращают подачу азота (аргона), кран 7 (см. черт. 5 - 6) поворачивают в положение "на анализ", фиксируют показания газового счетчика, осторожно открывают вентиль на баллоне с анализируемым газом и доводят скорость газового потока до значения не более 200 см3/мин. Пропускание анализируемого газа прекращают, когда индикаторный ток снизится до нуля или когда пропущено 2 дм3 газа. Кран 7 поворачивают в положение "на азот (аргон)", который пропускают с той же скоростью, как и перед началом анализа.
Включают генераторный ток и электросекундомер (или секундомер) и ведут титрование до значения индикаторного тока, зафиксированного перед началом анализа. Генерацию выключают и, если индикаторный ток в течение 30 с снижается не более чем на 10 мкА, отмечают время титрования. Если индикаторный ток снижается более чем на 10 мкА, снова включают генерацию и продолжают титрование. При этом в расчет берут суммарное время титрования. При массовой доле воды в газе 10-3% и ниже предварительно до начала анализа через ячейку пропускают не менее 5 дм3 газа при открытом кране 6.
При бипотенциометрическом способе индикации конечной точки титрование ведут до ранее установленного значения индикаторного напряжения в интервале от 20 до 50 мВ.
(Измененная редакция, Изм. N 1, 2).
3.4. Обработка результатов
Массовую долю воды (X1) в процентах вычисляют по формуле
,
где I - сила генераторного тока, А;
t - время титрования, с;
9, 01 - молярная масса эквивалента воды, г/моль;
24, 0 - объем 1 моля газа при 20°С, дм3;
96484, 56 - число Фарадея,
;
V - объем анализируемого газа, дм3;
М - молекулярная масса анализируемого газа, г.
Без смены электролита можно провести до пяти определений.
За результат анализа принимают среднее арифметическое результатов двух параллельных определений, абсолютное расхождение между которыми не превышает допускаемые расхождения, указанные в табл. 3.
Допускаемая абсолютная суммарная погрешность результата анализа при доверительной вероятности Р = 0, 95 приведена в табл. 3.
Таблица 3
|
Массовая доля воды, %, не более |
Допускаемое расхождение, %, не более |
Допускаемая абсолютная суммарная погрешность %, не более |
Массовая доля воды, %, не более |
Допускаемое расхождение, %, не более |
Допускаемая абсолютная суммарная погрешность %, не более |
|
1·10-4* 5·10-4 1·10-3 5·10-3 |
3·10-5 1·10-4 2·10-4 1·10-3 |
2·10-5 0, 7·10-4 1·10-4 4·10-4 |
1·10-2 5·10-2 1·10-1 |
2·10-3 1·10-2 2·10-2 |
1·10-3 3·10-3 1·10-2 |
|
__________ * В случае использования бипотенциометрического способа индикации. | |||||
(Измененная редакция, Изм. N 2).
4.1. Реактив Фишера представляет собой комплект из двух растворов - сернистого ангидрида в пиридине (1) и йода в метаноле (2).
4.2. Физико-химические показатели компонентов реактива Фишера приведены в табл. 4.
Таблица 4
|
Наименование показателя |
Компонент | ||||
|
метанол |
пиридин |
сернистый ангидрид |
йод |
этиловый эфир этиленгликоля (этилцеллозольв) | |
|
Эмпирическая формула |
CH3OH |
C5H5N |
SO2 |
J2 |
C2H5-O-CH2CH2OH |
|
Температура кипения, °С |
64, 7 |
115, 6 |
Минус 10, 1 |
Возгоняется |
135, 1 |
|
Упругость паров, МПа |
1, 27·10-2 (20°С) |
5, 6·10-3 (15°С) |
- |
- |
6, 53·10-4 |
|
Пределы взрываемости, % |
Не взрывается | ||||
|
(по объему) |
3, 5 - 38, 5 |
1, 8 - 12, 5 |
- | ||
|
Температура вспышки, °С |
12 |
20 |
- |
- |
44, 4 |
|
Предельно допустимая концентрация, мг/м3 |
5 |
5 |
10 |
1 |
10 |
(Измененная редакция, Изм. N 2).
4.3. Помещения, где проводят работы с реактивом Фишера, должны быть обеспечены приточно-вытяжной вентиляцией.
4.4. Все операции с реактивом Фишера следует проводить в вытяжном шкафу.
4.5. Обслуживающий персонал должен быть обеспечен специальной одеждой, резиновыми перчатками, противогазами с коробкой марки БКФ.
4.6. Средства пожаротушения: вода, асбестовое одеяло, огнетушители марки ОУ или ОХП.
4.7. Требования безопасности при работе с анализируемыми продуктами должны быть указаны в нормативно-технической документации на продукт.


