электронный сборник нормативных документов по строительству
Обновления
17.04.2026 00:01
электронный сборник нормативных документов по строительству

ГОСТ 20537-75* ФРЕЗЫ КОНЦЕВЫЕ. ДИАМЕТРОМ от 12,5 до 50 мм С КОНИЧЕСКИМ ХВОСТОВИКОМ, ОСНАЩЕННЫЕ ВИНТОВЫМИ ТВЕРДОСПЛАВНЫМИ ПЛАСТИНАМИ. КОНСТРУКЦИЯ И РАЗМЕРЫ

Утв. Постановлением Государственного комитета стандартов Совета Министров СССР от 26 февраля 1975 г. N 512
Государственный стандарт Союза ССР ГОСТ 20537-75*
"ФРЕЗЫ КОНЦЕВЫЕ. ДИАМЕТРОМ от 12, 5 до 50 мм С КОНИЧЕСКИМ ХВОСТОВИКОМ, ОСНАЩЕННЫЕ ВИНТОВЫМИ ТВЕРДОСПЛАВНЫМИ ПЛАСТИНАМИ. КОНСТРУКЦИЯ И РАЗМЕРЫ"

Taper shank end mills of 12, 5 - 50 mm diameter with spiral carbide blades. Construction and dimensions

Срок введения установлен - с 1 января 1977 г.

Взамен MH 4164-62 и
ГОСТ 8720-69 в части

типа 2 исполнения 1

1. Настоящий стандарт распространяется на концевые фрезы, оснащенные винтовыми твердосплавными пластинами, предназначенные для обработки стали, чугуна и бронзы, а также труднообрабатываемых сталей и сплавов.

(Измененная редакция, Изм. N 1).

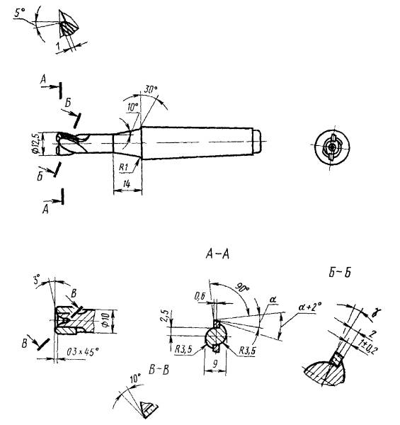
2. Конструкция и размеры фрез диаметром 12, 5 мм должны соответствовать указанным на черт. 1 и в таблице.

3. Конструкция и размеры фрез диаметром от 16 до 50 мм должны соответствовать указанным на черт. 2 и в таблице.

Угол подточки зубьев на торце

image001.jpg

Черт. 1

image002.jpg

Черт. 2

Размеры в мм

Обозначение фрез

Применяемость

D

L

l

Конус Морзе

Число зубьев

z

Угол наклона зубьев фрезы по наружному

диаметру ωu

Пластины по ГОСТ 25414-82

2223-0501

12, 5

115

14

2

2

24°

36350

2223-0502

16, 0

120

13

3

30°

2223-0503

20, 0

135

12

3

4

36°

2223-0504

25, 0

160

20

4

36390

2223-0505

32, 0

19

40°

36010

2223-0506

40, 0

190

24

5

6

34°

36030

2223-0507

50, 0

22

40°

Пример условного обозначения фрезы диаметром D = 20 мм:

Фреза 2223-0503 ГОСТ 20537-75

(Измененная редакция, Изм. N 2).

4. Конструктивные элементы фрез указаны в приложении.

5. Геометрические параметры фрез - по ГОСТ 20536-75.

6. Технические условия - по ГОСТ 20539-75.

Приложение
Рекомендуемое

Конструктивные элементы фрез

Конструктивные элементы фрез диаметром D = 12, 5 мм должны соответствовать указанным на черт 1, диаметром от 16 до 50 мм - на черт 2 и в таблице

Угол подточки зубьев на торце

image003.jpg

Черт. 1

image004.jpg

Черт. 2

Размеры в мм

D

d

d1

d2

l

l1

с

h

(пред. откл.

±0, 2)

h1

16

14

4, 0

-

2, 5

-

0, 6

4, 5

3, 5

20

18

5, 0

6, 5

4, 0

25

22

3, 5

0, 8

7, 0

5, 0

32

26

6, 4

8, 5

6, 5

40

36

-

20

-

6

1, 0

12, 0

8, 0

50

46

28

17, 0

10, 0

Продолжение

В

h2

r

r1

f

s

(пред. откл

±0, 2)

Угол наклона

гнезда под

пластину

16

1, 5

6

1

1, 0

1, 0

25°

20

7

31°

25

8

1, 5

1, 5

29°

32

10

2, 0

1, 8

33°

40

2, 0

15

2

2, 5

2, 2

28°

50

20

-

35°

Последние добавленные документы

Яндекс.Метрика