электронный сборник нормативных документов по строительству
Обновления
17.04.2026 00:01
электронный сборник нормативных документов по строительству

ГОСТ 20966-75 ПЛАСТИК ДРЕВЕСНЫЙ СЛОИСТЫЙ МАРКИ ДСП-Б-а. ТЕХНИЧЕСКИЕ УСЛОВИЯ

Утв. Постановлением Госстандарта СССР от 4 июля 1975 г. N 1704
Государственный стандарт Союза ССР ГОСТ 20966-75
"ПЛАСТИК ДРЕВЕСНЫЙ СЛОИСТЫЙ МАРКИ ДСП-Б-а. ТЕХНИЧЕСКИЕ УСЛОВИЯ"

Laminated wood plastic, type ДСП-Б-а. Specifications

Дата введения 1 января 1976 г.

Взамен ГОСТ 8697-58 в части марки ДСП-Б-а

Настоящий стандарт распространяется на древесный слоистый пластик марки ДСП-Б-а, изготовленный из листов березового шпона, склеенных бакелитовым лаком в процессе термической обработки под давлением.

Древесный слоистый пластик марки ДСП-Б-а предназначен для использования в силовых нагруженных элементах авиационных конструкций.

1. Типы и размеры

1.1. Древесный слоистый пластик должен изготовляться из цельных по длине плиты листов шпона (цельные плиты) и из нескольких листов шпона, уложенных внахлестку или встык для продольных слоев и встык для поперечных слоев (составные плиты).

(Измененная редакция, Изм. N 1).

1.2. Изготовление плит древесного слоистого пластика должно производиться по технологической инструкции, согласованной с потребителем и утвержденной в установленном порядке:

1.3. Размеры плит должны соответствовать указанным в табл. 1.

Таблица 1

мм

┌───────────────────────┬─────────────────┬───────────────┬──────────────┐

│       Тип плиты       │      Длина      │    Ширина     │   Толщина    │

├────────┬──────────────┼────────┬────────┼───────┬───────┼───────┬──────┤

│        │   Толщина    │        │        │       │       │       │      │

│ Наиме- │    шпона     │ номин. │ пред.  │номин. │ пред. │номин. │пред. │

│нование │              │        │ откл.  │       │ откл. │       │откл. │

│        ├──────┬───────┤        │        │       │       │       │      │

│        │номин.│ пред. │        │        │       │       │       │      │

│        │      │ откл. │        │        │       │       │       │      │

├────────┼──────┼───────┼────────┼────────┼───────┼───────┼───────┼──────┤

│        │ 0,55 │       │  1200  │  +25   │       │       │       │      │

│        │ 0,55 │       │  1500  │  -10   │       │  +25  │18; 20;│ +1,5 │

│Цельная │      │+-0,05 │        │        │ 1200  │  -10  │ 25-60 │ -0,5 │

│        │ 1,15 │       │  2900  │  +50   │       │       │       │+-2,0 │

│        │      │       │        │  -20   │       │       │       │      │

├────────┼──────┼───────┼────────┼────────┼───────┼───────┼───────┼──────┤

│Состав- │ 0,55 │       │  4850  │  +50   │       │  +25  │18; 20;│ +1,5 │

│  ная   │ 0,55 │+-0,05 │  5600  │  -20   │ 1200  │  -10  │ 25-60 │ -0,5 │

│        │      │       │        │        │       │       │       │+-2,0 │

└────────┴──────┴───────┴────────┴────────┴───────┴───────┴───────┴──────┘

Примечания:

1. Ширина плит, предназначенных для испытаний на растяжение потребителем в соответствии с п. 4.3 настоящего стандарта, должна быть не менее 500 и 525 мм.

2. Пластики толщиной 25-60 мм изготовляют с градацией по толщине 5 мм.

(Измененная редакция, Изм. N 1, 2).

1.4. (Исключен, Изм. N 1).

1.5. Длину плит определяют по направлению волокон древесины наружных слоев шпона.

Пример условного обозначения древесного слоистого пластика для авиационной промышленности длиной 2900 мм, шириной 1200 мм.

ДСП-Б-а 2900X1200 мм ГОСТ 20966-75

2. Технические требования

2.1. По физико-механическим свойствам плиты должны соответствовать нормам, указанным в табл. 2.

2.2. Плиты должны быть обрезаны с четырех сторон под прямым углом. Косина реза допускается не более 2 мм на 1-м длины или ширины плиты.

2.3. Поверхность плит должна быть ровной, без посторонних включений, трещин, расслоений, наплывов смолы и загрязнений.

Не допускаются отпечатки от прокладок и плит пресса глубиной или высотой 0, 5 мм.

Таблица 2

Показатель

Норма для плит

Метод испытаний

цельных

составных

толщина шпона

0, 55 мм

толщина

шпона 1, 15 мм

толщина шпона

0, 55 мм

Плотность, кг/м3, нe менее

1300

1300

1300

ГОСТ 9621-72

Влажность, %,

не более

6

6

6

ГОСТ 9621-72 и п. 4.7 настоящего стандарта

Предел прочности при растяжении вдоль волокон, МПа, не менее

294

(274)

284

(264)

215

(205)

245

(235)

181

(172)

ГОСТ 9622-87

ГОСТ 9622-87 и пп. 4.3 и 4.5 настоящего стандарта

Предел прочности при сжатии вдоль волокон, МПа, не менее

181

(167)

167

(157)

162

(152)

ГОСТ 9623-87

Ударная вязкость при изгибе вдоль волокон, кДж/м2, не менее

78

78

78

ГОСТ 9626-75

Предел прочности при скалывании по клеевому слою, МПа, не менее

7, 8

6, 9

6, 9

ГОСТ 9624- 72

Предел прочности при скалывании по древесине, МПа, не менее

16, 6

14, 7

15, 7

ГОСТ 9624-72 и п. 4.6 настоящего стандарта

Предел прочности при статическом изгибе, МПа, не менее

255

(245)

ГОСТ 9625-87

Примечание. Нормы, указанные в скобках, допускаются в количестве 1/3 от общего числа испытанных образцов. Количество образцов при этом округляют до большего целого числа.

(Измененная редакция, Изм. N 1).

Допускается недопрессовка в виде светлых пятен и перепрессовка в виде темных пятен в соответствии с образцами, утвержденными в установленном порядке.

2.4. Для изготовления плит применяют бакелитовый лак марки СБС-1 по ГОСТ 901-78 и лущеный березовый шпон толщиной 0, 55 и 1, 15 мм по ГОСТ 102-75.

Нормы допускаемых пороков древесины в листах шпона должны соответствовать нормам для шпона внутренних слоев 1-го сорта, с наклоном волокон не более 5%,

Свилеватость не допускается.

2.3. 2.4. (Измененная редакция, Изм. N 1).

2.5. (Исключен, Изм. N 3).

3. Правила приемки

3.1. Плиты предъявляются к приемке партиями. Партией считают количество плит одной запрессовки, оформленное одним документом о качестве, содержащим:

наименование предприятия-изготовителя и его товарный знак;

марку плиты;

тип;

размеры,

количество плит в партии;

обозначение настоящего стандарта.

(Измененная редакция, Изм. N 3).

3.2. Внешний вид и размеры плит определяют на каждой плите.

3.3. Для проверки физико-механических показателей отбирают 10% плит от партии.

Проверку предела прочности при растяжении вдоль волокон составных плит и цельных из шпона толщиной 1, 15 мм изготовитель производит по требованию потребителя на каждой плите.

Результаты проверки распространяются на всю партию.

(Измененная редакция, Изм. N 1).

3.4. Приемку плит производят в килограммах с погрешностью измерения не более 1 кг.

(Введен дополнительно, Изм. N 3).

4. Методы испытаний

4.1. Для определения физико-механических показателей древесного слоистого пластика должны применяться правила отбора образцов по ГОСТ 9620-72 и методы испытаний по ГОСТ 9621-72, 9622-87, 9623-87, 9624-72, ГОСТ 9625-72, ГОСТ 9626-75 с дополнениями, указанными ниже. Каждый испытанный образец должен соответствовать требованиям, указанным в табл. 2.

4.2. Отбор образцов должен производиться от плит, взятых поочередно из каждого этажа пресса не ранее чем через 12 ч после выгрузки.

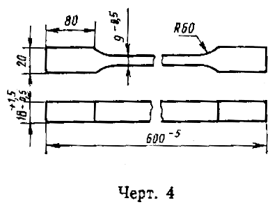
4.3. По требованию потребителя дополнительно от каждой составной плиты отбирают образцы на определение предела "прочности при растяжении вдоль волокон наружных слоев по схемам, указанным на черт. 1 и 2, и изготовляют по форме и размерам, указанным на черт. 4.

Для отбора средней рейки 5 и испытания образцов из нее на определение предела прочности при растяжении вдоль волокон наружных слоев составные плиты разрезают на две равные части.

(Измененная редакция, Изм. N 2).

image001.jpg

image002.jpg

image003.gif

image004.gif

4.4. Отбор реек I, 3, 5 (черт. 1 и 2) и испытание образцов из них осуществляются изготовителем, отбор реек 2, 4, 6 и испытание образцов из них - потребителем.

(Измененная редакция, Изм. N 1, 2).

4.5. От цельных плит длиной 2900 мм отбор реек 1 и 2 (черт. 3) и испытание образцов из них производятся изготовителем по требованию потребителя.

Форма и размеры образцов указаны на черт. 4.

(Измененная редакция, Изм. N 1).

4.6. При определении предела прочности при скалывании по древесине длина скалываемой плоскости образца должна быть18 мм.

4.7. Предел прочности при сжатии (сигма_сж) должен быть пересчитан с учетом влажности пластика к пределу прочности (сигма сж) при 5%-ной влажности по формуле

сигмасж = К х сигма'сж

где

К - переводной коэффициент, значения которого указаны в табл. 3.

4.8. Измерение толщины плит должно производиться с погрешностью не более 0, 1 мм на расстоянии 20 мм от кромок; у плит длиной до 1500 мм посередине каждой стороны плиты (в четырех точках), у плит длиной более 1500 мм - в шести точках, указанных на черт. 5.

Таблица 3

Влажность, %

Десятые доли процента влажности

0, 0

0, 1

0, 2

0, 3

0, 4

0, 5

0, 6

0, 7

0, 8

0, 9

Значения переводного коэффициента

3

0, 812

0, 821

0, 830

0, 839

0, 848

0, 857

0, 866

0, 875

0, 885

0, 894

4

0.903

0, 913

0, 922

0, 932

0, 942

0, 951

0, 961

0, 971

0, 980

0, 990

5

1, 000

1, 010

1, 020

1, 030

1, 039

1, 049

1, 059

1, 069

1, 079

1, 088

6

1, 098

1, 108

1, 117

1, 127

1, 137

1, 146

1, 155

1, 165

1, 174

1, 183

7

1, 192

1, 201

1, 210

1, 218

1, 227

1, 235

1, 243

1, 251

1, 259

1, 266

8

1, 274

Примечание. Влажность определяют на образцах в измельченном виде после испытания их на сжатие.

image005.gif

Толщина в любой измеряемой точке плиты не должна отличаться от номинальной толщины плиты более чем на величину предельных отклонений, указанных в табл. 1.

4.9. Измерение длины и ширины плит должно производиться с погрешностью не более 1 мм посередине их соответствующих сторон.

4.10. Измерение глубины или высоты отпечатка должно производиться индикатором с ценой деления 0, 01 мм, установленного на горизонтальной плите.

4.11. Косину плит определяют угольником по ГОСТ 3749-77, накладываемые на смежные кромки плит. Для определения величины косины плиты, измеряют наибольшее отклонение кромки плиты от кромки угольника металлической линейкой по ГОСТ 427-75 с погрешностью не более 0, 5 мм.

(Введен дополнительно, Изм. N 3).

5. Маркировка, транспортирование и хранение

5.1. На каждой плите должна быть нанесена маркировка, содержащая:

наименование предприятия-изготовителя;

марку плиты;

тип плиты;

номер плиты;

номер запрессовки;

размеры плиты;

толщину плиты;

номер контролера;

обозначение настоящего стандарта.

Маркировка каждой части плиты, предназначенной для испытаний на растяжение в соответствии с п. 4.3 настоящего стандарта, дополнительно должна содержать:

номер плиты, одинаковый для каждой части плиты;

номера реек 2, 4, 6 (в местах отбора образцов).

(Измененная редакция, Изм. N 2).

5.2. Транспортная маркировка должна производиться в соответствии с требованиями ГОСТ 14192-77.

(Измененная редакция, Изм. N 3).

5.3. Продольные и поперечные кромки плит должны быть покрыты лаком СБС-1. При хранении плит покрытие лаком должно производиться каждые 6 месяцев.

5.4. Плиты транспортируют транспортом всех видов в крытых транспортных средствах в соответствии с правилами перевозки грузов, действующими на транспорте данного вида.

(Измененная редакция, Изм. N 3).

5.5. Не разрешается бросать плиты при погрузке и выгрузке.

5.6. Плиты должны храниться в закрытых помещениях при температуре от минус 40 до плюс 35°С и относительной влажности воздуха не выше 70%.

6. Гарантии изготовителя

6.1. (Исключен, Изм. N 3).

6.2. Изготовитель гарантирует соответствие качества древесных слоистых пластиков требованиям настоящего стандарта при соблюдении условий транспортирования и хранения.

(Измененная редакция, Изм, N 3).

6.3. Гарантийный срок хранения плит устанавливается 5 лет с момента изготовления.

Последние добавленные документы

Яндекс.Метрика