Утв. постановлением Госстандарта СССР от 23 декабря 1975 г. N 3976
Государственный стандарт СССР ГОСТ 21400-75 (СТ СЭВ 825-77)
"СТЕКЛО ХИМИКО-ЛАБОРАТОРНОЕ. ТЕХНИЧЕСКИЕ ТРЕБОВАНИЯ. МЕТОДЫ ИСПЫТАНИЙ"
Chemical and laboratory glass. Technical specifications. Test methods
Дата введения 1 июля 1977 г.
Взамен ГОСТ 9111-59, ГОСТ 7330-55 и ОСТ НКТП 8187/1131,
кроме разд. I-III, VI и VIII
Настоящий стандарт распространяется на химико-лабораторное стекло (далее - стекло), предназначенное для изготовления лабораторной посуды, приборов и аппаратов.
Стандарт соответствует СТ СЭВ 1669-79, СТ СЭВ 825-77 в части стекла группы ТС (приложение 4) и рекомендации по стандартизации СЭВ PC 1885-69.
В стандарте учтены требования стандартов ИСО 695-84 и ИСО 719-85.
(Измененная редакция, Изм. N 2).
1. Группы
1.1. Стекло в зависимости от химической и термической стойкости должно изготовляться следующих групп:
ХС1 - химически стойкое 1-го класса;
ХС2 " " 2-го класса;
ХС3 " " 3-го класса;
ТХС1 - термически и химически стойкое 1-го класса;
ТХС2 - " " " " 2-го класса;
ТС - термически стойкое (стекло боросиликатное 3,3).
(Измененная редакция, Изм. N 1).
2. Технические требования
2.1. Стекло должно изготовляться в соответствии с требованиями настоящего стандарта по нормативно-технической документации, утвержденной в установленном порядке.
2.2. Химическая стойкость стекла к воздействию дистиллированной воды, кислот и щелочей должна соответствовать указанным в табл. 1.
Таблица 1
|
Среда
|
Нормы расхода и потери
|
Химическая стойкость стекла по группам:
|
|
ХС1
|
ХС2
|
ХС3
|
ТХС1
|
ТХС2
|
ТС
|
|
Дистиллированная вода при температуре (98+-0, 5)°С
|
Расход 0, 01 н. раствора соляной кислоты на титрование, мл/г (отдача щелочи, мкг Na2O х r(-1), не более)
|
От 0
до 0, 1
|
От 0, 1 до 0, 2
|
От 0, 2 до 0, 8
|
От 0 до 0, 1
|
От 0, 1 до 0, 2
|
От 0 до 0, 1
|
|
20, 4%-ный раствор соляной кислоты при кипячении в течение 6 ч
|
Потери массы образца стекла, мг/см2
|
От 0 до 0, 004
|
От 0
до 0, 005
|
От 0 до 0, 006
|
От 0 до 0, 005
|
От 0 до 0, 007
|
От 0
до 0, 004
|
|
Смесь:
1 н. раствор углекислого натрия и 1 н. раствор гидрата окиси натрия при кипячении в течение 3 ч
|
Потери массы образца стекла, мг/см2 (мг х дм(-2)), не более
|
0, 75
|
1, 0
|
1, 1
|
0, 9
|
1, 2
|
1, 5(150)
|
2.3. Термическая стойкость и средний коэффициент линейного теплового расширения стекла должны соответствовать указанным в табл. 2.
Таблица 2
|
Группа стекла
|
Термическая стойкость, °С, не менее
|
Средний коэффициент линейного теплового расширения в интервале температур от 20 до 300°С, альфа х 10(-7) град(-1)
|
|
ХС1, ХС2, ХС3
|
120
|
Не более 94
|
|
ТХС1, ТХС2
|
190
|
Не более 55
|
|
ТС
|
250
|
33+-1
|
Примечание. Значение коэффициента термического расширения характеризует только состав стекла.
2.2; 2.3. (Измененная редакция, Изм. N 1).
3. Методы испытаний
3.1. Водостойкость определяют по методу А ГОСТ 10134.1-82.
(Измененная редакция, Изм. N 2).
3.1.1-3.1.5. (Исключены, Изм. N 2).
3.2. Метод определения стойкости стекла к воздействию соляной кислоты
Кислотостойкость определяется потерей массы испытуемой пробы стекла при воздействии кипящего 20, 4%-ного раствора соляной кислоты в течение 6 ч выражается отношением потери массы к единице площади пробы.
3.2.1. Для определения кислотостойкости применяют следующую аппаратуру и реактивы:
весы лабораторные аналитические с погрешностью взвешивания ±0, 1 мг;
шкаф сушильный с температурой нагрева (150±2)°С;
плитка электрическая;
штатив лабораторный;
штангенциркуль по ГОСТ 166-89;
алмаз или стеклорежущий ролик;
пинцет;
проволока платиновая диаметром до 1, 0 мм по ГОСТ 18389-73;
эксикатор по ГОСТ 25336-82;
цилиндр измерительный вместимостью 1000 мл по ГОСТ 1770-74;
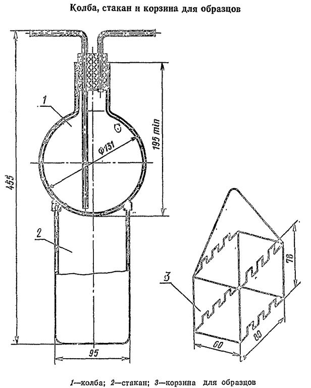
стакан высокий и колба круглодонная из стекла ХС1, ТХС1 или ТС. Форма и размеры стакана и колбы указаны в приложении 2;
пробка резиновая по ТУ 38.1051835-88;
трубка резиновая диаметром 6 мм по ГОСТ 5496-78;
кислота соляная по ГОСТ 3118-77, 20, 4%-ный раствор;
спирт этиловый ректификованный по ГОСТ 18300-87 или спирт гидролизный ректификованный высшей очистки;
вода дистиллированная по ГОСТ 6709-72.
Применяемые реактивы должны иметь квалификацию ч. д. а. или х. ч.
3.2.2. Для проведения испытания должны быть отобраны образцы в виде стеклянных трубок с внутренним диаметром не менее 5 мм или другие изделия, поверхность которых может быть легко определена.
Общая поверхность образцов должна быть (400±40) см2.
Допускается отобрать несколько образцов меньшего размера, составляющих в сумме требуемую поверхность. При этом поверхность образцов не должна отличаться друг от друга более чем на 5%. Поверхность образцов должна быть ровной, острые кромки должны быть зашлифованы.
Перед испытанием образцы стекла должны быть отожжены.
Для испытаний отбирают два образца, один из них является контрольным. Расхождения по массе и площади испытуемого и контрольного образцов не должны превышать 1 г и 10 см2. Более легкий образец должен быть контрольным.
Образцы измеряют и вычисляют общую поверхность.
Затем образцы промывают в дистиллированной воде, ополаскивают спиртом и сушат в сушильном шкафу при температуре (150±2)°C в течение 45 мин. Высушенные образцы охлаждают в эксикаторе до температуры (20±5)°С и взвешивают. Определяют расхождение массы между испытуемым и контрольным образцами с погрешностью не более ±0, 1 мг.
3.2.3. Для проведения испытания отмеряют в стакан 500-600 мл 20, 4%-ного раствора соляной кислоты.
Стакан устанавливают на электрическую плитку и раствор доводят до кипения. Испытуемый образец помещают в корзину из платиновой проволоки и опускают на дно стакана так, чтобы образец был полностью погружен в раствор и не касался стенок стакана. С целью уменьшить испарение кислоты на стакан сверху устанавливают колбу с двумя отводами. Через один из отводов в колбу пропускают воду для охлаждения. Между краем стакана и дном колбы вставляют для уплотнения резиновую трубку, разрезанную вдоль длины. Колбу закрепляют над стаканом зажимами штатива. Схема установки указана в приложении 2.
Образец выдерживают в кипящей кислоте 6 ч.
После этого образец вынимают из стакана, ополаскивают в дистиллированной воде и помещают в сушильный шкаф при температуре (150±2) °С и сушат в течение 45 мин, затем охлаждают в эксикаторе до температуры (20±5) °С и взвешивают с погрешностью не более +-0, 1 мг.
Испытания повторяют на второй паре образцов - испытуемом и контрольном.
3.2.4. Кислотостойкость стекла (X1) - потерю массы образца - вычисляют по формуле

,
где ∆m - разница в массе между испытуемым и контрольным образцами до испытания мг;
∆m1 - разница в массе между испытуемым и контрольным образцами после испытания, мг;
S - общая поверхность образца, см2.
Из двух опытов определяют среднее арифметическое значение и отклонения от среднего значения. Результаты вычисляют с точностью до третьего знака. Расхождение результатов в каждом опыте от среднего значения не должно быть более ±10%.
3.2.5. Класс кислотостойкости в зависимости от потери массы образца следует устанавливать в соответствии с указанным в табл. 4.
Таблица 4*
|
Класс кислотостойкости
|
Потери массы, мг/см2
|
|
1
|
До 0, 007 включ.
|
|
2
|
Св. 0, 007 до 0, 015 включ.
|
|
3
|
" 0, 015
|
______________________________
* Табл. 3. (Исключена, Изм. N 2).
3.2.6. Результаты испытания на кислотостойкость записывают в протокол, содержащий:
обозначение образца;
среднее арифметическое потери массы, мг·см-2 ;
обозначение класса кислотостойкости;
наименование лаборатории, проводившей испытание;
дату испытания;
обозначение настоящего стандарта.
(Введен дополнительно, Изм. N 2).
3.3. Щелочестойкость определяют по ГОСТ 10134-3-82.
(Измененная редакция, Изм. N 2).
3.3.1-3.3.5. (Исключены, Изм. N 2).
3.4. Метод определения термической стойкости стекла к воздействию максимальной разности температур без разрушения.
Термостойкость определяется измерением разности температур, при которой наступает разрушение нагретого образца стекла при быстром его охлаждении в воде.
3.4.1. Для определения термостойкости применяют следующую аппаратуру:
печь вертикальную трубчатую электрическую с температурой нагрева образцов до 250°С с точностью поддержания заданной температуры ±1°С в течение 15 мин;
сосуд металлический, стеклянный или фарфоровый для охлаждения образцов вместимостью 1 л;
щипцы.
3.4.2. Для проведения испытания должны быть отобраны образцы в виде стеклянных стержней (штабиков) длиной (30±5) мм и диаметром (4±0, 1) мм.
Образцы должны быть без трещин, камней и других дефектов. Концы образцов должны быть оплавлены. Оплавленные образцы должны быть отожжены. Удельная разность хода лучей не должна быть более 0, 4 млн-1.
(Измененная редакция, Изм. N 2).
3.4.3. Для проведения испытаний образцы помещают в электропечь, нагревают до температуры, равной нижнему пределу термостойкости испытуемого стекла, указанной в нормативно-технической документации, и выдерживают при этой температуре в течение 15 мин.
После этого образцы вынимают из печи, погружают в сосуд с водой, температура которой должна быть от 15 до 20°С, а затем вынимают из воды.
От испытанных образцов отбирают образцы с трещинами любого размера и в дальнейших испытаниях не применяют.
Оставшиеся неповрежденные образцы вновь загружают в печь. Температуру в печи повышают на 10°С и повторяют нагревание, а затем охлаждение в воде.
Нагревание и последующее охлаждение производят до тех пор, пока все образцы не разрушатся.
Испытания на термостойкость повторяют на двух партиях образцов с одной датой изготовления стекла.
3.4.4. Термостойкость стекла ∆T, °C, вычисляют по формуле

,
где ∆T1, ∆T2, ..., ∆Tm - термостойкость образца, °С;
n1, n2, ..., nm - число треснувших образцов, шт.
3.5. Коэффициент линейного теплового расширения определяют по ГОСТ 10978-83.
Приложение 2*
Рекомендуемое
Колба, стакан и корзина для образцов
______________________________
* Приложения 1; 3. (Исключены, Изм. N 2).
Приложение 4
Справочное
Информационные данные о соответствии ГОСТ 21400-75
СТ СЭВ 1569-79
Пункт 3.1 ГОСТ 21400-75 соответствует СТ СЭВ 1569-79.
(Введено дополнительно, Изм. N 2).