Утв. Постановлением Госстандарта СССР от 24 сентября 1976 г. N 2185
Государственный стандарт Союза ССР ГОСТ 2198-76
"ПОЛОТНО АСБЕСТОВОЕ АРМИРОВАННОЕ И ПРОКЛАДКИ ИЗ НЕГО. ТЕХНИЧЕСКИЕ УСЛОВИЯ"
Reinforced asbestos cloth and gaskets of it. Specifications
Дата введения 1 января 1979 г.
Взамен ГОСТ 2189-66
Настоящий стандарт распространяется на армированное асбестовое полотно и прокладки из него, применяемые для уплотнения соединений деталей, работающих в воде, нефрасе, керосине, масле и других нефтепродуктах, а также в продуктах их сгорания при температуре до 250°С.
1. Размеры
1.1. Основные размеры полотна должны соответствовать указанным в табл. 1.
Таблица 1
мм
|
Толщина (пред. откл. ±0, 1)
|
Ширина
|
Код ОКП
|
|
Номин.
|
Пред. откл.
|
|
0, 7
|
1000
|
±40
|
25 7721 0108
|
|
0, 7
|
900
|
25 7721 0108
|
|
1, 1
|
1000
|
25 7721 0114
|
|
1, 1
|
750
|
±20
|
25 7721 0114
|
|
1, 1
|
600
|
25 7721 0114
|
1.2. Полотно должно выпускаться длиной не менее 1500 мм.
Пример условного обозначения полотна толщиной 0, 7 мм и шириной 1000 мм:
Полотно 0, 7 х 1000 ГОСТ 2198-76
То же, для полотна, предназначенного для эксплуатации в районах с тропическим климатом:
Полотно 0, 7 х 1000 Т ГОСТ 2198-76
То же, для прокладки уплотнительной детали 7401008027
Прокладка 7401008027 ГОСТ 2198-76
1.1, 1.2. (Измененная редакция, Изм. N 1, 3).
1.3. Прокладки вырубают из полотна. Конфигурация и размеры прокладок должны быть согласованы между изготовителем и потребителем в установленном порядке.
(Введен дополнительно, Изм. N 1).
2. Технические требования
2.1. Полотно и прокладки должны изготовляться в соответствии с требованиями настоящего стандарта по технологическим регламентам, утвержденным в установленном порядке.
(Измененная редакция, Изм. N 1).
2.2. Полотно представляет собой прорезиненную и прографитированную ткань полотняного или саржевого переплетения, изготовленную по основе из латунной проволоки по ГОСТ 1066, а по утку - из асбестовой пряжи, армированной латунной проволокой.
2.3. Полотно, предназначенное для эксплуатации в условиях тропического климата, должно быть изготовлено с применением фунгицидов.
2.4. Количество проволок по основе и утку, ее диаметр должны соответствовать указанным в табл. 2.
Таблица 2
|
Толщина полотна, мм
|
Диаметр проволоки, мм
|
Количество проволок на 100 мм
|
|
по основе
|
по утку
|
по основе
|
по утку
|
|
Номин.
|
Пред. откл.
|
Номин.
|
Пред. откл.
|
|
0, 7
|
0, 20
|
0, 15-0, 20
|
60
|
-2, 0
|
140
|
±6
|
|
1, 1
|
0, 30
| | | |
200
| |
(Измененная редакция, Изм. N 3).
2.5. Полотно и прокладки должны иметь ровную, гладкую поверхность без посторонних включений, трещин, пузырей.
2.6. По физико-механическим показателям полотно должно соответствовать нормам, указанным в табл. 3.
Таблица 3
|
Наименование показателя
|
Норма
|
|
Поглощение масла, %, не более
|
32
|
|
Поглощение бензина, %, не более
|
22
|
|
Поглощение воды, %, не более
|
29
|
|
Полная усадка при давлении сжатия 25 МПа (250 кгс/см2), %:
| |
|
при температуре (20±5)°С
|
29-45
|
|
после выдержки при температуре (250±5)°С
|
29-45
|
|
Остаточная усадка при давлении сжатия 25 МПа (250 кгс/см2), %:
| |
|
при температуре (20±5)°С
|
21-33
|
|
после выдержки при температуре (250±5)°С
|
19-35
|
|
Потери массовой доли вещества при прокаливании, %
|
15-23
|
|
Плотность, г/см3
|
1, 3-1, 7
|
(Измененная редакция, Изм. N 1, 2, 3).
2.7. Полотно должно быть устойчивым к изгибу и при испытании не должно давать отслоений резинового слоя от ткани.
2.8. Полотно не является коррозионно-активным к алюминию, дюралюминию, стали и чугуну.
2.7, 2.8. (Измененная редакция, Изм. N 1).
3. Правила приемки
3.1. Полотно принимают партиями. Партией считают полотно одного размера общей площадью не более 1000 м2 или прокладки одного размера не более 50000 шт., сопровождаемые одним документом о качестве.
Документ должен содержать:
наименование предприятия-изготовителя, его товарный знак;
наименование продукции (полотно, прокладки);
номер партии;
количество полотна или прокладок;
дату изготовления;
обозначение настоящего стандарта;
букву "Т" для полотна в тропическом исполнении;
размеры (полотна) или номер прокладки (детали);
результаты испытаний.
(Измененная редакция, Изм. N 1, 2).
3.2. Для проверки соответствия полотна и прокладок требованиям настоящего стандарта проводят приемо-сдаточные испытания в объеме:
по внешнему виду - 100%;
по размерам - 5% рулонов от партии, но не менее пяти рулонов или 50 прокладок от партии;
по физико-механическим показателям - три рулона от партии.
(Измененная редакция, Изм. N 1).
3.3. При получении неудовлетворительных результатов испытаний хотя бы по одному из показателей по нему проводят повторные испытания на удвоенной выборке, взятой от той же партии.
Результаты повторных испытаний распространяются на всю партию.
При получении неудовлетворительных результатов повторных испытаний по размерам испытывают каждый рулон партии.
(Измененная редакция, Изм. N 3).
4. Методы испытаний
4.1. Внешний вид полотна и прокладок определяют визуально путем осмотра.
Допускается внешний вид прокладок проверять по контрольным образцам, утвержденным в установленном порядке.
(Измененная редакция, Изм. N 1).
4.2. Ширину полотна измеряют в трех местах каждого отобранного рулона металлической рулеткой с ценой делений 1 мм по ГОСТ 7502 или металлической линейкой по ГОСТ 427 с погрешностью не более 1 мм на расстоянии не менее 0, 75 м между измерениями.
За результат измерения принимают среднее арифметическое трех определений по каждому рулону, округленное до целого числа.
4.3. Толщину полотна измеряют микрометром по ГОСТ 6507 или толщиномером ТР-10-60 по ГОСТ 11358 с погрешностью не более 0, 01 мм в десяти точках с обеих сторон рулона, отступая от края полотна не менее 15 мм и на расстоянии не менее 0, 35 м друг от друга по длине рулона. За результат измерения принимают среднее арифметическое результатов десяти измерений, округленное до первого десятичного знака.
4.2, 4.3. (Измененная редакция, Изм. N 3).
4.4. Для определения физико-механических показателей от каждого отобранного рулона из любого места отрезают кусок полотна длиной 0, 1 м по всей ширине рулона. От каждого отобранного куска отрезают по одному образцу для каждого вида испытания.
4.4.1. Для определения поглощения масла, нефраса, воды от каждого куска, отобранного по п. 4.4, отрезают образцы размером 40х40 мм. Образцы взвешивают с погрешностью не более 0, 01 г и погружают на 4 ч в масло МС-20С по ГОСТ 21743, нефрас и питьевую воду по ГОСТ 2874 при температуре (20±5)°С.
Образцы после испытания в масле извлекают, опускают на 30 с в сосуд с нефрасом для снятия масла с поверхности, затем протирают фильтровальной бумагой и взвешивают с той же погрешностью.
Образцы после испытания в нефрасе и воде извлекают, протирают фильтровальной бумагой и взвешивают с той же погрешностью.
Поглощение масла, нефраса, воды (Х) в процентах вычисляют по формуле

,
где m - масса образца до испытания, г;
m1 - масса образца после испытания, г.
За результат испытания для каждой среды принимают среднее арифметическое результатов трех определений.
(Измененная редакция, Изм. N 3).
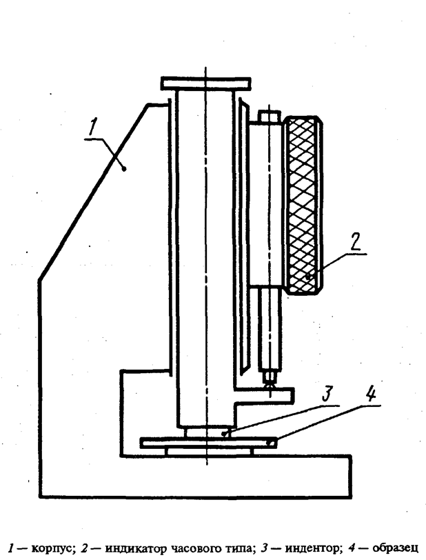
4.5. Полную и остаточную усадку определяют на приборе типа ПТШ-3, схема которого приведена в рекомендуемом приложении.
Прибор устанавливают на прессе, который должен обеспечивать:
требуемую нагрузку на индентор прибора;
плавное возрастание прилагаемой нагрузки;
выдержку прилагаемой нагрузки постоянной в течение 1 мин.
Испытание проводят при следующих условиях: температура образца (20±5)°С, нагрузка на индентор прибора 2500 Н (250 кгс), площадь индентора 1 см2, время выдержки образца после снятия нагрузки 30 с.
Прибор типа ПТШ-3 устанавливают на нижнюю плиту пресса, при этом стрелка индикатора должна быть совмещена с нулевым положением вращением циферблата.
Образец размером 100х100 мм помещают под индентором прибора. Отклонение стрелки индикатора определяют первоначальную толщину образца. К индентору прибора прикладывают заданную нагрузку и через 1 мин определяют на индикаторе толщину образца под нагрузкой.
Затем с индентора снимают нагрузку и выдерживают образец 30 с. На индикаторе определяют толщину образца после снятия нагрузки.
Полную (Е) и остаточную (E1) усадку в процентах вычисляют по формулам:

,

,
где h - толщина образца до испытания, мм;
h1 - толщина образца при заданной нагрузке, мм;
h2 - толщина образца после снятия нагрузки, мм.
За результат испытания принимают среднее арифметическое результатов трех определений измеряемой усадки.
4.6. Для определения потери массы при прокаливании от каждого куска, отобранного по п. 4.4, отрезают образцы массой 3-5 г каждый и испытывают в соответствии с ГОСТ 22030.
4.7 Устойчивость полотна на изгиб определяют по ГОСТ 24036.
4.8. Для испытания полотна на полную и остаточную усадку и устойчивость на изгиб после предварительного прогревания при 250°С от каждого куска, отобранного по п. 4.4, отрезают образцы размером 100х100 и 20х110 мм. Образцы выдерживают в термостате при указанной температуре в течение 2 ч, затем вынимают их из термостата и охлаждают в эксикаторе. Охлажденные образцы испытывают на полную и остаточную усадку и устойчивость на изгиб в соответствии с пп. 4.5 и 4.7.
4.7, 4.8. (Измененная редакция, Изм. N 1).
4.9. (Исключен, Изм. N 1).
4.10. Размеры и количество проволоки проверяют в процессе изготовления полотна.
4.11. Плотность полотна определяют по ГОСТ 24039.
(Введен дополнительно, Изм. N 1).
5. Упаковка, маркировка, транспортирование и хранение
5.1. Полотно изготавливают рулонами. Площадь каждого рулона не должна превышать 30 м2. Рулоны перевязывают в двух местах шпагатом и упаковывают в бумагу по ГОСТ 2228.
К каждому рулону прикрепляют ярлык со следующими обозначениями:
наименования предприятия-изготовителя, его товарного знака;
наименования продукции;
номера партии;
размеров (длины, ширины, толщины);
даты изготовления;
обозначения настоящего стандарта;
буквы "Т" для полотна в тропическом исполнении.
5.2. Рулоны полотна, обернутые бумагой, упаковывают в деревянные ящики по ГОСТ 2991. Масса брутто ящика не должна быть более 80 кг.
Прокладки связывают в пачки по 100 шт. и упаковывают в картонные коробки или деревянные ящики. Масса брутто одной единицы упаковки не более 50 кг.
Деревянные ящики пакетируют на плоских поддонах и скрепляют металлической лентой или проволокой. Формирование пакетов - по ГОСТ 26663. Прокладки, упакованные в картонные коробки, укладывают в производственную тару по ГОСТ 14861 или пакетируют на плоских поддонах.
(Измененная редакция, Изм. N 1, 3).
5.3. К каждой упаковочной единице прикрепляют ярлык, на который наносят маркировку в соответствии с ГОСТ 14192, манипуляционный знак: "Беречь от влаги" и следующие обозначения:
наименование предприятия-изготовителя, его товарный знак;
наименование продукции (полотна, прокладки);
номер партии;
количество полотна или прокладок;
дату изготовления;
обозначение настоящего стандарта;
букву "Т" для полотна в тропическом исполнении.
(Измененная редакция, Изм. N 1, 2).
5.4. (Исключен, Изм. N 1).
5.5. Полотно и прокладки транспортируют транспортом всех видов в крытых транспортных средствах в соответствии с правилами перевозки грузов, действующими на транспорте данного вида.
5.6. Полотно и прокладки должны храниться в закрытых помещениях при температуре не более 35°С и относительной влажности не более 80%.
Полотно и прокладки должны быть защищены от прямого воздействия солнечных лучей, влаги, масла и других веществ и должны находиться на расстоянии не менее 1 м от нагревательных приборов.
(Измененная редакция, Изм. N 1).
6. Гарантии изготовителя
6.1. Изготовитель гарантирует соответствие полотна и прокладок требованиям настоящего стандарта при соблюдении условий транспортирования и хранения.
6.2. Гарантийный срок хранения полотна и прокладок - три года со дня изготовления.
Приложение
Рекомендуемое
Схема прибора типа ПТШ-3