ГОСТ 22524-77 [СТ СЭВ 3352-81] ПИКНОМЕТРЫ СТЕКЛЯННЫЕ. ТЕХНИЧЕСКИЕ УСЛОВИЯ
Glass density bottles. Specifications
Срок введения с 1 января 1979 г.
Настоящий стандарт распространяется на стеклянные пикнометры, применяемые при определении плотности жидкостей, газов, твердых и сыпучих материалов, изготовленные для нужд народного хозяйства и экспорта.
Настоящий стандарт полностью соответствует СТ СЭВ 3352-81, международному стандарту ИСО 3507-76 в части пикнометров для жидкостей типов ПЖ1, ПЖ2, ПЖ3 и ПЖ4.
(Измененная редакция, Изм. N 1, 2).
1.1. В зависимости от назначения и формы пикнометры должны изготовляться следующих типов:
ПЖ1, ПЖ2, ПЖ3 и ПЖ4 - для жидкостей;
ПТ - для твердых и сыпучих материалов;
ПГ - для газов.
Коды ОКП приведены в справочном приложении 1.
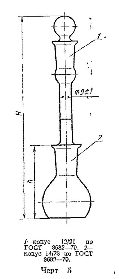
1.2. Форма, основные параметры и размеры пикнометров должны соответствовать указанным на черт. 1-6 и в табл. 1-6 и 8.
Примечание. Номинальная вместимость пикнометров определяется:
для типа ПЖ1 - объемом до нулевой отметки шкалы;
" " ПЖ2 - объемом до отметки на горловине;
для типа ПЖ3 - объемом до уровня верхнего отверстия пробки,
исп. 1, 2, 3
" " ПЖ4 - объемом между нулевыми отметками шкал;
для типов ПТ и ПГ - не менее 80% полной вместимости.
Таблица 1
|
Номинальная вместимость, мл |
H, мм, не менее |
d, мм (пред. откл. ±0, 8) |
Конус по ГОСТ 8682-70 |
|
5 |
70 |
3 |
7/16 |
|
25 |
95 |
10/13; | |
|
50 |
105 |
16/19 | |
|
100 |
110 |
Пример условного обозначения пикнометра типа ПЖ1 номинальной вместимостью 25 мл, с конусом КШ:
Пикнометр ПЖ1-25-КШ 10/13 ГОСТ 22524-77
То же, с конусом КН:
Пикнометр ПЖ1-25-КН 10/18 ГОСТ 22524-77
Таблица 2
|
Номинальная вместимость, мл |
H, мм, не менее |
d, мм (пред. откл. ±1) |
Конус по ГОСТ 8682-70 |
|
1 |
60 |
5 |
5/13 |
|
2 |
60 | ||
|
3 |
70 | ||
|
5 |
80 |
6 |
7/16 |
|
10 |
90 | ||
|
25 |
105 |
6; 9 |
7/16 |
|
110 |
10/19 | ||
|
50 |
120 |
7/16 | |
|
125 | |||
|
100 |
140 |
9 |
10/19 |
Пример условного обозначения пикнометра типа ПЖ2 номинальной вместимостью 25 мл с горловиной диаметром 6 мм и конусом КШ 7/16:
Пикнометр ПЖ2-25-КШ 7/16 ГОСТ 22524-77
То же, с конусом КН 7/16:
Пикнометр ПЖ2-25-КН 7/16 ГОСТ 22524-77
Таблица 3
Размеры в мм
|
Исполнение |
Номинальная вместимость, мл |
H, не менее |
h, не менее |
h, не менее |
Д, не менее |
Д1, не менее |
d (пред. откл. ±0, 2) |
Конус по ГОСТ 8682-70 |
|
1 |
1 |
45 |
20 |
25 |
- |
- |
0, 7 |
5/13 |
|
2 |
50 |
25 |
25 |
- |
- | |||
|
3 |
50 |
25 |
25 |
- |
- | |||
|
5 |
65 |
35 |
35 |
- |
- |
7/16 | ||
|
10 |
75 |
40 |
35 |
- |
- | |||
|
25 |
80 |
50 |
40 |
- |
- |
10/19 | ||
|
50 |
95 |
60 |
40 |
- |
- |
0, 7; 1, 0 | ||
|
100 |
100 |
65 |
40 |
- |
- |
0, 7 | ||
|
2 |
10 |
- |
40 |
25 |
27 |
18 |
- |
- |
|
25 |
- |
55 |
33 |
40 |
27 |
- |
- | |
|
50 |
- |
65 |
50 |
35 |
- |
- |
Пример условного обозначения пикнометра типа ПЖ3 исполнения 1 номинальной вместимостью 50 мл с капилляром диаметром 0, 7 мм и конусом КШ;
Пикнометр ПЖ3-1-50-0, 7-КШ ГОСТ 22524-77
То же, с конусом КН:
Пикнометр ПЖ3-1-50-0, 7-КН ГОСТ 22524-77
Таблица 4
|
Номинальная вместимость между нулевыми отметками, мл |
Масса, г, не более |
|
1; 2; 5; 10 |
30 |
Пример условного обозначения пикнометра типа ПЖ4 номинальной вместимостью 1 мл:
Пикнометр ПЖ4-1 ГОСТ 22524-77
Таблица 5
Размеры в мм
|
Номинальная вместимость, мл |
H (пред. откл. ±5) |
h (пред. откл. ±3) |
|
25 |
165 |
56 |
|
50 |
170 |
68 |
Пример условного обозначения пикнометра типа ПТ номинальной вместимостью 25 мл с конусом КШ:
Пикнометр ПТ-25-КШ ГОСТ 22524-77
То же, с конусом КН:
Пикнометр ПТ-25-КН ГОСТ 22524-77
Таблица 6
|
Номинальная вместимость, мл |
H, мм (пред. откл. ±5) |
Масса, г, не более |
|
100 |
100 |
75 |
|
200 |
115 |
80 |
Пример условного обозначения пикнометра типа ПГ номинальной вместимостью 100 мл:
Пикнометр ПГ-100 ГОСТ 22524-77
1.1, 1.2. (Измененная редакция, изм. N 2).
2.1. Пикнометры должны изготовляться в соответствии с требованиями настоящего стандарта по рабочим чертежам, утвержденным в установленном порядке.
2.2. Пикнометры должны изготовляться из химико-лабораторного стекла по ГОСТ 21400-75 и медицинского по ГОСТ 19808-80.
Допускается слабый цветной оттенок стекла.
Пробки и пикнометры должны быть изготовлены из стекла одной группы.
Допускается изготовлять пробки из полиэтилена по ГОСТ 16337-77 и техническим условиям на конкретный тип пробок, утвержденным в установленном порядке.
(Измененная редакция, Изм. N 2).
2.3. Пикнометры должны быть отожжены. Разность хода лучей должна быть не более 80 нм/см, для пробок пикнометров - не более 120 нм/см.
2.4. На поверхности и в толще стекла пикнометров не допускаются:
а) окалина, камни;
б) мошка в сосредоточенном виде;
в) свиль, сопровождаемая внутренним напряжением, не соответствующим требованию п. 2.3;
г) узлы, сопровождаемые внутренним напряжением, не соответствующим требованию п. 2.3, а также узлы размером более 0, 5 мм. На каждый пикнометр должно быть не более двух узлов размером до 0, 5 мм;
д) пузыри, продавливаемые острием из материала одинаковой со стеклом твердости или менее твердым, и пузыри, не продавливаемые острием, диаметром более 3 мм. На каждом пикнометре должно быть не более двух пузырей диаметром до 3 мм;
е) капилляры, продавливаемые острием одинаковой со стеклом твердости или менее твердым, и капилляры шириной более 0, 3 мм.
На поверхности и в толще стекла, занимаемых шкалой или числовыми отметками, не допускается:
ж) дефекты, мешающие отсчету.
2.5. На горловине пикнометров типа ПЖ1 должна быть нанесена шкала длиной 20 мм, а на вертикальных трубках пикнометров типа ПЖ4 длиной 80 мм. Шкалы должны быть равномерными. Расстояние между отметками должно быть 1 мм.
Отметки шкалы пикнометров должны быть:
короткие - от 10 до 20% длины его окружности;
средние - приблизительно 1, 5 длины коротких отметок;
длинные - не менее, чем в 2 раза длиннее коротких.
2.6. Отметки шкалы должны быть нанесены перпендикулярно к вертикальной оси пикнометров и быть параллельными между собой. Отметки должны быть прямыми и ровными, без перерывов и утолщений, влияющих на точность отсчитывания.
Допускаемые отклонения от номинальной вместимости при температуре 20°С, а также масса пикнометров не должны превышать значений, указанных в табл. 7.
Таблица 7
|
Тип и исполнение пикнометров |
Вместимость, мл |
Масса, г не более | |
|
Номин. |
Пред. откл. | ||
|
ПЖ1 |
5 |
±0, 5 |
20 |
|
25 |
±2, 0 |
25 | |
|
5а |
±3, 0 |
40 | |
|
100 |
±5, 0 |
50 | |
|
ПЖ2 |
2 |
±0, 2 |
20 |
|
2 |
±0, 3 |
20 | |
|
3 |
±0, 4 |
20 | |
|
5 |
±0, 5 |
20 | |
|
10 |
±1, 0 |
25 | |
|
25 |
±2, 0 |
40 | |
|
50 |
±3, 0 |
45 | |
|
100 |
±5, 0 |
50 | |
|
ПЖ3 исполнения 1, 2 |
10 |
±1, 0 |
25 |
|
25 |
±2, 0 |
30 | |
|
50 |
±3, 0 |
35 | |
|
ПЖ3 исполнение 3 |
25 |
±2, 0 |
40 |
|
ПЖ4 |
1 |
±0, 2 |
30 |
|
2 |
±0, 3 | ||
|
5 |
±0, 5 | ||
|
10 |
±1, 0 | ||
2.4-2.6. (Измененная редакция, изм. N 2).
2.7. Ширина отметок должна быть не более 0, 3 мм.
2.8. Чистовые отметки шкалы должны быть нанесены согласно черт. 1 и 4 от нулевой отметки вверх через каждые 10 мм.
Нулевые отметки на вертикальных трубках пикнометра типа ПЖ4 должны быть нанесены согласно черт. 4.
(Измененная редакция, Изм. N 2).
2.9. На горловинах пикнометров типов ПЖ2 и ПТ должна быть нанесена отметка по всей окружности горловины в плоскости, перпендикулярной к вертикальной оси колбы пикнометра.
Не допускаются разрывы отметок размером более 0, 5 мм. Разрывов до 0, 5 мм должно быть не более трех.
2.10. По заказу потребителя на горловине пикнометров типов ПЖ2 и ПТ должны быть нанесены дополнительные отметки на 1 мм выше и ниже основной отметки.
Пикнометры типа ПЖ2 допускается изготовлять с горловиной внутренним диаметром, равным 1, 0-1, 1 мм.
2.11. Размеры муфты и пробки крана пикнометров типа ПГ должны соответствовать размерам муфты и пробки крана типа К1Х-1-1, 6 по ГОСТ 7995-80. Технические требования к кранам - по ГОСТ 7995-80.
2.12. Конец пробки пикнометра типа ПЖ3, исполнений 1 и 2 вертикальные трубки пикнометров типов ПЖ4 и ПГ должны быть ровно обрезаны, оплавлены или зашлифованы.
Не допускаются неоплавленные сколы. Оплавленных сколов размером до 1 мм должно быть не более одного на пробке или трубке.
Пикнометры типа ПЖ3 исполнения 2 должны быть изготовлены с индивидуальной пришлифовкой.
Колпачки пикнометров должны быть пришлифованы в соответствии с черт. 1 и 3.
Горловина пикнометра типа ПЖ3 исполнения 2 должна быть отшлифована или отполирована и иметь скошенные боковые края.
2.13. Вертикальные трубки пикнометров типов ПЖ4 и ПГ должны быть параллельны между собой и перпендикулярны к горизонтальной оси пикнометров. Отклонение от параллельности или перпендикулярности трубок должно быть не более 7°.
Резервуар пикнометра типа ПЖ4 должен иметь плавный переход к капиллярам.
2.11-2.13. (Измененная редакция, Изм. N 2).
2.14. Форма пикнометров должна иметь плавные внутренние переходы, предотвращающие прилипание воздушных пузырей.
2.15. Дно пикнометров типов ПЖ1, ПЖ2, ПЖ3, ПГ, ПТ должно быть плоским или незначительно вогнутым, обеспечивающим устойчивость пикнометра на горизонтальной поверхности.
2.14, 2.15. (Введены дополнительно, Изм. N 2).
3.1. Пикнометры должны подвергать приемо-сдаточным и периодическим испытаниям на соответствие требованиям настоящего стандарта.
3.2. При приемо-сдаточных испытаниях каждый пикнометр проверяют на соответствие требованиям пп. 2.4а, б, ж; 2.6 первый абзац: 2.8-2.10, 2.12, 5.1 и 10% пикнометров от партии, но не менее 5 шт. каждого типа и исполнения - на соответствие требованиям пп. 1.1, 1.2, 2.3, 2.4 в-е, 2.5, 2.6 второй абзац, 2.7, 2.11, 2.13-2.15.
Результаты выборочного контроля распространяются на всю партию.
Партией считают число пикнометров одного типа исполнения, предъявленных к приемке по одному документу.
3, 1, 3.2. (Измененная редакция, Изм. N 2).
3.3. Периодические испытания следует проводить раз в год на соответствие пикнометров всем требованиям настоящего стандарта, за исключением требования п. 2.2. При испытаниях следует проверять 10% пикнометров от партии, но не менее десяти каждого типа.
3.4. При получении неудовлетворительных результатов периодических испытаний хотя бы по одному из показателей следует проводить повторные испытания удвоенного числа пикнометров каждого типа, взятых от той же партии.
Результаты повторных испытаний считают окончательными.
(Измененная редакция, Изм. N 2).
4.1. Типы пикнометров (п. 1.1), основные размеры (пп. 1.2 первый абзац, 2.1, 2.5, 2.6 первый абзац, 2.8-2.13 первый абзац), дефекты стекла (пп. 2.4 а, б, д-ж), маркировку (п. 5.1) проверяют измерительным инструментом по ГОСТ 166-80 и ГОСТ 427-75 и внешним осмотром.
(Измененная редакция, Изм. N 2).
4.2. Качество отжига пикнометров (пп. 2.3, 2.4в, г) следует проверять по ГОСТ 7329-74.
4.3. Ширину отметок (п. 2.7) следует проверять измерительной лупой по ГОСТ 7594-83.
4.4. Технические требования к кранам (п. 2.11) следует проверять по ГОСТ 7995-80.
4.5. Конусы следует проверять по ГОСТ 8682-70.
4.6. Массу пикнометров следует проверять взвешиванием на лабораторных аналитических весах типа ВЛА-200-М.
4.7. Вместимость пикнометров типов ПЖ1, ПЖ2, ПЖ3, ПЖ4 (п. 1.2 примечание) и допустимые отклонения (п. 2.6, табл. 7) проверяют методом сравнения вместимости пикнометра с образцовой мерой.
4.8. Форму (п. 2.1З последний абзац и п. 2.14) и устойчивость пикнометров (п. 2.15) проверяют опробованием.
4.7, 4.8. (Введены дополнительно, Изм. N 2).
5.1. На пикнометрах должны быть нанесены:
индивидуальный номер на колпачке, пробке и пикнометре типа ПЖ3 исполнений 1 и 2, обозначающий принадлежность колпачка и пробки к пикнометру;
"мм" - над шкалой пикнометров типов ПЖ1 и ПЖ4;
номинальная вместимость в миллилитрах;
товарный знак предприятия-изготовителя.
Маркировка пикнометров, предназначенных для экспорта, - по ГОСТ 13756-75.
(Измененная редакция, Изм. N 1, 2).
5.2. Пикнометры для жидкостей и твердых тел должны быть уложены с мягкой прокладкой в коробки из картона по ГОСТ 7933-75. При этом каждый пикнометр, предназначенный для экспорта, предварительно должен быть завернут в бумагу марки А или Б по ГОСТ 8273-75. Коробки с пикнометрами должны быть уложены в ящики.
Картонные коробки в тропическом исполнении должны быть парафинированы.
Пикнометры для газа должны быть переложены мягкой прокладкой и упакованы в ящики по ГОСТ 16536-84, ГОСТ 16511-77, ГОСТ 15841-77, ГОСТ 2991-76 и ГОСТ 5959-80. При этом каждый пикнометр, предназначенный для экспорта, предварительно должен быть завернут в бумагу марки А или Б по ГОСТ 8273-73.
При транспортировании в контейнерах допускается тара другого вида, обеспечивающая сохранность пикнометров.
Пикнометры, завернутые в бумагу, и коробки с пикнометрами, предназначенными для экспорта, должны быть упакованы с прокладкой стружки толщиной до 0, 25 мм и влажностью до 12% по ГОСТ 5244-79 в деревянные ящики по ГОСТ 24634-81.
При экспорте в страны с тропическим климатом пикнометры, завернутые в бумагу, должны быть упакованы с прокладкой стружки толщиной 0, 25 мм и влажностью не более 12% по ГОСТ 5244-79 в пакет из полиэтиленовой пленки толщиной 0, 2 мм по ГОСТ 10354-82. Коробки с пикнометрами упаковывают без стружки в полиэтиленовый пакет.
Пакет должен быть герметично заварен.
Допускается использовать другие пленочные материалы, обеспечивающие сохранность изделий.
(Измененная редакция, Изм. N 1).
5.3. Масса брутто не должна превышать 50 кг.
5.4. Маркировка ящиков - по ГОСТ 14192-77.
На каждом ящике должны быть нанесены предупредительные знаки, соответствующие надписям "Верх, не кантовать", "Осторожно, хрупкое", и надпись "Не бросать!".
Маркировка ящиков с пикнометрами, предназначенными для экспорта, - го ГОСТ 13756-75, ГОСТ 24634-81 и в соответствии с заказ-нарядом внешнеторговой организации.
5.5. Каждый ящик должен иметь упаковочный лист с указанием:
товарного знака или наименования предприятия-изготовителя;
типа и числа пикнометров;
даты выпуска.
Товаросопроводительная документация для пикнометров, предназначенных для экспорта, - по ГОСТ 6.37-79 и составляется на русском и иностранном языке, указанном в заказ-наряде внешнеторговой организации.
Товаросопроводительная документация должна быть завернута в оберточную бумагу марки А по ГОСТ 8273-75, вложена в пакет из полиэтиленовой пленки по ГОСТ 10354-82 толщиной не менее 0, 1 мм. Швы пакета должны быть герметично сварены.
Товаросопроводительная документация к пикнометрам, экспортируемым в страны с тропическим климатом, должна быть завернута в оберточную бумагу марки А и упакована в два герметичных пакета из полиэтиленовой пленки толщиной не менее 0, 15 мм каждый с последующей герметичной сваркой швов.
Для дополнительной защиты пакет должен быть завернут в водонепроницаемую бумагу по ГОСТ 8828-75, края которой склеиваются синтетическим клеем.
Товаросопроводительная документация должна быть уложена в ящик с упакованной продукцией.
Один экземпляр упаковочного листа укладывается в пакет из полиэтиленовой пленки с последующей герметичной сваркой швов и помещается в карман ящика по ГОСТ 24634-81.
При упаковке пикнометров в несколько ящиков товаросопроводительная документация укладывается в место N 1.
5.4, 5.5. (Измененная редакция, Изм. N 1).
5.6. Условия транспортирования и хранения пикнометров - 6 по ГОСТ 15150-69.
(Измененная редакция, Изм. N 2).
Приложение 1
Справочное
|
Типоразмер пикнометра |
Код ОКП |
Типоразмер пикнометра |
Код ОКП |
|
ПЖ1-5-КШ |
43 2111 0581 10 |
ПЖ3-1-10-КШ |
43 2111 0606 07 |
|
ПЖ1-25-КШ |
43 2111 0582 09 |
ПЖ3-1-25-КШ |
43 2111 0607 06 |
|
ПЖ1-50-КШ |
43 2111 0583 08 |
ПЖ3-1-50-0, 7-КШ |
43 2111 0608 05 |
|
ПЖ1-1000-КШ |
43 2111 0584 07 |
ПЖ3-1-50-1, 0-КШ |
43 2111 0609 04 |
|
ПЖ1-5-КН |
43 2111 0585 06 |
ПЖ3-1-100-КШ |
43 2111 0610 00 |
|
ПЖ1-25-КН |
43 2111 0586 05 |
ПЖ3-2-10-КШ |
43 2111 0611 10 |
|
ПЖ1-50-КН |
43 2111 0587 04 |
ПЖ3-2-25-КШ |
43 2111 0612 09 |
|
ПЖ1-100-КН |
43 2111 0588 03 |
ПЖ3-2-50-КШ |
43 2111 0613 08 |
|
ПЖ2-1-КШ 5/13 |
43 2111 0531 09 |
ПЖ3-3-25-КШ |
43 2111 0614 07 |
|
ПЖ2-2-КШ 5/13 |
43 2111 0532 08 |
ПЖ3-1-1-КН |
43 2111 0615 06 |
|
ПЖ2-3-КШ 5/13 |
43 2111 0533 07 |
ПЖ3-1-2-КН |
43 2111 0616 05 |
|
ПЖ2-5-КШ 7/16 |
43 2111 0534 06 |
ПЖ3-1-3-КН |
43 2111 0617 04 |
|
ПЖ2-10-КШ 7/16 |
43 2111 0535 05 |
ПЖ3-2-5-КН |
43 2111 0618 03 |
|
ПЖ2-25-КШ 7/16 |
43 2111 0539 01 |
ПЖ3-1-10-КН |
43 2111 0619 02 |
|
ПЖ2-25-КШ 10/19 |
43 2111 0536 04 |
ПЖ3-1-25-КН |
43 2111 0620 09 |
|
ПЖ2-50-КШ 7/16 |
43 2111 0540 08 |
ПЖ3-1-50-0, 7-КН |
43 2111 0621 08 |
|
ПЖ2-50-КШ 10/19 |
43 2111 0537 03 |
ПЖ3-1-50-1, 0-КН |
43 2111 0622 07 |
|
ПЖ2-100-КШ 10/19 |
43 2111 0538 02 |
ПЖ3-1-100-КН |
43 2111 0623 06 |
|
ПЖ2-1-КН 5/13 |
43 2111 0541 07 |
ПЖ3-2-10-КН |
43 2111 0624 05 |
|
ПЖ2-2-КН 5/13 |
43 2111 0542 06 |
ПЖ3-2-25-КН |
43 2111 0625 04 |
|
ПЖ2-3-КН 5/13 |
43 2111 0543 05 |
ПЖ3-2-50-КШ |
43 2111 0626 03 |
|
ПЖ2-5-КН 7/16 |
43 2111 0544 04 |
ПЖ3-3-25-КН |
43 2111 0627 02 |
|
ПЖ2-10-КН 7/16 |
43 2111 0543 03 |
ПЖ4-1 |
43 2111 0661 00 |
|
ПЖ2-25-КН 7/16 |
43 2111 0546 02 |
ПЖ4-2 |
43 2111 0662 10 |
|
ПЖ2-25-КН 10/19 |
43 2111 0547 01 |
ПЖ4-5 |
43 2111 0663 09 |
|
ПЖ2-50-КН 7/16 |
43 2111 0548 00 |
ПЖ4-10 |
43 2111 0664 08 |
|
ПЖ2-50-КН 10/19 |
43 2111 0549 10 |
ПТ-25-КШ |
43 2111 0525 07 |
|
ПЖ2-100-КН |
43 2111 0550 06 |
ПТ-50-КШ |
43 2111 0521 00 |
|
ПЖ3-1-1-КШ |
43 2111 0602 00 |
ПТ-25-КН |
43 2111 0526 06 |
|
ПЖ3-1-2-КШ |
43 2111 0603 10 |
ПТ-50-КН |
43 2111 0527 05 |
|
ПЖ3-1-3-КШ |
43 2111 0004 09 |
ПГ-100 |
43 2111 0511 02 |
|
ПЖ3-1-5-КШ |
43 2111 0605 08 |
ПГ-200 |
43 2111 0515 09 |
Приложение 2
Справочное
|
Пункт ГОСТ 22524-77 |
Пункт СТ СЭВ 3352-81 |
|
Вводная часть |
Вводная часть |
|
1.1, типы, ПЖ1, ПЖ3 и ПЖ4 |
1.1, табл. 1 |
|
1.2, черт. 1, 3, 4 и табл. 1, 3, 4 |
1.2, черт. 1-4, табл. 3 пп. 2.1.1, 2.6.2 |
|
2.2 |
2.2.2 |
|
2.3 |
2.2.1 |
|
2.5 |
2.7.1, 2.7.2, 2.7.5 |
|
2.6 (второй абзац) |
2.1.2, табл. 2 |
|
2.8 |
2.7.3, 2.7.6 |
|
2.12 |
2.3.2, черт. 3 и 4, 2.4.1, 2.5.1, 2.5.2, 2.6.1 |
|
2.13 |
2.3.2, черт. 1, 2.7.3 |
|
2.14, черт. 3 |
2.3.1, 2.5.3 |
|
2.15 |
2.3.3 |
|
5.1 |
3.1, 3.2 |
|
Черт. 3 |
2.4.2, 2.5.3, 2.6.2 |
|
Черт. 4 |
2.7.4 |
(Введено дополнительно, Изм. N 2).


