ГОСТ 24040-80 ЭЛЕКТРООБОРУДОВАНИЕ СУДОВ. ПРАВИЛА И НОРМЫ ПРОЕКТИРОВАНИЯ И ЭЛЕКТРОМОНТАЖА
Electrical equipment of ships. Rules and standards of designing and electric mounting
Дата введения - 1 января 1981 г.
Введен впервые
Настоящий стандарт устанавливает правила и нормы проектирования электротехнических изделий (кроме кабелей), радиоэлектронных средств, аппаратуры спецтехники и автоматики (далее - электрооборудование); электротехнических систем; монтажа электрооборудования и кабелей, использующих электроэнергию переменного напряжения не более 1000 В, частотой не более 200 кГц и постоянного напряжения не более 1200 В; монтажа кабельных оптических линий (КОЛ), применяемых при передаче световой энергии в диапазоне частот, соответствующем НТД на оптические кабели; проектирования и электромонтажа защитного и экранирующего заземлений.
Стандарт не распространяется на требования к проектированию и электромонтажу:
антенно-фидерных устройств;
средств радиосвязи, волноводных трактов, а также других электроустройств с рабочей частотой более 200 кГц;
машин, устройств и аппаратов системы электродвижения переменного напряжения более 1000 В и постоянного напряжения более 1200 В;
грозозащитного и молниезащитного заземлений;
рабочего заземления;
заземления для снятия статического электричества.
В целях повышения производительности труда и качества электромонтажного производства на всех стадиях постройки судов* стандарт устанавливает технические требования, правила и нормы:
разработки (проектирования) и изготовления электрооборудования (кроме кабелей), которое может быть установлено на судах;
проектирования судов в части размещения электрооборудования, КОЛ и кабелей;
подготовки и контроля готовности судна или отдельных его районов к выполнению электромонтажа;
выполнения электромонтажа.
Стандарт обязателен для предприятий:
проектирующих и изготовляющих электрооборудование (кроме кабелей), которое может быть установлено на судах;
проектирующих суда;
строящих суда;
выполняющих монтаж электрооборудования и кабелей на судах;
осуществляющих контроль выполнения вышеперечисленных работ.
Пояснение терминов, применяемых в стандарте, приведено в приложении 3.
(Измененная редакция, Изм. N 1).
1.1. Общие требования, требования к вводным конструкциям и выводам электрооборудования и электротехнических устройств
1.1.1. Конструкция электрооборудования должна обеспечивать возможность выполнения его монтажа на судне без разборки и распломбировки. Допускается только открывать или снимать стенки, крышки, двери.
1.1.2. Конструкция электрооборудования должна обеспечивать возможность выполнения присоединения жил внешних кабелей к выводам или электрическим соединителям, а также КОЛ и отводы КОЛ к оптическим соединителям, исключая прокладку, увязку и присоединение этих жил к отдельным устройствам или аппаратам, являющимся составными частями электрооборудования (электротехнического устройства). Допускается присоединять жилы внешних кабелей только к контактным зажимам предохранителей, автоматических выключателей и трансформаторов.
(Измененная редакция, Изм. N 1).
1.1.3. Блоки контактных зажимов или отдельные контактные зажимы в электрооборудовании для присоединения жил внешних кабелей должны располагаться у вводных конструкций таким образом, чтобы максимальное расстояние от места ввода кабеля до точки присоединения любой его жилы не превышало 300 мм. Если технически невозможно выполнить данное требование, допускается увеличить расстояние, но не более чем до 500 мм, при этом должно быть предусмотрено крепление кабелей, пучков и отдельных жил. Должны быть обеспечены допустимый изгиб кабелей и доступ к контактным зажимам.
1.1.4. Вводные конструкции и выводы электрооборудования должны быть стандартизованы на уровне государственных или отраслевых стандартов.
1.1.5. В электрооборудовании, содержащем приборные стойки, вводные конструкции должны располагаться сверху, сбоку или снизу. Расположение их спереди или сзади не допускается.
1.1.6. Зазор между кабелем и кромками отверстий при вводе внешних кабелей в электрооборудование должен быть:
при вводе через сальники - по ГОСТ 4860.1;
при вводе через вырезы и втулки - не более 10 мм.
1.1.7. Расположение сальников на корпусе электрооборудования и расстояние между ними должно обеспечивать доступ при монтаже к элементам монтажного поля с лицевой стороны электрооборудования.
1.1.8. Наиболее предпочтительным является ввод кабелей в электрооборудование с помощью электрических соединителей.
1.1.9. Типы электрических соединителей в их допустимом сочетании с жилами подключаемых кабелей следует выбирать, руководствуясь приложением 1.
Сочетание оптических кабелей с оптическими соединителями регламентируется НТД на оптические соединители.
1.1.10. Вводные конструкции электрооборудования (сальники и др.), а также оптические и электрические соединители для подключения внешних кабелей, КОЛ и отводов КОЛ должны иметь рельефную маркировку, четко видимую с лицевой стороны электрооборудования.
Выводы электрооборудования (контактные зажимы, блоки контактных зажимов) должны иметь маркировку. В электрических соединителях маркируют вилочную и розеточную части. В оптических соединителях маркируют блочную и кабельную их части.
1.1.9, 1.1.10 (Измененная редакция, Изм. N 1).
1.1.11. Электрические соединители для экранированных кабелей не должны применяться для подключения неэкранированных кабелей.
1.1.12. В электрооборудовании должен быть предусмотрен монтажный объем:
для присоединения жил внешних кабелей к контактным зажимам, блокам контактных зажимов, электрическим соединителям;
для присоединения оптических соединителей к КОЛ и отводам КОЛ;
для укладки основных и запасных (резервных) жил.
Длина каждой жилы с площадью сечения от 2, 5 мм2 и менее для данного кабеля должна быть рассчитана на присоединение к наиболее удаленному контактному зажиму. Для жил с площадью сечения 4 мм2 и более и жил, оконцовываемых в электрические соединители (любых сечений), запас длины не предусматривается.
Допустимые минимальные расстояния от стенок электрооборудования, от мест ввода кабелей до блоков контактных зажимов, расстояния между платами, допустимые сочетания диаметров контактов электрических соединителей и площади сечений жил присоединяемых кабелей указаны в приложении 1.
1.1.13. В конструкции электрооборудования, к которому подключается более 150 жил кабелей внешних связей, должен предусматриваться модуль внешних связей.
1.1.14. Электрооборудование с модулями внешних связей изготавливают в блочном исполнении. Конструкция такого электрооборудования должна предусматривать возможность изготовления и поставки модулей внешних связей на ранней стадии отдельно и независимо от остальных элементов (блоков) электрооборудования для установки на судне и электромонтажа. Модули внешних связей должны быть обеспечены полным набором электромонтажных узлов и элементов, позволяющих выполнить весь комплекс электромонтажа внешних кабелей и монтажа КОЛ.
1.1.15. В конструкции крупногабаритного электрооборудования, к которому подключается менее 150 жил кабелей внешних связей, должен предусматриваться монтажный шаблон, обеспечивающий опережающую поставку его на судно для выполнения электромонтажных работ до установки электрооборудования.
1.1.16. Монтажный шаблон электрооборудования (для радиоэлектронной аппаратуры может быть использован технологический корпус) должен: соответствовать конфигурации и габаритам электрооборудования, аппаратуры ВОСП; иметь все элементы подсоединительных устройств (сальники; оптические, электрические, высокочастотные соединители и т. п.); иметь все устройства, имитирующие раскрытие крышек, дверок, выдвижных блоков. Маркировка и нумерация всех обозначений и контактных зажимов должна соответствовать штатной аппаратуре.
1.1.12 - 1.1.16. (Измененная редакция, Изм. N 1).
1.2. Требования по обеспечению заземления электрооборудования, металлических оплеток (оболочек) кабелей и экранов жил
1.2.1. Все электрооборудование с металлическим корпусом должно быть снабжено (кроме особо оговоренных случаев) одним устройством заземления его корпуса и, если в него вводятся кабели с металлическими оболочками (оплетками) и экранированными жилами, - наружными и внутренними устройствами заземления оболочек кабелей, внутренними устройствами заземления экранов жил кабелей. Количество устройств для заземления оболочек и экранов жил в электрооборудовании (кроме взрывозащищенного) устанавливают из расчета присоединения не более четырех оплеток или экранов жил к одному устройству.
Электрооборудование, состоящие из нескольких секций, должно иметь устройство заземления корпуса каждой секции.
1.2.2 Необходимость или недопустимость заземления и установки устройств заземления на стационарном и переносном электрооборудовании с неметаллическим или комбинированным (состоящим из неметаллических и металлических частей) корпусом определяется условиями обеспечения электробезопасности и оговаривается в нормативно-технической документации (НТД) на это электрооборудование.
1.2.3 Переносное, передвижное и погружное электрооборудование должно иметь одно внутреннее устройство заземления корпуса.
1.2.4 Одно наружное и одно внутреннее устройства заземления корпуса одновременно должны иметь следующее электрооборудование:
установочную арматуру (соединительные коробки, выключатели, розетки и т.д.);
светильники, кроме настольных;
мелкую аппаратуру сигнализации, автоматики, контроля и управления, устанавливаемую на различного рода устройствах, механизмах и аппаратах (измерительных преобразователях, сигнализаторах, электромагнитах и т.п.).
1.2.5. Электрооборудование, через которое заземляются с помощью жилы заземления подводимого кабеля погружные, передвижные и переносные электротехнические устройства, должно иметь одно наружное и необходимое количество внутренних устройств заземления, определяемое из расчета подключения не более четырех жил заземления к одному устройству.
1.2.6. Количество устройств заземления корпуса электрооборудования и заземления металлических оболочек (оплеток) кабелей внешних связей для электрооборудования, эксплуатируемого во взрывоопасных помещениях (в том числе для взрывозащищенного электрооборудования) устанавливают в соответствии с требованиями специальной НТД по взрывозащищенному электрооборудованию.
1.2.7. Количество устройств заземления корпуса электрооборудования, предназначенного для эксплуатации только в районах с тропическим климатом (в том числе электрооборудования исполнения ТМ) при номинальном переменном и постоянном напряжении 250 В и выше, устанавливают по ГОСТ 15150.
1.2.8. Погружное, переносное, передвижное электрооборудование, в которое могут вводиться кабели с металлическими наружными оплетками, должно быть снабжено внутренними устройствами заземления оплеток из расчета присоединения не более четырех перемычек заземления оплеток к одному устройству.
1.2.9. Наружные устройства заземления корпуса электрооборудования должны располагаться:
у электрических машин - на лапах крепления или фундаментах, справа относительно клеммной коробки;
у прочего электрооборудования - над нижней лапой крепления.
1.2.10. Все устройства заземления должны размешаться с учетом возможности и удобства подключения к ним стандартных перемычек заземления. Внутренние устройства заземления корпуса электрооборудования, экранных оболочек и экранов жил должны быть размещены также с учетом допустимых расстояний между электрическими контактами.
1.2.11. Устройства заземления экранных оболочек должны быть расположены на корпусе электрооборудования вблизи мест ввода кабелей.
1.2.12. Устройства заземления должны устанавливаться на приливах, составляющих одно целое с корпусом электрооборудования, или на деталях, приваренных к корпусу электрооборудования. Установка устройств заземления на съемных деталях корпуса электрооборудования не допускается.
1.2.13. Устройства заземления должны иметь конструкцию, исключающую самоотвинчивание деталей или ослабление контакта. Контактная поверхность устройств заземления (кроме электрооборудования с корпусами из алюминия, титана или сплавов на их основе) должна иметь противокоррозионное покрытие с высокой электропроводностью.
1.2.14. Винты, болты, шпильки наружных и внутренних устройств заземления корпуса электрооборудования, экранных оболочек кабелей и экранов жил, кроме особо оговариваемых случаев, должны иметь следующий диаметр:
для подключения перемычек (проводников) с площадью сечения до 25 мм2 включительно - 6 мм;
для подключения перемычек (проводников) с площадью сечения от 35 мм2 и более - 10 мм;
для заземления экранов кабелей и жил у электрооборудования сигнализации, аппаратуры освещения измерительных преобразователей, электромагнитов, контактных манометров и т.д. - 4 мм;
для взрывозащищенного электрооборудования - в соответствии с требованиями специальной НТД.
2.1. Размещение электрооборудования, кабелей, КОЛ должно учитывать технологию постройки судна в целом и обеспечивать выполнение электромонтажных работ, предусмотренных принятой технологией электромонтажа.
2.2. Размещение электрооборудования должно предусматривать доступ к элементам, которые являются объектом монтажных работ при постройке судна (места и детали крепления, узлы заземления, оптические и электрические соединители, уплотнительные конструкции и их элементы, контактные платы и монтажные объемы в целом).
2.1. 2.2 (Измененная редакция, Изм, N 1).
2.3. Размещение электрооборудования и кабелей должно учитывать необходимость демонтажа отдельных электротехнических устройств и оборудования других специализаций (механизмов, трубопроводов, устройств и др.) в период постройки судна. Демонтаж электрооборудования должен быть предусмотрен без демонтажа кабельных трасс.
2.4. Размещение электрооборудования должно обеспечивать:
свободное сочленение электрических соединителей;
свободное открывание и закрывание крышек, дверей и других элементов электрооборудования, связанных с доступом к объекту электромонтажных работ;
подвод и укладку кабелей, жил, КОЛ, отводов КОЛ с соблюдением допустимых радиусов изгиба, установленных НТД и технологической документацией на кабель и КОЛ.
(Измененная редакция, Изм. N 1).
2.5. Не допускается размещение электрооборудования под люками, шахтами, арматурой и соединительными устройствами водяных, паровых, масляных, топливных и гидравлических систем, а также в местах, подверженных разрушительному действию неблагоприятных факторов (температуры, масел, газов, морской воды, горячего пара и т.п.). Размещение электрооборудования в таких условиях может быть допущено как исключение, при этом должна быть обеспечена защита его и подводимых кабелей.
2.6. Расстояние от арматуры и соединений трубопроводов (с холодной или горячей средой) до кромок электрооборудования и трасс кабелей устанавливается по НТД.
Арматура и соединительные устройства водяных, паровых, масляных, топливных и гидравлических систем не должны располагаться над электрооборудованием.
2.7. Расстояние от ближайших к трубопроводу выступающих частей электрооборудования (генераторов, обратимых преобразователей, щитов управления, главных распределительных щитов, щитов питания с берега и др.) до поверхности изоляции трубопроводов должно быть, мм, не менее:
150 - до трубопроводов свежего пара;
130 - до трубопроводов выхлопа дизелей;
100 - до трубопроводов отработанного пара; 10 - до трубопроводов с холодной средой (гидравлики, топлива, пресной воды и др.).
2.8. Не допускается прокладка трубопроводов всех систем и устройств в специальных электротехнических помещениях (спецтехники, главных и распределительных щитов, аппаратных, агрегатных и т.п.), за исключением воздухо- и трубопроводов, обслуживающих электрооборудование или обеспечивающих необходимые условия в этих помещениях.
2.9. Патрубки вентиляторов, подающих воздух непосредственно из атмосферы, не должны быть направлены в сторону электрооборудования.
2.10. Не допускается вывод патрубков вытяжной вентиляции трюмов, спускных цистерн и цистерн продувания в местах размещения электрооборудования.
2.11. Размещаемое электрооборудование по конструктивному исполнению защитных оболочек должно соответствовать категории помещения, установленной в НТД.
2.12. Приборы внутрисудовой связи, размещаемые на открытых местах, должны устанавливаться в водозащищенных ящиках с дверцами.
2.13. Выключатели освещения (кроме выключателей местного освещения) должны группироваться около входа в помещение.
2.14. Размещение генераторных, главных и аварийных распределительных щитов, щитов управления гребными электродвигателями вблизи и под трубопроводами, находящимися под давлением, не допускается. Расстояние до таких трубопроводов должно быть не менее 500 мм.
2.15. Для обеспечения выполнения монтажа и обслуживания главных распределительных щитов с передней и задней стороны должны предусматриваться проходы шириной не менее 600 мм. Для распределительных щитов прислонного типа проход с его задней стороны не регламентируется.
2.16. Установка и размещение электрооборудования должны обеспечивать возможность профилактического осмотра и ремонта электрооборудования и выдвижных блоков, возможность открытия боковых дверей, предохранение от ударов при качании на амортизаторах.
2.17. При проектировании должны использоваться кабели, допущенные к применению на судах действующей НТД.
2.18. При разработке проектной технической документации (чертежей размещения электрооборудования и прокладки кабелей) для обеспечения модернизационных работ должны быть предусмотрены на переборках, бортах и палубах судна свободные места для размещения дополнительных трасс магистральных кабелей, соединительных устройств кабельных трасс и кабельных коробок из расчета 15% от площадей, занятых на судне для этих целей.
2.19. При формировании кабельных трасс совместная прокладка кабелей различных марок должна производиться в соответствии с действующей нормативно-технической и технологической документацией на электромонтаж.
2.19а. При проектировании на судне волоконно-оптических систем передач (ВОСП) в их состав должны входить КОЛ, как самостоятельные изделия. КОЛ должны поставляться на судно с актом их стендовых испытаний. Оптические соединители КОЛ на период транспортировки и монтажа должны быть защищены специальными устройствами. Технические условия на КОЛ должны быть согласованы с базовым предприятием по электромонтажу.
(Введен дополнительно, Изм. N 1).
2.20. При проектировании судов сращивание кабелей может быть допущено при согласовании с заказчиком судна (для соответствующих судов - с Регистром СССР или Речным Регистром РСФСР) и базовым предприятием по электромонтажу.
2.21. Кабельные трассы должны размещаться в сухих помещениях, в специальных кабельных коридорах, каналах и желобах, в условиях, обеспечивающих эксплуатацию, допускаемую НТД на кабель. Кабели размещают с учетом возможностей их монтажа, доступа для осмотра и наблюдения при эксплуатации. Трассы кабелей размещают на бортах, переборках, палубах, настилах и подволоке. При размещении их на настилах и палубах должна быть предусмотрена защита трасс от повреждений, загрязнений, засорений, попаданий масла и т.п.
Размещение кабельных трасс схем дополнительных устройств (ДУ) выполняется в соответствии с НТД, утвержденными в установленном порядке.
2.22. В помещениях и их отдельных частях, где возможно воздействие на кабельные трассы повышенных температур, топлива, масел, агрессивных сред, а также в особо сырых помещениях должны размещаться только отводы от кабельных трасс к электрооборудованию, расположенному в этих помещениях. Прокладка магистральных трасс в этих помещениях допускается в отдельных случаях при условии обеспечения защиты кабелей от указанных воздействий.
2.23. Кабели и кабельные трассы при размещении их вблизи горячих трубопроводов, паровой арматуры, источников тепловыделения, переборок с воспламеняющимися и взрывоопасными жидкостями или веществами должны располагаться с учетом минимально допустимых расстояний размещения электрооборудования в соответствии с требованиями п. 2.7, а также оговоренными в НТД и технологической документации на электромонтаж и судовой монтаж.
2.24. Отдельными трассами должны прокладываться кабели:
от источников электроэнергии к главным распределительным щитам;
от источников электроэнергии к щитам управления гребными электродвигателями и от них к гребным электродвигателям;
спецсистем, если это предусмотрено НТД.
Требование о расположении отдельных трасс относительно трасс остальных кабелей оговаривается в технической документации системы и указывается в проектной технической документации.
Для малых судов кабельную трассу от источника электроэнергии к главным распределительным щитам допускается прокладывать совместно с другими трассами.
2.25. Не допускается размещать трассы кабелей на съемных листах и в местах расположения технологических вырезов (если возможно их вскрытие в период постройки или ремонта), за исключением кабелей, подходящих к электрооборудованию, расположенному в этих местах.
2.26. Не допускается размещать кабели под настилом энергетических, машинных и котельных помещений. Прокладка кабелей в этих местах допускается как исключение, при этом она должна выполняться в трубах, кабельных каналах, желобах.
2.27. При скрытой прокладке кабелей в помещениях с художественной отделкой, с зашивкой бортов, переборок и подволока должен быть предусмотрен доступ через съемные листы зашивки: к магистральному кабелю - по всей трассе, а к местному кабелю - в местах ввода в электрооборудование для возможности его подключения или замены. Соединительные ящики и коробки должны устанавливаться с внешней стороны этих помещений и не должны закрываться зашивкой. Допускается установка соединительных ящиков и коробок в открывающихся нишах.
Примечание. Требования настоящего пункта не распространяются на монтаж кабелей дополнительных устройств. Работы выполняются на НТД, утвержденной в установленном порядке.
2.28. При формировании и прокладке пучков кабелей кабельные трассы должны прокладываться с минимальным количеством пересечений. Пересечение допускается в местах отвода кабелей из пучка, у проходов через переборки, в местах разводки к электрооборудованию.
2.29. При проектировании судна для отдельных трасс кабелей (например, от генератора к гребному электродвигателю) должны быть предусмотрены, при необходимости, мероприятия, обеспечивающие снижение нагрева кабелей.
2.30. Прокладка кабелей в цистернах и танках танкеров с легким топливом не допускается.
Если по условиям принятого на судне (танкере) размещения не представляется возможным проложить кабели, минуя пространство топливных цистерн и танков танкеров (кроме оговоренных выше), допускается прокладку кабелей в этих местах выполнять способом труба в трубе в стальных бесшовных оцинкованных газонепроницаемых трубах или способом канал в канале в герметизированных каналах без заливки уплотнительной массой, или в надежно герметизированных стальных каналах (желобах) с заливкой уплотнительной массой. В соответствии с указанными требованиями осуществляется прокладка кабелей в помещениях приемки топлива, в коффердамах и выгородках, не оборудованных принудительной вентиляцией, и в помещениях смежных с танками танкеров.
Концы труб и каналов должны выступать в смежные помещения и надежно привариваться к переборкам. На концах труб и каналов должны быть установлены сальники или другие конструкции, обеспечивающие герметизацию уплотнения.
3.1. Электрические схемы соединений и подключений, предназначенные для выполнения работ на различных этапах электромонтажного производства, должны разрабатываться в соответствии с требованиями ГОСТ 2.701, ГОСТ 2.702 и настоящего стандарта.
3.2. Схемы соединений и подключений оптических кабелей и электрические схемы, кроме общетехнических сведений, должны содержать сведения, необходимые для выполнения электромонтажа, по вопросам:
места расположения электрооборудования на судне;
ввода кабелей в электрооборудование;
маркировки кабелей и их жил;
контактного оконцевания жил кабелей;
монтажа оптических и электрических соединителей;
заземления электрооборудования, металлических оболочек и экранных оплеток кабелей, экранирующих оплеток жил;
маркировки оптических и электрических соединителей с указанием их типов;
необходимости проведения гидравлических испытаний электрооборудования перед установкой на судне;
защиты кабелей и их жил внутри электрооборудования.
3.3. Система индексации кабелей на схемах, выпускаемых предприятием - разработчиком электрооборудования, не регламентируется. Перевод индексации кабелей, принятой разработчиками схем соединения и подключения оптических кабелей и электрических схем, на судовую индексацию (в соответствии с действующей НТД) выполняет предприятие, проектирующее судно.
3.2, 3.3. (Измененная редакция, Изм. N 1).
3.4. Сведения о кабелях, допускаемых для присоединения в данном электрооборудовании, на схемах (кроме общих схем) приводятся в виде указаний марок, площади сечений, жильности.
3.5. На схемах соединений и подключений сведения, перечисленные в п. 3.2, должны приводиться в виде ссылки на НТД или в виде конкретных указаний.
4.1. Необходимость или недопустимость заземления электрооборудования и кабелей должно определять предприятие, проектирующее судно, в соответствии с требованиями настоящего стандарта и действующей специальной НТД и оговаривать в проектной технической документации. Заземление электрооборудования, металлических оболочек (оплеток) и экранов жил кабелей, отличное от норм и требований настоящего стандарта, также должно быть оговорено в проектной технической документации.
4.2. Защитное и экранирующее заземления, кроме случаев, особо оговариваемых в проектной технической документации, должны совмещаться в одном заземляющем устройстве. При этом цепь заземления должна удовлетворять ограничительным требованиям всех видов заземления.
4.3. Не допускается совмещение защитного заземления с грозозащитным и (или) рабочим заземлением.
4.4. Защитному заземлению подлежит:
стационарное электрооборудование с металлическим корпусом, металлические конструкции для защиты подводимых к электрооборудованию кабелей (каналы, трубы, желоба, кожухи), наружные и внутренние металлические оболочки (оплетки) подводимых к электрооборудованию кабелей при рабочем постоянном напряжении более 50 В и переменном напряжении более 30 В;
Примечание. Защитное заземление металлических оплеток (оболочек), расположенных под наружными защитными оболочками кабелей, может не выполняться, если не требуется их экранирующее (помехозащитное) заземление и не оговорено иное требование.
стационарное, переносное и передвижное электрооборудование с металлическим корпусом, эксплуатируемое во взрывоопасных помещениях (в том числе электрооборудование взрывозащищенного и искробезопасного исполнений), наружные и внутренние металлические оболочки (оплетки) кабелей, подводимых к этому электрооборудованию, и конструкции защиты кабелей независимо от величины рабочего напряжения;
стационарное, переносное, передвижное электрооборудование с металлическим корпусом (в том числе тропического исполнения по ГОСТ 15150), эксплуатируемое на судах, плавающих в тропической зоне, в соответствии с требованиями ГОСТ 15151;
переносное, передвижное электрооборудование с металлическим корпусом (кроме электрооборудования, эксплуатируемого во взрывоопасных помещениях) при рабочем переменном напряжении более 12 В и постоянном напряжении более 24 В;
вторичные обмотки измерительных трансформаторов, вторичные обмотки трансформаторов для питания переносного освещения, инструмента, переносных пультов и аппаратов управления независимо от величины их рабочего напряжения (кроме нефтеналивных судов).
(Измененная редакция, Изм. N 1).
5.1. Прокладка и крепление кабелей
5.1.1. Прокладка и крепление кабелей на судне должны выполняться согласно указаниям проектно-технической документации, положениям настоящего стандарта, а также требованиям, правилам и нормам действующей нормативно-технической и технологической документации.
5.1.2. Электромонтаж кабелей следует производить с учетом соблюдения требований, регламентируемых НТД на кабель, и в условиях, обеспечивающих возможность выполнения работ электромонтажниками.
5.1.3. Прокладка и крепление кабелей должны производиться:
в кабельных подвесках;
на мостах, панелях, бонках, непосредственно по легким переборкам, зашивкам изоляции, набору корпуса с креплением скобами;
в каналах, желобах, трубах;
с помощью других способов или конструкций, обеспечивающих надежное крепление кабелей. Должны применяться стандартизованные конструкции и способы крепления кабелей. В отдельных случаях, по согласованию с базовым предприятием по электромонтажу, предприятие - разработчик судна может применить конструкции и способы крепления кабелей по месту.
5.1.4. Технология электромонтажа, применяемые монтажные изделия, конструкции и материалы должны удовлетворять требованиям, предъявляемым НТД на кабель.
5.1.5. При прокладке и креплении кабелей радиусы изгиба их не должны быть менее оговоренных НТД на кабели.
5.1.6. Резервные кабели должны быть закреплены. Концы этих кабелей герметизируются для защиты от проникновения влаги. На обоих концах должны быть бирки с указанием индекса, площади сечения, длины, жильности и марки.
5.1.7. Трассы кабелей подлежат окраске в соответствии со схемой общей окраски помещений. Необходимость специальной окраски должна быть оговорена в технической проектной документации.
5.1.8. Расстояние между кабельными подвесками в зависимости от их типоразмера, вида пучка и типов закрепляемых кабелей определяется НТД.
В стандартных кабельных подвесках допускается прокладывать пучки кабелей с площадью сечения не более 400 см2. Для пучков кабелей большей площади сечения должны применяться специальные крепления.
5.1.9. Скобами должны крепиться пучки кабелей с площадью сечения не более 150 см3. Расстояние между скобами устанавливается НТД в зависимости от типоразмера скоб, пучка кабелей и типов кабелей.
5.1.10. Односторонними скобами допускается крепить только один кабель и только на прямолинейных участках трассы. На поворотах трасс скобы должны иметь две точки крепления.
5.1.11. Прокладка и крепление кабелей в местах возможных деформаций и скользящих соединений корпуса судна должны быть выполнены с обеспечением защиты от этих воздействий.
5.1.12. Отверстия и вырезы в легких переборках и наборе корпуса, предназначенные для прохода кабелей, должны иметь защиту (обработку или обрамление) для предохранения кабелей от повреждений.
5.1.13. Расстояние от последней точки крепления кабелей наружным диаметром менее 30 мм до ввода их в электрооборудование должно быть не более 300 мм. Для кабелей наружным диаметром 30 мм и более это расстояние может быть увеличено до 600 мм. Для кабелей, подключаемых с помощью электрических соединителей, расстояние от последней точки крепления до электрооборудования должно обеспечивать свободное сочленение соединителей и не должно передавать изгибающих усилий на соединитель.
5.1.14. При вводе кабелей (кроме ввода снизу) в электрооборудование защищенного исполнения должна быть предусмотрена защита от стекания воды по кабелю в электрооборудование.
5.2. Прокладка кабелей в трубах, каналах, желобах
5.2.1. Трубы, каналы и желоба для прокладки кабелей должны устанавливаться таким образом, чтобы в них не могла попадать и скапливаться вода.
5.2.2. Торцы труб должны предусматривать защиту кабелей от повреждений (развальцовку, вставку втулок и т.п.).
5.2.3. Трубы должны быть закреплены на мостах или в кронштейнах не менее чем в двух точках. Расстояние между точками креплений в зависимости от диаметра труб должно быть от 1000 до 2000 мм и обеспечивать их надежное закрепление. Крепление труб не должно ухудшать виброакустических характеристик судна.
5.2.4. При прокладке кабелей в трубах длиной 10 м и более с наклоном 30° и более кабели должны быть закреплены. Для крепления кабелей должны быть предусмотрены люки с крышкой. Количество люков, места их установки, способы крепления кабелей в трубе должны быть оговорены в проектно-технической документации.
5.2.5. При выходе из трубы кабель должен быть закреплен. Расстояние от конца трубы до первой конструкции крепления не должно превышать расстояний между конструкциями крепления кабелей (скобами, подвесками). При выходе из вертикальной трубы пучка кабелей с площадью сечения более 100 см2 кабели должны быть закреплены в двух точках с расстоянием между ними не более 150 мм. Ввод кабелей в электрооборудование рассматривается как одна из точек крепления. Одиночные кабели в наклонных трубах, имеющих участки с разными углами изгибов, допускается крепить только на входе и выходе из трубы.
5.2.6. При необходимости должны быть предусмотрены компенсационные устройства для защиты труб с проложенными в них кабелями от повреждений, вызываемых деформацией корпуса судна.
5.2.7. Кабели, прокладываемые в каналах и желобах, должны быть закреплены не менее чем в двух точках. Расстояние между точками крепления устанавливается по НТД.
5.2.8. Внутренняя и наружная поверхность труб, желобов и каналов должна быть гладкой и защищенной от коррозии.
5.2.9. Трубы, применяемые для монтажа кабелей во взрывоопасных помещениях, должны проверяться на газоводонепроницаемость дважды - без кабеля и после прокладки кабеля. Способ проверки оговаривается в проектной технической документации.
5.3. Подвод кабелей к электрооборудованию
5.3.1 Подвод кабелей к электрооборудованию, установленному на амортизаторах, должен исключать ограничение работы амортизаторов и нагрузку на кабель (из-за максимального хода амортизатора).
5.3.2. При подходе в электрооборудованию осевое скручивание кабелей, подключаемых с помощью электрических соединителей, должно быть не более чем на 180° на участке от первой точки крепления кабеля до его конца с электрическим соединителем.
5.4. Ввод кабелей в электрооборудование
5.4.1 В электрооборудовании с вводом кабелей через общий вырез перекрещивание кабелей в месте ввода и внутри электрооборудования не допускается. Раскладка кабелей должна быть выполнена при подводе к электрооборудованию.
5.4.2 В зависимости от исполнения электрооборудования и типа подключаемых кабелей должно быть выдержано расстояние от стенки электрооборудования до среза наружной оболочки кабелей в соответствии с требованиями НТД.
5.4.3 При вводе кабелей в электрооборудование длина прямого участка кабеля должна быть не менее 50 мм от начала ввода.
5.5. Уплотнение кабелей при вводе в электрооборудование, проходе через переборки и палубы
5.5.1 Проход кабелей через герметичные и непроницаемые корпусные конструкции (палубы, переборки, основные и легкие корпуса судна) должен осуществляться в специальных уплотнительных конструкциях, рассчитанных на такое же давление, что и корпусные конструкции.
5.5.2 Ввод кабелей в герметичное и водозащищенное электрооборудование должен производиться через уплотнительные конструкции, удовлетворяющие соответствующим требованиям данного электрооборудования.
5.5.3 Для уплотнения прохода кабелей должны использоваться индивидуальные или групповые уплотнительные конструкции.
Уплотнение кабелей должно производиться соответствующими герметизирующими адгезионными материалами, предусмотренными для данных уплотнительных конструкций (эпоксидные компаунды, герметики и т.п.).
5.5.4. Выбор типов уплотнительных конструкций должен производиться на основании их технических характеристик, указанных в НТД, а также технических требований, предъявляемых к корпусным конструкциям или электрооборудованию, на которых эти уплотнительные конструкции устанавливаются.
5.5.5. Размещение уплотнительных конструкций должно обеспечивать:
свободный доступ для выполнения уплотнения;
возможность прямолинейной прокладки кабельных трасс и кабелей на длину, необходимую для отвода по кабелю или трассе кабелей, деталей уплотнительных конструкций (фланцев, шайб, нажимных плит, планок и др.) при выполнении уплотнения.
5.5.6. Качество уплотнения мест прохода через герметичные и непроницаемые корпусные конструкции должно проверяться одновременно с проверкой помещений судна на непроницаемость и герметичность.
6.1. Установка электрооборудования
6.1.1. Установка электрооборудования на судне должна производиться в соответствии с технической проектной документацией и обеспечивать безопасность и удобство электромонтажа и обслуживания, максимальную защищенность от механических повреждений, тепловых воздействий смежного оборудования, воды, масел и других неблагоприятных факторов.
6.1.2. Элементы конструкций крепления электрооборудования должны быть достаточно жесткими и обеспечивать неизменность взаиморасположения точек крепления электрооборудования в процессе эксплуатации. Электрооборудование должно крепиться к корпусным конструкциям, имеющим достаточную прочность и жесткость при всех условиях эксплуатации.
6.1.3. Для амортизированного электрооборудования зазор между ним и другим оборудованием, корпусными конструкциями, трубопроводом, трассой кабелей и т.п. должен быть не менее расстояний, установленных НТД.
6.1.4. Крепежные изделия для установки электрооборудования должны иметь надежное антикоррозионное покрытие.
6.1.5. Электрооборудование следует устанавливать с применением средств для предохранения крепежа от самоотвинчивания.
6.2. Электромонтаж электрооборудования
6.2.1. Длина рабочих и свободных (запасных) жил кабеля должна быть не более длины жилы, подключаемой к наиболее удаленному контакту электрооборудования, а для жил с площадью сечения 2, 5 мм2 и менее - с запасом на переоконцевание (не более 50 мм).
6.2.2. Контактное оконцевание жил кабелей, выбранное в соответствии с НТД, может быть выполнено одним из способов, указанных в таблице и приложении 2а.
|
Площадь сечения жил, мм2 |
Способ оконцевания |
Применяемость |
|
От 0, 35 до 300, 00 включ. " 1, 00 " 300, 00 " От 0, 35 до 70, 00 включ. и 400 От 1, 00 до 1, 50 включ. " 1, 00 " 2, 50 " " 1, 00 " 300, 00 " |
Опрессовка наконечника Опрессовка гильз Пайка наконечника Кольцо с полудой Электросварка наконечника Штыри с лужением жилы |
Для всех схем и систем |
|
От 1, 0 до 2, 5 включ. |
Обжатие кольцевого наконечника |
Для сетей освещения, сигнализации, санитарно-бытового оборудования и звонковой сигнализации |
|
1, 0 (однопроволочная жила) |
Электросварка углового наконечника. Пайка наконечника. Кольцо с полудой |
Для схем телефонии, дозиметрии и т.п. |
|
1, 5 (однопроволочная жила) |
Пайка наконечника. Кольцо с полудой |
В продольногерметизированных кабелях |
|
От 1, 0 до 2, 5 включ. (пучки жил) |
Пайка наконечника |
Для схем дополнительного устройства (соединительные коробки) |
(Измененная редакция, Изм. N 2).
6.2.3. Для защиты жил кабелей от механических повреждений, воздействий агрессивных сред (масел, щелочей и др.), прямого воздействия света, предохранения от проникновения влаги внутрь кабеля в соответствии с правилами действующей НТД должно быть применено защитное или защитно-уплотнительное оконцевание, необходимость выполнения которого оговаривается проектной технической документацией на электрооборудование.
6.2.4. В электрооборудовании, имеющем источник тепловыделения, который создает температуру, превышающую длительно допустимую для изоляций жил кабелей в соответствии с действующей НТД, должно быть выполнено теплозащитное оконцевание, необходимость выполнения которого оговаривается в проектной технической документации на электрооборудование.
6.2.5. Теплозащитное оконцевание не следует производить в арматуре аварийного и переносного освещения, световой сигнализации и другой осветительной арматуре с кратковременным режимом работы, а также в светильниках с лампой мощностью 40 Вт и менее.
6.2.6. Для обеспечения испытаний газоплотности помещений судна на негерметизированных магистральных кабелях (за исключением вводимых в герметичное электрооборудование) должна быть выполнена местная герметизация, необходимость которой оговаривается в проектной технической документации.
6.2.7. Жилы кабелей, замаркированные и оконцованные, должны быть уложены вдоль стенок и между контактными платами внутри электрооборудования и закреплены. Участки жгутов жил между точками закрепления должны быть увязаны.
6.2.8. Наконечник каждой свободной жилы должен быть изолирован. Свободные жилы каждого кабеля следует собрать в жгут, увязать, уложить у места ввода кабеля и закрепить.
6.2.9. К одному контакту подключают одну жилу (наконечник). Допускается подключать к одному контакту два наконечника. Для кабелей схем дополнительных устройств (ДУ) (при подключении жил кабелей в коробках ДУ) допускается подключать к одному контакту более двух жил (наконечников).
6.2.10. Не допускается пайка в электрических соединителях жил, частей жил или нескольких жил, площадь сечения которых превышает номинальное значение для гнезда соединителя. В отдельных случаях по согласованию с базовым предприятием по электромонтажу для пайки допускается использовать два соседних гнезда соединителя.
7.1. Маркировка электрооборудования
7.1.1. Электрооборудование, которое устанавливается на судне, должно иметь маркировку в соответствии с правилами НТД.
7.1.2. Должна применяться единая система маркировки. Маркировочные знаки (обозначения) должны наноситься на таблички (бирки), которые закрепляются на электрооборудовании.
7.1.3. Маркировочные обозначения на табличках (бирках) гравируют или наносят способом, обеспечивающим четкость маркировки на весь период постройки и эксплуатации судна. Маркировочные таблички должны быть стандартизованы.
7.1.4. Маркировочные обозначения должны располагаться на электрооборудовании так, чтобы они были хорошо видны и легко прочитывались как до выполнения электромонтажа, так и в период эксплуатации. Место установки маркировочной таблички должно быть закоординировано.
7.1.5. Маркирование электрооборудования должно выполняться в соответствии с ведомостью маркировки, разрабатываемой предприятием, проектирующим судно.
7.2. Маркировка кабелей
7.2.1. Все кабели, подлежащие электромонтажу на судне, должны быть замаркированы в проектной технической документации. Проектная маркировка кабелей производится путем присвоения каждому кабелю буквенно-цифрового индекса. Система маркировки должна быть единой, устанавливаемой действующей НТД.
7.2.2. Штатная маркировка на судне должна выполняться только на магистральных кабелях и кабелях дополнительных устройств.
7.2.3. Закрепление бирок со штатной маркировкой или нанесение индексов штатной маркировки другими способами должно выполняться на наружной оболочке кабеля, в местах, удобных для ее прочтения, вблизи ввода кабелей в электрооборудование, при выходе (входе) из уплотнительных устройств и т.п.
7.2.4. Способ маркирования должен обеспечивать сохранность маркировки на весь период эксплуатации кабелей.
8.1. Маркирование жил кабелей должно выполняться в соответствии с действующей нормативно-технической и проектной технической документацией.
8.2. Для маркирования жил должны применяться стандартизованные изделия и материалы. Маркирование жил кабелей следует выполнять:
бирками-трубками;
бирками из фибры;
липкой маркировочной лентой;
другими средствами и способами, которые обеспечивают качество маркировки, отвечающее требованиям настоящего стандарта и действующей нормативно-технической и технологической документации.
8.3. Знаки маркировки должны быть ровными, четкими и контрастными.
8.4. Маркировка должна быть устойчива в течение всего срока эксплуатации кабеля. Маркировка не должна стираться или смываться в условиях эксплуатации.
8.5. Знаки маркировки жил кабелей должны располагаться таким образом, чтобы они были хорошо видны и легко прочитывались.
9.1. Электромонтаж заземления электрооборудования и кабелей выполняют согласно указаниям в проектной технической документации в соответствии с правилами и нормами настоящего стандарта, действующей нормативно-технической и технологической документации.
9.2. Заземление электрооборудования выполняют с помощью перемычки (проводника) заземления и (или) жилы заземления питающего кабеля. Мелкое электрооборудование и установочную арматуру (соединительные коробки, выключатели, розетки, аппаратуру освещения, сигнализации, измерительные преобразователи и др.), не снабженные устройствами заземления и устанавливаемые в местах, защищенных от попадания морской воды, допускается заземлять непосредственным контактом (не менее чем в двух местах) между элементами корпуса электрооборудования и надежно заземленными деталями корпуса судна.
9.3. С помощью жилы заземления питающего (подводимого) кабеля заземляют переносное, передвижное, погружное электрооборудование, а также, в зависимости от конкретных условий эксплуатации, следующее электрооборудование:
арматуру освещения, сигнализации, в том числе при установке ее на электронепроводящую обшивку или переборку;
измерительные преобразователи, сигнализаторы, электромагниты и т.п., устанавливаемые на различного рода устройствах и в труднодоступных местах.
9.4. Заземление электрооборудования осуществляют: на судах с металлическим корпусом - на корпус судна, на судах с неметаллическим корпусом - на специально проложенную магистраль заземления.
9.5. Использовать крепежные болты электрооборудования в качестве устройств заземления корпуса электрооборудования не допускается.
9.6. Перемычки (проводники) заземления и жилы заземления не должны содержать коммутационной аппаратуры (выключателей, разъединителей и т.п.), т.е. должны быть неразмыкаемыми.
9.7. Если заземление корпуса электрооборудования выполняется двумя перемычками (проводниками) заземления, то каждая из них должна подключаться к разным устройствам заземления корпуса электрооборудования и разным деталям заземления на корпусе судна. Подключать обе перемычки к общим деталям или устройствам заземления не допускается.
9.8. При заземлении электрооборудования, металлических оболочек кабелей и экранов жил к одному наружному или внутреннему устройству заземления подключают не более четырех перемычек (проводников) заземления корпуса, перемычек заземления экранов жил или жил заземления. Для взрывозащищенного электрооборудования количество перемычек заземления, допускаемых для подключения к одному устройству заземления, регламентируется специальной НТД по взрывозащищенному электрооборудованию.
Допускается подключать:
к внутреннему устройству для заземления металлических оболочек кабеля - жилы заземления;
к внутреннему устройству заземления корпуса электрооборудования - перемычки заземления металлических оболочек кабелей или перемычки заземления экранов жил;
к наружному устройству заземления корпуса электрооборудования - перемычки заземления металлических оболочек кабелей;
к деталям заземления (бонкам, стойкам, планкам, шпилькам) - перемычки заземления металлических оболочек (оплеток) кабелей.
9.9. При заземлении жилой подводимого кабеля один конец ее подключают к внутреннему устройству заземления корпуса заземляемого электрооборудования, а противоположный - к внутреннему устройству заземления корпуса электрооборудования, в которое вводится кабель с жилой заземления.
9.10. К одной детали заземления (бонке, планке, стойке, шпильке) на корпусе судна подключают, кроме особо оговариваемых случаев, не более двух перемычек, во взрывоопасных помещениях - не более одной перемычки (проводника) заземления электрооборудования.
9.11. Выбор стандартных перемычек (проводников) заземления выполняют в соответствии с нормами и требованиями НТД. При совмещении защитного заземления с экранирующим длина и площадь сечения стандартных перемычек должны удовлетворять требованиям, установленным специальной НТД и оговоренным в проектной технической документации.
9.12. Заземление наружных металлических оболочек (оплеток) кабелей и экранов жил кабелей выполняют с помощью перемычек (проводников) заземления, токопроводящего покрытия (токопроводящих эмалей), а также других способов в соответствии с действующей НТД и технологической документацией, обеспечивающих необходимое качество заземления.
9.13. Наружные металлические оболочки кабелей, применяемые для защиты от механических повреждений, должны иметь заземление на обоих концах кабеля. Расстояние от места заземления до электрооборудования не регламентируется.
9.14. Металлические оболочки (оплетки) кабелей и экраны жил, применяемые для экранирования, должны быть заземлены в местах ввода в электрооборудование или в электрических соединителях, кроме случаев, оговариваемых особо в проектной технической документации, согласно требованиям специальной НТД.
9.15. Узлы заземления на электрооборудовании, кроме расположенных внутри электрооборудования, а также на деталях заземления после закрепления перемычек (завершения сборки узлов) должны быть защищены от воздействий влаги способом, указанным в нормативно-технической и технологической документации.
9.16. При заземлении электрооборудования перемычкой (проводником) для защитного заземления - не более 0, 1 Ом, а для экранирующего заземления - не более 0, 02 Ом должны быть сопротивления следующих заземляющих цепей:
устройство заземления корпуса электрооборудования - перемычка заземления - деталь заземления (бонка, планка, стойка, шпилька) на корпусе судна;
металлическая оболочка (оплетка) кабеля или экран жилы - перемычка заземления - устройство заземления корпуса электрооборудования;
металлическая оболочка (оплетка) кабеля - перемычка заземления - деталь заземления на корпусе судна;
корпус электрооборудования - корпус судна.
9.17. При заземлении электрооборудования жилой заземления подводимого кабеля сопротивление заземляющей цепи (устройство заземления корпуса электрооборудования - жила заземления - устройство заземления корпуса электрооборудования - деталь заземления на корпусе судна) должно быть:
не более 0, 02 Ом - для экранирующего заземления;
не более 0, 4 Ом - для защитного заземления.
9.18. Металлическая конструкция для защиты кабелей (канал, труба, желоб, кожух) должна иметь не менее одного заземления. Конструкция, состоящая из нескольких секций, должна иметь не менее двух заземлений. При этом отдельные секции должны быть электрически соединены между собой (должна быть обеспечена непрерывность электрической цепи). Сопротивление заземляющей цепи для защитного заземления (конструкция защиты кабеля - корпус судна) должно быть не более 0, 1 Ом.
10.1. Электромонтаж на судне должен выполняться на отдельном этапе (отдельных этапах) постройки судна в соответствии с принятой технологией постройки. Электромонтажные работы должны производиться после завершения контроля готовности судна или отдельных его районов в соответствии с технологической разбивкой судна к выполнению электромонтажа.
10.2. До начала этапа электромонтажа на судне должны быть выполнены следующие работы:
установлены леса, подмостки, ограждения во всех помещениях (отдельных районах) судна для обеспечения нормальных и безопасных условий работ;
выполнен монтаж временных сетей освещения, питания электроинструмента приточной и вытяжной вентиляции и др.;
произведена разметка, изготовлены и установлены все фундаменты и конструкции установки и крепления электрооборудования и кабелей, изготовлены и установлены конструкции для прохода, уплотнения и защиты кабелей (кабельные коробки, стаканы, сальники, желоба, трубы и др.);
выполнены все теплоизоляционные работы, грунтовка и установка заполнителей, зашивок во всех местах установки электрооборудования и размещения кабельных трасс;
установлены в помещениях судна монтажные блок-модули электрооборудования или макет-шаблоны, установлено электрооборудование и судовое оборудование.
10.3. Контроль готовности судна в целом или отдельного района к выполнению электромонтажа завершается составлением акта по форме, приведенной в приложении 2.
11.1 Организация контроля
11.1.1. Контроль выполнения требований настоящего стандарта следует осуществлять на всех стадиях разработки и изготовления электрооборудования, проектирования судна и электромонтажа электрооборудования и кабелей, а именно:
при разработке технических требований и технических заданий на проектирование и изготовление электрооборудования или электрических систем;
при выпуске документации на электрооборудование (электрическую систему);
при приемке изготовленного электрооборудования (электрической системы);
при выпуске проектной технической документации на электромонтаж;
при подготовке судна (отдельного его района) к выполнению электромонтажа;
при приемке электромонтажных работ;
при инспекционном контроле.
11.2. Объем контроля
11.2.1 При разработке технических требований и технических заданий на проектирование электрооборудования (электротехнического устройства) или электрической системы должно быть обеспечено соблюдение требований разд. 1, 3, 4, 6 - 8.
11.2.2. При проектировании электрооборудования или электрической системы и выпуске рабочей документации должно быть обеспечено соблюдение требований разд. 1, 3, 4, 6 - 8.
11.2.3. При изготовлении электрооборудования или электрической системы, их поставке на судно и выполнении на судне электромонтажа технический контроль должен осуществляться в соответствии с принятым планом контроля (сплошного, статистического, пооперационного и т.д.), составляемым согласно действующей НТД, а также исходя из условий обеспечения необходимого качества и эффективности производства.
11.2.4. При проектировании судна (разработке и выпуске проектной технической документации, используемой для выполнения электромонтажа) должен обеспечиваться технический контроль соблюдения требований разд. 2 - 9.
11.2.5. При подготовке судна (отдельного его района) к выполнению электромонтажа в соответствии с принятой технологией постройки и электромонтажа судна должен осуществляться технический контроль соблюдения требований разд. 2 - 7, 9 и 10.
11.2.6. При инспекционных проверках объем контроля определяется при организации инспекции и включает:
проверку соответствия технических показателей проектируемой и выпускаемой продукции требованиям, правилам и нормам настоящего стандарта и НТД;
контроль состояния технической документации и соблюдения технологии производства;
анализ и обобщение работ по контролю, разработку предложений по улучшению работ.
__________________
* Здесь и далее под определением "суда" понимаются: корабли, суда и плавсредства всех классов, типов и значений.
Приложение 1
Обязательное
1.1. Для присоединения жил кабелей внешних связей в электрооборудовании, устанавливаемом на судах (кроме водозащищенного, герметичного и взрывозащищенного), выбор электрических соединителей типов ШР, СШР, Р, 2РМ, 2РМД, 2РМДТ, 2РТТ, РПН и 2РМ осуществляют в соответствии с НТД, утвержденной в установленном порядке.
1.2. Применение других типов электрических соединителей допускается только по согласованию с базовым предприятием по электромонтажу.
Типы электрических соединителей для водозащищенного, герметичного и взрывозащищенного электрооборудования выбирает разработчик электрооборудования.
1.3. Сочетание диаметров контактов электрических соединителей и площадь сечений жил судовых кабелей выбирают по табл. 1 и 2.
Таблица 1
|
Диаметр контактов, мм |
Площадь сечения жил, мм2 |
|
1, 0 1, 5 2, 0 2, 5 |
0, 35; 0, 50 0, 75; 1, 00; 1, 50 0, 75; 1, 00; 1, 50 2, 50; 4, 00 |
Таблица 2
|
Диаметр контактов, мм |
Максимальная площадь сечения токопроводящих жил, мм2 |
Площадь сечения подсоединяемых жил, мм2 |
Примечание |
|
3, 5 |
16 |
6 10 16 |
Пайке в электрические соединители подлежат кабели с жилами по ГОСТ 22483 классов 3, 4, 5 (для площадей сечений от 6 до 95 мм2) |
|
5, 5 |
60 |
25 35 50 | |
|
9, 0 |
95 |
70 95 |
2.1. В качестве контактных зажимов и блоков контактных зажимов принимают рекомендуемые НТД, действующей в судостроении, конструкции типов ПК, КПР, ЗОС, ЗПР, ПК, ЗКП, ЗКШ, ЗКШП, КЛ, ПС, ПСТ.
2.2. Допустимые монтажные сочетания контактных зажимов и жил кабелей в зависимости от их сечения указаны в табл. 3.
Таблица 3
|
Диаметр шпильки (винта), мм |
Площадь сечения жил кабелей, мм2 |
|
М3 |
0, 35 - 1, 50 |
|
М4 |
0, 75 - 2, 50 |
2.3. Минимальные расстояния от стенок изделия и от мест ввода до мест подключения жил к контактным зажимам (клеммам, платам и т.д.) должны быть не менее допустимого радиуса изгиба жил, равного трем диаметрам жилы по изоляции.
2.4. Размещение блоков контактных зажимов на монтажном поле электрооборудования производят в соответствии с табл. 4.
Таблица 4
|
Вид кабеля |
Площадь сечения жил, мм2 |
Число контактных зажимов в монтажных зонах, шт. |
Расстояние между платами, мм |
Расстояние между платами и стенкой изделия, не имеющей вводов, мм |
Расстояние между платами и стенкой изделия, не имеющей вводы, мм |
Высота установки, мм не менее | |
|
между платами |
между платами и стенкой изделия | ||||||
|
С резиновой изоляцией |
1, 00 1, 50 |
20 40 60 80 100 |
10 20 30 40 50 |
25 25 30 35 35 |
20 20 25 25 30 |
35 40 50 60 70 |
10 20 30 30 40 |
|
С пластмассовой изоляцией |
0, 35 0, 50 |
20 40 60 80 100 |
10 20 30 40 50 |
25 25 25 25 30 |
20 20 20 20 25 |
35 40 40 45 50 |
5 5 10 15 15 |
|
То же |
0, 75 1, 00 |
20 40 60 80 100 |
10 20 30 40 50 |
25 25 25 25 30 |
20 20 20 25 25 |
35 40 45 50 55 |
5 10 15 15 20 |
|
С пластмассовой изоляцией и экранированными жилами |
0, 35 0, 50 |
20 40 60 80 100 |
10 20 30 40 50 |
25 25 30 30 35 |
20 20 25 25 30 |
40 45 50 55 65 |
5 10 15 20 25 |
|
То же |
0, 75 1, 00 |
20 40 60 80 100 |
10 20 30 40 50 |
25 25 30 30 35 |
20 20 25 25 30 |
40 45 50 55 65 |
5 15 20 25 30 |
|
С резиновой и пластмассовой изоляцией и экранированными жилами |
2, 50 |
20 40 60 100 |
10 20 30 50 |
30 30 35 40 |
25 25 30 35 |
40 45 55 75 |
10 20 30 40 |
Приложение 1. (Измененная редакция, Изм. N 1).
Приложение 2
Обязательное
ФОРМА АКТА
КОНТРОЛЯ ГОТОВНОСТИ СУДНА (ОТДЕЛЬНОГО ЕГО РАЙОНА) К ЭТАПУ ЭЛЕКТРОМОНТАЖА
АКТ
контроля готовности судна (отдельного его района) к этапу электромонтажа
"_____" ______________ 19 ____г.г. ______________________ N _____________
Настоящий акт составлен в том, что на судне (в отдельном его районе)
______________________________________ выполнены, проверены и приняты
1. Судостроительным заводом:
1.1. Установка всех конструкций для крепления электрооборудования
и кабелей.
1.2. Установка всех конструкций для прохода кабелей через палубы и
переборки.
1.3. Корпусные и изолировочные работы во всех местах установки
электрооборудования, прохождения трасс кабелей.
1.4. Установка лесов и ограждений, спецплощадок, а также монтаж
временных сетей питания электроосвещения, электроинструмента,
электронагревательных приборов, монтаж отопления и вентиляции,
обеспечивающих нормальные условия и безопасность работ.
1.5. Установка электрооборудования массой более 15 кг, а также
электрооборудования, имеющего механическую связь с другими системами
(измерительные преобразователи, указатели и т.п.), и аппаратуры
спецтехники, включая волноводы по перечню, согласованному с предприятием,
выполняющим электромонтаж.
1.6. Демонтаж оборудования, трубопроводов и устройств, мешающих
выполнению электромонтажа.
1.7. _______________________________________________________________
1.8. _______________________________________________________________
2. Предприятием, выполняющим электромонтаж:
2.1. Установка электрооборудования массой до 15 кг по перечню
оборудования, подлежащего установке до начала электромонтажа.
2.2. Установка по трассам прокладки кабелей технологической
оснастки.
2.3. Демонтаж легкоповреждаемых деталей с электрооборудования.
2.4. Маркировка мест прохода кабелей через - палубы и переборки.
2.5. _______________________________________________________________
2.6. _______________________________________________________________
судно ________________ (технологический район N __________ судна _______)
считается готовым с _______________________ к этапу электромонтажа.
(число, месяц, год)
Настоящий акт является основанием для предъявления заказчику
платежного документа N _____________
подпись
Главный строитель судна __________________ (фамилия, и.о.)
число, месяц, год
подпись
Начальник ОТК судостроительного завода _______________ (фамилия, и.о.)
число, месяц, год
Начальник ОТК предприятия, подпись
выполняющего электромонтаж ___________________ (фамилия, и.о.)
число, месяц, год
подпись
Ответственный сдатчик по электрочасти _________________ (фамилия, и.о.)
число, месяц, год
Приложение 2а
Рекомендуемое
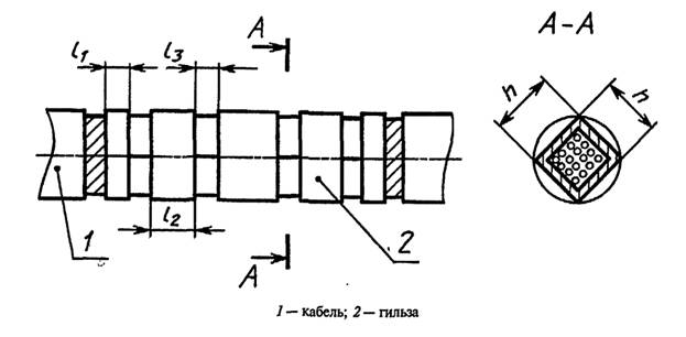
Рекомендуемые размеры опрессованных по форме "квадрат" соединений кабельных наконечников по ГОСТ 7386 приведены на черт. 1 и в табл. 1.
"Черт. 1"
Таблица 1
|
Размеры, мм | ||||||||
|
Типоразмер |
Маркировка |
Сечение жилы, мм2 |
Класс жилы по ГОСТ 22483 |
l1 |
l2 |
l3 |
h | |
|
Номин. |
Пред. откл. | |||||||
|
16-6-6 16-8-6 |
6-6 6-8 |
10 16 25 |
5; 6 2; 3 1 |
2 |
4 |
3 |
6, 4 |
-0, 1 |
|
25-6-7 25-8-7 |
7-6 7-8 |
16 25 35 |
4; 5; 6 2 1 |
4 |
6 |
7, 1 | ||
|
25-6-8 25-8-8 25-10-8 |
8-6 8-8 8-10 |
25 35 |
3; 4; 5; 6 2 |
7, 8 |
-0, 14 | |||
|
35-8-9 35-10-9 35-12-9 |
9-8 9-10 9-12 |
35 50 |
3; 4 1 |
5 |
8 |
8, 5 | ||
|
35-8-10 35-10-10 35-12-10 |
10-8 10-10 10-12 |
35 50 |
5; 6 2 |
9, 2 | ||||
|
50-8-11 50-10-11 50-12-11 |
11-8 11-10 11-12 |
50 70 |
3; 4 1; 2 |
9, 9 | ||||
|
50-8-12 50-10-12 50-12-12 |
12-8 12-10 12-12 |
50 |
5; 6 |
10, 6 | ||||
|
70-10-13 70-12-13 |
13-10 13-12 |
70 95 |
3; 4; 6 1 |
5 |
8 |
4 |
11, 3 |
-0, 14 |
|
95-10-15 95-12-15 |
15-10 15-12 |
70 95 120 |
5 2; 3; 4; 6 1; 2 |
10 |
5 |
13, 4 |
-0, 17 | |
|
95-10-16 95-12-16 |
16-10 16-12 |
95 150 |
5 1; 2 |
14, 1 | ||||
|
120-12-17 120-16-17 |
17-12 17-16 |
120 |
3; 4; 5 |
15, 6 | ||||
|
120-12-18 120-16-18 |
18-12 18-16 |
120 185 |
6 1; 2 |
17, 0 | ||||
|
150-12-19 150-16-19 |
19-12 19-16 |
150 185 |
3; 6 3 |
17, 7 | ||||
|
150-12-20 150-16-20 |
20-12 20-16 |
150 240 |
4; 5 1 |
18, 4 | ||||
|
185-12-21 185-16-21 185-20-21 |
21-12 21-16 21-20 |
185 240 |
4; 6 1; 2 |
19, 1 | ||||
|
185-16-23 185-20-23 |
23-16 23-20 |
185 300 |
5 1; 2 |
21, 2 | ||||
|
240-16-24 240-20-24 |
24-16 24-20 |
240 |
3; 4; 5; 6 |
22, 6 |
-0, 21 | |||
|
300-16-27 300-20-27 |
27-16 27-20 |
300 |
3; 4; 6 |
24, 0 | ||||
Рекомендуемые размеры опрессованных по форме "квадрат" соединений кабельных гильз по ГОСТ 23469.3 приведены на черт. 2 и в табл. 2.
"Черт. 2"
Таблица 2
Размеры, мм
|
Типоразмер |
Маркировка |
Сечение жилы, мм2 |
Класс жилы по ГОСТ 22483 |
l1 |
l2 |
l3 |
h | |
|
Номин. |
Пред. откл. | |||||||
|
16-6 |
6 |
10 16 25 |
5; 6 2; 3 1 |
2 |
4 |
3 |
6, 4 |
-0, 1 |
|
25-7 |
7 |
16 25 35 |
4; 5; 6 2 1 |
4 |
6 |
7, 1 | ||
|
25-8 |
8 |
25 35 |
3; 4; 5; 6 2 |
7, 8 |
-0, 14 | |||
|
35-9 |
9 |
35 50 |
3; 4 1 |
5 |
8 |
8, 5 | ||
|
35-10 |
10 |
35 50 |
5; 6 2 |
9, 2 | ||||
|
50-11 |
11 |
50 70 |
3; 4 1; 2 |
9, 9 | ||||
|
70-13 |
13 |
70 95 |
3; 4; 6 1 |
4 |
11, 3 | |||
|
95-15 |
15 |
70 95 120 |
5 2; 3; 4; 6 1; 2 |
10 |
5 |
13, 4 |
-0, 17 | |
|
95-16 |
16 |
95 150 |
5 1; 2 |
14, 1 | ||||
|
120-17 |
17 |
120 |
3; 4; 5 |
15, 6 | ||||
|
120-18 |
18 |
120 185 |
6 1; 2 |
17, 0 | ||||
|
150-19 |
19 |
150 185 |
3; 6 3 |
17, 7 | ||||
|
150-20 |
20 |
150 240 |
4; 5 1 |
18, 4 | ||||
|
185-21 |
21 |
185 240 |
4; 6 1; 2 |
19, 1 | ||||
|
185-23 |
23 |
185 300 |
5 1; 2 |
21, 2 | ||||
|
240-24 |
24 |
240 |
3; 4; 5; 6 |
22, 6 |
-0, 21 | |||
|
300-27 |
27 |
300 |
3;4;6 |
24, 0 | ||||
Приложение 2а. (Введено дополнительно, Изм. N 2).
Приложение 3
Справочное
|
Термин |
Пояснение |
|
1. Электромонтаж на судне |
Монтаж электрооборудования и кабелей на судне, предусматривающий: установку и крепление электрооборудования; прокладку, крепление, разделку, оконцевание, ввод, уплотнение и подключение кабелей; защитное и экранирующее заземление, заземление от помех радиоприему электрооборудования, металлических и экранных оболочек и экранов жил кабелей, а также контроль выполнения всех перечисленных работ |
|
2. Крепление кабелей на судне |
Фиксация кабелей на судне в неподвижном положении с помощью конструкций крепления (подвесок, скоб, кронштейнов, желобов и т.п.) |
|
3. Разделка кабелей |
Удаление с кабелей на необходимой длине внешних и внутренних защитных, изоляционных оболочек кабеля и изоляции токоведущих жил |
|
4. Электрический соединитель |
По ГОСТ 21962 |
|
5. Вывод электрооборудования электротехнического устройства |
По ГОСТ 18311 |
|
6. Контактный зажим |
Элемент электрической цепи, предназначенный для разъемного присоединения одного или нескольких проводников путем сжатия |
|
7. Блок контактных зажимов |
Система механически скрепленных между собой контактных зажимов |
|
8. Электрооборудование |
По ГОСТ 18311 |
|
9. Магистральные кабели |
Трассы кабелей (кабели), проходящие через одну (или более) водонепроницаемую переборку, палубу или прочный корпус судна |
|
10. Контактное оконцевание |
Обработка концов токоведущих жил кабелей одним из способов (опрессовкой наконечника, пайкой или сваркой наконечника, кольцом с полудой, под штырь и др.), обеспечивающих возможность их надежного подсоединения к контактам электрооборудования |
|
11. Теплозащитное оконцевание |
Защита изоляции жил кабеля с удаленными внешней и внутренней защитной и изоляционной оболочками от воздействия температур, превышающих установленные техническими условиями на кабель |
|
12. Защитное оконцевание |
Защита изоляции жил кабеля с удаленными внешней и внутренней защитной и изоляционной оболочками от воздействий света, агрессивных сред (масел, кислот, щелочей и т.п.), механических повреждений |
|
13. Уплотнительное оконцевание кабелей |
Заделка торцов негерметизированных кабелей с резиновой изоляцией в месте разделки кабеля для защиты от воздействия влаги воздуха в полостях, образующихся между оболочкой кабеля и изоляцией жил, а также между токопроводящей жилой и ее изоляцией |
|
14. Защитно-уплотнительное оконцевание |
Комплексная защита, предусматривающая одновременно уплотнительное оконцевание кабеля и защитное оконцевание жил |
|
15. Местная герметизация кабелей |
Заделка торцов негерметизированных кабелей, предусматривающая исключение проникновения воздуха по кабелю в помещение судна |
|
16. Сращивание кабелей |
Соединение кабелей с целью их восстановления (ремонта), удлинения или создания кабельных переходов, при котором образуется неразъемное, неотключаемое соединение с полным восстановлением проводимости и изоляции всех жил кабеля и всех изоляционных, защитных и экранных оболочек кабеля |
|
17. Проектная техническая документация |
Документация, разрабатываемая предприятием, проектирующим судно, и используемая для выполнения работ предприятием, осуществляющим электромонтаж на судне (чертежи размещения электрооборудования и прокладки кабелей, альбомы, ведомости, кабельные журналы, спецификации, схемы соединения и подключения, принципиальные схемы и т.п.) |
|
18. Действующая нормативно-техническая и технологическая документация на электромонтаж судов |
Государственные стандарты, отраслевые стандарты, типовые технологические инструкции и технологическая документация, предназначенная для проектирования и выполнения электромонтажа и утвержденная в установленном порядке |
|
19. Монтажный объем |
Объем, занимаемый внутри электрооборудования входными и выходными элементами, монтажными зонами и пространствами над ними, предназначенный для выполнения операций подключения жил кабельных связей |
|
20. Передвижное электрооборудование |
По ГОСТ 18311 |
|
21. Переносное электрооборудование |
По ГОСТ 18311 |
|
22. Погружное электрооборудование |
По ГОСТ 18311 |
|
23. Специальная НТД по взрывозащищенному электрооборудованию |
Специальные правила, нормы, требования по изготовлению и монтажу взрывозащищенного и рудничного электрооборудования, используемые при проектировании и электромонтаже на судне, утвержденные в установленном порядке |
|
24. Модуль внешних связей |
Составная часть электрооборудования, предназначенная для подключения кабелей внешних связей до установки отдельных составных частей электрооборудования |
|
25. Монтажный шаблон электрооборудования |
Изделие, имитирующее монтажные зоны и монтажные объемы электрооборудования или его части, а также узлы крепления, элементы ввода и подключения кабелей внешних связей, предназначенные для выполнения электромонтажных работ до установки электрооборудования |
|
26. Наружные устройства заземления корпуса электрооборудования |
Конструкции, расположенные снаружи корпуса электрооборудования, имеющие с ним надежный электрический контакт, предназначенные для подключения перемычек (проводников) заземления корпуса электрооборудования |
|
27. Внутренние устройства заземления корпуса электрооборудования |
Конструкции, расположенные внутри корпуса электрооборудования, имеющие с ним надежный электрический контакт и предназначенные для подключения жил заземления, с помощью которых заземляются корпуса электрооборудования |
|
28. Детали заземления на корпусе судна |
Стандартизованные металлические конструкции (бонки, стойки, планки, шпильки), устанавливаемые на корпусе судна приваркой и предназначенные для подключения перемычек (проводников) заземления электрооборудования и кабелей |
|
29. Заземление для снятия статического электричества |
Заземление для защиты от возможного взрывоопасного искрообразования при операциях с легковоспламеняющимися и электростатически активными жидкими и сыпучими материалами |
|
30. Защитное заземление |
По ГОСТ 12.1.009 |
|
31. Экранирующее заземление на судне |
Соединение экранных оболочек (оплеток) кабелей и жил с металлическим корпусом электрооборудования или корпусом судна, а также соединение металлических корпусов электрооборудования с корпусом судна для защиты от внешних электромагнитных полей или для устранения помех радиоприему |
|
32. Рабочее заземление |
Постоянное или временное заземление одной или нескольких точек электрической сети, обеспечивающее работу электротехнических устройств в нормальных или аварийных условиях |
|
33. Особо сырые судовые помещения |
К особо сырым помещениям на судне следует отнести: умывальники, туалетные, уборные, раздевальни, камбузы, бани, душевые, ванные, прачечные, посудомоечные, заготовительные, трюмы всех помещений, рефрижераторные, помещения рулевых машин и подруливающих устройств, открытые части судна |
|
34. Мелкое электрооборудование |
К мелкому, малогабаритному электрооборудованию следует отнести: установочную арматуру, присоединительные коробки, выключатели, розетки, аппаратуру освещения, сигнализации, различного рода измерительные преобразователи, устанавливаемые на оборудовании или отдельно, электромагниты, контактные манометры |
|
35. Оптический кабель |
По ГОСТ 26599 |
|
36. Кабельная оптическая линия |
Изделие, состоящее из оптического кабеля мерной длины, оконцованного с двух сторон оптическими соединителями. На оптическом кабеле, при необходимости, располагают элементы уплотнения их прохода через судовые корпусные конструкции. Кабельная оптическая линия может быть с отводами и без них |
|
37. Отвод кабельной оптической линии |
Оптическое волокно, выделенное из остальных оптических волокон того же оптического кабеля кабельной оптической линии, оконцованное оптическим соединителем, снабженное при необходимости, индивидуальной защитной оболочкой |
|
38. Электрический кабель |
По ГОСТ 15845 |
Приложение 3. (Измененная редакция, Изм. N 1).


