электронный сборник нормативных документов по строительству
Обновления
24.04.2026 23:27
электронный сборник нормативных документов по строительству

ГОСТ 24617-81 СРЕДСТВА ЗАЩИТНЫЕ ДЛЯ ДРЕВЕСИНЫ. МЕТОД ИСПЫТАНИЯ ОГНЕЗАЩИТНЫХ СВОЙСТВ НА МОДЕЛЯХ

Введен в действие постановлением Госстандарта СССР от 24 февраля 1981 г. N 971
Государственный стандарт Союза ССР ГОСТ 24617-81
"СРЕДСТВА ЗАЩИТНЫЕ ДЛЯ ДРЕВЕСИНЫ. МЕТОД ИСПЫТАНИЯ ОГНЕЗАЩИТНЫХ СВОЙСТВ НА МОДЕЛЯХ"

Protection agents for wood. Test method of inflamable properties on models

Срок действия установлен с 1 января 1982 г. до 1 января 1987 г.

Ограничение срока действия снято в 1991 г.

Настоящий стандарт распространяется на защитные средства для древесины и устанавливает метод испытания их огнезащитных свойств на модели "дощатая труба".

1. Сущность метода

Сущность метода состоит в определении потери массы и продолжительности горения модели "дощатая труба" при сжигании ее на открытой площадке.

2. Аппаратура и материалы

Весы с погрешностью взвешивания не более 5 г.

Секундомер по ГОСТ 5072-79.

Электровлагомер марки ЭВ-2К или ЭВ-2М.

Анемометр ручной крыльчатый марки АСО-3 типа Б по ГОСТ 6376-52.

Прибор для измерения температуры, влажности и давления воздуха марки БМ-2.

Подставка из стали прокатной угловой равнополочной, профиль N 2, по ГОСТ 8509-72, размером 250X250X100 мм.

Поддон из стали листовой по ГОСТ 19903-74 или ГОСТ 19904-74 толщиной 1 мм, размером 150X150X50 мм.

Лист из стали по ГОСТ 19903-74 или ГОСТ 19904-74, толщиной 1 мм, размером 700x1400 мм.

Шибер из стали листовой по ГОСТ 19903-74 или ГОСТ 19904-74 толщиной 1 мм (черт. 1).

Гвозди 70 мм.

Стружка древесная по ГОСТ 5244-79, влажностью не более 16%.

Бензин-растворитель для лакокрасочной промышленности по ГОСТ 3134-78 (уайт-спирит).

image001.jpg
3. Подготовка к испытанию

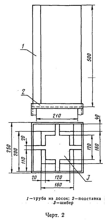
3.1. Испытание проводят на модели "дощатая труба", сбитой из четырех досок размером 40X200X500 мм с просветом 160X160 мм (черт. 2). Допускаемые отклонения размеров не должны превышать +-2 мм.

3.2. Доски для изготовления моделей подбирают из древесины одной породы так, чтобы соотношение легкопропитываемой и труднопропитываемой зон по ГОСТ 20022.2-80 в них было одинаковым. Для проведения сравнительных испытаний огнезащитных свойств защитных средств используют доски из древесины сосны с шириной заболони по одной пласти не менее 15 мм. Древесина не должна иметь трещин, превышающих по глубине 0, 5 толщины доски, засмолков, кармашков и сучков по ГОСТ 2140-81.

3.3. Влажность досок перед пропиткой или нанесением покрытия должна быть не более (18+-3)%. Влажность древесины определяют электровлагомером по ГОСТ 16588-79.

3.4. При испытании огнезащитных свойств покрытий доски сбивают в модели, после чего на них со всех сторон наносят покрытие. Модели выдерживают под навесом до полного высыхания покрытия. Влажность древесины перед сжиганием моделей не контролируют.

image002.jpg

3.5. При испытании огнезащитных свойств защитных средств доски, предназначенные для изготовления моделей, пропитывают растворами защитного средства в соответствии с нормативно-технической документацией.

Одновременно в тех условиях, используя вместо раствора защитного средства воду, проводят пропитку досок контрольной модели.

3.5.1. После пропитки досок растворами защитных средств их выдерживают не менее 14 сут в условиях, обеспечивающих достижение древесиной предпропиточной влажности. В холодное время года, при температуре ниже 5°С, доски выдерживают в условиях отапливаемого помещения; в теплое время года, при температуре более 5°С - под навесом.

Доски для контрольной модели сушат одновременно в тех же условиях, что и пропитанные.

Влажность древесины перед сжиганием определяют на досках, пропитанных водой, с помощью влагомера.

3.5.2. По достижении влажности (18+-3)% доски сбивают гвоздями в модели (черт. 3).

3.6. Перед сжиганием модели взвешивают с погрешностью не более 5 г.

3.7. Модели располагают на площадке для сжигания в один ряд, перпендикулярно направлению ветра, на равном не менее 1 м расстоянии друг от друга. Порядок расположения контрольных и пропитанных растворами защитных средств или обработанных покрытиями моделей не устанавливается.

image003.jpg

3.8. Каждую модель устанавливают на подставку. Под модель кладут поддон. Для сбора несгоревших остатков модель устанавливают с подставкой и поддоном на стальной лист.

3.9. В качестве источника зажигания для каждой модели используют импульс, состоящий из 300 г стружки и 200 г уайт-спирита. Стружку укладывают ровным слоем на поддон и смачивают уайт-спиритом.

3.10. Сверху на модель накладывают металлический шибер.

4. Проведение испытания

4.1. Зажигание импульсов всех моделей производят одновременно. Зажигание осуществляют операторы (1 оператор на 3 модели) с помощью факелов.

4.2. Время от укладки импульса в поддон до его зажигания не должно превышать 10 мин.

4.3. Сжигание моделей проводят на ровных открытых расчищенных площадках в сухую погоду при относительной влажности воздуха не более 85% и скорости ветра не более 1 м/с.

4.4. С помощью секундомера определяют продолжительность сопротивления модели возгоранию, продолжительность горения пламенем, тлением и горения до обрушивания модели.

4.5. По окончании горения модели ее оставляют на подставке до остывания не менее 60 мин.

4.6. Остывшую модель взвешивают с погрешностью не более 5 г.

4.7. Испытание каждого защитного средства проводят одновременно не менее чем на трех моделях, имеющих одинаковое заданное поглощение или удержание защитного средства.

В каждом опыте испытывают не менее двух контрольных моделей.

5. Обработка результатов

5.1. Потерю массы модели (m) в процентах вычисляют с точностью до 1% по формуле

             (m1 - m2) x 100
m = ───────────────,
                        m1

где m1 - масса модели до испытания, кг;

m2 - масса модели после испытания, кг.

За результат испытания принимают среднее арифметическое трех параллельных определений, допускаемое расхождение между которыми не должно превышать 3%.

5.2. Защитные средства, при пропитке (обработке) которыми потеря массы модели при сжигании составляет не более 15%, считаются обеспечивающими перевод древесины в группу трудносгораемых материалов и классифицируются с учетом поглощения (удержания) в соответствии с таблицей.

Категория эффективности защитного средства

Поглощение защитного средства, кг/м3, не более

Удержание защитного средства, г/м3, не более

I

70

600

II

85

800

III

100

1000

5.3. Для получения дополнительных данных по огнезащищающей способности защитного средства учитывают продолжительность сопротивления модели возгоранию, продолжительность горения пламенем, продолжительность горения тлением, продолжительность горения до обрушения модели.

5.4. Результаты испытаний заносят в протокол испытаний, приведенный в рекомендуемом приложении.

Приложение
Рекомендуемое

Протокол испытания огнезащитных свойств защитных средств на моделях

Температура воздуха, °С

Скорость ветра, м/с

Относительная влажность воздуха, %

Номер модели

Марка защитного средства или покрытия

Масса модели, кг

Масса покрытия, кг

Поглощение сухой соли защитного средства, кг/м3

Удержание сухой соли защитного средства, кг/м3

Масса модели, кг

Продолжительность, мин

до пропитки

после пропитки

сырого

сухого

до сжигания

после сжигания

потеря массы, %

сопротивление модели загоранию

горение пламенем

горение тлением

горение до обрушения модели

"___"______________ 19 г. Подпись оператора___________________

Яндекс.Метрика