ГОСТ 26140-84 АППАРАТЫ РЕНТГЕНОВСКИЕ МЕДИЦИНСКИЕ. ОБЩИЕ ТЕХНИЧЕСКИЕ УСЛОВИЯ
X-ray medical apparatus. General specifications
Срок действия - c 1 июля 1985 г.
Срок действия продлен до 1 января 1993 г.
Ограничение срока действия снято в 1992 г.
Настоящий стандарт распространяется на медицинские рентгеновские аппараты и комплексы (далее - аппараты) с анодным напряжением рентгеновской трубки от 10 до 400 кВ, предназначенные для рентгенодиагностики и рентгенотерапии, с питанием электрической энергией от источников переменного тока.
Стандарт не распространяется на импульсные аппараты с длительностью импульса менее 0, 1 мс, на вычислительные томографы, на аппараты с накопителями энергии и преобразованием частоты в главной цепи, а также на дентальные рентгеновские аппараты с анодным напряжением свыше 125 кВ, электрорентгенографические и перевозимые аппараты.
Пояснения терминов, использованных в настоящем стандарте, приведены в приложении 1.
(Измененная редакция, Изм. N 2).
1.1. Аппараты следует изготовлять в соответствии с требованиями настоящего стандарта, стандартов и технических условий на аппараты конкретного типа по рабочим чертежам, утвержденным в установленном порядке.
1.2. По конструктивному исполнению аппараты подразделяют на: стационарные; передвижные; разборные; переносные.
1.3. Требования к электрическому питанию и присоединению аппаратов к сети
1.3.1. Питание аппаратов следует осуществлять от однофазных или трехфазных электрических сетей общего назначения номинальным напряжением 220 и (или) 380 В (действующее значение напряжения) с отклонением напряжения, не связанным с работой аппарата, от минус 10 до плюс 10% и частотой (50±1) Гц.
Допускается питание аппаратов от источников специального назначения, требования к которым должны устанавливаться в технических условиях на аппараты конкретного типа.
Потребляемая мощность аппаратов должна устанавливаться в стандартах и технических условиях на аппараты конкретного типа.
1.3.2. Нормальные режимы работы аппаратов для кратковременного режима работы и нормальные режимы работы аппаратов для повторно-кратковременного и кратковременного режимов работы должны быть обеспечены при сопротивлении питающей сети, равном или меньшем указанного в табл. 1.
Таблица 1
|
Рентгеновское питающее устройство |
Номинальная кратковременная мощность при номинальном напряжении сети, кВт |
Сопротивление сети, Ом, при номинальном напряжении сети, В | |
|
220 |
380 | ||
|
Однополупериодное |
0, 50 |
1, 60 |
- |
|
1, 00 |
1, 00 |
3, 00 | |
|
2, 00 |
0, 60 |
2, 00 | |
|
4, 00 |
0, 40 |
1, 20 | |
|
8, 00 |
0, 20 |
0, 60 | |
|
10, 00 |
0, 16 |
0, 50 | |
|
16, 00 |
0, 10 |
0, 30 | |
|
Двухполупериодное |
1, 00 |
1, 60 |
5, 00 |
|
2, 00 |
1, 00 |
3, 00 | |
|
4, 00 |
0, 60 |
2, 00 | |
|
8, 00 |
0, 40 |
1, 20 | |
|
10, 00 |
0, 30 |
1, 00 | |
|
16, 00 |
0, 20 |
0, 60 | |
|
20, 00 |
0, 16 |
0, 50 | |
|
32, 00 |
0, 10 |
0, 30 | |
|
40, 00 |
0, 08 |
0, 25 | |
|
Трехфазное |
16, 00 |
0, 30 |
1, 00 |
|
20, 00 |
0, 25 |
0, 80 | |
|
32, 00 |
0, 16 |
0, 50 | |
|
40, 00 |
0, 12 |
0, 40 | |
|
50, 00 |
0, 10 |
0, 30 | |
|
75, 00 |
- |
0, 25 | |
|
100, 00 |
- |
0, 15 | |
Примечание. Указанные в табл. 1 значения сопротивления должны быть измерены с погрешностью не более ±10%.
1.3 - 1.3.2. (Измененная редакция, Изм. N 2).
1.3.3. Аппараты должны обеспечивать защиту электрической сети от коротких замыканий в электрических цепях аппарата.
1.3.4. Аппараты должны обеспечивать возможность присоединения к электрической сети при помощи кабеля через сетевой выключатель.
Допускается совмещать сетевой выключатель с максимальным автоматическим выключателем сети в аппаратах стационарного типа.
Передвижные, переносные аппараты и аппараты номинальной потребляемой мощностью до 4 кВ·А допускается присоединять к сети гибким кабелем с штепсельным разъемом без сетевого выключателя.
1.3.3, 1.3.4. (Измененная редакция, Изм. N 2).
1.4 - 1.5.2. (Исключены, Изм. N 2).
1.6. Требования к устройствам регулирования и управления
1.6.1. Аппараты должны иметь указатели о выбранном рабочем месте и фокусе рентгеновской трубки, если предусматривается работа на нескольких рабочих местах.
1.6.2. Стационарные аппараты (кроме дентальных) должны иметь счетчик часов работы для каждого рентгеновского излучателя, предназначенного для повторно-кратковременной работы (просвечивание), и счетчик числа включений для каждого рентгеновского излучателя, предназначенного для кратковременной работы (снимки).
(Измененная редакция, Изм. N 2).
1.6.3. Аппараты, имеющие режим кратковременной работы, должны обеспечивать защиту рентгеновской трубки от перегрузки в пределах одного включения анодного напряжения во всех нормальных режимах работы аппарата или иметь защиту от неправильно выбранного режима.
1.6.4. Аппараты должны обеспечивать готовность к любому нормальному режиму после включения напряжения питания за время не более 15 мин.
1.6.5. (Исключен, Изм. N 2).
1.6.6. Требования к устройствам регулирования и управления аппаратов для диагностики при повторно-кратковременной работе (просвечивание)
1.6.6.1. Аппараты с регулированием анодного напряжения и (или) анодного тока рентгеновской трубки должны иметь устройство для измерения или указания регулируемых величин.
1.6.6.2. Стационарные аппараты с усилителями рентгеновского изображения (далее - УРИ), требующими стабилизации яркости, должны иметь устройство регулирования напряжения и (или) тока анода рентгеновской трубки в зависимости от яркости изображения на выходном экране УРИ.
(Измененная редакция, Изм. N 2).
1.6.6.3. Пределы регулирования мощности дозы излучения в плоскости входного экрана УРИ, быстродействие системы регулирования, точность стабилизации яркости, а также наличие устройства защиты УРИ от перегрузки при кратковременной работе должны быть указаны в технических условиях на аппараты конкретного типа.
(Введен дополнительно, Изм. N 2).
1.6.7. Требования к устройствам регулирования и управления аппаратов для диагностики при кратковременной работе (снимки)
1.6.7.1. Аппараты должны иметь одно или несколько устройств для автоматического ограничения экспозиции облучения по заранее установленным значениям следующих величин:
дозы излучения в плоскости экспонируемого материала с помощью реле экспозиции;
количества электричества с помощью реле количества электричества;
длительности экспозиции с помощью реле времени;
дозы излучения с помощью реле дозы излучения.
1.6.7.2. Аппараты должны иметь:
устройства для указания всех установленных величин при регулировании анодного напряжения, тока трубки и длительности экспозиции или их сочетаний или устройства для указания напряжения и количества электричества и (или) табло символов объектов съемки;
надпись нерегулируемой величины и указание уставки экспозиции при нерегулируемых анодном напряжении и (или) токе рентгеновской трубки.
(Измененная редакция, Изм. N 2).
1.6.7.3. Стационарные аппараты с реле экспозиции и с двенадцатипульсной схемой выпрямления должны иметь устройство для указания фактической длительности экспозиции с погрешностью не более ±10% для экспозиции длительностью свыше 10 мс и ±2 мс для экспозиции меньшей длительностью.
В стационарных аппаратах с шестипульсной схемой выпрямления допускается по требованию потребителя не устанавливать устройство для указания фактической длительности экспозиции.
(Измененная редакция, Изм. N 1, 2, 3).
1.6.7.4. Требования к точности выполнения уставок анодного напряжения и анодного тока в аппаратах без автоматического управления дозой излучения при номинальном напряжении питания.
1.6.7.4.1. Аппараты с регулируемым анодным напряжением без реле экспозиции и установкой анодного напряжения до начала экспозиции должны обеспечивать выполнение уставок анодного напряжения при анодном токе, равном номинальному значению тока данной уставки, и при длительности экспозиции 0, 1 с и более с погрешностью не более ±10%.
Погрешность анодного напряжения при длительности экспозиции менее 0, 1 с должна быть указана в технических условиях на аппараты конкретного типа.
Длительность переходных процессов и допустимое увеличение погрешности уставок анодного тока и анодного напряжения в переходных процессах коммутации главной цепи должны быть указаны в технических условиях на аппараты конкретного типа.
(Измененная редакция, Изм. N 2).
1.6.7.4.2. Аппараты с регулируемым анодным током без реле экспозиции и установкой анодного тока до начала экспозиции должны обеспечивать выполнение уставок анодного тока с по грешностью не более ±10%.
Для аппаратов с реле количества электричества и установкой анодного тока до начала экспозиции требования к погрешностям анодного тока устанавливают в технических условиях на аппараты конкретного типа.
(Измененная редакция, Изм. N 2).
1.6.7.4.3. Для аппаратов без регулирования (с одним значением) анодного напряжения и (или) анодного тока погрешность выполнения уставок устанавливают в технических условиях на аппараты конкретного типа.
1.6.7.4.4. Требования к уставкам анодного напряжения и анодного тока при напряжении питания, не равном номинальному, указывают в стандартах и технических условиях на аппараты конкретного типа.
1.6.7.5. Для аппаратов с автоматическим управлением дозой излучения требования к изменению анодного напряжения и тока, длительности экспозиции или количества электричества должны быть установлены в стандартах и технических условиях на аппараты конкретного типа.
1.6.7.5.1 - 1.6.7.6.2. (Исключены, Изм. N 2).
1.6.7.6. Аппараты, имеющие реле количества электричества, за исключением аппаратов, имеющих автоматическую поправку количества электричества в зависимости от анодного напряжения, должны обеспечивать выполнение уставок количества электричества с погрешностью не более ±20%. Наименьшее значение и шаг уставок, а также минимальная длительность экспозиции, при которой обеспечивается указанная погрешность, должны быть указаны в стандартах и технических условиях на аппараты конкретного типа.
1.6.7.7. Аппараты, имеющие реле времени, должны обеспечивать уставки длительности экспозиции с погрешностью не более ±10%.
Допускается для трехфазных аппаратов для выдержек менее 0, 04 с - погрешность 0, 0034 с, для однофазных аппаратов с двухполупериодной схемой выпрямления для выдержек менее 0, 1 с - погрешность не более 0, 01 с, для однофазных с однополупериодной схемой выпрямления для выдержек менее 0, 2 с - погрешность не более 0, 02 с.
(Измененная редакция, Изм. N 2).
1.6.7.8. Пульсация анодного напряжения в универсальных стационарных аппаратах - не более 12%.
Допускается по согласованию с потребителем в технико-экономически обоснованных случаях устанавливать пульсацию не более 25%.
(Измененная редакция, Изм. N 3).
1.6.7.9. Отношение среднего отклонения измеренной дозы излучения к среднему значению дозы при заданных анодном напряжении и количестве электричества или заданных анодном напряжении, анодном токе и длительности экспозиции не должно быть более 0, 20.
(Измененная редакция, Изм. N 3).
1.6.7.10. Аппараты при работе с автоматическим реле экспозиции должны обеспечивать:
а) при установленном анодном напряжении рентгеновской трубки дозу излучения с погрешностью не более ±25%, при этом минимальная длительность экспозиции, при которой обеспечивается данное отклонение, должна быть указана в технических условиях на аппараты конкретного типа;
б) значения доз излучения, обеспечивающих постоянство плотности почернения пленки в диапазоне применяемых анодных напряжений, которые должны быть указаны в технических условиях на аппараты конкретного типа;
в) повторяемость доз излучения в диапазоне анодных напряжений от 40 до 100% номинального значения при заданном анод ном напряжении с отклонением не более ±20%.
(Введен дополнительно, Изм. N 2).
1.6.7.11. Универсальные стационарные аппараты должны иметь усилители рентгеновского изображения, а также орган-автоматику, требования к которой устанавливаются в технических условиях на аппараты конкретного типа.
Допускается по согласованию с потребителем в обоснованных случаях выпуск аппаратов без усилителя рентгеновского изображения и до 01.01.92 без орган-автоматики.
(Измененная редакция, Изм. N 2, 3).
1.6.8. Требования к устройствам управления и регулирования рентгенотерапевтических аппаратов
(Измененная редакция, Изм. N 2).
1.6.8.1. Аппараты должны иметь автоматическое ограничение дозы излучения с помощью реле времени с указанием оставшегося времени облучения (до отключения анодного напряжения). Погрешность выполнения уставок времени облучения не должна быть более ±5%. Наименьшее значение уставки времени облучения должно быть указано в стандартах и технических условиях на аппараты конкретного типа.
1.6.8.2. Аппараты должны иметь устройство регулирования анодного напряжения и анодного тока и должны обеспечивать установленные значения анодного напряжения с погрешностью не более ±10% и анодного тока с погрешностью не более ±10%.
1.6.8.3. При выбранных значениях анодного напряжения, анодного тока и времени облучения отклонение дозы от среднего значения не должно быть более ±15%.
(Измененная редакция, Изм. N 2).
1.6.8.4. Аппараты должны иметь два миллиамперметра для измерения анодного тока рентгеновской трубки, если не предусмотрены иные меры контроля или ограничения дозы излучения; миллиамперметры должны быть класса не ниже 1, 0 по ГОСТ 8711-78 и иметь один предел измерения.
1.7. Требования к штативам
1.7.1. Части рентгеновских штативов аппаратов для диагностики, через которые проходит рабочий пучок излучения, должны иметь алюминиевый эквивалент ослабления рабочего пучка излучения: для деки рентгеновского штативного устройства - не более 1, 0 мм, для камеры реле экспозиции, расположенной перед экспонируемым материалом, - не более 1, 2 мм, для задней стенки экраноснимочного устройства - не более 0, 35 мм. Для люлек и дек ангиографических аппаратов алюминиевый эквивалент устанавливают в технических условиях на аппараты конкретного типа.
Алюминиевый эквивалент отдельных частей рентгеновских штативных устройств, находящихся в прямом пучке рентгеновского излучателя, должен быть указан в стандартах, технических условиях и эксплуатационных документах на аппараты конкретного типа.
1.7.2. Части устройств аппаратов для диагностики, через которые проходит рабочий пучок излучения (кроме неподвижных растров), не должны создавать теней от этих частей с контрастом более 2% в рентгеновском изображении исследуемого объекта при наименьшем анодном напряжении, установленном в стандартах и технических условиях на аппараты конкретного типа.
1.7.1, 1.7.2. (Измененная редакция, Изм. N 2).
1.7.3. Рентгеновские штативные устройства аппаратов для ди агностики с визуальным наблюдением изображения объекта при взаимном перемещении рентгеновского излучателя и приемника излучения должны сохранять положение оси рабочего пучка излучения с отклонением от центра плоскости приемника: в пределах окружности радиусом не более 5 мм - при расстоянии "фокус-пленка" до 900 мм; в пределах окружности радиусом не более 10 мм - при расстоянии "фокус-пленка" свыше 900 и до 1100 мм; в пределах окружности радиусом не более 20 мм - при расстоянии "фокус-пленка" свыше 1100 и до 2000 мм.
Для разборных аппаратов требование к сохранению положения оси рабочего пучка излучения устанавливают в технических условиях на аппараты конкретного типа.
(Измененная редакция, Изм. N 2).
1.7.4. (Исключен, Изм. N 2).
1.7.5. Аппараты передвижного типа должны при необходимости равномерно перемещаться по ровной поверхности при усилии не более 250 Н.
1.7.6. Усилия поворота или переключения рукояток управления не должны быть более 50 Н.
1.7.7. Усилия перемещения подвижных частей рентгеновских штативных устройств, перемещаемых вручную при работе без электропривода, не должны быть более 40 Н.
Допускается увеличение усилий перемещений излучателя и экрано-снимочного устройства при работе с УРИ в наклонном (свыше 10° от вертикали) положении и в конце всех перемещений (не более 15% хода с каждой стороны) до 60 Н.
Усилия перемещения подвижных частей в передвижных и разборных аппаратах должны быть указаны в технических условиях на аппараты конкретного типа.
(Измененная редакция, Изм. N 2, 3).
1.7.8. Аппараты должны обеспечивать возможность торможения и (или) фиксации отдельных подвижных частей рентгеновских штативных устройств.
Усилие торможения экрано-снимочного устройства не должно быть менее 150 Н.
Перечень подвижных частей, подлежащих торможению или фиксации, с указанием необходимых усилий должен быть установлен в технических условиях на аппараты конкретного типа.
(Измененная редакция, Изм. N 2).
1.8. При модернизации и разработке аппаратов взамен аналогичных с теми же функциями в технических условиях на аппараты конкретного типа должно быть предусмотрено снижение массы не менее чем на 10%.
В аппаратах переносного типа масса одной укладки не должна быть более 30 кг; укладка массой более 15 кг должна быть снабжена рукоятками для переноса двумя лицами.
Конструкция разборных аппаратов должна позволять разборку и сборку их без специального инструмента.
(Измененная редакция, Изм. N 2).
1.9. Требования к устойчивости при климатических и механических воздействиях
1.9.1. Аппараты должны изготовлять для эксплуатации во взрывобезопасном пространстве в следующих климатических исполнениях и категориях размещения по ГОСТ 15150-69:
стационарного и передвижного типа - УХЛ 4.2;
разборного и переносного типа - УХЛ 4.2 или УХЛ2, но для работы при температурах от плюс 1 до плюс 40°С и атмосферном давлении
гПа (
мм рт. ст.) и относительной влажности до 98% при 25°С и более низких температурах без конденсации влаги.
Допускается по согласованию с потребителем эксплуатация передвижных и переносных аппаратов при атмосферном давлении до 613 гПа (460 мм рт. ст.).
Допускается по согласованию с потребителем изготовление разборных и переносных аппаратов в климатическом исполнении ОМ категории размещения 3, но для работы при температурах от плюс 1 до плюс 45°С и относительной влажности 100% при 25°С и более низких температурах с конденсацией влаги, атмосферном давлении от 866 до 1066 гПа (от 650 до 800 мм рт. ст.).
(Измененная редакция, Изм. N 2).
1.9.2. Климатические исполнения и категории размещения аппаратов, предназначенных для экспорта в страны с умеренным и тропическим климатом, должны указываться в стандартах и технических условиях на аппараты конкретного типа.
Аппараты, предназначенные для работы в районах с тропическим климатом, должны соответствовать требованиям ГОСТ 15151-69.
1.9.3. Аппараты должны сохранять работоспособность после воздействия климатических факторов при транспортировании по условиям хранения 5 или 8, но при температуре не ниже минус 50°С и по условиям хранения 1 или 2 ГОСТ 15150-69.
(Измененная редакция, Изм. N 1).
1.9.4. Аппараты без УРИ должны сохранять работоспособность после воздействия транспортной тряски с частотой 80 - 120 ударов в 1 мин и с ускорением:
30 м/с2 - для стационарных аппаратов;
30 - 40 м/с2 - для передвижных и разборных аппаратов;
30 - 50 м/с2 - для переносных аппаратов.
Требования к работоспособности аппаратов с УРИ должны быть установлены в стандартах и технических условиях на аппараты конкретного типа.
1.9.5. Передвижные и переносные аппараты без УРИ должны обладать прочностью к воздействию механических факторов по ГОСТ 17516-72, группа М20, по согласованию с потребителем - М23.
Требования по прочности к механическим воздействиям аппаратов с УРИ и разборных аппаратов должны быть установлены в технических условиях на аппараты конкретного типа.
1.9.4, 1.9.5. (Измененная редакция, Изм. N 2).
1.10. Требования к покрытиям и окраске
1.10.1. Все части аппаратов, которые в процессе эксплуатации могут подвергаться коррозии, должны быть изготовлены из коррозионностойких материалов или должны иметь защитные или защитно-декоративные покрытия - металлические и неметаллические (неорганические) по ГОСТ 9.301-86 или лакокрасочные по ГОСТ 9.032-74.
1.10.2. Внешние поверхности аппаратов должны иметь лакокрасочные покрытия не ниже III или IV классов по ГОСТ 9.032-74.
Класс покрытия устанавливается в стандартах и технических условиях на аппараты конкретного типа.
Внутренние поверхности аппаратов должны иметь лакокрасочные покрытия не ниже класса VI.
Детали аппарата должны иметь защитные покрытия не ниже класса VI.
Условия эксплуатации покрытий УХЛ4 - для стационарных аппаратов и УХЛ2 - для передвижных, переносных и разборных аппаратов по ГОСТ 9.104-79.
1.10.1, 1.10.2. (Измененная редакция, Изм. N 2).
1.10.3. (Исключен, Изм. N 2).
1.11. Уровень радиопомех, создаваемых при работе аппарата, не должен превышать значений, установленных ГОСТ 23511-79 (для переносных аппаратов) и "Общесоюзными нормами допускаемых индустриальных радиопомех" (Нормы 8-72), утвержденными Государственной комиссией по радиочастотам СССР (для аппаратов остальных типов, не подключаемых к сетям жилых домов).
1.12. Требования к надежности
1.12.1. Средняя наработка на отказ должна быть не менее 12500 циклов.
Циклом считают совокупность операций от начала до окончания диагностической процедуры в режиме рентгеноскопии и/или рентгенографии или лечебной процедуры.
Содержание цикла должно быть установлено в стандартах и технических условиях на аппараты конкретного типа.
Установленная безотказная наработка должна быть установлена в технических условиях на аппараты конкретного типа.
Отказом аппарата считают неисправности, препятствующие выполнению диагностической или лечебной процедуры. Параметр, по которому контролируют отказ и его значение, устанавливают в технических условиях на аппараты конкретного типа.
(Измененная редакция, Изм. N 1, 2).
1.12.2. Полный средний срок службы аппаратов без УРИ должен быть не менее 12 лет, с УРИ - 6 лет.
Установленный срок службы стационарных аппаратов должен быть не менее 4 лет.
Установленный срок службы стационарных аппаратов с УРИ, передвижных и переносных аппаратов должен устанавливаться в технических условиях на аппараты конкретного типа.
(Измененная редакция, Изм. N 2, 3).
1.12.3. Аппараты являются восстанавливаемыми изделиями, подвергающимися текущему ремонту.
Значения среднего времени восстановления работоспособного состояния аппаратов следует выбирать из ряда: 30, 45 мин; 1, 2, 3, 4, 6, 8, 10, 12, 18, 24 ч.
Среднее время восстановления работоспособности аппаратов должно быть установлено в стандартах и технических условиях на аппараты конкретного типа.
Предельным состоянием считают состояние аппарата, при котором невозможно выполнение диагностической или лечебной процедуры и невозможен или нецелесообразен текущий ремонт.
(Измененная редакция, Изм. N 1, 2).
1.13. Условное обозначение аппаратов устанавливают в стандартах и технических условиях на аппараты конкретного типа.
1.14. Комплектность аппаратов должна быть установлена в стандартах и технических условиях на аппараты конкретного типа.
К аппарату должна быть приложена эксплуатационная документация по ГОСТ 2.601-68.
2.1. Безопасность аппаратов обеспечивается технически обоснованными, конструктивными решениями и применением средств, предупреждающих об опасности.
В конструкции аппаратов должна быть предусмотрена защита от поражения электрическим током, воздействия высокой температуры, прикосновения к движущимся частям, от воздействия рентгеновского излучения, механической неустойчивости и устойчивости к воздействию дезинфицирующих средств.
2.2. Аппараты должны быть безопасными в течение срока службы, установленного для них техническими условиями.
2.3. Общие положения требований безопасности - по ГОСТ 12.2.007.0-75.
2.4. Требования к радиационной безопасности
2.4.1. Аппараты в части радиационной защиты обслуживающего персонала должны соответствовать "Нормам радиационной безопасности" (НРБ-76/87), утвержденным Главным государственным санитарным врачом СССР.
Аппараты удовлетворяют требованиям радиационной безопасности, если доза излучения на рабочих местах персонала категории А (НРБ-76/87) не превышает за неделю 0, 87 мГр (100 мР) при рабочей нагрузке аппарата, указанной в табл. 5 в соответствии с СанПиН 42-129-11-4090-86 "Рентгенологические отделения (кабинеты). Санитарно-гигиенические нормы", утвержденными Минздравом СССР.
Таблица 5
|
Наименование аппарата |
Рабочая нагрузка, мА·мин/неделя |
|
Рентгенодиагностические: | |
|
для флюорографии |
4000 |
|
для томографии, рентгенографии, для рентгеноскопии с дистанционным управлением |
2000 |
|
для маммографии |
1000 |
|
для исследований с поворотным столом-штативом и излучателем, расположенным под декой в положениях: | |
|
вертикальном |
1000 |
|
горизонтальном |
400 |
|
специализированные, хирургические, палатные и переносные |
200 |
|
дентальные |
200 |
|
Рентгенотерапевтические | |
|
* Где 2000 - длительность рабочей недели в минутах; Iном - номинальный ток аппарата, мА. | |
Для аппаратов, в которых режимы, соответствующие указанным в табл. 5 нагрузкам, не могут быть осуществлены, рабочие нагрузки, рассчитанные по наиболее напряженным в радиационном отношении режимам, указывают в технических условиях на аппараты конкретного типа.
2.4.2. Рентгеновские излучатели аппаратов должны иметь такие защитные устройства, чтобы при закрытом выходном окне и при всех условиях, указанных в эксплуатационной документации, мощность дозы излучения не превышала значений, указанных в табл. 6.
У рентгеновских излучателей маммографических аппаратов мощность дозы излучения должна быть не более 0, 87 мГр/ч (100 мР/ч) на расстоянии 5 см от поверхности защитного кожуха.
В рентгенотерапевтических аппаратах через 5 с после отключения анодного напряжения мощность дозы излучения на расстоянии 100 см от фокусного пятна в любом направлении должна быть не более 20 мкГр/ч (2, 3 мР/ч).
Таблица 6
|
Рентгеновский излучатель |
Мощность дозы излучения на расстоянии 100 см от фокусного пятна в любом направлении, мГр/ч (мР/ч), не более |
|
Для дентальных рентгеновских аппаратов | |
|
Для рентгенодиагностических аппаратов (кроме дентальных и маммографических) |
0, 25 (28) |
|
Для рентгенотерапевтических аппаратов с напряжением: |
0, 87 (100) |
|
до 150 кВ |
0, 87 (100) |
|
св. 150 кВ |
8, 7 (1000) |
2.4.3. Рентгеновские излучатели, у которых размер или положение фокусного пятна могут регулироваться извне, должны отвечать требованиям п. 2.4.2 при всех размерах и положениях фокусного пятна.
2.4.4. Конструкция аппаратов должна обеспечивать возможность безопасной установки объекта исследования, а также манипуляции с ним в условиях радиационной защиты персонала в соответствии с п. 2.4.1.
2.4.5. Аппараты, не имеющие закрывающейся диафрагмы, должны иметь в комплекте заглушку для закрывания окна излучателя при проверке его защитных свойств по п. 4.34.
Цвет заглушки - оранжевый.
2.4.6. Рентгенодиагностические аппараты должны иметь на выходе излучателя диафрагму или тубус.
2.4.7. Рентгенофлюорографические аппараты должны иметь диафрагму для ограничения прямого пучка излучения по ширине и для изменения положения его нижней границы.
2.4.8. Диафрагмы и тубусы рентгенодиагностических аппаратов должны обеспечивать вне прямого пучка излучения ту же мощность дозы излучения, которая требуется от защитного кожуха по п. 2.4.2.
2.4.9. Рентгенотерапевтические аппараты должны иметь тубусы для ограничения поля облучения.
Тубусы рентгенотерапевтических аппаратов должны ослаблять мощность дозы излучения вне прямого пучка до значений, не превышающих 1% мощности дозы излучения по оси рабочего пучка. Это условие должно выполняться при номинальном напряжении трубки: 100; 150; 200; 250; 300 кВ и соответственно общем фильтре - 0, 2; 0, 5; 1, 0; 2, 0; 3, 0 мм Си.
2.4.10. Аппараты для рентгенографии и аппараты для рентгеноскопии с излучателем, расположенным над декой, должны иметь диафрагму или тубусы со световым указателем поля облучения для оценки направления и размера прямого пучка излучения до включения высокого напряжения.
2.4.11. Диафрагмы или тубусы аппаратов для рентгеноскопии с излучателем, расположенным под декой, аппаратов для специальных медицинских исследований (дентальных, маммографических, хирургических и др.), а также аппаратов с фиксированными дискретными полями облучения могут не иметь светового указателя поля облучения.
2.4.12. Дентальные рентгеновские аппараты должны снабжаться тубусами, которые при снимках ограничивают пучок излучения до диаметра не более 60 мм в плоскости внешнего торца тубуса. Тубус должен обеспечивать расстояние между фокусным пятном и поверхностью объекта исследования не менее: при напряжении до 60 кВ - 100 мм, от 60 до 75 кВ включ - 200 мм, от 75 кВ и выше - 300 мм.
Дополнительный фильтр тубуса - 1 мм А1.
2.1 - 2.4.12. (Измененная редакция, Изм. N 2).
2.4.13. Аппараты для рентгеноскопии должны снабжаться центрированной относительно флюоресцирующего рентгеновского экрана, регулируемой во время просвечивания рентгеновской диафрагмой.
Рентгенодиагностические аппараты с круглым входным полем УРИ с 01.07.91 должны иметь диафрагмы с регулируемым отверстием, выполненным в форме круга или правильного многоугольника с числом сторон ≥8. У аппаратов с излучателем, расположенным под декой, отверстие диафрагмы должно быть ограничено таким образом, чтобы при расстоянии от деки штатива до задней стенки экрано-снимочного устройства, равном 250 мм, поле рабочего пучка излучения отстояло внутрь от краев флюоресцирующего рентгеновского экрана (черт. 1) не менее, чем на 5 мм с каждой стороны флюоресцирующего рентгеновского экрана.
Если не предусмотрено полное закрывание диафрагмы, то оставшееся отверстие должно быть не более 5 x 5 мм.
(Измененная редакция, Изм. N 2, 3).
2.4.14. Хирургические рентгеновские аппараты с УРИ, площадь входного экрана которого не более 30000 мм2, могут снабжаться диафрагмами с нерегулируемым отверстием.
2.4.15. Аппараты для рентгеноскопии с переменным расстоянием между фокусным пятном и флюоресцирующим рентгеновским экраном должны иметь защитную зону от прямого пучка излучения у флюоресцирующего рентгеновского экрана, которая со всех сторон превышает рабочее поле флюоресцирующего рентгеновского экрана не менее, чем на 30 мм (черт. 1).
Аппараты для рентгеноскопии с постоянным расстоянием между фокусным пятном и флюоресцирующим рентгеновским экраном должны быть построены так, чтобы прямой пучок излучения нельзя было направить за пределы максимальных размеров приемника излучения.
2.4.16. Свинцовый эквивалент устройства для экранирования прямого пучка излучения аппаратов должен быть при номинальном напряжении просвечивания до 110 кВ - не менее 2, 5 мм; при номинальном напряжении просвечивания свыше 110 кВ должен быть дополнительно увеличен на 0, 1 мм на каждые 10 кВ.
Свинцовый эквивалент устройств для экранирования рассеянного излучения аппаратов должен быть не менее 0, 5 мм при номинальном напряжении просвечивания до 110 кВ; при номинальном напряжении просвечивания свыше 110 кВ должен быть увеличен на 0, 05 мм на каждые 10 кВ.
Свинцовый эквивалент сменных рентгенозащитных приспособлений аппаратов, служащих для дополнительной защиты пациента или персонала, должен быть указан в технических условиях на аппараты конкретного типа.
2.4.17. Элементы защитных устройств для экранирования излучения не должны иметь раковин, пустот, щелей и других дефектов, через которые могло бы проникнуть неослабленное рентгеновское излучение.
2.4.18. Поворотные столы-штативы стационарных рентгенодиагностических аппаратов с излучателем, расположенным под декой с экрано-снимочным устройством, должны быть снабжены для защиты персонала от рассеянного излучения поворотным фартуком.
2.4.18.1. Размеры защитного устройства с учетом фартука, например для экрана (a×a)мм2 (см. черт. 1), должны быть не менее, мм: b=a-10; c=a+2d; d = 25; е = 30; f = c; h = с/2+400.
Размеры l и m устанавливаются в технических условиях на аппараты конкретного типа, исходя из условий выполнения требований п. 2.4.1.
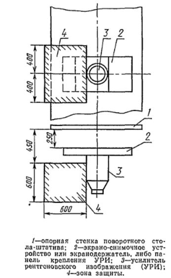
2.4.18.2. Защитное приспособление поворотных столов-штативов аппаратов этого типа с УРИ должно создавать зону защиты от рассеянного излучения шириной не менее 600 мм от корпуса УРИ, передняя плоскость которой параллельна опорной стенке штатива, отстоит от нее на 450 мм и расположена на 400 мм вверх и вниз от центра входного экрана экрано-снимочного устройства или УРИ (черт. 2). Задняя плоскость зоны параллельна передней и расположена на расстоянии 600 мм от нее.
Расстояние от пола до центра УРИ должно составлять 1400 мм, точки измерения у передней и задней плоскостей зоны защиты должны отстоять друг от друга на расстоянии не более 100 мм.
2.4.19. Органы управления, расположенные на устройстве для визуального наблюдения рентгеновского изображения, должны размещаться вне используемого пучка излучения или иметь дополнительную защиту, обеспечивающую мощность дозы в соответствии с п. 2.4.1.

"Черт. 1"
2.4.20. Конструкция передвижных, переносных и дентальных аппаратов должна обеспечивать возможность отключения экспозиции или высокого напряжения с расстояния не менее 2, 5 м от фокусного пятна излучателя.
2.4.21. Конструкция стационарных аппаратов (кроме маммографических, дентальных, флюорографических) должна преду сматривать возможность установки пульта управления отдельно от рентгеновского излучателя в другом помещении.
2.4.22. Аппараты для рентгеноскопии должны иметь приспособления, препятствующие случайному уменьшению расстояния фокус - кожа до значения менее 300 мм.
Требование не распространяется на аппараты, эксплуатируемые в полевых условиях и разработанные до 01.07.88.
В аппаратах с УРИ, имеющих площадь входного экрана не более 30000 мм2, допускается минимальное расстояние фокус - кожа 200 мм.

"Черт. 2"
2.4.23. Собственный фильтр рентгеновских излучателей рентгенодиагностических аппаратов должен быть эквивалентен не менее:
1, 0 мм А1 - при номинальном напряжении до 50 кВ;
1, 5 мм А1 - при номинальном напряжении до 70 кВ;
2, 0 мм А1 - при номинальном напряжении св. 70 кВ.
Собственный фильтр рентгеновских излучателей хирургических рентгеновских аппаратов с УРИ должен быть эквивалентен не менее 3, 0 мм А1, для дентальных аппаратов - не менее 1, 5 мм А1.
На внешней поверхности рентгеновских излучателей рентгенодиагностических аппаратов и в эксплуатационной документации должны быть указаны значения собственного фильтра рентгеновского излучателя.
2.4.24. Дополнительный фильтр аппаратов с номинальным напряжением ниже 50 кВ должен быть постоянно укреплен на выходном окне. Допускается применять выдвижной или сменный фильтр при наличии блокировочного устройства, отключающего высокое напряжение при отсутствии фильтра.
2.4.25. Общий фильтр рентгенодиагностических аппаратов (кроме маммографических) должен быть эквивалентен, не менее:
1, 5 мм А1 - при номинальном напряжении до 70 кВ;
2, 0 мм А1 - при номинальном напряжении от 70 до 80 кВ;
3, 0 мм А1 - при номинальном напряжении " 80 " 100 кВ;
4, 0 мм А1 - при номинальном напряжении " 100 " 125 кВ;
5, 0 мм А1 - при номинальном напряжении " 125 кВ.
Требования к общему и дополнительным фильтрам для маммографических аппаратов и аппаратов с номинальным напряжением до 50 кВ должны быть установлены в технических условиях на аппараты конкретного типа.
2.4.26. Дополнительные фильтры должны сменяться без применения инструмента. Обозначение эквивалента вставленного дополнительного фильтра должно быть видно извне.
2.4.27. Хирургические рентгеновские аппараты с УРИ могут иметь только собственный фильтр. Толщина фильтра должна со ответствовать требованиям п. 2.4.25.
2.4.28. Рентгенотерапевтические аппараты должны иметь блокировку сменных фильтров. Тип дополнительного фильтра должен быть виден извне. Применение рамки без фильтра с целью замыкания блокировки не допускается.
2.4.29. Стационарные рентгенотерапевтические аппараты должны иметь возможность подключения в цепь управления дверных блокировок, отключающих высокое напряжение при открывании двери в помещение. Повторное включение высокого напряжения должно выполняться только с пульта управления аппарата после закрывания двери.
2.4.30. Рентгенофлюорографические аппараты должны снабжаться защитными кабинами с дверной блокировкой включения напряжения на трубке.
Необходимость кабин и блокировок для разборных рентгенофлюорографических аппаратов, рентгенофлюорографических аппаратов с УРИ и штативов с флюорографической камерой, которые используются в качестве отдельного рабочего места в стационарных рентгенодиагностических аппаратах, устанавливается в технических условиях на аппараты конкретного типа.
2.4.31. Аппараты для рентгеноскопии должны иметь звуковой сигнал, который включается при длительности просвечивания свыше 5 мин. Требование не распространяется на аппараты, в которых режим просвечивания при нормальной эксплуатации не предусматривается.
2.4.32. Съемные и сменные устройства для защиты от рассеянного излучения должны иметь хорошо заметную надпись с указанием свинцового эквивалента в миллиметрах.
2.4.33. Рентгенофлюорографические аппараты должны снабжаться дополнительными устройствами для защиты гонад и щитовидной железы. Требования к устройствам должны быть установлены в технических условиях на аппараты конкретного типа.
2.5. Требования к электрической безопасности
2.5.1. По способу защиты человека от поражения электрическим током аппараты должны относиться к классу 01 по ГОСТ 12.2.007.0-75.
Передвижные, переносные аппараты и аппараты номинальной потребляемой мощностью до 4 кВ·А могут относиться к классу I.
2.5.2. Аппараты должны иметь защиту от случайного прикосновения к токоведущим цепям. Степень защиты - IP20 по ГОСТ 14254-80.
2.5.3. Конструкция аппаратов, предназначенных для работы в полевых условиях, должна предусматривать возможность присоединения заземляющего провода к заземлителю. Тип и количество заземлителей должны быть установлены в технических условиях на аппараты конкретного типа.
2.5.4. В заземляющих защитных проводниках аппаратов не должно быть выключателей и предохранителей.
2.5.5. В передвижных, переносных и разборных аппаратах до пускается штепсельное соединение с заземлителем. Штепсельное соединение должно быть устроено так, чтобы исключить возможность ошибочного соединения линейных и заземляющих проводов.
Включение заземляющего контакта должно наступать до соединения токоведущих контактов с сетевыми проводами, а отключение - после их разрыва.
2.5.6. Если сечение присоединительных проводов питающей сети эквивалентно медному проводу сечением 10 мм2 и менее, то заземляющий проводник должен быть эквивалентен медному проводу сечением не менее 4 мм2. Если сечение присоединительных проводов эквивалентно медному проводу сечением более 10 мм2, то заземляющий проводник должен быть эквивалентен медному проводу сечением 10 мм2.
Сечение заземляющей жилы сетевого кабеля передвижных, переносных, дентальных аппаратов и аппаратов номинальной потребляемой мощностью до 4 кВ·А должно быть не менее сечения питающих жил.
2.5.7. В аппаратах должно быть обеспечено электрическое соединение всех доступных прикосновению металлических нетоковедущих частей изделия, которые могут оказаться под напряжением, с элементом заземления.
Значение сопротивления между зажимом защитного заземления и доступными для прикосновения металлическими нетоковедущими частями аппарата не должно превышать 0, 5 Ом.
2.5.8. Сопротивление изоляции электрических цепей аппаратов при нормальных климатических условиях по ГОСТ 15150-69 должно соответствовать значениям, указанным в табл. 7.
Таблица 7
|
Наименование цепей аппарата |
Сопротивление изоляции, МОм, не менее |
|
Цепи управления, регулирования, измерения и защиты напряжением до 1000 В То же, напряжением 60 В и ниже при питании через разделительный трансформатор или от отдельного источника питания Провода силовых цепей напряжением до 1000 В |
10, 0 1, 0 1, 0 |
2.5.9. Изоляция первичных цепей напряжением до 1000 В относительно корпусов, кожухов и оболочек должна выдерживать воздействие испытательного напряжения, указанного в табл. 8.
Таблица 8
|
Номинальное напряжение, В |
Испытательное напряжение, В |
|
До 42 включ. Св. 42 до 250 включ. " 250 " 1000 " |
500 1500 2500 |
Если для комплектующих изделий конкретного типа указано меньшее испытательное напряжение, то испытательным напряжением цепи считают номинальное напряжение, указанное в стандартах и технических условиях на эти изделия.
2.5.10. Изоляция вторичной цепи аппаратов должна выдерживать воздействие испытательного напряжения, указанное в табл. 9.
2.5.11. Двери шкафов и стоек, в которых находятся доступные для прикосновения токоведущие цепи напряжением св. 42 В и которые открываются без применения специальных инструментов, должны иметь блокировку, отключающую напряжение питания при открывании шкафа или стойки.
Повторное включение аппарата должно выполняться только с пульта управления после закрывания двери.
Если в шкафах, стойках после отключения питания остаются под напряжением доступные для прикосновения токоведущие цепи, то двери этих шкафов должны открываться только с помощью специального инструмента.
2.5.12. Аппараты должны иметь устройства экстренного отключения напряжения питания.
Таблица 9
|
Части аппаратов |
Испытательное напряжение, % от номинального напряжения аппарата | |
|
в ненагретом состоянии |
в нагретом состоянии | |
|
1. Вторичная цепь (с рентгеновской трубкой) аппаратов всех типов |
- |
110 |
|
2. Генераторное устройство, кроме моноблочного рентгеновского излучателя (без рентгеновской трубки) |
125 |
- |
|
3. Рентгеновский излучатель моноблочного типа (без рентгеновской трубки) |
120 |
- |
|
4. Защитный кожух рентгеновского излучателя (без рентгеновской трубки), включая кабели на напряжение св. 30 кВ, аппаратов всех типов |
115 |
- |
|
5. Трансформатор анодного напряжения рентгеновской трубки и трансформатор накала рентгеновской трубки аппаратов всех типов |
135 |
- |
В передвижных, переносных аппаратах и аппаратах номинальной потребляемой мощностью до 4 кВ·А в качестве устройства экстренного отключения напряжения питания может использоваться вилка кабеля питания.
2.6. Требования к механической безопасности
2.6.1. Аппараты, которые не предназначены для обязательного крепления к частям здания, должны обладать устойчивостью во всех рабочих положениях.
Аппараты не должны опрокидываться при отклонении от вертикали на угол 10°. Передвижные аппараты должны сохранять положение устойчивого равновесия во время транспортирования при наклоне основания на 15° при самом неблагоприятном положении перемещающихся частей, если в сопроводительных документах не указано особое положение при транспортировании.
2.6.2. Подвижные части штативов рентгенодиагностических аппаратов, снабженные приводами, должны иметь ограничители или блокировки, ограничивающие силу возможного нажима на пациента или персонал до 300 Н. Перечень перемещений и значения усилий возможного нажима устанавливаются в технических условиях на аппараты конкретного типа. При превышении установленного усилия нажима дальнейшее перемещение подвижных частей должно прекращаться.
2.6.3. Подвижные части рентгеновских штативов не должны самопроизвольно смещаться в процессе проведения процедур.
2.6.4. Путь торможения подвижных частей рентгеновских штативов, способных травмировать пациента или обслуживающий персонал при обрыве одного гибкого грузонесущего элемента (троса, цепи и т.д.), не должен быть более 50 мм.
2.6.5. В излучателях, в которых в процессе хранения, транспортирования или эксплуатации могут возникнуть недопустимые повышенные давления, должны быть предусмотрены приспособления для выравнивания давления.
2.6.6. Температура доступных для прикосновения внешних поверхностей аппарата не должна превышать температуры окружающей среды более:
25°С - для металлических рукояток управления;
45°С - для рукояток управления из изоляционных материалов;
60°С - для прочих внешних частей, к которым не предусмотрено прикосновение во время процедур.
2.6.7. Допустимая температура частей рентгеновских трубок, вводимых в полость тела человека, должна быть установлена в технических условиях на аппараты конкретного типа.
2.7. Санитарные требования
2.7.1. Поворотные столы-штативы рентгенодиагностических аппаратов с экрано-снимочными устройствами должны иметь приспособление для защиты врача от капельных выделений из дыхательных путей пациента, прилегающее к кромке экрано-снимочного устройства.
Приспособление должно быть прозрачным за пределами защитного поля от рассеянного излучения (см. черт. 1).
2.7.2. Наружные поверхности аппаратов должны быть устойчивы к многократной влажной санитарной обработке с применением моющих средств и к обработке дезинфицирующими растворами.
2.7.3. Флюоресцирующие рентгеновские экраны для просвечивания должны закрываться непрозрачными шторками или чехлами.
2.7.4. Стационарные рентгенодиагностические аппараты, предназначенные для работы в операционных, должны иметь крепление к полу, исключающее попадание жидкостей под основание аппарата.
2.7.5. Сменные тубусы и наконечники рентгеновских трубок аппаратов, вводимые в полости тела человека, должны быть устойчивы к дезинфекции кипячением.
2.7.6. Защитные приспособления из просвинцованной резины, входящие в комплект аппарата, не должны загрязнять свинцом рабочие поверхности, а также тело и одежду пациента и обслуживающего персонала.
2.8. Эквивалентные уровни звука или звукового давления, создаваемые аппаратом, должны быть указаны в технических условиях на аппараты конкретного типа согласно "Санитарным нормам допустимого шума, создаваемого изделиями медицинской техники в помещениях лечебно-профилактических учреждений" N 3057-84, утвержденным зам. Главного государственного санитарного врача СССР.
Эквивалентные уровни звука или звукового давления, создаваемые аппаратами, предназначенными для эксплуатации вне лечебно-профилактических учреждений, - по ГОСТ 12.1.003-83.
2.9. Для световой сигнализации должны применяться следующие цвета:
зеленый - для обозначения готовности аппарата к включению анодного напряжения;
оранжевый или желтый - для обозначения включенного анодного напряжения.
Требование не распространяется на аппараты, разработанные до 01.07.88.
Цвета световой сигнализации, дающие дополнительную информацию о работе аппарата, должны быть установлены в технических условиях на аппараты конкретного типа.
2.10. Для аппаратов, предназначенных для работы в операционных залах и других взрывоопасных средах, требования по взрывозащищенности устанавливаются в технических условиях на аппараты конкретного типа.
Разд. 2. (Измененная редакция, Изм. N 2).
Приложение 1
Справочное
|
Термин |
Пояснение |
|
Первичная цепь рентгеновского аппарата. Первичная цепь |
Силовая цепь аппарата, электрически связывающая источник электрической энергии (сеть) с первичной обмоткой генераторного устройства (трансформатора, преобразователя) |
|
Вторичная цепь рентгеновского аппарата. Вторичная цепь |
Силовая цепь аппарата, электрически связанная со вторичной обмоткой трансформатора напряжения анода рентгеновской трубки |
|
Главная цепь рентгеновского аппарата. Главная цепь |
Силовая цепь аппарата, связывающая источник электрической энергии (сеть) с рентгеновской трубкой |
|
Нормальный режим работы рентгеновского аппарата |
Режим работы по ГОСТ 18311-80, для которого аппарат предназначен изготовителем |
|
Уставка (напряжения, тока, времени и др.) |
Заранее устанавливаемое значение напряжения, тока, времени и др. |
|
Анодное напряжение |
Амплитудное значение напряжения между анодом и катодом рентгеновской трубки |
|
Анодный ток |
Среднее значение анодного тока рентгеновской трубки |
|
Повторно-кратковременный режим работы рентгеновского аппарата |
Определение - по ГОСТ 25272-82 |
|
Кратковременный режим работы рентгеновского аппарата |
Определение - по ГОСТ 25272-82 |
|
Рентгеновское питающее устройство |
Определение - по ГОСТ 25272-82 |
|
Световой указатель поля облучения |
Устройство для визуализации пучком света размеров поля, подлежащего облучению |
|
Фантом |
Объект, имеющий в основном такие же свойства, как тело человека в отношении поглощения или рассеяния рентгеновского излучения |
|
Универсальный рентгеновский аппарат |
Рентгеновский аппарат, в котором предусмотрены режимы рентгенографии, рентгеноскопии и выполнение прицельных снимков при непосредственном контакте рентгенолога и пациента |
|
Дистатор |
Приспособление для увеличения расстояния от фокуса до приемника рентгеновского излучения путем перемещения излучателя |
|
Слой половинного ослабления |
Толщина определенного материала, ослабляющего в геометрии узкого пучка рентгеновское излучение с данной энергией или с данным спектром, так, что мощность дозы уменьшается до половины значения, измеренного при отсутствии материала |
|
Устройство экстренного отключения |
Устройство, полностью отключающее рентгеновский аппарат от питающей сети или отключающее все цепи питания рентгеновского аппарата (штатива) от питающей сети, за исключением цепей включения аппарата (штатива) и цепей адаптационного освещения |
(Измененная редакция, Изм. N 2).
Приложение 2
Справочное
Для W = 2000 мА·мин/неделя.
1. При Iф = 40 мА, номинальном значении напряжения 100 кВ и Pф = 30 мР/ч = 0, 5 мР/мин.
=25 мР/неделю.
2. При Qф = 120 мА·с = 2, 0 мА·мин, получаем Dф =0, 01 мР;
10 мР/неделю,
т.е. расчетные недельные дозы не превышают предельно допустимого значения - 100 мР/неделю.
Приложение 3
Справочное
1. Анодные токи Iизм, при которых должны производиться измерения, определяют по формуле
,
где W - рабочая нагрузка по табл. 5;
Т - длительность работы персонала за неделю.
Для T = 2000 мин/неделю значения Iизм приведены в табл. 10.
Таблица 10
|
Рабочая нагрузка W, мА·мин/неделя |
Анодный ток Iизм, мА, |
|
4000 |
2, 0 |
|
2000 |
1, 0 |
|
1000 |
0, 5 |
|
400 |
0, 2 |
|
200 |
0, 1 |
|
2000·Iном |
Iном |
При значениях токов, указанных в табл. 10, мощность дозы излучения от рентгеновского излучателя не должна превышать значений, указанных в п. 2.4.2 (табл. 6).
1.1. При использовании других значений токов рентгеновской трубки Iф значения мощности дозы излучения Pф от рентгеновского излучателя должны быть пересчитаны по следующей формуле
;
для W=4000 мА·мин/неделя, Iизм =2, 0 мА.
При Iф =1 мА и Pф =40 мР/ч
=80 мР/ч.
1.2. При работе в снимочном режиме результаты измерений Dф и Qф должны быть пересчитаны по следующей формуле
.
При Dф = 0, 6 мР, Iизм=2, 0 мА, Qф=120 мА·с
= 0, 01 мР/с или Р = 0, 01·3600= 36 мР/ч.
Расчетные значения мощности дозы излучения Р по пп. 1.1 и 1.2 не превышают предельно допустимые значения по табл. 6.
Приложения 2, 3. (Введены дополнительно, Изм. N 2).


