Утв. Постановлением Государственного комитета СССР по стандартам от 31 мая 1982 г. N 2206
Межгосударственный стандарт ГОСТ 21560.2-82
"УДОБРЕНИЯ МИНЕРАЛЬНЫЕ. МЕТОД ОПРЕДЕЛЕНИЯ СТАТИЧЕСКОЙ ПРОЧНОСТИ ГРАНУЛ"
Mineral fertilizers. Method for determination of granules static strength
Дата введения - 1 января 1983 г.
Взамен ГОСТ 21560.2-76
Ограничение срока действия снято по протоколу N 3-93
Межгосударственного совета по стандартизации,
метрологии и сертификации (ИУС 5-6-93)
Настоящий стандарт распространяется на гранулированные минеральные удобрения и устанавливает метод определения статической прочности гранул.
(Измененная редакция, Изм. N 1).
1. Сущность метода
1.1. Метод основан на определении предельной силы, необходимой для разрушения гранул испытуемой фракции при одноосном сжатии между двумя параллельными плоскостями.
2. Отбор проб
2.1. Отбор и подготовку проб проводят по ГОСТ 21560.0-82.
3. Аппаратура
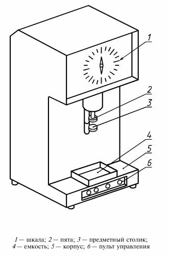
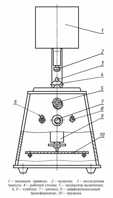
Прибор для определения статической прочности гранул типа ИПГ-1 (черт. 1) или типа ОСПГ-1М (черт. 2), или типа МИП-10-1 (черт. 3), или другие аналогичные приборы, имеющие диапазон измерений прочности от 0, 1 до 10 МПа (или от 1 до 100 кг/см2), с относительной погрешностью не более ±4% и скоростью перемещения рабочего столика от 0, 8 до 1, 0 мм/с.
"Черт. 1"
"Черт. 2"
Скорость перемещения рабочего столика допускается устанавливать в стандарте на конкретный вид удобрения.
Механический встряхиватель (ситовой анализатор) или аналогичное устройство для рассева с амплитудой колебания вибростенда от 1, 5 до 3, 0 мм и частотой колебания от 2, 6 до 50 Гц (от 157 до 3000 колебаний в минуту).
Допускается применение устройств для рассева с другой амплитудой колебания вибростенда.
Сита из решетных полотен с круглыми отверстиями типа 1 N 20, 30 или с квадратными отверстиями. Применение сит с квадратными отверстиями устанавливается в нормативном документе на конкретный продукт.
Стаканчики для взвешивания по ГОСТ 25336-82.
(Измененная редакция, Изм. N 1, 2).
Устройство для определения статической прочности гранул МИП-10-1
"Черт. 3*"
4. Проведение испытания
На механическом встряхивателе (ситовом анализаторе), либо аналогичном устройстве для рассева или вручную выделяют фракцию с гранулами диаметром от 2 до 3 мм или фракцию, размер гранул которой задан в нормативном документе на конкретный вид удобрения. Погрешность определения размера гранул ±0, 1 мм.
Допускается другую погрешность измерения размера гранул устанавливать в стандарте на конкретный вид удобрения.
Допускается для определения статической прочности гранул отбирать гранулы среднего диаметра основной фракции без контроля погрешности измерения размера гранул.
Отбирают пинцетом 20 гранул по форме, наиболее приближающихся к сферической, и помещают в плотно закрывающийся стаканчик для взвешивания, чтобы влажность гранул в процессе испытания не изменялась. Все гранулы последовательно одна за другой разрушают на устройстве и по шкале измеряют силу.
(Измененная редакция, Изм. N 1, 2).
5. Обработка результатов
5.1. Статическую прочность гранул (X) в МПа вычисляют по формуле

,
где Pi - сила, необходимая для разрушения одной гранулы, Н;
S - площадь поперечного сечения гранулы, см2;
dcp - средний диаметр гранул, условно определяемый среднеарифметическим значением диаметра гранул основной фракции, указываемой в стандартах на конкретный вид удобрения, см.
(Измененная редакция, Изм. N 1).
5.1а. При измерении силы, необходимой для разрушения одной гранулы, в килограмм-силах (кгс) статическую прочность гранул в мегапаскалях (МПа) вычисляют по формуле, приведенной в п. 5.1, с заменой коэффициента 64·10-5 на коэффициент 63·10-4.
(Введен дополнительно, Изм. N 1).
5.2. Для представления результатов испытания в кгс/см2, результат, полученный по формуле, умножают на 10, 2.
Результаты испытания в МПа округляют до десятых долей, а в кгс/см2 - до целых чисел.
Допускается прочность гранул выражать в килограмм-силах на гранулу или в ньютонах на гранулу как среднеарифметическое двадцати отдельных результатов измерений.
Результаты испытаний в килограмм-силах на гранулу округляют до десятых долей, а в ньютонах на гранулу - до целых чисел.
(Измененная редакция, Изм. N 1).
5.3 Результаты испытаний, полученные в условиях пластической деформации гранул (расплющивание), из обработки исключают. Проводят дополнительные испытания с тем, чтобы общее количество взятых для испытания гранул было равно 20.
(Введен дополнительно, Изм. N 2).
___________
* Черт. 4. (Исключен, Изм. N 2).