электронный сборник нормативных документов по строительству
Обновления
18.04.2026 15:42
электронный сборник нормативных документов по строительству

ГОСТ 22401-83 ВОРОТКИ РАЗДВИЖНЫЕ. ОСНОВНЫЕ РАЗМЕРЫ

Введен в действие постановлением Госстандарта СССР от 19 января 1983 г. N 238
Государственный стандарт Союза ССР ГОСТ 22401-83
"ВОРОТКИ РАЗДВИЖНЫЕ. ОСНОВНЫЕ РАЗМЕРЫ"

Adjus table tap wrenches. Basic dimensions

Срок действия с 1 января 1984 г.

Взамен ГОСТ 22401-77

1. Настоящий стандарт распространяется на раздвижные воротки для инструмента с квадратами на хвостовиках по ГОСТ 9523-67 с размерами сторон квадрата от 1, 8 до 45, 0 мм.

2. Основные размеры воротков должны соответствовать указанным на чертеже и в таблице.

image001.gif

image002.gif

Примечание. Чертеж не определяет конструкцию воротков.

мм

Обозначение воротка

Применяемость

Размер стороны квадрата а

b

b_1

h

l

h_1 (пред. откл. +-1)

6910-0065

От 1, 8 до 4

1, 27

-

6

134

12

6910-0067

От 1, 8 до 4

1, 27

-

10

220

18

От 3, 55 до 8

-

2, 5

6910-0069

От 3, 55 до 8

2, 5

-

20

340

36

От 7, 1 до 16

-

5, 0

6910-0077

От 7, 1 до 16

5, 0

-

24

520

56

От 16 до 25

-

11, 3

6910-0079

От 16 до 25

11, 3

-

38

800

88

От 25 до 45

-

17, 6

Пример условного обозначения воротка с размером стороны квадрата а от 3, 55 до 8 мм, длиной l = 340 мм:

Вороток 6910-0069 ГОСТ 22401-83

                                                                                              I х T х 16
3. Неуказанные предельные отклонения размеров +-──────────.
                                                                                                     2

4. Конструктивные размеры деталей воротков указаны в рекомендуемом приложении.

Приложение

Рекомендуемое

Конструктивные размеры деталей раздвижных воротков
1. Призма (черт. 1, табл. 1)
image003.gif

Таблица 1

мм

Размеры стороны квадрата а

l

b

h

h_1

d (пред. откл. по Н7)

d_1 (пред. откл. пo H14)

с

От 1, 8 до 4

10

6

20

6

М4

4, 5

0, 4

От 1, 8 до 4

13

10

29

9

М6

6, 5

0, 4

От 3, 55 до 8

От 3, 55 до 8

25

20

56

18

М12

13, 0

1

От 7, 1 до 16

От 7, 1 до 16

40

24

82

28

М16

17

1, 6

От 16 до 25

От 16 до 25

55

38

118

44

М20

21

2

От 25 до 45

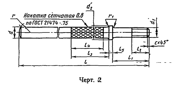
2. Ручка (черт. 2, табл. 2)
image004.gif

Таблица 2

мм

Размер стороны квадрата а

l

l_1

l_2

l_3

l_4

l_5

d

(пред.

откл.

h14)

d_1 (пред.

откл. 8 х q)

d_2

r (пред. откл. +-(I х T х 15)/

2

r_1

с

От 1, 8 до 4

75

8

10

25

20

2

5

М4

7

6

0, 2

0, 5

От 1, 8 до 4

120

23

15

35

30

3

8

М6

9

0, 3

1

От 3, 55 до 8

От 3, 55 до 8

195

50

26

85

80

4

13

М12

16

13

0, 5

1, 6

От 7, 1 до 16

От 7, 1 до 16

300

80

40

100

90

6

18

М16

20

18

1

2

От 16 до 25

От 16 до 25

450

105

60

120

110

8

22

М20

25

22

1, 5

2, 5

От 25 до 45

Примечание к табл. 1, 2. Неуказанные предельные отклонения размеров

          I х T х 16
- +-──────────.
                 2

Яндекс.Метрика