ГОСТ 21015-88 МЕСТА КРЕПЛЕНИЯ РЕМНЕЙ БЕЗОПАСНОСТИ ЛЕГКОВЫХ, ГРУЗОВЫХ АВТОМОБИЛЕЙ И АВТОБУСОВ. ОБЩИЕ ТЕХНИЧЕСКИЕ ТРЕБОВАНИЯ И МЕТОДЫ ИСПЫТАНИЙ
Сагs, trucks and buses. Safety belt anchorages. General technical requirements and methods of tests
Несоблюдение стандарта преследуется по закону
Настоящий стандарт распространяется на места крепления ремней безопасности (далее РБ), предназначенных для водителей и взрослых пассажиров легковых, грузовых автомобилей и автобусов (далее автомобилей), сидящих лицом как в направлении движения автомобиля, так и против движения. Автобусы, на места крепления РБ которых распространяется настоящий стандарт, должны иметь полную массу до 3, 5 т.
Пояснения терминов, применяемых в настоящем стандарте, приведены в приложении 1.
1.1. Общие требования к местам крепления РБ
1.1.1. Автомобили, на которые распространяется данный стандарт, должны быть оснащены РБ или другими защитными системами по ГОСТ 18837-82.
1.1.2. Места крепления РБ в автомобиле должны быть оборудованы на всех посадочных местах, предназначенных для взрослых пассажиров и водителя, за исключением мест, указанных в п. 1.2.4.
Для автобусов места крепления РБ должны быть предусмотрены только на сиденьях переднего ряда.
1.1.3. Места крепления РБ должны быть сконструированы и расположены таким образом, чтобы обеспечивались:
возможность установки соответствующего типа РБ, в том числе и для боковых посадочных мест переднего ряда сидений РБ, оснащенных втягивающим устройством с направляющим кронштейном;
Примечание:
Если места крепления рассчитаны на определенные модели РБ и изготавливается автомобиль, оборудованный этими моделями РБ, то условия применения указанных моделей РБ должны быть указаны в руководстве по эксплуатации и технических условиях на автомобиль.
снижение возможности повреждения или перетирания лямки РБ в результате контакта с острыми жесткими частями автомобиля или каркаса сиденья;
эффективное действие РБ (защитной системы) по снижению вероятности и тяжести травмирования пользователя при дорожно-транспортных происшествиях (ДТП);
удобство посадки-высадки пассажиров, в том числе и у 2-дверных легковых автомобилей.
1.1.4. Места крепления РБ должны обеспечивать установку или замену РБ без применения специального инструмента и без каких-либо повреждений РБ или мест его крепления. Места крепления должны иметь крепежные отверстия с резьбой 7/16"-20UNF-2B, параметры которой приведены в приложении 2. При изготовлении автомобили с РБ (защитными системами), устанавливаемыми непосредственно на изготовителе, может применяться другое крепление, если оно удовлетворяет всем остальным требованиям настоящего стандарта.
1.1.5. Если автомобиль оборудуется местами крепления РБ, способными занимать различные положения при удержании пользователя и при его посадке в автомобиль, то требования настоящего стандарта касаются эффективных точек крепления РБ.
1.2. Количество мест крепления РБ
1.2.1. Для всех посадочных мест передних сидений автомобилей категории M1, N и M2 должны быть предусмотрены два нижних и одно верхнее место крепления РБ.
Для среднего посадочного места переднего сиденья допускается только два нижних места крепления, если ветровое стекло расположено за пределами зоны возможного удара головой.
1.2.2. Для всех боковых посадочных мест сидений автомобилей категории M1 должны быть предусмотрены два нижних и одно верхнее место крепления РБ.
Примечание.
Для специальных автомобилей, при движении которых на рабочих местах выполняются работы, количество мест крепления РБ устанавливается по согласованию с заказчиком.
1.2.3. Для всех остальных посадочных мест сидений автомобилей категории M1 и для незащищенных посадочных мест сидений автомобилей категории N должны быть предусмотрены, как минимум, два нижних места крепления РБ.
1.2.4. Для посадочных мест откидных сидений, а также тех посадочных мест сидений автомобилей категории N и M2, которые не указаны в пп. 1.2.1 - 1.2.3, не требуется наличия каких-либо креплений РБ. Если автомобили оборудованы местами крепления РБ для этих посадочных мест сидений, то эти места крепления должны соответствовать требованиям настоящего стандарта.
1.2.5. Для каждого посадочного места любого сиденья может быть применено любое количество дополнительных мест крепления защитной системы сверх указанных в пп. 1.2.1 - 1.2.4.
1.3. Геометрические параметры расположения мест крепления РБ
1.3.1. Общие требования
Места крепления РБ могут располагаться либо на кузове (кабине) автомобиля, либо на каркасе сиденья, либо на любой другой части автомобиля.
Одно и то же место для крепления РБ может использоваться для крепления двух смежных РБ при условии соответствия требованиям настоящего стандарта.
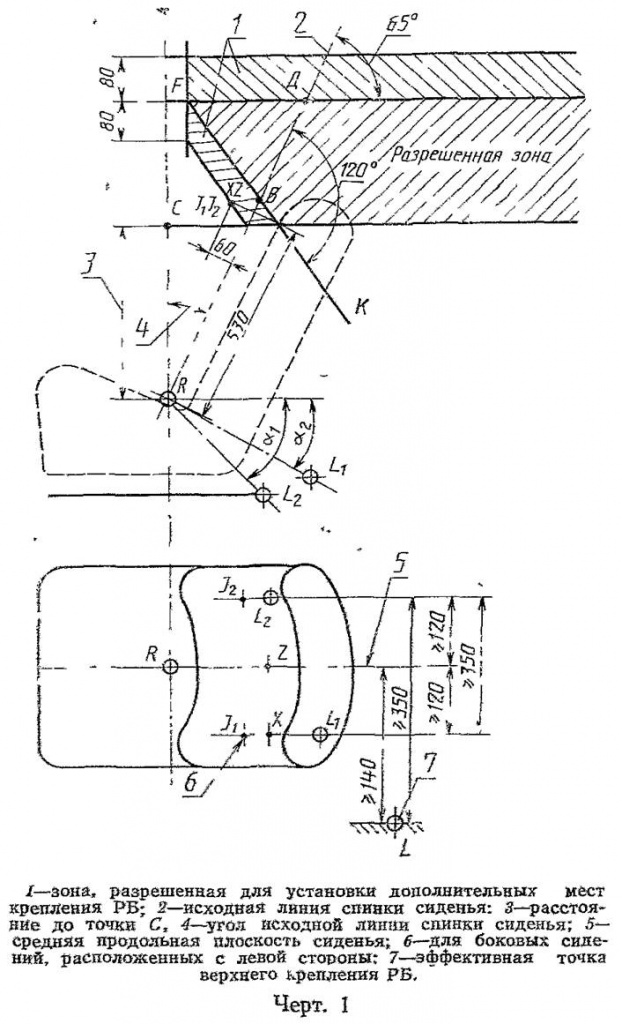
Требования к геометрическим параметрам расположения мест крепления РБ относятся к эффективным точкам крепления РБ и приведены на черт. 1.
1.3.2. Положение эффективных точек L1 и L2 нижних креплений РБ.
1.3.2.1. Углы α1 и α2 должны иметь значения в пределах 30 - 80° при всех положениях нормального использования сиденья, допускаемых его регулировкой. Если один из углов α1 или α2 для передних регулируемых сидений автомобилей является постоянным при всех положениях нормального использования сиденья, то его величина должна составлять (60±10)°. Эта же величина углов α1 и α2 рекомендуется как оптимальная и для других сидений.
Примечание.
Для задних сидений и сидений, оснащенных системой регулирования, угол спинки которых составляет менее 20°, углы α1 и α2 могут быть меньше допустимых, однако они должны быть не менее 20° во всех положениях нормального использования сиденья.
1.3.2.2. Расстояние между двумя вертикальными плоскостями, параллельными средней продольной плоскости автомобиля, каждая из которых проходит через одну из двух нижних эффективных точек крепления (L1 и L2) одного и того же РБ, должно быть не менее 350 мм. Средняя продольная плоскость сиденья должна проходить между точками L1 и L2 на расстоянии не менее 120 мм от этих точек.
1.3.3. Положение эффективной точки L верхнего крепления РБ
1.3.3.1. Эффективная точка верхнего крепления РБ должна находиться под плоскостью FN, перпендикулярной средней продольной плоскости сиденья и образующей угол в 65° с исходной линией спинки сиденья. Для заднего сиденья этот угол может быть уменьшен до 60°. Плоскость FN должна пересекать исходную линию в точке D так, чтобы DR=315 мм +1, 8 S, однако, если S≤200 мм, то DR=675 мм.
1.3.3.2. Эффективная точка верхнего крепления РБ должна находиться за плоскостью FK, перпендикулярной средней продольной плоскости сиденья и пересекающей исходную линию спинки сиденья под углом 120° в точке В таким образом, чтобы BR=260 мм +S.

Если S≥280 мм, то изготовитель может использовать по своему усмотрению зависимость BR=260 мм+0, 8S.
1.3.3.3. Величина S должна быть не менее 140 мм.
1.3.3.4. Эффективная точка верхнего крепления РБ должна располагаться позади вертикальной плоскости, перпендикулярной средней продольной плоскости автомобиля и проходящей через точку R.
1.3.3.5. Эффективная точка верхнего крепления ремня должна располагаться над горизонтальной плоскостью, проходящей через точку С.
Расстояние между точками С и R должно быть 450 мм. Однако, если расстояние S, определенное в п. 1.3.3.3, превышает 280 мм и если изготовитель использует другую возможную зависимость (BR=260+0, 8S), приведенную в п. 1.3.3.2, то расстояние по вертикали между точками С и R должно составлять 500 мм.
1.3.3.6. Кроме эффективных точек верхнего крепления РБ, указанных в п. 1.3.3, могут быть предусмотрены дополнительные места крепления РБ, если они отвечают одному из следующих условий:
1) соответствуют требованиям пп. 1.3.3.1 - 1.3.3.5 и могут использоваться без применения инструментов и располагаются в одной из зон, определенных путем перемещения зоны, указанной на черт. 1, на 80 мм вверх или вниз в вертикальном направлении;
2) дополнительные места крепления двухплечевых РБ должны иметь эффективную точку верхнего крепления выше точки С, если они располагаются сзади поперечной плоскости, проходящей через исходную линию спинки сиденья, и расположены следующим образом:
в случае наличия одного места крепления - в зоне, общей для двух двугранных углов, ограниченных вертикальными плоскостями, которые проходят через точки I1 в I2 и горизонтальные проекции которых показаны на черт. 2;
в случае наличия двух мест крепления - в одном из соответствующих двугранных углов, определенных выше, при условии, что ни одно из мест крепления не располагается на расстоянии более 50 мм от точки симметрии, расположенной против другого места крепления по отношению к плоскости Р рассматриваемого сиденья.
1.4. Прочность мест крепления РБ
1.4.1. Места крепления РБ должны выдерживать следующие нагрузки:
1) при испытании по схеме диагонально-поясного РБ независимо от типа втягивающего устройства - 13560 Н ± 200 Н на каждую ветвь РБ для автомобилей категории M1, N1 и M2; 6750 Н ± 200 Н на каждую ветвь РБ для автомобилей категории N2 и N3;
2) при испытании по схеме поясного РБ – 22200 Н ± 400 Н для автомобилей категории M1 и N1 и 11100 Н+-200 Н для автомобилей категорий N2 и N3.

1.4.2. Если места крепления РБ находятся на сиденье или распределены между сиденьем и кузовом (кабиной), то кроме вышеуказанных нагрузок к сиденью должно быть приложено дополнительное усилие, равное 20-кратному весу сиденья в сборе для автомобилей категории M1, N1 и M2 и 10-кратному весу сиденья для автомобилей категории N2 и N3.
1.4.3. Места крепления РБ должны выдерживать испытательную нагрузку, прилагаемую кратковременно, в течение не менее 0, 2 с.
1.5. Антикоррозионная защита мест крепления РБ
Места крепления РБ и прилегающие к ним поверхности конструкции кузова, (кабины), влияющие на прочность мест крепления РБ, должны быть защищены от коррозии. При этом закрашивание (или покрытие мастикой) резьбовых отверстий не допускается.
2.1. Общие положения
2.1.1. Контроль соответствия автомобилей требованиям настоящего стандарта осуществляется при доводочных, предварительных, приемочных испытаниях и на образцах установочной серии.
Ежегодно должна проводиться проверка размеров, применяемых материалов и технологии изготовления мест крепления РБ на соответствие технической документации.
2.1.2. Количество объектов испытаний должно устанавливаться программой испытаний, но при приемочных испытаниях должно быть не менее двух образцов автомобиля (кузова, кабины).
2.1.3. Испытаниям должен подвергаться автомобиль или крашеный кузов (кабина) (с обивкой, дверями, замками дверей, сиденьями и ремнями безопасности), соответствующий ТУ изготовителя в части конструкции мест крепления РБ.
2.1.4. Вместе с автомобилем, передаваемым для проведения испытаний, представляются:
чертежи кузова автомобиля с указанием расположения мест крепления РБ и особенностей их конструкции, режима и технологии изготовления (сварки);
координаты точки R всех посадочных мест для сидения;
техническое описание мест крепления РБ и примененного изготовителем способа защиты их от коррозии (если места крепления РБ располагаются на сиденье, то дополнительно представляются подробные чертежи сидений, их креплений к автомобилю и систем регулирования, перемещения и блокировки сидений);
руководство по эксплуатации и монтажу ремней безопасности;
руководство по эксплуатации автомобиля с указанием типов и моделей РБ, применение которых допускается на данном автомобиле (для каждого посадочного места сиденья в соответствии с условными обозначениями, указанными в обязательном приложении 3);
сведения о порядке оснащения на изготовителе выпускаемых автомобилей ремнями безопасности (защитными системами), соответствующими ГОСТ 18837-82;
показатели массы автомобиля и кузова.
2.2. Контрольно-измерительная аппаратура и оборудование
2.2.1. Аппаратура и инструмент, применяемые при испытаниях мест крепления РБ, должны обеспечить измерение:
силы в интервале 1000 - 25000 Н с погрешностью не более 1, 5% от измеряемой величины;
времени с погрешностью не более 0, 005 с за период 0, 1 с.
Все средства измерений должны быть исправны, удовлетворять предъявляемым к ним требованиям и иметь действующие сроки метрологической поверки.
2.2.2. Для проведения испытаний мест крепления РБ необходимо следующее оборудование и аппаратура:
мерительная площадка с размерами, достаточными для обмеров автомобиля (кузова) и размещения мерительного оборудования (негоризонтальность не более 2, 5 мм на метр длины);
трехкоординатное измерительное устройство для измерения внутренних размеров автомобиля иди комплект инструментов для линейных и угловых измерений (линейки 0 - 1000 мм, 0 - 500 мм, штангенрейсмас, отвес, угломер);
манекен посадочный по ГОСТ 20304-85;
стенд с нагружающими устройствами (число нагружающих устройств, достаточное для одновременного нагружения всех мест крепления РБ одного ряда сидений; усилие, развиваемое каждым устройством, 0 - 28000 Н; ход, достаточный для нагружения мест крепления РБ нормируемыми нагрузками и жестким устройством для закрепления объекта испытаний (рекомендуемые длина не менее 6000 мм, ширина не менее 3000 мм);
приспособление для определения "зоны возможного удара головой";
комплект контрольно-измерительной аппаратуры для измерения силы (число измерительных устройств по числу нагружающих элементов) и времени.
2.3. Испытания проводятся в помещении при температуре воздуха (20±15)°С, давлении (1013±40) гПа, относительной влажности (75±20)%.
2.4. Приемка объектов испытаний, техническая экспертиза для определения соответствия представленных образцов конструкторской и нормативно-технической документации, определение категории автомобиля в соответствии с принятой классификацией производится на основе представленной документации, результатов обмеров и взвешивания автомобиля.
2.5. Количество мест крепления РБ для каждого посадочного места для сидения и возможность правильного монтажа требуемых типов или моделей РБ определяют визуально.
Таким методом проверяют отсутствие контакта РБ с острыми или жесткими частями сиденья или кузова (кабины), которые в процессе эксплуатации могут повредить или способствовать истиранию частей РБ при их нормальном применении. При наличии соприкасающихся с РБ жестких деталей автомобиля их радиусы скруглений (определяемые замером) должны быть не менее 2, 5 мм.
2.6. Координаты точки Н и фактического угла наклона спинки и сравнение их с координатами точки R сиденья и конструктивным углом наклона спинки, заданных в технической документации изготовителя, определяют методом линейных и угловых измерений с использованием трехмерного посадочного манекена по методике, изложенной в ГОСТ 20304-85.
Координаты точки Н должны укладываться в квадрат со стороной 50 мм с пересечением диагоналей в точке R сиденья и одной стороны квадрата, расположенной горизонтально. Фактический угол наклона спинки сиденья не должен отличаться от конструктивного более чем на 5°.
При неудовлетворительных результатах определения координат точки Н и фактического угла наклона спинки или непредставления этих данных изготовителем дальнейшие испытания проводятся по фактически полученным измерениям. При этом за координаты точки Н принимаются средние арифметические значения величин координат по трем определениям фактической точки Н или угла наклона спинки.
2.7. Геометрические параметры расположения мест крепления РБ определяют путем проведения линейных и угловых измерений с дальнейшим нанесением их на масштабную схему с указанием фактического расположения и допустимых зон расположения мест крепления РБ.
Автомобиль (кузов) при проведении замеров должен выставляться на мерительной площадке на регулируемых подставках по указанию изготовителя. Если такие указания отсутствуют, то кузов выставляется по порогам (для автомобилей категории M1) или раме (для автомобилей категории N) в том положении, которое они занимали при определении точки Н относительно опорной поверхности мерительной площадки.
В случае использования направляющего кронштейна ремня безопасности или аналогичного приспособления, которое оказывает влияние на положение эффективной точки верхнего крепления РБ, положение эффективной точки определяют по положению крепления. При этом центральная продольная линия лямки проходит через точку I1, положение которой последовательно определяют по точке R с помощью трех следующих отрезков:
RZ - отрезок исходной оси длиной 530 мм, измеряемый вверх от точки R;
ZX - отрезок длиной 120 мм, перпендикулярный средней продольной плоскости транспортного средства и измеряемый от точки Z в направлении крепления;
XI1 - отрезок длиной 60 мм, перпендикулярный плоскости, проходящей через отрезки RZ и ZX, и измеряемый от точки X по направлению к передней части.
Точка I2 расположена симметрично точке I1 по отношению к вертикальной продольной плоскости, проходящей через исходную линию спинки сиденья.
2.8. Наличие антикоррозионной защиты наружных и внутренних поверхностей, на которых расположены места крепления РБ и зон кузова (кабины), могущих оказывать влияние на прочность мест крепления, проверяют визуально с учетом представляемой изготовителем технической документации.
2.9. Прочностные свойства мест крепления РБ должны определяться по схемам нагружения с учетом места расположения сиденья.
2.9.1. Боковые посадочные места переднего ряда сидений должны испытываться:
по схеме диагонально-поясного РБ с креплением в трех точках, оснащенного втягивающим устройством с направляющим кронштейном в верхней точке крепления;
если в нижнем боковом месте крепления отсутствует втягивающее устройство или втягивающее устройство установлено в верхнем месте крепления или в каком-то дополнительном (четвертом и т.д.), то нижние места крепления РБ должны также подвергаться испытанию по схеме поясного РБ,
2.9.2. Боковые посадочные места любого ряда сидений (кроме переднего) и любые центральные посадочные места для сиденья должны испытываться:
по схеме диагонально-поясного РБ с креплением в трех точках без втягивающего устройства;
два нижних места крепления испытываются по схеме поясного РБ.
Если изготовитель автомобиля предусматривает РБ (с различными вариантами крепления втягивающих устройств, ранцевые и т.д.) или удерживающие системы, то места крепления для этих РБ должны дополнительно подвергаться испытанию, при котором усилия передаются на них с помощью устройств, воспроизводящих геометрию РБ, для которого эти места крепления предназначены. Методика этих дополнительных испытаний может быть оговорена в программе испытаний этих РБ. В этом случае при нагружении необходимо, чтобы конструкция автомобиля, поддерживающая диагональную лямку РБ, не опускалась ниже точки С.
Для всех посадочных мест, для которых предусмотрены только два нижних места крепления РБ, испытания проводятся по схеме поясного РБ.
2.10. Все места крепления ремней безопасности, относящиеся к одной группе сидений, должны испытываться одновременно.
Общее место крепления двух смежных РБ должно испытываться при суммарной нагрузке, соответствующей обоим типам РБ.
Определение прочностных свойств начинается с мест крепления РБ переднего ряда сидений, затем следующего ряда по всем предписуемым для данного автомобиля схемам нагружения. По требованию предприятия-изготовителя для каждой новой схемы нагружения может быть использован новый автомобиль или кузов (кабина).
Нагрузка на места крепления РБ должна передаваться от силонагружающего устройства через систему тросов (штанг) на специальные нагружающие блоки, имитирующие торс и таз человека в соответствии со схемой нагружения. При этом должны быть соблюдены минимальные расстояния между нижними эффективными точками крепления РБ, а также положение верхней эффективной точки крепления. Нагрузка на места крепления от специальных устройств должна передаваться через РБ. В случае его недостаточной прочности допускается применение тросов, при этом в верхней точке должен устанавливаться специальный ролик или направляющий кронштейн от штатного РБ. Длина лямок РБ или заменяющих их тросов должна соответствовать положению сиденья яра размещении на нем антропометрического манекена 50-го уровня репрезентативности.
При испытаниях должны быть смонтированы все переходные или и дополнительные детали, обычно применяемые при установке данного РБ (защитной системы) и влияющие на геометрию его расположения или прочность мест крепления РБ
Нагружающие блоки должны соответствовать обязательному приложению 4.
Автомобиль (кузов, кабина) фиксируется на основании стенда таким образом, чтобы не повышалась прочность и жесткость мест крепления ремней безопасности Фиксирующее устройство должно располагаться на расстоянии не менее 500 мм спереди от испытываемого места крепления и на расстоянии не менее 300 мм сзади от этого места крепления Кузов (кабину) необходимо устанавливать на опоры приблизительно на уровне осей колес или, если это невозможно, на уровне точек крепления подвески.
Для автомобилей категории N кабина (кузов) должна быть смонтирована на раме (части рамы) с помощью штатных элементов крепления. К основанию стенда крепление объекта испытаний осуществляется только за раму
Сиденья и механизмы их перемещения и блокировки должны быть смонтированы и установлены в положение, наиболее неблагоприятное с точки зрения прочности. Если угол между спинкой сиденья и подушкой регулируется, он должен составлять 25° для автомобилей категории M1 и 15° для автомобилей категории N и M2, если предприятие изготовитель не дает других рекомендаций. Положение сиденья и угол наклона спинки при испытаниях должны отмечаться в протоколе испытаний.
Двери автомобиля должны быть смонтированы и закрыты на штатный замок, но не заблокированы.
Если испытания проводятся на кузове (кабине), то допускается установка любых штатных узлов или агрегатов данного автомобиля, могущих повлиять на прочность мест крепления РБ.
Усилие, прикладываемое к местам крепления РБ, должно действовать вперед вверх в средней продольной плоскости сиденья под углом (10±5)° по отношению к порогам или раме автомобиля. Усилие должно прикладываться к каждому блоку, имитирующему торс и таз человека, под заданным углом.
Для прохождения нагружающих элементов тросов и блоков, в конструкции кузова (кабины) могут удаляться некоторые его элементы.
Допускается применение другого способа нагружения, если он дает эквивалентные результаты.
2.11. При проведении испытаний по оценке прочности мест крепления РБ значительная деформация мест крепления РБ и прилегающих зон кузова (кабины), появление трещин не считается неудовлетворительным результатом, если контрольная нагрузка выдержана в течение предписанного времени.
Смещение кабины (кузова) относительно рамы автомобилей категории N, приводящее к разрушению крепления кабины (кузова) к раме не допускается.
Двери, а также система блокировки и перемещения сидений, которые обычно используются для посадки водителя и пассажиров, после снятия нагрузки должны обеспечить эвакуацию из автомобиля всех пассажиров и водителя.
2.12. Оформление и оценка результатов испытаний
После всех видов испытаний оформляется протокол испытаний, который должен содержать результаты проверки соответствия общим свойствам мест крепления РБ, геометрических параметров их расположения, антикоррозионной защиты и результаты прочностных испытаний; обозначения разрешенных изготовителем к использованию типов РБ для каждого посадочного места должны указываться в соответствии с Приложением 3 (наноситься на схему автомобиля).
Приложение 1
Справочное
Место крепления РБ - элемент конструкции кузова (кабины) или какой-либо другой части автомобиля (например, каркаса сиденья), к которому крепится РБ
Взрослый пассажир - пассажир массой более 36 кг и возраст которого старше 12 лет
Эффективная точка верхнего (нижнего) крепления РБ - материальная точка, определяющая положение лямки РБ на теле пользователя в момент его удержания при столкновении для любого положения регулирования сиденья при его нормальном использовании
Примечания:
1. В случае, когда РБ содержит жесткую деталь, которая присоединяется к месту крепления РБ неподвижно или шарнирно, эффективной точкой крепления является точка пересечения центральной линии лямки с местом ее фактического крепления к этой жесткой детали.
2. Если используется направляющий кронштейн, эффективной точкой крепления является средняя точка направляющего кронштейна в том месте, где лямка выходит из него со стороны пользователя. Для определения положения лямки верхнего крепления должна использоваться дополнительная точка I1 как это определено в п. 3.4 настоящего стандарта. Для нижнего крепления - точка H.
Если лямка проходит непосредственно от пользователя к втягивающему устройству, прикрепленному к конструкции автомобиля без применения направляющего кронштейна, эффективной точкой крепления является пересечение центральной линии лямки с плоскостью, проходящей через ось катушки и линию фактического схода лямки с катушки втягивающего устройства.
Защищенное посадочное место сиденья - место для сиденья пассажира, для которого общая поверхность защитной зоны в пределах защитного пространства составляет не менее 800 см2. Под защитным пространством подразумевается пространство перед сиденьем, расположенное между двумя горизонтальными плоскостями, проходящими через точку Н и на 400 мм выше ее; между двумя вертикальными плоскостями, симметричными по отношению к точке Н и расположенными на расстоянии 400 мм друг от друга; до поперечной вертикальной плоскости, расположенной перед точкой Н на расстоянии 1, 3 м.
Под защитной зоной в какой-либо вертикальной поперечной плоскости подразумевается такая сплошная поверхность, на которой в защитном пространстве не будет ни одного проема, в который (может пройти сфера диаметром 165 мм, если ее спроектировать на эту поверхность в горизонтальном продольном направлении, проходящем через какую-либо точку этой зоны и через центр сферы.
Точка R - исходная точка данного сиденья, определяемая по ГОСТ 20304-85.
Точка H - фактическая исходная точка сиденья, определяемая до ГОСТ 20304-85.
Точка H1 - является исходной точкой сиденья, которая соответствует точке Н для каждого положения нормального использования сиденья.
Точка I1 (I2) - вспомогательные условные точки, служащие для фиксации положения лямки РБ относительно верхнего крепления РБ, если в нем применен направляющий кронштейн
Углы α1 и α2 - углы, образованные горизонтальной плоскостью и плоскостями, перпендикулярными к средней продольной плоскости автомобиля и проходящими через точку H и соответственно через L1 и L2.
Точка С - точка, расположенная на вертикали, проходящей через точку R.
Расстояние S - расстояние в мм от верхней эффективной точки крепления до исходной плоскости сиденья Р.
Исходная плоскость сиденья Р - вертикальная плоскость, параллельная средней продольной плоскости сиденья и проходящая через середину посадочного места. Если положение для сидения точно определяется формой сиденья, то плоскость Р является средней плоскостью этого сиденья. При отсутствии точного определения этого положения плоскостью Р для водителя является плоскость, проходящая через центр рулевого колеса, в его среднем положении (если это положение регулируется). Для пассажира рядом с водителем - плоскость, симметричная плоскости Р для водителя. Плоскость Р для бокового места на заднем сиденье устанавливается изготовителем с учетом того, что расстояние между средней продольной плоскостью автомобиля и плоскостью Р данного сиденья было не менее 200 мм для двухместного сиденья не менее 300 мм для трехместного.
Направляющий кронштейн лямки - приспособление или элемент конструкции, которое изменяет положение лямки в зависимости от положения пользователя РБ.
Сиденье - конструкция, включая каркас, обивку и другие элементы и предназначенная для размещения взрослого пассажира или водителя.
Примечание. Этот термин обозначает как индивидуальное сиденье, так и часть многоместного сиденья, соответствующую посадочному месту.
Многоместное сиденье - единая конструкция с обивкой, предназначенная для одновременного размещения на нем не менее двух пассажиров.
Ряд (группа) сидений - многоместное сиденье или раздельные сиденья, установленные рядом, т е. закрепленные так, что передние крепления одного из сидений находятся на уровне или между передним и задним креплением другого сиденья.
Откидное сиденье - вспомогательное сиденье, предназначенное для нерегулярного использования и обычно находящееся в сложенном виде.
Положения нормального использования сиденья - все возможные положения сиденья в пределах продольной, угловой регулировки и регулировки по высоте, разрешенные предприятием-изготовителем для управления или пользования автомобилем и удержания пользователя при ДТП. В число этих положений не входят положения сиденья, предусмотренные для образования спальных мест (мест для отдыха), а также положения, занимаемые сиденьем при посадке пассажиров.
Крепление сиденья - система крепления сиденья к конструкции автомобиля, включающая части, относящиеся к конструкции автомобиля.
Система регулирования сиденья - устройства, позволяющие регулировать сиденье или его элементы в положения, соответствующие пропорциям и телосложению сидящего человека.
Механизм перемещения сиденья - приспособление, обеспечивающее угловую или продольную регулировку без фиксированного промежуточного положения сиденья или одной из его частей (например, для посадки человека в автомобиль).
Блокирующее устройство сиденья - устройство, обеспечивающее фиксацию в любом положении использования сиденья и его частей и включающее механизмы для блокировка спинки сиденья относительно сиденья и сиденья относительного автомобиля.
Автомобили категории M1 и M2, N1, N2, N3 - определение по ГОСТ 22895-77
Манекен трехмерный посадочный - определение по ГОСТ 20304-85.
Ремень безопасности, двухплечевой ремень безопасности - определение по ГОСТ 18837-82.
Подныривание манекена - явление соскакивания поясной лямки РБ при удержании манекена с таза на область живота и приводящее к "сползанию" манекена с сиденья
Удерживающая система - система, состоящая из сиденья, прикрепленного надлежащим образом к конструкции транспортного средства, и ремня безопасности, по крайней мере один несъемный элемент для крепления которого расположен на каркасе сиденья.
Пользователь автомобилем - водитель или пассажир внутри автомобиля, закрепленный ремнем безопасности или другой защитной системой.
Зона возможного удара головой - геометрическое место точек контакта модели головы (шар диаметром 165 мм) с интерьером автомобиля при изменении расстояния от точки Н до верхней точки головы в пределах от 736 мм до 840 мм. Эта зона определяется при положениях сидения в точках Н и Н, соответствующей смещению сидения вперед по горизонтали на 127 мм и на 19 мм по высоте.
Приложение 2
Справочное
|
Средний диаметр, мм |
10, 029 - 10, 42 |
|
Минимальный наружный диаметр, мм |
11, 12 |
|
Внутренний диаметр, мм |
9, 73 - 10, 02 |
|
Шаг резьбы, мм |
1, 27 |
|
Угол профиля резьбы |
60° |
Приложение 3
Обязательное
А - Ремень безопасности с креплением в трех точках, включая ремень с втягивающим устройством, которое крепится прямо к месту крепления РБ, без направляющего кронштейна верхнего крепления
В - Поясной РБ
S - РБ специального типа
Ar, Br или Sr - РБ, оснащенный втягивающей катушкой с направляющим кронштейном
Ae, Be или Se - РБ с системой поглощения энергии
Are, Bre или Sre - РБ с втягивающей катушкой, направляющим кронштейном и системой поглощения энергии, установленной не менее чем на одном месте крепления
Приложение 4
Обязательное

Приложение 5
Справочное
Для определения соответствия мест крепления РБ, установленных в данном автомобиле, требованиям п. 1.1 может проводиться динамическое испытание автомобиля. При проведении таких испытаний используют метод фронтального столкновения автомобиля с неподвижным препятствием и манекены с антропометрическими признаками 30% репрезентативности (допускается использование манекенов, в соответствии с ГОСТ 18837-82).
При этом начальная скорость столкновения для автомобилей категории M1, N1 и M2 должна составлять (50±1) км/ч, а для автомобилей категории N2 и N3 – (35±2) км/ч.
После проведения динамического испытания для автомобилей категории M1, N1 и M2 не должно быть разрушения (вырыва) мест крепления РБ или самой защитной системы;
"подныривания" манекена под ремень и сползание его с сиденья;
контакта РБ с легкоранимыми и болезненными частями тела человека, в том числе сползания поясной лямки на живот, а диагональной - в область шеи;
контакта частей тела человека с интерьером (головы, коленей, груди водителя с рулевым колесом). В противном случае элементы интерьера салона должны быть травмобезопасными.
Для автомобилей категории N2 и N3 не должно быть:
разрушения мест крепления РБ или самих РБ;
"подныривания" манекена под РБ или сползание его с сиденья;
контакта головы с интерьером салона.


