Утв. Постановлением Государственного комитета СССР по стандартам от 16 марта 1984 г. N 806
Государственный стандарт Союза ССР ГОСТ 22091.0-84
"ПРИБОРЫ РЕНТГЕНОВСКИЕ. МЕТОДЫ ИЗМЕРЕНИЙ ПАРАМЕТРОВ"
X-ray devices. General requirements for measuring of parameters
Срок действия с - 1 июля 1985 г. до 1 июля 1990 г.
Ограничение срока действия снято в 1991 г.
Взамен ГОСТ 22091.0-76 и ГОСТ 21817.0-76
Настоящий стандарт распространяется на рентгеновские приборы и устанавливает общие требования к методам измерения электрических и рентгенооптических параметров рентгеновских приборов.
1. Условия измерений
1.1. Параметры рентгеновских приборов следует измерять при нормальных климатических условиях, установленных в ГОСТ 20.57.406-81 и в стандартах на конкретные методы измерения.
1.2. Режимы измерений параметров рентгеновских приборов должны соответствовать установленным в технических условиях (ТУ) на рентгеновские приборы конкретных типов.
1.3. Рентгеновский прибор при измерении параметров, при необходимости, помещают в трансформаторное масло по ГОСТ 982-80 или другой диэлектрик с пробивным напряжением не менее 50 кВ (35 кВ эффективного значения) или в защитный кожух (моноблок, имитатор) рентгеновских аппаратов, что устанавливают в ТУ на приборы конкретных типов.
Пробивное напряжение диэлектрика должно быть проверено по ГОСТ 6581-75.
2. Аппаратура
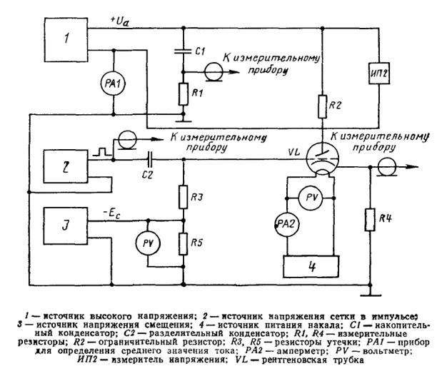
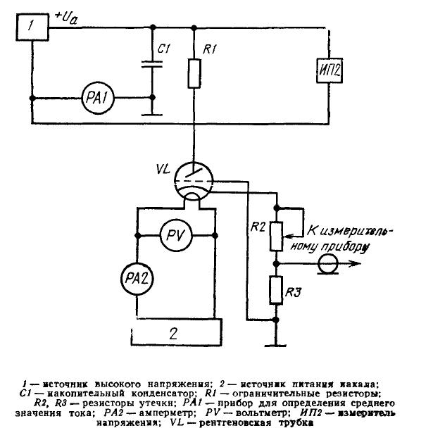
2.1. При измерении параметров электрические схемы подключения рентгеновских трубок должны соответствовать приведенным в обязательных приложениях 1 - 5.
При измерении параметров рентгеновских бетатронных камер (РБК) электрические схемы подключения должны соответствовать установленным в стандартах на методы измерения параметров РБК.
Примечание При невозможности непосредственного включения приборов в анодную цепь для измерения тока трубки, на анод, которой подано высокое напряжение, приборы следует включать в цепь заземленного катода трубки или в цепь с заземленной средней точкой
2.2. Вид напряжения и характеристики источника высокого напряжения (коэффициент пульсации при номинальных значениях силы тока и напряжения и ограничительное сопротивление) должны соответствовать установленным в ТУ на рентгеновские приборы конкретных типов.
Коэффициент пульсации источников постоянного тока импульсных рентгеновских трубок (РТИ), измеренный при номинальных значениях силы тока и напряжения, не должен превышать, %:
5 - для источника питания накала при литании постоянным током;
5 - для источника высокого напряжения;
1 - для источника напряжения смещения.
При необходимости, нестабильность напряжения питания источника высокого напряжения устанавливают в ТУ на рентгеновские приборы конкретных типов.
2.3. Источник питания накала должен обеспечивать питание переменным током частотой 50 Гц - 10 кГц. Допускается применять источники питания накала постоянного тока.
Коэффициент пульсаций постоянного напряжения источника питания начала, определяемый при номинальных нагрузках, и, при необходимости, нестабильность переменного напряжения питания накала должны соответствовать установленным в ТУ на рентгеновские приборы конкретных типов.
Нестабильность переменного напряжения источника питания накала частотой 50 Гц должна быть в пределах ± 3%.
2.4. Классы точности электроизмерительных приборов, применяемых в установках, должны быть:
для приборов, измеряющих токи менее 10 мкА - не хуже 2, 5;
для приборов, по которым устанавливают и контролируют электрический режим и измеряют постоянные составляющие токов электродов РТИ (с напряжением электродов до 3 кВ) - не хуже 1, 0;
для остальных приборов - не хуже 1, 5.
Электроизмерительные приборы, применяемые при измерении, выбирают так, чтобы обеспечить отсчет значения в пределах последних 2/3 шкалы.
Основная приведенная погрешность приборов не должна выходить за пределы:
± 10% - для приборов, регистрирующих время прохождения тока и электронных приборов (осциллографов, импульсных вольтметров, измерительных систем "Фотон" и др.);
± 20% - для дозиметрических приборов;
± 5% - для кулонометров.
2.5. Измерительные приборы (устройства), на погрешность которых могут влиять внешние электростатические и электромагнитные поля или которые сами могут создавать помехи для других приборов, должны быть экранированы.
2.6. Источник напряжения сетки в импульсе должен обеспечивать импульсное напряжение амплитудой, длительностью и частотой, установленными в ТУ на РТИ конкретных типов.
Нестабильность импульсного напряжения должна быть в пределах ± 5%.
2.7. Емкость накопительного конденсатора и сопротивление ограничительного резистора должны соответствовать установленным в ТУ на РТИ конкретных типов.
2.8. Сопротивление резисторов в цепи утечки сетки РТИ выбирают из следующего условия:

,
где R3 + R5 - сопротивление в цепи утечки, Ом;
Ес - напряжение смешения, В;
Iс.ср - средний ток сетки, А.
2.9. Значения токов электродов РТИ в импульсе измеряют с использованием измерительных резисторов, к которым предъявляют следующие требования:
сопротивление измерительных резисторов должно быть установлено с погрешностью ± 2%. Если сопротивление подводящих проводов и контактов превышает 1% значения сопротивления измерительных резисторов, то их сопротивление необходимо учитывать;
индуктивность измерительного резистора не должна приводить к появлению на фронте импульса выброса более 10% его амплитудного значения.
2.10. Электронные измерительные приборы следует подключать коаксиальным кабелем, подсоединенным к сопротивлению, согласованному с волновым сопротивлением кабеля.
2.11. Перечень измерительных приборов приведен в справочном приложении 6.
3. Требования безопасности
3.1. При измерении параметров рентгеновских приборов должны быть соблюдены требования ГОСТ 12.3.019-80, "Правила технической эксплуатации электроустановок потребителей" и "Правила техники безопасности по эксплуатации электроустановок потребителей", утвержденные Госэнергонадзором, "Основные санитарные правила работы с радиоактивными веществами и другими источниками ионизирующих излучений (ОСП-72/80)", утвержденные Главным государственным санитарным врачом СССР, "Нормы радиационной безопасности (НРБ-76)", утвержденные Минздравом СССР, а также "Санитарные правила работы с источниками неиспользуемого рентгеновского излучения", утвержденные Минздравом СССР и "Санитарные правила при проведении рентгеновской дефектоскопии", утвержденные заместителем Главного государственного санитарного врача СССР.
3.2. Параметры рентгеновских приборов должен измерять персонал, имеющий квалификацию не ниже третьей группы с практическим стажем работы с радиотехническим и радиоэлектронным оборудованием не менее 3 мес и прошедший инструктаж по работе с напряжением свыше 1000 В и источниками ионизирующих излучений по ГОСТ 12.0.004-79.
Приложение 1
Обязательное
Схема
подключения трубок с заземленным катодом
Приложение 2
Обязательное
Подключение трубки в схеме
с заземленной средней точкой
Приложение 3
Обязательнее
Схема
подключения трубок с заземленным анодом
Приложение 4
Обязательное
Схема
подключения РТИ для измерения параметров в импульсном режиме
Приложение 5
Обязательное
Схема
подключения РТИ для измерения параметров в статическом режиме
Приложение 6
Справочное
Перечень измерительных приборов
1 Микрофотометры типов МФ-2, МФ-4, ИФО-451
2 Импульсные вольтметры типов В4-2, В4-4, В4-11, В4-12, В4-13 и В4-17
3 Электрический секундомер типов ПВ-53Л, ПВ-53Щ и СТЦ-1
4 Измеритель временных интервалов типов И2-25 и И2-26
5 Дозиметр типа ДРГ2-01 ("Витим"), клинический дозиметр 27012, дозиметр КД-1М, дозиметр ДКС-05
6 Электронные осциллографы С1-54, С1-55, С1-65, С8-12 и С8-9А
7 Счетчик пробоев Л1-10
8 Измерительные системы "Фотон-2" и "Фотон-3".