20 1978 . N 3379
21863-78
" . . "
:
(21 1988 ., 13 1998 .)
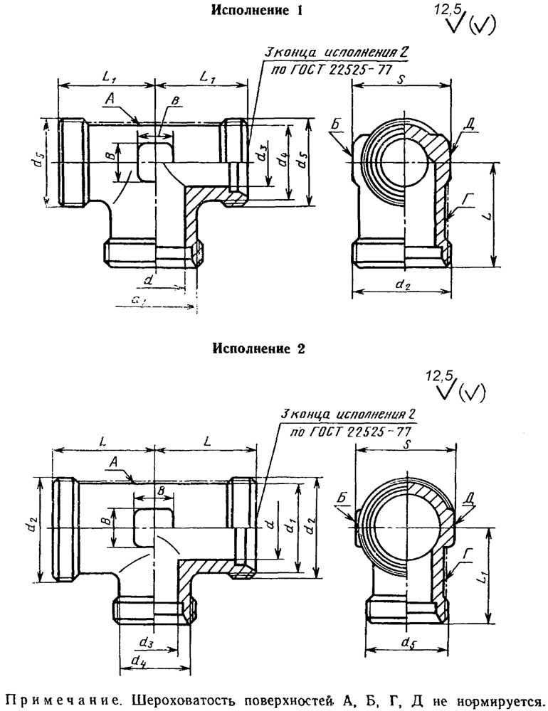
Threaded pipeline connections. Reduce tees. Construction
1 1980 .
1 1990 .
1995 .
15789-70;
21863-76
1. 24.
, , , , . 2 4.
15763-91.
2. .

┌────┬────────┬────────┬──────┬─────┬────────┬─────┬─────┬────────┬────┬────┬───┬────┬─────────┐
│-│ - ││ d │ d_1 │ d_2 │ d_3 │ d_4 │ d_5 │ L │L_1 │ │ S │ │
│ │ │ │ │ │ │ │ │ ├────┴────┤ │ │1000 .,│
│ │ │ │ │ │ │ │ │ │ . │ │ │ , │
│ │(- │D D' │ │ │ │ │ │ │ . │ │ │ -│
│ │ -│ │ │ │ │ │ │ │ +-0,3 │ │ │ 頠 │
│ │ ) │ │ │ │ │ │ │ │ │ │ │ │
│ │D D' │ │ │ │ │ │ │ │ │ │ │ │
│ │ N N │ │ │ │ │ │ │ │ │ │ ├────┬────┤
│ │(D x D')│ │ │ │ │ │ │ │ │ │ │ 1 │ 2 │
│ │ y y │ │ │ │ │ │ │ │ │ │ │ │ │
├────┼────────┼────────┼──────┼─────┼────────┼─────┼─────┼────────┼────┬────┼───┼────┼────┼────┤
│ 1 │ 32,5 │ 54 │ 3,5│ 8│ 101 │ 2,5│ 6,5│ M81 │ 15│ 15│ 6│ 9│ 14│ 15│
│ ├────────┼────────┼──────┤ │ ├─────┼─────┼────────┤ │ │ │ ├────┼────┤
│ │ 43 │ 65 │ 4,5│ │ │ 3,5│ 8,0│ M101 │ │ │ │ │ 14│ 15│
│ ├────────┼────────┼──────┼─────┼────────┼─────┤ │ ├────┤ ├───┼────┼────┼────┤
│ │ 64 │ 86 │ 6,0│ 10│M121,5 │ 4,5│ │ │ 17│ │ 8│ 12│ 20│ 21│
├────┼────────┼────────┼──────┼─────┼────────┼─────┼─────┼────────┼────┼────┼───┼────┼────┼────┤
│ 2 │ 64 │ 86 │ 6,0│ 11│M141,5 │ 4,0│ 10,0│M121,5 │ 21│ 19│ 8│ 12│ 26│ 32│
│ ├────────┼────────┼──────┼─────┼────────┼─────┼─────┼────────┼────┼────┼───┼────┼────┼────┤
│ │ 86 │ 108 │ 8,0│ 13│M161,5 │ 6,0│ 11,0│M141,5 │ 22│ 21│ 10│ 14│ 38│ 43│
│ ├────────┼────────┼──────┼─────┼────────┼─────┼─────┼────────┼────┼────┤ ├────┼────┼────┤
│ │ 108 │ 1210 │ 10,0│ 15│181,5 │ 8,0│ 13,0│M161,5 │ 24│ 22│ │ 17│ 55│ 58│
│ ├────────┼────────┼──────┼─────┼────────┤ │ │ ├────┤ │ ├────┼────┼────┤
│ │ 128 │ 1510 │ 12,0│ 19,0│M221,5 │ │ │ │ 28│ │ │ 19│ 75│ 85│
│ │ ├────────┼──────┼─────┼────────┤ │ │ │ │ │ ├────┼────┼────┤
│ │ │ (1610)│ 12,0│ 20│M241,5 │ │ │ │ │ │ │ 24│ 88│ 126│
│ ├────────┼────────┤ │ │ ├─────┼─────┼────────┤ ├────┤ │ ├────┼────┤
│ │ 1210 │ 1512 │ 12,0│ 19,0│M221,5 │ 10,0│ 15,0│181,5 │ │ 24│ │ 19│ 85│ 96│
│ │ ├────────┼──────┼─────┼────────┤ │ │ │ │ │ ├────┼────┼────┤
│ │ │ (1612)│ 12,0│ 20│M241,5 │ │ │ │ │ │ │ 24│ 96│ 128│
│ ├────────┼────────┼──────┼─────┼────────┼─────┼─────┼────────┼────┼────┤ │ ├────┼────┤
│ │ 1512 │ 1815 │ 15,0│ 22│261,5 │ 12,0│ 19,0│221,5 │ 31│ 28│ │ │ 118│ 142│
│ │ ├────────┤ │ │(M272) ├─────┼─────┼────────┤ │ │ │ ├────┼────┤
│ │ │ (1816)│ │ │ │ 12,0│ 20,0│M241,5 │ │ │ │ │ 138│ 155│
│ ├────────┼────────┼──────┼─────┼────────┼─────┼─────┼────────┼────┼────┤ ├────┼────┼────┤
│ │ 2015 │ 2218 │ 19,0│ 26│ M302 │ 15,0│ 22,0│261,5 │ 35│ 31│ │ 27│ 174│ 185│
│ │ │ │ │ │ │ │ │(M272) │ │ │ │ │ │ │
│ ├────────┼────────┼──────┼─────┼────────┼─────┼─────┼────────┼────┼────┼───┼────┼────┼────┤
│ │ 2520 │ 2822 │ 24,0│ 33│ M362 │ 19,0│ 26,0│ M302 │ 38│ 35│ 15│ 36│ 262│ 325│
│ ├────────┼────────┼──────┼─────┼────────┼─────┼─────┼────────┼────┼────┤ ├────┼────┼────┤
│ │ 3225 │ (3428)│ 30,0│ 40│ M452 │ 24,0│ 33,0│ M362 │ 45│ 38│ │ 41│ 384│ 416│
│ │ ├────────┤ │ │ │ │ │ │ │ │ │ ├────┼────┤
│ │ │ 3528 │ │ │ │ │ │ │ │ │ │ │ 432│ 470│
│ ├────────┼────────┼──────┼─────┼────────┼─────┼─────┼────────┼────┼────┼───┼────┼────┼────┤
│ │ 4032 │ (4234)│ 36,0│ 46│ M522 │ 30,0│ 40,0│ M452 │ 51│ 45│ 18│ 50│ 663│ 716│
│ │ ├────────┤ │ │ │ │ │ │ │ │ │ ├────┼────┤
│ │ │ 4235 │ │ │ │ │ │ │ │ │ │ │ 659│ 711│
├────┼────────┼────────┼──────┼─────┼────────┼─────┼─────┼────────┼────┼────┼───┼────┼────┼────┤
│ 3 │ 53 │ 106 │ 7,0│ 15│M181,5 │ 4,0│ 11,0│M141,5 │ 25│ 23│ 10│ 17│ 58│ 72│
│ ├────────┼────────┼──────┼─────┼────────┼─────┼─────┼────────┼────┼────┤ │ ├────┼────┤
│ │ 64 │ 128 │ 8,0│ 17│M201,5 │ 5,0│ 13,0│M16l,5 │ 29│ 24│ │ │ 78│ 92│
│ ├────────┼────────┼──────┼─────┼────────┼─────┼─────┼────────┼────┼────┤ ├────┼────┼────┤
│ │ 86 │ (1412)│ 10,0│ 19│M221,5 │ 8,0│ 17,0│M201,5 │ 30│ 29│ │ 19│ 113│ 118│
│ ├────────┼────────┼──────┼─────┼────────┼─────┼─────┼────────┼────┼────┤ ├────┼────┼────┤
│ │ 108 │ (1614)│ 12,0│ 21│M241,5 │ 10,0│ 19,0│M221,5 │ 33│ 30│ │ 24│ 137│ 151│
│ ├────────┼────────┼──────┼─────┼────────┤ │ │ ├────┤ │ ├────┼────┼────┤
│ │ 128 │ (2014)│ 16,0│ 26│ M302 │ │ │ │ 37│ │ │ 27│ 168│ 206│
│ ├────────┼────────┤ │ │ ├─────┼─────┼────────┤ ├────┤ │ ├────┼────┤
│ │ 1210 │ 2016 │ │ │ │ 12,0│ 21,0│M241,5 │ │ 33│ │ │ 187│ 210│
│ ├────────┼────────┼──────┼─────┼────────┼─────┼─────┼────────┼────┼────┼───┼────┼────┼────┤
│ │ 1512 │ 2520 │ 20,0│ 33│ M362 │ 16,0│ 26,0│ M302 │ 42│ 37│ 15│ 36│ 300│ 370│
│ ├────────┼────────┼──────┼─────┼────────┼─────┼─────┼────────┼────┼────┤ ├────┼────┼────┤
│ │ 2015 │ 3025 │ 25,0│ 39│ M422 │ 20,0│ 33,0│ M362 │ 49│ 42│ │ 41│ 493│ 584│
│ ├────────┼────────┼──────┼─────┼────────┼─────┼─────┼────────┼────┼────┼───┼────┼────┼────┤
│ │ 2520 │ 3830 │ 32,0│ 46│ M522 │ 25,0│ 39,0│ M422 │ 57│ 49│ 18│ 50│ 760│ 906│
└────┴────────┴────────┴──────┴─────┴────────┴─────┴─────┴────────┴────┴────┴───┴────┴────┴────┘
. , ,
2. d1, d4, .
1 1 D = 8 D' = 6 :
1-1-8x6 21863-78
, 2:
1-2-8x6 21863-78
, 2 1:
2-1-8x6 21863-78
, 2:
2-2-8x6 21863-78
, 3 1 D = 10 D' = 6 :
3-1-10x6 21863-78
, 2:
3-2-10x6 21863-78
3. () - 15763-91, 3; - 22525-77, 2.
4. , , , , , - 15763-91.