Введен в действие постановлением Госстандарта СССР от 20 декабря 1978 г. N 3379
Государственный стандарт Союза ССР ГОСТ 21872-78* (СТ СЭВ 4321-83)
"СОЕДИНЕНИЯ ТРУБОПРОВОДОВ РЕЗЬБОВЫЕ. ШТУЦЕРА ПЕРЕБОРОЧНЫЕ. КОНСТРУКЦИЯ"
Threaded pipeline connections. Partition unions. Construction
С изменениями:
(21 ноября 1988 г., 13 мая 1998 г.)
Срок действия установлен с 1 января 1980 г.
до 1 января 1990 г.
Ограничение срока действия снято в 1995 г.
Взамен ГОСТ 15798-70;
ГОСТ 21872-76
1. Настоящий стандарт распространяется на переборочные штуцера для резьбовых соединений трубопроводов с углом конуса 24°.
Обязательные требования к качеству продукции, обеспечивающие ее взаимозаменяемость, безопасность для жизни, здоровья и охрану окружающей среды, изложены в пп. 2 и 4.
Стандарт может быть использован для сертификации с объемами и методами сертификационных испытаний по ГОСТ 15763-91
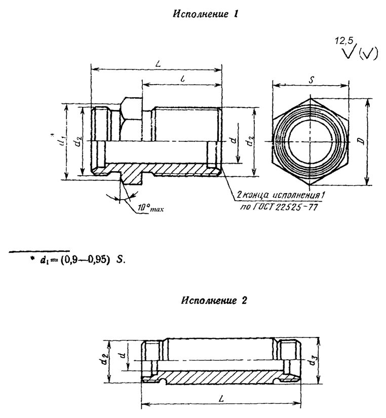
2. Конструкция и основные размеры переборочных штуцеров должны соответствовать указанным на чертеже и в таблице.

Примечание: Шероховатость поверхности шестигранника стандартом не устанавливается.
Размеры в мм
┌────┬─────┬─────┬───────────┬─────────┬──────┬───────┬───────────┬─────┬─────┬────────────┐
│Гру-│Номи-│Нару-│ d │ d │ d │ l │ L │ D │ S │ Масса │
│ппа │наль-│жный ├───────────┤ 2 │ 3 │ │ │ │ │ 1000 шт., │
│ │ный │диа- │ для испол-│ │ ├───────┼───────────┤ │ │ кг, для │
│ │раз- │метр │ нений │ │ │Пред. │(пред.откл.│ │ │ исполнений │
│ │мер │трубы│ │ │ │откл. │+-0,3) │ │ │ │
│ │(ус- │D ├─────┬─────┤ │ │ +-0,2 │ для испол-│ │ ├──────┬─────┤
│ │лов- │ н │ 1 │ 2 │ │ │ │ нений │ │ │ 1 │ 2 │
│ │ный │ │ │ │ │ │ ├─────┬─────┤ │ │ │ │
│ │про- │ │ │ │ │ │ │ 1 │ 2 │ │ │ │ │
│ │ход) │ │ │ │ │ │ │ │ │ │ │ │ │
│ │ DN │ │ │ │ │ │ │ │ │ │ │ │ │
│ │ (D )│ │ │ │ │ │ │ │ │ │ │ │ │
│ │ y │ │ │ │ │ │ │ │ │ │ │ │ │
├────┼─────┼─────┼─────┼─────┼─────────┼──────┼───────┼─────┼─────┼─────┼─────┼──────┼─────┤
│ │ 4,0 │ 6 │ 4 │ │ М12Х1,5 │ 18 │ │ 48 │ 70 │19,6 │ 17 │ 37,9│ │
│ ├─────┼─────┼─────┤ ├─────────┼──────┤ 34 ├─────┤ ├─────┼─────┼──────┤ │
│ │ 6,0 │ 8 │ 6 │ │ М14Х1,5 │ 20 │ │ 49 │ │21,9 │ 19 │ 48,4│ │
│ ├─────┼─────┼─────┤ ├─────────┼──────┼───────┼─────┼─────┼─────┼─────┼──────┤ │
│ │ 8,0 │ 10 │ 8 │ │ М16Х1,5 │ 22 │ 35 │ 52 │ 72 │25,4 │ 22 │ 66,4│ │
│ ├─────┼─────┼─────┤ ├─────────┼──────┼───────┼─────┤ ├─────┼─────┼──────┤ │
│ │10,0 │ 12 │ 10 │ │ М18X1,5 │ 25 │ 36 │ 53 │ │27,7 │ 24 │ 79,6│ │
│ ├─────┼─────┼─────┤ ├─────────┼──────┼───────┼─────┼─────┼─────┼─────┼──────┤ │
│ │12,0 │ 15 │ 12 │ │ М22Х1,5 │ 28 │ 38 │ 57 │ 84 │31,2 │ 27 │ 125,5│ │
│ │ ├─────┼─────┤ ├─────────┼──────┤ │ │ ├─────┼─────┼──────┤ │
│ │ │ (16)│ 12 │ │ М24Х1,5 │ 29 │ │ │ │36,9 │ 32 │ 170,3│ │
│ 2 ├─────┼─────┼─────┤ - ├─────────┼──────┼───────┼─────┤ ├─────┼─────┼──────┤ - │
│ │15,0 │ 18 │ 15 │ │ М26Х1,5 │ 32 │ 40 │ 61 │ │36,9 │ 32 │ 200,0│ │
│ │ │ │ │ │ (М27Х2) │ │ │ │ │ │ │ │ │
│ ├─────┼─────┼─────┤ ├─────────┼──────┼───────┼─────┤─────┼─────┼─────┼──────┤ │
│ │20,0 │ 22 │ 19 │ │ М30Х2 │ 36 │ 42 │ 66 │ 88 │41,6 │ 36 │ 236,0│ │
│ ├─────┼─────┼─────┤ ├─────────┼──────┼───────┼─────┤ ├─────┼─────┼──────┤ │
│ │25,0 │ 28 │ 24 │ │ М36Х2 │ 40 │ 43 │ 69 │ │47,3 │ 41 │ 327,0│ │
│ ├─────┼─────┼─────┤ ├─────────┼──────┼───────┼─────┼─────┼─────┼─────┼──────┤ │
│ │32,0 │ (34)│ 30 │ │ М45Х2 │ 50 │ 47 │ 76 │ 92 │57,7 │ 50 │ 548,4│ │
│ │ ├─────┤ │ │ │ │ │ │ │ │ │ │ │
│ │ │ 35 │ │ │ │ │ │ │ │ │ │ │ │
│ ├─────┼─────┼─────┤ ├─────────┼──────┤ ├─────┤ ├─────┼─────┼──────┤ │
│ │40,0 │ 42 │ 36 │ │ М52Х2 │ 60 │ │ 77 │ │69,3 │ 60 │ 585,0│ │
├────┼─────┼─────┼─────┼─────┼─────────┼──────┼───────┼─────┼─────┼─────┼─────┼──────┼─────┤
│ │ 3,0 │ 6 │ 4 │ - │ М14Х1,5│ 20 │ 36 │ 55 │ 74 │21,9 │ 19 │ 61,7│ - │
│ ├─────┼─────┼─────┼─────┼─────────┼──────┤ ├─────┤ ├─────┼─────┼──────┼─────┤
│ │ 4,0 │ 8 │ 5 │ - │ М16Х1,5│ 22 │ │ 56 │ │25,4 │ 22 │ 83,0│ - │
│ ├─────┼─────┼─────┼─────┼─────────┼──────┼───────┼─────┤ ├─────┼─────┼──────┼─────┤
│ │ 5,0 │ 10 │ 7 │ 7,0 │ М18Х1,5│ 25 │ 37 │ 59 │ │27,7 │ 24 │ 109,0│ 160 │
│ ├─────┼─────┼─────┼─────┼─────────┼──────┼───────┼─────┤ ├─────┼─────┼──────┼─────┤
│ │ 6,0 │ 12 │ 8 │ 8,0 │ М20Х1,5│ 28 │ 38 │ 60 │ │31,2 │ 27 │ 135,0│ 190 │
│ ├─────┼─────┼─────┼─────┼─────────┼──────┼───────┼─────┼─────┼─────┼─────┼──────┼─────┤
│ │ 8,0 │ (14)│ 10 │10,0 │ М22Х1,5│ 32 │ 40 │ 64 │ 88 │34,6 │ 30 │ 170,0│ 230 │
│ 3 ├─────┼─────┼─────┼─────┼─────────┼──────┤ ├─────┤ ├─────┼─────┼──────┼─────┤
│ │10,0 │ 16 │ 12 │12,0 │ М24Х1,5│ 35 │ │ 65 │ │36,9 │ 32 │ 194,0│ 240 │
│ ├─────┼─────┼─────┼─────┼─────────┼──────┼───────┼─────┼─────┼─────┼─────┼──────┼─────┤
│ │12,0 │ 20 │ 16 │16,0 │ М30Х2 │ 38 │ 44 │ 72 │ 92 │47,3 │ 41 │ 329,0│ 420 │
│ ├─────┼─────┼─────┼─────┼─────────┼──────┼───────┼─────┼─────┼─────┼─────┼──────┼─────┤
│ │15,0 │ 25 │ 20 │20,0 │ М36Х2 │ 45 │ 47 │ 79 │ 96 │53,1 │ 46 │ 450,0│ 550 │
│ ├─────┼─────┼─────┼─────┼─────────┼──────┼───────┼─────┼─────┼─────┼─────┼──────┼─────┤
│ │20,0 │ 30 │ 25 │25,0 │ М42Х2 │ 50 │ 51 │ 86 │ 100 │57,7 │ 50 │ 673,0│ 725 │
│ ├─────┼─────┼─────┼─────┼─────────┼──────┼───────┼─────┼─────┼─────┼─────┼──────┼─────┤
│ │25,0 │ 38 │ 32 │32,0 │ М52Х2 │ 60 │ 53 │ 91 │ 104 │75,0 │ 65 │1042,0│ 950 │
└────┴─────┴─────┴─────┴─────┴─────────┴──────┴───────┴─────┴─────┴─────┴─────┴──────┴─────┘
Примечание. Значения, приведенные в скобках, непредпочтительны
2. Масса указана для справок
Пример условного обозначения штуцера группы 2 исполнения 1 для соединения с Dн = 10 мм:
Штуцер 2-1-10 ГОСТ 21872-78
3. Рекомендуемые значения номинальных (условных) давлений для каждой группы переборочных штуцеров в зависимости от вида соединений - по ГОСТ 15763-91, приложение 3; примеры сборки - по ГОСТ 22525-77, приложение 2.
4. Технические требования, приемка, методы испытаний, упаковка, транспортирование, хранение и рекомендации по монтажу различных видов соединений - по ГОСТ 15763-91.