Утв. Постановлением Госстандарта СССР от 22 мая 1980 г. N 2306
Государственный стандарт Союза ССР ГОСТ 24188-80
"ПРОКЛАДКИ. КОНСТРУКЦИЯ"
С изменениями:
(29 ноября 1990 г.)
Packings. Design and basic dimensions
Дата введения 1 июля 1981 г.
Взамен ГОСТ 15915-74
и ГОСТ 15916-74
1. Настоящий стандарт распространяется на прокладки, применяемые для соединения стеклянных труб.
Требования настоящего стандарта являются обязательными.
2. Прокладки должны быть изготовлены следующих типов:
1 - Т-образные;
2 - оболочковые;
3 - Г-образные;
4 - муфтообразные;
5 - составные;
6 - манжетообразные;
7 - конические;
8 - плоские.
3. Конструкция и основные размеры Т-образной прокладки должны соответствовать указанным на черт. 2 и в табл. 2.




Таблица 2
Размеры в мм
|
Исполнение
|
D_y
|
D_н
|
D
|
D_1
|
D_2
|
D_3
|
D_4
|
R
|
Н
|
b
|
Масса, кг, не более
|
|
-
|
15
|
-
|
14, 5
|
27, 5
|
35, 5
|
-
|
-
|
-
|
13
|
2
|
0, 010
|
|
-
|
25
|
-
|
24, 5
|
41, 5
|
49, 5
|
-
|
-
|
-
| | |
0, 015
|
|
-
|
32
|
-
|
31, 5
|
48, 5
|
56, 5
|
-
|
-
|
-
|
0, 019
|
|
-
|
40
|
-
|
39, 5
|
59, 5
|
67, 5
|
-
|
-
|
-
|
15
|
3
|
0, 023
|
|
-
|
50
|
-
|
49, 5
|
71, 5
|
79, 5
|
-
|
-
|
-
| |
0, 029
|
|
1
|
40
|
45
|
37
|
43
|
52
|
-
|
-
|
8
|
12
|
5, 0
|
0, 01
|
|
2
|
57
| | |
-
|
20
|
0, 03
|
|
1
|
50
|
67
|
57
|
65
|
75
|
-
|
-
|
10
|
14
|
5, 5
|
0, 02
|
|
15
|
18
|
0, 04
|
|
2
|
79
|
67
|
-
|
-
|
20
|
0, 05
|
|
3
|
50
|
66
|
78
|
68
|
60
|
-
|
|
1
|
80
|
93
|
78
|
89
|
101
|
-
|
-
|
12
|
18
|
6, 0
|
0, 04
|
|
2
| | | | |
105
|
93
|
-
|
-
|
20
|
0, 06
|
|
3
|
72
|
90
|
106
|
94
|
84
|
-
|
0, 10
|
|
1
|
100
|
122
|
105
|
117
|
127
|
-
|
-
|
15
| |
7, 0
|
0, 06
|
|
2
|
105
|
133
|
121
|
-
|
-
|
0, 08
|
|
93
| | | | |
0, 15
|
|
-
|
150
|
169
|
148
|
164
|
176
|
-
|
-
|
-
|
22
|
8, 0
|
0, 14
|
|
-
|
200
|
221
|
202
| |
231
|
-
|
-
|
-
|
0, 16
|
______________________________
* Для резины плотностью 1, 26 г/см3.
Пример условного обозначения Т-образной прокладки для труб с буртами Dу = 15 мм из пищевой резины:
Прокладка Т-обр. 15-П ГОСТ 24188-80
То же, из кислотощелочестойкой:
Прокладка Т-обр. 15-К ГОСТ 24188-80
То же, из теплостойкой:
Прокладка Т-обр. 15-Т ГОСТ 24188-80
То же, Т-образной составной для труб с гладкими концами Dн = 67 мм:
Прокладка Т-обр. С. 67 ГОСТ 24188-80
То же, Т-образной прокладки исполнения 1, Dн = 46 мм, D = 37 мм, Н = 12 мм из пищевой резины:
Прокладка Т-обр. 45-37-12 П ГОСТ 24188-80
То же, из кислотощелочестойкой:
Прокладка Т-обр. 45-37-12 К ГОСТ 24188-80
То же, из теплостойкой:
Прокладка Т-обр. 45-37-12 Т ГОСТ 24188-80
4. Конструкция и основные размеры защитных оболочек должны соответствовать указанным на черт. 3 и в табл. 3.


Таблица 3
Размеры в мм
|
Условный проход
D_у
|
Наружный диаметр трубы
D_н
|
D
|
D_1
|
D_2
|
H
|
h
|
h_1
|
Масса, кг, не более
|
|
40
|
45
|
36
|
43
|
60
|
12, 5
|
5, 0
|
-
|
0, 002
|
|
-
|
20, 0
|
7, 5
|
|
50
|
67
|
56
|
65
|
83
|
13, 5
|
5, 5
|
8, 0
|
0, 004
|
|
-
|
22, 0
|
Пример условного обозначения оболочковых прокладок для Т-образных прокладок для трубы наружным диаметром Dн = 45 мм:
Прокладка об. 45 ГОСТ 24188-80
То же, для Г-образных прокладок, D2 = 83 мм:
Прокладка об. 45х83 ГОСТ 24188-80
4а. Конструкция и основные размеры Г-образной прокладки должны соответствовать указанным на черт. 4 и в табл. 4.

Таблица 4
Размеры в мм
|
D_y
|
D_н
|
D
|
D_1
|
D_2
|
H
|
h
|
h_1
|
R
|
Масса, кг, не более
|
|
40
|
45
|
37
|
52
|
43
|
8, 5
|
5, 0
|
2, 5
|
8
|
0, 018
|
|
50
|
67
|
57
|
75
|
65
|
9, 5
|
5, 5
|
2, 7
|
10
|
0, 036
|
|
80
|
98
|
77
|
101
|
89
|
12, 0
|
6, 0
|
3, 0
|
12
|
0, 071
|
|
100
|
122
|
105
|
127
|
117
|
13, 5
|
7, 0
|
3, 5
|
15
|
0, 106
|
|
150
|
169
|
147
|
176
|
164
|
15, 0
|
8, 0
|
4, 0
|
1
|
0, 244
|
Пример условного обозначения Г-образной прокладки для трубы Dн = 45 мм из пищевой резины:
Прокладка Г 45-П ГОСТ 24188-80
То же, из кислотощелочестойкой:
Прокладка Г 45-К ГОСТ 24188-80
То же, из теплостойкой:
Прокладка Г 45-Т ГОСТ 24188-80
4б. Конструкция и размеры муфтообразной прокладки должны соответствовать указанным на черт. 5 и в табл. 5.

Таблица 5
Размеры в мм
|
Условный проход D_y
|
D
|
D_1
|
D_2
|
D_3
|
H
|
h
|
Масса, кг, не более для исполнения
|
|
1
|
2
|
|
15
|
15
|
22
|
26
|
36
|
30
|
3
|
0, 010
|
0, 018
|
|
25
|
25
|
32
|
41
|
50
|
37
|
0, 026
|
0, 046
|
|
32
|
32
|
39
|
46
|
60
|
39
|
0, 037
|
0.064
|
|
40
|
40
|
49
|
56
|
70
|
4
|
0, 042
|
0, 073
|
|
50
|
50
|
59
|
69
|
84
|
50
|
5
|
0, 092
|
0, 160
|
Примечание. Исполнение 1 - прокладка из пищевой резины;
Исполнение 2 - прокладка из кислотощелочестойкой резины.
Пример условного обозначения муфтообразной прокладки исполнения 1 для трубы Dу = 15 мм:
Прокладка М-обр. 1-15 ГОСТ 24188-80
То же, исполнения 2:
Прокладка М-обр. 2-15 ГОСТ 24188-80
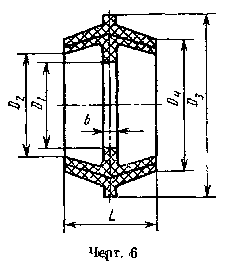
4в. Конструкция и основные размеры составной прокладки должны соответствовать указанным на черт. 6 и в табл. 6.

Таблица 6
Размеры в мм
|
Условный проход
D_у
|
D
|
D_1
|
D_2
|
d
|
d_1
|
H
|
S
|
Масса, кг, не более
|
|
25
|
50
|
41
|
35
|
25
|
32
|
37
|
3
|
0, 035
|
|
32
|
60
|
46
|
42
|
32
|
39
|
39
|
0, 044
|
|
40
|
70
|
56
|
52
|
40
|
49
|
4
|
0, 055
|
|
50
|
84
|
69
|
62
|
50
|
59
|
50
|
5
|
0, 106
|
|
89
|
70, 5
|
0, 080
|
Пример условного обозначения составной прокладки для трубы Dу = 25 мм, D = 50 мм:
Прокладка составная 25-50 ГОСТ 24188-80
4г. Конструкция и основные размеры манжетообразных прокладок должны соответствовать указанным на черт. 7.


Пример условного обозначения манжетообразной прокладки исполнения 1:
Прокладка манж. обр. 1 ГОСТ 24188-80
То же, исполнения 2:
Прокладка манж. обр. 2 ГОСТ 24188-80
4д. Конструкция и основные размеры конических прокладок для буртовых труб должны соответствовать указанным на черт. 8 и в табл .7.

Таблица 7
Размеры в мм
|
Условный проход D_y
|
D
|
D_1
|
D_2
|
Н
|
h
|
Масса, кг, не более
|
|
15
|
21
|
29, 00
|
36, 0
|
9, 5
|
1, 5
|
0, 005
|
|
25
|
33
|
43, 50
|
51, 0
|
11, 0
|
2, 0
|
0, 011
|
|
32
|
40
|
50, 00
|
58, 5
|
12, 0
|
0, 012
|
|
40
|
50
|
60, 50
|
69, 3
|
13, 0
|
0, 018
|
|
50
|
60
|
73, 46
|
84, 0
|
14, 0
|
0, 029
|
|
80*
|
92
|
106, 00
|
117, 5
|
16, 5
|
2, 5
|
0, 060
|
______________________________
* Прокладка предназначена для соединения конических клапанов с трубами с гладкими концами.
Примечание. Масса указана для корда плотностью 1, 43 г/см3.
Пример условного обозначения конической прокладки для трубы с коническими буртами Dу = 50 мм:
Прокладка кон. 50 ГОСТ 24188-80
То же, для исполнения 1:
Прокладка кон. 50-1 ГОСТ 24188-80
То же, для соединения конических клапанов с трубами с гладкими концами:
Прокладка кон. соед. 80 ГОСТ 24188-80
4е. Конструкция и основные размеры плоских прокладок должны соответствовать указанным на черт. 9 и в табл. 8.

Таблица 8
Размеры в мм
|
Условный проход аппаратуры D_y
|
D
|
D_1
|
Масса, кг, не более
|
|
80
|
80
|
107
|
0, 020
|
|
100
|
107
|
132
|
0, 024
|
|
150
|
157
|
184
|
0, 033
|
|
200
|
200
|
231
|
0, 048
|
|
250
|
252
|
283
|
0, 060
|
|
300
|
306
|
338
|
0, 075
|
|
400
|
406
|
434
|
0, 085
|
Пример условного обозначения плоской прокладки для аппаратуры Dу = 80 мм из маслобензостойкой резины:
Прокладка пл. 80-М ГОСТ 24188-80
То же, из кислотощелочестойкой:
Прокладка пл. 80-К ГОСТ 24188-80
То же, из пищевой:
Прокладка пл. 80-П ГОСТ 24188-80.
5. Материал прокладок оболочковых - фторопласт 4 ГОСТ 10007-80, остальных - резина или корд по рабочим чертежам.
6. Технические требования - по ГОСТ 24201-80.
7. Коды ОКП приведены в приложении.
Приложение
Справочное
(с изменениями от 29 ноября 1990 г.)
|
Тип прокладки
|
Условное обозначение прокладки
|
Код ОКП и контрольное число
|
|
Т-образная прокладка для труб с буртами
|
Т-обр. 15
Т-обр. 25
Т-обр. 32
Т-обр. 40
Т-обр. 50
|
25 3167 2034 02
25 3167 2037 04
25 3167 2041 03
25 3167 2044 00
25 3167 2047 08
|
|
Т-образные составные
|
Т-обр. С 67
|
25 3167 2001 00
|
|
Т-образные для труб с гладкими концами
|
Т-обр. 45
Т-обр. 67
Т-обр. 93
Т-обр. 122
Т-обр. 169
Т-обр. 221
|
25 3167 2002 00
25 3167 2008 04
25 3167 2015 05
25 3167 2022 06
25 3167 2028 08
25 3167 2091 04
|
|
Оболочковые
|
Об. 45
Об. 67
Об. 45X83
Об. 67X83
|
25 3167 2701 01
25 3167 2702 00
25 3167 2704 09
25 3167 2705 08
|
|
Г-образные
|
Г-обр. 45
Г-обр. 67
Г-обр. 93
Г-обр. 122
Г-обр. 169
|
25 3167 2054 09
25 3167 2061 06
25 3167 2067 04
25 3167 2074 05
25 3167 2081 06
|
|
Муфтообразные
|
М-обр. 15
М-обр. 25
М-обр. 32
М-обр. 40
М-обр. 50
|
25 3167 0001 08
25 3167 0004 05
25 3167 0007 02
25 3167 0011 06
25 3167 0014 03
|
|
Составные
|
25-50
32-60
40-70
50-84
50-89
|
25 3167 0023 02
25 3167 0027 09
25 3167 0024 01
25 3167 0025 03
25 3167 0026 05
|
|
Манжетообразные
|
Манж.-обр. 1
Манж.-обр. 1
|
25 3167 1608 02
25 3167 1607 01
|
|
Конические
|
Кон. 15
Кон. 25
Кон. 32
Кон. 40
Кон. 50
Кон. 50-1
Кон. 80
|
25 3167 1601 08
25 3167 1602 07
25 3167 1603 06
25 3167 1604 05
25 3167 1605 04
25 3167 1606 03
25 3167 1609 01
|
|
Плоские
|
Пл. 80
Пл. 100
Пл. 150
Пл. 200
Пл. 250
Пл. 300
Пл. 400
|
25 3167 0807 00
25 3167 0811 04
25 3167 0814 01
25 3167 0817 09
25 3167 0821 02
25 3167 0824 04
25 3167 0827 07
|