электронный сборник нормативных документов по строительству
Обновления
17.04.2026 22:49
электронный сборник нормативных документов по строительству

ГОСТ 21523.1-93 ДРЕВЕСИНА МОДИФИЦИРОВАННАЯ. МЕТОД ОПРЕДЕЛЕНИЯ ПРОЧНОСТИ ВТУЛОК

Введен в действие постановлением Комитета РФ по стандартизации, метрологии и сертификации от 2 июня 1994 г. N 160
Межгосударственный стандарт ГОСТ 21523.1-93
"ДРЕВЕСИНА МОДИФИЦИРОВАННАЯ. МЕТОД ОПРЕДЕЛЕНИЯ ПРОЧНОСТИ ВТУЛОК"

Modified wood. Method for determination of strength of bushes

Дата введения 1 января 1995 г.

Взамен ГОСТ 21523.1-76

1. Сущность метода

Сущность метода заключается в нагружении внутренней поверхности втулки, определении максимальной нагрузки ее разрушения и вычислении окружного напряжения.

2. Отбор и подготовка образцов

2.1. Втулки изготавливают из заготовок по ГОСТ 9629.

2.2. Количество втулок - по ГОСТ 16483.0. Коэффициент вариации - 15%.

2.3. Значение параметра шероховатости рабочих поверхностей втулок (Rz) не должно превышать 20 мкм по ГОСТ 2789.

2.4. Влажность втулок должна быть не более 8%.

3. Аппаратура и материалы

Машина испытательная с погрешностью измерения нагрузки не более 2%.

Штангенциркуль по ГОСТ 166.

Парафин по ГОСТ 23683.

4. Подготовка к испытаниям

4.1. Размеры втулки (внешний и внутренний диаметры, толщина стенок, длина) измеряют с погрешностью не более 0, 1 мм.

4.2. Втулку заполняют расплавленным парафином. Рекомендуемая температура расплава (70-80)°С. Затем парафин охлаждают до температуры (20+-2)°С.

4.3. Перед испытанием нагружаемую торцовую поверхность парафина обрабатывают для получения плоской поверхности. Поверхность парафина должна быть ниже верхнего торца втулки на 5-10 мм.

5. Проведение испытаний

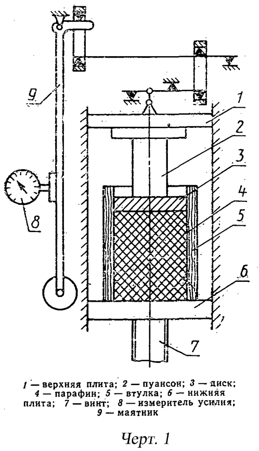
5.1. Втулку с пуансоном и диском помещают на нижнюю плиту испытательной машины (черт.). Зазор между внутренней поверхностью втулки и диском не должен превышать 0, 5 мм.

imagsfd55yh2e001.gif

5.2. Нагружение через парафин втулки осуществляют со скоростью (170+-30) Н/с.

5.3. По шкале измерителя усилия определяют значение максимальной нагрузки Р_р в момент разгружения втулки.

6. Обработка результатов

6.1. Прочность втулки (окружное напряжение сигма_тета в мегапаскалях вычисляют по формуле

                           K x Pр
сигматета = ────────── x 10-6,
                            пи s r

где К - коэффициент, зависящий от способа прессования, степени

прессования (i) и от отношения толщины втулки к ее

внутреннему радиусу (s/r), его значения приведены в

приложениях 1 и 2;

Рр - максимальная нагрузка в момент разрушения втулки, Н;

s - толщина втулки, м;

r - внутренний радиус втулки, м.

Вычисление производят с погрешностью не более 1, 0 МПа.

6.2. Статистическую обработку опытных данных выполняют по ГОСТ 16483.0.

6.3. Результаты измерений и расчетов заносят в протокол (приложение 3).

Приложение 1

Справочное

Значения коэффициента К для втулок с радиальным расположением волокон

s/r

К

i = 50%

i = 75%

i = 100%

0, 05

1, 025

1, 025

1, 025

0, 10

1, 049

1, 049

1, 049

0, 20

1, 097

1, 097

1, 097

0, 30

1, 144

1, 144

1, 144

0, 40

1, 190

1, 190

1, 190

0, 50

1, 235

1, 235

1, 235

Примечание. Промежуточные значения коэффициента определяют линейной интерполяцией.

Приложение 2

Справочное

Значения коэффициента К для втулок контурного прессования

s/r

К

i = 50%

i = 75%

1 = 100%

0, 05

0, 976

0, 976

0, 975

0, 10

0, 952

0, 952

0, 952

0, 20

0, 909

0, 908

0, 907

0, 30

0, 869

0, 867

0, 866

0, 40

0, 833

0, 829

0, 827

0, 50

0, 799

0, 794

0, 791

Примечание. Промежуточные значения коэффициента определяют линейной интерполяцией.

Приложение 3

Рекомендуемое

Протокол испытаний втулок из модифицированной древесины на прочность

Марка втулки _________________________________________________

Температура окружающего воздуха, °С __________________________

Начальная влажность, % _______________________________________

Номера втулок

Размеры втулки, мм

Максимальная нагрузка в момент разрушения втулки Р_p, Н

Прочность втулки, сигма_тета, МПа

внешний диаметр D

внутренний диаметр d

толщина s

длина L

Яндекс.Метрика