электронный сборник нормативных документов по строительству
Обновления
17.04.2026 22:49
электронный сборник нормативных документов по строительству

ГОСТ 21523.2-93 ДРЕВЕСИНА МОДИФИЦИРОВАННАЯ. МЕТОД ОПРЕДЕЛЕНИЯ ЖЕСТКОСТИ ВТУЛОК

Введен в действие постановлением Комитета Российской Федерации по стандартизации, метрологии и сертификации от 2 июня 1994 г. N 160
Межгосударственный стандарт ГОСТ 21523.2-93
"ДРЕВЕСИНА МОДИФИЦИРОВАННАЯ. МЕТОД ОПРЕДЕЛЕНИЯ ЖЕСТКОСТИ ВТУЛОК"

Modified wood. Method for determination of rigidity of bushes

Дата введения 1 января 1995 г.

Взамен ГОСТ 21523.2-76

1. Сущность метода

Сущность метода заключается в нагружении внутренней поверхности втулки, измерении деформации и определении модуля упругости в окружном направлении.

2. Отбор и подготовка образцов

2.1. Втулки изготавливают из заготовок по ГОСТ 9629.

2.2. Количество втулок - по ГОСТ 16483.0. Коэффициент вариации - 15%.

2.3. Значение параметра шероховатости рабочих поверхностей втулок (Rz) не должно превышать 20 мкм по ГОСТ 2789.

2.4. Влажность втулок должна быть не более 8%.

3. Аппаратура и материалы

Машина испытательная с погрешностью измерения нагрузки не более 2%.

Приспособление для испытаний (черт. 1).

Тензометры типа ТР по ГОСТ 18957.

Штангенциркуль по ГОСТ 166.

Парафин по ГОСТ 23683.

4. Подготовка к испытаниям

4.1. Размеры втулки (внешний и внутренний диаметры, толщина стенки, длина) измеряют с погрешностью не более 0, 1 мм.

4.2. Втулку заполняют расплавленным парафином. Рекомендуемая температура расплава (70-80)°С. Затем парафин охлаждают до температуры (20+-2)°С.

4.3. Для измерения деформации в окружном направлении на внешней поверхности втулки закрепляют приспособление с тензометром (черт. 1).

image0re701.gif

5. Проведение испытаний

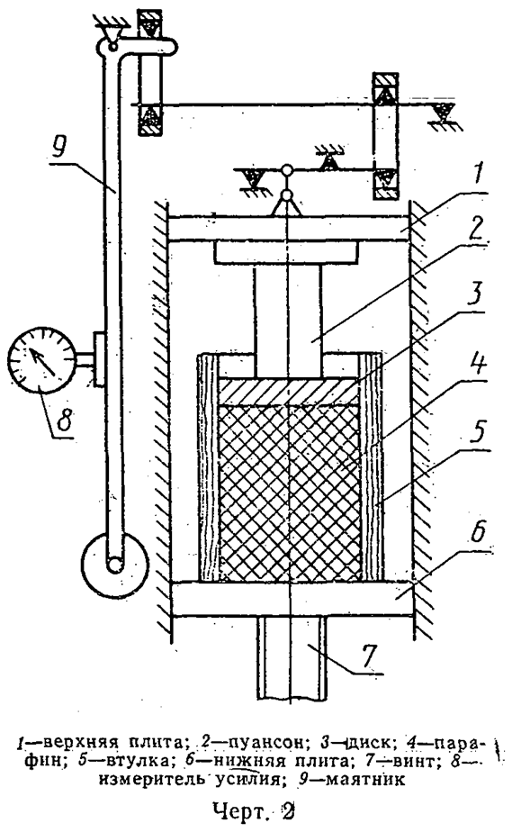
Для определения жесткости в окружном направлении втулку помещают на нижнюю плиту испытательной машины (черт. 2).

Перемещением пуансона нагружают втулку через парафин со скоростью (170+-30) Н/с до значения нагрузки Р_в (верхний предел), равного половине разрушающей нагрузки Р_р при испытании втулки на прочность. Затем нагрузку уменьшают до половины верхнего предела Р_н (нижний предел).

Нагружение указанным способом повторяют шесть раз. Для каждого нагружения отмечают показания тензометра и записывают в протокол (приложение 3).

image0re702.gif

6. Обработка результатов

6.1. Жесткость втулки, характеризуемую модулем упругости, в окружном направлении (Е_тэта) в мегапаскалях вычисляют по формуле

                                    К х Дельта Р
Етэта = ────────────────────────── x 10-6,
                                эпсилонтэта х пи r s

где К - коэффициент, зависящий от степени прессования (i),

способа прессования древесины и отношения толщины

втулки к ее внутреннему диаметру (s/r), его

значения приведены в приложениях 1 и 2;

Дельта Р - приращение нагрузки, равное разности между средними

арифметическими значениями верхнего и нижнего пределов

нагружения, Н;

r - внутренний радиус втулки, м;

s - толщина стенки втулки, м;

эпсилонтэта - относительное удлинение в окружном направлении, которое

вычисляют по формуле

                                Дельта lтэта
эпсилонтэта = ───────────────,
                                         l

где Дельта lтэта - среднее значение приращения деформации в

окружном направлении из трех последних отсчетов,

мм;

l - база тензометра, мм.

Вычисление производят с погрешностью не более 1, 0 МПа.

6.2. Статистическую обработку опытных данных выполняют по ГОСТ 16483.0.

6.3. Результат измерений и расчетов заносят в протокол (приложение 3).

Приложение 1
Справочное

Значения коэффициента К для втулок с радиальным расположением волокон

s/r

К

i = 50%

i = 75%

i = 100%

0, 05

0, 976

0, 976

0, 976

0, 10

0, 954

0, 954

0, 954

0, 20

0, 914

0, 914

0, 914

0, 30

0, 879

0, 879

0, 879

0, 40

0, 849

0, 849

0, 849

0, 50

0, 821

0, 822

0, 822

Примечание. Промежуточные значения коэффициента определяют линейной интерполяцией.

Приложение 2
Справочное

Значения коэффициента K для втулок контурного прессования

s/r

K

i = 50%

i = 75%

i = 100%

0, 05

1, 026

1, 026

1, 026

0, 10

1, 053

1, 053

1, 054

0, 20

1, 110

1, 112

1, 114

0, 30

1, 171

1, 177

1, 180

0, 40

1, 236

1, 246

1, 251

0, 50

1, 303

1, 319

1, 326

Примечание. Промежуточные значения коэффициента определяют линейной интерполяцией.

Приложение 3
Рекомендуемое

Протокол испытаний втулок из модифицированной древесины на жесткость в окружном направлении

Порода прессованной древесины и марка втулки ______________________

Температура окружающего воздуха, °С _______________________________

Начальная влажность втулки, % _____________________________________


Номер

Размеры втулки, мм

Нагрузка, Н, соответствующая

Показания тензометра, мм, соответствующие

Среднее значение приращения деформации из трех последних отсчетов, Дельта l_ тэта

Относительная деформация, эпсилон_тэта

Модуль упругости, Е_тэта, МПа

внешний диаметр D

внутренний диаметр d

толщина s

длина L

верхнему пределу Р_в

нижнему пределу Р_н

верхнему пределу

нижнему пределу

Яндекс.Метрика