ГОСТ 26003-2016 МЕБЕЛЬ ДЛЯ ОБЩЕСТВЕННЫХ ПОМЕЩЕНИЙ. СОЕДИНЕННЫЕ В РЯД СТУЛЬЯ (КРЕСЛА). ТРЕБОВАНИЯ И МЕТОДЫ ИСПЫТАНИЙ
Non-domestic furniture. Chairs (arm-chairs) linked together in a row. Requirements and test methods
Дата введения - 1 ноября 2017 г.
Взамен ГОСТ 26003-83
Предисловие
Цели, основные принципы и основной порядок проведения работ по межгосударственной стандартизации установлены в ГОСТ 1.0-2015 "Межгосударственная система стандартизации. Основные положения" и ГОСТ 1.2-2015 "Межгосударственная система стандартизации. Стандарты межгосударственные, правила и рекомендации по межгосударственной стандартизации. Правила разработки, принятия, обновления и отмены"
Сведения о стандарте
1 Разработан Техническим комитетом по стандартизации ТК 135 "Мебель"
2 Внесен Федеральным агентством по техническому регулированию и метрологии
3 Принят Межгосударственным советом по стандартизации, метрологии и сертификации (протокол от 27 июля 2016 г. N 89-П)
За принятие проголосовали:
|
Краткое наименование страны по МК (ИСО 3166) 004-97 |
Код страны по МК (ИСО 3166) 004-97 |
Сокращенное наименование национального органа по стандартизации |
|
Армения |
AM |
Минэкономики Республики Армения |
|
Беларусь |
BY |
Госстандарт Республики Беларусь |
|
Грузия |
GE |
Грузстандарт |
|
Казахстан |
KZ |
Госстандарт Республики Казахстан |
|
Киргизия |
KG |
Кыргызстандарт |
|
Россия |
RU |
Росстандарт |
|
Таджикистан |
TJ |
Таджикстандарт |
|
Узбекистан |
UZ |
Узстандарт |
|
Украина |
UA |
Минэкономразвития Украины |
4 Приказом Федерального агентства по техническому регулированию и метрологии от 26 апреля 2017 г. N 327-ст межгосударственный стандарт ГОСТ 26003-2016 введен в действие в качестве национального стандарта Российской Федерации с 1 ноября 2017 г.
5 В настоящем стандарте учтены основные нормативные положения следующих европейских региональных стандартов:
- EN 12727:2000 "Мебель. Жестко смонтированные ряды стульев. Методы испытаний на прочность и долговечность" ("Furniture - Ranked seating - Test methods and requirements for strength and durability", NEQ)
- EN 14703:2007 "Мебель. Соединительные элементы для соединенных в ряд кресел для нежилых помещений. Требования к прочности и методы испытаний". ("Furniture - Links for non-domestic seating linked together in a row - Strength requirements and test methods", NEQ)
6 Настоящий стандарт разработан для обеспечения соблюдения требований технического регламента Таможенного союза ТР ТС 025/2012 "О безопасности мебельной продукции"
7 Взамен ГОСТ 26003-83
Настоящий стандарт распространяется на стулья (кресла) для залов общественных помещений, назначение, типы и размеры которых соответствуют ГОСТ 16854, ГОСТ 16855, и устанавливает методы испытаний:
- стульев (кресел) нестационарных на устойчивость;
- стульев (кресел) с откидными сиденьями на прочность каркаса;
- креплений откидных сидений, консольных подлокотников, убирающихся столиков, накладных спинок на статическую прочность;
- испытания смещения ряда нестационарных стульев (кресел);
- прочность соединительных элементов нестационарных стульев (кресел).
Изделия серийного (массового) производства испытаниям на устойчивость не подвергаются. Стандарт не распространяется на кресла, изготовленные по специальным заказам.
В настоящем стандарте использованы нормативные ссылки на следующие межгосударственные стандарты:
ГОСТ 16854-91 Кресла для зрительных залов. Общие технические условия
ГОСТ 16855-91 Кресла для зрительных залов. Типы и основные размеры
ГОСТ 20400-2013 Продукция мебельного производства. Термины и определения
Примечание - При пользовании настоящим стандартом целесообразно проверить действие ссылочных стандартов в информационной системе общего пользования - на официальном сайте Федерального агентства по техническому регулированию и метрологии в сети Интернет или по ежегодному информационному указателю "Национальные стандарты", который опубликован по состоянию на 1 января текущего года и по выпускам ежемесячного информационного указателя "Национальные стандарты" за текущий год. Если ссылочный стандарт заменен (изменен), то при пользовании настоящим стандартом следует руководствоваться заменяющим (измененным) стандартом. Если ссылочный стандарт отменен без замены, то положение, в котором дана ссылка на него, применяется в части, не затрагивающей эту ссылку.
В настоящем стандарте применены термины по ГОСТ 20400, а также следующие термины с соответствующими определениями:
3.1 размещение стульев (кресел) в единый ряд: Отдельные оснащенные крепежными элементами стулья (кресла), соединенными друг с другом в ряд или используемые и хранящиеся по отдельности.
Примечание - Лавки (скамейки) с перекладиной или соединенные стационарно с полом или стеной здания стулья (кресла) не являются соединенными в едином ряду.
3.2 соединение в ряд с геометрическим замыканием: Соединения в ряд, которые сохраняются при переворачивании или поднятии стульев (кресел).
3.3 соединение в ряд, срабатывающее под действием силы тяжести: Соединение в ряд при котором в случаи постановки стула (кресла) рядом со следующим происходит их соединение, которое прекращает действовать при подъеме изделия.
4.1 Для испытания новых и модернизированных изделий берут четыре образца одной конструкции стула (кресла), из них:
- два образца для испытания на прочность каркаса;
- два образца для испытания креплений откидных сидений, консольных подлокотников, убирающихся столиков и накладных спинок на статическую прочность;
- четыре образца для испытания на устойчивость;
- блок (одиннадцать соединенных друг с другом стульев (кресел);
- блок (пять соединенных друг с другом стульев (кресел).
Испытание стульев (кресел), изготовленных секциями, проводят на образцах-моделях. За образец-модель принимают:
- один стул (кресло) с двумя боковыми опорами-подлокотниками, если в секции боковая и средняя опоры-подлокотники одинаковой конструкции;
- два смежных стула (кресла) с двумя боковыми и одной средней опорами-подлокотниками, если в секции конструкции боковых опор-подлокотников отличается от конструкции средних опор-подлокотников.
Количество и порядок отбора серийных образцов - по ГОСТ 16854.
4.2 Образцы стационарных стульев (кресел) должны крепиться к щитам, имитирующим их крепление к чистому полу или перекрытию, способом, предусмотренным технической документацией на изделие.
Размер щита должен быть равен проекции образца на пол, но не менее 700 х 600 мм. Толщина щита должна быть не менее 19 мм.
4.3 Крепежные узлы разъемных соединений стульев (кресел) должны быть плотно затянуты, сварные швы не должны иметь трещин, видимых невооруженным глазом.
4.4 Перед испытанием образцы выдерживают 3 сут. Выдержка и испытание образцов должны проводиться в помещении с относительной влажностью воздуха от 45% до 75% и температурой воздуха от 15°С до 30°С.
4.5 Если в изделии имеются клеевые соединения древесины, то со дня изготовления до испытания должно пройти не менее четырех недель при условии его хранения в комнатных условиях.
Сущность метода заключается в воздействии на стул (кресло) вертикальной и горизонтальной нагрузок, вызывающих опрокидывание изделия.
Испытание на устойчивость проводят согласно рисунку 1.
5.1 Оборудование
5.1.1 Два пружинных динамометра, обеспечивающих возможность измерения нагрузок до (1000 ± 50) Н, или любое другое устройство, обеспечивающее создание опрокидывающего момента по данным схемам испытаний и позволяющее определять значение действующих при этом нагрузок.
5.1.2 Два груза М массой (50, 0 ± 0, 25) кг и площадью основания (0, 05 ± 0, 01) м2 каждый.
5.1.3 Два жестко закрепляемых упора для опор (ножек) кресел. Высота упоров не должна превышать 20 мм.
5.2 Подготовка и проведение испытаний согласно рисунку 1 (схема 1)
5.2.1 Образец, состоящий из одного стула (кресла) или из двух смежных стульев (кресел), устанавливают на горизонтальную плоскость так, чтобы две передние (крайние) опоры (ножки) образца касались упоров согласно рисунку 1 (схема 1).

Рисунок 1
5.2.2 На переднем крае сиденья кресла располагают груз М так, как указано на рисунке 1 (схема 1), при этом центр тяжести груза М должен проходить через точку, находящуюся в вертикальной плоскости симметрии сиденья на расстоянии b = (125 ± 5) мм от его передней кромки, и фиксируют начало опрокидывания.
При испытании образца, состоящего из двух смежных стульев (кресел), следует указанным способом одновременно загружать оба сиденья образца.
Началом опрокидывания считается момент, когда образец начинает наклоняться, опираясь только на опоры (ножки), находящиеся со стороны упоров.
5.2.3 Результаты испытания заносят в протокол испытаний (см. приложение А).
5.3 Подготовка и проведение испытаний согласно рисунку 1 (схема 2).
5.3.1 Образец, состоящий из одного стула (кресла) или двух смежных стульев (кресел), устанавливают на горизонтальную плоскость так, чтобы две задние (крайние) опоры (ножки) образца касались упоров согласно рисунку 1 (схема 2).
На сиденье образца помещают груз М на расстоянии (125 ± 5) мм от заднего края сиденья согласно рисунку 1 (схема 2), и фиксируют его любым доступным способом от перемещений.
При испытании образца, состоящего из двух смежных стульев (кресел), следует указанным способом одновременно загружать оба сиденья образца.
Если сиденье кресла откидное, то его следует закрепить в рабочем положении от перемещений вокруг оси вращения любым доступным способом.
5.3.2 С помощью пружинного динамометра или любого другого приспособления к середине верхнего края спинки стула (кресла) прикладывают нагрузку Р согласно рисунку 1 (схема 2), постепенно увеличивая ее до начала опрокидывания кресла.
При испытании образца, состоящего из двух смежных кресел, нагрузку прикладывают к каждой из спинок образца одновременно.
Началом опрокидывания считают момент, когда образец начинает наклоняться, опираясь только на опоры (ножки), находящиеся со стороны упоров.
5.3.3 В протокол испытаний (см. приложение А) заносят:
- значение нагрузки Р, вызывающей опрокидывание образца, состоящего из одного кресла;
- суммарное значение нагрузок Р, вызывающих опрокидывание образца, состоящего из двух смежных кресел.
5.4 Обработка результатов
5.4.1 Нестационарные стулья (кресла) считают устойчивыми, если каждый из образцов не опрокинулся при испытании согласно рисунку 1 (схема 1), а значение нагрузки Р, вызывающей начало опрокидывания при испытании согласно рисунку 1 (схема 2) соответствует норме, установленной ГОСТ 16854.
Сущность метода заключается в воздействии многократных ударных нагрузок на откидное сиденье образца.
6.1 Оборудование
6.1.1 Устройство, обеспечивающее:
- свободное падение груза с заданной высоты с частотой (0, 660 ± 0, 033) Гц или (40 ±2) цикл/мин;
- груз массой (50±0, 250) кг. Основание груза - круг диаметром (250±5) мм.
6.1.2 Любой измерительный инструмент, обеспечивающий измерение линейных величин с погрешностью не более 0, 5 мм.
6.1.3 Пластина из эластичного пенополиуретана или другого эластичного материала размером не менее 300 х 300 мм, толщиной 20 мм.
6.2 Подготовка к испытанию
6.2.1 Образец устанавливают и жестко закрепляют на площадке стенда так, чтобы удар от падающего на сиденье груза приходился в вертикальной плоскости симметрии стула (кресла) на расстоянии b, равном (125 ± 5) мм от передней кромки сиденья стула (кресла) (см. рисунок 2).

Рисунок 2
При испытании образца, состоящего из двух смежных стульев (кресел), действию ударной нагрузки подвергают каждое из сидений образца поочередно.
6.2.2 Откидное сиденье образца устанавливают в рабочее положение (см. рисунок 2) и измеряют расстояние Н, находящееся между серединой нижней кромки переднего края сиденья и опорной поверхностью площадки стенда.
Полученное значение обозначают H0 и заносят в протокол (см. приложение А).
Если сиденье стула (кресла) жесткое, то на него на место падения груза, помещают пластину из эластичного пенополиуретана, указанную в 6.1.3.
6.2.3 Груз, создающий ударную нагрузку, устанавливают на высоте R, равной (100 ± 5) мм над верхней поверхностью сиденья (см. рисунок 2).
6.2.4 Счетчик циклов устанавливают в автоматический режим работы.
6.2.5 Включают стенд и нагружают образец циклической ударной нагрузкой до нормативного количества циклов, установленного ГОСТ 16854, затем снимают нагрузку, измеряют расстояние Н, полученное значение обозначают Hn и заносят в протокол испытаний (см. приложение А).
6.3 Обработка результатов
6.3.1 После достижения нормативного количества циклов нагружения, указанного в ГОСТ 16854, изделие осматривают, фиксируют в журнале наличие дефектов (излом деталей, ослабление или разрушение конструктивных соединений и нарушение функциональности подвижных деталей) и вычисляют деформацию Е, мм, по формуле
E=H0-Hn.
(1)
6.3.2 Стулья (кресла) считают выдержавшими испытание на прочность каркаса, если после достижения нормативного количества циклов нагружения, установленного ГОСТ 16854, значение деформации Е каждого образца не превышает установленную ГОСТ 16854 норму и в изделии не обнаружены дефекты, указанные в 6.4.1.
Сущность метода заключается в воздействии на контролируемый элемент стула (кресла) статической нагрузки направленной вертикально вниз.
7.1 Оборудование - устройство, обеспечивающее возможность:
- приложения вертикальной статической нагрузки до 5000 Н;
- скорость нагружения (10±2) мм/мин;
- измерения нагрузки с погрешностью ±1% номинального значения;
- фиксации нажимного приспособления (штампа);
- фиксации образца в требуемом положении.
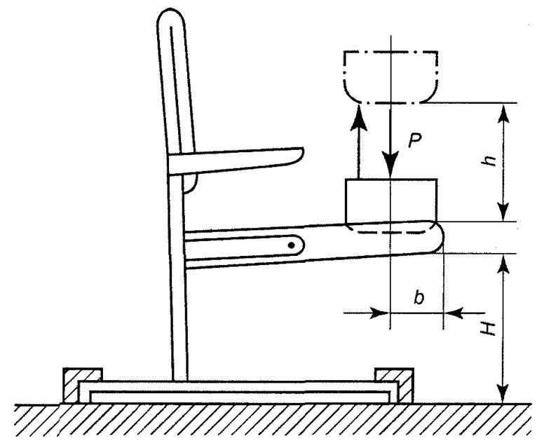
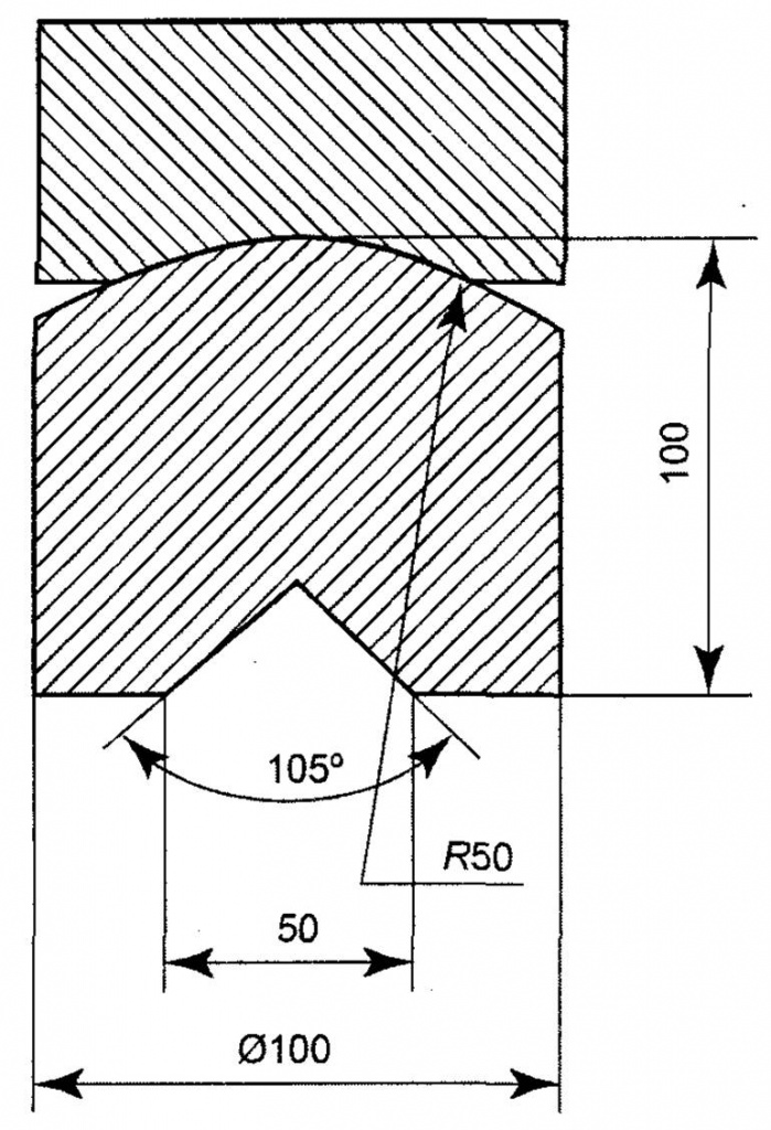
Нажимное приспособление (штамп) для испытания откидных сидений и накладных спинок должно соответствовать рисунку 3.

Рисунок 3
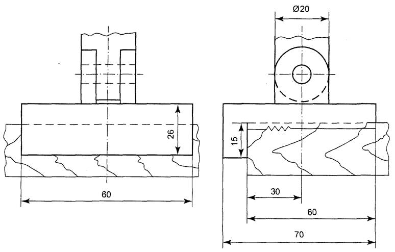
Нажимное приспособление (штамп) для испытания консольных подлокотников должно соответствовать рисунку 4.
Нажимное приспособление (штамп) для испытания убирающихся столиков должно соответствовать рисунку 5.
Допустимые отклонения от размеров, указанных на рисунках 3 - 5, допуски устанавливают в технической документации на испытательное приспособление.

Рисунок 4

Рисунок 5
7.2 Подготовка к испытанию
7.2.1 Образец, предназначенный для испытания, визуально осматривают. Проверяют крепежные узлы, подвижность откидного сиденья, механизм трансформаций убирающихся столиков.
7.2.2 Образец устанавливают на столе стенда и жестко закрепляют так, чтобы линия действия нагрузки Р проходила:
- при испытании откидного сиденья - через середину передней кромки сиденья, как указано на рисунке 6 (схема 1);
- при испытании консольных подлокотников, через 1/2 их ширины, как указано на рисунке 6. Варианты расположения нажимного приспособления на подлокотниках различных форм даны в приложении Б;
- при испытании убирающихся столиков - через 1/2 его длины, как указано на рисунке 6 (схема 3);
- при испытании накладных спинок - через середину верхней кромки спинки, как указано на рисунке 6 (схема 4).
7.2.3 При испытании откидного сиденья, его устанавливают в вертикальное положение (рисунок 6, схема 1) по отношению к площади опоры и ограничивают его перемещение вокруг оси вращения.
7.2.4 При испытании накладных спинок, опирающихся нижней кромкой в плоскость откидного сиденья, сиденье следует установить в вертикальное положение без закрепления (рисунок 6, схема 4).
7.3 Проведение испытаний
Образец нагружают вертикальной статической нагрузкой в соответствии с выбранной схемой испытания (рисунок 6) до нормативного значения, установленного ГОСТ 16854, или до появления признаков разрушения. Испытаниям подвергают все контролируемые элементы образца.

Рисунок 6
7.4 Обработка результатов
Крепления контролируемых элементов стула (кресла) - откидного сиденья, консольного подлокотника, убирающегося столика, накладной спинки считают выдержавшими испытание на статическую прочность, если после снятия нормативной нагрузки каждый образец не имеет разрушений (смятие древесины, разрыв сварного шва, вырыв крепежной фурнитуры и т.п.).
8.1 Испытание проводят на блоке, состоящем из одиннадцати соединенных друг с другом стульев (кресел). Крайние стулья (кресла) блока фиксируются с помощью стопорных приспособлений, чтобы избежать их смещения вперед или назад. Фиксация не должна препятствовать повороту крайних стульев (кресел) при изгибе ряда.
Если необходимо, нагрузить оба внешних стула (кресла) равномерно распределенными грузами, с массой достаточной для предотвращения опрокидывания ряда изделий.
К центру переднего края конструкции среднего стула (кресла) прикладывается горизонтальная, направленная назад сила Р, равная 200 Н. Измеряется смещение - расстояние/по нормали от передних ножек центрального кресла до прямой линии, соединяющей передние ножки крайних в ряду кресел (см. рисунок 7).
Процедура повторяется с приложением заднему краю конструкции центрального сиденья силы Р, равной 200 Н, направленной горизонтально вперед.
Смещение центральной точки ряда стульев (кресел) не должно превышать:
- 200 мм при приложении горизонтальной нагрузки Р назад;
- 200 мм при приложении горизонтальной нагрузки Р вперед.
8.2 Если соединительные элементы должны удерживать стулья (кресла) в изогнутом, а не в прямом ряду, смещением считается разница расстояний/по нормали от передних ножек центрального стула (кресла) до прямой линии, соединяющей передние ножки крайних в ряду стульев (кресел), измеренных до приложения нагрузки и под нагрузкой.

Рисунок 7 - Проверка смещения ряда стульев (кресел) назад
9.1 Общие положения
Данные испытания проводятся для определения способности соединительных элементов сохранять свои функции при значительных нагрузках. Нарушением функциональности соединительных элементов считается, если в результате испытаний в соответствии с 9.1.1 и 9.1.2:
- ряд стульев (кресел) остался невредимым, но соединительный механизм или конструкция стула (кресла) имеют повреждения (вариант А);
- как минимум в одном стуле (кресле) нарушено соединение с соседним стулом (креслом) (вариант В).
9.1.1 Испытательное оборудование
Устройство для испытания на стойкость к горизонтальным ударным нагрузкам состоит из баскетбольного мяча стандартного размера 5 по классификации WBA (World Basketball Association), с давлением надува (73, 5 ± 5) кПа, закрепленного сетью из эластичных веревок на кольце для мяча. Кольцо изготавливается из древесины или древесных материалов. Наружный диаметр кольца 150 мм, внутренний диаметр 90 мм. Задняя поверхность кольца плоская и соединена с основным элементом ударного устройства - наборными грузами. Передняя сторона должна иметь форму вогнутой сферы диаметром, соответствующим диаметру баскетбольного мяча.
Основной элемент устройства для испытания на стойкость к ударам подвешивается на веревках или эластичных тесемках длиной 850 мм таким образом, чтобы продольная ось, проходящая через мяч, кольцо и основной элемент, была выровнена горизонтально, когда удерживающие веревки находятся в вертикальном положении (см. рисунок 8).
Главная часть устройства для испытания на стойкость к ударам вместе со всеми подвижными элементами, но без удерживающих веревок, должна обладать массой 50 кг.
9.1.2 Испытание на опрокидывание
Испытание должно проводиться на блоке, состоящем из одиннадцати соединенных друг с другом стульев (кресел).
Следует установить стопорные приспособления, чтобы избежать смещения обоих крайних стульев (кресел) вперед или назад.

Рисунок 8 - Испытательное приспособление для испытания на стойкость к горизонтальным ударам
К центру верхнего края спинки центрального стула (кресла) прикладывается направленная горизонтально назад сила, которой достаточно, чтобы опрокинуть ряд стульев (кресел).
Данную процедуру повторяют с приложением к центру верхнего края спинки центрального стула (кресла), направленной вперед силы, которой достаточно, чтобы опрокинуть ряд стульев (кресел).
9.1.3 Испытание на прочность к горизонтальным ударам
Испытание должно проводиться на блоке, состоящем из пяти соединенных друг с другом стульев (кресел).
Следует установить стопорные приспособления, чтобы избежать смещения обоих крайних стульев (кресел) вперед или назад.
Крайние стулья (кресла) нагружают грузами массой 160 кг.
Испытательное приспособление для испытания на стойкость к ударам (см. 9.1.1) устанавливают таким образом, чтобы оно в положении покоя касалось места удара.
Испытательное приспособление для испытания на стойкость к ударам отводят для удара назад, так, чтобы уровень центральной оси приспособления поднялся на 60 мм (см. рисунок 8, схема а). Всего должно быть произведено 10 ударов.
Направленный горизонтально назад удар наносят в центр переднего края сиденья центрального кресла (см. рисунок 9).

Рисунок 9 - Испытание на стойкость к горизонтальным ударам
Данную процедуру повторяют, при этом 10 раз производят направленный горизонтально вперед удар по центру верхнего края спинки центрального стула (кресла).
9.1.4 Результаты испытаний оформляют протоколом (см. приложение А).
9.2 Стулья (кресла) считают выдержавшими испытания, если полученные при испытании показатели устойчивости и прочности каждого отобранного образца и блока стульев (кресел) будут соответствовать нормам, предусмотренным ГОСТ 16854.
Приложение А
(рекомендуемое)
УТВЕРЖДАЮ:
ПРОТОКОЛ ИСПЫТАНИЙ
1 Наименование и обозначение изделий
2 Заявитель, юридический адрес
3 Изготовитель, юридический адрес
4 Основание для проведения испытаний (письмо) или акт отбора образцов
(при необходимости)
5 Обозначение нормативных документов на продукцию
6 Обозначение нормативных документов на методы испытаний
7 Определяемые показатели
8 Перечень испытательного оборудования, сведения об его аттестации
(поверке)
9 Краткая характеристика объекта испытаний
10 Результаты испытаний
11 Заключение (при необходимости)
Личные подписи Расшифровка подписей
Предприятие-изготовитель ________________________________________________
Проект, индекс изделия __________________________________________________
Схема и краткая характеристика изделия __________________________________
1 Результаты испытаний нестационарных кресел на устойчивость
|
Номер образца |
Схема испытания |
Р, Н |
Данные об устойчивости |
2 Результаты испытаний каркаса кресел на прочность
|
Номер образца |
Количество циклов нагружения |
H0 |
Hn |
Е |
Характер разрушения |
|
мм | |||||
3 Результаты испытаний элементов кресла на статическую прочность
|
Номер образца |
Наименование контролируемого элемента |
Номер схемы испытания |
Значение нагрузки Р, Н |
Характер разрушения |
4 Результаты испытания соединительных элементов
|
Номер образца |
Тип соединительных элементов |
Номер схемы испытания |
Значение нагрузки Р, Н |
Характер разрушения |
Приложение Б
(справочное)



