ГОСТ 25628.3-2016 КОЛОННЫ ЖЕЛЕЗОБЕТОННЫЕ КРАНОВЫЕ ДЛЯ ОДНОЭТАЖНЫХ ЗДАНИЙ ПРЕДПРИЯТИЙ. ТЕХНИЧЕСКИЕ УСЛОВИЯ
Reinforced concrete columns with cranes for single-storey industrial buildings. Specifications
Дата введения - 1 января 2017 г.
Введен впервые
Предисловие
Цели, основные принципы и основной порядок проведения работ по межгосударственной стандартизации установлены ГОСТ 1.0-2015 "Межгосударственная система стандартизации. Основные положения" и ГОСТ 1.2-2015 "Межгосударственная система стандартизации. Стандарты межгосударственные, правила и рекомендации по межгосударственной стандартизации. Правила разработки, принятия, обновления и отмены"
Сведения о стандарте
1 Разработан Центральным научно-исследовательским и проектно-экспериментальным институтом промышленных зданий и сооружений (АО "ЦНИИПромзданий")
2 Внесен Техническим комитетом по стандартизации ТК 465 "Строительство"
3 Принят Межгосударственным советом по стандартизации, метрологии и сертификации (протокол от 29 марта 2016 г. N 86-П)
За принятие проголосовали:
|
Краткое наименование страны по МК (ИСО 3166) 004-97 |
Код страны по МК (ИСО 3166) 004-97 |
Сокращенное наименование национального органа по стандартизации |
|
Армения Киргизия Россия |
AM KG RU |
Минэкономики Республики Армения Кыргызстандарт Росстандарт |
4 Приказом Федерального агентства по техническому регулированию и метрологии от 1 июля 2016 г. N 783-ст межгосударственный стандарт ГОСТ 25628.3-2016 введен в действие в качестве национального стандарта Российской Федерации с 1 января 2017 г.
5 Введен впервые
1.1 Настоящий стандарт распространяется на железобетонные колонны из тяжелого бетона, предназначенные для каркасов одноэтажных зданий предприятий с мостовыми опорными кранами грузоподъемностью до 50 т всех отраслей промышленности.
1.2 Стандарт устанавливает дополнительные требования к основным размерам и маркировке железобетонных колонн. Основные требования по изготовлению, маркировке, приемке, транспортированию и хранению железобетонных колонн приведены в ГОСТ 25628.1.
1.3 Совместное использование настоящего стандарта с ГОСТ 25628.2 обеспечивает строительный комплекс всей номенклатурой требуемых типов и типоразмеров колонн.
В настоящем стандарте использованы нормативные ссылки на следующие межгосударственные стандарты:
ГОСТ 13015-2012 Изделия бетонные и железобетонные для строительства. Общие технические требования. Правила приемки, маркировки, транспортирования и хранения
ГОСТ 23009-2016 Конструкции и изделия бетонные и железобетонные сборные. Условные обозначения (марки)
ГОСТ 25628.1-2016 Колонны железобетонные для одноэтажных зданий предприятий. Технические условия
ГОСТ 25628.2-2016 Колонны железобетонные бескрановые для одноэтажных зданий предприятий. Технические условия
ГОСТ 26433.0-85 Система обеспечения точности геометрических параметров в строительстве. Правила выполнения измерений. Общие положения
ГОСТ 26433.1-85 Система обеспечения точности геометрических параметров в строительстве. Правила выполнения измерений. Элементы заводского изготовления
Примечание - При пользовании настоящим стандартом целесообразно проверить действие ссылочных стандартов в информационной системе общего пользования - на официальном сайте Федерального агентства по техническому регулированию и метрологии в сети Интернет или по ежегодному информационному указателю "Национальные стандарты", который опубликован по состоянию на 1 января текущего года, и по выпускам ежемесячного информационного указателя "Национальные стандарты" за текущий год. Если ссылочный стандарт заменен (изменен), то при пользовании настоящим стандартом следует руководствоваться заменяющим (измененным) стандартом. Если ссылочный стандарт отменен без замены, то положение, в котором дана ссылка на него, применяется в части, не затрагивающей эту ссылку.
В настоящем стандарте применены термины по ГОСТ 25628.1.
4.1 Колонны следует изготовлять, принимать, транспортировать и хранить в соответствии с требованиями настоящего стандарта и ГОСТ 25628.1.
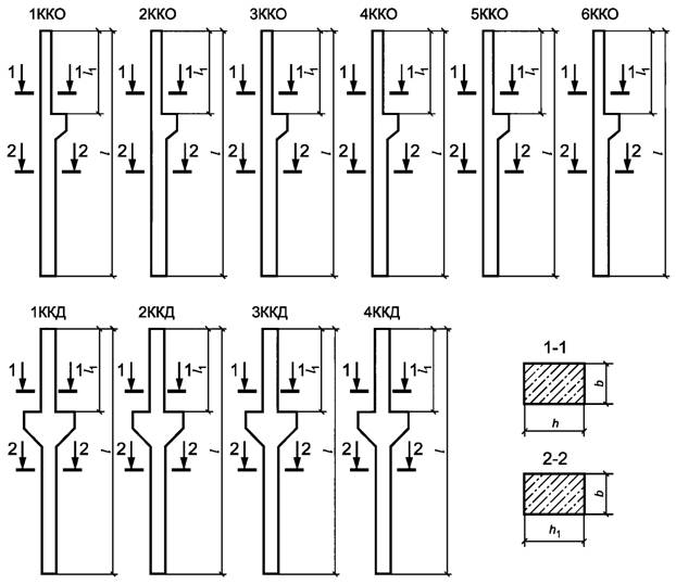
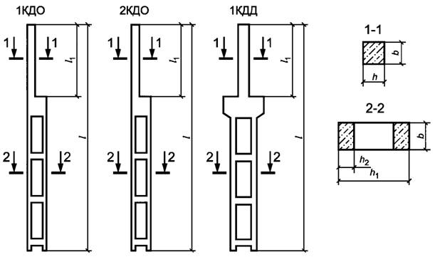
4.2 Форма и основные размеры наиболее часто применяемых колонн для зданий с мостовыми кранами приведены в приложении А.
4.3 Значения фактических отклонений геометрических параметров колонн не должны превышать предельных значений, указанных в таблице 1.
4.4 В колоннах, предназначенных для эксплуатации в условиях воздействия агрессивных газообразных сред, минусовые отклонения толщины защитного слоя бетона до арматуры, приведенные в таблице 1, не допускаются.
4.5 Несущая способность конкретной марки колонны зависит от класса арматуры и бетона и определяется автором проекта здания (сооружения) по действующим в период применения нормативным документам.
Таблица 1
|
В миллиметрах | ||
|
Отклонение геометрического параметра |
Геометрический параметр |
Предельное отклонение |
|
Отклонение от линейного размера |
Длина колонны и размер от торца колонны до опорной плоскости консоли: | |
|
до 4000 включ. |
±12 | |
|
св. 4000 " 8000 " |
±15 | |
|
" 8000 " 16000 " |
±20 | |
|
" 16000 |
±25 | |
|
Размер поперечного сечения колонны или ветви двухветвевой колонны: | ||
|
до 250 включ. |
±4 | |
|
св. 250 " 500 " |
±5 | |
|
" 500 |
±6 | |
|
Общая высота поперечного сечения нижней части двухветвевой колонны: | ||
|
до 1600 включ. |
±8 | |
|
св. 1600 |
±10 | |
|
Размер, определяющий положение: | ||
|
- строповочного отверстия или монтажной петли |
15 | |
|
- закладного изделия на плоскости колонны для элемента закладного изделия длиной: | ||
|
до 100 включ. |
5 | |
|
св. 100 |
10 | |
|
Несовпадение плоскостей колонны и элемента закладного изделия |
3 | |
|
Отклонение от прямолинейности профиля боковых граней на всей длине колонны длиной: до 4000 включ. св. 4000 " 8000 " " 8000 " 16000 " " 16000 |
- |
8 10 12 15 |
|
Отклонение от перпендикулярности торцевой и боковых граней колонны при размере ее поперечного сечения: до 250 включ. св. 250 " 500 " " 500 |
- |
4 5 6 |
|
Отклонение толщины защитного слоя бетона до рабочей арматуры |
- |
+10 -5 |
4.6 Колонны обозначают марками в соответствии с требованиями ГОСТ 13015 и ГОСТ 23009.
4.7 Обозначения типов колонн должны соответствовать требованиям ГОСТ 25628.1 и настоящего стандарта.
4.7.1 Габаритные размеры колонны приводят в дециметрах (с округлением до целого числа) в первой группе марки колонны, при этом дополнительные размеры колонн, зависящие от размера надкрановой части или других технологических факторов, приводят в скобках после основного обозначения.
4.7.2 Для типов колонн ККО, ККД, ККПО, ККПД классификация типоразмеров приведена в таблице 2, для типов КДО, КДД, КДПО, КДПД - в таблице 3.
Таблица 2
|
Типоразмер |
Сечение b×h1×h, мм |
Типоразмер |
Сечение b×h1×h *h, мм |
Типоразмер |
Сечение b×h1×h, мм |
|
1ККО |
400x600x380 |
6ККО |
400x900x600 |
1ККПО |
400x700x900 |
|
2ККО |
400x700x600 |
1ККД |
400x600x600 |
1ККПО |
400x800x900 |
|
3ККО |
400x700x380 |
2ККД |
400x700x600 |
3ККПО |
400x900x900 |
|
4ККО |
400x800x600 |
3ККД |
400x800x600 |
1ККПД |
400x800x900 |
|
5ККО |
400x800x380 |
4ККД |
400x900x600 |
2ККПД |
400x900x900 |
|
b - ширина поперечного сечения колонны; h1 - высота поперечного сечения колонны; h - высота поперечного сечения надкрановой части колонны. | |||||
Таблица 3
|
Типоразмер |
Сечение b×h1(h2)×h, мм |
Типоразмер |
Сечение b×h1(h2)×h, мм |
|
1КДО |
500x1400(200)x600 |
1КДПО |
500х1400(200)х900 |
|
2КДО |
500x1400(250)x600 |
2КДПО |
500х1400(250)х900 |
|
1КДД |
500x1900(300)х700 |
1КДПД |
500x1900(300)х900 |
|
b - ширина поперечного сечения колонны; h1 - высота поперечного сечения колонны; h - высота поперечного сечения надкрановой части колонны; h2 - высота поперечного сечения отдельной ветви колонны. | |||
Пример условного обозначения (марки) одноконсольной колонны типа ККО для зданий с мостовым опорным краном высотой здания 9, 6 м, с размерами поперечного сечения 400x600 мм, с высотой поперечного сечения надкрановой части колонны 380 мм и размером надкрановой части 2, 9 м, второй группы по несущей способности, колонны, изготовленной из бетона пониженной проницаемости (П) и предназначенной для применения в условиях воздействия слабоагрессивной газообразной среды для зданий с расчетной сейсмичностью 7 баллов:
1ККО96(29)-2-ПС
Примечание - Допускается применять обозначение марок колонн в соответствии с рабочими чертежами на эти колонны до их пересмотра в соответствии с [1] - [4].
5.1 Приемку колонн проводят по ГОСТ 13015, ГОСТ 25628.1 и настоящему стандарту.
5.2 Колонны типов ККО, ККД, ККПО, ККПД, КДО, КДД, КДПО, КДПД и КДФ следует принимать на основании результатов сплошного контроля по показателям точности геометрических параметров, толщине защитного слоя бетона до арматуры, категории бетонной поверхности и ширине раскрытия поверхностных технологических трещин.
Размеры, отклонения от прямолинейности и перпендикулярности, ширину раскрытия поверхностных технологических трещин, размеры раковин, наплывов и околов бетона колонн следует проверять методами, установленными ГОСТ 26433.0 и ГОСТ 26433.1.
7.1 Транспортирование и хранение колонн следует осуществлять в горизонтальном положении в соответствии с требованиями настоящего стандарта, ГОСТ 13015, ГОСТ 25628.1 и ГОСТ 25628.2.
7.2 При перевозке железнодорожными платформами колонны размещают в 3 - 4 ряда по высоте. Горизонтальные прокладки между рядами располагают от торцов на расстоянии 1/4 - 1/5 длины колонны (см. рисунок 1). Крепление производят с помощью стоек, скрепленных с нижним и верхним поперечными брусками. Нижний брусок, кроме того, прибивают к полу платформы. Стойки закрепляют двумя парами растяжек из проволоки диаметром 6 мм в шесть нитей.
Рисунок 1 - Схема перевозки двухветвевых колонн на платформах
7.3 Автомобильный транспорт используют при перевозках на расстояния до 500 км. Для перевозки колонн используют специализированные автотранспортные средства.
Примечания
1 Наибольшее распространение получили автопоезда, состоящие из седельного тягача и специализированного полуприцепа.
2 По погрузочной высоте (расстояние от плоскости, по которой осуществляется опирание перевозимого груза, до уровня земли) полуприцепы подразделяют на три типа: высокорамные, погрузочная высота которых больше высоты расположения седельно-сцепного устройства и больше диаметра колес полуприцепа; низкорамные, погрузочная высота которых меньше высоты расположения седельно-сцепного устройства и меньше диаметра колес полуприцепа; полунизкорамные, погрузочная высота которых меньше высоты расположения седельно-сцепного устройства, но больше диаметра колес полуприцепа.
Перевозку колонн на большие расстояния рекомендуется проводить в специально смонтированных контейнерах. При их отсутствии крепление колонн проводят с помощью специальных приспособлений (см. 7.2).
7.4 При хранении колонны следует укладывать на инвентарные подкладки из дерева, располагаемые в зонах сортировки.
7.5 Толщину и ширину прокладки назначают с учетом прочности древесины на смятие и значения зазора между конструкциями.
7.6 Ширину прокладки назначают с учетом прочности древесины на смятие. Толщина прокладки должна обеспечивать наличие зазора от верха монтажной петли не менее 20 мм.
7.7 Подъем колонн следует осуществлять с применением специальных траверс с захватом за строповочные отверстия или монтажные петли.
Приложение А
(рекомендуемое)
Форма и основные размеры приведены для колонн:
- сплошного прямоугольного поперечного сечения для одноэтажных производственных зданий с кранами грузоподъемностью 5, 16, 20 и 32 т [1] - на рисунке А.1 и в таблице А.1;
- сплошного прямоугольного поперечного сечения для одноэтажных производственных зданий с мостовыми кранами грузоподъемностью 5, 16, 20 и 32 т. с проходами в уровне крановых путей [2] - на рисунке А.2 и в таблице А.2;
- сквозного (двухветвевые) прямоугольного поперечного сечения для одноэтажных производственных зданий с кранами грузоподъемностью 20, 32 и 50 т. [3] - на рисунке А.3 и в таблице А.3;
- сквозного (двухветвевые) прямоугольного поперечного сечения для одноэтажных производственных зданий с мостовыми кранами грузоподъемностью 20, 32 и 50 т с проходами в уровне крановых путей [4] - на рисунке А.4 и в таблице А.4.
|
Высота здания, м |
Грузоподъемность крана, т |
Типоразмер колонны* |
Основные размеры колонны, мм |
Рисунок | ||||
|
l |
l1 |
b |
h |
h1 | ||||
|
8, 4 |
5 |
1ККО84(29) (1КК84) |
9300 |
2900 |
400 |
380 |
600 |
А.1 |
|
10; 16 |
1ККО84(35) (2КК84) |
3500 | ||||||
|
5 |
3ККО84(33) (3КК84) |
9450 |
3300 |
600 |
700 | |||
|
10; 16 |
3ККО84(39) (4КК84) |
3900 | ||||||
|
5 |
1ККД84(29) (5КК84) |
9300 |
2900 |
600 | ||||
|
10; 16 |
1ККД84(35) (6КК84) |
3500 | ||||||
|
5 |
2ККД84(33) (7КК84) |
9450 |
3300 |
700 | ||||
|
10; 16 |
2ККД84(39) (8КК84) |
3900 | ||||||
|
5 |
2ККД84(27/26) (9КК84) |
8850 (8750) |
2700 (2600) | |||||
|
10; 16 |
2ККД84(33/32) (10КК84) |
3300 (3200) | ||||||
|
9, 6 |
5 |
1ККО96(29) (1КК96) |
10500 |
2900 |
380 |
600 | ||
|
10; 16 |
1ККО96(35) (2КК96) |
3500 | ||||||
|
9, 6 |
16; 20 |
1ККО96(41) (3КК96) |
10500 |
4100 | ||||
|
5 |
3ККО96(33) (4КК96) |
10650 |
3300 |
600 |
700 | |||
|
10; 16 |
3ККО96(39) (5КК96) |
3900 | ||||||
|
16; 20 |
3ККО96(45) (6КК96) |
4500 | ||||||
|
5 |
1ККД96(29) (7КК96) |
10500 |
2900 |
600 | ||||
|
10; 16 |
1ККД96(35) (8КК96) |
3500 | ||||||
|
16; 20 |
1ККД96(41) (9КК96) |
10500 |
4100 | |||||
|
5 |
2ККД96(33) (10КК96) |
10650 |
3300 |
700 | ||||
|
10; 16 |
2ККД96(39) (11КК96) |
3900 | ||||||
|
16; 20 |
2ККД96(45) (12КК96) |
4500 | ||||||
|
5 |
2ККД96(27/26) (13КК96) |
10050 (9950) |
2700 (2600) | |||||
|
10; 16 |
2ККД96(33/32) (14КК96) |
10050 (9950) |
3300 (3200) | |||||
|
16; 20 |
2ККД96(39/38) (15КК96) |
3900 (3800) | ||||||
|
10, 8 |
5 |
2ККО108(29) (1КК108) |
11850 |
2900 |
380 | |||
|
10; 16 |
2ККО108(35) (2КК108) |
3500 | ||||||
|
16; 20 |
2ККО108(41) (3КК108) |
4100 | ||||||
|
20; 32 |
3КК108(41) (4КК108) |
600 | ||||||
|
5 |
5ККО108(33) (5КК108) |
3300 |
800 800 | |||||
|
10; 16 |
5ККО108(39) (6КК108) |
3900 | ||||||
|
16; 20; 32 |
5ККО108(45) (7КК108) |
4500 |
400 |
А.1 | ||||
|
5 |
2ККД108(29) (8КК108) |
2900 |
700 | |||||
|
10; 16 |
2ККД108(35) (9КК108) |
3500 | ||||||
|
16; 20; 32 |
2ККД108(41) (10КК108) |
4100 | ||||||
|
5 |
3ККД108(33) (11КК108) |
3300 |
800 | |||||
|
10; 16 |
3ККД108(39) (12КК108) |
3900 | ||||||
|
16; 20; 32 |
3ККД108(45) (13КК108) |
4500 | ||||||
|
5 |
3ККД108(27/26) (14КК108) |
11250 (11150) |
2700 (2600) | |||||
|
10; 16 |
3ККД108(33/32) (15КК108) |
3300 (3200) | ||||||
|
16; 20; 32 |
3ККД108(39/38) (16КК108) |
3900 (3800) | ||||||
|
12, 0 |
10; 16 |
2ККО120(35) (1КК120) |
13050 |
3500 |
380 |
700 | ||
|
16; 20 |
2ККО120(41) (2КК120) |
4100 | ||||||
|
20; 32 |
3ККО120(41) (3КК120) |
600 |
700 | |||||
|
10; 16 |
5ККО120(39) (4КК120) |
3900 |
800 | |||||
|
16; 20; 32 |
5ККО120(45) (5КК120) |
4500 | ||||||
|
10; 16 |
3ККД120(33/32) (6КК120) |
12450 (12350) |
3300 (3200) | |||||
|
12, 0 |
16; 20 |
3ККД120(39/38) (7КК120) |
12450 (12350) |
3900 (3800) |
800 | |||
|
20; 32 |
4ККД120(39/38) (8КК120) |
12600 (12500) |
3900 (3800) |
900 | ||||
|
10; 16 |
3ККД120(39) (9КК120) |
13050 |
3900 |
800 | ||||
|
12, 0 |
16; 20 |
3ККД120(45) (10КК120) |
13050 |
4500 |
400 |
600 |
800 |
А.1 |
|
20; 32 |
4ККД120(45) (11КК120) |
13200 |
4500 |
900 | ||||
|
13, 2 |
10; 16 |
4ККО132(35) (1КК132) |
14250 |
3500 |
380 |
800 | ||
|
16; 20 |
4ККО132(41) (2КК132) |
4100 | ||||||
|
20; 32 |
5ККО132(41) (3КК132) |
600 | ||||||
|
10; 16 |
6ККО132(39) (4КК132) |
14400 |
3900 |
900 | ||||
|
16; 20; 32 |
6ККО132(45) (5КК132) |
4500 | ||||||
|
10; 16 |
4ККД132(33/32) (6КК132) |
13800 (13700) |
3300 (3200) | |||||
|
16; 20; 32 |
4ККД132(39/38) (7КК132) |
3900 (3800) | ||||||
|
10; 16 |
4ККД132(39) (8КК132) |
14400 |
3900 | |||||
|
16; 20; 32 |
4ККД132(45) (9КК132) |
4500 | ||||||
|
14, 4 |
10; 16 |
4ККО144(35) (1КК144) |
15450 |
3500 |
380 |
8за что?)00# | ||
|
16; 20 |
4ККО144(41) (2КК144) |
4100 | ||||||
|
20; 32 |
5ККО144(41) (3КК144) |
600 | ||||||
|
10; 16 |
6ККО144(39) (4КК144) |
15600 |
3900 |
900 | ||||
|
16; 20; 32 |
6ККО144(45) (5КК144) |
4500 | ||||||
|
10; 16 |
4ККД144(33/32) (6КК144) |
15000 (14900) |
3300 (3200) | |||||
|
16; 20; 32 |
4ККД144(39/38) (7КК144) |
3900 (3800) | ||||||
|
10; 16 |
4ККД144(39) (8КК144) |
15600 |
3900 | |||||
|
16; 20; 32 |
4ККД144(45) (9КК144) |
4500 | ||||||
|
* В числителе указан типоразмер колонны по настоящему стандарту, в знаменателе - по [1]. | ||||||||
Рисунок А.1
|
Высота здания, м |
Грузоподъемность крана, т |
Типоразмер колонны* |
Основные размеры колонны, мм |
Рисунок | ||||
|
l |
l1 |
b |
h |
h1 | ||||
|
10, 8 |
10 |
1ККПО108(35) (1ККП108) |
11850 |
3500 |
400 |
900 |
700 |
А.2 |
|
20; 32 |
1ККПО108(41) (2ККП108) |
4100 | ||||||
|
10, 8 |
32 |
1ККПО108(47) (3ККП108) |
11850 |
4700 |
700 | |||
|
10 |
1ККПО108(41) (4ККП108) |
4100 | ||||||
|
2ККПО108(39) (5ККП108) |
3900 |
800 | ||||||
|
20; 32 |
2ККПО108(45) (6ККП108) |
4500 | ||||||
|
32 |
2ККПО108(51) (7ККП108) |
5100 | ||||||
|
10 |
1ККПД108(39) (8ККП108) |
3900 | ||||||
|
20; 32 |
1ККПД108(45) (9ККП108) |
4500 | ||||||
|
32 |
2ККПД108(51) (10ККП108) |
12000 |
5100 |
900 | ||||
|
2ККПД108(45/44) (11ККП108) |
11400 (11300) |
4500 (4400) | ||||||
|
10 |
1ККПД108(39/38) (12ККП108) |
11250 (11150) |
3900 (3800) |
800 | ||||
|
20; 32 |
1ККПД 108(39/38) (13ККП108) | |||||||
|
12, 0 |
10 |
1ККПО120(35) (1ККП120) |
13050 |
3500 |
700 | |||
|
20; 32 |
1ККПО120(41) (2ККП120) |
4100 | ||||||
|
32 |
1ККПО120(47) (3ККП120) |
4700 | ||||||
|
12, 0 |
10 |
1ККПО120(41) (4ККП120) |
13050 |
4100 |
700 | |||
|
2ККПО120(39) (5ККП120) |
3900 |
800 | ||||||
|
20; 32 |
2ККПО120(45) (6ККП120) |
4500 | ||||||
|
32 |
2ККПО120(51) (7ККП120) |
5100 | ||||||
|
10 |
2ККПО120(39) (8ККП120) |
3900 | ||||||
|
20; 32 |
3ККПО120(45) (9ККП120) |
13200 |
4500 |
900 | ||||
|
32 |
3ККПО120(51) (10ККП120) |
5100 | ||||||
|
3ККПО120(45/44) (11ККП120) |
12600 (12500) |
4500 (4400) | ||||||
|
10 |
ККПО120(39/38) (12ККП120) |
3900 (3800) | ||||||
|
20; 32 |
3ККПО120(39/38) (13ККП120) | |||||||
|
13, 2 |
10 |
2ККПО132(35) (1ККП120) |
14250 |
3500 |
800 | |||
|
20; 32 |
2ККПО132(41) 2ККП120) |
4100 | ||||||
|
32 |
2ККПО132(47) (3ККП120) |
4700 | ||||||
|
10 |
2ККПО132(41) (4ККП120) |
4100 | ||||||
|
10 |
3ККПО132(39) 5ККП120) |
14400 |
3900 |
900 | ||||
|
20; 32 |
3ККПО132(45) (6ККП132) |
4500 | ||||||
|
32 |
3ККПО132(51) (7ККП132) |
5100 | ||||||
|
13, 2 |
10 |
2ККПД132(39) (8ККП132) |
14400 |
3900 |
400 |
900 |
900 |
А.2 |
|
20; 32 |
2ККПД132(45) (9ККП132) |
4500 | ||||||
|
32 |
2ККПД132(51) (10ККП132) |
5100 | ||||||
|
2ККПД132(45/44) (11ККП132) |
13800 (13700) |
4500 (4400) | ||||||
|
10 |
2ККПД 132(39/38) (12ККП132) |
3900 (3800) | ||||||
|
20; 32 |
2ККПД132(39/38) (13ККП132) | |||||||
|
14, 4 |
10 |
2ККПО144(35) (1ККП144) |
15450 |
3500 |
800 | |||
|
20; 32 |
2ККПО144(41) (2ККП144) |
4100 | ||||||
|
32 |
2ККПО144(47) (3ККП144) |
4700 | ||||||
|
10 |
2ККПО144(41) (4ККП144) |
4100 | ||||||
|
3ККПО144(39) (5ККП144) |
15600 |
3900 |
900 | |||||
|
20; 32 |
3ККПО144(45) (6ККП144) |
4500 | ||||||
|
32 |
3ККПО144(51) (7ККП144) |
5100 | ||||||
|
14, 4 |
10 |
2ККПД144(39) (8ККП144) |
3900 | |||||
|
20; 32 |
2ККПД144(45) (9ККП144) |
4500 | ||||||
|
32 |
2ККПД144(51) (10ККП144) |
5100 | ||||||
|
2ККПД144(45/44) (11ККП144) |
15000 (14900) |
4500 (4400) | ||||||
|
10 |
2ККПД144(39/38) (12ККП144) |
3900 (3800) | ||||||
|
20; 32 |
2ККПД144(39/38) (13ККП144) | |||||||
|
* В числителе указан типоразмер колонны по настоящему стандарту, в знаменателе - по [2]. | ||||||||
Рисунок А.2
|
Высота здания, м |
Грузоподъемность крана, т |
Типоразмер колонны* |
Основные размеры колонны, мм |
Рисунок | ||||||
|
l |
l1 |
b |
h |
h1 |
h2 | |||||
|
15, 6 |
Б/К; 20; 32 |
1КДО156(41) (1КД156) |
16900 |
4100 |
500 |
600 |
1400 |
200 |
А.3 | |
|
32; 50 |
1КДО156(47) (2КД156) |
4700 | ||||||||
|
Б/К; 20; 32 |
2КДО156(45) (3КД156) |
4500 |
250 | |||||||
|
32; 50 |
2КДО156(51) (4КД156) |
5100 | ||||||||
|
Б/К; 20; 32 |
1КДД156(45) (5КД156) |
4500 |
700 |
1900 |
300 | |||||
|
32; 50 |
1КДД156(51) (6КД156) |
5100 | ||||||||
|
Б/К; 20; 32 |
1КДД156(39/38) (7КД156) |
16300 (16200) |
3900 (3800) | |||||||
|
32; 50 |
1КДД156(45/44) (8КД156) |
16300 (16200) |
4500 (4400) | |||||||
|
16, 8 |
Б/К; 20; 32 |
1КДО168(41) (1КД168) |
18100 |
4100 |
600 |
1400 |
200 | |||
|
32; 50 |
1КДО168(47) (2КД168) |
4700 | ||||||||
|
Б/К; 20; 32 |
2КДО168(45) (3КД168) |
4500 |
250 | |||||||
|
32; 50 |
2КДО168(51) (4КД168) |
5100 | ||||||||
|
Б/К; 20; 32 |
1КДД168(45) (5КД168) |
4500 |
700 |
1900 |
300 | |||||
|
32; 50 |
1КДД168(51) (6КД168) |
5100 | ||||||||
|
Б/К; 20; 32 |
1КДД168(39/38) (7КД168) |
17500 (17400) |
3900 (3800) | |||||||
|
32; 50 |
1КДД168(45/44) (8КД168) |
4500 (4400) | ||||||||
|
18, 0 |
Б/К; 20; 32 |
1КДО180(41) (1КД180) |
19300 |
4100 |
600 |
1400 |
200 | |||
|
32; 50 |
1КДО180(47) (2КД180) |
4700 | ||||||||
|
Б/К; 20; 32 |
2КДО180(45) (3КД180) |
4500 |
250 | |||||||
|
32; 50 |
2КДО180(51) (4КД180) |
5100 | ||||||||
|
Б/К; 20; 32 |
1КДД180(45) (5КД180) |
4500 |
700 |
1900 |
300 | |||||
|
32; 50 |
1КДД180(51) (6КД180) |
5100 | ||||||||
|
Б/К; 20; 32 |
1КДД180(39/38) (7КД180) |
18700 (18600) |
3900 (3800) | |||||||
|
32; 50 |
1КДД180(45/44) (8КД180) |
4500 (4400) | ||||||||
|
* В числителе указан типоразмер колонны по настоящему стандарту, в знаменателе - по [3]. | ||||||||||

Рисунок А.3
|
Высота здания, м |
Грузоподъемность крана, т |
Типоразмер колонны* |
Основные размеры колонны, мм |
Рисунок | |||||
|
l |
l1 |
b |
h |
h1 |
h2 | ||||
|
15, 6 |
20; 32 |
1КДПО156(41) (1КДП156) |
16900 |
4100 |
500 |
900 |
1400 |
200 |
А.4 |
|
32; 50 |
1КДПО156(47) (2КДП156) |
4700 | |||||||
|
20; 32 |
2КДПО156(45) (3КДП156) |
4500 |
250 | ||||||
|
32; 50 |
2КДПО156(51) (4КДП156) |
5100 | |||||||
|
20; 32 |
1КДПД156(45) (5КДП156) |
4500 |
1900 |
300 | |||||
|
32; 50 |
1КДПД156(51) (6КДП156) |
5100 | |||||||
|
20; 32 |
1КДПД156(39/38) (7КДП156) |
16300 (16200) |
3900 (3800) | ||||||
|
15, 6 |
32; 50 |
1КДПД156(45/44) (8КДП156) |
16300 (16200) |
4500 (4400) | |||||
|
20; 32 |
1КДПО168(41) (1КДП168) |
18100 |
4100 |
1400 |
200 | ||||
|
32; 50 |
1КДПО168(47) (2КДП168) |
4700 | |||||||
|
20; 32 |
2КДПО168(45) (3КДП168) |
4500 |
250 | ||||||
|
16, 8 |
32; 50 |
2КДПО168(51) (4КДП168) |
5100 | ||||||
|
20; 32 |
1КДПД168(45) (5КДП168) |
4500 |
1900 |
300 | |||||
|
32; 50 |
1КДПД168(51) (6КДП168) |
5100 | |||||||
|
20; 32 |
1КДПД168(39/38) (7КДП168) |
17500 (17400) |
3900 (3800) | ||||||
|
32; 50 |
1КДПД168(45/44) (8КДП168) |
4500 (4400) | |||||||
|
20; 32 |
1КДПО180(41) (1КДП180) |
19300 |
4100 |
1400 |
200 | ||||
|
32; 50 |
1КДПО180(47) (2КДП180) |
4700 | |||||||
|
18, 0 |
20; 32 |
2КДПО180(45) (3КДП180) |
4500 |
250 | |||||
|
32; 50 |
2КДПО180(51) (4КДП180) |
5100 | |||||||
|
20; 32 |
1КДПД180(45) (5КДП180) |
4500 |
1900 |
300 | |||||
|
32; 50 |
1КДПД180(51) (6КДП180) |
5100 | |||||||
|
18 |
20; 32 |
1КДПД180(39/38) (7КДП180) |
3900 (3800) | ||||||
|
32; 50 |
1КДПД180(45/44) (8КДП180) |
4500 (4400) | |||||||
|
* В числителе указан типоразмер колонны по настоящему стандарту, в знаменателе - по [4]. | |||||||||
Рисунок А.4
Библиография
|
[1] |
Серия 1.424.1-5 |
Колонны железобетонные прямоугольного сечения для одноэтажных производственных зданий высотой 8, 4 - 14, 4 м, оборудованных мостовыми опорными кранами грузоподъемностью до 32 т |
|
[2] |
Серия 1.424.1-6/89 |
Колонны железобетонные прямоугольного сечения с проходами в уровне крановых путей для одноэтажных производственных зданий высотой 10, 8 - 14, 4 м, оборудованных мостовыми опорными кранами грузоподъемностью до 32 т |
|
[3] |
Серия 1.424.1-9 |
Колонны железобетонные двухветвевого сечения для одноэтажных производственных зданий высотой 15, 6; 16, 8 и 18, 0 м |
|
[4] |
Серия 1.424.1-10 |
Колонны железобетонные двухветвевого сечения с проходами в уровне крановых путей для одноэтажных производственных зданий высотой 15, 6; 16, 8 и 18, 0 м с мостовыми опорными кранами грузоподъемностью до 50 т |


