Введен в действие приказом Федерального агентства по техническому регулированию и метрологии от 1 июля 2016 г. N 780-ст
Межгосударственный стандарт ГОСТ 24893-2016
"БАЛКИ ОБВЯЗОЧНЫЕ ЖЕЛЕЗОБЕТОННЫЕ ДЛЯ ЗДАНИЙ ПРОМЫШЛЕННЫХ ПРЕДПРИЯТИЙ. ТЕХНИЧЕСКИЕ УСЛОВИЯ"
Reinforced concrete frame brace for industrial buildings. Specifications
Дата введения - 1 января 2017 г.
Взамен ГОСТ 24893.0-81, ГОСТ 24893.1-81,
ГОСТ 24893.2-81
Предисловие
Цели, основные принципы и основной порядок проведения работ по межгосударственной стандартизации установлены ГОСТ 1.0-92 "Межгосударственная система стандартизации. Основные положения" и ГОСТ 1.2-2009 "Межгосударственная система стандартизации. Стандарты межгосударственные, правила и рекомендации по межгосударственной стандартизации. Правила разработки, принятия, применения, обновления и отмены"
Сведения о стандарте
1 Разработан Центральным научно-исследовательским и проектно-экспериментальным институтом промышленных зданий и сооружений (АО "ниипромзданий")
2 Внесен Техническим комитетом по стандартизации ТК 465 "Строительство"
3 Принят Межгосударственным советом по стандартизации, метрологии и сертификации (протокол от 29 марта 2016 г. N 86-П)
За принятие проголосовали:
|
Краткое наименование страны по МК (ИСО 3166) 004-97
|
Код страны по МК (ИСО 3166) 004-97
|
Сокращенное наименование национального органа по стандартизации
|
|
Армения
|
AM
|
Минэкономики Республики Армения
|
|
Киргизия
|
KG
|
Кыргызстандарт
|
|
Россия
|
RU
|
Росстандарт
|
4 Приказом Федерального агентства по техническому регулированию и метрологии от 1 июля 2016 г. N 780-ст межгосударственный стандарт ГОСТ 24893-2016 введен в действие в качестве национального стандарта Российской Федерации с 1 января 2017 г.
5 Взамен ГОСТ 24893.0-81, ГОСТ 24893.1-81, ГОСТ 24893.2-81
1 Область применения
1.1 Настоящий стандарт устанавливает технические требования, методы контроля и правила приемки, транспортирования и хранения железобетонных обвязочных балок, изготовляемых из тяжелого бетона и бетона на пористых заполнителях.
1.2 Стандарт распространяется на обвязочные балки координационной длиной 6, 0 м, применяемые в навесных каменных (из кирпича и легкобетонных камней), наружных и внутренних стенах, в том числе в местах перепада высот, производственных и вспомогательных зданий промышленных предприятий.
2 Нормативные ссылки
В настоящем стандарте использованы нормативные ссылки на следующие межгосударственные стандарты:
ГОСТ 5781-82 Сталь горячекатаная для армирования железобетонных конструкций. Технические условия
ГОСТ 6727-80 Проволока из низкоуглеродистой стали холоднотянутая для армирования железобетонных конструкций. Технические условия
ГОСТ 8829-94 Изделия строительные железобетонные и бетонные заводского изготовления. Методы испытаний нагружением. Правила оценки прочности, жесткости и трещиностойкости
ГОСТ 10060-2012 Бетоны. Методы определения морозостойкости
ГОСТ 10180-2012 Бетоны. Методы определения прочности по контрольным образцам
ГОСТ 10181-2014 Смеси бетонные. Методы испытаний
ГОСТ 10922-2012 Арматурные и закладные изделия, их сварные, вязаные и механические соединения для железобетонных конструкций. Общие технические условия
ГОСТ 12730.0-78 Бетоны. Общие требования к методам определения плотности, влажности, водопоглощения, пористости и водонепроницаемости
ГОСТ 12730.5-84 Бетоны. Методы определения водонепроницаемости
ГОСТ 13015-2012 Изделия бетонные и железобетонные для строительства. Общие технические требования. Правила приемки, маркировки, транспортирования и хранения
ГОСТ 16504-81 Система государственных испытаний продукции. Испытания и контроль качества продукции. Основные термины и определения
ГОСТ 17624-2012 Бетоны. Ультразвуковой метод определения прочности
ГОСТ 17625-83 Конструкции и изделия железобетонные. Радиационный метод определения толщины защитного слоя бетона, размеров и расположения арматуры
ГОСТ 18105-2010 Бетоны. Правила контроля и оценки прочности
ГОСТ 22690-2015 Бетоны. Определение прочности механическими методами неразрушающего контроля
ГОСТ 22904-93 Конструкции железобетонные. Магнитный метод определения толщины защитного слоя бетона и расположения арматуры
ГОСТ 23009-2016 Конструкции и изделия бетонные и железобетонные сборные. Условные обозначения (марки)
ГОСТ 23858-79 Соединения сварные стыковые и тавровые арматуры железобетонных конструкций. Ультразвуковые методы контроля качества. Правила приемки
ГОСТ 25820-2014 Бетоны легкие. Технические условия
ГОСТ 26134-84 Бетоны. Ультразвуковой метод определения морозостойкости
ГОСТ 26433.0-85 Система обеспечения точности геометрических параметров в строительстве. Правила выполнения измерений. Общие положения
ГОСТ 26433.1-89 Система обеспечения точности геометрических параметров в строительстве. Правила выполнения измерений. Элементы заводского изготовления
ГОСТ 26633-2012 Бетоны тяжелые и мелкозернистые. Технические условия
Примечание - При пользовании настоящим стандартом целесообразно проверить действие ссылочных стандартов в информационной системе общего пользования - на официальном сайте Федерального агентства по техническому регулированию и метрологии в сети Интернет или по ежегодному информационному указателю "Национальные стандарты", который опубликован по состоянию на 1 января текущего года, и по выпускам ежемесячного информационного указателя "Национальные стандарты" за текущий год. Если ссылочный стандарт заменен (изменен), то при пользовании настоящим стандартом следует руководствоваться заменяющим (измененным) стандартом. Если ссылочный стандарт отменен без замены, то положение, в котором дана ссылка на него, применяется в части, не затрагивающей эту ссылку.
3 Термины и определения
В настоящем стандарте применен следующий термин с соответствующим определением:
3.1 балка обвязочная: Линейный горизонтальный несущий элемент строительных конструкций зданий или сооружений, предназначенный для восприятия и передачи нагрузок от каменных стен.
4 Технические требования
4.1 Основные параметры и размеры
4.1.1 Обвязочные балки следует изготовлять в соответствии с требованиями настоящего стандарта, а также проектной и технологической документации, утвержденной в установленном порядке.
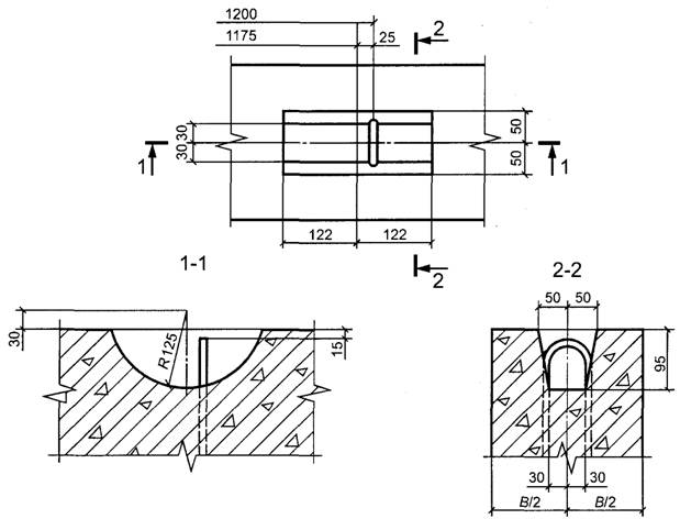
Рисунок 1 - Скрытое расположение монтажной петли
4.1.2 Типы конструктивных решений обвязочных балок:
- прямоугольного сечения;
- с консольным выступом.
4.1.3 Форма и основные размеры обвязочных балок приведены в приложении А.
4.1.4 Обвязочные балки следует изготовлять с монтажными петлями в соответствии с указаниями рабочих чертежей. Допускается изготовление монтажных петель в соответствии с рисунком 1.
4.1.5 Обвязочные балки применяют с учетом их предела огнестойкости, стойкости к воздействию агрессивной среды и расчетной сейсмичности, указанных в рабочих чертежах.
4.2 Характеристики обвязочных балок
4.2.1 Обвязочные балки должны удовлетворять установленным при проектировании конкретного объекта требованиям по прочности, жесткости, трещиностойкости. В случаях, предусмотренных рабочими чертежами, обвязочные балки должны выдерживать контрольные нагрузки при испытании нагружением.
4.2.2 Обвязочные балки должны удовлетворять требованиям ГОСТ 13015 по следующим показателям:
- фактическая прочность бетона (в проектном возрасте и отпускная);
- морозостойкость бетона, а для обвязочных балок, эксплуатируемых в условиях воздействия агрессивной газообразной среды, - также водонепроницаемость бетона;
- объем межзерновых пустот в уплотненной бетонной смеси и отпускная влажность, для обвязочных балок, изготовляемых из бетона на пористых заполнителях;
- марки сталей для арматурных и закладных изделий, в том числе для монтажных петель;
- толщина защитного слоя бетона до арматуры;
- защита от коррозии.
4.2.3 Несущая способность конкретного типа обвязочной балки определяется автором проекта здания (сооружения) по действующим в период применения нормативным документам.
4.3 Требования к материалам
4.3.1 Обвязочные балки следует изготовлять из тяжелого бетона (ГОСТ 26633) и бетона на пористых заполнителях (ГОСТ 25820) классов по прочности на сжатие, указанных в рабочих чертежах.
4.3.2 Значение нормируемой отпускной прочности бетона на сжатие обвязочных балок должно быть не ниже 70% от класса бетона по прочности на сжатие.
При поставке балок в холодный период года значение нормируемой отпускной прочности бетона обвязочных балок должно быть повышено, но не более чем до 90% от класса бетона по прочности на сжатие.
Нормируемая отпускная прочность бетона должна соответствовать значению, указанному в проектной документации на конкретное здание или сооружение и в заказе на изготовление балок согласно требованиям ГОСТ 13015.
4.3.3 Для обвязочных балок, эксплуатируемых при слабо- и среднеагрессивной степени воздействия газообразной среды, следует применять бетон, удовлетворяющий требованиям, установленным проектной документацией (согласно действующим нормативным документам) и указанным в заказе на изготовление.
4.3.4 Морозостойкость бетона обвязочных балок должна соответствовать марке, установленной в проекте здания.
4.3.5 Влажность бетона обвязочных балок на пористых заполнителях при отпуске должна соответствовать ГОСТ 13015.
4.3.6 Бетон на пористых заполнителях должен иметь плотную структуру. Объем межзерновых пустот в уплотненной бетонной смеси бетона не должен превышать 3%.
4.3.7 Для армирования обвязочных балок применяют следующие виды и классы арматуры:
- стержневую арматуру классов А240, А400 (ГОСТ 5781);
- проволоку класса В500 и Вр500 (ГОСТ 6727);
- арматуру по действующим в стране, принявшей настоящий стандарт, нормативным документам и технической документации*.
4.3.8 Сварные арматурные и закладные изделия должны соответствовать требованиям ГОСТ 10922.
4.4 Требования к качеству поверхности и внешнему виду обвязочных балок
4.4.1 Форма и размеры арматурных и закладных изделий и их положение в обвязочных балках должны соответствовать указанным в рабочих чертежах или стандартах на эти балки и требованиям ГОСТ 10922.
4.4.2 Значения фактических отклонений геометрических параметров обвязочных балок не должны превышать предельных, указанных в таблице 1.
Таблица 1
|
В миллиметрах
| |
|
Наименование отклонения геометрического параметра
|
Наименование геометрического параметра
|
Предельное отклонение
| | |
|
Отклонение от линейного размера
|
Длина балки
|
±8
| | |
|
Ширина балки
|
±4
| | |
|
Высота балки
|
±5
| | |
|
Высота полки балки
|
±3
| | |
|
Размер, определяющий положение:
| | | |
|
- закладного изделия на плоскости балки
|
10
| | |
|
Несовпадение плоскостей балки и элемента закладного изделия
|
3
| | |
|
Отклонение от прямолинейности боковых граней балки на всей их длине: То же на длине 2000
|
-
-
|
6
| | |
| | |
|
3
| | |
|
Отклонение толщины защитного слоя бетона
| |
±5
| | |
|
Отклонение от перпендикулярности рассматриваемых поверхностей
|
Меньший номинальный размер:
До 250
Св. 250 " 500
" 500 " 1000
|
3
4
5
| | |
4.4.3 В обвязочных балках, предназначенных для эксплуатации в условиях воздействия агрессивных газообразных сред, минусовые отклонения толщины защитного слоя бетона до арматуры, приведенные в таблице 1, не допускаются.
4.4.4 Внешний вид обвязочных балок должен соответствовать указанному в проекте. При этом качество бетонных поверхностей обвязочных балок должно удовлетворять требованиям, установленным ГОСТ 13015 для категорий:
A3 - нижних (потолочных) и боковых лицевых;
А6 - лицевых неотделываемых;
А7 - нелицевых, невидимых в условиях эксплуатации.
4.4.5 В бетоне обвязочных балок, поставляемых потребителю, трещины не допускаются, за исключением усадочных и других единичных местных поверхностных технологических трещин, ширина которых не должна превышать 0, 2 мм.
4.4.6 Отделка поверхностей балок, вид и технические характеристики защитного антикоррозионного покрытия закладных деталей должны соответствовать проекту.
4.5 Маркировка обвязочных балок
4.5.1 Маркировку обвязочных балок производят в соответствии с требованиями ГОСТ 13015. Маркировочные надписи и знаки следует наносить на боковую поверхность обвязочной балки на расстоянии не более 1 м от торца.
4.5.2 Обвязочные балки обозначают марками в соответствии с требованиями ГОСТ 23009. Марка обвязочной балки состоит из буквенно-цифровых групп, разделенных дефисами.
В первой группе указывают обозначение типа балки, ширину поперечного сечения в сантиметрах.
Тип обвязочной балки обозначают:
БОП - прямоугольного сечения;
БОВ - с консольным выступом.
Ширину поперечного сечения обозначают в сантиметрах, например:
25 - для балок с шириной поперечного сечения 250 мм;
38 - для балок с шириной поперечного сечения 380 мм.
Во второй группе указывают:
- несущую способность балки в килоньютонах на метр или порядковый номер балки по несущей способности;
- вид бетона (Л - бетон на пористых заполнителях, для конструкций из тяжелого бетона обозначение не указывают).
В третьей группе, при необходимости, указывают дополнительные характеристики, отражающие особые условия применения обвязочных балок - их стойкость к воздействию агрессивных газообразных сред (Н - нормальной проницаемости, П - пониженной проницаемости), пониженных температур (М), сейсмическим воздействиям (С), а также обозначения конструктивных особенностей обвязочных балок (например, наличие дополнительных закладных изделий над световыми проемами, обозначаемых буквой "д").
Пример условного обозначения (марки)
- обвязочной балки типа БОП, шириной 250 мм, с порядковым номером несущей способности 1, из тяжелого бетона для зданий с неагрессивной средой:
БОП25-1
- обвязочной балки типа БОП, шириной 380 мм, с порядковым номером несущей способности 2, из бетона на пористых заполнителях, нормальной проницаемости Н, эксплуатируемой в условиях слабоагрессивной газообразной среды:
БОП38-2Л-Н
- обвязочной балки типа БОВ, с порядковым номером несущей способности 3, из тяжелого бетона для стен зданий с расчетной сейсмичностью 8 баллов, с дополнительными закладными изделиями для крепления заполнения проема шириной 4, 8 м:
БОВ-3-Сд4, 8.
5 Правила приемки
5.1 Приемку обвязочных балок проводят по ГОСТ 13015 и настоящему стандарту. При этом обвязочные балки принимают по результатам испытаний:
- периодических - по показателям прочности, жесткости и трещиностойкости, морозостойкости бетона, водонепроницаемости бетона балок, предназначенных для эксплуатации в условиях воздействия агрессивной газообразной среды, и объему межзерновых пустот уплотненной бетонной смеси на пористых заполнителях;
- приемо-сдаточных - по показателям прочности бетона (классу бетона по прочности на сжатие и отпускной прочности), соответствия арматурных и закладных изделий рабочим чертежам, размерам и прочности сварных соединений, точности геометрических параметров, толщины защитного слоя бетона до арматуры, ширины раскрытия поверхностных трещин, категории бетонной поверхности, влажности бетона на пористых заполнителях.
5.2 Периодические испытания нагружением обвязочных балок для контроля их прочности, жесткости и трещиностойкости проводят перед началом их массового изготовления и в дальнейшем - при внесении в них конструктивных изменений или при изменении технологии изготовления, а также в процессе серийного производства обвязочных балок в соответствии с требованиями ГОСТ 13015.
Испытания обвязочных балок нагружением в случае внесения в них конструктивных изменений или при изменении технологии изготовления допускается не проводить по согласованию с проектной организацией - разработчиком рабочих чертежей балок.
5.3 Обвязочные балки по показателям точности геометрических параметров (см. таблицу 1), толщины защитного слоя бетона до арматуры, ширины раскрытия поверхностных трещин и категории бетонной поверхности следует принимать по результатам выборочного контроля.
5.4 Документ о качестве обвязочных балок, поставляемых потребителю, следует составлять по ГОСТ 13015.
Дополнительно в документе о качестве обвязочных балок должны быть приведены марка бетона по морозостойкости, а для балок, предназначенных для эксплуатации в условиях воздействия агрессивной газообразной среды, - марка бетона по водонепроницаемости (если эти показатели оговорены в заказе на изготовление балок).
6 Методы контроля
6.1 Испытания обвязочных балок и оценку их прочности, жесткости и трещиностойкости следует проводить в соответствии с требованиями ГОСТ 8829, ГОСТ 16504 и рабочих чертежей на эти балки.
6.2 Прочность бетона обвязочных балок следует определять по ГОСТ 10180 на серии образцов, изготовленных из бетонной смеси рабочего состава по ГОСТ 10181 и хранившихся в условиях, установленных ГОСТ 18105.
При испытании балок методами неразрушающего контроля фактическую отпускную прочность бетона на сжатие определяют ультразвуковым методом по ГОСТ 17624 или приборами механического действия по ГОСТ 22690, а также другими методами, предусмотренными стандартами на методы испытания бетона.
6.3 Морозостойкость бетона следует определять по ГОСТ 10060 или ультразвуковым методом по ГОСТ 26134 на серии образцов, изготовленных из бетонной смеси рабочего состава.
6.4 Водонепроницаемость бетона балок, предназначенных для эксплуатации в условиях воздействия агрессивной газообразной среды, следует определять по ГОСТ 12730.0 и ГОСТ 12730.5 на серии образцов, изготовленных из бетонной смеси рабочего состава.
6.5 Объем межзерновых пустот в уплотненной бетонной смеси на пористых заполнителях следует определять по ГОСТ 10181.
6.6 Влажность бетона на пористых заполнителях следует определять по ГОСТ 12730.0.
6.7 Методы контроля и испытаний сварных арматурных и закладных изделий следует принимать по ГОСТ 10922 и ГОСТ 23858.
6.8 Размеры, отклонения от прямолинейности и плоскостности граней обвязочных балок, ширину раскрытия технологических трещин, качество внешних поверхностей и внешний вид балок следует проверять методами, установленными ГОСТ 26433.0 и ГОСТ 26433.1.
6.9 Размеры и положение арматурных и закладных изделий, а также толщину защитного слоя бетона до арматуры следует определять по ГОСТ 17625 и ГОСТ 22904.
7 Транспортирование и хранение
7.1 Транспортировать и хранить обвязочные балки следует в соответствии с требованиями ГОСТ 13015 и настоящего стандарта.
Выбор транспортных средств проводят на стадии разработки проекта производства работ (ППР) с учетом массы и размеров обвязочных балок, дальности перевозки, дорожных условий.
7.2 Обвязочные балки следует транспортировать и хранить в горизонтальном положении в штабелях высотой не более 2 м. Положение при складировании - близкое к проектному с параллельным расположением в каждом ряду не менее двух балок. Главное требование - обеспечение устойчивости штабелей. В штабеле должно быть не более трех рядов. Возможно использование для складирования инвентарных кондукторов.
7.3 Подкладки под нижний ряд обвязочных балок и прокладки между ними в штабеле следует располагать на расстоянии 100 мм от торца балок. Ширину прокладки назначают с учетом прочности древесины на смятие. Толщина прокладки должна быть не менее 80 мм и обеспечивать наличие зазора не менее 20 мм от верха монтажной петли.
Прокладки между балками по высоте штабеля следует располагать одна над другой.
7.4 Штабели обвязочных балок (см. рисунок 2), рассортированных по маркам, располагают на при объектном складе в зоне действия монтажного крана в соответствии с утвержденным стройгенпланом. Расстояние между соседними штабелями должно быть не менее 0, 2 м. Проходы между штабелями должны иметь ширину не менее 1 м.
Рисунок 2 - Схема складирования прямоугольных обвязочных балок
_____________________________
* В Российской Федерации действует ГОСТ Р 52544-2006 "Прокат арматуры свариваемый периодического профиля классов А500С и В500С для армирования железобетонных конструкций. Технические условия".
Приложение А
(рекомендуемое)
Форма и основные размеры обвязочных балок
Таблица А.1
|
Эскиз изделия
|
Типоразмер изделия
|
Масса, т (справочно)
|
|
Балки обвязочные
|
 |
БОП25
|
2, 2
(1.75)
|
 |
БОП38
|
-
(2, 65)
|
 |
БОВ
|
2, 450
(-)
|
|
Балки обвязочные, предназначенные для зданий с расчетной сейсмичностью 7 - 9 баллов
|
 |
БОП25
|
2, 2
(1, 75)
|
 |
БОП38
|
-
(2, 65)
|
 |
БОВ
|
2, 45
(-)
|
|
Примечания
1 В графе "Масса, т (справочно)" в скобках указывают массу изделия, изготовленного из бетона на пористых заполнителях.
2 Отличие обозначения обвязочных балок, применяемых в районах с расчетной сейсмичностью 7 - 9 баллов, приведено в 4.5.
|