Утв. Постановлением госстандарта ссср от 22 апреля 1987 г. N 1346
Государственный стандарт Союза ССР ГОСТ 21479-87
"ПАПКА ДЛЯ БРОШЮРОВКИ ЭКСПЛУАТАЦИОННОЙ И РЕМОНТНОЙ ДОКУМЕНТАЦИИ. КОНСТРУКЦИЯ"
С изменениями:
(27 июня 1991 г.)
Case for stitching of operation and repair documentation. Construction
Срок действия - с 1 июля 1988 г.
до 1 июля 1993 г.
Срок действия отменен в 1992 г.
Взамен ГОСТ 21479-76
Информационные данные
1. Утвержден и введен в действие постановлением Госстандарта СССР от 22.04.87 N 1346
2. Срок первой проверки - 1991 г.
3. Взамен ГОСТ 21479-76.
4. Ссылочные нормативно-технические документы
|
Обозначение НТД, на который дана ссылка
|
Номер пункта
|
|
ГОСТ 9.301-86
|
7.4, 8.4, 9.4
|
|
ГОСТ 7950-77
|
3.2, 4.2
|
|
ГОСТ 9998-86
|
2.2, 5.2, 6.2
|
|
ГОСТ 10549-80
|
9.5
|
|
ГОСТ 16337-77
|
7.2, 8.2, 9.2
|
|
ГОСТ 21488-76
|
8.2, 9.2
|
|
ГОСТ 21631-76
|
7.2
|
5. Переиздание. Январь 1988 г.
Настоящий стандарт распространяется на папки с легкоразъемным замком для брошюровки эксплуатационной и ремонтной документации на авиационную технику (далее - папка).
Требования настоящего стандарта являются обязательными.
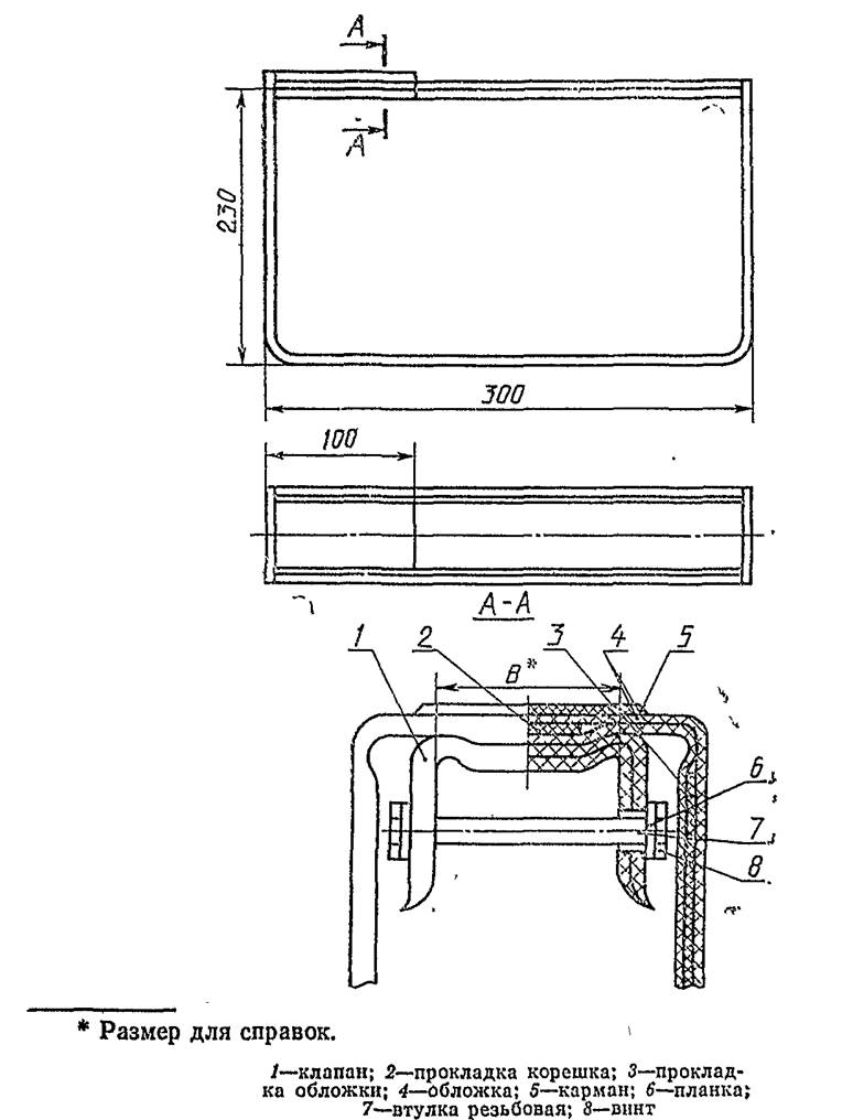
1. Конструкция и размеры папки
1.1. Конструкция и размеры папки должны соответствовать указанным на черт. 1 и в табл. 1.

Черт. 1
Таблица 1
|
Типоразмер папки
|
В, мм
|
Поз. 1 Клапан
|
Поз. 2 Прокладка корешка
|
Поз. 3 Прокладки обложки
|
Поз. 4 Обложка
|
Поз. 5 Карман
|
Поз. 6 Планка
|
Поз. 7 Резьбовая втулка
|
Поз. 8 Винт
|
Масса, кг, не более
|
|
Количество деталей
| |
|
2
|
1
|
2
|
2
|
1
|
2
|
3
|
3
| |
|
Типоразмер
| |
|
1
|
10
|
1
|
1
| |
1
|
1
| |
1
|
1
|
0, 450
|
|
2
|
20
|
2
|
2
| |
2
|
2
| |
2
|
|
3
|
30
|
3
|
3
|
1
|
3
|
3
|
1
|
3
|
|
4
|
40
|
4
|
4
| |
4
|
4
| |
4
|
2
|
0, 500
|
|
5
|
50
|
5
|
5
| |
5
|
5
| |
5
|
|
6
|
60
|
6
|
6
| |
6
|
6
| |
6
|
Пример - условного обозначения папки типоразмера 1:
Папка 1 ГОСТ 21479-87
1.2. Материал клапана и обложки должен быть черного или любого другого темного тона.
1.3. Неуказанные предельные отклонения, размеров - ±1 мм.
1.4. Детали клапана и обложки изготовляют на высокочастотной установке методом штамповки. Наличие непроваренных участков недопустимо.
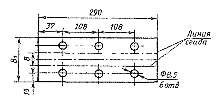
2. Конструкция и размеры клапана (поз. 1)
2.1. Конструкция и размеры клапана должны соответствовать указанным на черт. 2 и в табл. 2.

Черт. 2
Таблица 2
|
Размеры, мм
|
|
Типоразмер клапана
|
B
|
В1
|
Масса, кг, не более
|
|
1
2
3
|
10
20
30
|
73
83
93
|
0, 026
|
|
4
5
6
|
40
50
60
|
103
113
123
|
0, 033
|
Пример условного обозначения клапана типоразмера 3:
Клапан 3 ГОСТ 21479-87
2.2. Материал - поливинилхлоридная пленка толщиной 0, 4 мм по ГОСТ 9998-86.
2.3. Неуказанные предельные отклонения размеров ±1 мм.
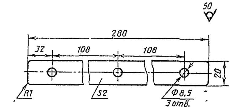
3. Конструкция и размеры прокладки корешка (поз. 2)
3.1. Конструкция и размеры прокладки корешка должны соответствовать указанным на черт. 3 и в табл. 3.

Черт. 3
Таблица 3
|
Типоразмер прокладки
|
b, мм
|
Масса, кг, не более
|
|
1
2
3
|
7
17
27
|
0, 012
|
|
4
5
6
|
37
47
57
|
0, 025
|
Пример условного обозначения прокладки корешка типоразмера 1:
Прокладка корешка 1 ГОСТ 21479-87
3.2. Материал - картон переплетный марки А по ГОСТ 7950-77 толщиной 1, 5 - 3, 0 мм.
3.3. Неуказанные предельные отклонения размеров ±1 мм.
4. Конструкция и размеры прокладки обложки (поз. 3)
4.1. Конструкция и размеры прокладки обложки должны соответствовать указанным на черт. 4.

Черт. 4
Пример условного обозначения прокладки обложки:
Прокладка обложки ГОСТ 21479-87
4.2. Материал - картон переплетный марки А по ГОСТ 7950-77 толщиной 1, 5 - 3, 0 мм.
4.3. Неуказанные предельные отклонения размеров ±1 мм.
5. Конструкция и размеры обложки (поз. 4)
5.1. Конструкция и размеры обложки должны соответствовать указанным на черт. 5 и в табл. 4.

Черт. 5
Таблица 4
|
Типоразмер обложки
|
В, мм
|
Масса, кг, не более
|
|
1
2
3
|
480
490
500
|
0, 150
|
|
4
5
6
|
610
530
530
|
0, 180
|
Пример условного обозначения обложки типоразмера 1:
Обложка 1 ГОСТ 21479-87
5.2. Материал - пленка поливинилхлоридная толщиной 0, 25 мм по ГОСТ 9998-86.
5.3. Неуказанные предельные отклонения размеров ±1 мм.
6. Конструкция и размеры кармана (поз. 5)
6.1. Конструкция и размеры кармана должны соответствовать указанным на черт. 6 и в табл. 5.

Черт. 6
Таблица 5
|
Типоразмер кармана
|
b, мм
|
Масса, кг, не более
|
|
1
|
12
| |
|
2
|
23
|
0, 001
|
|
3
|
33
| |
|
4
|
43
| |
|
5
|
63
|
0, 002
|
|
6
|
63
| |
Пример условного обозначения кармана типоразмера 1:
Карман 1 ГОСТ 21479-87
6.2. Материал - пленка поливинилхлоридная прозрачная толщиной 0, 25 мм по ГОСТ 9998-86.
6.3. Неуказанные предельные отклонения размеров ±1 мм.
7. Конструкция и размеры планки (поз. 6)
7.1. Конструкция и размеры планки должны соответствовать указанным на черт. 7.

Черт. 7
Пример условного обозначения планки:
Планка ГОСТ 21479-87
7.2. Материал - полиэтилен высокого давления марки "Полиэтилен 153" и "Полиэтилен 155" по ГОСТ 16337-77.
Заменитель: алюминиевый сплав Д16 по ГОСТ 21631-76, фенопласт Сп1-342-02 и 03-010-02 по ГОСТ 5689-79; полиамид 610, литьевой, ГОСТ 10589-87.
7.3. Неуказанные предельные отклонения размеров:
диаметров Н14, h14, остальных
.
7.4. Покрытие планки из алюминиевого сплава - Ан. Окс. н. хр. по ГОСТ 9.301-86.
8. Конструкция и размеры резьбовой втулки (поз. 7)
8.1. Конструкция и размеры резьбовой втулки должны соответствовать указанным на черт. 8 и в табл. 6.

Черт. 8
Таблица 6
|
Размеры, мм
|
|
Типоразмер резьбовой втулки
|
L
|
l
|
Масса, кг, не более
|
|
1
|
13
| | |
|
2
|
23
|
5
|
0, 005
|
|
3
|
33
| | |
|
4
|
43
| | |
|
5
|
53
|
15
|
0, 009
|
|
6
|
63
| | |
Пример условного обозначения резьбовой втулки типоразмера 1:
Втулка резьбовая 1 ГОСТ 21479-87
8.2. Материал - полиэтилен высокого давления марки "Полиэтилен 153" и "Полиэтилен 155" по ГОСТ 16337-77.
Заменитель: алюминиевый сплав Д1Т по ГОСТ 21488-76, фенопласт Сп1-342-02 и 03-010-02 по ГОСТ 5689-79; полиамид 610, литьевой, ГОСТ 10589-87.
8.3. Неуказанные предельные отклонения размеров:
диаметров Н14, h14, остальных
.
8.4. Покрытие деталей из алюминиевого сплава - Ан.Окс.н.хр. по ГОСТ 9.301-86.
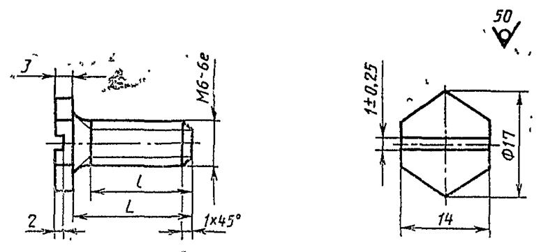
9. Конструкция и размеры винта (поз. 8)
9.1. Конструкция и размеры винта должны соответствовать указанным на черт. 9 и в табл. 7.

Черт. 9
Таблица 7
|
Типоразмер винта
|
L
|
l
|
Масса, кг, не более
|
|
1
2
|
7
15
|
4
12
|
0, 004
0, 006
|
Пример условного обозначения винта типоразмера 1:15
Винт 1 ГОСТ 21479-87
9.2. Материал - полиэтилен высокого давления марки "Полиэтилен 153" и "Полиэтилен 155" по ГОСТ 16337-77.
Заменитель: алюминиевый сплав Д1Т по ГОСТ 21488-76, фенопласт Сп1-342-02 и 03-010-02 по ГОСТ 5689-79; полиамид 610, литьевой, ГОСТ 10589-87.
9.3. Неуказанные предельные отклонения размеров:
диаметров Н14, h14, остальных
.
9.4. Покрытие деталей из алюминиевого сплава - Ан.Окс.н.хр, по ГОСТ 9.301-86.
9.5. Сбег резьбы - по ГОСТ 10549-80.