ГОСТ 24045-2016 ПРОФИЛИ СТАЛЬНЫЕ ЛИСТОВЫЕ ГНУТЫЕ С ТРАПЕЦИЕВИДНЫМИ ГОФРАМИ ДЛЯ СТРОИТЕЛЬСТВА. ТЕХНИЧЕСКИЕ УСЛОВИЯ
Steel sheet bent probiles with stair landings and railings for construction. Specifications
Дата введения - 1 апреля 2017 г.
Взамен ГОСТ 24045-2010
Предисловие
Цели, основные принципы и основной порядок проведения работ по межгосударственной стандартизации установлены в ГОСТ 1.0-2015 "Межгосударственная система стандартизации. Основные положения" и ГОСТ 1.2-2015 "Межгосударственная система стандартизации. Стандарты межгосударственные, правила и рекомендации по межгосударственной стандартизации. Правила разработки, принятия, обновления и отмены"
Сведения о стандарте
1 Разработан Закрытым акционерным обществом "Центральный ордена Трудового Красного Знамени научно-исследовательский и проектный институт строительных металлоконструкций им. Н.П. Мельникова" (ЗАО "ЦНИИПСК им. Мельникова")
2 Внесен Техническим комитетом по стандартизации ТК 465 "Строительство"
3 Принят Межгосударственным советом по стандартизации, метрологии и сертификации (протокол от 31 августа 2016 г. N 90-П)
За принятие проголосовали:
|
Краткое наименование страны по МК (ИСО 3166) 004-87 |
Код страны по МК (ИСО 3166) 004-97 |
Сокращенное наименование национального органа по стандартизации |
|
Армения |
AM |
Минэкономики Республики Армения |
|
Беларусь |
BY |
Госстандарт Республики Беларусь |
|
Киргизия |
KG |
Кыргызстандарт |
|
Россия |
RU |
Росстандарт |
4 Приказом Федерального агентства по техническому регулированию и метрологии от 2 ноября 2016 г. N 1569-ст межгосударственный стандарт ГОСТ 24045-2016 введен в действие в качестве национального стандарта Российской Федерации с 1 апреля 2017 г.
5 Взамен ГОСТ 24045-2010
Настоящий стандарт распространяется на холодногнутые листовые профили с трапециевидной формой гофра, изготовляемые из оцинкованной стали на профилегибочных станах и предназначенные для применения в строительстве.
В настоящем стандарте использованы нормативные ссылки на следующие межгосударственные стандарты:
ГОСТ 9.401-91 Единая система защиты от коррозии и старения. Покрытия лакокрасочные. Общие требования и методы ускоренных испытаний на стойкость к воздействию климатических факторов
ГОСТ 12.1.044-89 (ИСО 4589-84) Система стандартов безопасности труда. Пожаровзрывоопасность веществ и материалов. Номенклатура показателей и методы их определения
ГОСТ 164-90 Штангенрейсмасы. Технические условия
ГОСТ 427-75 Линейки измерительные металлические. Технические условия
ГОСТ 3749-77 Угольники поверочные 90°. Технические условия
ГОСТ 7502-98 Рулетки измерительные металлические. Технические условия
ГОСТ 7566-94 Металлопродукция. Приемка, маркировка, упаковка, транспортирование и хранение
ГОСТ 8026-92 Линейки поверочные. Технические условия
ГОСТ 9825-73 Материалы лакокрасочные. Термины, определения и обозначения
ГОСТ 14918-80*(1) Сталь тонколистовая оцинкованная с непрерывных линий. Технические условия
ГОСТ 15150-69 Машины, приборы и другие технические изделия. Исполнения для различных климатических районов. Категории, условия эксплуатации, хранения и транспортирования в части воздействия климатических факторов внешней среды
ГОСТ 19904-90 Прокат листовой холоднокатаный. Сортамент
ГОСТ 30246-94*(2) Прокат тонколистовой рулонный с защитно-декоративным лакокрасочным покрытием для строительных конструкций. Технические условия
Примечание - При пользовании настоящим стандартом целесообразно проверить действие ссылочных стандартов в информационной системе общего пользования - на официальном сайте Федерального агентства по техническому регулированию и метрологии в сети Интернет или по ежегодному информационному указателю "Национальные стандарты", который опубликован по состоянию на 1 января текущего года, и по выпускам ежемесячного информационного указателя "Национальные стандарты" за текущий год. Если ссылочный стандарт заменен (изменен), то при пользовании настоящим стандартом следует руководствоваться заменяющим (измененным) стандартом. Если ссылочный стандарт отменен без замены, то положение, в котором дана ссылка на него, применяется в части, не затрагивающей эту ссылку.
В настоящем стандарте применены следующие термины с соответствующими определениями:
3.1 гофр: Продольная складка стального листа трапециевидной формы, получаемая путем гибки листа при профилировании на специализированных прокатных станах.
3.2 капиллярная канавка: Продольная складка по одному из краев профилированного листа, накрываемая гофром продольного стыка соседнего кровельного листа и предназначенная для отвода капиллярной влаги, проникающей по нахлесточному стыку профилей во внутреннее пространство кровельной конструкции.
3.3 кровельные профили: Гофрированные профили, образующие сплошные настилы кровли, выполняющие гидроизоляцию кровельной конструкции от атмосферных осадков и одновременно воспринимающие снеговую и ветровую нагрузку и передающие ее на несущие настилы кровли или на обрешетку.
3.4 несущие профили: Гофрированные профили, образующие сплошные настилы покрытий и перекрытий, воспринимающие весь спектр нагрузок, действующих на покрытия и перекрытия зданий, и передающие их на каркас зданий и сооружений.
Примечание - К данным профилям также относятся настилы сталежелезобетонных покрытий и перекрытий.
3.5 стеновые профили: Гофрированные профили, образующие сплошные поверхности стен и перегородок и воспринимающие преимущественно ветровые нагрузки и передающие их на каркас зданий и сооружений.
3.6 ребро жесткости: Продольный мелкий гофр, уступ или отгиб, ужесточающий пластинчатый элемент основного гофра.
3.7 редуцированная площадь: Площадь сечения профиля, уменьшенная вследствие исключения из нее части сжатого сечения при потере им местной устойчивости.
3.8 рельефная штамповка: Образование выпуклого рельефа в листовой заготовке в целях повышения сцепления профилированного листа с бетоном.
3.9 перфорация: Образование отверстий по полкам или стенкам профиля в целях обеспечения специальных требований, включая звукоизоляцию.
4.1 Профили классифицируют по следующим признакам:
- назначение;
- материал исходной заготовки;
- наличие защитно-декоративного покрытия;
- форма сечения и поверхности гофров.
4.1.1 По назначению профили подразделяют на типы:
Н - для несущих настилов покрытий, воспринимающих вес кровли с утеплителем и нагрузки климатических воздействий;
НП - для несущих настилов сталежелезобетонных перекрытий;
НК - для кровельных настилов, выполняющих несущую и ограждающую функции;
С - для стеновых ограждений, выполняющих несущую и ограждающую функции;
НС - для настилов и стеновых ограждений.
Примечания
1 Допускается использовать обозначение типа, принятое предприятием-изготовителем в технических условиях или стандартах организаций.
2 Допускается использовать типы настилов для других целей в соответствии с требованиями проектной документации.
4.1.2 По материалу исходной заготовки профили подразделяют:
- по маркам*(3) проката;
- по группам ХП и ПК тонколистового горячеоцинкованного проката по ГОСТ 14918.
4.1.3 По наличию защитно-декоративного покрытия:
- цинковое покрытие по ГОСТ 14918;
- цинковое покрытие с лакокрасочным или полимерным покрытием по ГОСТ 30246.
4.1.4 По форме сечения и поверхности гофров:
- гофрированные профили с постоянным по длине профиля сечением;
- гофрированные профили с рельефной штамповкой на стенках и полках, увеличивающей сцепление профиля с бетоном;
- гофрированные профили с перфорацией по плоским элементам.
4.2 Схема и пример условного обозначения профилей приведены в приложении А.
4.3 Гофрированные профили представляют собой прокат с повторяющимися по всей ширине гофрами трапециевидной формы сечения высотой h от 15 до 160 мм для настилов и от 8 до 44 мм - для стенового ограждения (см. рисунки 1 и 2). Допускается изготовлять профили высотой более 44 мм для стенового ограждения по требованию потребителя. Гофры следует располагать с равным шагом s.
Рисунок 1 - Схема расположения гофров профиля
Рисунок 2 - Схема расположения элементов и ребер жесткости профиля
4.4 Ширина полок гофров профиля, расположенных в одной плоскости, должна быть одинаковой, кроме крайних полок, разница по ширине которых должна быть не менее 2 мм.
Ширина полок гофров между продольными ребрами жесткости должна быть не менее 10 и не более 200 мм.
4.5 Угол α между полками и стенками гофров должен быть не менее 95° и не более 130° для настилов или не более 135° для стенового ограждения.
4.6 Монтажную ширину профилей В1 принимают равной расстоянию между серединами крайних полок. Общую ширину профиля В принимают равной расстоянию между кромками или отгибами крайних полок.
4.7 Полки и стенки гофров профиля могут быть плоскими или иметь продольные ребра жесткости высотой до 10 мм, а также рельефную штамповку для повышения сцепления с бетоном в сталежелезобетонных конструкциях, выполненные в процессе профилирования (см. рисунок 2).
4.8 Гофрированные профили, используемые специально для выполнения функции кровли, рекомендуется оснащать по одному из краев дополнительным элементом для отвода капиллярной влаги, проникающей под наружную поверхность кровельного настила (капиллярная канавка). Примеры капиллярной канавки приведены на рисунке 3.
Рисунок 3 - Основные виды капиллярных канавок
4.9 Форма, размеры сечения, параметры профилей (площадь сечения, масса 1 м длины), справочные значения на 1 м ширины (моменты инерции и сопротивления) и масса 1 м2 профилей, наиболее часто применяемых в практике строительства, приведены в приложении Б.
4.10 Для профилей, не приведенных в приложении Б, следует устанавливать требования в стандартах организаций или технических условиях в соответствии с требованиями настоящего стандарта.
4.11 Справочные значения расчетных геометрических характеристик профилей при поперечном изгибе (расчетные значения моментов инерции и сопротивления) следует определять с учетом редуцированной площади сечения сжатых полок и стенок профилей в соответствии с примечанием 2 к таблицам 1 - 9 (приложение Б).
4.12 Форма профилей настила, выполняющего функции внешней рабочей арматуры в составе монолитной железобетонной плиты перекрытия, должна обеспечивать сцепление настила с бетоном при коэффициенте условия работы арматуры не менее yc = 0, 6.
4.13 Профили следует изготовлять длиной:
- кратной 250 мм при мерной длине от 3 до 12 м - для настилов;
- кратной 300 мм при мерной длине от 2, 4 до 12 м - для стеновых ограждений.
По согласованию изготовителя и потребителя допускается изготовлять профили любой мерной длины.
5.1 Требования к исходным материалам
5.1.1 Профили без лакокрасочных покрытий всех типов следует изготовлять из рулонной оцинкованной стали групп ХП и ПК с толщиной цинкового покрытия 1-го класса*(4) и нормальной разнотолщинностью HP по ГОСТ 14918, повышенной точностью прокатки по толщине AT и ширине АШ, нормальной плоскостностью ПН с обрезной кромкой О по ГОСТ 19904.
5.1.2 Допускается применять импортные стали, показатели качества которых соответствуют требованиям ГОСТ 14918.
5.1.3 Допускается по согласованию с заказчиком при изготовлении стеновых и кровельных профилей, используемых для строительства временных зданий и сооружений со сроком службы менее 10 лет, использовать лист с толщиной цинкового покрытия 2-го класса*(5) по ГОСТ 14918.
5.1.4 Профили с лакокрасочными покрытиями следует изготовлять с защитно-декоративным лакокрасочным или полимерным покрытием по ГОСТ 30246.
Цвет лакокрасочного покрытия принимают по каталогам цветов RAL и другим каталогам.
На лицевой и обратной сторонах (поверхности С и D) профиля могут быть выполнены лакокрасочные покрытия разных видов.
Физико-механические свойства покрытий лицевой и обратной сторон проката должны соответствовать ГОСТ 30246.
Лакокрасочные покрытия для защиты от коррозии тонколистового оцинкованного проката приведены в приложении В.
5.1.5 По согласованию между потребителем и изготовителем допускается применение других видов защитно-декоративных покрытий (как зарубежного, так и отечественного производства), показатели качества которых соответствуют требованиям нормативных документов страны-производителя и разрешенных к применению органами государственного надзора.
5.1.6 Толщину материала профилей t без учета толщины цинкового и лакокрасочного покрытия следует принимать от 0, 5 до 1, 5 мм.
5.2 Требования к защитным покрытиям
5.2.1 Качество цинкового покрытия профилей должно соответствовать требованиям на материал исходной заготовки для профилирования по ГОСТ 14918.
5.2.2 Качество лакокрасочного покрытия профилей (см. приложение В) должно соответствовать требованиям исходной заготовки по ГОСТ 30246.
5.2.3 На поверхности цинкового или лакокрасочного покрытия профилей допускаются потертости, риски, следы формообразующих валков, не нарушающие сплошности покрытия.
5.2.4 Области применения профилей, зависящие от степени агрессивного воздействия среды, выбирают в соответствии с действующими нормативными документами*(6).
5.2.5 Профилированные листы, комплектующие их изделия, с полимерным покрытием или без такового являются нетоксичными и пожаробезопасными согласно ГОСТ 12.1.044.
5.3 Требования к геометрической точности
5.3.1 Предельные отклонения размеров для всех типов профилей не должны превышать указанных в таблице 1.
|
В миллиметрах | |||
|
Высота профиля |
Предельные отклонения | ||
|
по высоте |
по ширине, размер В1 |
по длине | |
|
От 8 до 19 включ. |
±1, 0 |
±8, 0 |
+ 2, 0 (до 6 м) +6, 0 (свыше 6 м) |
|
От 20 до 59 включ. |
±1, 5 | ||
|
От 60 до 74 включ. |
±2, 0 | ||
|
От 75 до 160 включ. |
±2, 5 |
±15, 0 | |
|
Примечание - По согласованию изготовителя с потребителем отклонение по длине выше указанного предела браковочным признаком не является. | |||
5.3.2 Предельные отклонения по толщине профилей должны соответствовать предельным отклонениям по толщине заготовки повышенной точности прокатки по ГОСТ 19904 без учета толщины покрытия. Предельные отклонения не распространяются на отклонения по толщине в местах изгиба.
5.3.3 Серповидность профилей не должна превышать 5, 0 мм на 3 м длины при длине профиля до 6 м и 1, 5 мм на 1 м длины при длине профилей свыше 6 м.
5.3.4 Волнистость на плоских участках профилей не должна превышать 1, 5 мм, а на отгибах крайних полок - 3, 0 мм.
5.3.5 Радиус кривизны в углах гофров профилей должен быть не менее 1, 5t и обеспечиваться профилегибочным инструментом.
5.3.6 Косина резов профилей не должна выводить их длину за номинальный размер с учетом допустимого отклонения по длине.
5.4 Комплектность
В комплект поставки профилей должны входить:
- профили одного типоразмера, материала исходной заготовки, вида лакокрасочного покрытия;
- крепежные изделия (по согласованию потребителя с изготовителем);
- документ на отгружаемую продукцию.
5.5 Маркировка
5.5.1 Маркировку профилей выполняют по ГОСТ 7566.
5.5.2 Маркировку наносят на ярлык, который крепят к пакету. Маркировка должна содержать:
- наименование или товарный знак предприятия-изготовителя;
- условное обозначение профиля;
- длину и число профилей в пакете;
- теоретическую массу пакета;
- номер пакета и партии;
- штамп технического контроля предприятия-изготовителя.
5.6 Упаковка
5.6.1 Упаковку профилей выполняют по чертежам предприятия-изготовителя, утвержденным в установленном порядке. Упаковка должна обеспечить сохранность профилей и защитного покрытия от механических повреждений, а также от смещения листов в пакете относительно друг друга.
5.6.2 Упаковка профилей, предназначенных для экспорта, должна соответствовать требованиям нормативных документов, утвержденных в установленном порядке, и договору.
6.1 Профили принимают партиями.
Партией считают профили одного типоразмера, изготовленные из заготовок одной партии. Допускается формирование партий из профилей, изготовленных из заготовок разных партий одного предприятия-изготовителя.
Масса партии не должна превышать 75 т. Партия должна состоять из пакетов. Масса пакета не должна превышать 10 т.
6.2 Для контроля показателей качества на соответствие требованиям 5.2.3 и 5.3 отбирают по одному профилю из каждого пакета одной партии профилей.
Допускается для контроля отбирать по одному профилю из первого и последнего пакетов одной партии, если установленные показатели качества обеспечиваются технологией производства.
6.3 Партию считают принятой, если показатели качества соответствуют требованиям настоящего стандарта.
6.4 При получении неудовлетворительных результатов контроля хотя бы по одному из показателей качества по нему проводят повторный контроль на удвоенном числе профилей, отобранных от той же партии.
6.5 Если при повторной проверке окажется хотя бы один профиль, не соответствующий требованиям настоящего стандарта, то всю партию подвергают поштучной приемке.
Каждая партия отгружаемой продукции должна сопровождаться документом, содержащим:
- наименование или товарный знак предприятия-изготовителя;
- наименование потребителя;
- номер заказа;
- номер партии;
- условное обозначение профиля;
- данные о числе пакетов и их номера с указанием теоретической массы каждого пакета;
- данные об общей теоретической массе профилей в партии;
- штамп технического контроля предприятия-изготовителя,
7.1 Марка, свойства, толщина проката, а также качество лакокрасочного покрытия исходной заготовки должны быть удостоверены документом о качестве, представленным предприятием-изготовителем заготовки.
7.2 Качество поверхности металлического и лакокрасочного покрытий профилей определяют визуально без применения увеличительного оборудования.
7.3 Размеры профилей, включая монтажную ширину В1 контролируют рулеткой по ГОСТ 7502, металлической линейкой по ГОСТ 427, штангенреисмасом по ГОСТ 164. Ширину и высоту профилей измеряют на расстоянии от 40 до 500 мм от концов, длину - по двум продольным сторонам.
7.4 Серповидность по ребру гофра и волнистость профилей проверяют поверочной линейкой длиной 1 м по ГОСТ 8026 и набором щупов по действующим нормативным документам.
Общую серповидность определяют с помощью струны, закрепленной на концах ребра гофра, и линейки по ГОСТ 427.
7.5 Косину резов профилей измеряют линейкой по ГОСТ 427 и угольником по ГОСТ 3749, установленным по крайнему гофру профиля.
7.6 За результат измерения размеров по 7.3 - 7.5 принимают среднеарифметическое значение трех измерений в одном сечении и по одной линии, при этом результаты каждого измерения должны быть в пределах нормируемых допусков.
7.7 Для контроля продольных стыков профилей каждого типа в соответствии с требованиями 4.4 периодически, не реже одного раза в квартал, проводят контрольную сборку.
Сборка должна осуществляться свободно, без дополнительных механических воздействий, при этом крайние широкие полки накладывают внахлест на более узкие крайние полки.
7.8 Размеры и форму профилей листов допускается контролировать другими поверенными средствами измерения, утвержденными в установленном порядке и обеспечивающими необходимую точность измерения.
7.9 Размеры шага, высоты ступенек, общую ширину, ширину полок, радиусы кривизны в углах гофров и значение угла α на готовых профилях не контролируют.
8.1 Профили перевозят транспортом всех видов в соответствии с правилами перевозки и условиями погрузки, разгрузки и крепления пакетов, действующими на транспорте данного вида.
Методы погрузки, разгрузки и крепления пакетов должны обеспечивать сохранение размеров поперечного сечения гофров профиля.
8.2 Профили следует хранить в заводской упаковке в неотапливаемых складах закрытого типа или под навесом, защищающим от воздействия прямых солнечных лучей, атмосферных осадков и пыли с соблюдением установленных мер противопожарной безопасности не более 6 мес с момента производства.
Примечание - Допускается хранение профилей под открытым небом не более 1 мес при условии сохранности заводской упаковки и защиты пакета от попадания на верхний профиль прямых солнечных лучей. Рекомендуется укрыть пакеты укрывным материалом таким образом, чтобы было обеспечено достаточное проветривание пакетов.
8.3 При складировании транспортные пакеты необходимо устойчиво укладывать на ровную площадку, имеющую уклон до 3° для отвода дождевых и талых вод с площадки и свободного стока с пакетов.
8.4 Пакеты при транспортировании и хранении должны быть уложены на деревянные подкладки одинаковой толщины не менее 40 мм, шириной не менее 100 мм и длиной больше габаритного размера пакета не менее чем на 100 мм.
Подкладки должны быть расположены с шагом не более 3 м для профилей с гофрами выше 40 мм и не более 2 м - для профилей с гофрами 40 мм и менее.
Пакеты при транспортировании должны быть закреплены и надежно предохранены от перемещения.
8.5 При транспортировании и хранении пакеты должны быть размещены в один ярус, причем профили должны быть плотно вставлены один в другой по всей высоте яруса.
Допускается размещение транспортируемых и хранимых пакетов в два яруса и более при условии, что масса 1 м2 всех профилей, расположенных над нижним профилем, не превышает 3000 кг.
8.6 Условия транспортирования профилей при воздействии климатических факторов должны соответствовать условиям 7, хранения - условиям 3 по ГОСТ 15150.
9.1 При монтаже элементов конструкций зданий и сооружений с использованием несущих профилированных настилов, следует обеспечить их расчетную несущую способность. С этой целью монтаж стальных листовых гнутых профилей с трапециевидными гофрами при полистовой сборке кровли и стен следует проводить по разметке, обеспечивающей фиксацию расчетной ширины профилированного листа (расстояния между осями крайних гофров) в соответствии со значениями, установленными соответствующими нормативными документами предприятий-изготовителей с допуском ±10 мм на ширину профилированного листа.
9.2 Остальные требования по монтажу - в соответствии с действующими нормативными документами*(7).
_____________________________
*(1) В Российской Федерации действует также ГОСТ Р 52246-2004 "Прокат листовой горячеоцинкованный. Технические условия".
*(2) В Российской Федерации действует также ГОСТ Р 52146-2003 "Прокат тонколистовой холоднокатаный и холоднокатаный горячеоцинкованный с полимерным покрытием с непрерывных линий. Технические условия".
*(3) В Российской Федерации действует ГОСТ Р 52246-2004 (по маркам проката 220, 250, 280, 320, 350).
*(4) В Российской Федерации действует также ГОСТ Р 52246 (для класса покрытия 275).
*(5) В Российской Федерации действует также ГОСТ Р 52246 (для класса покрытия 140).
*(6) В Российской Федерации действует СП 28.13330.2012 "СНиП 2.03.11-85 Защита строительных конструкций от коррозии" (с изменением N 1).
*(7) В Российской Федерации действует СП 70.13330.2012 "СНиП 3.03.01-87 Несущие и ограждающие конструкции".
Приложение А
(справочное)
Пример условного обозначения
Профиль несущий типа Н, размеры профиля 75-750-0, 8 из стали марки Ст3пс с цинковым покрытием поверхностей С и D 1-го класса, с полимерным покрытием поверхности С полиэфирной эмалью цвета RAL 5005 (синий) и без лакокрасочного покрытия поверхности D:
Н75-750-0, 8 Ст3пс Ц1Ц1 ПЭ RAL 5005 / ГОСТ 24045-2016
Приложение Б
(справочное)
Рисунок Б.1 - Профили типа Н высотой 57 и 60 мм
Таблица Б.1
|
Обозначение профилированного листа |
Размеры сечения, мм |
Площадь сечения А, см2 |
Масса 1 м длины, кг | ||||||||||||||
|
h |
В1 |
t |
В |
b |
b1 |
b2 |
b3 |
b4 |
b5 |
b6 |
h1, не менее |
h2 |
R, не более |
s | |||
|
Н57-750-0, 8 |
57 |
750 |
0, 6 |
801 |
94, 5 |
44 |
42 |
20 |
93 |
46, 5 |
18 |
10 |
7 |
4 |
187, 5 |
6, 6 |
5, 6 |
|
Н57-750-0, 7 |
0, 7 |
7, 7 |
6, 5 | ||||||||||||||
|
Н57-750-0, 8 |
0, 8 |
8, 8 |
7, 4 | ||||||||||||||
|
Н60-845-0, 7 |
60 |
845 |
0, 7 |
902 |
89, 5 |
50 |
47 |
22 |
122 |
61 |
16 |
14 |
5 |
3, 5 |
211, 2 |
8, 8 |
7, 4 |
|
Н60-845-0, 8 |
0, 8 |
10, 0 |
8, 4 | ||||||||||||||
|
Н60-845-0, 9 |
0, 9 |
11, 3 |
9, 3 | ||||||||||||||
Продолжение таблицы Б.1
|
Обозначение профилированного листа |
Справочные значения на 1 м ширины |
Масса 1 м2, кг |
Ширина заготовки, мм | |||||
|
при сжатых узких полках |
при сжатых широких полках | |||||||
|
Момент инерции Ix, см4 |
Момент сопротивления, см3 |
Момент инерции Ix, см4 |
Момент сопротивления, см3 | |||||
|
Wx1 |
Wx2 |
Wx1 |
Wx2 | |||||
|
Н57-750-0, 6 |
46, 2 |
12, 0 |
18, 0 |
46, 2 |
13, 8 |
15, 9 |
7, 5 |
1100 |
|
H57-750-0, 7 |
53, 8 |
14, 8 |
21, 1 |
53, 8 |
16, 4 |
19, 7 |
8, 7 | |
|
Н57-750-0, 8 |
61, 2 |
17, 9 |
24, 4 |
61, 2 |
18, 9 |
24, 0 |
9, 8 | |
|
Н60-845-0, 7 |
62, 1 |
14, 6 |
24, 4 |
59, 1 |
16, 5 |
18, 7 |
8, 8 |
1250 |
|
Н60-845-0, 8 |
70, 6 |
17, 7 |
28, 1 |
69, 9 |
19, 0 |
22, 7 |
9, 9 | |
|
Н60-845-0, 9 |
79, 0 |
20, 9 |
31, 8 |
78, 7 |
21, 5 |
27, 0 |
11, 1 | |
Рисунок Б.2 - Профили типа Н высотой 75 мм
Таблица Б.2
|
Обозначение профилированного листа |
t, мм |
Площадь сечения А, см2 |
Масса 1 м длины, кг |
Справочные значения на 1 м ширины |
Масса 1 м2, кг |
Ширина заготовки, мм | |||||
|
при сжатых узких полках |
при сжатых широких полках | ||||||||||
|
Момент инерции Ix, см4 |
Момент сопротивления, см3 |
Момент инерции Ix, см4 |
Момент сопротивления, см3 | ||||||||
|
Wx1 |
Wx2 |
Wx1 |
Wx2 | ||||||||
|
Н75-750-0, 7 |
0, 7 |
8, 8 |
7, 4 |
104, 5 |
22, 5 |
29, 1 |
104, 5 |
25, 6 |
28, 1 |
9, 8 |
1250 |
|
Н75-750-0, 8 |
0, 8 |
10, 0 |
8, 4 |
114, 9 |
25, 8 |
32, 2 |
114, 9 |
28, 5 |
33, 1 |
11, 2 | |
|
Н75-750-0, 9 |
0, 9 |
11, 3 |
9, 3 |
129, 6 |
30, 2 |
37, 6 |
129, 6 |
31, 6 |
38, 0 |
12, 5 | |
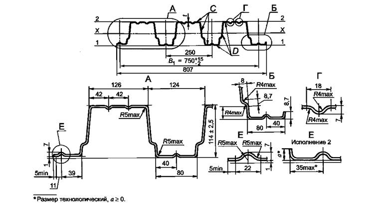
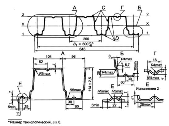
Рисунок Б.3 - Профили типа Н высотой 114 мм
Рисунок Б.4 - Профили типа Н высотой 114 мм, шириной 750 мм
Таблица Б.3
|
Обозначение профилированного листа |
t, мм |
Площадь сечения А, см2 |
Масса 1 м длины, кг |
Справочные значения на 1 м ширины |
Масса 1 м2, кг |
Ширина заготовки, мм | |||||
|
при сжатых узких полках |
при сжатых широких полках | ||||||||||
|
Момент инерции Ix, см4 |
Момент сопротивления, см3 |
Момент инерции Ix, см4 |
Момент сопротивления, см3 | ||||||||
|
Wx1 |
Wx2 |
Wx1 |
Wx2 | ||||||||
|
Н114-600-0, 8 |
0, 8 |
10, 0 |
8, 4 |
320, 9 |
53, 3 |
59, 7 |
320, 9 |
52, 4 |
55, 8 |
14, 0 |
1250 |
|
Н114-600-0, 9 |
0, 9 |
11, 3 |
9, 3 |
361, 0 |
60, 0 |
67, 2 |
361, 0 |
59, 6 |
65, 9 |
15, 6 | |
|
Н114-600-1, 0 |
1, 0 |
12, 5 |
10, 3 |
405, 4 |
67, 6 |
75, 0 |
405, 4 |
67, 6 |
75, 0 |
17, 2 | |
|
Н114-750-0, 8 |
0, 8 |
11, 2 |
9, 4 |
307, 9 |
51, 2 |
57, 1 |
307, 9 |
51, 2 |
57, 1 |
12, 5 |
1400 |
|
Н114-750-0, 9 |
0, 9 |
12, 6 |
10, 5 |
345, 2 |
57, 4 |
64, 0 |
345, 2 |
57, 4 |
64, 0 |
14, 0 | |
|
Н114-750-1, 0 |
1, 0 |
14, 0 |
11, 7 |
383, 6 |
63, 8 |
71, 1 |
383, 6 |
63, 8 |
71, 1 |
15, 4 | |
Рисунок Б.5 - Профили типа Н высотой 153 мм, шириной 850 мм
Таблица Б.4
|
Обозначение профилированного листа |
t, мм |
Площадь сечения А, см2 |
Масса 1 м2 длины, кг |
Справочные значения на 1 м ширины |
Масса 1 м2, кг |
Ширина заготовки, мм | |||||
|
при сжатых узких полках |
при сжатых широких полках | ||||||||||
|
Момент инерции IX, см4 |
Момент сопротивления, см3 |
Момент инерции IX, см4 |
Момент сопротивления, см3 | ||||||||
|
WX1, |
WX2, |
WX1, |
WX2, | ||||||||
|
Н153-850-0, 8 |
0, 8 |
12, 0 |
9, 8 |
403, 5 |
44, 0 |
64, 9 |
401, 3 |
46, 8 |
58, 8 |
11, 5 |
1500 |
|
Н153-850-1, 0 |
1, 0 |
15, 5 |
12, 2 |
524, 5 |
58, 4 |
81, 7 |
519, 7 |
59, 4 |
78, 0 |
14, 4 | |
|
Н153-850-1, 2 |
1, 2 |
18, 0 |
14, 5 |
643, 7 |
72, 2 |
98, 9 |
640, 3 |
72, 1 |
97, 7 |
17, 1 | |
|
Н153-850-1, 5 |
1, 5 |
22, 5 |
18, 1 |
806, 5 |
90, 4 |
123, 5 |
806, 3 |
90, 4 |
123, 5 |
21, 3 | |
Рисунок Б.6 - Профили типа НС высотой 35 мм
Таблица Б.5
|
Обозначение профилированного листа |
t, мм |
Площадь сечения A, см2 |
Масса 1 м длины, кг |
Справочные значения на 1 м ширины |
Масса 1 м2, кг |
Ширина заготовки, мм | ||||||
|
при сжатых полках по оси 2-2 |
при сжатых полках по оси 1-1 | |||||||||||
|
Момент инерции Ix, см4 |
Момент сопротивления, см3 |
Момент инерции Ix, см4 |
Момент сопротивления, см3 | |||||||||
|
Wx1 |
Wx2 |
Wx1 |
Wx2 | |||||||||
|
НС35-1000-0, 6 |
0, 6 |
7, 5 |
6, 4 |
14, 92 |
8, 56 |
8, 27 |
15, 41 |
9, 25 |
8, 4 |
6, 4 |
1250 | |
|
НС35-1000-0, 7 |
0, 7 |
8, 75 |
7, 4 |
17, 36 |
9, 95 |
9, 58 |
17, 87 |
10, 73 |
9, 74 |
7, 4 | ||
|
НС35-1000-0, 8 |
0, 8 |
10, 0 |
8, 4 |
19, 89 |
11, 44 |
10, 92 |
20, 25 |
12, 16 |
11, 04 |
8, 4 | ||
Рисунок Б.7 - Профили типа НС высотой 44 мм
Таблица Б.6
|
Обозначение профилированного листа |
t, мм |
Площадь сечения А, см2 |
Масса 1 м длины, кг |
Справочные значения на 1 м ширины |
Масса 1 м2, кг |
Ширина заготовки, мм | |||||
|
при сжатых узких полках |
при сжатых широких полках | ||||||||||
|
Момент инерции Ix, см4 |
Момент сопротивления, см3 |
Момент инерции Ix, см4 |
Момент сопротивления, см3 | ||||||||
|
Wx1 |
Wx2 |
Wx1 |
Wx2 | ||||||||
|
НС44-1000-0, 7 |
0, 7 |
9, 8 |
8, 3 |
32, 9 |
13, 4 |
16, 8 |
32, 9 |
13, 0 |
13, 6 |
8, 3 |
1400 |
|
НС44-1000-0, 8 |
0, 8 |
11, 2 |
9, 4 |
37, 66 |
15, 41 |
19, 25 |
37, 66 |
15, 07 |
16, 76 |
9, 4 | |
Рисунок Б.8 - Профили типа С высотой 10 и 18 мм
Таблица Б.7
|
Обозначение профилированного листа |
Размеры сечения |
мм |
Площадь сечения А, см2 |
Масса 1 м длины, кг |
Справочное значение - момент инерции на 1 м ширины при сжатых широких полках Ix, см4 |
Масса 1 м2, кг |
Ширина заготовки, мм | ||
|
В |
B1 |
t |
n | ||||||
|
С10-899-0, 6 С10-899-0, 7 |
918 |
899 |
0, 6 0, 7 |
9 |
6, 0 7, 0 |
5, 1 5, 9 |
0, 81 0, 97 |
5, 7 6, 6 |
1000 |
|
С10-1000-0, 6 С10-1000-0, 7 |
1022 |
1000 |
0, 6 0, 7 |
10 |
6, 6 7, 7 |
5, 6 6, 5 |
0, 80 0, 98 |
5, 6 6, 5 |
1100 |
|
С18-1000-0, 6 С18-1000-0, 7 |
1023 |
1000 |
0, 6 0, 7 |
10 |
7, 5 8, 8 |
6, 4 7, 4 |
3, 04 3, 59 |
6, 4 7, 4 |
1250 |
Рисунок Б.9 - Профили типа С высотой 15 мм
Таблица Б.8
|
Обозначение профилированного листа |
Размеры сечения, мм |
Площадь сечения А, см2 |
Масса 1 м длины, кг |
Справочное значение - момент инерции на 1 м ширины при сжатых широких полках Ix, см4 |
Масса 1 м2, кг |
Ширина заготовки, мм | |||
|
В |
B1 |
t |
n | ||||||
|
С15-800-0, 6 |
940 |
800 |
8 |
0, 6 |
6, 6 |
5, 60 |
2, 10 |
6, 0 |
1100 |
|
С15-800-0, 7 |
0, 7 |
7, 7 |
6, 55 |
2, 55 |
6, 9 | ||||
|
С15-1000-0, 6 |
1018 |
1000 |
10 |
0, 6 |
7, 5 |
6, 4 |
2, 80 |
6, 4 |
1250 |
|
С15-1000-0, 7 |
0, 7 |
8, 7 |
7, 4 |
3, 00 |
7, 4 | ||||
Рисунок Б.10 - Профили типа С высотой 21 и 44 мм
Таблица Б.9
|
Обозначение профилированного листа |
Размеры сечения, мм |
Площадь сечения А, см2 |
Масса 1 м длины, кг |
Справочные значения на 1 м ширины |
Масса 1 м2, кг |
Ширина заготовки, мм | ||||||||||
|
при сжатых узких полках |
при сжатых широких полках | |||||||||||||||
|
h |
В |
b |
R |
S |
t |
Момент инерции Ix, см4 |
Момент сопротивления, см3 |
Момент инерции, Ix, см4 |
Момент сопротивления, см3 | |||||||
|
Wx1 |
Wx2 |
Wx1 |
Wx2 | |||||||||||||
|
021-1000-0, 6 |
21 |
1051 |
65 |
5 |
100 |
0, 6 |
7, 5 |
6, 4 |
5, 49 |
4, 83 |
4, 96 |
5, 46 |
5, 24 |
4, 51 |
6, 4 |
1250 |
|
С21-1000-0, 7 |
0, 7 |
8, 75 |
7, 4 |
6, 32 |
6, 07 |
5, 81 |
6, 28 |
6, 14 |
5, 66 |
7, 4 | ||||||
|
С44-1000-0, 7 |
44 |
1047 |
100 |
10 |
200 |
0, 7 |
8, 8 |
7, 4 |
25, 4 |
9, 3 |
15, 2 |
20, 7 |
8, 3 |
8, 5 |
7, 4 | |
Примечания к таблицам 1 - 9
1 При вычислении массы плотность стали принята равной 7, 85 г/см3; масса цинкового покрытия, нанесенного на 1 м2 с двух сторон листа, принята равной 414 г. Масса лакокрасочного покрытия не учитывалась.
2 Данные по геометрическим характеристикам профилей (моменты инерции и сопротивления) являются справочными и получены принятием расчетной ширины bp плоских участков сжатых полок равной: bp = 40t - при определении моментов сопротивления; bp = 60t - при определении моментов инерции.
3 Справочные величины на 1 м ширины получены делением расчетных характеристик на ширину B1. Масса 1 м2 получена делением массы 1 м длины на ширину B1.
Приложение В
(справочное)
|
Характеристика лакокрасочного материала по типу пленкообразующего |
Группа покрытии |
Краткое обозначение |
Обычный диапазон толщин покрытия, мкм | |
|
по ГОСТ 9825 |
по [1] | |||
|
Грунтовки | ||||
|
Акрилатная грунтовка |
II |
- |
- |
5 - 7 |
|
Полиэфирная грунтовка |
I |
- |
- |
5 - 7 |
|
Эпоксидная грунтовка |
III |
- |
- |
5 - 7 |
|
Отделочные эмали, наносимые по грунтовкам | ||||
|
Акрилатная эмаль |
II |
АК |
AY |
20 - 30(1) |
|
Полиэфирная эмаль |
I |
ПЭ, ПЛ |
SP |
20 - 30(1) |
|
Полиуретановая эмаль |
III |
УР |
PUR |
20 - 60(1) |
|
Поливинилиденфторидная эмаль (ПВДФ) |
Ill, IV |
ФП |
PVDF |
20 - 60(1) |
|
ПВХ пластизоль (ПЗ) |
III |
ХВ |
PVC (P) |
100 - 200(1) |
|
Защитные эмали для обратной стороны, наносимые без грунтовки | ||||
|
Полиэфирная эмаль |
I |
ПЭ |
SP |
10 - 18 |
|
Эпоксидная эмаль |
III |
ЭП |
ЕР |
10 - 18 |
|
(1) Общая толщина покрытия вместе с грунтом. | ||||
Выбор марок материалов и толщины защитно-декоративных лакокрасочных покрытий для дополнительной защиты от коррозии оцинкованной стали проводят с учетом срока службы лакокрасочного покрытия в конкретных условиях эксплуатации. Прогнозируемый срок службы покрытия следует устанавливать по результатам ускоренных климатических испытаний образцов покрытий. Ускоренные испытания покрытий проводят по ГОСТ 9.401.
_____________________________
* В Российской Федерации действуют ГОСТ Р 52146-2003 и СП 28.13330.2012 "СНиП 2.03.11-85 Защита строительных конструкций от коррозии" (с изменением N 1).
Библиография
[1] ИСО 1043-1:2011 Пластмассы. Условные обозначения и сокращения. Часть 1. Основные полимеры и их специальные характеристики


