ГОСТ 21216-2014 СЫРЬЕ ГЛИНИСТОЕ. МЕТОДЫ ИСПЫТАНИЙ
Clay raw materials. Test methods
Дата введения - 1 июля 2015 г.
Взамен ГОСТ 21216.0-93, ГОСТ 21216.1-93,
ГОСТ 21216.2-93, ГОСТ 21216.3-93,
ГОСТ 21216.4-93, ГОСТ 21216.6-93,
ГОСТ 21216.7-93, ГОСТ 21216.8-93,
ГОСТ 21216.9-93, ГОСТ 21216.10-93,
ГОСТ 21216.11-93, ГОСТ 21216.12-93
Предисловие
Цели, основные принципы и основной порядок проведения работ по межгосударственной стандартизации установлены ГОСТ 1.0-92 "Межгосударственная система стандартизации. Основные положения" и ГОСТ 1.2-2009 "Межгосударственная система стандартизации. Стандарты межгосударственные, правила и рекомендации по межгосударственной стандартизации. Правила разработки, принятия, применения, обновления и отмены"
Настоящий стандарт распространяется на глинистое сырье и устанавливает требования к средствам и процедуре проведения испытаний в целях оценки качества глинистого сырья.
Методы, приведенные в настоящем стандарте, применяют при проведении лабораторных и опытно-промышленных испытаний для определения показателей физико-механических, химических и технологических свойств глинистого сырья, применяемого для производства керамзитовых гравия, щебня и песка, керамических кирпича, камня, плиток, огнеупоров и др.
В настоящем стандарте использованы нормативные ссылки на следующие межгосударственные стандарты:
ГОСТ 83-79 Реактивы. Натрий углекислый. Технические условия
ГОСТ 166-89 (ИСО 3599-76) Штангенциркули. Технические условия
ГОСТ 342-77 Реактивы. Натрий дифосфат 10-водный. Технические условия
ГОСТ 427-75 Линейки измерительные металлические. Технические условия
ГОСТ 450-77 Кальций хлористый технический. Технические условия
ГОСТ 1277-75 Реактивы. Серебро азотнокислое. Технические условия
ГОСТ 1770-74 (ИСО 1042-83, ИСО 4788-80) Посуда мерная лабораторная стеклянная. Цилиндры, мензурки, колбы, пробирки. Общие технические условия
ГОСТ 2409-95 (ИСО 5017-88) Огнеупоры. Метод определения кажущейся плотности, открытой и общей пористости, водопоглощения
ГОСТ 2642.4-97 Огнеупоры и огнеупорное сырье. Методы определения оксида алюминия
ГОСТ 2642.5-97 Огнеупоры и огнеупорное сырье. Методы определения оксида железа (III)
ГОСТ 2642.6-97 Огнеупоры и огнеупорное сырье. Методы определения оксида титана (IV)
ГОСТ 2642.11-97 Огнеупоры и огнеупорное сырье. Метод определения оксидов калия и натрия
ГОСТ 2874-82*(1) Вода питьевая. Гигиенические требования и контроль за качеством
ГОСТ 3044-84*(2) Преобразователи термоэлектрические. Номинальные статические характеристики преобразования
ГОСТ 3118-77 Реактивы. Кислота соляная. Технические условия
ГОСТ 3306-88 Сетки с квадратными ячейками из стальной рифленой проволоки. Технические условия
ГОСТ 3760-79 Реактивы. Аммиак водный. Технические условия
ГОСТ 3773-72 Реактивы. Аммоний хлористый. Технические условия
ГОСТ 4108-72 Реактивы. Барий хлорид 2-водный. Технические условия
ГОСТ 4204-77 Реактивы. Кислота серная. Технические условия
ГОСТ 4208-72 Реактивы. Соль закиси железа и аммония двойная сернокислая (соль Мора). Технические условия
ГОСТ 4220-75 Реактивы. Калий двухромовокислый. Технические условия
ГОСТ 4233-77 Реактивы. Натрий хлористый. Технические условия
ГОСТ 4459-75 Реактивы. Калий хромовокислый. Технические условия
ГОСТ 4461-77 Реактивы. Кислота азотная. Технические условия
ГОСТ 5777-84 Калий марганцовокислый технический. Технические условия
ГОСТ 6139-2003 Песок для испытаний цемента. Технические условия
ГОСТ 6563-75 Изделия технические из благородных металлов и сплавов. Технические условия
ГОСТ 6613-86 Сетки проволочные тканые с квадратными ячейками. Технические условия
ГОСТ 6709-72 Вода дистиллированная. Технические условия
ГОСТ 6824-96 Глицерин дистилированный. Технические условия
ГОСТ 8074-82 Микроскопы инструментальные. Типы, основные параметры и размеры. Технические требования
ГОСТ 8269.0-97 Щебень и гравий из плотных горных пород и отходов промышленного производства для строительных работ. Методы физико-механических испытаний
ГОСТ 9070-75 Вискозиметры для определения условной вязкости лакокрасочных материалов. Технические условия
ГОСТ 9147-80 Посуда и оборудование лабораторные фарфоровые. Технические условия
ГОСТ 9169-75 Сырье глинистое для керамической промышленности. Классификация
ГОСТ 9656-75 Реактивы. Кислота борная. Технические условия
ГОСТ 9758-2012 Заполнители пористые неорганические для строительных работ. Методы испытаний
ГОСТ 10484-78 Реактивы. Кислота фтористо-водородная. Технические условия
ГОСТ 10652-73 Реактивы. Соль динатриевая этилендиамин-N,N,N',N'-тетрауксусной кислоты 2-водная (трилон Б). Технические условия
ГОСТ 10678-76 Кислота ортофосфорная термическая. Технические условия
ГОСТ 10929-76 Реактивы. Водорода пероксид. Технические условия
ГОСТ 13646-68 Термометры стеклянные ртутные для точных измерений. Технические условия
ГОСТ 14919-83 Электроплиты, электроплитки и жарочные электрошкафы бытовые. Общие технические условия
ГОСТ 18300-87 Спирт этиловый ректификованный технический. Технические
ГОСТ 18481-81 Ареометры и цилиндры стеклянные. Общие технические условия
ГОСТ 19609.20-89 Каолин обогащенный. Метод определения усадки
ГОСТ 19710-83 Этиленгликоль. Технические условия
ГОСТ 19908-90 Тигли, чаши, стаканы, колбы, воронки, пробирки и наконечники из прозрачного кварцевого стекла. Общие технические условия
ГОСТ 21046-86 Нефтепродукты отработанные. Общие технические условия
ГОСТ 22524-77 Пикнометры стеклянные. Технические условия
ГОСТ 23932-90 Посуда и оборудование лабораторные стеклянные. Общие технические условия
ГОСТ 24104-2001*(3) Весы лабораторные. Общие технические требования
ГОСТ 24363-80 Реактивы. Калия гидроокись. Технические условия
ГОСТ 24555-81*(4) Система государственных испытаний продукции. Порядок аттестации испытательного оборудования. Основные положения
ГОСТ 25336-82 Посуда и оборудование лабораторные стеклянные. Типы, основные параметры и размеры
ГОСТ 29227-91 Пипетки градуированные. Общие требования
ГОСТ 32026-2012 Сырье глинистое для производства керамзитовых гравия, щебня и песка. Технические условия
Примечание - При пользовании настоящим стандартом целесообразно проверить действие ссылочных стандартов в информационной системе общего пользования - на официальном сайте Федерального агентства по техническому регулированию и метрологии в сети Интернет или по ежегодному информационному указателю "Национальные стандарты", который опубликован по состоянию на 1 января текущего года, и по выпускам ежемесячного информационного указателя "Национальные стандарты" за текущий год. Если ссылочный стандарт заменен (изменен), то при пользовании настоящим стандартом следует руководствоваться заменяющим (измененным) стандартом. Если ссылочный стандарт отменен без замены, то положение, в котором дана ссылка на него, применяется в части, не затрагивающей эту ссылку.
В настоящем стандарте применены следующие термины с соответствующими определениями:
3.1 сырье глинистое: Тонкодисперсные осадочные породы, состоящие в основном из глинистых минералов (монтмориллонита, гидрослюды, каолинита и др.), содержащие минеральные (кварцевые, полевошпатовые, карбонатные, железистые) и органические примеси.
3.2 сырье глинистое пластичное: Глинистые породы, образующие при затворении водой пластичную глинистую массу, способную под нагрузкой изменять форму (деформироваться) без образования трещин, разрывов и сохранять форму после снятия нагрузки.
3.3 сырье глинистое камнеподобное: Плотные и хрупкие глинистые породы влажностью 3% - 9%, не размокающие или плохо размокающие в воде.
3.4 естественная влажность: Содержание воды в глинистом сырье в условиях его естественного залегания.
3.5 фактическая влажность: Содержание воды в пробе глинистого сырья, поступающего на испытания.
3.6 формовочная влажность: Содержание воды в пробе глинистого сырья, при котором глинистая масса обладает пластическими и формовочными свойствами.
3.7 число пластичности: Показатель, определяемый по разности значений влажности глинистой массы, соответствующей нижней границе текучести и границе раскатывания при переходе глины из пластичного состояния в хрупкое.
3.8 оптимальная температура термоподготовки: Температура, при которой гранулы (зерна) полуфабриката не разрушаются в печи термоподготовки или в печи обжига и обеспечивается получение пористого заполнителя с минимальной плотностью гранул (зерен).
3.9 вспучиваемость: Свойство некоторых глинистых пород увеличиваться в объеме при обжиге с образованием материала ячеистой структуры.
3.10 оптимальная температура вспучивания: Температура обжига, при которой получают пористый заполнитель с минимальной средней плотностью гранул (зерен) и без оплавления поверхности.
3.11 температурный интервал вспучивания: Разность между оптимальной температурой вспучивания и температурой, при которой получают пористый заполнитель плотностью гранул (зерен) 1,0 г/см3.
3.12 коэффициент вспучивания: Отношение объема вспученной гранулы (зерна) к объему гранулы (зерна) полуфабриката, поступающей на обжиг.
3.13 спекаемость: Способность глинистого сырья образовывать при обжиге черепок без признаков пережога с водопоглощением не более 5%.
3.14 огнеупорность: Температура, при которой образец стандартных размеров (пироскоп), размягчаясь при нагревании, касается вершиной подставки, на которую он установлен.
3.55 связующая способность: Свойство глинистого сырья сохранять пластичность при смешении с непластичными материалами.
3.16 шликер: Устойчивая водная суспензия глинистого сырья или керамической шихты.
3.17 суспензия: Взвесь, в которой мелкие частицы твердого вещества равномерно распределены в воде.
4.1 Отбор и подготовку проб глинистого сырья проводят по ГОСТ 32026.
4.2 Проба для определения физико-механических, технологических показателей и химического состава должна быть не менее 10 кг.
4.3 Пробу глинистого сырья массой 10 кг высушивают до постоянной массы при температуре (105±5)°С в сушильном электрошкафу. Массу пробы считают постоянной, если результаты двух последовательных взвешиваний, проведенных с интервалом не менее 3 ч, отличаются не более чем на 0,1% массы пробы. Для определения содержания крупнозернистых включений методом квартования отбирают навеску массой 2 кг.
Высушенную пробу массой 8 кг измельчают и просеивают без остатка через сито с сеткой N 1 по ГОСТ 6613. Для определения химического состава методом квартования отбирают навеску массой 500 г. Остаток пробы массой 7,5 кг используют для определения физико-механических и технологических показателей.
4.4 Пробы хранят в полиэтиленовых мешках или в пакетах из плотной бумаги, на которых должны быть указаны:
- наименование месторождения;
- дата отбора пробы;
- номер пробы.
4.5 За окончательный результат принимают среднеарифметическое значение результатов параллельных испытаний, число которых предусмотрено соответствующим методом.
Расхождение результатов параллельных испытаний не должно превышать допускаемого значения, предусмотренного конкретным методом, но не должно быть более ±5% среднего значения результатов этих испытаний.
4.6 Вода, применяемая при испытаниях, должна соответствовать ГОСТ 2874, если в методе испытания не даны указания по использованию дистиллированной воды или других жидкостей.
4.7 При определении химического состава и приготовлении растворов применяют реактивы не ниже "чистый для анализа" (ч.д.а.) и дистиллированную воду по ГОСТ 6709.
4.8 Горячая вода или горячий раствор должны иметь температуру 60°С - 80°С; теплая вода или теплый раствор температуру 40°С - 50°С.
4.9 При указании степени разбавления кислот или щелочей, например, "разбавленная 1:1, 1:2" и т.д. первые цифры означают объемные доли кислоты или щелочи, вторые - объемные доли воды.
4.10 При использовании в качестве реактивов опасных (едких, токсичных) веществ следует соблюдать требования безопасности, изложенные в нормативных или технических документах на эти реактивы.
4.11 Средства измерений и испытательное оборудование, в том числе зарубежное, должны быть проверены, откалиброваны и аттестованы в соответствии с требованиями ГОСТ 24555 и других действующих нормативных документов системы государственных испытаний продукции.
4.12 Макроскопическое описание глинистого сырья, поступившего на испытания, проводят в соответствии с приложением А.
4.13 По результатам испытания проводят классификацию глинистого сырья в соответствии с ГОСТ 9169.
Метод основан на определении содержания в глинистом сырье крупнозернистых включений размером более 0,5 мм после промывания пробы с последующим рассевом на ситах и оценке их вещественного состава.
Весы лабораторные по ГОСТ 24104.
Электрошкаф сушильный с терморегулятором, обеспечивающий температуру (105±5)°С.
Лампа инфракрасного излучения мощностью 500 Вт с внутренним зеркальным рефлектором.
Микроскоп по ГОСТ 8074.
Объектив градуированный.
Эксикатор по ГОСТ 23932.
Сита с сетками N 05; 1; 2 по ГОСТ 6613.
Сита с сетками N 3 и 5 по ГОСТ 3306.
Чашка выпарительная по ГОСТ 9147.
Емкость для замачивания глинистого сырья.
Линейка металлическая длиной 100 мм.
Лупа бинокулярная МБС-1.
Кислота соляная по ГОСТ 3118, разбавленная 1:10.
Отбор и подготовку пробы глинистого сырья проводят в соответствии с разделом 4.
Для проведения двух параллельных испытаний отбирают навеску массой 2-4 кг.
Навеску глинистого сырья массой 1-2 кг помещают в емкость для замачивания и приливают воду в объеме, превышающем в 3-4 раза объем навески. Полученную суспензию перемешивают деревянной лопаткой и оставляют на 1 ч. Если навеска глины не распустилась за 1 ч, ее оставляют в воде не менее чем на 24 ч, после чего суспензию перемешивают деревянной лопаткой и выливают на сито с сеткой N 05.
Сито с остатком помещают под струю воды, предварительно отрегулировав ее так, чтобы не было разбрызгивания. Остаток промывают до тех пор, пока вода, прошедшая через сито, не станет прозрачной. Остаток на сите смывают водой в чистую, предварительно высушенную до постоянной массы и взвешенную выпарительную чашку, сушат при температуре (105±5)°С до постоянной массы в сушильном электрошкафу, охлаждают и взвешивают. В высушенном остатке определяют общее количество крупнозернистых включений и их вещественный состав.
Высушенный остаток просеивают через набор сит с сетками N 1; 2; 3; 5, остатки на каждом сите взвешивают. В каждом остатке визуально определяют наличие и виды включений, их вещественный состав и размер зерен.
Кварц, кальций, гипс определяют по твердости, блеску и спайности. Пирит, марказит, сидерит и гидроксиды железа определяют по цвету, металлическому блеску и бурому ореолу в природном состоянии или после травления кислотой; растительные остатки определяют по цвету и внешнему виду.
Карбонаты кальция определяют по выделению углекислого газа при обработке сухого остатка соляной кислотой.
Размер зерен более 5 мм измеряют металлической линейкой. При необходимости определяют вещественный состав зерен с помощью бинокулярной лупы, микроскопа или рентгеновского аппарата.
Массовую долю крупнозернистых включений на каждом сите X, %, вычисляют по формуле
, (1)
где m1 - масса чашки с сухим остатком, г;
m2 - масса чашки, г;
m - масса исходной навески, г.
Расхождение результатов двух параллельных испытаний не должно превышать 2% при содержании крупнозернистых включений более 10% и 1% - при содержании крупнозернистых включений менее 10%.
Если расхождение результатов двух параллельных испытаний превышает указанные значения, испытания повторяют.
Метод основан на определении содержания частиц глинистого сырья по крупности в зависимости от времени их оседания в жидкой среде и последующем взвешивании полученных фракций.
Электрошкаф сушильный, обеспечивающий температуру (105±5)°С.
Устройство для отбора суспензии (см. рисунок 1). Допускается применять устройства других конструкций, если они обеспечивают расхождение результатов не более 3%. Допускается вместо аспиратора использовать водоструйный насос, который соединяется с пипеткой с помощью каучуковой трубки.
Лампа инфракрасная мощностью 500 Вт.
Весы лабораторные 2-го класса точности по ГОСТ 24104.
Мешалка, состоящая из резинового диска диаметром 50 мм, толщиной 4-5 мм, надетого на конец стеклянной палочки длиной 600 мм, диаметром 8 мм. По окружности резинового диска расположены шесть отверстий диаметром 3 мм каждое.
Сито с сеткой N 0063 по ГОСТ 6613.
Чашка выпарительная по ГОСТ 9147.
Эксикатор по ГОСТ 23932.
Стаканчики для взвешивания (бюксы) по ГОСТ 23932.
Цилиндр мерный стеклянный вместимостью 1000 см3, диаметром (60±2) мм.
Термометр с точностью до 0,5°С.
Секундомер.
Натрий пирофосфорнокислый (натрий дифосфат) по ГОСТ 342, раствор 40 г/л.
Отбор и подготовку пробы глинистого сырья проводят в соответствии с разделом 4.
Для испытания от пробы отбирают навеску массой не менее 50 г, сушат до постоянной массы в сушильном электрошкафу при температуре (105±5)°С, охлаждают в эксикаторе и отбирают для проведения испытаний 10 г.
Навеску глинистого сырья массой 10 г (масса m) помещают в коническую колбу с обратным холодильником вместимостью 500 см3, приливают 150 см3 дистиллированной воды, 10 см3 раствора пирофосфорнокислого натрия, применяемого в качестве диспергатора, и кипятят в течение 1 ч, считая с момента закипания (кипение не должно быть бурным).
При испытании бентонитовых и карбонатосодержащих глин количество диспергатора увеличивают в два раза.
Суспензию охлаждают до комнатной температуры, переносят на сито с сеткой N 0063. Сито помещают в стеклянную воронку, а последнюю - в стеклянный цилиндр вместимостью 1000 см3.

1 - штатив; 2 - цилиндр; 3 - пипетка вместимостью 25 см3; 4 - упор; 5 - колба для промывания пипетки; 6 - аспиратор; 7 - зажим; 8 - колба для слива воды
Рисунок 1 - Устройство для отбора суспензии
Глинистое сырье на сите промывают струей воды, слегка растирая стеклянной палочкой до тех пор, пока вода, проходящая через сито, не станет прозрачной.
Остаток на сите смывают водой в чистую, предварительно высушенную выпарительную чашку, сушат при температуре (105±5)°С до постоянной массы в сушильном электрошкафу или под инфракрасной лампой и взвешивают (масса m1).
В цилиндр с суспензией приливают дистиллированную воду до метки, перемешивают мешалкой с частотой 60 качаний в минуту в течение 1 мин, измеряют температуру суспензии и оставляют для отстаивания. Интервал времени, после которого отбирают первую и последующие пробы, приведен в таблице 1.
Таблица 1
|
Размер частиц, мм, не более |
Глубина отбора пробы, см |
Интервал времени при температуре, °С | ||||||||
|
10 |
12,5 |
15 |
17,5 |
20 |
22,5 |
25 |
27,5 |
30 | ||
|
0,01 |
10 |
24 мин 07 с |
22 мин 30 с |
21 мин 06 с |
19 мин 18 с |
18 мин 39 с |
17 мин 33 с |
16 мин 25 с |
15 мин 39 с |
14 мин 50 с |
|
0,005 |
10 |
1 ч 36 мин 27 с |
1 ч 30 мин 00 с |
1 ч 24 мин 21 с |
1 ч 19 мин 08 с |
1 ч 14 мин 34 с |
1 ч 10 мин 12 с |
1 ч 06 мин 21 с |
1 ч 02 мин 38 с |
59 мин 19 с |
|
0,001 |
7 |
28 ч 07 мин 53 с |
26 ч 15 мин 05 с |
24 ч 36 мин 25 с |
23 ч 05 мин 25 с |
21 ч 45 мин 09 с |
20 ч 28 мин 59 с |
19 ч 21 мин 12 с |
18 ч 16 мин 05 с |
17 ч 17 мин 59 с |
Отбор суспензии проводят следующим образом: соединяют аспиратор 6 с пипеткой 3, с помощью упора 4 устанавливают глубину погружения пипетки в цилиндр 2 с суспензией, ослабляют зажим 7 для постоянного медленного слива воды из аспиратора.
Глубину отбора проб суспензии определяют в зависимости от размера частиц по таблице 1. Пипетку вводят в цилиндр с суспензией на установленную глубину, открывают кран аспиратора и засасывают в пипетку суспензию в количестве 25 см3. Кран аспиратора и зажим на сливной трубке закрывают. Продолжительность отбора суспензии в зависимости от размера частиц должна быть:
|
при |
размере |
частиц |
менее |
0,01 мм - 30 с; |
|
" |
" |
" |
" |
0,005 мм - 25 с; |
|
" |
" |
" |
" |
0,001 мм - 30 с. |
Каждую отобранную пробу суспензии переносят в предварительно высушенный до постоянной массы и взвешенный стаканчик.
Пипетку после отбора каждой пробы промывают водой над стаканчиком. Оставшиеся капли жидкости в пипетке переносят в стаканчик с помощью резиновой груши. Избыток воды из стаканчика выпаривают на песочной бане или на электрической плитке со слабым нагревом, затем стаканчик с осадком высушивают в сушильном электрошкафу до постоянной массы и взвешивают.
Массовую долю частиц размером более 0,06 мм X, %, вычисляют по формуле
, (2)
где m1 - масса фракций с размером частиц более 0,06 мм, г;
m - масса сухой навески, г.
Массовую долю отдельных фракций определяемой крупности с размером частиц менее 0,06 мм Xi, %, вычисляют по формуле
, (3)
где mi - масса высушенной пробы суспензии, г;
0,006 - масса диспергатора, г;
V - объем суспензии в цилиндре, см3;
Vi - объем суспензии в пипетке, см3;
m - масса сухой навески, г.
Формулы для определения массовой доли отдельных фракций в исследуемой суспензии приведены в таблице 2.
Таблица 2
|
Размер фракции, мм |
Формула для определения массовой доли |
|
Более 0,06 |
X по формуле (2) |
|
От 0,06 до 0,01 |
X2=100-(X+ X3) |
|
Менее 0,01 |
X3 по формуле (3) |
|
" 0,005 |
X4 " |
|
" 0,001 |
X5 " |
Формулы для определения массовой доли фракций с размером частиц менее 0,06 мм в зависимости от размера фракции приведены в таблице 3.
Таблица 3
|
Размер фракции, мм |
Формула для определения массовой доли |
|
От 0,06 до 0,01 |
X2=100-(X+A3+A4+X5) |
|
От 0,01 до 0,005 |
A3=X3+X4 |
|
От 0,005 до 0,001 |
A4=X4+X5 |
|
Менее 0,001 |
X5 по формуле (3) |
Расхождение результатов двух параллельных испытаний не должно превышать 3%.
Если расхождение результатов параллельных испытаний превышает указанное значение, испытание повторяют.
Метод основан на определении разности значений влажности (числа пластичности) глинистой массы, соответствующих нижней границе текучести и границе раскатывания.
Весы лабораторные по ГОСТ 24104.
Электрошкаф сушильный с терморегулятором, обеспечивающий температуру (105±5)°С.
Лампа инфракрасного излучения мощностью 500 Вт с внутренним зеркальным рефлектором.
Лампа настольная электрическая мощностью не менее 100 Вт.
Эксикатор по ГОСТ 23932.
Сито с сеткой N 05 по ГОСТ 6613.
Чашка выпарительная фарфоровая диаметром 97 мм по ГОСТ 9147 или латунная массой 58-60 г.
Ступка и пестик по ГОСТ 9147.
Тигли по ГОСТ 9147.
Стаканчики для взвешивания (бюксы) по ГОСТ 23932.
Шпатель с наконечником (форма шпателя любая). Наконечник представляет собой усеченный клин, вырезанный из никелированной или нержавеющей стали толщиной 1-1,5 мм, высотой 17-20 мм, шириной в вершине клина 1 мм, шириной 2,5-3,0 мм на расстоянии 10 мм от вершины клина.
Пластина стеклянная размерами 250x400 мм.
Прибор конструкции Васильева (см. рисунок 2) с опорной плитой 7 толщиной 8-10 мм, изготовленной из нержавеющей стали. На деревянный диск 2 прибора устанавливают выпарительную чашку 3. Дно чашки должно быть сферической формы. Сила тяжести падающей части прибора вместе с чашкой должна быть (4,00±0,05) Н.

1 - станина; 2 - деревянный диск; 3 - выпарительная фарфоровая или латунная чашка; 4 - цилиндрический стержень; 5 - винт; 6 - цилиндрический упор; 7 - опорная плита
Рисунок 2 - Прибор конструкции Васильева
Отбор и подготовку пробы глинистого сырья проводят в соответствии с разделом 4.
Пробу массой 100-150 г измельчают вручную или механическим способом до полного прохождения через сито с сеткой N 05 и отбирают навеску массой 50 г.
5.3.4.1 Определение нижней границы текучести
Навеску глинистого сырья массой 50 г помещают в выпарительную чашку. При непрерывном помешивании добавляют воду до образования густой однородной пластичной массы. Массу равномерно распределяют по дну чашки слоем толщиной 10 мм и разрезают наконечником шпателя на две равные части так, чтобы зазор между ними был шириной по дну чашки 1 мм, в верхней части 2,5-3 мм. Чашку устанавливают на деревянный диск 2 и закрепляют резиновым держателем. Цилиндрический стержень 4 с упором 6 закрепляют винтом так, чтобы упор был на расстоянии 75 мм от опорной плиты прибора. Крепление освобождают, стержень с чашкой свободно опускается и ударяется об опорную плиту. Массу в чашке встряхивают три раза, при этом зазор между двумя ее частями уменьшается. После каждого встряхивания визуально определяют наличие (или отсутствие) зазора, просвечивая настольной лампой. Если после третьего падения стержня с чашкой разрезанный слой массы не соединился, в глиняную массу приливают малыми порциями (не более 0,5-1,0 см3) дополнительное количество воды, перемешивают, разравнивают и испытание повторяют.
Если соединение частей глиняной массы при повторном испытании происходит после первого или второго падения стержня, в массу добавляют сухое глинистое сырье (1,0-1,5 г), перемешивают и испытание повторяют. Испытание считают законченным, если после третьего падения стержня с чашкой обе части массы в чашке сольются на расстоянии 10-15 мм по длине зазора. Продолжительность испытания не должна превышать 2 ч.
После окончания испытания отбирают навеску массой 25 г, помещают в предварительно высушенную до постоянной массы и взвешенную открытую (без крышки) бюксу и высушивают в сушильном шкафу при температуре (105±5)°С или лампой инфракрасного излучения мощностью 500 Вт с внутренним зеркальным рефлектором. Затем бюксу вынимают, закрывают крышкой, охлаждают в эксикаторе, взвешивают и определяют влажность по формуле (4). Полученное значение влажности в процентах является нижней границей текучести.
5.3.4.2 Определение границы раскатывания
Оставшуюся после определения нижней границы текучести глиняную массу раскатывают ладонью на стеклянной пластине до образования жгута диаметром ≈3 мм. Если при этом диаметре жгут сохраняет цельность и пластичность, его собирают в комок, добавляют небольшими порциями глину, тщательно перемешивают, проминают и вновь раскатывают до указанного диаметра. Высокопластичные глиняные массы предварительно раскатывают на гипсовой пластине до потери вязкопластичных свойств.
Раскатывание продолжают до тех пор, пока жгут не начнет делиться поперечными трещинами на кусочки длиной 3-10 мм. От кусочков отбирают навеску массой не менее 10 г, помещают в предварительно высушенную до постоянной массы и взвешенную бюксу и определяют влажность по формуле (4).
Полученная влажность определяет границу раскатывания.
Влажность W(1, 2), %, вычисляют по формуле
, (4)
где m1 - масса бюксы с навеской до высушивания, г;
m2- масса бюксы с навеской после высушивания, г;
mб - масса бюксы, г.
Число пластичности П, %, вычисляют по формуле
П=W1-W2, (5)
где W1 - влажность, соответствующая нижней границе текучести, %;
W2 - влажность, соответствующая границе раскатывания, %.
Расчет выполняют с точностью до 0,1%.
Расхождение результатов двух параллельных испытаний не должно превышать допускаемых значений, указанных в таблице 4.
Таблица 4
|
Число пластичности |
Допускаемое расхождение, % |
|
До 15 |
2 |
|
Св. 15 " 25 |
3 |
|
" 25 |
4 |
Если расхождение результатов параллельных испытаний превышает указанные значения, испытание повторяют.
За окончательный результат принимают среднеарифметическое значение результатов двух параллельных испытаний.
Метод основан на определении с помощью балансирного конуса разности значений влажности глиняной массы, соответствующих нижней границе текучести и границе раскатывания.
Электрошкаф сушильный с терморегулятором, обеспечивающий температуру (105±5)°С.
Весы лабораторные по ГОСТ 24104.
Форма металлическая цилиндрическая диаметром 4 см, высотой не менее 2 см.
Сито с сеткой N 05 по ГОСТ 6613.
Подставка для формы.
Шпатель.
Стакан (бюкса) для взвешивания по ГОСТ 25336.
Чашка выпарительная по ГОСТ 9147.
Цилиндр мерный вместимостью 100 см3 по ГОСТ 1770.
Эксикатор по ГОСТ 25336.
Конус балансирный (см. рисунок 3) с углом при вершине 30°, высотой 25 мм. Поверхность конуса должна быть отшлифована и зеркально отполирована на расстоянии 10 мм от вершины. На конус нанесена круговая метка на расстоянии 10 мм от вершины. Для погружения строго вертикально конус имеет коромысло с балансирными шариками. Общая масса конуса с балансирными шариками (76±0,2) г.

1 - балансирный конус; 2 - коромысло с балансирными шариками
Рисунок 3 - Балансирный конус
Отбор и подготовку пробы глинистого сырья проводят в соответствии с разделом 4.
Пробу массой 100-150 г измельчают вручную или механическим способом до полного прохождения через сито с сеткой N 05.
5.4.4.1 Определение верхнего предела пластичности (влажности на нижней границе текучести)
Верхний предел пластичности определяют с помощью балансирного конуса.
Из пробы, подготовленной по 5.4.3, готовят пластичную глиняную массу влажностью выше формовочной влажности.
Полученной глиняной массой заполняют цилиндрическую форму. Поверхность массы заглаживают шпателем вровень с краями. Форму с глиняной массой устанавливают на подставку. Балансирный конус, предварительно смазанный вазелином или машинным маслом, подносят к поверхности глиняной массы. Под действием собственного веса конус погружается в глиняную массу.
Консистенция глиняной массы должна быть такой, чтобы балансирный конус погрузился до нанесенной на нем круговой метки.
Если конус погрузился на глубину менее 10 мм, что видно по метке, к глиняной массе добавляют немного воды, тщательно перемешивают и испытание повторяют.
При достижении глиняной массой консистенции, соответствующей нижней границе текучести, определяют ее влажность W1 по формуле (4).
За верхний предел пластичности глиняной массы принимают влажность, при которой балансирный конус погружается в глиняную массу на глубину 10 мм.
5.4.4.2 Определение нижнего предела пластичности (влажности на границе раскатывания)
К глиняной массе, оставшейся после определения верхнего предела пластичности (влажности на границе раскатывания), постепенно добавляют сухой порошок глины до получения формовочной влажности, при которой глиняная масса не прилипает к рукам и металлу.
Глиняную массу переносят на плоское стекло или глянцевый лист бумаги и вручную раскатывают в жгут диаметром ≈3 мм.
Если при этом диаметре жгут сохраняет пластичность, его собирают в комок и вновь раскатывают. При раскатывании жгут должен растягиваться в длину, а давление руки должно равномерно распределяться на весь жгут.
Раскатывание проводят до тех пор, пока жгут не начнет делиться поперечными трещинами на отдельные части длиной 3-10 мм. Образовавшиеся части собирают в бюкс и определяют влажность глины W2 по формуле (4), соответствующую нижнему пределу пластичности.
Число пластичности П вычисляют по формуле (5).
Метод основан на определении температуры падения пироскопов, изготовленных из испытуемого глинистого сырья, при их нагревании.
Электропечь муфельная, обеспечивающая температуру нагрева до 1600°С.
Преобразователь термоэлектрический по ГОСТ 3044.
Электрошкаф сушильный с терморегулятором, обеспечивающий температуру (105±5)°С.
Подставка огнеупорная с гнездами для установки пироскопов глубиной 3 мм, изготовленная пластическим способом из шамотной массы, содержащей 50% огнеупорной глины и 50% шамота. Длина подставки 200 мм, ширина 140 мм (см. рисунок 4).
Форма металлическая или пластмассовая для формования пироскопов, представляющая собой треугольную усеченную пирамиду высотой 60 мм, со стороной нижнего основания 15 мм, верхнего - 5 мм.
Шаблон для проверки угла наклона ребра пироскопа к горизонтальной плоскости.
Ступка и пестик по ГОСТ 9147.
Пресс лабораторный для формования пироскопов.
Сито с сеткой N 02 по ГОСТ 6613.
Ткань хлопчатобумажная или пленка полиэтиленовая.
Плита металлическая размерами 300x250 мм.

Рисунок 4 - Огнеупорная подставка с пироскопами
Отбор и подготовку пробы глинистого сырья проводят в соответствии с разделом 4.
От подготовленной пробы отбирают навеску массой 0,3 кг, из которой по 5.23 готовят глиняную массу формовочной влажности.
Глиняную массу проминают до полной однородности для устранения пузырьков воздуха, закрывают влажной тканью или полиэтиленовой пленкой и оставляют вылеживаться в течение 24 ч.
Из приготовленной глиняной массы с помощью лабораторного пресса и формы формуют пироскопы, излишки массы удаляют. Подставку с пироскопами подсушивают на воздухе в течение 24 ч и досушивают в сушильном электрошкафу при температуре (105±5)°С до постоянной массы.
Десять пироскопов, изготовленных из пяти разных проб глинистого сырья, устанавливают в гнезда свежесформованной подставки (см. рисунок 4).
Пироскопы из каждой пробы устанавливают попарно в соответствии с рисунком 4 так, чтобы их короткие ребра отклонялись от вертикали не более чем на 8° - 10° в направлении края подставки. Наклон пироскопов проверяют шаблоном.
Подставку с пироскопами подсушивают до воздушно-сухого состояния и помещают в электропечь. Над центром подставки с пироскопами устанавливают термический преобразователь.
Скорость подъема температуры в печи до 900°С не регламентируется, скорость подъема температуры от 900°С должна быть 3°С - 5°С в минуту.
Определяют температуру, при которой вершина пироскопа коснется подставки. Наблюдение за падением пироскопа проводят визуально.
За огнеупорность принимают температуру, при которой пироскоп, размягчаясь при нагревании, вершиной коснется подставки, на которой он установлен.
Если падение одного из двух параллельных пироскопов происходит при более низкой температуре, огнеупорность определяют как среднеарифметическое значение двух температур.
Испытание повторяют, если разность температур падений двух параллельных пироскопов превышает 20°С или наблюдается вспучивание одного из пироскопов.
Метод основан на промывании глины через сито с сеткой N 0063 с последующим высушиванием полученного остатка до постоянной массы.
Весы лабораторные 2-го класса точности по ГОСТ 24104.
Электрошкаф сушильный с терморегулятором, обеспечивающий температуру (105±5)°С.
Стаканчики (бюксы) по ГОСТ 23932 или чашки выпарительные по ГОСТ 9147.
Сито с сеткой N 0063 по ГОСТ 6613.
Емкость для замачивания глинистого сырья.
Отбор и подготовку пробы глинистого сырья проводят в соответствии с разделом 4.
От высушенной пробы глинистого сырья отбирают навеску массой не менее 100 г, помещают в емкость для замачивания, заливают водой объемом, превышающим в 3-4 раза объем навески, и оставляют на 1 ч до полного распускания глинистого сырья.
Глинистую суспензию перемешивают лопаточкой, выливают на сито с сеткой N 0063 и промывают остаток на сите под сильной струей воды без разбрызгивания до тех пор, пока вода, прошедшая через сито, не станет прозрачной.
Остаток на сите смывают водой в чистый предварительно высушенный до постоянной массы и взвешенный стаканчик (бюксу) или выпарительную чашку и сушат при температуре (105±5)°С до постоянной массы в сушильном электрошкафу. Высушенный остаток охлаждают и взвешивают.
Остаток на сите с сеткой N 0063 X, %, вычисляют по формуле
, (6)
где m1 - масса бюксы с сухим остатком, г;
m2 - масса бюксы, г;
m - масса навески до высушивания, г.
Расхождение результатов двух параллельных испытаний не должно превышать 2%.
За окончательный результат принимают среднеарифметическое значение результатов двух параллельных испытаний.
Метод основан на комплексном определении качественного минерального состава глинистого сырья путем рентгеновского, термографического и микроскопического анализов.
Дериватограф системы Н. Паулик, Ф. Паулик, Л. Эрдеи.
Дифрактометр рентгеновский.
Весы лабораторные 2-го класса точности по ГОСТ 24104.
Электропечь муфельная, обеспечивающая температуру 600°С - 650°С.
Лупа бинокулярная МБС-1.
Микроскоп по ГОСТ 8074.
Ступка агатовая или яшмовая вместимостью 25-30 см3 с пестиком.
Сита с сетками N 008 и 025 по ГОСТ 6613.
Пипетка для отбора жидкостей по ГОСТ 29227.
Стекло предметное размерами 25x25 м.
Глицерин дистиллированный по ГОСТ 6824 или этиленгликоль по ГОСТ 19710.
Кислота соляная по ГОСТ 3118, разбавленная 1:20.
Отбор и подготовку пробы глинистого сырья проводят в соответствии с разделом 4.
Для рентгеновского анализа пробу массой 100 г измельчают до полного прохождения через сито с сеткой N 008.
Для термографического и микроскопического анализов пробу массой 100 г измельчают до полного прохождения через сито с сеткой N 025.
Для проведения рентгеновского анализа от измельченной пробы массой 100 г отбирают навеску массой 0,5 г и помещают в агатовую или яшмовую ступку. Пробу слегка растирают до исчезновения комков, приливают 5 см3 воды, перемешивают пестиком, приливают 15 см3 воды, перемешивают до получения суспензии и дают отстояться в течение 5-10 с. В суспензию на глубину 2-3 мм вводят пипетку, отбирают 1-2 см3, переносят на два предметных стекла и высушивают на воздухе.
Первый препарат укрепляют в держателе дифрактометра и проводят дифрактометрическую съемку в интервале углов 2° - 40° со скоростью 1°С/мин по инструкции к прибору. Затем тот же препарат насыщают глицерином или этиленгликолем и вновь проводят съемку в интервале углов 2° - 28°.
Второй препарат обжигают в электропечи при температуре 550°С - 600°С в течение 30 мин, охлаждают и проводят съемку в интервале углов 2° - 28°.
Кроме съемки ориентированных препаратов проводят съемку нефракционированной пробы глины в интервале углов 2° - 65°.
Рентгенографическую съемку глинистого сырья проводят на установке типа ДРОН-2, ДРОН-3 и др.
Термографический анализ глинистого сырья проводят на дериватографе системы Н. Паулик, Ф. Паулик, Л. Эрдеи. Скорость подъема температуры ≈10°С/мин.
Микроскопические исследования глинистого сырья проводят на микроскопе МИМ с увеличением в отраженном свете. Размер включений определяют с помощью окуляра микрометра.
Метод основан на выделении нерастворимого диоксида кремния с использованием горячей ортофосфорной кислоты и последующем прокаливании его до постоянной массы.
Весы лабораторные 2-го класса точности по ГОСТ 24104.
Электрошкаф сушильный с терморегулятором, обеспечивающий температуру (105±5)°С.
Электропечь муфельная, обеспечивающая температуру 900°С - 1000°С.
Тигель платиновый по ГОСТ 6563 или кварцевый по ГОСТ 19908.
Термостат с регулятором или сушильный электрошкаф с ртутно-контактным термометром, обеспечивающий температуру 250°С - 260°С.
Стакан вместимостью 800-1000 см3.
Баня водяная или песчаная.
Эксикатор по ГОСТ 23932.
Сито с сеткой N 0063 по ГОСТ 6613.
Фильтр "синяя лента".
Кислота ортофосфорная по ГОСТ 10678, обезвоженная до прекращения выделения пузырьков. Кислота серная по ГОСТ 4204.
Кислота фтористо-водородная по ГОСТ 10484.
Кислота соляная по ГОСТ 3118, разбавленная 1:9.
Отбор и подготовку пробы глинистого сырья проводят в соответствии с разделом 4.
Пробу, подготовленную по 5.8.3, высушивают до постоянной массы при температуре (105±5)°С и измельчают вручную в агатовой или яшмовой ступке или механическим способом до размера частиц, проходящих через сито с сеткой N 0063. От высушенной пробы отбирают навеску массой 0,1-0,2 г (масса m).
Навеску помещают в платиновый или кварцевый тигель, приливают при помешивании платиновым шпателем или кварцевой палочкой 15 см3 обезвоженной ортофосфорной кислоты.
Шпатель или палочку оставляют в тигле, пока навеску обрабатывают ортофосфорной кислотой.
Тигель с содержимым помещают в термостат или электропечь, быстро нагревают до 250°С и выдерживают в течение 15 мин при этой температуре, периодически помешивая.
После термического воздействия и охлаждения содержимое тигля переливают в стакан, в который предварительно наливают 450 см3 нагретой до кипения воды и фильтруют в горячем виде через фильтр "синяя лента". Осадок на фильтре промывают 100 см3 разбавленной соляной кислоты и 5-10 раз горячей водой до нейтральной реакции фильтрата по индикаторной бумаге.
Фильтр с осадком переносят в платиновый тигель, подсушивают и прокаливают в муфельной электропечи при температуре 950°С - 1000°С в течение 30 мин. Прокаливание повторяют по 10 мин до достижения постоянной массы (масса m1). Затем тигель с остатком охлаждают в эксикаторе над хлористым кальцием и взвешивают.
К остатку в тигле после прокаливания приливают несколько капель серной кислоты, 10 см3 фтористо-водородной кислоты и выпаривают на песчаной бане до полного удаления паров серной кислоты.
Тигель с остатком вновь помещают в электропечь, прокаливают при температуре 950°С - 1000°С в течение 15 мин, охлаждают в эксикаторе и взвешивают. Прокаливание повторяют по 10 мин до достижения постоянной массы (m2).
Массовую долю кварца (свободного диоксида кремния SiO2 св.) X, %, вычисляют по формуле
, (7)
где m1 - масса тигля с остатком после прокаливания до обработки фтористо-водородной кислотой, г;
m2 - масса тигля с остатком после обработки фтористо-водородной кислотой и прокаливания, г;
m - масса навески, г.
Расхождение результатов двух параллельных испытаний не должно превышать 0,3% при массовой доле свободного диоксида кремния до 20% и 0,5% - при массовой доле свободного диоксида кремния свыше 20%.
Если расхождение результатов двух параллельных испытаний превышает указанное значение, испытание повторяют.
Метод основан на диспергировании глинистого сырья в присутствии пептизаторов и отделении неглинистых частиц путем отмывки глины водой.
Установка смесительная "Воронеж СжН-2".
Весы лабораторные 2-го класса точности по ГОСТ 24104.
Электрошкаф сушильный с терморегулятором, обеспечивающий температуру (105±5)°С.
Лампа инфракрасного излучения мощностью 500 Вт с внутренним зеркальным рефлектором.
Эксикатор по ГОСТ 25336.
Электроплитка бытовая по ГОСТ 14919.
Чашка выпарительная по ГОСТ 9147.
Цилиндр мерный вместимостью 500 см3 по ГОСТ 1770.
Сита с сетками N 025 и 0071 по ГОСТ 6613.
Пробка резиновая.
Кальций хлористый технический по ГОСТ 450, прокаленный при температуре 700°С.
Натрий пирофосфорнокислый (натрий дифосфат) по ГОСТ 342, 5%-ный раствор. Допускается использовать 5%-ный раствор триполифосфата натрия.
Отбор и подготовку пробы глинистого сырья проводят в соответствии с разделом 4.
В стакан смесительной установки наливают 400 см3 воды, нагретой до кипения, добавляют 10 мл 5%-ного раствора пирофосфорнокислого натрия, добавляют при помешивании стеклянной палочкой 10 г глинистого сырья, измельченной до размера частиц не более 0,25 мм.
Стакан закрепляют в смесительной установке и перемешивают в течение 20-30 мин (при скорости 800, 1000 или 1200 об./мин в зависимости от вида и пластичности глинистого сырья: умеренно пластичного, среднепластичного, высокопластичного). По окончании перемешивания суспензию выливают на сито с сеткой N 0071 и промывают струей воды в течение 3-5 мин.
Остаток с сита переносят в предварительно высушенную до постоянной массы и взвешенную выпарительную чашку. В чашке остаток растирают резиновой пробкой и, декантируя воду, промывают до исчезновения мути. Остаток высушивают в сушильном эпектрошкафу или под инфракрасной лампой при температуре (105±5)°С до постоянной массы, охлаждают и взвешивают.
Массовую долю песчаной фракции Пфр, %, вычисляют по формуле
, (8)
где m1 - масса выпарительной чашки с сухим остатком, г;
m2 - масса выпарительной чашки, г;
m - масса навески глины до высушивания, г
Расхождение результатов двух параллельных испытаний не должно превышать 0,5%.
Если расхождение результатов двух параллельных испытаний превышает указанное значение, испытание повторяют на одной навеске глины.
За окончательный результат принимают среднеарифметическое значение двух наиболее близких результатов в пределах допускаемого расхождения.
Метод основан на ускоренном разложении пробы глинистого сырья смесью фтористо-водородной и серной кислот при нагревании без доступа воздуха и последующем титровании закисного железа марганцовокислым калием.
Весы лабораторные по ГОСТ 24104.
Колба стеклянная вместимостью 250 см3.
Сита с сетками N 015 и 025 по ГОСТ 6613.
Кислота серная по ГОСТ 4204, разбавленная 1:1.
Кислота фтористо-водородная по ГОСТ 10484, 40%-ный раствор.
Кислота борная по ГОСТ 9656, насыщенный раствор.
Калий марганцовокислый по ГОСТ 5777, 0,1 Н раствор.
Тигель платиновый по ГОСТ 6563 N 100-10 с эбонитовой крышкой.
Электроплитка бытовая по ГОСТ 14919.
Отбор и подготовку пробы глинистого сырья проводят в соответствии с разделом 4.
Из пробы, подготовленной по 5.10.3, отбирают навеску массой 25 г, измельчают в фарфоровой ступке до полного прохождения через сито с сеткой N 025. Для предотвращения окисления двухвалентного железа в трехвалентное пробу для испытания не следует измельчать до размера менее 0,15 мм и длительно хранить в измельченном состоянии. Нагревание следует вести не более 7 мин.
От измельченной навески глинистого сырья отбирают 0,2 г, помещают в тигель, заливают 3 см3 серной и 2 см3 фтористо-водородной кислоты, закрывают эбонитовой крышкой и осторожно круговым движением перемешивают содержимое тигля. Тигель ставят на средний огонь электроплитки и кипятят в течение 5 мин. Содержимое тигля переносят в колбу, в которую предварительно было налито 30 см3 насыщенного раствора борной кислоты. Тигель и крышку тщательно обмывают водой, добавляя промывочную воду к раствору в колбе, который титруют 0,1 Н раствором марганцовокислого калия до появления слабо-розовой окраски.
Одновременно с испытанием глинистого сырья проводят "холостой опыт" как описано выше с использованием химических реактивов без добавления глинистого сырья. Количество марганцовокислого калия, израсходованное на титрование при "холостом опыте", вычитают от количества марганцовокислого калия, израсходованного на титрование испытуемой навески.
Содержание закиси железа X, %, вычисляют по формуле
, (9)
где V - количество 0,1 Н раствора марганцовокислого калия, израсходованного на титрование раствора с навеской, см3;
V0 - количество 0,1 Н раствора марганцовокислого калия, израсходованного на титрование при проведении "холостого опыта", см3;
T - титр раствора марганцовокислого калия, выраженный в граммах закиси железа (для 0,1 Н раствора равен 0,007186);
m - масса навески, г.
Для определения содержания оксида железа по разности между общим количеством железа и закисью железа последнее необходимо пересчитать на Fe2O3 с учетом коэффициента перевода FeO в Fe2O3, численно равного 1,1114 и представляющего собой отношение
.
Оксид железа (III) Fe2O3 определяют по ГОСТ 2642.5.
Оксид алюминия Al2O3 определяют по ГОСТ 2642.4.
Оксиды натрия Na2O и калия K2O определяют по ГОСТ 2642.11.
Оксид титана (IV) TiO2 определяют по ГОСТ 2642.6.
Метод основан на химическом взаимодействии смеси азотной и соляной кислот (царская водка) с глинистым сырьем с последующим осаждением серы в виде сульфата бария и определении массовой доли сульфата бария после прокаливания при температуре 850°С - 900°С в пересчете на трехокись серы.
Весы лабораторные по ГОСТ 24104.
Электропечь муфельная с терморегулятором, обеспечивающая температуру 1000°С - 1100°С.
Тигель по ГОСТ 9147.
Эксикатор по ГОСТ 25336.
Кальций хлористый плавленый, прокаленный при 700°С - 800°С.
Баня водяная.
Чашка выпарительная по ГОСТ 9147.
Стекло часовое.
Колба Эрленмейера.
Фильтр обеззоленный "синяя лента".
Фильтр обеззоленный "белая лента".
Кислота соляная по ГОСТ 3118.
Кислота азотная по ГОСТ 4461.
Аммиак водный по ГОСТ 3760, разбавленный 1:1.
Барий хлористый по ГОСТ 4108, 10%-ный раствор.
Метиловый оранжевый (индикатор).
Серебро азотнокислое по ГОСТ 1277, 1%-ный раствор.
Отбор и подготовку пробы глинистого сырья проводят в соответствии с разделом 4.
Навеску глинистого сырья массой 1 г помещают в выпарительную чашку, приливают 10 см3 азотной и 30 см3 соляной кислоты и выпаривают на водяной бане до полного удаления воды.
Остаток в чашке смачивают соляной кислотой и выпаривают до полного удаления запаха соляной кислоты и окислов азота. Затем приливают 10 см3 соляной кислоты и нагревают на водяной бане в течение 10 мин. Приливают 70-80 см3 горячей воды и фильтруют через фильтр "белая лента". Фильтр с осадком промывают 7-8 раз горячей водой.
К фильтрату добавляют 2-3 капли метилового оранжевого и нейтрализуют раствором аммиака, затем приливают соляную кислоту из расчета 0,5 см3 на каждые 100 см3 фильтрата, нагревают до кипения, прибавляют 10 см3 кипящего 10%-ного раствора хлористого бария, кипятят в течение 5 мин и оставляют на 10-12 ч.
Осадок сернокислого бария отфильтровывают через фильтр "синяя лента" и промывают горячей водой до удаления ионов хлора (реакция с азотнокислым серебром).
Фильтр с осадком переносят во взвешенный тигель, озоляют и прокаливают при температуре 850°С - 900°С в течение 40 мин, охлаждают в эксикаторе и взвешивают. Прокаливание повторяют по 10 мин до постоянной массы.
Одновременно с испытанием глинистого сырья проводят "холостой опыт" как описано выше с использованием химических реактивов без добавления глинистого сырья и определяют массу осадка сульфата бария.
Массовую долю общей серы X, %, в пересчете на трехокись серы вычисляют по формуле
, (10)
где m1 - масса осадка сульфата бария, г;
m2 - масса осадка сульфата бария в "холостом опыте", г;
0,343 - коэффициент пересчета сульфата бария на трехокись серы;
m - масса навески глины, г.
Допускаемое расхождение результатов двух параллельных испытаний не должно превышать 0,15%. Если расхождение результатов двух параллельных испытаний превышает приведенное значение, испытание повторяют на новых навесках.
За окончательный результат принимают среднеарифметическое значение результатов двух последних испытаний.
Метод основан на воздействии разбавленной соляной кислотой на глинистое сырье с последующим осаждением серы в виде сульфата бария и определении массовой доли сульфата бария после прокаливания при температуре 850°С-900°С в пересчете на трехокись серы.
Весы лабораторные по ГОСТ 24104.
Электропечь муфельная с терморегулятором, обеспечивающая температуру нагрева 1000°С - 1100°С.
Тигель по ГОСТ 9147.
Эксикатор по ГОСТ 25336.
Баня водяная.
Стекло часовое.
Колба Эрленмейера.
Фильтр обеззоленный "синяя лента".
Фильтр обеззоленный "белая лента".
Кальций хлористый плавленый, прокаленный при температуре 700°С - 800°С.
Кислота соляная по ГОСТ 3118.
Кислота азотная по ГОСТ 4461.
Аммиак водный по ГОСТ 3760, разбавленный 1:1.
Барий хлорид по ГОСТ 4108, 10%-ный раствор.
Метиловый оранжевый (индикатор).
Серебро азотнокислое по ГОСТ 1277, 1%-ный раствор.
Водорода пероксид (пергидроль) по ГОСТ 10929, разбавленный 1:1.
Отбор и подготовку пробы глинистого сырья проводят в соответствии с разделом 4.
Навеску глины массой 1-2 г помещают в колбу Эрленмейера, приливают 50-75 см3 10%-ного раствора соляной кислоты, закрывают колбу часовым стеклом и кипятят 30-40 мин. Кипение должно быть слабым для исключения изменения концентрации кислоты.
Прибавляют 1-2 капли пергидроля для окисления оксида железа, нагревают раствор до кипения и приливают раствор аммиака (до появления слабого запаха) для осаждения гидроксидов железа. После осаждения гидроксидов железа приливают 3-4 см3 аммиака в избытке, оставляют на 15-20 мин и фильтруют через плотный фильтр "синяя лента". Осадок на фильтре промывают 4-5 раз горячей водой, к которой добавляют 3-4 см3 раствора аммиака.
Фильтрат нейтрализуют разбавленной соляной кислотой в присутствии метилового оранжевого до изменения окраски раствора из желтой в красную.
К фильтрату добавляют 2-3 капли метилового оранжевого и нейтрализуют раствором аммиака, затем приливают соляную кислоту из расчета 0,5 см3 на каждые 100 см3 раствора, нагревают раствор до кипения, прибавляют 10 см3 кипящего 10%-ного раствора хлористого бария, кипятят в течение 5 мин и оставляют на 10-12 ч.
Осадок сернокислого бария фильтруют через плотный фильтр "синяя лента" и промывают 13 раз горячей водой до удаления ионов хлора (реакция с азотнокислым серебром).
Фильтр с осадком переносят во взвешенный тигель, озоляют и прокаливают при температуре 850°С - 900°С в течение 40 мин, охлаждают в эксикаторе и взвешивают. Прокаливание повторяют по 10 мин до постоянной массы.
Одновременно с испытанием глины проводят "холостой опыт" как описано выше с использованием химических реактивов без добавления глинистого сырья и определяют массу осадка сульфата бария.
Массовую долю сульфатной серы X1, %, в пересчете на трехокись серы вычисляют по формуле
, (11)
где m1 - масса осадка сульфата бария, г;
m2 - масса осадка сульфата бария в "холостом опыте", г;
0,343 - коэффициент пересчета сульфата бария на трехокись серы;
m - масса навески глины, г.
Расхождение результатов двух параллельных испытаний не должно превышать 0,15%.
Если расхождение результатов двух параллельных испытаний превышает приведенное значение, испытание повторяют.
За окончательный результат принимают среднеарифметическое значение результатов двух последних испытаний.
Метод основан на осаждении в водной вытяжке сульфат-ионов в виде сульфата бария и определении массовой доли сульфата бария после прокаливания при температуре 850°С - 900°С в пересчете на сульфат-ионы.
Весы лабораторные 2-го класса точности по ГОСТ 24104.
Электропечь муфельная с терморегулятором, обеспечивающая температуру до 1000°С.
Стаканы вместимостью 300 см3.
Стеклянная палочка.
Тигель по ГОСТ 9147.
Фильтр "синяя лента".
Кислота соляная по ГОСТ 3118, разбавленная 1:1.
Барий хлорид по ГОСТ 4108, раствор концентрации 50 г/дм3.
Серебро азотнокислое по ГОСТ 1277, раствор концентрации 10 г/дм3.
Метиловый оранжевый (индикатор).
Отбор и подготовку пробы глинистого сырья проводят в соответствии с разделом 4.
От основного раствора, полученного при определении кальция и магния в водной вытяжке по 5.18, отбирают аликвотную часть объемом 100 см3 в стакан вместимостью 300 см3, добавляют 1-2 капли метилового оранжевого и приливают 2 см3 соляной кислоты. Нагревают до кипения и при постоянном помешивании стеклянной палочкой приливают 10-15 см3 раствора хлористого бария, нагретого до кипения. Оставляют для отстаивания на 10-12 ч.
Осадок сульфата бария отфильтровывают на фильтре "синяя лента" и промывают водой до удаления хлор-ионов (отсутствие реакции с азотнокислым серебром).
Фильтр с осадком помещают во взвешенный тигель и прокаливают при температуре 850°С - 900°С до постоянной массы.
Примечание - Для получения прозрачного фильтрата при испытании высокодисперсного глинистого сырья отбирают аликвотную часть основного раствора для определения сульфат-ионов, помещают в стакан вместимостью 300 см3, добавляют 1 см3 концентрированной соляной кислоты и оставляют на 12 ч. Образовавшиеся хлопья отфильтровывают через фильтр "белая лента". Фильтр промывают два-три раза водой.
Массовую долю сульфат-ионов X, %, вычисляют по формуле
, (12)
где m1 - масса осадка сульфата бария, г;
0,4116 - коэффициент пересчета сульфата бария на сульфат-ион;
V - объем исходного раствора, см3
V1 - объем аликвотной части раствора, см3;
m - масса навески глинистого сырья, г.
Расхождение результатов двух параллельных испытаний не должно превышать допускаемых значений, указанных в таблице 5.
Таблица 5
|
Массовая доля сульфат-ионов, % |
Допускаемое расхождение, % |
|
До 0,2 |
0,03 |
|
Св. 0,2 " 1,0 |
0,06 |
|
" 1,0 |
0,1 |
Если расхождение результатов параллельных испытаний превышает указанные значения, испытание повторяют.
За окончательный результат принимают среднеарифметическое значение результатов двух параллельных испытаний.
Метод основан на титровании кальция раствором трилона Б в присутствии индикатора флуорексона в щелочной среде при рН 12-13 и магния в сумме с кальцием в присутствии индикатора хрома темно-синего или эрнохрома черного Т в щелочной среде при рН 10.
Мешалка магнитная ММ-3 или любой другой конструкции.
Весы лабораторные по ГОСТ 24104.
Колбы конические вместимостью 250, 300, 1000 см3.
Колба Бунзена.
Воронка Бюхнера.
Шпатель.
Фильтр двойной "синяя лента".
Кислота соляная по ГОСТ 3118.
Калия гидроокись по ГОСТ 24363, раствор концентрации 200 г/дм3. После отстаивания раствор фильтруют в темную стеклянную емкость.
Флуорексон, сухая смесь с хлористым калием в соотношении 1:50.
Кальций углекислый по ГОСТ 4530.
Раствор кальция стандартный, приготовленный следующим образом: 2,5023 г углекислого кальция растворяют в 20 см3 разбавленной соляной кислоты. Раствор переливают в мерную колбу вместимостью 1000 см3, доливают водой до метки и перемешивают. 1 см3 стандартного раствора содержит 1,0 мг кальция.
Аммиак водный по ГОСТ 3760.
Аммоний хлористый по ГОСТ 3773.
Спирт этиловый ректификованный технический по ГОСТ 18300;
Индикатор кислотный хром темно-синий.
Раствор буферный аммиачный с рН 10, приготовленный следующим образом: 67,5 г хлористого аммония растворяют в 570 см3 аммиака в мерной колбе вместимостью 1000 см3, доливают до метки и перемешивают.
Смесь индикаторная, приготовленная следующим образом: 0,2 г индикатора кислотного хром темно-синего растворяют в 10 см3 буферного раствора, приливают 90 см3 этилового спирта и перемешивают.
Раствор магния стандартный, приготовленный следующим образом: 0,608 г металлического магния помещают в мерную колбу вместимостью 1000 см3, добавляют по каплям соляную кислоту до полного растворения металла, доливают водой до метки и перемешивают. 1 см3 стандартного раствора содержит 0,6 мг магния.
Соль динатриевая этилендиамин-N,N,N',N'-тетрауксусной кислоты, 2-водная (трилон Б) по ГОСТ 10652-73, 0,25 М, раствор, приготовленный следующим образом: 9,13 г трилона Б помещают в стакан вместимостью 300 см3 и растворяют при нагревании в 100 см3 воды. Раствор фильтруют через фильтр средней плотности в мерную колбу вместимостью 1000 см3, доливают водой до метки и перемешивают.
Допускается применение фиксанала трилона Б. Титр раствора трилона Б по кальцию устанавливают следующим образом: отбирают пипеткой 10 см3 стандартного раствора кальция в коническую колбу вместимостью 300 см3, приливают 100 см3 воды, 10 см3 раствора гидрата окиси калия, на кончике шпателя индикатор флуорексон и титруют раствором трилона Б до изменения окраски раствора из зеленой флуоресцирующей до розовой.
Титр раствора трилона Б в граммах кальция на см3 раствора вычисляют по формуле
, (13)
где V - объем стандартного раствора кальция, взятый для титрования, см3;
0,00100 - количество кальция, соответствующее 1 см3 стандартного раствора углекислого кальция, г;
V1 - объем раствора трилона Б по магнию; устанавливают следующим образом: пипеткой отбирают 10 см3 стандартного раствора магния в коническую колбу вместимостью 300 см3, приливают 100 см3 воды, 25 см3 аммиачного буферного раствора, 10 капель индикаторной смеси и титруют раствором трилона Б до изменения малиновой окраски раствора в голубую.
Титр раствора трилона Б (T1) в граммах магния на см3 раствора вычисляют по формуле
, (14)
где V - объем стандартного раствора магния, взятый для титрования, см3;
0,00060 - количество магния, соответствующее 1 см3 стандартного раствора, г;
V1 - объем раствора трилона Б, израсходованный на титрование, см3.
Отбор и подготовку пробы глинистого сырья проводят в соответствии с разделом 4.
5.18.4.1 От пробы, подготовленной по 5.18.3, отбирают навеску глинистого сырья массой 100 г на 1 дм3 воды.
Масса навески может быть уменьшена при условии выполнения соотношения навески и воды 1:10.
5.18.4.2 Навеску глинистого сырья помещают в коническую колбу вместимостью 1000 см3, приливают свежекипяченую воду, закрывают пробкой и взбалтывают на магнитной мешалке или вручную в течение 15 мин.
Раствор оставляют для отстаивания на 24 ч, затем фильтруют под вакуумом через воронку Бюхнера с двойным фильтром "синяя лента" в колбу Бунзена. Осадок промывают 5-6 раз горячей водой и отбрасывают. Раствор переливают в мерную колбу вместимостью 1000 см3, доливают водой до метки и перемешивают. Раствор (основной раствор) используют для определения кальция, магния, сульфат-ионов и хлор-ионов.
5.18.4.3 Для определения кальция отбирают аликвотную часть основного раствора в коническую колбу вместимостью 250 см3, прибавляют 50 см3 воды, 10 см3 раствора гидроксида калия, индикатора флуорексона на кончике шпателя и титруют раствором трилона Б до изменения окраски раствора от зеленой флуоресцирующей до розовой. Объем аликвотной части зависит от концентрации кальция в растворе.
5.18.4.4 Для определения суммы кальция и магния от основного раствора отбирают аликвотную часть в коническую колбу вместимостью 300 см3, прибавляют 50 см3 воды, 5 см3 аммиачного буферного раствора, индикатора кислотного хрома темно-синего или эрнохрома черного Т на кончике шпателя и титруют раствором трилона Б до изменения окраски от винно-красной до синей.
5.18.5.1 Массовую долю кальция X, %, вычисляют по формуле
, (15)
где V - объем раствора трилона Б, израсходованный на титрование, см3;
T - титр раствора трилона Б, вычисленный по кальцию, г/см3;
V1 - объем исходного раствора, см3;
V2 - объем аликвотной части раствора, см3;
m - масса навески, г.
5.18.5.3 Массовую долю магния X, %, вычисляют по формуле
, (16)
где V3 - объем раствора трилона Б, израсходованный на титрование суммы кальция и магния, см3;
V - объем раствора трилона Б, израсходованный на титрование кальция, см3 (см. 5.18.5.1);
T1 - титр раствора трилона Б, вычисленный по магнию, г/см3;
V1 - объем исходного раствора, см3;
V4 - объем аликвотной части раствора, см3;
m - масса навески, г.
Расхождение результатов параллельных испытаний не должно превышать значений, указанных в таблицах 6 и 7.
Таблица 6
|
Массовая доля кальция, % |
Допускаемое расхождение, % | |||
|
До 0,2 |
0,02 | |||
|
Св. |
0,2 |
" |
1,0 |
0,05 |
|
" |
1,0 |
0,1 | ||
Таблица 7
|
Массовая доля магния, % |
Допускаемое расхождение, % | |||
|
До 0,1 |
0,01 | |||
|
Св. |
0,1 |
" |
1,0 |
0,03 |
|
" |
1,0 |
0,06 | ||
Если расхождение результатов параллельных испытаний превышает приведенные значения, испытание повторяют.
За окончательный результат принимают среднеарифметическое значение результатов двух параллельных испытаний.
Метод основан на титровании хлор-ионов в водной вытяжке глинистого сырья азотнокислым серебром в присутствии хромовокислого калия.
Весы лабораторные 2-го класса точности по ГОСТ 24104.
Колбы вместимостью 250 и 1000 см3.
Бумага индикаторная.
Калий хромовокислый по ГОСТ 4459, раствор концентрации 50 г/дм3.
Натрий хлористый по ГОСТ 4233.
Кислота азотная по ГОСТ 4461, разбавленная 1:3.
Стандартный раствор хлор-иона, приготовленный следующим образом: 0,5845 г хлористого натрия, высушенного при (105±5)°С до постоянной массы, растворяют в воде в мерной колбе вместимостью 1000 см3, доливают до метки водой и перемешивают. 1 см3 раствора содержит 0,3545 мг хлор-иона.
Серебро азотнокислое по ГОСТ 1277, 0,01 М раствор, приготовленный следующим образом: 1,6987 г азотнокислого серебра растворяют в воде в мерной колбе вместимостью 1000 см3, доливают воду до метки и перемешивают. Хранят в темной стеклянной емкости. Титр раствора азотнокислого серебра устанавливают по хлору. Отбирают 10 см3 стандартного раствора хлор-иона в коническую колбу вместимостью 250-300 см3, приливают 100 см3 воды, 1 см3 раствора хромовокислого калия и титруют 0,01 М раствором азотнокислого серебра до появления красновато-бурой окраски.
Титр 0,01 М раствора азотнокислого серебра Т в граммах по хлор-иону на 1 см3 раствора вычисляют по формуле
, (17)
где V - объем стандартного раствора хлор-иона, взятый для титрования, см3;
0,0003545 - количество хлор-иона, соответствующее 1 см3 стандартного раствора хлор-иона, г;
Vi - объем 0,01 М раствора азотнокислого серебра, израсходованный на титрование, см3.
Отбор и подготовку пробы глинистого сырья проводят в соответствии с разделом 4.
От основного раствора, полученного при определении кальция и магния в водной вытяжке по 5.18, отбирают аликвотную часть 100 см3 в коническую колбу вместимостью 250 см3. Если раствор имеет щелочную среду, его нейтрализуют разбавленной азотной кислотой до нейтральной реакции по индикаторной бумаге. К раствору приливают 0,5 см3 раствора хромовокислого калия и титруют раствором азотнокислого серебра до появления неисчезающей красновато-бурой окраски.
Содержание хлор-ионов X, %, вычисляют по формуле
, (18)
где V - объем 0,01 Н раствора азотнокислого серебра, израсходованный на титрование, см3;
Т - титр 0,01 Н раствора азотнокислого серебра, вычисленный по хлор-иону, г/дм3;
V1 - объем исходного раствора, см3;
V2 - объем аликвотной части раствора, см3;
m - масса навески глинистого сырья, г.
Расхождение результатов двух параллельных испытаний не должно превышать значений, указанных в таблице 8.
Таблица 8
|
Содержание хлор-ионов, % |
Допускаемое расхождение, % |
|
До 0,3 |
0,04 |
|
Св. 0,3 " 1,0 |
0,06 |
|
" 1,0 |
0,1 |
Если расхождение результатов двух параллельных испытаний превышает указанные значения, испытание повторяют.
За окончательный результат принимают среднеарифметическое значение результатов двух параллельных испытаний.
Метод основан на окислении органического вещества до образования углерода.
Электропечь муфельная, обеспечивающая температуру нагрева до 1100°С.
Бюкса стеклянная по ГОСТ 23932.
Электрошкаф сушильный с терморегулятором, обеспечивающий температуру (105±5)°С.
Весы лабораторные по ГОСТ 24104.
Стаканы вместимостью 1000 и 3000 см3.
Колбы конические вместимостью 100 и 1000 см3.
Бюретка.
Палочка стеклянная.
Воронка стеклянная диаметром 35 мм.
Часы песочные.
Электроплитка бытовая по ГОСТ 14919.
Сито с сеткой N 014 мм по ГОСТ 6613.
Ступка и пестик по ГОСТ 9147.
Чашка выпарительная вместимостью 150 мл по ГОСТ 9147.
Ареометр общего назначения типа А2-1-1840/1920 по ГОСТ 18481.
Фильтры "белая лента" диаметром 9 см.
Калий двухромовокислый по ГОСТ 4220, 0,4 Н раствор.
Кислота серная по ГОСТ 4204 плотностью 1,84 г/см3.
Соль закиси железа и аммония двойная сернокислая (соль Мора) по ГОСТ 4208, 0,2 Н раствор.
Калий марганцовокислый, 0,1 Н раствор, фиксанал.
Кислота фенилантраниловая, индикатор.
Натрий углекислый безводный по ГОСТ 83.
Вода дистиллированная по ГОСТ 6709.
5.20.3.1 Приготовление 0,4 Н раствора двухромовокислого калия в разбавленной серной кислоте 1:1.
Навеску тонко измельченного в фарфоровой ступке кристаллического двухромовокислого калия массой 40 г растворяют в 500-600 см3 дистиллированной воды в стакане вместимостью 1000 см3 и фильтруют через фильтр "белая лента" в мерную колбу вместимостью 1000 см3. Раствор доводят до метки дистиллированной водой, перемешивают и переливают в стакан вместимостью 3000 см3. К раствору приливают небольшими порциями 1000 см3 серной кислоты плотностью 1,84 г/см3 при осторожном помешивании. Раствор хранят в бутыли с притертой пробкой в темном месте.
5.20.3.2 Приготовление 0,2 Н раствора соли Мора
Навеску соли Мора массой 80 г помещают в стакан вместимостью 1000 см3, приливают 500-600 см3 дистиллированной воды и 20 см3 серной кислоты плотностью 1,84 г/см3. Раствор перемешивают до полного растворения соли Мора, фильтруют через фильтр "белая лента" в мерную колбу вместимостью 1000 см3, добавляют дистиллированную воду до метки и вновь хорошо перемешивают. Раствор хранят в бутыли с притертой пробкой в темном месте.
Перед каждым испытанием проверяют нормальность соли Мора по 0,1 Н раствору марганцовокислого калия. В коническую колбу вместимостью 100 см3 с помощью бюретки отмеряют 20 см3 0,1 Н раствора марганцовокислого калия и титруют раствором соли Мора до перехода его окраски в яркий соломенно-желтый цвет.
Устанавливают объем раствора соли Мора, израсходованный на титрование.
5.20.3.3 Приготовление 0,1 Н раствора марганцовокислого калия
Стандартный 0,1 Н раствор марганцовокислого калия готовят из фиксанала.
5.20.3.4 Приготовление раствора фенилантраниловой кислоты
Навеску фенилантраниловой кислоты массой 0,2 г растворяют в 100 см3 0,2%-ного раствора углекислого натрия. Для лучшего смачивания порошка навеску предварительно перемешивают стеклянной палочкой в выпарительной чашке с небольшим количеством 0,2%-ного раствора углекислого натрия до пастообразного состояния, а затем добавляют остальное количество раствора углекислого натрия и также тщательно перемешивают.
Раствор хранят в стеклянной колбе вместимостью 100 см3 с притертой пробкой.
Отбор и подготовку пробы глинистого сырья проводят в соответствии с разделом 4.
От пробы отбирают навеску массой 100 г, тщательно перемешивают и сокращают квартованием до 40-50 г, растирают пестиком в ступке до полного прохождения через сито с сеткой N 014, высушивают в сушильном электрошкафу при температуре (105±5)°С в течение 4-5 ч и охлаждают в эксикаторе до температуры (22±5)°С.
Из навески, подготовленной по 5.20.4, отбирают 0,2 г, помещают в коническую колбу вместимостью 1000 см3, добавляют из бюретки 10 см3 приготовленного 0,4 Н раствора двухромовокислого калия и тщательно перемешивают круговыми движениями. Колбу закрывают стеклянной воронкой и ставят на покрытую асбестом горячую электроплитку. Содержимое колбы нагревают до кипения и кипятят в течение 5 мин. Отсчет времени ведут с момента появления первого крупного пузырька газа. Кипение раствора должно быть еле заметным, без выделения пара из воронки. По окончании кипения колбу снимают с электроплитки, охлаждают до комнатной температуры и обмывают воронку и горло колбы дистиллированной водой. К раствору прибавляют 8-10 капель 0,2%-ного раствора фенилантраниловой кислоты и избыток двухромовокислого калия оттитровывают приготовленным 0,2 Н раствором соли Мора (V1) до перехода вишнево-фиолетовой окраски в зеленую.
Из пробы глинистого сырья, прокаленной при температуре 1000°С - 1100°С в течение 2 ч и растертой в порошок, отвешивают навеску массой 0,2 г и помещают в коническую колбу вместимостью 100 см3. Испытания проводят в соответствии с 5.20.5. Проводят три параллельных испытания и определяют объем раствора соли Мора V0, израсходованного на титрование.
Содержание органических веществ О.В., %, вычисляют по формуле
, (19)
где V0 - объем раствора соли Мора, израсходованный на титрование 10 см3 двухромовокислого калия в "контрольном опыте", см3;
V1 - объем раствора соли Мора, израсходованный на титрование избытка двухромовокислого калия после окисления пробы, см3;
Н - нормальность соли Мора;
0,005181 - титр 1 Н раствора соли Мора в граммах органического вещества;
m - масса навески, г.
Расхождение результатов двух параллельных испытаний не должно превышать 0,1% среднеарифметического.
Если расхождение результатов параллельных испытаний превышает указанное значение, испытание повторяют.
За окончательный результат принимают среднеарифметическое значение результатов двух параллельных испытаний.
Метод основан на прокаливании глинистого сырья при температуре (1000±50)°С до постоянной массы и определении потери массы глинистого сырья гравиметрическим способом.
Весы лабораторные по ГОСТ 24104.
Электропечь муфельная с терморегулятором, обеспечивающая температуру нагрева 1000°С - 1100°С.
Тигли низкие N 2, 3 или 4 по ГОСТ 9147.
Электрошкаф сушильный с терморегулятором, обеспечивающий температуру (105±5)°С.
Эксикатор по ГОСТ 25336.
Отбор и подготовку пробы глинистого сырья проводят в соответствии с разделом 4.
От пробы, подготовленной по 5.21.3, отбирают навеску массой 1 г, взвешивают в тигле, прокаленном при температуре (1000±50)°C. Тигель с навеской помещают в электропечь, нагретую до температуры не выше 400°С, постепенно нагревают до температуры (1000±50)°С и выдерживают при этой температуре в течение 1 ч. После прокаливания тигель с навеской охлаждают в эксикаторе и взвешивают. Прокаливания повторяют по 10 мин до достижения постоянной массы. Испытание проводят на двух навесках.
Потерю массы при прокаливании X, %, вычисляют по формуле
, (20)
где m1 - масса тигля с навеской до прокаливания, г;
m2 - масса тигля с навеской после прокаливания, г;
m - масса навески глины до прокаливания, г.
Результаты испытания рассчитывают до третьего и округляют до второго десятичного знака.
Расхождение результатов двух параллельных испытаний не должно превышать допускаемых значений, приведенных в таблице 9.
Таблица 9
|
Потеря массы при прокаливании, % |
Допускаемое расхождение, % |
|
От 5,0 до 10,0 включ. |
0,30 |
|
Свыше 10,0 " 25,0 " |
0,40 |
За окончательный результат принимают среднеарифметическое значение результатов двух параллельных испытаний
Влажность глинистого сырья (естественную и фактическую) определяют по разности масс навески до и после высушивания.
Весы лабораторные по ГОСТ 24104.
Электрошкаф сушильный с терморегулятором, обеспечивающий температуру (105±5)°С.
Стеклянная бюкса по ГОСТ 23932.
Эксикатор по ГОСТ 25336.
Кальций хлористый по ГОСТ 450.
Отбор и подготовку пробы глинистого сырья проводят в соответствии с разделом 4.
Естественную влажность глинистого сырья определяют для усредненных представительных проб исследуемого месторождения. Пробу массой 2-3 кг после отбора для сохранения влажности обрабатывают по всей поверхности погружением в расплавленный парафин и упаковывают в полиэтиленовые мешки.
Для определения естественной влажности глинистого сырья пробу освобождают от парафина, усредняют методом квартования и отбирают три навески массой 40-50 г каждая.
Фактическую влажность определяют при поступлении партии глинистого сырья потребителю. Для определения фактической влажности от объединенной пробы методом квартования отбирают лабораторную пробу массой 2-3 кг, от которой отбирают три навески по 40-50 г каждая.
Отобранные навески глинистого сырья помещают в высушенные стеклянные бюксы известной массы, взвешивают на лабораторных весах и высушивают в сушильном электрошкафу до постоянной массы при температуре (105±5)°С.
Пробы охлаждают в эксикаторе над хлористым кальцием и взвешивают.
Влажность глинистого сырья Wотн, %, вычисляют по формуле
, (21)
где m1 - масса влажной навески, вычисленная по разности масс бюксы с навеской и без нее, г;
m2 - масса навески в сухом состоянии, вычисленная по разности масс бюксы с навеской, высушенной до постоянной массы, и без нее, г.
За окончательный результат принимают среднеарифметическое значение результатов трех параллельных испытаний.
Метод основан на определении влажности, при которой глинистая масса, проявляя пластические и формовочные свойства, сохраняет без деформаций приданную ей форму и при раскатывании не прилипает к рукам и металлу.
Формовочную влажность определяют при изготовлении полуфабриката.
Весы лабораторные по ГОСТ 24104.
Электрошкаф сушильный с терморегулятором, обеспечивающий температуру (105±5)°С.
Сито с сеткой N 1 по ГОСТ 6613.
Бюкса стеклянная по ГОСТ 23932.
Эксикатор по ГОСТ 25336.
Кальций хлористый по ГОСТ 450.
Цилиндр мерный вместимостью 100 см3.
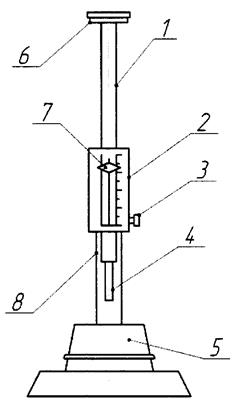
Прибор Вика (см. рисунок 5).

1 - стержень; 2 - шкала; 3 - стопорный винт; 4 - игла; 5 - форма; 6 - груз; 7 - стрелка-указатель; 8 - кронштейн
Рисунок 5 - Прибор Вика для определения формовочной влажности глинистого сырья
Отбор и подготовку пробы глинистого сырья проводят в соответствии с разделом 4.
5.23.4.1 Для приготовления пластичной глиняной массы к пробе глинистого сырья массой 300 г, измельченной до полного прохождения через сито с сеткой N 1, постепенно добавляют воду в таком количестве, чтобы после тщательного перемешивания она не прилипала к рукам. Подготовленную глиняную массу оставляют для вылеживания в полиэтиленовых пакетах или во влажной ткани в течение 24-48 ч.
5.23.4.2 После вылеживания глиняную массу укладывают в форму прибора Вика (металлическое кольцо диаметром 35 мм и высотой 50 мм). Форму ставят под иглу.
За формовочную влажность глиняной массы принимают влажность, при которой игла прибора Вика погружается в глиняную массу на глубину 4 см в течение 5 мин. Добавление воды или сухой глины с последующей тщательной проминкой глиняной массы проводят до получения формовочной влажности.
5.23.4.3 При достижении глиняной массой формовочной влажности отбирают три навески по 50 г каждая.
Отобранные навески помещают в высушенные стеклянные бюксы известной массы, взвешивают на лабораторных весах и высушивают в сушильном электрошкафу до постоянной массы при температуре (105±5)°С.
Навески охлаждают в эксикаторе над хлористым кальцием и взвешивают.
5.23.4.4 Формовочную влажность допускается определять на трех навесках глинистого сырья массой в сухом состоянии по 50 г каждая. В каждую навеску небольшими порциями при помешивании добавляют воду до получения формовочной массы.
Полученные навески помещают в высушенные стеклянные бюксы известной массы, взвешивают на лабораторных весах и высушивают в сушильном электрошкафу до постоянной массы при температуре (105±5)°С.
Навески охлаждают в эксикаторе над хлористым кальцием и взвешивают.
Формовочную влажность глинистого сырья Wотн, %, вычисляют по формуле
, (22)
где m1 - масса влажной навески (без массы бюксы), г;
m2 - масса навески в сухом состоянии (без массы бюксы), г.
За окончательный результат принимают среднеарифметическое значение трех параллельных испытаний.
Влажность глиняного шликера определяют по разности масс навески до и после высушивания.
Плотность определяют взвешиванием шликера в мерном сосуде.
Текучесть определяют на вискозиметре по времени истечения шликера объемом 100 см3.
Весы лабораторные по ГОСТ 24104.
Электрошкаф сушильный с терморегулятором, обеспечивающий температуру (105±5)°С.
Пикнометр по ГОСТ 22524.
Бюкса стеклянная по ГОСТ 23932.
Колба стеклянная вместимостью 100 см3.
Сосуд мерный вместимостью 1 и 10 л.
Сито с сеткой N 1 по ГОСТ 6613.
Эксикатор по ГОСТ 25336.
Кальций хлористый по ГОСТ 450.
Вискозиметр ВЗ-246 по ГОСТ 9070.
Секундомер.
Отбор и подготовку пробы глинистого сырья проводят в соответствии с разделом 4.
Для приготовления глиняного шликера пробу глинистого сырья массой 3,5-4,0 кг помещают в мерный сосуд вместимостью 10 л и заливают 2,5-3,0 л воды для получения массы влажностью ≈40%.
В часть пробы при приготовлении шликера вводят добавку отработанных нефтепродуктов по ГОСТ 21046 в количестве 0,5% массы сухого глинистого сырья.
В качестве разжижителей применяют отходы целлюлозно-бумажной промышленности (лигнин, лигносульфонат и т.п.), соду, жидкое стекло, пирофосфат натрия и т.п.
Для выравнивания влажности глинистую массу оставляют без вмешательства на 5-6 ч. Затем массу перемешивают, добавляя воду порциями по 50-100 см3 до получения шликера сметанообразной консистенции. Приготовленный шликер процеживают через сито с размером ячеек 1 мм.
Влажность глиняного шликера определяют весовым или пикнометрическим методом.
Влажность шликера, определяемую весовым методом, Wотн, %, вычисляют по формуле
, (23)
где m1 - масса навески до высушивания, вычисленная по разности масс бюксы с навеской и без нее, г;
m2 - масса навески в сухом состоянии, вычисленная по разности масс бюксы с высушенной до постоянной массы навеской и без нее, г.
Влажность шликера вычисляют как среднеарифметическое значение результатов трех параллельных испытаний.
Влажность шликера, определяемую пикнометрическим методом, Wотн, %, вычисляют по формуле
, (24)
где ρш - плотность шликера, определяемая пикнометром, г/см3;
ρ - плотность твердого (глинистого) вещества, г/см3, вычисляют по формуле
, (25)
здесь m1 - масса мерного сосуда с глиной, г,
m2 - масса мерного сосуда, г,
V - объем мерного сосуда, см3.
При определении плотности глиняный шликер тщательно перемешивают деревянной лопаткой и быстро наливают в предварительно взвешенный мерный сосуд. Избыток шликера срезают металлической линейкой вровень с краями, затем сосуд со шликером взвешивают на лабораторных весах с точностью до 0,01 г.
Плотность глиняного шликера ρш, г/см3, вычисляют по формуле
, (26)
где P1 - масса мерного сосуда со шликером, г;
P2 - масса мерного сосуда, г;
V - объем мерного сосуда, см3.
Плотность шликера вычисляют как среднеарифметическое значение результатов трех параллельных испытаний.
Текучесть глиняного шликера определяют на вискозиметре ВЗ-246 с расширенным отверстием диаметром 6 мм по ГОСТ 9070. Перед испытанием сосуд вискозиметра тщательно промывают и вытирают насухо. Прибор устанавливают строго горизонтально.
Шликер, приготовленный по 5.24.3, тщательно перемешивают, отбирают 0,5 л и заливают в вискозиметр. В течение 5 мин шликер тщательно перемешивают, а затем на 30 с оставляют без вмешательства. Под выпускное отверстие вискозиметра подставляют стеклянную колбу вместимостью 100 см3. Поднятием стержня открывают выпускное отверстие и одновременно включают секундомер для определения времени истечения шликера. После заполнения стеклянной колбы до метки 100 см3 выпускное отверстие вискозиметра закрывают.
Время истечения 100 см3 шликера характеризует текучесть.
Второе определение проводят после выстаивания шликера в течение 30 мин. За текучесть принимают среднеарифметическое значение результатов трех параллельных испытаний, проведенных через 30 с и 30 мин соответственно.
Оценку текучести по времени истечения шликера проводят по таблице 10.
Таблица 10
|
Время выстаивания шликера |
Время и характер истечения 100 см3 шликера, с | ||
|
хороший шликер |
плохой шликер, но пригодный для производства |
непригодный шликер | |
|
30 с |
4-6 |
До 30 |
Капает |
|
30 мин |
7-8 |
Капает |
Загустевает |
Оставшиеся пробы шликера без добавок и с добавками выливают в металлические противни. Подсушку шликера проводят в сушильном электрошкафу или на воздухе до получения пластичной массы, пригодной для формования гранул полуфабриката.
Зерновой состав камнеподобного глинистого сырья после дробления определяют по ГОСТ 8269.0.
Для определения зернового состава отдельных фракций камнеподобного глинистого сырья должны применяться сита с круглыми или квадратными отверстиями на круглых или квадратных обечайках с диаметром или стороной не менее 300 мм. Стандартный набор сит должен включать сито с сеткой N 1,25 по ГОСТ 6613 и сита с круглыми отверстиями диаметрами 2,5; 5(3); 7,5; 10; 12,5; 15; 20; 25; 30; 40 мм.
Метод основан на определении изменения линейных размеров и объема глиняного образца после его сушки.
Весы лабораторные по ГОСТ 24104.
Электрошкаф сушильный с терморегулятором, обеспечивающим температуру (105±5)°С.
Форма с выталкивателем для формования образцов.
Штангенциркуль по ГОСТ 166.
Шпатель.
Молоток деревянный.
Рамки деревянные для сушки образцов.
Отбор и подготовку пробы глинистого сырья проводят в соответствии с разделом 4.
Пробу, подготовленную по 5.26.3, затворяют водой до получения формовочной влажности. Замоченное глинистое сырье сбивают в брус и тщательно проминают до полного удаления воздушных пузырьков, прослоек и оставляют вылеживаться на 24 ч в полиэтиленовых мешках или в эксикаторе для усреднения влажности. Из подготовленной массы формуют образцы-плитки размерами 50x50x5 мм или 100x100x10 мм для определения воздушной линейной усадки. Воздушную объемную усадку допускается определять на образцах-плитках размерами 50x50x5 мм или 100x100x10 мм или на образцах-кубиках размерами 50x50x50 мм.
После формования на образцах по линейке проводят две взаимно пересекающиеся диагонали. На диагоналях штангенциркулем делают метки глубиной 2 мм так, чтобы точка пересечения диагоналей оказалась посредине между острыми концами штангенциркуля, разведенного на 50 или 100 мм. Образцы маркируют.
Образцы сушат в естественных условиях на деревянных рамках до прекращения усадочных явлений. По мере высыхания образцы периодически осторожно переворачивают, не допуская их деформации. После сушки образцы устанавливают на ребро и досушивают до постоянной массы в сушильном электрошкафу при температуре (105±5)°С.
Высушенные образцы охлаждают в эксикаторе, внимательно осматривают, отмечают выявленные дефекты и штангенциркулем измеряют расстояние между метками.
Воздушную линейную усадку lв, %, вычисляют по формуле
, (27)
где d1 - расстояние между метками на свежесформованных образцах, мм;
d2 - расстояние между метками на образцах после сушки, мм.
Расчет ведут для каждого результата измерения. Воздушную линейную усадку вычисляют как среднеарифметическое значение результатов трех измерений. Образцы, растрескавшиеся или деформированные во время сушки, не учитывают.
Результаты испытаний заносят в таблицу. Форма таблицы приведена ниже
|
Наименование сырья |
Номер образца |
Расстояние между метками образца, мм |
Воздушная линейная усадка, % | ||
|
свежеотформованного |
сухого |
для каждого образца |
средняя | ||
Воздушную объемную усадку Vв, %, вычисляют по формуле
, (28)
где V1 - объем свежесформованного образца, см3;
V2 - объем высушенного образца, см3.
Результаты испытаний заносят в таблицу. Форма таблицы приведена ниже.
|
Наименование сырья |
Номер образца |
Свежесформованный образец |
Высушенный образец |
Воздушная объемная усадка, % | |||
|
Размеры, см |
Объем, см3 |
Размеры, см |
Объем, см3 |
Каждого образца |
Средняя | ||
Метод основан на определении температуры спекания и температурного интервала спекания глинистого сырья.
За температуру спекания принимают температуру, при которой огневая усадка образца достигает максимального значения, а водопоглощение черепка не превышает 5%.
За температурный интервал спекания принимают разность между температурой начала спекания глины и температурой, при которой получают черепок с наименьшим водопоглощением.
Весы лабораторные ГОСТ 24104.
Электрошкаф сушильный, обеспечивающий температуру (105±5)°С.
Электропечь муфельная с терморегулятором, обеспечивающая температуру 800°С.
Электропечь муфельная с терморегулятором, обеспечивающая температуру до 1350°С.
Плита мраморная или металлическая размерами 300x200 мм.
Форма для прессования с выталкивателем размерами 60x30x10 мм.
Штангенциркуль по ГОСТ 166.
Ткань хлопчатобумажная или пленка полиэтиленовая.
Отбор и подготовку пробы глинистого сырья проводят в соответствии с разделом 4.
5.27.4.1 Приготовление глиняной массы формовочной влажности
От пробы, подготовленной по 5.27.3, отбирают навеску массой 3 кг, приливают воду в количестве, необходимом для образования густой пластичной массы, которая не прилипает и не оставляет следов на тыльной стороне руки.
Массу проминают до устранения пузырьков воздуха и оставляют на 24 ч, накрыв увлажненной хлопчатобумажной тканью или полиэтиленовой пленкой.
Приготовленную массу переносят на слегка увлажненную хлопчатобумажную ткань, покрывающую плиту, сверху массу накрывают слегка увлажненной хлопчатобумажной тканью или полиэтиленовой пленкой. Предварительно на плиту устанавливают рейки толщиной (10±0,5) мм для фиксации толщины пласта глиняной массы. Глиняную массу отбивают или раскатывают, лишнюю массу снимают на уровне реек тонкой проволокой, заглаживают, переворачивают вместе с тканью и еще раз заглаживают.
Допускается использование пластичной массы, отобранной на технологической линии после перерабатывающих вальцов с зазором 3 мм.
5.27.4.2 Изготовление образцов
Из приготовленного пласта глиняной массы вырезают образцы размерами 60x30x10 мм с помощью формы с выталкивателем. Края формы предварительно смазывают машинным маслом или вазелином. Допускается формование образцов на вакуумном прессе.
Образцы помещают на ровную поверхность и острыми краями штангенциркуля по диагонали наносят метки, расстояние между которыми должно быть 50 мм. Образцы подсушивают на воздухе в течение 24 ч и досушивают в сушильном электрошкафу при температуре (105±5)°С до остаточной влажности 1%. На высушенных образцах измеряют расстояние между метками для определения усадки после сушки по ГОСТ 19609.20.
5.27.4.3 Обжиг образцов
Образцы помещают в лабораторную электропечь. Под электропечи и каждый ряд образцов пересыпают глиноземом и обжигают начиная с температуры 850°С. Температура каждого последующего обжига на 50°С выше предыдущего.
Обжиг образцов проводят до следующих конечных температур:
- легкоплавкие глины до 850°С, 900°С, 950°С, 1000°С, 1050°С, 1100°С, 1150°С;
- тугоплавкие и огнеупорные глины до 900°С, 1000°С, 1050°С, 1100°С, 1150°С, 1200°С, 1250°С, если необходимо до 1300°С, 1350°С.
Максимальную температуру обжига устанавливают по появлению признаков пережога (деформация образцов, вспучивание, появление блеска, начало снижения кажущейся плотности).
До каждой конечной температуры обжигают не менее трех образцов. Подъем температуры проводят со скоростью 3°С/мин. При конечной температуре образцы выдерживают 30 мин, переносят в электропечь, нагретую до температуры 800°С, охлаждают до комнатной температуры, измеряют расстояние между метками для определения общей и огневой усадки и определяют водопоглощение и кажущуюся плотность по ГОСТ 2409.
По полученным данным строят кривую спекания в координатах "температура-водопоглощение" (см. рисунок 6). Температурный интервал спекания между точками А и В характеризует величину интервала спекания, между точками Б и В - спекшееся состояние.

tА - температура начала спекания; tБ - температура, при которой получают черепок с W=5%; tВ - температура, при которой получают черепок с наименьшим водопоглощением; tГ - температура, при которой отмечаются признаки пережога образцов (деформация, вспучивание, появление блеска, начало снижения кажущейся плотности)
Рисунок 6 - Зависимость водопоглощения обожженого материала (черепка) от температуры обжига (кривая спекания)
Температуру начала спекания tА устанавливают по началу появления усадки и снижению водопоглощения.
По спекаемости глинистое сырье классифицируют по ГОСТ 9169.
За оптимальную температуру термоподготовки глинистого сырья принимают температуру, при которой полуфабрикат не разрушается в печи термоподготовки или в печи обжига, при этом гранулы керамзита после обжига имеют минимальную среднюю плотность.
Оптимальную температуру термоподготовки полуфабриката глинистого сырья определяют при термообработке по двухступенчатому режиму.
Электрошкаф сушильный с терморегулятором, обеспечивающий температуру (105±5)°С.
Электропечь муфельная, обеспечивающая температуру до 1000°С.
Электропечь муфельная, обеспечивающая температуру до 1600°С.
Секундомер.
Форма металлическая для формования сырцовых гранул (см. рисунок 6).
Эксикатор по ГОСТ 25336.
Весы лабораторные по ГОСТ 24104.
Вода питьевая по ГОСТ 2874.
Тигель по ГОСТ 9147.
Линейка металлическая по ГОСТ 427.
Стандартный набор сит с круглыми отверстиями диаметром 5, 10, 20 и 40 мм.
Цилиндр мерный стеклянный вместимостью 10 и 25 см3 ценой деления 0,1-0,2 см3 по ГОСТ 1770.
Воронка по ГОСТ 19908.
Кальций хлористый по ГОСТ 450.
Песок кварцевый фракции 0,5-1 мм по ГОСТ 6139.

1 - цилиндр; 2 - пуансон; 3 - стержень для выталкивания гранул из формы; 4 - съемное дно
Рисунок 7 - Металлическая форма для изготовления сырцовых гранул
Отбор и подготовку пробы глинистого сырья, формование и подготовку гранул (зерен) полуфабриката проводят по ГОСТ 32026.
Полуфабрикат подсушивают в помещении при температуре (22±5)°С в течение 5-6 ч, затем высушивают до постоянной массы в сушильном электрошкафу при температуре (105±5)°С.
Испытания проводят по двухступенчатому режиму на двух электропечах. В одной электропечи проводят термоподготовку, в другой - обжиг гранул (зерен) полуфабриката.
Температура термоподготовки: 200°С, 300°С, 400°С и 500°С.
Три гранулы или три зерна, прошедшие термоподготовку в течение 20 мин при одной из указанных температур, переносят в печь обжига и выдерживают при температурах 1100°С, 1140°С, 1170°С и 1200°С в зависимости от вида сырья в течение 7 мин, затем охлаждают на воздухе.
Проводят три параллельных испытания для каждого сочетания температур термоподготовки и обжига.
Если в печи термоподготовки или в печи обжига наблюдается разрушение гранул и зерен полуфабриката, испытание повторяют, применяя следующие приемы:
- помещают в печь для обжига гранулы (зерна), подсушенные при комнатной температуре и имеющие влажность на 2% - 4% ниже формовочной;
- гранулы и зерна нагревают со скоростью 10-20°С/мин до температуры термоподготовки;
- уменьшают диаметр и высоту гранул до размеров 10x10 или 8x8 мм;
- для камнеподобного сырья используют фракцию 5-10 мм.
После обжига полуфабриката определяют среднюю плотность вспученных гранул (зерен) по результатам трех параллельных испытаний по ГОСТ 9758, раздел 9.
Среднюю плотность вспученных гранул (зерен) ρп, г/см3, вычисляют по формуле
, (29)
где m - масса вспученной гранулы (зерна), г;
V - объем вспученной гранулы (зерна), см3.
За окончательный результат принимают среднеарифметическое значение результатов трех параллельных испытаний.
За оптимальную температуру вспучивания пластичного глинистого сырья принимают температуру, при которой получают гранулы керамзитового гравия с минимальной средней плотностью, отсутствует их деформация, поверхность не оплавлена.
Температурный интервал вспучивания глинистого сырья определяют по разности между оптимальной температурой вспучивания и температурой, при которой минимальная средняя плотность гранул керамзитового гравия составляет 1,0 г/см3.
Электрошкаф сушильный с терморегулятором, обеспечивающий температуру (105±5)°С.
Электропечь муфельная с терморегулятором, обеспечивающая температуру до 1000°С.
Электропечь муфельная с терморегулятором, обеспечивающая температуру до 1600°С.
Секундомер.
Форма металлическая для формования сырцовых гранул (см. рисунок 6).
Эксикатор по ГОСТ 25336.
Весы лабораторные по ГОСТ 24104.
Вода питьевая по ГОСТ 2874.
Тигель по ГОСТ 9147.
Линейка металлическая по ГОСТ 427.
Цилиндр стеклянный мерный вместимостью 10 и 25 см3 ценой деления 0,1-0,2 см3 по ГОСТ 1770.
Воронка по ГОСТ 19908.
Песок кварцевый фракции 0,5-1 мм по ГОСТ 6139.
Отбор и подготовку пробы глинистого сырья и формование гранул полуфабриката проводят по ГОСТ 32026.
Испытания проводят на двух печах. В одной печи проводят термоподготовку гранул полуфабриката по режиму, выбранному в соответствии с 5.28. Гранулы, прошедшие термоподготовку, переносят в печь для обжига, разогретую каждый раз до одной из указанных температур: 990°С, 1020°С, 1050°С, 1080°С и т.д. с интервалом 30°С, до оптимальной температуры вспучивания, выдерживают 7 мин, затем охлаждают на воздухе. Максимальная температура не должна превышать 1260°С.
Оптимальную температуру вспучивания определяют следующим образом: четыре гранулы, прошедшие термоподготовку по 5.28, устанавливают в печи обжига так, чтобы три из них плотно располагались в первом слое (в виде треугольника), а четвертая - сверху на них.
За оптимальную температуру вспучивания принимают температуру начала слипания гранул, когда после остывания гранулы при постукивании начинают отделяться друг от друга с обнажением пористой структуры в области контакта.
При температурах, близких к температуре начала слипания гранул, целесообразно уменьшить температуру обжига на 10°С.
Проводят три параллельных испытания, используя каждый раз по три гранулы.
После обжига определяют среднюю плотность и прочность при раскалывании отдельных гранул керамзитового гравия по ГОСТ 9758.
Обработку результатов испытаний проводят графически с использованием метода интерполяции.
По результатам испытаний строят график в координатах: средняя плотность гранул керамзитового гравия - температура обжига (см. рисунок 8).
По графику определяют температурный интервал вспучивания.
На рисунке 8 представлены температурные интервалы вспучивания для разных проб глинистого сырья.

1 - проба с температурным интервалом вспучивания 55°С; 2 - проба с температурным интервалом вспучивания 190°С; 3 - проба с температурным интервалом вспучивания 215°С
Рисунок 8 - График определения температурного интервала вспучивания
За оптимальную температуру вспучивания камнеподобного глинистого сырья принимают температуру, при которой получают керамзитовый щебень с минимальной плотностью зерен, отсутствует их деформация, поверхность не оплавлена.
Температурный интервал вспучивания камнеподобного глинистого сырья определяют по разности между оптимальной температурой вспучивания и температурой, при которой плотность зерен керамзитового щебня составляет 1,0 г/см3.
Стандартный набор сит с круглыми отверстиями диаметром 5, 10, 20 и 40 мм на металлических или деревянных цилиндрических рамках диаметром не менее 300 мм или квадратных рамках со стороной не менее 300 мм.
Электрошкаф сушильный с терморегулятором, обеспечивающий температуру (105±5)°С.
Электропечь муфельная с терморегулятором, обеспечивающая температуру до 900°С.
Электропечь муфельная с терморегулятором, обеспечивающая температуру до 1600°С.
Секундомер.
Весы лабораторные по ГОСТ 24104.
Тигель по ГОСТ 9147.
Линейка металлическая по ГОСТ 427.
Цилиндр стеклянный мерный вместимостью 10 и 25 см3 ценой деления 0,1-0,2 см3 по ГОСТ 1770.
Воронка по ГОСТ 19908.
Песок кварцевый фракции 0,5-1 мм по ГОСТ 6139.
Отбор и подготовку пробы камнеподобного глинистого сырья проводят по ГОСТ 32026.
Отбирают пробы глинистого сырья фракций 5-10 и 10-20 мм объемами 0,5 и 2,0 л соответственно. Методом квартования от каждой испытуемой фракции отбирают по 15 зерен.
Испытание камнеподобного сырья проводят в соответствии с 5.29.4.
Проводят пять параллельных испытаний по три зерна полуфабриката при каждом испытании.
Обработку результатов испытаний проводят в соответствии с 5.29.5.
За окончательный результат принимают среднеарифметическое значение результатов пяти параллельных испытаний.
Метод основан на определении отношения объема вспученной гранулы керамзита к объему гранулы (зерна) полуфабриката глинистого сырья без добавок и с добавками.
Для определения коэффициента вспучивания глинистого сырья используют средства испытания по 5.29.2 и 5.30.2.
Для определения коэффициента вспучивания используют 9 гранул полуфабриката пластичного глинистого сырья и 15 зерен камнеподобного сырья, подготовленных по ГОСТ 32026.
При оптимальной температуре термоподготовки и вспучивания получают керамзитовые гравий и щебень по 5.29 и 5.30.
Объем каждого зерна полуфабриката камнеподобного глинистого сырья, вспученных гранул (зерен) керамзитовых гравия и щебня определяют по ГОСТ 9758 (раздел 9).
Объем каждой гранулы полуфабриката пластичного глинистого сырья V, см3, определяют по формуле
V=(πD2/4)h, (30)
где D и h - диаметр и высота гранулы соответственно, см.
Коэффициент вспучивания глинистого сырья Kвсп определяют по формуле
, (31)
где
- сумма объемов гранул (зерен) полуфабриката, см3;
- сумма объемов вспученных гранул (зерен) гравия и щебня, см3;
n - число гранул (зерен) полуфабриката: 9 - при пластическом способе подготовки, 15 - при сухом способе подготовки.
За окончательный результат принимают среднеарифметическое значение результатов всех параллельных испытаний.
Метод основан на определении продолжительности воздействия в секундах тепловым потоком на свежесформованный образец до момента возникновения на нем трещин и посечек.
Электрошкаф сушильный с терморегулятором, обеспечивающий температуру (105±5)°С.
Ступка с пестиком по ГОСТ 9147.
Эксикатор по ГОСТ 25336.
Сито с сеткой N 1 по ГОСТ 6613.
Форма с выталкивателем для формования образцов квадратного сечения размерами 55x55x10 мм.
Шпатель.
Бюксы по ГОСТ 25336.
Весы по ГОСТ 24104.
Секундомер.
Термометр по ГОСТ 13646.
Установка для определения чувствительности глин к сушке (см. рисунок 9).
Излучатель электрический (электроплитка по ГОСТ 14919 с закрытой спиралью мощностью 800 Вт, работающая от напряжения 220 V).
Реостат.
Вольтметр.
Тепломер.

b - размер отверстия экрана; q - тепловой поток;
1 - электрический излучатель, 2 - образец, 3 - экран с отверстием, 4 - подъемный столик, 5 - зеркало для осмотра, 6 - вольтметр, 7 - реостат
Рисунок 9 - Схема установки для определения чувствительности глинистого сырья к сушке
Отбор и подготовку пробы глинистого сырья проводят в соответствии с разделом 4.
Навеску глинистого сырья массой 500 г высушивают при температуре не выше (105±5)°С до постоянной массы, измельчают и просеивают через сито с сеткой N 1, добавляют воду в количестве, необходимом для образования глиняной массы формовочной влажности.
Глиняную массу перемешивают до полной однородности, устранения пузырьков воздуха и оставляют на 24 ч в закрытом эксикаторе для равномерного распределения влаги.
За 1-2 ч до начала испытания включают электрический излучатель в целях стабилизации теплового потока. Значение теплового потока определяют с помощью тепломера.
Из приготовленной глиняной массы формуют в металлических формах образцы-плитки размерами 55x55x10 мм.
Образец устанавливают на столик 4 под электрический излучатель 1, одновременно включают секундомер и с помощью зеркала 5 ведут наблюдение за образцом. Секундомер выключают при появлении на образце трещин и (или) посечек. Расстояние между электрическим излучателем и образцом должно быть 60 мм. Для предотвращения попадания теплового потока на столик между электрическим излучателем и столиком помещают экран 3.
При проведении испытания с помощью реостата и вольтметра поддерживают постоянное напряжение тока, обеспечивающее на уровне образца температуру 200°С и тепловой поток мощностью 9000-10000 ккал/м2·ч.
Продолжительность температурного воздействия на образец в секундах до появления трещин и посечек определяют как среднеарифметическое значение результатов испытаний трех образцов.
Оценку чувствительности глин к сушке проводят по следующей шкале:
- высокочувствительные глины - менее 100 с;
- среднечувствительные глины - 100-180 с;
- малочувствительные глины - более 180 с.
Связующую способность глиняного сырья оценивают свойствами смеси пластичной глины и отощающего материала и высушенных образцов, изготовленных из этих смесей, по следующим показателям:
- числу пластичности смеси глинистого сырья с максимальным количеством песка, при котором образуется масса с числом пластичности не менее 7;
- изменению механической прочности при статистическом изгибе и сжатии высушенных при температуре (105±5)°С образцов, сформованных из глиняных масс с разным содержанием отощающего материала;
- формовочным свойствам глиняных масс с разным содержанием отощающего материала.
В качестве отощающего материала применяют кварцевый карьерный или речной песок заданного зернового состава.
Прибор Вика (см. рисунок 5).
Конус балансирный (см. рисунок 3).
Бюксы.
Весы технические.
Форма для изготовления образцов-балочек размерами 135x30x15 мм.
Форма для изготовления образцов-кубиков размерами 50x50x50 мм.
Нож.
Цилиндр мерный вместимостью 100 см3.
Секундомер.
Эксикатор по ГОСТ 23932.
Прибор для определения прочности при изгибе МИИ-100.
Электрошкаф сушильный, обеспечивающий температуру (105±5)°С.
Пресс гидравлический.
Сито с сеткой N 1.
Отбор и подготовку пробы проводят в соответствии с разделом 4.
Для испытания изготовляют серию смесей с разным содержанием отощающего материала (до 80%).
Из глинистого сырья, предварительно высушенного и размолотого до полного прохождения через сито с сеткой N 1 и сухого песка готовят смеси в соответствии с таблицей 11.
Таблица 11
|
Наименование материала |
Номер состава | ||||
|
1 |
2 |
3 |
4 |
5 | |
|
Глинистое сырье, % |
100 |
80 |
60 |
40 |
20 |
|
Песок, % |
0 |
20 |
40 |
60 |
80 |
Смеси тщательно перемешивают и для каждого состава определяют число пластичности и формовочную влажность. Для определения формовочной влажности смеси глины и песка затворяют водой, тщательно проминают и доводят до формовочной влажности.
Из полученных масс изготовляют не менее трех образцов-балочек размерами 135x30x15 мм. Образцы-балочки сушат на воздухе, а затем в сушильном электрошкафу при температуре (105±5)°С до постоянной массы. Сухие образцы-балочки охлаждают и хранят в эксикаторе до проведения испытания.
Предел прочности при изгибе определяют на приборе МИИ-100.
Предел прочности при изгибе образцов-балочек из смеси высокопластичных и среднепластичных глин с песком должен быть не менее 2,5-3,0 МПа, из смеси умереннопластичных глин с песком - не менее 0,5-1,5 МПа.
Для определения предела прочности при сжатии изготовляют образцы-кубики размерами 50x50x50 мм, сушат при температуре (105±5)°С до постоянной массы и испытывают на гидравлическом прессе. Предел прочности при сжатии образцов-кубиков из смеси глины с песком должен быть не менее 4,5-5,0 МПа.
Формовочные свойства глинистого сырья допускается оценивать качественно. При добавлении в глинистое сырье отощающих материалов формовочные свойства оценивают по следующей шкале:
- хорошо формуется (+++);
- удовлетворительно формуется (++);
- плохо формуется (+);
- не формуется (-).
Для высокопластичных глин количество добавляемого песка может превышать 50%, для среднепластичных - может быть 20% - 50%, для умереннопластичных - менее 20%.
При определении связующей способности глинистого сырья определяют число пластичности, предел прочности при сжатии и изгибе высушенных образцов и формовочные свойства. Результаты испытаний заносят в таблицу. Форма таблицы приведена ниже
|
Наименование показателя |
Ед. изм. |
Состав смеси глина:песок, % | ||||
|
100:0 |
80:20 |
60:40 |
40:60 |
20:80 | ||
|
Число пластичности |
- | |||||
|
Предел прочности при сжатии высушенных образцов |
МПа | |||||
|
Предел прочности при изгибе высушенных образцов |
МПа | |||||
|
Оценка формовочных свойств |
- | |||||
______________________________
*(1) В Российской Федерации действует ГОСТ Р 51232-98.
*(2) В Российской Федерации действует ГОСТ Р 8.585-2001.
*(3) В Российской Федерации действует ГОСТ Р 53228-2008.
*(4) В Российской Федерации действует ГОСТ Р 8.568-97.
Приложение А
(обязательное)
Макроскопическое описание (характеристику) глинистого сырья составляют по результатам визуального осмотра пробы глинистого сырья с помощью лупы, микроскопа и др.
При визуальном осмотре устанавливают: внешний вид, цвет и оттенок (в сухом и влажном состоянии), структуру, текстуру (плотное, рыхлое, пастообразное, жирное на ощупь), наличие и виды включений (органические, железистые, карбонатные, кварцевые, гипсовые, галька и т.д.), степень вскипания пробы глинистого сырья при взаимодействии с 10%-ным раствором соляной кислоты для определения наличия карбонатных включений.
Результаты визуального осмотра пробы глинистого сырья заносят в таблицу. Форма таблицы приведена ниже
|
Макроскопическое описание глинистого сырья | ||||
|
Наименование сырья |
Цвет и оттенок |
Структура и текстура |
Наличие карбонатных включений и их распределение |
Содержание и виды других включений |


