ГОСТ 24596.8-2015 ФОСФАТЫ КОРМОВЫЕ. МЕТОДЫ ОПРЕДЕЛЕНИЯ МЫШЬЯКА
Feed phosphates. Methods for determination of arsenic
Дата введения - 2016-07-01
Взамен ГОСТ 24596.8-81
Предисловие
Цели, основные принципы и основной порядок проведения работ по межгосударственной стандартизации установлены ГОСТ 1.0-92 "Межгосударственная система стандартизации. Основные положения" и ГОСТ 1.2-2009 "Межгосударственная система стандартизации. Стандарты межгосударственные, правила и рекомендации по международной стандартизации. Правила разработки, принятия, применения, обновления и отмены"
Сведения о стандарте
1 РАЗРАБОТАН Открытым акционерным обществом "Всероссийский научно-исследовательский институт комбикормовой промышленности" (ОАО "ВНИИКП")
2 ВНЕСЕН Межгосударственным техническим комитетом по стандартизации МТК 4 "Комбикорма, белково-витаминные добавки, премиксы"
3 ПРИНЯТ Межгосударственным советом по стандартизации, метрологии и сертификации (протокол от 29 мая 2015 г. N 77-П)
За принятие проголосовали:
|
Краткое наименование страны по МК (ИСО 3166) 004-97 |
Код страны по МК (ИСО 3166) 004-97 |
Сокращенное наименование национального органа по стандартизации |
|
Армения |
AM |
Минэкономики Республики Армения |
|
Беларусь |
BY |
Госстандарт Республики Беларусь |
|
Киргизия |
KG |
Кыргызстандарт |
|
Россия |
RU |
Росстандарт |
4 Приказом Федерального агентства по техническому регулированию и метрологии от 4 сентября 2015 г. N 1272-ст межгосударственный стандарт ГОСТ 24596.8-2015 введен в действие в качестве национального стандарта Российской Федерации с 1 июля 2016 г.
5 Взамен ГОСТ 24596.8-81
Информация об изменениях к настоящему стандарту публикуется в ежегодном информационном указателе "Национальные стандарты", а текст изменений и поправок - в ежемесячном информационном указателе "Национальные стандарты". В случае пересмотра (замены) или отмены настоящего стандарта соответствующее уведомление будет опубликовано в ежемесячном информационном указателе "Национальные стандарты". Соответствующая информация, уведомление и тексты размещаются также в информационной системе общего пользования - на официальном сайте Федерального агентства по техническому регулированию и метрологии в сети Интернет
Настоящий стандарт распространяется на кормовые фосфаты, получаемые из минерального сырья, и устанавливает визуально-колориметрический и спектрофотометрический методы определения массовой доли мышьяка в диапазоне от 0, 0002% до 0, 008%.
В настоящем стандарте использованы нормативные ссылки на следующие межгосударственные стандарты:
ГОСТ 61-75 Реактивы. Кислота уксусная. Технические условия
ГОСТ OIML R 76-1-2011 Государственная система обеспечения единства измерений. Весы неавтоматического действия. Часть 1. Метрологические и технические требования. Испытания
ГОСТ 1027-67 Реактивы. Свинец (II) уксуснокислый 3-водный. Технические условия
ГОСТ 1770-74 (ИСО 1042-83, ИСО 4788-80) Посуда мерная лабораторная стеклянная. Цилиндры, мензурки, колбы, пробирки. Общие технические условия
ГОСТ 3118-77 Реактивы. Кислота соляная. Технические условия
ГОСТ 3765-78 Реактивы. Аммоний молибденовокислый. Технические условия
ГОСТ 4038-79 Реактивы. Никель (II) хлорид 6-водный. Технические условия
ГОСТ 4159-79 Реактивы. Йод. Технические условия
ГОСТ 4204-77 Реактивы. Кислота серная. Технические условия
ГОСТ 4212-76 Реактивы. Методы приготовления растворов для колориметрического и нефелометрического анализа
ГОСТ 4328-77 Реактивы. Натрия гидроокись. Технические условия
ГОСТ 4232-74 Реактивы. Калий йодистый. Технические условия
ГОСТ 5556-81 Вата медицинская гигроскопическая. Технические условия
ГОСТ ИСО 5725-6-2003 Точность (правильность и прецизионность) методов и результатов измерений. Часть 6. Использование значений точности на практике <*>
--------------------------------
<*> На территории Российской Федерации действует ГОСТ Р ИСО 5725-6-2002 "Точность (правильность и прецизионность) методов и результатов измерений. Часть 6. Использование значений точности на практике".
ГОСТ 6709-72 Вода дистиллированная. Технические условия
ГОСТ 9147-80 Посуда и оборудование лабораторные фарфоровые. Технические условия
ГОСТ 14919-83 Электроплиты, электроплитки и жарочные электрошкафы бытовые. Общие технические условия
ГОСТ 18300-87 Спирт этиловый ректификованный технический. Технические условия <**>
--------------------------------
<**> На территории Российской Федерации действует ГОСТ Р 55878-2013 "Спирт этиловый технический гидролизный ректификованный. Технические условия".
ГОСТ 23683-89 Парафины нефтяные твердые. Технические условия
ГОСТ 24596.0-2015 Фосфаты кормовые. Общие требования к методам анализа
ГОСТ 24596.1-2015 Фосфаты кормовые. Методы отбора и подготовки проб для анализа
ГОСТ 25336-82 Посуда и оборудование лабораторные стеклянные. Типы, основные параметры и размеры
ГОСТ 25794.2-83 Реактивы. Методы приготовления титрованных растворов для окислительно-восстановительного титрования
ГОСТ 28311-89 Дозаторы медицинские лабораторные. Общие технические требования и методы испытаний
ГОСТ 29169-91 (ИСО 648-77) Посуда лабораторная стеклянная. Пипетки с одной отметкой
ГОСТ 29227-91 (ИСО 835-1-81) Посуда лабораторная стеклянная. Пипетки градуированные. Часть 1. Общие требования
ГОСТ 29251-91 Посуда лабораторная стеклянная. Бюретки. Часть 1. Общие требования
Примечание - При пользовании настоящим стандартом целесообразно проверить действие ссылочных стандартов в информационной системе общего пользования - на официальном сайте Федерального агентства по техническому регулированию и метрологии в сети Интернет или ежегодному информационному указателю "Национальные стандарты", который опубликован по состоянию на 1 января текущего года, и по выпускам ежемесячного информационного указателя "Национальные стандарты" за текущий год. Если ссылочный стандарт заменен (изменен), то при пользовании настоящим стандартом следует руководствоваться заменяющим (измененным) стандартом. Если ссылочный стандарт отменен без замены, то положение, в котором дана ссылка на него, применяется в части, не затрагивающей эту ссылку.
Требования безопасности - по ГОСТ 24596.0 (раздел 7).
Отбор и подготовка проб - по ГОСТ 24596.1.
При подготовке и проведении испытаний должны быть соблюдены требования ГОСТ 24596.0 (разделы 5, 6) и следующие условия:
- температура окружающей среды ................... от 15 °C до 25 °C;
- относительная влажность воздуха ................ не более 80%;
- напряжение в сети .............................. от 198 до 242 В;
- частота переменного тока ....................... (50 ± 1) Гц.
К выполнению испытаний и обработке их результатов допускают специалиста, имеющего высшее или среднее специальное образование и опыт работы в химической лаборатории, прошедшего соответствующий инструктаж, освоившего метод в процессе обучения и уложившегося в нормативы оперативного контроля при выполнении процедур контроля точности испытаний.
7.1 Сущность метода
Метод основан на визуальном сравнении интенсивности окрашивания бромнортутной или хлорнортутной бумаги, поглотившей мышьяковистый водород из анализируемого раствора, с градуировочной шкалой или бромнортутной или хлорнортутной бумагой, поглотившей мышьяковистый водород из раствора сравнения, содержащего известное количество мышьяка.
Для кормовых фосфатов с массовой долей мышьяка до 0, 001% включительно, используют раствор сравнения, для кормовых фосфатов с массовой долей мышьяка свыше 0, 001% - градуировочную шкалу.
Примечание - Метод является качественным и применяется для контроля кормовых фосфатов по содержанию в них массовой доли мышьяка в тех случаях, когда не требуется определять ее точное численное значение, а достаточно установить, что массовая доля мышьяка ниже допустимого значения, регламентированного нормативными документами государства, принявшего настоящий стандарт.
7.2 Средства измерения, вспомогательные устройства, реактивы и материалы
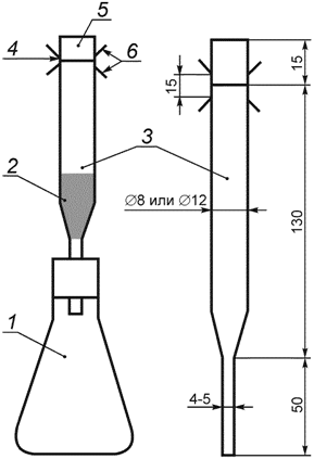
7.2.1 Устройство для определения мышьяка (см. рисунок 1).
1 - колба Кн-(2)-100(250)-34(40, 50) ТХС по ГОСТ 25336; 2 - тампон из ваты; 3 - трубка; 4 - квадрат бромнортутной или хлорнортутной бумаги; 5 - отрезанная часть трубки; 6 - стеклянные крючки
Рисунок 1 - Схема устройства для определения мышьяка
7.2.2 Весы неавтоматического действия по ГОСТ R OIML 76-1 с пределами допускаемой абсолютной погрешности ± 0, 001 г и специального класса точности с пределами допускаемой погрешности не более ± 0, 0005 г.
7.2.3 Колбы мерные 1(2)-100(500)-2 по ГОСТ 1770.
7.2.4 Пипетки градуированные 1(2, 3, 5)-1(1а, 2, 2а)-2-1(2, 5, 10) по ГОСТ 29227.
7.2.5 Цилиндры 1(2, 3, 4)-25(50, 250)-2 по ГОСТ 1770.
7.2.6 Электроплита по ГОСТ 14919.
7.2.7 Баня водяная.
7.2.8 Бумага фильтровальная марки "синяя лента".
7.2.9 Парафин нефтяной марки П-1 или П-2 по ГОСТ 23683.
7.2.10 Вата медицинская гигроскопическая по ГОСТ 5556.
7.2.11 Емкость из темного стекла с притертой крышкой.
7.2.12 Вода дистиллированная по ГОСТ 6709.
7.2.13 Кислота серная ГОСТ 4204, ч.д.а.
7.2.14 Кислота соляная по ГОСТ 3118, плотностью 1, 17 - 1, 19 г/см3, ч.д.а.
7.2.15 Никеля (II) хлорид 6-водный по ГОСТ 4038, ч.д.а.
7.2.16 Кислота уксусная по ГОСТ 61, ч.д.а.
7.2.17 Олова (II) хлорид 2-водный с массовой долей основного вещества не менее 99, 0%.
7.2.18 Ртуть бромная или ртуть хлорная с массовой долей основного вещества не менее 99, 0%.
7.2.19 Свинец (II) уксуснокислый 3-водный по ГОСТ 1027, ч.д.а.
7.2.20 Спирт этиловый ректификованный технический по ГОСТ 18300, высший сорт.
7.2.21 Цинк гранулированный металлический с массовой долей основного вещества не менее 99, 99%.
7.2.22 Окись мышьяка (III) с массовой долей основного вещества не менее 99, 0% или межгосударственный стандартный образец состава раствора ионов мышьяка массовой концентрации 0, 1 мг/см3.
Примечание - Допускается применение средств измерений с аналогичными метрологическими и техническими характеристиками, а также реактивов по качеству не хуже указанных.
7.3 Подготовка к проведению испытаний
7.3.1 Приготовление раствора серной кислоты
Серную кислоту (см. 7.2.13) разбавляют дистиллированной водой в соотношении 1:4 по объему.
7.3.2 Приготовление раствора соляной кислоты с массовой долей 20%
В мерную колбу вместимостью 500 см3 помещают 150 - 200 см3 дистиллированной воды, добавляют 235 см3 соляной кислоты (см. 7.2.14), перемешивают и доводят объем раствора до метки дистиллированной водой.
7.3.3 Приготовление раствора хлорида никеля с массовой долей 10%
Хлорид никеля массой (10, 000 ± 0, 001) г (см. 7.2.15) растворяют в 90 см3 дистиллированной воды.
7.3.4 Приготовление раствора уксусной кислоты с массовой долей 5%
В мерную колбу вместимостью 100 см3 помещают 5 см3 уксусной кислоты (см. 7.2.16) и доводят объем раствора до метки дистиллированной водой.
7.3.5 Приготовление раствора хлорида олова с массовой долей 10%
Хлорид олова (см. 7.2.17) массой (10, 000 ± 0, 001) г растворяют в 30 см3 соляной кислоты (см. 7.2.14), прибавляют 50 см3 дистиллированной воды и перемешивают.
7.3.6 Приготовление спиртового раствора бромной или хлорной ртути с массовой долей 5%
Бромную или хлорную ртуть (см. 7.2.18) массой (5, 000 ± 0, 001) г растворяют в 95 см3 этилового спирта (7.2.20).
7.3.7 Приготовление раствора уксуснокислого свинца с массовой долей 5%
Уксуснокислый свинец (см. 7.2.19) массой (5, 000 ± 0, 001) г растворяют в 95 см3 раствора уксусной кислоты (см. 7.3.4).
Примечание - Растворы реактивов по 7.3.1 - 7.3.7 хранят в стеклянной посуде с притертыми пробками или в полиэтиленовых флаконах с завинчивающимися крышками при температуре 15 °C - 25 °C. При появлении осадка, хлопьев, изменении окраски растворы заменяют свежеприготовленными.
7.3.8 Приготовление хлорнортутной или бромнортутной бумаги
Полоски бумаги (см. 7.2.8) погружают на 1 ч в раствор бромной или хлорной ртути (см. 7.3.6), после этого их укладывают на стеклянные трубки так, чтобы бумага касалась трубок лишь краями, и сушат на воздухе. Бумагу разрезают на квадраты 20 x 20 мм и хранят в емкости с притертой крышкой (см. 7.2.11).
Срок хранения бумаги - не более 1 мес.
7.3.9 Приготовление основного раствора мышьяка массовой концентрации 0, 1 мг/см3
Раствор готовят по ГОСТ 4212.
Срок хранения приготовленного раствора при комнатной температуре - не более одного года.
Примечание - Можно использовать стандартный образец состава раствора ионов мышьяка массовой концентрацией 0, 1 мг/см3.
7.3.10 Приготовление рабочего раствора мышьяка массовой концентрации мышьяка 0, 001 мг/см3
В мерную колбу вместимостью 100 см3 помещают 1 см3 основного раствора мышьяка (см. 7.3.8), объем раствора в колбе доводят до метки дистиллированной водой.
Раствор используют в день приготовления.
7.3.11 Подготовка трубки устройства для определения мышьяка
В нижнюю часть трубки устройства для определения мышьяка (см. 7.2.1) помещают тампон из ваты, предварительно смоченной раствором уксуснокислого свинца (см. 7.3.7) и отжатый почти досуха.
7.3.12 Приготовление градуировочной шкалы
Градуировочная шкала представляет собой серию образцов фильтровальной бумаги с кругами различной интенсивности окраски.
Для изготовления шкалы в четыре (пять) колбы устройства (см. 7.2.1) вместимостью 100 см3 каждая (см. 7.2.1) с меткой на 60 см3, пипеткой вместимостью 10 см3 вносят рабочий раствор (см. 7.3.10) в соответствии с таблицей 1. Приливают по 2 см3 раствора серной кислоты (см. 7.3.1), доводят объем раствора дистиллированной водой до метки 60 см3, приливают по 1 см3 раствора хлорида олова (см. 7.3.5), по одной капле раствора хлорида никеля (см. 7.3.3) и перемешивают. В колбы опускают по 5 г гранулированного цинка (см. 7.2.21), быстро закрывают пробками, в которые вставлены подготовленные по 7.3.11 трубки диаметром, указанным в таблице 1.
Таблица 1
|
Массовая доля мышьяка в продукте, % |
Масса навески, г |
Объем рабочего раствора для приготовления шкалы, см3 |
Масса мышьяка в образцах градуировочной шкалы, мг |
Диаметр трубки устройства, мм |
|
От 0, 0002 до 0, 0003 включ. |
1, 00 - 1, 10 |
- |
- |
8 |
|
Св. 0, 0003 до 0, 0006 включ. |
0, 50 - 0, 60 |
- |
- |
8 |
|
Св. 0, 0006 до 0, 0009 включ. |
0, 40 - 0, 50 |
- |
- |
8 |
|
Св. 0, 0009 до 0, 0010 включ. |
0, 30 - 0, 40 |
- |
- |
12 |
|
Св. 0, 001 до 0, 002 включ. |
0, 25 - 0, 30 |
4; 5; 6; 7 |
0, 004; 0, 005; 0, 006; 0, 007 |
12 |
|
Св. 0, 002 до 0, 005 включ. |
0, 10 - 0, 12 |
3; 4; 5; 6; 7 |
0, 003; 0, 004; 0, 005; 0, 006; 0, 007 |
12 |
|
Св. 0, 005 до 0, 008 включ. |
0, 10 - 0, 11 |
5; 6; 7; 8; 9 |
0, 005; 0, 006; 0, 007; 0, 008; 0, 009 |
12 |
На верхний срез трубки помещают квадрат бромнортутной или хлорнортутной бумаги и прижимают его отрезанной частью трубки с помощью резинок, надеваемых на стеклянные крючки. Края трубок должны быть плотно пригнанными друг к другу. Содержимое колбы осторожно перемешивают.
Через 1, 5 ч квадраты бромнортутной или хлорнортутной бумаги вынимают и погружают их в расплавленный парафин или плотно обтягивают полиэтиленовой пленкой. Градуировочную шкалу хранят не более 30 сут.
Для каждого образца градуировочной шкалы должно быть получено не менее двух квадратов с одинаковой интенсивностью окраски кружков, иначе приготовление образцов градуировочной шкалы повторяют.
7.4 Проведение испытания
7.4.1 Проведение испытаний с помощью градуировочной шкалы
В зависимости от содержания мышьяка в продукте (см. таблицу 1) взвешивают от 0, 1 до 0, 3 г кормовых фосфатов и записывают результат с точностью до четвертого десятичного знака.
Навеску помещают в колбу устройства (см. 7.2.1) вместимостью 100 см3 (см. 7.2.1), в которую приливают 50 см3 раствора соляной кислоты (см. 7.3.2) и доводят дистиллированной водой до метки 60 см3.
Далее в колбу добавляют 1 см3 раствора хлорида олова (см. 7.3.5), одну каплю раствора хлорида никеля (см. 7.3.3) и перемешивают. Затем опускают 5, 0 г гранул цинка (см. 7.2.21) и быстро закрывают пробкой, в которую вставлена подготовленная по 7.3.10 трубка диаметром, указанным в таблице 1. Через 1, 5 ч из трубки вынимают квадрат бромнортутной или хлорнортутной бумаги и погружают его в расплавленный парафин или плотно обтягивают полиэтиленовой пленкой.
7.4.2 Проведение испытаний с помощью раствора сравнения
В зависимости от содержания мышьяка в продукте взвешивают от 0, 3 до 1, 1 г кормовых фосфатов (см. таблицу 1) и записывают результат с точностью до четвертого десятичного знака.
Навеску помещают в колбу устройства (см. 7.2.1).
Для кормовых фосфатов с массовой долей мышьяка от 0, 0002% до 0, 0009% используют колбу устройства вместимостью 250 см3 (см. 7.2.1), в которую приливают 50 см3 раствора соляной кислоты (см. 7.3.2) и кипятят в течение 3 - 5 мин. После охлаждения в колбу приливают 150 см3 дистиллированной воды.
Примечание - Допускается использование мутного раствора.
Для кормовых фосфатов с массовой долей мышьяка свыше 0, 0009% до 0, 001% включительно используют колбу устройства вместимостью 100 см3 (см. 7.2.1), в которую приливают 50 см3 раствора соляной кислоты (см. 7.3.2) и доводят дистиллированной водой до метки 60 см3.
Далее в колбу добавляют 1 см3 раствора хлорида олова (см. 7.3.5), одну каплю раствора хлорида никеля (см. 7.3.3) и перемешивают, затем опускают 5, 0 г гранул цинка (см. 7.2.21) и быстро закрывают пробкой, в которую вставлена подготовленная по 7.3.10 трубка диаметром, указанным в таблице 1. Через 1, 5 ч вынимают квадрат бромнортутной или хлорнортутной бумаги.
Одновременно получают окрашенный квадрат бромнортутной или хлорнортутной бумаги от раствора сравнения, который готовят одновременно с анализируемым, в тех же условиях, с теми же реактивами с добавлением рабочего раствора, содержащего мышьяк в количестве, указанном в нормативном документе на конкретный продукт.
7.5 Обработка результатов
При определении содержания мышьяка по градуировочной шкале продукт считают соответствующим требованиям нормативного документа, если окраска бромнортутной или хлорнортутной бумаги, окрашенной от анализируемого раствора, не будет интенсивнее окраски образца градуировочной шкалы, содержащего количество мышьяка, указанное в нормативном документе на конкретный продукт.
При определении содержания мышьяка с помощью раствора сравнения продукт считают соответствующим требованиям нормативного документа, если окраска бромнортутной или хлорнортутной бумаги, окрашенной от анализируемого раствора, не будет интенсивнее окраски бумаги от раствора сравнения.
8.1 Сущность метода
Метод основан на восстановлении мышьяка до мышьяковистого водорода, его поглощении раствором йода, окрашивании раствором молибденовокислого аммония в присутствии аскорбиновой кислоты и фотометрическом измерении оптической плотности.
8.2 Средства измерений, вспомогательные устройства, реактивы и материалы
8.2.1 Устройство для отгонки и поглощения мышьяка (см. рисунок 2) или аналогичное.
1 - колба Кн-2-250-40 ХС по ГОСТ 25336; 2 - вата, пропитанная раствором уксуснокислого свинца; 3 - расширение для ваты; 4 - соединительная трубка со шлифом; 5 - мерная колба вместимостью 25 см2
Рисунок 2 - Схема устройства для отгонки и поглощения мышьяка
8.2.2 Спектрофотометр, позволяющий проводить измерения при длине волны 840 нм с кюветами с толщиной поглощающего свет слоя 30 мм или фотоэлектроколориметр, позволяющий проводить измерения при длине волны 750 нм, с кюветами с толщиной поглощающего свет слоя 50 мм.
8.2.3 Весы неавтоматического действия по ГОСТ R OIML 76-1 с пределами допускаемой абсолютной погрешности ± 0, 001 г и специального класса точности с пределами допускаемой погрешности не более ± 0, 0005 г.
8.2.4 Шкаф сушильный лабораторный с терморегулятором, обеспечивающий поддержание температуры 100 °C - 105 °C с погрешностью ± 2 °C.
8.2.5 Колбы мерные 1(2)-25(100, 1000)-2 по ГОСТ 1770.
8.2.6 Бюретки 1-1(2)-2-25-0, 1 по ГОСТ 29251.
8.2.7 Дозаторы пипеточные одноканальные переменного объема 10 - 100 мм3 или 100 - 1000 мм3, с метрологическими характеристиками по ГОСТ 28311.
8.2.8 Пипетки 1(1а, 2)-1(10)-2 по ГОСТ 29169.
8.2.9 Цилиндры 1(2, 3, 4)-25(50, 250)-2 по ГОСТ 1770.
8.2.10 Электроплита по ГОСТ 14919.
8.2.11 Фильтры обеззоленные "синяя лента".
8.2.12 Баня водяная или термостат, обеспечивающий поддержание температуры (100 ± 2) °C.
8.2.13 Вата медицинская гигроскопическая по ГОСТ 5556.
8.2.14 Фарфоровая ступка по ГОСТ 9147.
8.2.15 Вода дистиллированная по ГОСТ 6709.
8.2.16 Аммоний молибденовокислый по ГОСТ 3765.
8.2.17 Йод по ГОСТ 4159, ч.д.а.
8.2.18 Калий йодистый по ГОСТ 4232.
8.2.19 Кислота аскорбиновая с содержанием основного вещества не менее 98%.
8.2.20 Кислота серная по ГОСТ 4204.
8.2.21 Кислота соляная по ГОСТ 3118, плотностью 1, 19 г/см3.
8.2.22 Кислота уксусная по ГОСТ 61, х.ч. ледяная.
8.2.23 Натрия гидроокись по ГОСТ 4328.
8.2.24 Никеля (II) хлорид 6-водный по ГОСТ 4038.
8.2.25 Олова (II) хлорид 2-водный с массовой долей основного вещества не менее 99, 0%.
8.2.26 Мышьяка (III) окись с массовой долей основного вещества не менее 99, 0%.
8.2.27 Свинец (II) уксуснокислый 3-водный по ГОСТ 1027.
8.2.28 Цинк гранулированный металлический с массовой долей основного вещества не менее 99, 99%.
Примечание - Допускается применение средств измерения с аналогичными метрологическими и техническими характеристиками, а также реактивов по качеству не хуже указанных.
8.3 Подготовка к проведению испытаний
8.3.1 Растворы реактивов хранят в стеклянной посуде с притертыми пробками или в полиэтиленовых флаконах с завинчивающимися крышками при температуре 15 °C - 25 °C неограниченное время, если настоящим стандартом не установлены другие требования. При появлении осадка, хлопьев, изменении окраски растворы заменяют свежеприготовленными.
8.3.2 Приготовление раствора молибденовокислого аммония с массовой долей 1%
В фарфоровой ступке растирают 1, 0 г молибденовокислого аммония (см. 8.2.16) с нагретой до температуры 80 °C - 90 °C смесью, состоящей из 60 см3 дистиллированной воды и 14 см3 серной кислоты (см. 8.2.20), раствор количественно переносят в мерную колбу вместимостью 100 см3 и после охлаждения доводят объем раствора до метки дистиллированной водой. Если раствор мутный, то его фильтруют.
8.3.3 Приготовление раствора йода молярной концентрации c (1/2 J2) = 0, 005 моль/дм3 (0, 005 н)
Раствор йода молярной концентрации c (1/2 J2) = 0, 1 моль/дм3 (0, 1 н) готовят по ГОСТ 25794.2.
В мерную колбу вместимостью 1000 см3 помещают 50 см3 раствора йода молярной концентрации c (1/2 J2) = 0, 1 моль/дм3 и объем раствора в колбе доводят до метки дистиллированной водой.
Раствор йода молярной концентрации c (1/2 J2) = 0, 005 моль/дм3 (0, 005 н) готовят перед использованием.
8.3.4 Приготовление раствора аскорбиновой кислоты массовой долей 1%
В мерную колбу вместимостью 100 см3 помещают 1 г аскорбиновой кислоты (см. 8.2.19) и растворяют в дистиллированной воде, объем раствора доводят до метки дистиллированной водой.
Раствор готовят перед применением.
8.3.5 Приготовление раствора соляной кислоты с массовой долей 20%
Приготовление раствора соляной кислоты с массовой долей 20% - по 7.3.2.
8.3.6 Приготовление раствора уксусной кислоты с массовой долей 5%
Приготовление раствора уксусной кислоты с массовой долей 5% - по 7.3.4.
8.3.7 Приготовление раствора гидроокиси натрия молярной концентрации 0, 1 моль/дм3
В мерную колбу вместимостью 100 см3 помещают (4, 000 ± 0, 001) г гидроокиси натрия (см. 8.2.23) и доводят объем раствора до метки дистиллированной водой.
8.3.8 Приготовление раствора хлорида никеля с массовой долей 10%
Приготовление раствора хлорида никеля с массовой долей 10% - по 7.3.3.
8.3.9 Приготовление раствора хлорида олова с массовой долей 10%
Приготовление раствора хлорида олова с массовой долей 10% - по 7.3.5.
8.3.10 Приготовление раствора уксуснокислого свинца с массовой долей 5%
Приготовление раствора уксуснокислого свинца с массовой долей 5% - по 7.3.7.
8.3.11 Приготовление основного раствора мышьяка массовой концентрации 0, 1 мг/см3
Приготовление основного раствора мышьяка с массовой концентрацией 0, 1 мг/см3 - по 7.3.9.
8.3.12 Приготовление рабочего раствора мышьяка массовой концентрации 0, 001 мг/см3
Приготовление рабочего раствора мышьяка с массовой концентрацией мышьяка 0, 001 мг/см3 - по 7.3.10.
8.3.13 Подготовка ваты
Вату пропитывают раствором уксуснокислого свинца (см. 8.3.10), отжимают почти досуха и помещают в расширенную часть соединительной трубки.
8.3.14 Приготовление градуировочных, контрольного растворов и построение градуировочного графика
8.3.14.1 В пять конических колб (см. рисунок 2) бюреткой вместимостью 25 см3 вносят рабочий раствор мышьяка в соответствии с таблицей 2. В шестую коническую колбу рабочий раствор мышьяка не вносят, раствор в данной колбе будет контрольным. В каждую коническую колбу приливают 40 см3 раствора соляной кислоты (см. 8.3.5) и дистиллированную воду до 100 см3, добавляют 2 см3 раствора хлорида олова (см. 8.3.9) и одну каплю раствора хлорида никеля (см. 8.3.8).
Таблица 2
|
Массовая доля мышьяка в продукте, % |
Масса навески, г |
Объем рабочего раствора для построения градуировочного графика, см3 |
Масса мышьяка в градуировочном растворе, мг |
|
От 0, 0002 до 0, 0005 включ. |
2, 0 - 3, 0 |
2; 5; 10; 15; 20 |
0, 002; 0, 005; 0, 010; 0, 015; 0, 020 |
|
Св. 0, 0005 до 0, 0010 включ. |
1, 0 - 1, 5 | ||
|
Св. 0, 001 до 0, 002 включ. |
0, 5 - 0, 8 | ||
|
Св. 0, 002 до 0, 003 включ. |
0, 3 - 0, 5 | ||
|
Св. 0, 003 до 0, 005 включ. |
0, 2 - 0, 3 | ||
|
Св. 0, 005 до 0, 008 включ. |
0, 15 - 0, 20 |
В шесть мерных колб вместимостью 25 см3 наливают поглотительный раствор - по 15 см3 раствора йода (см. 8.3.3) и 0, 1 см3 раствора гидроокиси натрия (см. 8.3.7).
8.3.14.2 В конические колбы вносят по 4, 5 - 5, 0 г металлического цинка (см. 8.2.28) и быстро присоединяют газоотводные трубки, концы которых опущены в мерные колбы с поглотительным раствором. Отгоняют мышьяковистый водород в течение 1, 5 ч. После этого колбы с поглотительным раствором отделяют от устройств и обмывают концы трубок небольшим количеством воды. В колбы добавляют по 2, 5 см3 молибденовокислого аммония (см. 8.3.2), по 2 см3 раствора аскорбиновой кислоты (см. 8.3.4), дистиллированную воду до уровня на 1 - 1, 5 см ниже метки и перемешивают. Колбы помещают на кипящую водяную баню или в термостат с температурой 100 °C на 10 мин для развития окраски. После охлаждения растворов объем в мерных колбах доводят водой до метки, тщательно перемешивают.
Оптическую плотность полученных растворов измеряют относительно контрольного раствора на спектрофотометре при длине волны 840 нм в кюветах с толщиной поглощающего свет слоя 30 мм или на фотоэлектроколориметре при длине волны 750 нм в кюветах с толщиной поглощающего свет слоя 50 мм (см. 8.2.2).
8.3.14.3 Строят градуировочный график, откладывая по оси абсцисс содержащиеся в градуировочных растворах массы мышьяка в миллиграммах, а по оси ординат соответствующие им значения оптических плотностей. Каждая точка градуировочного графика должна представлять собой среднеарифметическое значение результатов двух параллельных испытаний.
8.4 Проведение испытания
В зависимости от содержания мышьяка в продукте взвешивают от 0, 15 до 3, 0 г кормовых фосфатов (см. таблицу 2) и записывают результат с точностью до четвертого десятичного знака.
Навеску помещают в коническую колбу устройства для отгонки и поглощения мышьяка (см. 8.2.1), приливают 40 см3 раствора соляной кислоты (см. 8.3.5). При определении массовой доли мышьяка в кормовом трикальцийфосфате колбу с раствором дополнительно нагревают до кипения и кипятят 3 мин, затем охлаждают. К раствору добавляют дистиллированную воду до объема 100 см3, 2 см3 раствора хлорида олова (см. 8.3.9) и одну каплю раствора хлорида никеля (см. 8.3.8).
В мерную колбу вместимостью 25 см3 наливают поглотительный раствор - 15 см3 раствора йода (см. 8.3.3) и 0, 1 см3 раствора гидроокиси натрия (см. 8.3.7).
Далее собирают устройство для отгонки и поглощения мышьяка и выполняют испытание в соответствии с 8.3.14.2. Массу мышьяка в полученном растворе определяют по градуировочному графику.
8.5 Обработка результатов
8.5.1 Массовую долю мышьяка X, %, вычисляют по формуле
(1)
где m1 - масса мышьяка, найденная по градуировочному графику, мг;
100 - коэффициент перевода результата в проценты;
m - масса навески, г;
1000 - коэффициент согласования единиц массы.
За окончательный результат испытаний массовой доли мышьяка в пробе принимают округленное до четвертого десятичного знака среднеарифметическое значение результатов двух параллельных испытаний, выполненных в условиях повторяемости и удовлетворяющих условию приемлемости (см. 8.6.2).
8.5.2 Массовую долю мышьяка X, мг/кг, вычисляют по формуле
(2)
где m1 - масса мышьяка, найденная по градуировочному графику, мг;
m - масса навески, г;
10-3 - коэффициент согласования единиц массы.
Вычисления проводят с округлением до целого числа.
За результат испытаний массовой доли мышьяка в пробе принимают среднеарифметическое значение результатов двух параллельных испытаний, для которых выполняется условие повторяемости (см. 10.2).
8.6 Контроль точности результатов испытаний
8.6.1 Контроль точности результатов испытаний должен соответствовать ГОСТ ИСО 5725-6 (раздел 5).
8.6.2 Приемлемость результатов испытаний, полученных в условиях повторяемости (сходимости)
Абсолютное расхождение между результатами двух отдельных независимых испытаний, полученными одним и тем же методом на одной лабораторной пробе в одной и той же лаборатории одним и тем же оператором на одном и том же экземпляре оборудования в течение короткого промежутка времени при доверительной вероятности P = 0, 95, не должно превышать предела повторяемости (сходимости) r, приведенного в таблице 3.
Таблица 3
Метрологические характеристики определения массовой доли мышьяка при доверительной вероятности P = 0, 95
В процентах
|
Массовая доля мышьяка в пробе |
Предел повторяемости (допускаемое расхождение между результатами двух параллельных испытаний) r |
Предел воспроизводимости (допускаемое расхождение между результатами испытаний в двух разных лабораториях) R |
|
От 0, 0002 до 0, 0009 включ. |
0, 00005 |
0, 0001 |
|
Св. 0, 0009 до 0, 0080 включ. |
0, 0005 |
0, 001 |
Если расхождение между результатами параллельных испытаний превышает предел повторяемости, то испытание повторяют, начиная со взятия навески пробы.
Если расхождение между результатами параллельных испытаний вновь превышает предел повторяемости, выясняют и устраняют причины плохой повторяемости результатов испытаний.
8.6.3 Приемлемость результатов испытаний, полученных в условиях воспроизводимости
Абсолютное расхождение между результатами двух отдельных испытаний, полученными одним и тем же методом на идентичных пробах в разных лабораториях разными операторами на различных экземплярах оборудования при доверительной вероятности P = 0, 95, не должно превышать предела воспроизводимости R, приведенного в таблице 3.
При выполнении этого условия приемлемы оба результата испытаний, и в качестве окончательного может быть использовано их среднеарифметическое значение. Если это условие не соблюдается, могут быть использованы методы оценки приемлемости результатов испытаний согласно ГОСТ ИСО 5725-6 (раздел 5).
Результаты испытаний оформляют в виде протокола испытаний, который должен включать следующее:
- информацию, необходимую для полной идентификации пробы;
- использованный метод отбора проб;
- использованный метод анализа, со ссылкой на настоящий стандарт;
- обстоятельства, которые могли повлиять на результат испытания;
- полученный результат испытания.


