Введен в действие постановлением Госстроя РФ от 25 декабря 1997 г. N 18-73
Межгосударственный стандарт ГОСТ 25809-96
"СМЕСИТЕЛИ И КРАНЫ ВОДОРАЗБОРНЫЕ. ТИПЫ И ОСНОВНЫЕ РАЗМЕРЫ"
Water supply mixing vallves and taps. Types and principal dimensions
Дата введения 1 января 1998 г.
Взамен ГОСТ 25809-83
1 Область применения
Настоящий стандарт распространяется на водоразборные смесители и краны для умывальников, рукомойников, моек, раковин, ванн, душа, биде, предназначенные для подачи и смешения холодной и горячей (температурой до 75°С) воды, поступающей из централизованных или местных систем холодного и горячего водоснабжения при рабочем давлении от 0, 05 до 0, 63 МПа или от 0, 05 до 1, 0 МПа.
Обязательные требования изложены в 3.2, 3.4-3.16.
2 Нормативные ссылки
В настоящем стандарте использованы ссылки на следующие стандарты:
ГОСТ 8870-79 Колонки водогрейные для ванн. Технические условия.
ГОСТ 19681-94 Арматура санитарно-техническая водоразборная. Общие технические условия.
3 Типы и основные размеры
3.1. Обозначения, определяющие тип смесителя или крана: См - смеситель, Кр - кран, Ум - для умывальника, М - для мойки, В - для ванны, ВУ - общий для ванны и умывальника, Дш - для душа, Бд - для биде, К - для водогрейной колонки, Д - двухрукояточный, О - однорукояточный, Л - локтевой, Р - с подводками в раздельных отверстиях, Ц - центральный (с подводками, размещенными в одном отверстии), Б - набортный, Н - настенный, З - застенный, Шл - с душевой сеткой на гибком шланге, Шт - с душевой сеткой на штанге, Тр - с душевой сеткой на стационарной трубке, Щб - с щеткой с набортным креплением, Щн - с щеткой с настенным креплением, А - излив с аэратором, Ив - излив выдвижной, Ст - излив со струевыпрямителем, р - излив с развальцованным носиком.
3.2. Условное обозначение типа смесителя или крана в технической документации или при заказе должно состоять из букв См - для смесителя или Кр - для крана, типа смесителя или крана, указанного последовательным набором буквенных обозначений, приведенных в 3.1, и обозначения настоящего стандарта.
В условное обозначение настенного смесителя перед обозначением настоящего стандарта добавляется цифра 10 или 15 в зависимости от межцентрового расстояния штуцеров 100 или 150 мм.
Пример условного обозначения типа смесителя для умывальника однорукояточного, центрального, набортного с аэратором
См-УмОЦБА ГОСТ 25809-96
То же, для мойки двухрукояточного, центрального, набортного с аэратором
См-МДЦБА ГОСТ 25809-96
То же, для ванны однорукояточного, раздельного, настенного, с душевой сеткой на гибком шланге и штанге, со струевыпрямителем и межцентровым расстоянием 150 мм
См-ВОРНШлШтСт-15 ГОСТ 25809-96
То же, общего для ванны и умывальника, двухрукояточного, раздельного, настенного, с душевой сеткой на гибком шланге, с аэратором и межцентровым расстоянием 150 мм
См-ВУДРНШлА-15 ГОСТ 25809-96
То же, для душа двухрукояточного, раздельного, настенного, с душевой сеткой на стационарной трубке и межцентровым расстоянием 150 мм
См-ДшДРНТр-15 ГОСТ 25809-96
3.3. Форма и конструкция корпусов смесителей и кранов, переключателей воды, изливов, аэраторов, душевых трубок, шлангов, душевых сеток, щеток, маховичков вентильных головок или рукояток, деталей присоединения смесителей и кранов к сетям холодной и горячей воды, крепления душевых сеток к стене или на корпусе смесителя настоящим стандартом не регламентируются, а определяются рабочими чертежами.
3.4. Настенные смесители изготавливают с расстоянием между центрами штуцеров для присоединения патрубков подвода воды, равным 100 и 150 мм в соответствии с заказами потребителей.
3.5. Изливы смесителей и кранов изготавливают с аэратором, струевыпрямителем или развальцованным носиком.
3.6. Основные и присоединительные размеры смесителей и кранов и предельные отклонения от размеров должны соответствовать указанным на рисунках 1-29 и в таблицах 1-11.
Таблица 1
|
L
|
H
|
Область применения
|
|
мм, не менее
|
|
110
|
70
|
В смесителях для умывальников
|
|
180
|
130
|
В смесителях для моек с одной чашей
|
|
240
|
130
|
То же, с двумя чашами
|
Рисунок 1 - Смеситель для умывальника и мойки двухрукояточный центральный набортный, излив с аэратором. Типы См-УмДЦБА, См-МДЦБА
Таблица 2
|
L
|
H
|
Область применения
|
|
мм, не менее
|
|
110
|
70
|
В смесителях для умывальников
|
|
180
|
130
|
В смесителях для моек с одной чашей
|
|
240
|
130
|
То же, с двумя чашами
|
Рисунок 2 - Смеситель для умывальника и мойки двухрукояточный центральный набортный, излив с аэратором. Типы См-УмДЦБА, См-МДЦБА
Рисунок 3 - Смеситель для умывальника однорукояточный локтевой с подводками в раздельных отверстиях настенный. Тип См-УмОЛРН
Рисунок 4 - Смеситель для умывальника двухрукояточный с подводками в раздельных отверстиях застенный, излив с аэратором. Тип См-УмДРЗА
Рисунок 5 - Смеситель для умывальника двухрукояточный с подводками в раздельных отверстиях настенный, излив с аэратором. Тип См-УмДРНА
Таблица 3
|
L
|
H
|
Область применения
|
|
мм, не менее
|
|
110
|
70
|
В смесителях для умывальников
|
|
180
|
130
|
В смесителях для моек с одной чашей
|
|
240
|
130
|
То же, с двумя чашами
|
Рисунок 6 - Смеситель для умывальника и мойки двухрукояточный с подводками в раздельных отверстиях набортный, излив с аэратором. Типы См-УмДРБА, См-МДРБА
Таблица 4
|
L
|
H
|
Область применения
|
|
мм, не менее
|
|
110
|
70
|
В смесителях для умывальников
|
|
180
|
130
|
В смесителях для моек с одной чашей
|
|
240
|
130
|
То же, с двумя чашами
|
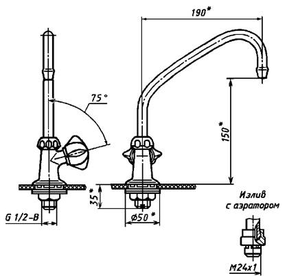
Рисунок 7 - Смеситель для умывальника и мойки однорукояточный центральный набортный, излив с аэратором. Типы См-УмОЦБА, См-МОЦБА
Таблица 5
|
L, мм, не менее
|
Область применения
|
|
180
|
В смесителях для моек с одной чашей
| |
|
240
|
То же, с двумя чашами
| |
Рисунок 8 - Смеситель для мойки двухрукояточный центральный набортный со щеткой с набортным креплением, излив с аэратором. Тип См-МДЦБЩбА
Таблица 6
|
L, мм, не менее
|
Область применения
|
|
180
|
В смесителях для моек с одной чашей
| |
|
240
|
То же, с двумя чашами
| |
Рисунок 9 - Смеситель для мойки двухрукояточный центральный набортный со щеткой с настенным креплением, излив с аэратором. Тип См-МДЦБЩнА
Таблица 7
|
L, мм, не менее
|
Область применения
|
|
110
|
В смесителях для умывальников
| |
|
180
|
В смесителях для моек с одной чашей
| |
|
240
|
То же, с двумя чашами
| |
Рисунок 10 - Смеситель для умывальника и мойки двухрукояточный с подводками в раздельных отверстиях настенный, излив с аэратором. Типы См-УмДРНА, См-МДРНА
Таблица 8
|
L, мм, не менее
|
Область применения
|
|
180
|
В смесителях для моек с одной чашей
| |
|
240
|
То же, с двумя чашами
| |
Рисунок 11 - Смеситель для мойки двухрукояточный с подводками в раздельных отверстиях настенный со щеткой с настенным креплением, излив с развальцованным носиком. Тип См-МДРНЩнр

____________
* Справочный размер.
Рисунок 12 - Смеситель общий для ванны и умывальника двухрукояточный с подводками в раздельных отверстиях настенный с душевой сеткой на гибком шланге, излив с развальцованным носиком. Тип См-ВУДРНШлр
Рисунок 13 - Смеситель общий для ванны и умывальника двухрукояточный с подводками в раздельных отверстиях настенный с душевой сеткой на штанге, излив с развальцованным носиком. Тип См-ВУДРНШтр
______________
* Справочный размер.
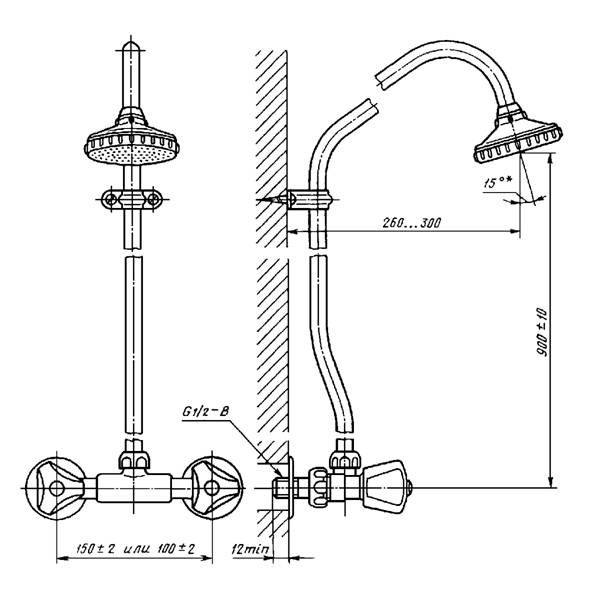
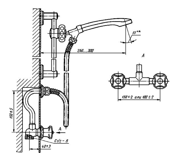
Рисунок 14 - Смеситель для ванны двухрукояточный с подводками в раздельных отверстиях настенный с душевой сеткой на гибком шланге. Тип См-ВДРНШл
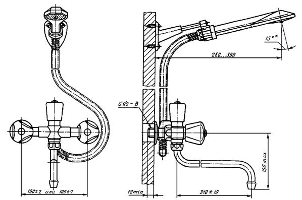
Рисунок 15 - Смеситель для ванны однорукояточный с подводками в раздельных отверстиях настенный с душевой сеткой на гибком шланге, излив с аэратором. Тип См-ВОРНШлА
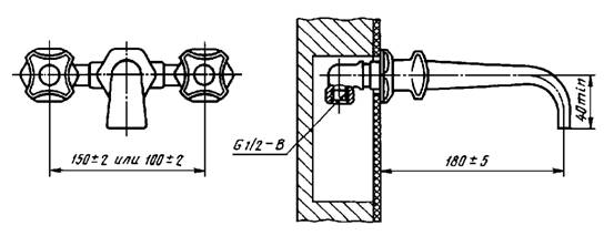
Рисунок 16 - Смеситель для ванны двухрукояточный с подводками в раздельных отверстиях застенный. Тип См-ВДРЗ
_____________
* Справочный размер.
Рисунок 17 - Смеситель для душа двухрукояточный с подводками в раздельных отверстиях застенный с душевой сеткой на штанге. Тип См-ДшДРЗШт
_____________
* Справочный размер.
Рисунок 18 - Смеситель для душа двухрукояточный с подводками в раздельных отверстиях настенный с душевой сеткой на гибком шланге. Тип См-ДшДРНШл
________________
* Справочный размер.
Рисунок 19 - Смеситель для душа двухрукояточный с подводками в раздельных отверстиях настенный с душевой сеткой на стационарной трубке. Тип См-ДшДРНТр
_____________
* Справочный размер.
Таблица 9 В миллиметрах
|
А ± 10
|
В ± 20
|
Область применения
|
|
1112
|
530
|
В смесителях к колонкам типов КВЭ-I и КВЦ-I ГОСТ 8870
|
|
800
|
652
|
То же, типа КВЭ-II
|
L = (160 ± 5) мм - в смесителях к колонке только для ванн;
L = (310 ± 6) мм - в смесителях к колонке, общих для ванны и умывальника
Рисунок 20 - Смеситель для водогрейной колонки двухрукояточный настенный с душевой сеткой на стационарной трубке. Тип См-КДНТр
Рисунок 21 - Смеситель для бидэ двухрукояточный центральный набортный. Тип См-БдДЦБ
Рисунок 22 - Основные размеры гибких медных подводок для присоединения центральных набортных смесителей к сетям холодной и горячей воды
Таблица 10
|
Условный проход арматуры Dу, мм
|
Размер резьбы
|
|
15
|
М18´1-6Н, G1/2-B
|
|
20
|
G1/2-B
|
Рисунок 23 - Присоединительные размеры корпусов вентильных головок водоразборной и смесительной санитарно-технической арматуры
Для вентильных головок с вращательным и возвратно-поступательным движением клапана
Для вентильных головок с керамическими запорными элементами
Рисунок 24 - Основные размеры седла клапана и резьб для присоединения вентильных головок
С внешней резьбой
С внутренней резьбой
Рисунок 25 - Размеры резьбы узла присоединения аэратора к изливам
Рисунок 26 - Размеры конца шпинделя вентильных головок водоразборной санитарно-технической арматуры
Таблица 11 Размеры в миллиметрах
|
Тип крана
|
Резьба трубная d
|
Строительная длина L ±3
|
Диаметр уплотнительного бурта D -1
|
Длина цапфы l ±1
|
|
КрН15
|
G 1/2-B
|
90
|
30
|
13
|
|
КрН20
|
G 3/4-В
|
105
|
35
|
14
|
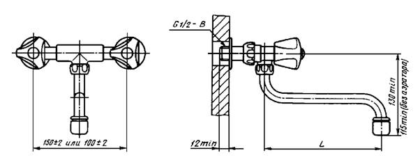
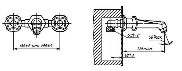
Рисунок 27 - Кран водоразборный настенный. Тип КрН
_______________
* Справочный размер.
Рисунок 28 - Кран водоразборный набортный. Типы КрЦБр, КрЦБА
_____________
* Справочный размер.
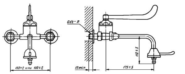
Рисунок 29 - Кран туалетный настенный. Тип КрНр
3.7. Центральные смесители для умывальников, моек изготавливают с литым тройником или с гибкими трубками, предназначенными для присоединения смесителя к сетям холодной и горячей воды, основные размеры которых указаны на рисунке 22.
3.8. Основные размеры седла клапана и резьбы седла для присоединения вентильных головок должны соответствовать указанным на рисунке 24.
3.9. Размер резьбы накидных гаек и штуцеров для присоединения душевых трубок и шлангов должен быть G 1/2-В, а поворотных изливов - G 3/4-В.
3.10. Размер резьбы узла присоединения душевой сетки к душевой трубке и трубке рукоятки гибкого шланга должен быть G 1/2-В.
3.11. Размеры резьбы узла присоединения аэратора к изливам должны соответствовать указанным на рисунке 25.
3.12. Смесители и краны центральные набортные должны иметь размер корпуса, обеспечивающий их монтаж на отверстии мойки, раковины, умывальника или рукомойника диаметром 34 мм.
3.13. Гибкие подводки центральных и набортных смесителей (рисунок 22) должны обеспечивать удобство монтажа (гибку без применения дополнительного инструмента).
3.14. Патрубки для присоединения настенных смесителей к сетям холодной и горячей воды должны иметь эксцентриситет не менее 3 мм и внутренние реборды или наружные лыски для завинчивания их в муфту или угольник.
3.15. Конструкция смесителей к водогрейным колонкам должна исключать возможность повышения давления в водяном баке колонки выше 0, 1 МПа.
3.16. Предприятия-изготовители должны поставлять смесители и краны комплектно. В комплект входит смеситель или кран со всеми деталями (облицовочные шайбы, патрубки или узлы присоединения к сетям холодной или горячей воды, детали крепления, прокладки и т.д.), предусмотренными технической документацией.
3.17. Технические требования, правила приемки, методы испытаний, маркировка, упаковка, транспортирование, хранение, указания по монтажу и эксплуатации смесителей и кранов и гарантии изготовителя - по ГОСТ 19681.
3.18. Время действия порционных полуавтоматических смесителей и кранов не должно превышать 60 с.