электронный сборник нормативных документов по строительству
Обновления
27.04.2026 22:55
электронный сборник нормативных документов по строительству

ГОСТ 26601-85 ОКНА И БАЛКОННЫЕ ДВЕРИ ДЕРЕВЯННЫЕ ДЛЯ МАЛОЭТАЖНЫХ ЖИЛЫХ ДОМОВ. ТИПЫ, КОНСТРУКЦИЯ И РАЗМЕРЫ

Утв. Постановлением Госстроя СССР от 7 мая 1985 г. N 64
Государственный стандарт Союза ССР ГОСТ 26601-85
"ОКНА И БАЛКОННЫЕ ДВЕРИ ДЕРЕВЯННЫЕ ДЛЯ МАЛОЭТАЖНЫХ ЖИЛЫХ ДОМОВ. ТИПЫ, КОНСТРУКЦИЯ И РАЗМЕРЫ"

Wooden windows and balcony doors for one-two storey dwelling-houses. Types, structure and dimensions

Срок введения установлен с 1 января 1986 г.

Настоящий стандарт распространяется на деревянные окна и балконные двери с двойным и тройным остеклением, предназначаемые для жилых домов высотой не более двух этажей.

Окна и балконные двери с двойным и тройным остеклением соответственно должны изготовляться со следующими показателями: приведенное сопротивление теплопередаче R0 - 0, 42 и 0, 56 м2·°С/Вт, сопротивление воздухопроницанию RU - 0, 5 м2·ч·Па/кг при 10 Па, общий коэффициент светопропускания τ - 0, 52 и 0, 38, индекс звукоизоляции воздушного шума Iн - 28 и 32 дБ.

1. Типы, размеры и марки

1.1. Окна и балконные двери по настоящему стандарту подразделяют на две серии:

РМ - с раздельными переплетами и дверными полотнами с двойным остеклением;

РСМ - с раздельноспаренными переплетами и дверными полотнами с тройным остеклением.

1.2. Типы и габаритные размеры окон и балконных дверей должны соответствовать указанным на черт.1.

1.3. По требованию потребителей одностворные окна и балконные двери, в том числе с форточными створками, должны изготовляться также и левыми, а окна многостворные с несимметричным рисунком - в негативном (зеркальном) исполнении.

1.4. Устанавливают следующую структуру условного обозначения (марки) окон и балконных дверей.

 Х   Х   Х  -  Х   Х   Х

─┬─ ─┬─ ─┬─   ─┬─ ─┬─ ─┬─

 │   │   │     │   │   │

 │   │   │     │   │   │       Вид изделия: О - окно; Б - балконная дверь

 └───┼───┼─────┼───┼───┼──────

     │   │     │   │   │       Серия изделия: РМ; РСМ

     └───┼─────┼───┼───┼──────

         │     │   │   │       Размер по высоте, дм

         └─────┼───┼───┼──────

               │   │   │       Размер по ширине, дм

               └───┼───┼──────

                   │   │       Буквы, означающие:  А  -  вариант  рисунка

                   └───┼────── окна одного размера; Н - окно в негативном

                       │       исполнении; Л - левое окно  или  балконная

                       │       дверь

                       │

                       │       Обозначение настоящего стандарта

                       └──────

В конце марки окон и балконных дверей с одинарным остеклением перед обозначением стандарта добавляют цифру 1 через тире.

Примеры условных обозначений

Окно правое серии РМ высотой 15 и шириной 6 дм (вариант А):

ОРМ 15-6А ГОСТ 26601-85

То же, левое:

ОРМ 15-6АЛ ГОСТ 26601-85

Дверь балконная серии РСМ высотой 22 и шириной 7, 5 дм:

БРСМ 22-7, 5 ГОСТ 26601-85

Окно серии РМ высотой 12 и шириной 11 дм, с несимметричным рисунком окна:

ОРМ 12-11 ГОСТ 26601-85

То же, в негативном исполнении:

ОРМ 12-11Н ГОСТ 26601-85

2. Требования к конструкции

2.1. Окна и балконные двери должны изготовляться в соответствии с требованиями ГОСТ 23166-78, настоящего стандарта по рабочим чертежам, утвержденным в установленном порядке.

2.2. Конструкция, форма, основные размеры и марки окон и балконных дверей серии РМ должны соответствовать указанным на черт. 2-4, а размеры сечений деталей и притворов - на черт. 5-12.

2.3. Конструкция, форма, основные размеры и марки окон и балконных дверей серии РСМ должны соответствовать указанным на черт. 13-15, а размеры сечений деталей и притворов - на черт. 16-23.

2.4. Размеры на общих видах окон и балконных дверей даны в свету, по наружным сторонам створок, форточек и полотен дверей и по наружным сторонам коробок.

На чертежах, приведенных в настоящем стандарте, указаны в миллиметрах размеры неокрашенных деталей и изделий.

2.5. Для остекления окон и балконных дверей следует применять стекло толщиной 2, 0-2, 5 мм по ГОСТ 111-78.

2.6. Места установки уплотняющих прокладок в притворах окон и балконных дверей указаны на чертежах сечений.

2.7. По периметру оконных и дверных коробок на боковых поверхностях допускается по требованию потребителей выборка четверти для уплотнения стыка при соединении блоков друг с другом.

2.8. Бруски коробок допускается изготовлять клееными по ширине или соединять гвоздями после антисептирования или окраски сопрягаемых поверхностей, при этом соединение не должно иметь зазоров и провесов.

2.9. В зданиях для климатических районов, где по теплотехническим расчетам не требуются окна и балконные двери с двойным остеклением, а также в неотапливаемых зданиях и помещениях должны применяться окна и балконные двери серии РМ без внутренних створок, при этом ширина сечения коробки может быть уменьшена до 74 мм.

2.10. Для остекления веранд должны применяться наружные створки окон марок ОРМ 15-6 и ОРМ 15-6А.

2.11. Примеры расположения приборов в окнах и балконных дверях приведены в рекомендуемом приложении 1.

2.12. Спецификации стекол для окон и балконных дверей серий РМ и РСМ приведены в справочных приложениях 2 и 3.

Типы и габаритные размеры окон и балконных дверей

image001.jpg

Черт.1

Примечания:

1. Схемы изделия изображены со стороны фасада.

2. Цифры над схемами изделий означают размеры изделий в модулях (М - модуль, равный 100 мм).

3. Окна шириной 1080 мм предназначены для деревянных домов заводского изготовления, выпускаемых по типовым проектам с панелями шириной 1200 мм.

Серия РМ

Конструкция, форма, основные размеры и марки окон и балконных дверей с двойным остеклением

image002.jpg

Черт.2

image003.jpg

Черт.3

image004.jpg

Черт.4

Сечения по притворам окон и балконных дверей с двойным остеклением

image005.jpg

Сечения

a

б

Детали

А1

45

82

1

3

Б1

55

92

2

4

Черт.5

image006.jpg

Черт.6

image007.jpg

Черт.7

image008.jpg

Черт.8

image009.jpg

1 - твердая ДВП марки Т группы А толщиной 3, 2-4 мм по ГОСТ 4598; 2 - мягкая ДВП толщиной 8 мм по ГОСТ 4598; 3 -пергамин по ГОСТ 2697; 4 - обшивка типа 2 по

ГОСТ 8242; 5 - раскладка; 6 уплотняющие прокладки по ГОСТ 10174

Черт.9

image010.jpg

Черт.10

image011.jpg

1 - уплотняющая прокладка; 2 - раскладка

Черт.11

image012.jpg

Сечения

a

б

Детали

А5

45

82

1

3

Б5

55

92

2

4

Черт.12

СЕРИЯ РСМ

Конструкция, форма, основные размеры и марки окон и балконных дверей с тройным остеклением

image013.jpg

Черт.13

image014.jpg

Черт.14

image015.jpg

Черт.15

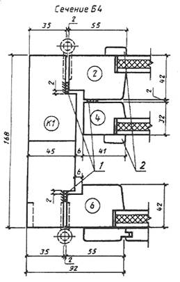
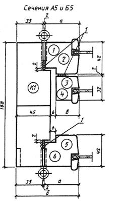
Сечения по притворам окон и балконных дверей с тройным остеклением

Ё 1

image016.jpg

Сечения

а

б

в

Детали

А1

45

82

31

1

3

5

Б1

55

92

41

2

4

6

Черт.16

image017.jpg

Черт.17

image018.jpg

1 - уплотняющие прокладки

Черт.18

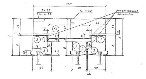
image019.jpg

Черт.19

image020.jpg

1 - твердая ДВП марки Т группы А толщиной 3, 2-4 мм по ГОСТ 4598-86; 2 - мягкая ДВП толщиной 8 мм по ГОСТ 4598-86; 3 - пергамин по ГОСТ 2697-83;; 4 - обшивка типа 2 по ГОСТ 8242-75; 5 - раскладки; 6 уплотняющие прокладки по ГОСТ 10174-72.

Черт.20

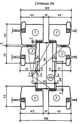
image021.jpg

1- уплотняющая прокладка; 2 - раскладки

Черт.21

image022.jpg

1 - уплотняющие прокладки; 2 - раскладки

Черт.22

image023.jpg

1 - уплотняющие прокладки

Сечения

а

б

в

Детали

А5

45

82

31

1

3

5

Б5

55

92

41

2

4

6

Черт.23

Приложение 1

Рекомендуемое

Примеры расположения приборов в окнах и балконных дверях

image024.jpg

1 - ПН1-85Л; 2 - завертка накладная ЗФ2П для наружной форточки; 3 - задвижка накладная ЗТ; 4 - ручка РС80; 5 - ПН5-60; 6 - стяжка СТ; 7 - ПН7; 8 - ПН1-110П

Примечания:

1. Приборы для окон и дверей должны соответствовать ГОСТ 538-78, ГОСТ 5087-80, ГОСТ 5088-78, ГОСТ 5090-86 и ГОСТ 5091-78.

2. Ручки-скобы устанавливают на наружных и внутренних створках и полотнах.

3. Наружные створки должны оснащаться ветровыми крючками.

Приложение 2

Справочное

Спецификация стекол для окон и балконных дверей серии РМ

Марка

Размер, мм

Количество

Высота

Ширина

ОРМ 6-6

410

420

2

ОРМ 6-11

410

430

4

ОРМ 6-13, 5

410

550

4

ОРМ 12-6

315

630

420

420

2

2

ОРМ 12-11

315

630

1010

430

430

430

2

2

2

ОРМ 12-13, 5

315

630

1010

550

550

550

2

2

2

ОРМ 15-6

315

930

420

420

2

2

ОРМ 15-11

315

630

1310

430

430

430

2

2

2

ОРМ 15-13, 5

315

930

1310

550

550

550

2

2

2

ОРМ 15-6

1310

420

2

БРМ 22-7, 5

1310

550

2

Приложение 3

Справочное

Спецификация стекол для окон и балконных дверей серии РСМ

Марка

Размер, мм

Количество

Высота

Ширина

ОРСМ 6-6

410

420

3

ОРСМ 6-11

410

420

6

ОРСМ 6-13, 5

410

540

6

ОРСМ 12-6

315

620

420

420

3

3

ОРСМ 12-11

315

620

1010

420

420

420

3

3

3

ОРСМ 12-13, 5

315

620

1010

540

540

540

3

3

3

ОРСМ 15-6

315

920

420

420

3

3

ОРСМ 15-11

315

920

1310

420

420

420

3

3

3

ОРСМ 15-13, 5

315

920

1310

540

540

540

3

3

3

ОРСМ 15-6А

1310

420

3

БРСМ 22-7, 5

1310

550

3

Яндекс.Метрика