электронный сборник нормативных документов по строительству
Обновления
24.04.2026 23:27
электронный сборник нормативных документов по строительству

ГОСТ 24434-80 ПАНЕЛИ СЛОИСТЫЕ С УТЕПЛИТЕЛЕМ ИЗ ПЕНОПЛАСТОВ ДЛЯ СТЕН И ПОКРЫТИЙ ЗДАНИЙ. ПЕНОПЛАСТЫ. МЕТОД ОПРЕДЕЛЕНИЯ УСАДКИ

Утв. Постановлением Госстроя СССР от 25 сентября 1980 г. N 149
Государственный стандарт СССР ГОСТ 24434-80
"ПАНЕЛИ СЛОИСТЫЕ С УТЕПЛИТЕЛЕМ ИЗ ПЕНОПЛАСТОВ ДЛЯ СТЕН И ПОКРЫТИЙ ЗДАНИЙ. ПЕНОПЛАСТЫ. МЕТОД ОПРЕДЕЛЕНИЯ УСАДКИ"

Laminated wall and roof panels with plastic foam thermal insulation. Plastic foams. Method of determining shrinkage

Дата введения 1 января 1982 г.

Настоящий стандарт распространяется на слоистые панели с конструкционным утеплителем из заливочных пенопластов (с листами из металла, асбестоцемента, древесноволокнистых и древесностружечных плит, фанеры, стеклопластиков и др.) для стен и покрытий зданий и устанавливает метод определения технологической усадки утеплителя, появляющейся после формования пенопласта в полости панелей.

Сущность метода заключается в определении разности размеров формы и отформованного в ней образца в течение заданного времени в направлении, перпендикулярном направлению вспенивания.

Применение указанного метода должно предусматриваться стандартами и техническими условиями, устанавливающими технические требования к панелям с конструкционным утеплителем из пенопластов для стен и покрытий зданий.

1. Аппаратура

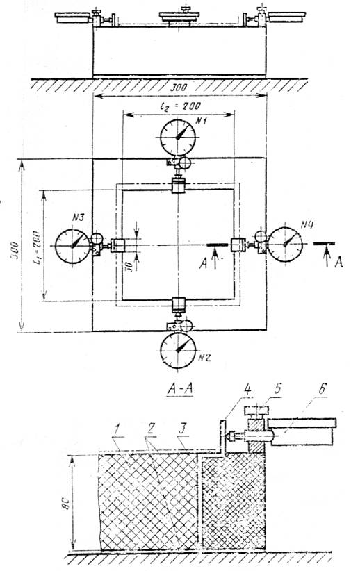
1.1. Для определения технологической усадки применяют приспособление, указанное на чертеже, состоящее из формы и индикаторов.

1.1.1. Форма представляет собой ограничительную рамку с двумя съемными листами.

Ограничительная рамка должна иметь в плане размеры (внутренние) 200 x 200 мм и высоту 80 мм. Предельные отклонения внутренних размеров ограничительной рамки должны быть не более ±0, 5 мм.

imajhuge001.jpg

1 - образец; 2 - листы; 3 - ограничительная рамка; 4 – упорная пластина; 5 - кронштейн; 6 - индикатор.

Ограничительную рамку изготавливают из древесины. Допускается изготовление ограничительной рамки из пластмассы по согласованию с базовой организацией по стандартизации слоистых панелей с утеплителем из пенопластов.

Материал съемных листов должен соответствовать материалу листов обшивки, применяемой при изготовлении слоистых панелей.

1.1.2. Для измерения внутренних размеров ограничительной рамки используют штангенциркуль по ГОСТ 166-73, обеспечивающий измерение с погрешностью 0, 1 мм.

1.1.3. Для измерения усадки пенопласта используют индикаторы часового типа по ГОСТ 577-68 с ценой деления 0, 01 мм.

2. Метод изготовления образцов и подготовка к испытанию

2.1. Для изготовления образцов используют заливочную композицию, взятую непосредственно с поста заливки технологической линии по изготовлению панелей.

2.2. Количество заливочной композиции для заливки в форму Р в граммах определяют по формуле

P=1,2Vγ,

где 1,2-

коэффициент потери массы, учитывающий способ заливки, состав и вид заливочной композиции и др.;

V-

объем формы, см3;

γ-

плотность пенопласта, г/см3.

2.3. Режим изготовления образцов должен соответствовать технологическому регламенту на изготовление панелей, утвержденному в установленном порядке. При изготовлении образцов должно быть обеспечено восприятие избыточного давления, возникающего при вспенивании композиции.

2.4. Число образцов для испытания следует принимать в соответствии со стандартами на панели, но не менее трех.

2.5. Перед испытанием измеряют внутренние размеры рамки. Измерения производят во взаимно перпендикулярных направлениях в фиксированных точках, расположенных в центре каждой грани рамки.

2.6. С внутренней стороны рамки устанавливают упорные пластины (см. чертеж), обеспечивающие контакт индикаторов с отформованным образцом.

2.7. Для надежности соединения упорных пластин с образцом в процессе формования на нижнюю часть пластин (со стороны образца) предварительно наносят слой каучукового клея 88Н (адгезива).

2.8. На внутренние поверхности рамки и листов наносят слой антиадгезионного состава по ГОСТ 6267-74 или ГОСТ 1033-79.

3. Проведение испытания

3.1. Испытания проводят при температуре плюс (20 ±2)°С.

3.2. Через 5 мин после завершения изготовления образца в соответствии с п. 2.3 удаляют листы, устанавливают индикаторы так, чтобы их штоки упирались в верхние части упорных пластин (см. черт.), после чего снимают отсчеты по индикаторам. Измерение усадки производят один раз в сутки.

3.3. Испытание считают законченным, если разница между двумя последующими отсчетами не превышает 3%.

4. Обработка результатов

4.1. Величину усадки S в процентах вычисляют по формуле

imajhuge002.gif

где ∆1, ∆2, ∆3, ∆4 -разности конечных (в конце испытания) и начальных отсчетов по четырем индикаторам, мм;

l1, l2 - внутренние размеры формы, мм, измеренные согласно п.2.5.4

4.2. За результат испытания принимают среднее арифметическое значение усадок всех испытанных образцов, вычисленное с точностью до 0, 01%.

4.3. Данные испытания записывают в протокол, в котором указывают:

дату изготовления образцов;

режим изготовления;

число образцов, взятых для испытания;

состав и вид заливочной композиции;

дату испытания;

величину усадки;

номер партии панелей.

Яндекс.Метрика