ГОСТ 21924.1-84 (28.12.1987) ПЛИТЫ ЖЕЛЕЗОБЕТОННЫЕ ПРЕДВАРИТЕЛЬНО-НАПРЯЖЕННЫЕ ДЛЯ ПОКРЫТИЙ ГОРОДСКИХ ДОРОГ. КОНСТРУКЦИЯ И РАЗМЕРЫ
С изменениями:
(28 декабря 1987 г.)
Reinforced concrete prestressed slabs for pavements of city roads. Structure and dimensions
Дата введения 1 января 1985 г.
1. Настоящий стандарт распространяется на железобетонные предварительно-напряженные плиты, изготовляемые из тяжелого бетона и предназначенные для устройства покрытий постоянных и временных городских дорог под автомобильную нагрузку Н-30 и Н-10, и устанавливает конструкцию этих плит.
Плиты применяют для дорог в районах с расчетной температурой наружного воздуха (средней наиболее холодной пятидневки района строительства по СНиП 2.01.01-82) до минус 40°С включ.
При применении плит в климатическом подрайоне IVA должны учитываться дополнительные требования СНиП 2.03.01-84 к конструкциям, предназначенным для эксплуатации в этих условиях.
Допускается применение данных плит для дорог в районах с расчетной температурой наружного воздуха ниже минус 40°С при соблюдении требований, предъявляемых СНиП 2.03.01-84 к конструкциям, предназначенным для эксплуатации в этих условиях.
2. Форма и основные параметры плит - по ГОСТ 21924.0-84.
3. Технические показатели плит приведены в табл.1.
При применении в качестве напрягаемой арматуры термомеханически упрочненной арматурной стали классов Ат-V, Ат-IV и Ат-IVС в марке плиты необходимо приводить обозначение этой арматуры вместо соответственно А-V и А-IV.
4. Плиты должны удовлетворять всем требованиям ГОСТ 21924.0-84 и настоящего стандарта.
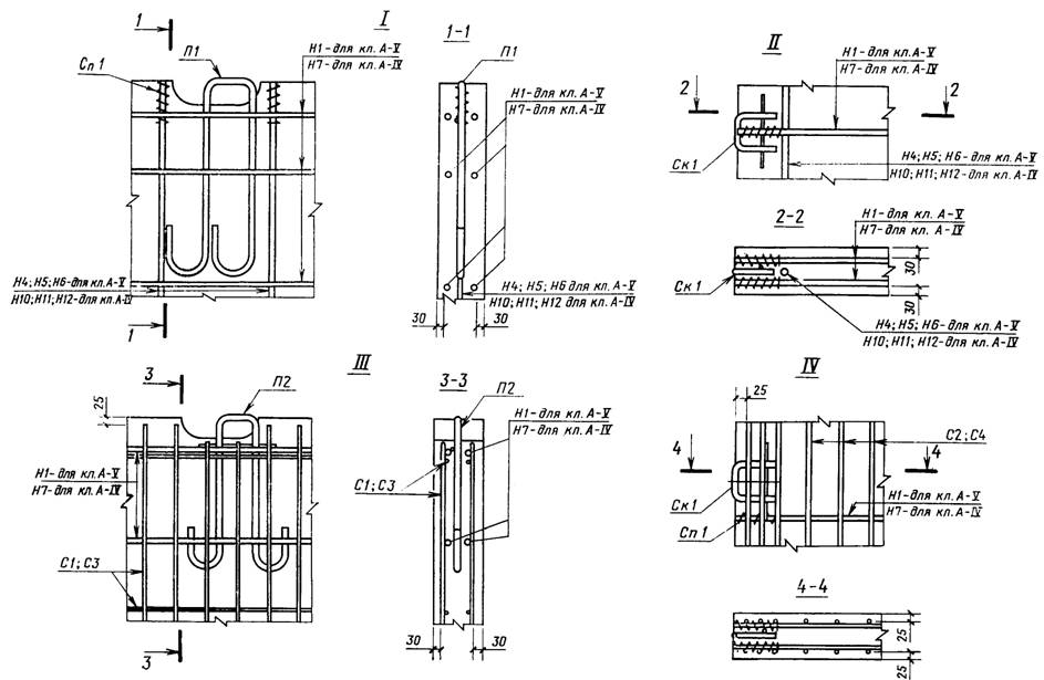
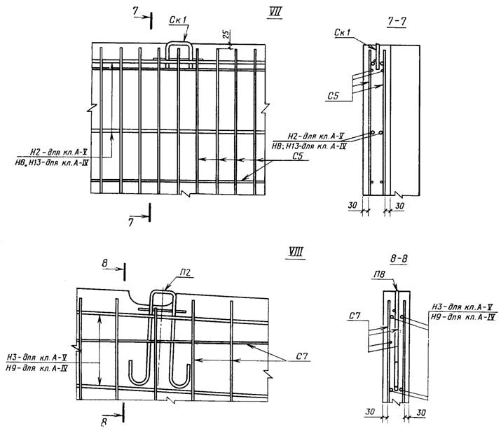
5. Армирование плит должно соответствовать приведенному на черт.1 - 8.
Армирование плит с напрягаемой арматурой из арматурной стали классов Ат-V, Ат-IV и Ат-IVC и с ненапрягаемой - из арматурной стали класса Ат-IIIС следует выполнять аналогично армированию арматурной сталью соответственно классов А-V, А-IV и A-III.
Напрягаемую арматуру из несвариваемой арматурной стали классов Ат-V и Ат-IV применяют в виде целых стержней без сварных стыков.
Примечание. Допускается применение монтажных петель П1а и П2а взамен петель соответственно П1 и П2.
6. Спецификация арматурных и монтажно-стыковых элементов приведена в табл.2, выборка арматурной стали для их изготовления на одну плиту - в табл.3.
7. Форма и размеры арматурных и монтажно-стыковых элементов - по ГОСТ 21924.3-84.
8. Значения напряжений в напрягаемой арматуре, контролируемые по окончании натяжения на упоры, должны соответствовать указанным в табл.4. Предельные отклонения напряжений не должны превышать при натяжении механическим способом -5 и +10%, а при натяжении электротермическим способом:
продольной арматуры при длине плиты:
6000 и 5920 мм - 88, 2 МПа (900 кгс/см2),
5500 мм - 94, 1 МПа (960 кгс/см2);
поперечной арматуры при ширине плиты:
3750 мм - 123, 6 МПа (1260 кгс/см2),
3500 мм - 130, 4 МПа (1330 кгс/см2),
3000 мм - 147, 1 МПа (1500 кгс/см2).
9. Значения контрольной нагрузки при испытании плит по прочности и трещиностойкости приведены в табл.5.
10. Контрольная ширина раскрытия трещин при испытании плит по трещиностойкости не должна превышать 0, 1 мм.
Таблица 1
|
Класс бетона |
Объем |
Hапрягаемая арматура |
Расход арматурной стали на плиту, кг | |||||||||
|
Марка плиты |
по проч- ности на |
бетона, м3 |
Поз. |
Сечение |
Длина пози |
Общая длина |
Арматура |
Площадь постели, | ||||
|
сжатие |
ции, |
пози |
Напрягаемая |
Hенапря- |
Всего |
м2 | ||||||
|
мм |
ции, м |
Hа по зицию |
Общий |
гаемая | ||||||||
|
1П60.38-30АV |
3, 14 |
H1 |
24d10АV |
6000 |
144, 00 |
88, 85 |
148, 79 |
30, 72 |
179, 51 |
22, 5 | ||
|
В30 |
H4 |
18d12АV |
3750 |
67, 50 |
59, 94 | |||||||
|
1П60.35-30АV |
H1 |
22d10АV |
6000 |
132, 00 |
81, 44 |
30, 44 |
167, 82 | |||||
|
2, 93 |
H5 |
18d12АV |
3500 |
63, 00 |
55, 94 |
137, 38 |
21, 0 | |||||
|
2П60.35-30АV |
В22, 5 |
H1 |
22d10АV |
6000 |
132, 00 |
81, 44 |
26, 12 |
163, 50 | ||||
|
H5 |
18d12АV |
3500 |
63, 00 |
55, 94 | ||||||||
|
1П60.30-30АV |
В30 |
H1 |
20d10АV |
6000 |
120, 00 |
74, 04 |
30, 16 |
152, 15 | ||||
|
2, 51 |
H6 |
18d12АV |
3000 |
54, 00 |
47, 95 |
121, 99 |
17, 9 | |||||
|
2П60.30-30АV |
В22, 5 |
H1 |
20d10АV |
6000 |
120, 00 |
74, 04 |
25, 84 |
147, 83 | ||||
|
H6 |
18d12АV |
3000 |
54, 00 |
47, 95 | ||||||||
|
1П60.19-30АV |
В30 |
1, 56 |
70, 38 |
107, 40 |
11, 2 | |||||||
|
1П60.18-30АV |
1, 46 |
H1 |
6000 |
60, 00 |
37, 02 |
37, 02 |
67, 48 |
104, 50 |
10, 4 | |||
|
2П60.18-30АV |
В22, 5 |
64, 60 |
101, 62 | |||||||||
|
1ПБ60.18-30АV |
1, 79 |
10d10АV |
66, 40 |
103, 42 |
11, 7 | |||||||
|
1ПББ55.20-30АV |
В30 |
1, 76 |
H2 |
5920 |
59, 20 |
36, 53 |
36, 53 |
65, 56 |
102, 09 |
11, 8 | ||
|
1ПТ55-30АV |
1, 34 |
H3 |
5510 |
55, 10 |
34, 00 |
34, 00 |
70, 08 |
104, 08 |
9, 6 | |||
|
2ПТ55-30АV |
В22, 5 | |||||||||||
|
1П60.38-30АIV |
3, 14 |
H7 |
24d12АIV |
6000 |
144, 00 |
127, 87 |
209, 55 |
30, 72 |
240, 27 |
22, 5 | ||
|
В30 |
H10 |
18d14АIV |
3750 |
67, 50 |
81, 68 | |||||||
|
1П60.35-30АIV |
H7 |
22d12АIV |
6000 |
132, 00 |
117, 22 |
30, 44 |
223, 89 |
21, 0 | ||||
|
2, 93 |
H11 |
18d14АIV |
3500 |
63, 00 |
76, 23 |
193, 45 | ||||||
|
2П60.35-30АIV |
В22, 5 |
H7 |
22d12АIV |
6000 |
132, 00 |
117, 22 |
26, 12 |
219, 57 |
21, 0 | |||
|
H11 |
18d14АIV |
3500 |
63, 00 |
76, 23 | ||||||||
|
1П60.30-30АIV |
В30 |
H7 |
20d12АIV |
6000 |
120, 00 |
106, 56 |
30, 16 |
202, 06 | ||||
|
2, 51 |
H12 |
18d14АIV |
3000 |
54, 00 |
65, 34 |
171, 90 |
17, 9 | |||||
|
2П60.30-30АIV |
В22, 5 |
H7 |
20d12АIV |
6000 |
120, 00 |
106, 56 |
25, 84 |
197, 74 | ||||
|
H12 |
18d14АIV |
3000 |
54, 00 |
65, 34 | ||||||||
|
1П60.19-30АIV |
В30 |
1, 56 |
70, 38 |
123, 66 |
11, 2 | |||||||
|
1П60.18-30АIV |
1, 46 |
67, 48 |
120, 76 |
10, 4 | ||||||||
|
2П60.18-30АIV |
В22, 5 |
H7 |
6000 |
60, 00 |
53, 28 |
53, 28 |
64, 60 |
117, 88 | ||||
|
1ПБ60.18-30АIV |
1, 79 |
10d12АIV |
66, 40 |
119, 68 |
11, 7 | |||||||
|
1ПББ55.20-30АIV |
В30 |
1, 76 |
H8 |
5920 |
59, 20 |
52, 57 |
52, 57 |
65, 56 |
118, 13 |
11, 8 | ||
|
1ПББ55.20-10АIV |
H13 |
10d10АIV |
36, 53 |
36, 53 |
102, 09 | |||||||
|
1ПТ55-30АIV |
В22, 5 |
1, 34 |
H9 |
10d12АIV |
5510 |
55, 10 |
48, 93 |
48, 93 |
70, 08 |
119, 01 |
9, 6 | |
|
2ПТ55-30АIV | ||||||||||||
Примечание. Расход напрягаемой арматуры и общий расход арматуры на плиту приведен для условной длины стержней, равной длине плиты, и уточняется с учетом действительной длины напрягаемой арматуры, принимаемой в зависимости от способа натяжения арматуры и конструкции захватных устройств.
Для арматурной стали классов Ат-V, Ат-IV и Ат-IVC сечение напрягаемой арматуры, ее длину и расход следует принимать такими же, как для арматурной стали соответственно классов А-V и А-IV.
Плиты П60.38, П60.35 и П60.30
Черт. 1
Плиты П60.419 и П60.18
Примечание. Размеры в скобках даны для плит П 60.19.
Черт. 2
Плиты ПБ60.18
Черт. 3
Плита ПББ55.20
Черт. 4
Плита ПТ55
Черт. 5
Черт. 6
Черт. 7
Черт. 8
Таблица 2
|
Марка плиты |
Арматурные сетки |
Монтажные сетки |
Скобы |
Спирали | ||||||||
|
Марка |
Число |
Марка |
Число |
Марка |
Число |
Марка |
Число |
Марка |
Число |
Марка |
Число | |
|
1П60.38-30АV, |
84 | |||||||||||
|
1П60.38-30АIV |
Ск1 |
6 | ||||||||||
|
1П60.35-30АV, | ||||||||||||
|
1П60.35-30АIV |
80 | |||||||||||
|
2П60.35-30АV, |
- |
- |
- |
- |
П1 |
4 |
- |
- |
- |
- | ||
|
2П60.35-30АIV | ||||||||||||
|
1П60.30-30АV, |
Ск1 |
6 | ||||||||||
|
1П60.30-30АIV |
76 | |||||||||||
|
2П60.30-30АV, |
- |
- | ||||||||||
|
2П60.30-30АIV | ||||||||||||
|
1П60.19-30АV, |
С1 |
2 |
С2 |
4 | ||||||||
|
1П60.19-30АIV |
Ск1 |
4 | ||||||||||
|
1П60.18-30АV, |
П2 |
4 |
- |
- |
Сп1 |
20 | ||||||
|
1П60.18-30АIV |
С3 |
2 |
С4 |
4 | ||||||||
|
2П60.18-30АV, |
- |
- | ||||||||||
|
2П60.18-30АIV | ||||||||||||
|
1ПБ60.18-30АV, |
С1 |
2 |
С2 |
4 |
П2 |
2 |
2 | |||||
|
1ПБ60.18-30-30АIV | ||||||||||||
|
1ПББ55.20-30АV, |
П3 |
Ск1 |
4 |
20 | ||||||||
|
1ПББ55.20-30АIV, |
С5 |
2 |
С6 |
4 |
- |
- |
4 | |||||
|
1ПББ55.20-10АIV | ||||||||||||
|
1ПТ55-30АV, | ||||||||||||
|
1ПТ55-30АIV, |
С7 |
2 |
- |
- |
П2 |
4 |
- |
- |
- |
- |
20 | |
|
2ПТ55-30АV, | ||||||||||||
|
2ПТ55-30АIV | ||||||||||||
Примечание. В плитах для постоянных дорог с пазами для беспетлевого монтажа или с отверстиями для цангового захвата (п.1.2 ГОСТ 21924.0-84) монтажные петли П1 (П1а) и П2 (П2а) заменяют скобами Ск1.
Таблица 3
кг
|
Марка |
Арматурная сталь по ГОСТ 5781-82 |
Арматурная сталь по ГОСТ 6727-80 | |||||||||||
|
плит |
Kласс А-III |
Kласс А-I |
Все | ||||||||||
|
Диаметр, мм |
Итого |
Диаметр, мм |
Итого |
Диаметр, мм |
Ито |
го | |||||||
|
8 |
8 |
10 |
14 |
16 |
20 |
22 |
3 |
5 |
го | ||||
|
1 |
2 |
3 |
4 |
5 |
6 |
7 |
8 |
9 |
10 |
11 |
12 |
13 |
14 |
|
160.38-30АV, |
- |
- |
- |
1, 50 |
- |
3, 42 |
- |
19, 92 |
24, 84 |
5, 88 |
- |
5, 88 |
30, 72 |
|
160.38-30АIV | |||||||||||||
|
160.35-30АV, |
- |
- |
- |
1, 50 |
- |
3, 42 |
- |
19, 92 |
24, 84 |
5, 60 |
- |
5, 60 |
30, 44 |
|
160.35-30АIV | |||||||||||||
|
160.35-30АV, |
- |
- |
- |
0, 60 |
- |
- |
- |
19, 92 |
20, 52 |
5, 60 |
- |
5, 60 |
26, 12 |
|
160.35-30АIV | |||||||||||||
|
160.30-30АV, |
- |
- |
- |
1, 50 |
- |
3, 42 |
- |
19, 92 |
24, 84 |
5, 32 |
- |
5, 32 |
30, 16 |
|
160.30-30АIV | |||||||||||||
|
160.30-30АV, |
- |
- |
- |
0, 60 |
- |
- |
- |
19, 92 |
20, 52 |
5, 32 |
- |
5, 32 |
25, 84 |
|
160.30-30АIV | |||||||||||||
|
160.19-30АV, |
18, 40 |
18, 40 |
- |
1, 20 |
2, 28 |
14, 04 |
- |
17, 52 |
1, 40 |
33, 06 |
34, 46 |
70, 38 | |
|
160.19-30АIV | |||||||||||||
|
160.18-30АV, |
17, 28 |
17, 28 |
- |
1, 20 |
- |
2, 28 |
14, 04 |
- |
17, 52 |
1, 40 |
31, 28 |
32, 68 |
67, 48 |
|
160.18-30АIV | |||||||||||||
|
2П60.18-30АV, |
17, 28 |
17, 28 |
- |
0, 60 |
- |
- |
14, 04 |
- |
14, 64 |
1, 40 |
31, 28 |
32, 68 |
64, 60 |
|
2П60.18-30АIV | |||||||||||||
|
1ПБ60.18-30АV, |
18, 40 |
18, 40 |
- |
1, 20 |
3, 04 |
2, 28 |
7, 02 |
- |
13, 54 |
1, 40 |
33, 06 |
34, 46 |
66, 40 |
|
1ПБ60.18-30АIV | |||||||||||||
|
1ПББ55.20-30АV | |||||||||||||
|
1ПББ55.20-30АIV |
19, 64 |
19, 64 |
- |
1, 20 |
6, 08 |
2, 28 |
- |
- |
9, 56 |
1, 40 |
34, 96 |
36, 36 |
65, 56 |
|
1ПББ55.20-10АIV | |||||||||||||
|
1ПТ55-30АV | |||||||||||||
|
1ПТ55-30АV |
- |
- |
42, 64 |
0, 60 |
- |
- |
14, 04 |
- |
57, 28 |
1, 40 |
11, 40 |
12, 80 |
70, 08 |
|
2ПТ55-30АV | |||||||||||||
|
2ПТ55-30АIV | |||||||||||||
Примечание. При применении арматурной стали класса Ат-IIIС по ГОСТ 10884-81 ее диаметр, расход стали следует принимать одинаковым с арматурной сталью класса А-III.
Таблица 4
|
Напрягаемая арматура |
Марка плиты |
Значения напряжений в напрягаемой арматуре МПа (кгс/см2) |
|
1П60.38-30АV | ||
|
1П60.35-30АV, 2П60.35-30АV | ||
|
1П60.30-30АV, 2П60.30-30АV | ||
|
Продольная |
1П60.19-30АV |
696 (7100) |
|
1П60.18-30АV, 2П60.18-30АV | ||
|
1ПБ60.18-30АV | ||
|
1ПББ55.20-30АV | ||
|
1П60.38-30АIV | ||
|
1П60.35-30АIV, 2П60.35-30АIV | ||
|
1П60.30-30АIV, 2П60.30-30АIV | ||
|
1П60.19-30АIV | ||
|
1П60.18-30АIV, 2П60.18-30АIV |
500 (5100) | |
|
1ПБ60.18-30АIV | ||
|
1ПББ55.20-30АIV | ||
|
1ПББ55.20-10AIV | ||
|
1ПТ55-30АV, 2ПТ55-30АV |
690 (7040) | |
|
1ПТ55-30АIV, 2ПТ55-30АIV |
494 (5040) | |
|
1П60.38-30АV |
661 (6740) | |
|
1П60.38-30АIV |
465 (4740) | |
|
Поперечная |
1П60.35-30АV, 2П60.35-30АV |
654 (6670) |
|
1П60.35-30АIV, 2П60.35-30АIV |
458 (4670) | |
|
1П60.30-30АV, 2П60.30-30АV |
637 (6500) | |
|
1П60.30-30АIV, 2П60.30-30АIV |
441 (4500) |
Таблица 5
|
Марка плиты |
Контрольная нагрузка (без учета собственного веса плиты), кH(тс), при испытании плит | |
|
по прочности |
по трещиностойкости | |
|
1П60.38-30АV |
173, 5 (17, 7) |
95, 1 (9, 7) |
|
1П60.35-30АV |
157, 8 (16, 1) |
87, 2 (8, 9) |
|
2П60.35-30АV |
153, 9 (15, 7) |
84, 3 (8, 6) |
|
1П60.30-30АV |
145, 0 (14, 8) |
79, 4 (8, 1) |
|
2П60.30-30АV |
140, 1 (14, 3) |
77, 4 (7, 9) |
|
1П60.19-30АV |
73, 5 (7, 5) |
40, 2 (4, 1) |
|
1П60.18-30АV |
73, 5 (7, 5) |
40, 2 (4, 1) |
|
2П60.18-30АV |
72, 5 (7, 4) |
39, 2 (4, 0) |
|
1ПБ60.18-30АV |
70, 6 (7, 2) |
39, 2 (4, 0) |
|
1ПББ55.20-30АV |
77, 4 (7, 9) |
43, 1 (4, 4) |
|
1ПТ55-30АV |
86, 2 (8, 8) |
47, 0 (4, 8) |
|
2ПТ55-30АV |
84, 3 (8, 6) |
46, 1 (4, 7) |
|
1П60.38-30АIV |
164, 6 (16, 8) |
90, 2 (9, 2) |
|
1П60.35-30АIV |
150, 9 (15, 4) |
82, 3 (8, 4) |
|
2П60.35-30АIV |
147, 0 (15, 0) |
80, 4 (8, 2) |
|
1П60.30-30АIV |
138, 2 (14, 1) |
75, 5 (7, 7) |
|
2П60.30-30АIV |
134, 3 (13, 7) |
73, 5 (7, 5) |
|
1П60.19-30АIV |
67, 6 (6, 9) |
37, 2 (3, 8) |
|
1П60.18-30АIV |
67, 6 (6, 9) |
37, 2 (3, 8) |
|
2П60.18-30АIV |
66, 6 (6, 8) |
37, 2 (3, 8) |
|
1ПБ60.16-30АIV |
65, 7 (6, 7) |
36, 3 (3, 7) |
|
1ПББ55.20-30АV |
71, 5 (7, 3) |
39, 2 (4, 0) |
|
1ПББ55.20-10АV |
49, 0 (5, 0) |
26, 5 (2, 7) |
|
1ПТ55-30АV |
79, 4 (8, 1) |
73, 5 (7, 5) |
|
2ПТ55-30АV |
77, 4 (7, 9) |
43, 1 (4, 4) |
|
Начальник отдела технических
|
В.И. Байко |
|
Главный специалист |
В.М. Скубко |


