ПНСТ 402-2020 ВОЗДУХ РАБОЧЕЙ ЗОНЫ. ГАЗООПРЕДЕЛИТЕЛИ С КОЛОРИСТИЧЕСКОЙ ИНДИКАТОРНОЙ ТРУБКОЙ ДЛЯ ИЗМЕРЕНИЙ РАЗОВЫХ КОНЦЕНТРАЦИЙ. ТРЕБОВАНИЯ И МЕТОДЫ ИСПЫТАНИЙ
Workplace atmospheres. Length-of-stain detector tube systems for short-term measurements. Requirements and test methods
ОКС 13.040.30
Срок действия - с 1 января 2021 г. 
  
 до 1 января 2024 г.
Предисловие
1 Разработан Закрытым акционерным обществом "Научно-исследовательский центр контроля и диагностики технических систем" (ЗАО "НИЦ КД")
2 Внесен Техническим комитетом по стандартизации ТК 457 "Качество воздуха"
3 Утвержден и введен в действие Приказом Федерального агентства по техническому регулированию и метрологии от 27 октября 2020 г. N 89-пнст
4 В настоящем стандарте учтены основные нормативные положения международного стандарта ИСО 17621:2015 "Воздух рабочей зоны. Измерительные системы с индикаторной трубкой для кратковременных измерений. Требования и методы испытания" (ISO 17621:2015 "Workplace atmospheres - Short term detector tube measurement systems - Requirements and test methods", NEQ)
5 Введен впервые
Введение
Системы экспресс-анализа с индикаторными трубками для измерений разовых концентраций химических веществ в воздухе рабочей зоны (газоопределители) обычно состоят из колористической индикаторной трубки и насоса-пробоотборника (аспиратора). Если воздух рабочей зоны содержит определяемое химическое вещество, то прокачивание воздуха через индикаторную трубку вызовет изменение окраски части содержащегося в ней индикаторного порошка. По длине изменившего окраску слоя порошка судят о концентрации определяемого вещества.
Индикаторные трубки для измерений разовых концентраций широко применяют там, где необходимо быстрое получение результатов химического состава воздуха в целях:
- определения наличия или отсутствия в воздухе рабочей зоны конкретного вещества;
- приближенного количественного определения концентрации этого вещества;
- поиска источника выделения химического вещества в воздух рабочей зоны и определение изменения интенсивности выделения со временем;
- сопоставления полученных значений концентрации химического вещества с установленными предельными значениями.
Чтобы охватить весь диапазон возможных изменений концентрации химического вещества на данном рабочем месте, возможно применение газоопределителя с несколькими индикаторными трубками с перекрывающимися диапазонами измерений.
Настоящий стандарт устанавливает требования к газоопределителям, состоящим из колористической индикаторной трубки и пробоотборного насоса (далее - аспиратора) и предназначенным для кратковременных измерений в целях определения разовой концентрации химического вещества в воздухе рабочей зоны в соответствии с ГОСТ 12.1.014, а также испытания для подтверждения соответствия установленным требованиям, проводимые в целях утверждения типа и первичной поверки газоопределителя.
Настоящий стандарт не распространяется на газоопределители, применяемые в долговременных измерениях с регламентированным периодом 15 мин и более, например в целях оценки среднесменной концентрации.
Примечание - В соответствии с настоящим стандартом заявляемой изготовителем характеристикой является инструментальная неопределенность (см. 4.1). Стандартами общих технических условий ГОСТ Р 51712 для индикаторных трубок и ГОСТ Р 51945 для аспираторов установлены дополнительные требования к элементам газоопределителя и методы испытаний для подтверждения соответствия этим требованиям. Результаты этих испытаний могут быть использованы для заявления инструментальной неопределенности и включены в документацию, прилагаемую к заявке на проведение испытаний газоопределителя в целях утверждения типа.
В настоящем стандарте использованы нормативные ссылки на следующие стандарты:
ГОСТ 12.1.014 Система стандартов безопасности труда. Воздух рабочей зоны. Метод измерения концентраций вредных веществ индикаторными трубками
ГОСТ 31610.0 (IEC 60079-0:2011) Взрывоопасные среды. Часть 0. Оборудование. Общие требования
ГОСТ Р 8.776 Государственная система обеспечения единства измерений. Стандартные образцы состава газовых смесей. Общие метрологические и технические требования
ГОСТ Р 8.970 Государственная система обеспечения единства измерений (ГСИ). Генераторы поверочных газовых смесей. Общие метрологические и технические требования
ГОСТ Р 8.975 Государственная система обеспечения единства измерений. Источники микропотоков газов и паров. Общие технические условия
ГОСТ Р 51712 Трубки индикаторные. Общие технические условия
ГОСТ Р 51945 Аспираторы. Общие технические условия
ГОСТ Р ИСО 13137-2016 Воздух рабочей зоны. Насосы для индивидуального отбора проб химических и биологических веществ. Требования и методы испытаний
ПНСТ 401-2020 Воздух рабочей зоны. Термины и определения
Примечание - При пользовании настоящим стандартом целесообразно проверить действие ссылочных стандартов в информационной системе общего пользования - на официальном сайте Федерального агентства по техническому регулированию и метрологии в сети Интернет или по ежегодному информационному указателю "Национальные стандарты", который опубликован по состоянию на 1 января текущего года, и по выпускам ежемесячного информационного указателя "Национальные стандарты" за текущий год. Если заменен ссылочный стандарт, на который дана недатированная ссылка, то рекомендуется использовать действующую версию этого стандарта с учетом всех внесенных в данную версию изменений. Если заменен ссылочный стандарт, на который дана датированная ссылка, то рекомендуется использовать версию стандарта с указанным выше годом утверждения. Если после утверждения настоящего стандарта в ссылочный стандарт, на который дана датированная ссылка, внесено изменение, затрагивающее положение, на которое дана ссылка, то это положение рекомендуется применять без учета данного изменения. Если ссылочный стандарт отменен без замены, то положение, в котором дана ссылка на него, рекомендуется применять в части, не затрагивающей эту ссылку.
В настоящем стандарте применены термины по ПНСТ 401-2020, а также следующие термины с соответствующими определениями.
3.1 (колористическая) индикаторная трубка [(length-of-stain) detector tube]: Трубка из оптически прозрачного материала, заполненная сорбентом (индикаторным порошком), который изменяет свой цвет под действием химического вещества, содержащегося в прокачиваемой сквозь трубку пробе воздуха.
Примечания
1 У колористической индикаторной трубки мерой содержания в воздухе определяемого химического вещества является отсчитываемая по градуированной шкале длина слоя изменившего свой цвет индикаторного порошка.
2 Некоторые измерительные системы включают в себя две соединенные между собой трубки - предварительную (фильтрующую) и индикаторную. Комбинацию этих трубок используют для выполнения одного измерения.
3.2 (индикаторная) трубка для измерений разовых концентраций (short-term detector tube): Индикаторная трубка, используемая для определения содержания заданного химического вещества по одной пробе воздуха с малым временем экспозиции.
Примечание - Среднее время измерений такой трубкой варьируется от нескольких секунд до 15 мин в зависимости от свойств трубки и определяемой концентрации химического вещества.
3.3 аспиратор (detector tube pump): Насос для прокачивания пробы воздуха через индикаторную трубку.
Примечания
1 Аспиратор может иметь ручной или механический привод.
2 Существуют аспираторы с электрическим приводом, обеспечивающие непрерывное прокачивание воздуха через индикаторную трубку. Такие устройства в настоящем стандарте не рассматриваются.
3.4 газоопределитель (detector tube measurement system): Измерительная система, включающая в себя индикаторную трубку и аспиратор.
Примечание - Газоопределитель обеспечивает непосредственное считывание значения концентрации определяемого химического вещества. Однако, поскольку результат измерения помимо показания газоопределителя может включать в себя ряд поправок, полученных с помощью других средств измерений, то полная измерительная система состоит из газоопределителя и этих средств измерений.
3.5 диапазон показаний (индикаторной трубки) [(detector tube) indicating range]: Множество значений концентрации химического вещества, которые могут быть определены по шкале индикаторной трубки.
Примечание - Диапазон показаний может быть изменен за счет соответствующего увеличения или уменьшения объема прокачиваемого воздуха.
3.6 диапазон измерений [measuring range]: Диапазон показаний, для которого инструментальная составляющая неопределенности измерения (инструментальная неопределенность) концентрации химического вещества, обусловленная индикаторной трубкой и применяемым совместно с ней аспиратором, не превышает заданную.
3.7 мешающее вещество (interferent): Содержащийся в пробе газ, не относящийся к определяемому химическому веществу, но снижающий точность измерений.
3.8 поверочный газ (test gas): Газовая смесь в стабильном и однородном состоянии с аттестованным составом для калибровки газоопределителя или подтверждения характеристик точности газоопределителя или метода измерений.
4.1 Заявляемая и подтверждаемая характеристика газоопределителя
4.1.1 Общие положения
Газоопределитель представляет собой средство измерений, включающее в себя аспиратор для отбора пробы воздуха номинальным объемом 100 см 3 (за один рабочий ход аспиратора) и индикаторную трубку для анализа этой пробы. Каждый элемент газоопределителя подлежит калибровке изготовителем.
Соответствие элементов газоопределителя требованиям настоящего раздела проверяют посредством испытаний, проводимых в целях утверждения типа (все испытания согласно разделу 6), а также при первичной поверке газоопределителя (испытания согласно разделу 6 за исключением испытаний по 6.1.2.5, 6.1.3, 6.2.3-6.2.6).
Газоопределитель, применяемый в целях оценки качества воздуха рабочей зоны, должен обеспечивать точность измерений по ГОСТ 12.1.014. Чтобы соответствовать данному требованию, инструментальная неопределенность (в терминах расширенной неопределенности), обусловленная применяемым газоопределителем, не должна превышать:
- 50 % в диапазоне до 1 ПДК включительно;
- 35 % в диапазоне от 1 ПДК до 2 ПДК включительно;
- 25 % в диапазоне свыше 2 ПДК,
где ПДК - предельно допустимая концентрация определяемого химического вещества в воздухе рабочей зоны (см. [1]).
Заявленная изготовителем инструментальная неопределенность (в терминах расширенной неопределенности) не должна превышать указанных значений (целевой инструментальной неопределенности).
Изготовитель может указывать одно значение инструментальной неопределенности для всего диапазона измерений, или несколько значений неопределенности (в виде ступенчатой функции) - каждое для своего поддиапазона, в совокупности составляющих диапазон измерений.
Соответствие газоопределителя заявленному значению инструментальной неопределенности подтверждают расчетным методом в соответствии с разделом 7. Газоопределитель удовлетворяет требованиям настоящего стандарта, если рассчитанная в соответствии с 7.4 расширенная неопределенность не превысит значения, указанного изготовителем.
Если заявителем указаны разные значения расширенной неопределенности для разных поддиапазонов измерений, то проверку соответствия выполняют следующим образом. На основе полученного значения расширенной неопределенности строят интервал охвата. Если интервал охвата полностью лежит в одном из поддиапазонов, то рассчитанное согласно 7.4 значение расширенной неопределенности сравнивают со значением, заявленным для данного поддиапазона. Если интервал охвата лежит в двух и более поддиапазонах, то рассчитанное значение расширенной неопределенности сравнивают с наименьшим из заявленных значений для этих поддиапазонов.
4.1.2 Применение индикаторной трубки с разными моделями аспираторов
Изготовитель индикаторной трубки может указать на возможность ее применения в составе газоопределителя с разными моделями аспираторов, в том числе от других изготовителей. Тогда каждое сочетание индикаторной трубки с конкретной моделью аспиратора рассматривают как отдельный газоопределитель, для которого изготовитель индикаторной трубки заявляет свою инструментальную неопределенность и который требует подтверждения соответствия требованиям настоящего стандарта. Предпочтительным является проведение испытаний в полном объеме в соответствии с настоящим стандартом для каждого газоопределителя, определяемого сочетанием индикаторной трубки и модели аспиратора.
Допускается сократить общий объем испытаний для газоопределителей с разными моделями аспираторов при выполнении следующих условий:
- для применяемых моделей аспираторов подтверждено их соответствие требованиям по 4.3 испытаниями по 6.2;
- изготовитель представляет собственные доказательства того, что все применяемые с индикаторной трубкой модели аспираторов обеспечивают схожую кинетику реакции реагентов в трубке (имеют схожий график зависимости объема прокачиваемого воздуха от времени за требуемое для измерения число рабочих ходов аспиратора или по крайней мере одинаковую длительность рабочего хода).
В этом случае испытания по 6.2 не проводят (за исключением испытаний по 6.2.1, используемых для расчетов по 7.2.2), а испытания по 6.1.2.4, 6.1.2.5 и расчеты по 7.2.3, 7.2.4 выполняют для комбинации индикаторной трубки только с одной моделью аспиратора, после чего результаты указанных расчетов используют для определения инструментальных неопределенностей газоопределителей, состоящих из данной индикаторной трубки и аспираторов других моделей.
4.2 Требования к индикаторным трубкам
4.2.1 Диапазон измерений
Изготовитель должен указать диапазон измерений, в котором индикаторная трубка удовлетворяет требованиям 4.1 по инструментальной неопределенности для всех условий и способов ее применения, предусмотренных изготовителем.
4.2.2 Шкала
Шкала должна содержать не менее трех чисел отсчета и быть градуирована в единицах массовой или объемной доли содержания определяемого вещества. Деления шкалы должны быть нанесены перпендикулярно оси индикаторной трубки. Применяемые на шкале числовые или иные отметки должны обеспечивать простое и однозначное считывание результата измерения. Высота отметок (размер шрифта) - не менее 1,5 мм. Ширина каждого деления шкалы должна быть не менее 0,3 мм, длина - не менее 3 мм. Должно быть четко обозначено начало отсчета по шкале, соответствующее нижней границе слоя индикаторного порошка. Допускается вместо нанесения шкалы на индикаторную трубку прилагать к ней график градуировочной характеристики в тех же единицах измерений.
На индикаторной трубке должно быть указано, какому числу рабочих ходов аспиратора соответствует ее шкала.
4.2.3 Оценка длины окрашенного слоя
Изменивший окраску слой индикаторного порошка (далее - окрашенный слой) должен оставаться неизменным и явно видимым в течение по крайней мере 2 мин после окончания измерения.
Максимальная неровность границы окрашенного слоя (разность значений его длины для разных точек на границе в месте соприкосновения порошка с поверхностью индикаторной трубки) не должна превышать 20 % максимальной длины окрашенного слоя.
Примечание - Изготовителем могут быть даны рекомендации по оценке длины окрашенного слоя в случае, когда его граница размыта.
4.2.4 Срок годности
На упаковке должен быть указан срок годности индикаторной трубки при транспортировке и хранении в условиях, указанных изготовителем.
4.2.5 Механическая прочность
Индикаторная трубка должна сохранять целость без признаков повреждений после испытаний по 6.1.3.
4.2.6 Устойчивость к изменениям температуры при транспортировке
После выдержки индикаторной трубки в течение 24 ч при температуре (0 ± 2) °С, последующей выдержки в течение 24 ч при температуре (60 ± 2) °С и температурной стабилизации в условиях окружающей среды индикаторная трубка должна удовлетворять требованиям по 4.1. Изготовителем могут быть установлены предельные значения температур при транспортировке. В этом случае испытания проводят для этих значений.
4.2.7 Упаковка
Если упаковка содержит более одной индикаторной трубки, то она должна допускать возможность открытия и повторного закрытия для хранения оставшихся в ней индикаторных трубок.
Если изготовителем указано на необходимость хранения трубки в защищенном от света месте, то упаковка должна обеспечивать необходимую защиту.
Упаковка должна сохранять целость без признаков повреждений после испытаний по 6.1.3.
4.2.8 Мешающие вещества
В руководстве по эксплуатации (см. 4.2.10) изготовителем должна быть приведена информация о влиянии типичных мешающих веществ на точность измерений индикаторной трубкой.
4.2.9 Влияние окружающей среды
Изготовитель должен указывать диапазон температур (как минимум от 10 °С до 30 °С) и относительной влажности воздуха (как минимум от 20 % до 80 %), позволяющих проводить измерения во всем диапазоне измерений, а также правила внесения в результат измерения поправок на условия окружающей среды (при необходимости).
4.2.10 Руководство по эксплуатации
К каждой упаковке индикаторных трубок должна прилагаться инструкция, содержащая следующие сведения:
- правила обращения с индикаторными трубками, включая их утилизацию;
- предупреждение о возможной опасности неконтролируемой утилизации индикаторных трубок с указанием требований законодательства, которым необходимо следовать при утилизации;
- указания по правильной работе с индикаторными трубками, включая их вскрытие и соединение с аспиратором;
- предупреждение о том, что перед каждым использованием аспиратор должен быть проверен на герметичность;
- общие сведения о характере реакции в индикаторной трубке, изменении цвета порошка;
- сведения о мешающих веществах (газах, парах), способных привести к значимому повышению инструментальной неопределенности и способах оценки их вклада в инструментальную неопределенность (при необходимости);
- извещение о том, что дополнительные сведения о влиянии мешающих веществ могут быть предоставлены изготовителем по запросу;
- информацию о возможных опасных реагентах и реакциях с использованием индикаторной трубки (при необходимости);
- указание времени, необходимого для одного рабочего хода аспиратора;
- сведения об использовании считываемых показаний, включая расчеты по уравнениям, графикам или таблицам для внесения поправок на температуру, атмосферное давление и влажность воздуха (при необходимости);
- ссылку на инструкцию по применению аспиратора;
- ссылку на нормативный или иной документ (например, техническую документацию изготовителя), которому должен соответствовать аспиратор;
- сведения об условиях хранения индикаторных трубок и их транспортирования.
4.3 Требования к аспираторам
4.3.1 Общие положения
Конструкция аспиратора и материал, из которого он изготовлен, должны обеспечивать его работоспособность в течение не менее трех лет в условиях применения в соответствии с инструкцией изготовителя.
Изготовитель должен подтвердить выполнение требований по 4.3.2-4.3.6.
4.3.2 Объем прокачиваемого воздуха
При проведении испытаний по 6.2.1 аспиратор должен обеспечить объем прокачиваемой пробы (100 ± 5) см 3 за один рабочий ход.
4.3.3 Герметичность
Для аспиратора с заглушенным отверстием в положении перед совершением рабочего хода объем просочившегося в него за одну минуту воздуха не должен превышать 3 см 3.
4.3.4 Механическая прочность
После испытания по 6.2.3 аспиратор должен удовлетворять требованиям 4.3.2.
4.3.5 Механическая надежность
После совершения аспиратором, нагруженным гидравлическим сопротивлением по 5.7, 1000 рабочих ходов он должен продолжать удовлетворять требованиям 4.3.2.
4.3.6 Взрывозащищенность
Если изготовитель предусматривает возможность применения аспиратора с электрическим приводом во взрывоопасной атмосфере, то такое оборудование должно пройти сертификацию на соответствие требованиям ГОСТ 31610.0. Сведения о сертификате указывают в технической документации на аспиратор.
4.3.7 Руководство по эксплуатации
Аспиратор должен поставляться с руководством по эксплуатации, содержащим по крайней мере следующие сведения:
- правила работы с аспиратором;
- способ проверки на герметичность перед каждым применением аспиратора (см. примечание к 6.2.2);
- порядок технического обслуживания;
- ссылку на инструкцию по применению индикаторной трубки;
- объем прокачиваемого воздуха за один рабочий ход;
- способ индикации завершения рабочего хода;
- ссылку на нормативный документ, по которому изготовлен аспиратор.
5.1 Общие положения
Испытания, установленные настоящим стандартом, проводят в отношении элементов газоопределителя (индикаторной трубки и аспиратора) по отдельности.
5.2 Поверочные газовые смеси
В качестве поверочных газовых смесей применяют стандартные образцы состава в баллонах под давлением по ГОСТ Р 8.776, меры - источники микропотоков газов и паров по ГОСТ Р 8.975 или газовые смеси, приготовленные с применением динамических установок по ГОСТ Р 8.970. Рекомендуется использовать поверочные газовые смеси, соответствующие рабочим эталонам 1-го разряда в соответствии с поверочной схемой [2].
5.3 Оборудование
Оборудование, применяемое для контроля метрологических характеристик индикаторных трубок, включает в себя:
- типовое оборудование химической лаборатории и химические реактивы аналитической степени чистоты;
- оборудование для получения газовых смесей статическим или динамическим методом (например, смесительную камеру из инертного материала, такого как стекло или фторопласт);
- оборудование для управления скоростью газовых потоков в генераторах газовых смесей, их составом, температурой и относительной влажностью;
- газоаналитическое оборудование для проверочного контроля.
5.4 Проверочный контроль
Состав получаемых газовых смесей должен быть подтвержден независимым методом контроля. Неопределенность измерения определяемого вещества (в терминах расширенной неопределенности) не должна превышать 7 %. Сведения о составе газовых смесей и связанные с ними неопределенности должны быть указаны в протоколе испытаний.
5.5 Генерирование газовых смесей
Приготавливают газовые смеси для нескольких (не менее трех) значений концентрации определяемого вещества в нижней, средней и верхней части диапазона измерений (например, соответствующие 20 %, 50 % и 80 % диапазона измерений). Температура, относительная влажность и другие характеристики газовой смеси должны соответствовать условиям методов испытаний, установленных в разделе 6. Определяют среднюю концентрацию полученной газовой смеси в смесительной камере одним из методов проверочного контроля (см. 5.4). При наличии известной поправки для метода проверочного контроля ее вносят в результат измерения.
Сравнивают результат, полученный при проверочном контроле, с той концентрацией, что должна быть обеспечена генератором газовой смеси. Если отличие составляет не более ± 10 %, то считают, что концентрация газовой смеси соответствует расчетной для данного генератора. В случае большего расхождения результатов проверяют правильность регулировок генератора или используют другое оборудование. При необходимости может быть проверена точность метода проверочного контроля.
При невозможности обеспечить требование совпадения заданной концентрации газовой смеси, обеспечиваемой генератором газовой смеси, с получаемым результатом проверочного контроля в пределах ± 10 %, в качестве окончательного значения принимают концентрацию, определенную методом проверочного контроля.
5.6 Условия испытаний индикаторных трубок
Для каждого испытания, предполагающего определение заданной концентрации химического вещества, представляют по 10 образцов индикаторной трубки. Испытания проводят с одним аспиратором. Рекомендуемая последовательность испытаний приведена в приложении А.
Если процедурой испытаний в целях утверждения типа или первичной поверки не установлено иное, то испытания проводят при следующих условиях:
- температура - (20 ± 2) °С;
- относительная влажность - (50 ± 5) %;
- атмосферное давление - (1013 ± 30) гПа.
Если атмосферное давление выходит за установленные пределы, то в полученное значение концентрации вносят поправку, приводя ее к нормальному атмосферному давлению 1013 гПа.
5.7 Условия испытаний аспираторов
Если процедурой испытаний в целях утверждения типа или поверки не установлено иное, то испытания проводят с одним образцом аспиратора.
Испытания по 6.2.1-6.2.4 проводят с устройством регулирования расхода (гидравлическим сопротивлением), создающим условия работы аспиратора, эквивалентные работе с индикаторной трубкой, и обеспечивающим при соединении с аспиратором перепад давления:
- (140 ± 10) гПа при расходе воздуха 500 см 3/мин;
- (430 ± 30) гПа при расходе воздуха 100 см 3/мин.
6.1 Испытания индикаторных трубок
6.1.1 Визуальный контроль
6.1.1.1 Руководство по эксплуатации
Проверяют полноту и правильность соблюдения требований по 4.2.8 и 4.2.11.
6.1.1.2 Диапазон измерений
Проверяют совпадение диапазонов измерений, указанных на индикаторной трубке и в руководстве по эксплуатации. В руководстве по эксплуатации могут быть указаны возможности расширения диапазона измерений посредством увеличения объема отбираемой пробы.
6.1.1.3 Шкала
Проверяют соблюдение требований 4.2.2.
6.1.1.4 Упаковка
Проверяют соблюдение требований 4.2.7.
6.1.1.5 Мешающие вещества
Проверяют соблюдение требований 4.2.8.
6.1.2 Процедуры
6.1.2.1 Общие положения
Испытания проводят с использованием оборудования, указанного в приложении Б. Необходимое число образцов индикаторной трубки для испытаний - по таблице А.1 приложения А.
6.1.2.2 Измерения с использованием поверочных газовых смесей
Подготавливают поверочные газовые смеси для нескольких (не менее трех) значений концентрации определяемого вещества (например, соответствующих 20 %, 50 % и 80 % диапазона измерений) в следующих условиях:
- температура - (20 ± 2) °С;
- атмосферное давление - (1013 ± 30) гПа;
- относительная влажность - (50 ± 5) %.
Примечание - Некоторые газы при указанных условиях могут вступать в реакцию с водой (растворяться в воде). Для них относительная влажность может быть установлена менее 10 %.
Проводят измерения с помощью индикаторных трубок для каждой из концентраций газовой смеси, руководствуясь указаниями изготовителя. Результат измерения определяют по шкале индикаторной трубки и заносят в протокол испытаний. Всего проводят 10 таких измерений для каждой концентрации газовой смеси.
6.1.2.3 Оценка длины окрашенного слоя
В каждой серии измерений по 6.1.2.2 наблюдают изменение окраски индикаторного порошка в течение 2 мин. Если в индикаторной трубке граница между окрашенным и неокрашенным слоями находится под углом к шкале измерений, то определяют относительный коэффициент наклона границы S, %, и среднюю длину окрашенного слоя l ave, мм, по формулам, соответственно:
,
(1)
,
(2)
где l max - максимальная длина окрашенного слоя по шкале индикаторной трубки, мм;
l min - минимальная длина окрашенного слоя по шкале индикаторной трубки, мм.
6.1.2.4 Оценка влияния условий окружающей среды
Используют по 10 индикаторных трубок для получения показаний по 6.1.2.2 и 6.1.2.3 для газовой смеси с концентрацией, соответствующей (80 ± 10) % диапазона измерений, при каждом из следующих сочетаний параметров
а) температура - (10± 2) °С,
атмосферное давление - (1013 ± 30) гПа,
относительная влажность - (20 ± 5) %;
б) температура - (30 ± 2) °С,
атмосферное давление - (1013 ± 30) гПа,
относительная влажность - (20 ± 5) %;
в) температура - (30 ± 2) °С,
атмосферное давление - (1013 ± 30) гПа,
относительная влажность - (80 ± 5) %.
Для индикаторных трубок с несколькими диапазонами измерений испытания проводят в каждом из диапазонов.
Если изготовитель указал поправки на температуру, влажность и атмосферное давление, то показания исправляют с использованием этих поправок.
Поскольку влияние условий окружающей среды определяется только типом индикаторной трубки, результаты испытания распространяют на все индикаторные трубки данного типа.
6.1.2.5 Оценка устойчивости к изменениям температуры при транспортировке
Выдерживают 10 образцов индикаторных трубок сначала в течение 24 ч при температуре (0 ± 2) °С, а затем в течение того же времени при температуре (60 ± 2) °С. После этого трубки приводят к комнатной температуре и проводят испытания по 6.1.2.2 и 6.1.2.3. Испытания проводят для газовой смеси с концентрацией, соответствующей (50 ± 10) % диапазона измерений. Для индикаторных трубок с несколькими диапазонами измерений испытания проводят в низшем диапазоне. Если изготовителем указана максимально допустимая температура при транспортировке, то испытания проводят при заданной максимальной температуре.
Усредненное по 10 трубкам значение концентрации определяемого вещества не должно отличаться от усредненного значения, полученного для того же значения концентрации в испытаниях по 6.1.2.2, более чем на S s (см. 7.2.1.2).
6.1.3 Испытания на механическую прочность
6.1.3.1 Оборудование
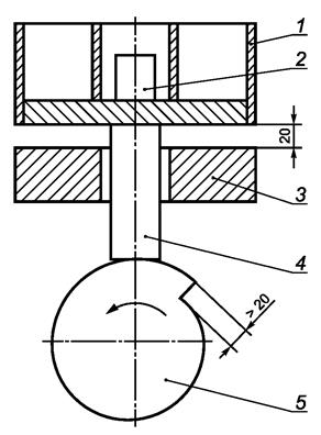
Испытания на механическую прочность осуществляют посредством нанесения ударов с помощью ударной машины, подобной изображенной на рисунке 1.
В процессе работы испытательной установки кулачковый механизм (5) поднимает поршень машины (4) с закрепленным на нем стальным корпусом (1) на высоту до 20 мм, после чего тот совершает свободное падение под действием собственного веса до соударения со стальной плитой. Требования к элементам установки - по ГОСТ Р ИСО 13137-2016 (пункт 7.8.1).
В мм

1 - стальной корпус; 2 - испытуемый объект (индикаторная трубка или аспиратор); 3 - стальная плита; 4 - вертикально движущийся поршень; 5 - кулачковый механизм
Рисунок 1 - Пример установки для испытаний на удар
6.1.3.2 Испытание
Нераскрытую упаковку с индикаторными трубками прочно закрепляют на испытательной установке сначала в горизонтальном, а потом вертикальном положениях.
Для каждого из положений упаковки выполняют по 2000 ударов. Частоту нанесения ударов выбирают таким образом, чтобы их общее число укладывалось в промежуток времени между двумя рабочими ходами аспиратора (например, 15 мин). После этого осуществляют визуальную проверку состояния упаковки (см. 6.1.4), случайным образом выбирают из нее 10 индикаторных трубок и проводят испытания по 6.1.2.2 с использованием газовой смеси с концентрацией, соответствующей от 20 % до 30 % диапазона измерений. Для трубок с несколькими диапазонами измерений испытания проводят в низшем диапазоне.
Усредненное по 10 трубкам значение концентрации определяемого вещества не должно отличаться от усредненного значения, полученного для того же значения концентрации в испытаниях по 6.1.2.2, более чем на S s (см. 7.2.1.2).
6.2 Испытания аспираторов
6.2.1 Определение объема прокачиваемого воздуха
Для проведения испытания используют устройство измерения объема (измеритель объема) с диапазоном от 90 до 110 см 3 с разрешением не менее ± 1 см 3. Аспиратор соединяют с измерителем объема и определяют объем прокачиваемого воздуха за один рабочий ход аспиратора в соответствии с инструкцией изготовителя. Результат измерения должен соответствовать требованию 4.3.2. Всего испытания проводят для пяти образцов аспиратора - по шесть испытаний для каждого образца.
6.2.2 Испытания на герметичность
Для проведения испытания используют измеритель объема, указанный в 6.2.1. Аспиратор соединяют с измерителем объема через запорное устройство (кран). Перед совершением рабочего хода кран закрыт. Спустя одну минуту его открывают и определяют объем прокачанного воздуха по показанию измерителя объема в конце рабочего хода аспиратора. Процедуру повторяют шесть раз. Усредненный результат измерений не должен отличаться от значения объема прокачиваемого воздуха, определенного по 6.2.1, более чем на 3 см 3.
Примечание - Данное испытание не следует путать с проверкой на герметичность перед применением аспиратора, которую выполняют в соответствии с указаниями изготовителя без применения специального оборудования.
6.2.3 Испытания на механическую прочность
Для проведения испытаний используют установку, описанную в 6.1.3.1. После закрепления на ней аспиратора совершают 4000 ударов за 40 мин. После этого проводят испытания аспиратора по 6.2.1.
6.2.4 Испытания на механическую надежность
Аспиратор соединяют с гидравлическим сопротивлением (см. 5.7) и совершают 1000 рабочих ходов в соответствии с инструкцией изготовителя. После этого проводят испытания аспиратора по 6.2.1.
Примечание - Для аспираторов с питанием от электрических батарей допускается в ходе испытания на надежность заряжать или заменять батареи.
6.2.5 Проверка взрывозащищенности
Проверяют наличие соответствующего документа (сертификата). Данную проверку осуществляют только в отношении аспираторов с приводом от электродвигателя.
6.2.6 Проверка руководства по эксплуатации
Проверяют полноту и правильность содержащейся в руководстве информации.
7.1 Общие положения
По результатам испытаний, выполненных в соответствии с 6.1.2.2-6.1.2.4 и 6.2.1, рассчитывают инструментальную неопределенность газоопределителя или индикаторной трубки (в терминах расширенной неопределенности), и сопоставляют ее со значением, заявленным изготовителем. Расширенная неопределенность, указанная изготовителем, не должна быть менее той, что рассчитана в соответствии с настоящим разделом.
При использовании газоопределителя с индикаторной трубкой для непосредственного обнаружения и количественной оценки содержания в воздухе заданных газов и паров соответствующую неопределенность измерения оценивают на основе анализа источников неопределенности и описания этих источников через влияющие величины (случайные переменные).
В таблице 1 перечислены потенциальные источники инструментальной неопределенности, оказывающие влияние на результаты измерений газоопределителем, с указанием, проявляется ли это влияние в виде случайного или систематического эффекта для данного измерения. В таблицу не включены мешающие величины, влияние которых может проявляться по-разному в каждом конкретном случае. Изготовитель газоопределителя должен указывать мешающие величины для каждого определяемого вещества и способ учета связанной с ним неопределенности. Требование к инструментальной неопределенности (см. 4.1) должно выполняться с учетом неопределенности, обусловленной мешающим веществом (веществами).
|  
         Влияющая величина (с обозначением соответствующей стандартной неопределенности)  |   
         Вид эффекта  | ||
|  
         Случайный  |   
         Систематический  | ||
|  
         Считываемое показание а  |   
         Вариация по партии (u s)  |   
         Да  |   
         -  | 
|  
         Смещение по партии (u B)  |   
         -  |   
         Да  | |
|  
         Объем прокачиваемого воздуха за рабочий ход (u P)  |   
         -  |   
         Да  | |
|  
         Температура (u T)  |   
         -  |   
         Да  | |
|  
         Относительная влажность (u H)  |   
         -  |   
         Да  | |
|  
         Концентрация поверочной газовой смеси (u EC)  |   
         -  |   
         Да  | |
|  
         Считывание для отдельной трубки  |   
         Отдельно не рассматривается  | ||
|  
         Химическая реакция в индикаторной трубке  |   
         Отдельно не рассматривается  | ||
|  
         Атмосферное давление  |   
         Не учитывается. Незначимый эффект  | ||
|  
         Диффузионное просачивание в трубку  |   
         Не учитывается. Незначимый эффект  | ||
|  
         Непостоянный расход воздуха при отборе пробы  |   
         Не учитывается. Незначимый эффект  | ||
|  
         а Включает все случайные источники: считывание по шкале, ход химической реакции, объем пробы.  | |||
Примечание - В таблице 1 не указан ряд факторов, связанных с работой газоопределителя (герметичность аспиратора, механическая прочность, механическая надежность, срок годности, условия хранения и т.п.), которые могут оказать влияние на правильность проведенного измерения, но не влияют на его неопределенность. При надлежащем контроле этих факторов доля неправильно выполненных измерений будет незначительна.
7.2 Оценивание составляющих неопределенности
7.2.1 Считываемое показание
7.2.1.1 Общие положения
Детальное исследование влияния каждой составляющей неопределенности из перечисленных в таблице 1 потребовало бы неоправданно большого объема испытаний. Поэтому экспериментальные результаты по партии трубок получают для одного значения концентрации определяемого химического вещества. При этом разброс считываемых показаний включает в себя в неявном виде случайность считывания показаний для отдельной трубки и процесс образования окрашенного слоя.
Расчеты выполняют по результатам испытаний, выполненных в соответствии с 6.1.2.2, 6.1.2.3.
Корреляция между отдельными влияющими величинами не может быть рассмотрена в общем виде и должна исследоваться в каждом случае отдельно.
7.2.1.2 Разброс между результатами измерений по партии (случайный эффект)
Предполагается, что для выбранной концентрации газовой смеси значение длины окрашенного слоя может быть получено для каждой из 10 индикаторных трубок, представленных на испытаниях. Это позволяет определить выборочное стандартное отклонение S s для партии по формуле
,
(3)
где C t - показание концентрации для t-й трубки, t = 1, 2, ..., 10;
C̅ - среднее значение концентрации по партии трубок, определяемое по формуле
.
(4)
Соответствующую относительную стандартную неопределенность u s, %, рассчитывают по формуле
,
(5)
где С - концентрация газовой смеси, использованной при испытаниях.
7.2.1.3 Оценка смещения (систематический эффект)
В общем случае средняя оценка по партии трубок будет смещена относительно значения концентрации газовой смеси, примененной в испытаниях. Относительное смещение В, %, рассчитывают по формуле
,
(6)
где C̅ - среднее значение концентрации по партии трубок;
С - концентрация газовой смеси, использованной при испытаниях.
Если полученное относительное смещение превысит 20 %, то рекомендуется обратиться к изготовителю трубок с просьбой о проведении соответствующей калибровки.
Относительную стандартную неопределенность u B, %, рассчитывают по формуле
u B = B.
(7)
7.2.2 Объем прокачиваемого воздуха
Неопределенность, связанную с объемом прокачиваемого аспиратором воздуха, определяют через выборочное стандартное отклонение s P по результатам испытаний с пятью образцами аспиратора (см. 6.2.1).
Выборочное стандартное отклонение s P рассчитывают по формуле
,
(8)
где V p - объем прокачиваемого воздуха, усредненный по шести измерениям для р-го образца аспиратора, р = 1, 2, ..., 5;
V̅ - среднее значение объема прокачиваемого воздуха по всем образцам аспиратора, определяемое по формуле
.
(9)
Соответствующую относительную стандартную неопределенность u P, %, получают по формуле
.
(10)
7.2.3 Температура
Влияние температуры на измеряемую величину рассматривают как систематический эффект, приводящий к смещению полученной концентрации химического вещества относительно ее истинного значения. Его оценивают на основе результатов испытаний, выполненных по 6.1.2.4 (см. пример в приложении В).
Коэффициент зависимости поправки на температуру представляет собой отношение отклонения ΔCT,cor исправленного значения концентрации при изменении температуры на ΔT, °С, от значения исходной исправленной концентрации С Т,cor к ΔT. В предположении, что коэффициент зависимости поправки на температуру изменяется пропорционально С Т,cor, относительный коэффициент зависимости поправки на температуру 
 считают постоянной величиной. Если индикаторную трубку применяют в возможном диапазоне температур воздуха рабочей зоны от 15 °С до 30 °С, то длина интервала изменений относительного коэффициента зависимости поправки на температуру составляет 
. Приняв распределение относительного коэффициента на этом интервале равномерным (что соответствует равной вероятности температуры принять любое значение в диапазоне от 15 °С до 30 °С), относительную стандартную неопределенность u T, связанную с влиянием температуры, рассчитывают по формуле
,
(11)
где С Т,cor - результат измерения концентрации химического вещества индикаторной трубкой с внесенной температурной поправкой;
ΔCT,cor/ΔT - коэффициент зависимости поправки на температуру.
7.2.4 Относительная влажность
Влияние относительной влажности на измеряемую величину рассматривают как систематический эффект, приводящий к смещению полученной концентрации химического вещества относительно ее истинного значения. Его также оценивают на основе результатов испытаний, выполненных по 6.1.2.4 (см. пример в приложении В).
Коэффициент зависимости поправки на относительную влажность представляет собой отношение отклонения ΔCH,cor исправленного значения концентрации при изменении относительной влажности на ΔH, %, от значения исходной исправленной концентрации С Н,cor к ΔH. В предположении, что коэффициент зависимости поправки на относительную влажность изменяется пропорционально С H,cor, относительный коэффициент зависимости поправки на относительную влажность 
 считают постоянной величиной. Если индикаторную трубку применяют в возможном диапазоне относительной влажности воздуха рабочей зоны от 20 % до 80 %, то длина интервала изменений относительного коэффициента зависимости поправки на относительную влажность составляет 
. Приняв распределение относительного коэффициента на этом интервале равномерным (что соответствует равной вероятности принять значению относительной влажности любое значение в диапазоне от 20 % до 80 %), относительную стандартную неопределенность u H, связанную с влиянием относительной влажности, рассчитывают по формуле
,
(12)
где С H,cor - результат измерения концентрации химического вещества индикаторной трубкой с внесенной поправкой на относительную влажность воздуха;
ΔCH,cor/ΔH - температурный коэффициент зависимости поправки на относительную влажность.
7.2.5 Концентрация поверочной газовой смеси
Испытания газоопределителей от разных изготовителей выполняют в разное время, которому соответствуют разные отклонения концентрации используемой поверочной газовой смеси от ее номинального значения - расчетного или полученного в ходе проверочного контроля. Это приведет к смещениям результатов измерения концентрации для разных испытаний, и связанную с этим неопределенность можно оценить по результатам повторных испытаний, в каждом из которых происходит новое приготовление поверочной газовой смеси. Данная составляющая неопределенности описывается относительным стандартным отклонением u EC, рассчитываемым по формуле
,
(13)
где SR2 - выборочная дисперсия по результатам повторных испытаний;
С - концентрация газовой смеси, заданная для испытаний.
7.2.6 Считывание показания для отдельной трубки
Этот влияющий фактор теоретически мог бы быть оценен по повторным считываниям результатов измерений с использованием данной индикаторной трубки. Однако учитывать его отдельно нет необходимости, поскольку он уже проявил себя в испытаниях партии индикаторных трубок и вошел в составляющую неопределенности u s (см. 7.2.1.2).
7.2.7 Химическая реакция в индикаторной трубке
Химическая реакция в индикаторной трубке тоже может протекать по-разному, например в силу неравномерного распределения реактива вдоль столбика индикаторного порошка. Однако связанный с этим возможный разброс результатов также не нуждается в специальном исследовании, поскольку проявил себя и соответственно был учтен в стандартной неопределенности u s (см. 7.2.1.2).
7.2.8 Атмосферное давление
В настоящем стандарте влияние неточности поправки на атмосферное давление не рассматривается. Внесение поправки - в соответствии с руководством по эксплуатации. Там же при необходимости может быть указан метод оценки неопределенности, связанный с этой поправкой.
7.2.9 Диффузионное просачивание в трубку
Помимо движения воздуха через трубку, связанного с работой аспиратора, существует также диффузионное просачивание сквозь слой индикаторного порошка, что вызывает смещение результата измерений. Этот фактор в настоящем стандарте не рассматривается, поскольку при достаточно малом поперечном сечении индикаторной трубки, длинном столбце воздуха в ней и высоком расходе воздуха, обеспечиваемым аспиратором, его влияние несущественно. Максимальное смещение B max,d, связанное с данным фактором, можно рассчитать по формуле
,
(14)
где Q p - скорость потока воздуха, создаваемого аспиратором;
Q d - скорость диффузионного потока.
Начальную скорость диффузионного потока можно оценить через коэффициент диффузии по формуле
,
(15)
где D - коэффициент диффузии;
А - площадь поперечного сечения трубки;
L 0 - высота столбика воздуха пред слоем индикаторного порошка в трубке.
Примечание - Наличие диффузионного эффекта учитывается при установлении порядка работы с индикаторной трубкой в начале и в конце отбора пробы.
7.2.10 Непостоянный расход воздуха при отборе пробы
Обычно скорость потока воздуха, создаваемого аспиратором, непостоянна - в начале отбора пробы она максимальна, а приблизительно через минуту падает до нуля. Это может оказать влияние на результат измерения, если концентрация определяемого вещества в воздухе быстро изменяется (например, пульсирует со временем). Однако индикаторные трубки применяют, как правило, для отбора проб вещества, содержание которого в воздухе рабочей зоны в течение одной минуты достаточно стабильно. В этом случае влиянием указанного эффекта можно пренебречь.
7.3 Суммарная стандартная неопределенность
Суммарную стандартную неопределенность u C, связанную с измеряемой величиной (концентрацией заданного вещества С), вычисляют по формуле
,
(16)
где u s - относительная стандартная неопределенность, описывающая случайные эффекты в ходе измерений по партии индикаторных трубок;
u T - относительная стандартная неопределенность, связанная с неточностью поправки на температуру;
u H - относительная стандартная неопределенность, связанная с неточностью поправки на относительную влажность;
u B - относительная стандартная неопределенность, описывающая систематические эффекты в ходе измерений по партии индикаторных трубок;
u P - относительная стандартная неопределенность объема прокачиваемого воздуха;
u EC - относительная стандартная неопределенность концентрации поверочной газовой смеси, используемой при испытаниях.
7.4 Расширенная неопределенность
Окончательный результат оценки неопределенности в виде расширенной неопределенности U получают по формуле
U = k×uc,
(17)
где k - коэффициент охвата, обычно принимаемый равным двум;
u c - суммарная стандартная неопределенность.
Примечания
1 На практике обычно используют значение k = 2.
2 Пример расчета расширенной неопределенности дан в приложении В.
8.1 Испытания индикаторных трубок
Протокол испытаний индикаторных трубок должен содержать как минимум следующие сведения:
- ссылку на настоящий стандарт;
- тип индикаторной трубки;
- тип использованного в испытаниях аспиратора;
- диапазон измерений, в котором индикаторная трубка удовлетворила требованиям по неопределенности измерения;
- использованные газовые смеси и неопределенности их концентраций;
- метод проверочного контроля;
- результаты испытаний;
- заключение о соответствии или несоответствии установленным критериям;
- возможные отклонения и особенности, наблюдавшиеся в ходе испытаний;
- примененные процедуры, не рассматриваемые настоящим стандартом, которые могли оказать влияние на полученные результаты.
8.2 Испытания аспираторов
Протокол испытаний аспираторов должен содержать как минимум следующие сведения:
- ссылку на настоящий стандарт;
- тип аспиратора;
- результаты испытаний;
- заключение о соответствии или несоответствии установленным критериям;
- возможные отклонения и особенности, наблюдавшиеся в ходе испытаний;
- примененные процедуры, не рассматриваемые настоящим стандартом, которые могли оказать влияние на полученные результаты.
9.1 Упаковка индикаторных трубок
Каждая упаковка индикаторных трубок должна иметь маркировку, содержащую следующую информацию:
- наименование организации-изготовителя или его товарный знак, условное обозначение индикаторной трубки;
- указание на соответствие настоящему стандарту;
- наименование каждого определяемого вещества и соответствующие диапазоны измерений;
- номер партии, присвоенный изготовителем;
- срок годности;
- рекомендуемые условия хранения;
- число трубок в упаковке.
9.2 Индикаторные трубки
Каждая индикаторная трубка должна иметь маркировку, содержащую следующую информацию:
- наименование организации-изготовителя или его товарный знак, условное обозначение индикаторной трубки;
- наименование каждого определяемого вещества;
- указатель направления потока воздуха;
- шкалы с единицами измерений;
- число рабочих ходов аспиратора для отбора одной пробы или объем пробы.
9.3 Аспираторы
Каждый аспиратор должен иметь маркировку, содержащую следующую информацию:
- наименование организации-изготовителя или его товарный знак, условное обозначение аспиратора;
- заводской номер, месяц и год изготовления;
- указание на соответствие настоящему стандарту.
Допускается знак, указывающий на соответствие настоящему стандарту, ставить на упаковке аспираторов.
Приложение А 
  
 (обязательное)
А.1 Испытания индикаторных трубок
Испытания должны быть проведены в последовательности, указанной в таблице А.1.
|  
         Этап  |   
         Процедура  |   
         Пункт (подпункт) настоящего стандарта  | 
|  
         1  |   
         Проверка руководства по эксплуатации  |   
         6.1.1.1  | 
|  
         Проверка информации о диапазоне измерений  |   
         6.1.1.2  | |
|  
         Проверка шкалы индикаторной трубки  |   
         6.1.1.3  | |
|  
         Проверка упаковки индикаторных трубок  |   
         6.1.1.4  | |
|  
         Проверка информации о мешающих веществах  |   
         6.1.1.5  | |
|  
         2  |   
         Измерение концентрации поверочной газовой смеси в диапазоне измерений а  |   
         6.1.2.2  | 
|  
         Оценка длины окрашенного слоя (10 индикаторных трубок)  |   
         6.1.2.3  | |
|  
         3  |   
         Оценка влияния условий окружающей среды (10 индикаторных трубок)  |   
         6.1.2.4  | 
|  
         4  |   
         Оценка устойчивости к изменению температуры (10 индикаторных трубок)  |   
         6.1.2.5  | 
|  
         Испытания на механическую прочность (10 индикаторных трубок)  |   
         6.3  | |
|  
         а В целях утверждения типа испытания проводят с 10 индикаторными трубками. Оценивают неопределенность измерения для трех значений концентрации определяемого вещества в диапазоне измерений.  | ||
А.2 Испытания аспираторов
Испытания должны быть проведены в последовательности, указанной в таблице А.2.
|  
         Этап  |   
         Процедура  |   
         Пункт (подпункт) настоящего стандарта  | 
|  
         1  |   
         Проверка сертификата о взрывозащищенном исполнении (только для аспираторов с электрическим приводом)  |   
         6.2.5  | 
|  
         Проверка руководства по эксплуатации  |   
         6.2.6  | |
|  
         2  |   
         Определение объема прокачиваемого воздуха а  |   
         6.2.1  | 
|  
         Испытания на герметичность  |   
         6.2.2  | |
|  
         3  |   
         Испытания на механическую прочность (один из аспираторов, прошедших испытания по 6.2.1)  |   
         6.2.3  | 
|  
         Испытания на механическую надежность (один из аспираторов, прошедших испытания по 6.2.1)  |   
         6.2.4  | |
|  
         а В целях утверждения типа испытания проводят с пятью аспираторами. Оценивают неопределенность измерения объема прокачиваемого воздуха.  | ||
Приложение Б 
  
 (обязательное)
Для проведения испытаний индикаторных трубок в соответствии с 6.1.2 применяют следующие средства измерений, средства контроля (индикаторы), испытательное и вспомогательное оборудование:
- смесительную камеру из инертного материала (стекло, фторопласт и т.п.);
- гидравлическое сопротивление [например, игольчатый клапан с перепадом давления (140 ± 10) гПа при расходе воздуха 500 см 3/мин и (430 ± 30) гПа при расходе воздуха 100 см 3/мин];
- измеритель объема (см. 6.2.1);
- расходомер;
- дифференциальный манометр;
- испытательную установку для нанесения ударов (см. 6.1.3.1);
- секундомер;
- термометр;
- барометр;
- гигрометр;
- климатическую камеру (см. 6.1.2.4 и 6.1.2.5);
- соединительные шланги и другое вспомогательное оборудование.
Приложение В 
  
 (справочное)
В.1 Общие положения
В настоящем приложении приведен пример расчета расширенной неопределенности для измерения содержания вещества с ПДК, равной 20·10-6 (в объемных долях), на основе положений раздела 7. Расчет выполнен через относительные стандартные неопределенности, приведенные к оценке концентрации определяемого химического вещества. Результат расчета сопоставляется с инструментальной неопределенностью, заявленной изготовителем и совпадающей с целевой неопределенностью, указанной в 4.1.
В.2 Влияние условий окружающей среды
В рассматриваемом примере использованы три набора индикаторных трубок по 10 трубок в каждом. Измерения выполнены для концентрации газовой смеси 120 ppm 1), наивысшей из концентраций по 6.1.2.2. Трубки подверглись испытаниям на воздействие внешних факторов согласно 6.1.2.4.
──────────────────────────────
1) При измерении содержания химического вещества в объемных долях международными и национальными стандартами рекомендуется указывать множитель 10-6, однако изготовители современных индикаторных трубок, как правило, на шкалах указывают значение объемной доли в "ppm".
──────────────────────────────
В таблице В.1 приведены результаты измерений концентраций определяемого вещества согласно 7.2.3 и 7.2.4. Измерения проводились в условиях слепого эксперимента, когда действительные значения измеряемых величин экспериментатору неизвестны. Для температуры использовано условное обозначение T, для относительной влажности - Н.
Таблица В.1
|  
         Номер трубки в наборе  |   
         Результаты измерений в ppm при разных значениях внешних факторов  | ||
|  
         T = 10 °С, Н = 20 %  |   
         T = 30 °С, Н = 20 %  |   
         T = 30 °С, Н = 80 %  | |
|  
         1  |   
         105  |   
         126  |   
         130  | 
|  
         2  |   
         106  |   
         119  |   
         133  | 
|  
         3  |   
         116  |   
         123  |   
         132  | 
|  
         4  |   
         103  |   
         122  |   
         135  | 
|  
         5  |   
         95  |   
         121  |   
         123  | 
|  
         6  |   
         109  |   
         118  |   
         124  | 
|  
         7  |   
         103  |   
         113  |   
         129  | 
|  
         8  |   
         109  |   
         131  |   
         132  | 
|  
         9  |   
         111  |   
         114  |   
         130  | 
|  
         10  |   
         102  |   
         116  |   
         140  | 
|  
         Среднее значение  |   
         106  |   
         120  |   
         131  | 
Приведенные в таблице данные позволяют составить следующие три уравнения для определения коэффициентов зависимости поправок на температуру и относительную влажность (а - неизвестная постоянная величина):
,
,
.
Решение системы уравнений дает следующие относительные коэффициенты зависимостей поправок на температуру и влажность соответственно:
,
.
Это позволяет вычислить относительные стандартные неопределенности, связанные с неточностью поправок на температуру и относительную влажность:
,
.
В.3 Влияние объема прокачиваемого воздуха
В рассматриваемом примере испытания были проведены согласно 6.2.1 и таблице А.2. Результаты испытаний приведены в таблице В.2.
В.4 Неопределенность измерений для разных концентраций газовой смеси
В рассматриваемом примере были проведены измерения содержания определяемого вещества для трех разных концентраций (5, 20 и 120 ppm) в нормальных условиях по 6.1.2.2 с помощью трех наборов индикаторных трубок (по 10 трубок в каждом) из одной партии в условиях слепого эксперимента.
В таблице В.3 показаны результаты измерений и обработки данных согласно 7.2.1. Оценка влияния температуры и относительной влажности воздуха взята из В.2, оценка влияния прокачиваемого воздуха - из В.3. В таблице учтена экспертная оценка неопределенности концентрации газовой смеси.
Таблица В.2
|  
         Номер аспиратора  |   
         Объем прокачиваемого воздуха, см 3  |   
         Среднее значение  | |||||
|  
         1  |   
         2  |   
         3  |   
         4  |   
         5  |   
         6  | ||
|  
         1  |   
         101  |   
         98  |   
         101  |   
         101  |   
         99  |   
         100  |   
         100  | 
|  
         2  |   
         100  |   
         100  |   
         101  |   
         99  |   
         97  |   
         101  |   
         99  | 
|  
         3  |   
         97  |   
         98  |   
         99  |   
         97  |   
         99  |   
         100  |   
         98  | 
|  
         4  |   
         97  |   
         100  |   
         101  |   
         98  |   
         97  |   
         97  |   
         98  | 
|  
         5  |   
         101  |   
         98  |   
         101  |   
         101  |   
         99  |   
         100  |   
         100  | 
|  
         Среднее по аспираторам  |   
         99  | ||||||
|  
         u P  |   
         1,4 %  | ||||||
Таблица В.3
|  
         Показываемые значения, pmm, для разных концентраций газовой смеси  | ||
|  
         5 pmm  |   
         20 pmm  |   
         120 pmm  | 
|  
         5  |   
         23  |   
         115  | 
|  
         4  |   
         22  |   
         118  | 
|  
         5  |   
         18  |   
         121  | 
|  
         4  |   
         19  |   
         124  | 
|  
         6  |   
         19  |   
         118  | 
|  
         5  |   
         23  |   
         128  | 
|  
         6  |   
         20  |   
         116  | 
|  
         5  |   
         22  |   
         117  | 
|  
         5  |   
         19  |   
         120  | 
|  
         4  |   
         20  |   
         120  | 
|  
         Показываемые значения, pmm, для разных концентраций газовой смеси  | ||
|  
         5 pmm  |   
         20 pmm  |   
         120 pmm  | 
|  
         Относительная стандартная неопределенность для влияния считываемых показаний: случайный эффект, u s  | ||
|  
         14,8 %  |   
         9,2 %  |   
         3,3 %  | 
|  
         Относительная стандартная неопределенность для влияния считываемых показаний: систематический эффект, U B  | ||
|  
         2,0 %  |   
         2,5 %  |   
         0,25 %  | 
|  
         Расширенная неопределенность U, рассчитанная по формулам (16) и (17) для коэффициента охвата k = 2 и значений стандартных неопределенностей u T 
             = 2,6 %, u P = 1,4 %, u EC = 3,0 %  | ||
|  
         32 %  |   
         21 %  |   
         12 %  | 
Полученные значения расширенных неопределенностей при разных концентрациях определяемого вещества (без учета мешающих веществ) не превышают заявленных.
Библиография
|  
         [1]  |   
         ГН 2.2.5.3532-18 Предельно допустимые концентрации (ПДК) вредных веществ в воздухе рабочей зоны (утверждены постановлением Главного государственного санитарного врача Российской Федерации от 13 февраля 2018 г. N 25)  | 
|  
         [2]  |   
         Государственная поверочная схема для средств измерений содержания компонентов в газовых и газоконденсатных средах (утверждена приказом Федерального агентства по техническому регулированию и метрологии от 14 декабря 2018 г. N 2664)  | 


