Утв. и введен в действие приказом Федерального агентства по техническому регулированию и метрологии от 16 мая 2019 г. N 12-пнст
Предварительный национальный стандарт ПНСТ 323-2019
"ДОРОГИ АВТОМОБИЛЬНЫЕ ОБЩЕГО ПОЛЬЗОВАНИЯ. ГРУНТЫ. МЕТОД ОПРЕДЕЛЕНИЯ КАЛИФОРНИЙСКОГО ЧИСЛА (CBR) ДЛЯ ОЦЕНКИ НЕСУЩЕЙ СПОСОБНОСТИ ГРУНТА"
Automobile roads of general use. Soils. Method of determining the number of California (CBR) for evaluating the bearing capacity of soil
ОКС 93.080.20
Срок действия - с 1 июля 2019 г.
до 1 июля 2022 г.
Предисловие
1 Разработан Обществом с ограниченной ответственностью "Центр метрологии, испытаний и стандартизации" (ООО "ЦМИиС")
2 Внесен Техническим комитетом по стандартизации ТК 418 "Дорожное хозяйство"
3 Утвержден и введен в действие Приказом Федерального агентства по техническому регулированию и метрологии от 16 мая 2019 г. N 12-пнст
1 Область применения
Настоящий стандарт распространяется на грунты, в том числе стабилизированные и укрепленные, предназначенные для строительства, реконструкции и ремонта автомобильных дорог общего пользования, и устанавливает методы определения индекса непосредственной несущей способности (IPI), Калифорнийского числа (CBR) и линейного набухания грунтов.
Настоящий стандарт не распространяется на грунты с зернами крупнее 31,5 мм.
2 Нормативные ссылки
В настоящем стандарте использованы нормативные ссылки на следующие стандарты:
ГОСТ 12.4.131 Халаты женские. Технические условия
ГОСТ 12.4.132 Халаты мужские. Технические условия
ГОСТ 12.4.252 Система стандартов безопасности труда. Средства индивидуальной защиты рук. Перчатки. Общие технические требования. Методы испытаний
ГОСТ Р 12.1.019 Система стандартов безопасности труда. Электробезопасность. Общие требования и номенклатура видов защиты
ПНСТ 324-2019 Дороги автомобильные общего пользования. Грунты. Определение оптимальной влажности и максимальной плотности методом Проктора
Примечание - При пользовании настоящим стандартом целесообразно проверить действие ссылочных стандартов в информационной системе общего пользования - на официальном сайте Федерального агентства по техническому регулированию и метрологии в сети Интернет или по ежегодному информационному указателю "Национальные стандарты", который опубликован по состоянию на 1 января текущего года, и по выпускам ежемесячного информационного указателя "Национальные стандарты" за текущий год. Если заменен ссылочный стандарт, на который дана недатированная ссылка, то рекомендуется использовать действующую версию этого стандарта с учетом всех внесенных в данную версию изменений. Если заменен ссылочный стандарт, на который дана датированная ссылка, то рекомендуется использовать версию этого стандарта с указанным выше годом утверждения (принятия). Если после утверждения настоящего стандарта в ссылочный стандарт, на который дана датированная ссылка, внесено изменение, затрагивающее положение, на которое дана ссылка, то это положение рекомендуется применять без учета данного изменения. Если ссылочный стандарт отменен без замены, то положение, в котором дана ссылка на него, рекомендуется применять в части, не затрагивающей эту ссылку.
3 Термины и определения
В настоящем стандарте применены следующие термины с соответствующими определениями:
3.1 индекс непосредственной несущей способности; IPI: Величина, характеризующая несущую способность грунта, определяемая на образцах с максимальной плотностью и оптимальной влажностью путем вдавливания в образец штампа диаметром 50 мм при скорости нагружения 1,27 мм/мин.
3.2 Калифорнийское число; CBR: Величина, характеризующая несущую способность грунта, определяемая после насыщения образцов водой путем вдавливания в образец штампа диаметром 50 мм при скорости нагружения 1,27 мм/мин.
3.3 стабилизированный грунт: Грунт, получаемый смешением грунтов со стабилизаторами (или стабилизаторами совместно с вяжущим в количестве не более 2 % массы необработанного грунта) в слое механизированным способом на дороге или в смесительных установках с последующим уплотнением при оптимальной влажности, обеспечивающим изменение водно-физических свойств грунтов.
3.4 стабилизаторы: Многокомпонентные системы, включающие в своем составе (в основном) поверхностно-активные вещества как ионогенного, так и неионогенного типов, обладающие свойствами гидрофобизаторов, суперпластификаторов, полимеров и применяемые в строительстве для обработки грунтов с целью изменения их водно-физических свойств.
3.5 укрепленный грунт: Грунт, получаемый смешением грунта с вяжущим в количестве более 2 % массы необработанного грунта (с введением или без введения в грунт стабилизатора) в слое механизированным способом на дороге или в смесительных установках с последующим уплотнением при оптимальной влажности.
3.6 водно-физические свойства: Свойства грунта, определяющие его водопроницаемость, пучинистость, набухание, высоту капиллярного поднятия, оптимальную влажность при максимальной плотности.
4 Требования к средствам измерений и вспомогательным устройствам
4.1 При выполнении испытаний применяют следующие средства измерений и вспомогательные устройства:
- испытательная установка (испытательный пресс) с пределом измерения не менее 50 кН, позволяющая обеспечить равномерное погружение плунжера в образец со скоростью (1,27 ± 0,20) мм/мин;
- нагружающий плунжер (штамп) диаметром (50,0 ± 0,5) мм с основанием из закаленной стали;
- сборная форма типа В для уплотнения грунта, состоящая в соответствии с ПНСТ 324-2019 из съемного удлинительного кольца высотой не менее 50 мм, цилиндрической части и съемного основания. Внутренние части формы должны быть без царапин, вмятин и других видимых дефектов.
Примечание - Допускается применение форм высотой более 120 мм с использованием металлического вкладыша для получения образца при уплотнении высотой (120 ± 1) мм;
- уплотняющий молот с грузом массой (4500 ± 40) г, диаметром основания (50,0 ± 0,5) мм и высотой падения груза (457 ± 3) мм в соответствии с ПНСТ 324-2019;
- основание формы должно иметь перфорацию. Перфорация основания формы должна составлять от 1 % до 2 % его площади;
- перфорированная пластина диаметром, соответствующим внутреннему диаметру формы, с регулируемым по высоте стержнем. Перфорированная пластина должна свободно перемещаться внутри формы. Типовая конструкция перфорированной пластины представлена на рисунке 1;
- держатель для индикатора часового типа;
- индикатор часового типа с ценой деления не более 0,01 мм;
- емкость для насыщения образцов водой геометрическими размерами, позволяющими устанавливать в нее форму, при этом высота емкости должна быть не менее высоты сборной формы;
- пригрузочный диск. Диаметр диска должен соответствовать внутреннему диаметру формы типа В. Диск должен свободно перемещаться в сборной форме. Пригрузочный диск должен иметь отверстие в центре диаметром (53 ± 1) мм и должен быть массой (2000 ± 50) г.
Примечание - Допускается применение пригрузочных дисков, состоящих из двух равных частей;
- лабораторные сита с ячейками квадратной формы размерами 4; 22,4 и 31,5 мм;
- сушильный шкаф, способный создавать и поддерживать температуру (110 ± 5) °С;
Рисунок 1 - Перфорированная пластина
- лабораторные весы с наибольшим пределом взвешивания не менее 15000 г и с ценой деления не более 5 г;
- бетонная плита массой не менее 50 кг, толщиной не менее 100 мм, с ровной, близкой к горизонтальной поверхностью, обеспечивающей плотное прилегание основания формы. Площадь плиты должна быть больше площади основания применяемой формы.
Примечание - Вместо бетонной плиты может быть применена металлическая горизонтальная плита массой не менее 50 кг и толщиной не менее 20 мм. Площадь плиты должна быть больше площади основания применяемой формы;
- контейнер с герметичной крышкой для хранения материала;
- металлический совок или шпатель;
- металлические противни.
5 Метод испытаний
Сущность метода определения индекса непосредственной несущей способности и Калифорнийского числа заключается в определении зависимости создаваемого усилия и глубины погружения плунжера, погружаемого в образец с постоянной скоростью, непосредственно после изготовления образца и после насыщения его водой.
6 Требования безопасности
При работе с грунтами используют специальную защитную одежду по ГОСТ 12.4.131 или ГОСТ 12.4.132. Для защиты рук используют перчатки по ГОСТ 12.4.252.
При выполнении измерений соблюдают правила по электробезопасности по ГОСТ Р 12.1.019 и инструкции по эксплуатации оборудования.
7 Требования к условиям испытаний
При выполнении измерений температура в помещениях, в которых проводят испытания, должна быть (22 ± 3) °С.
8 Подготовка к проведению испытаний
8.1 Для проведения испытаний подготавливают мерную пробу грунта массой не менее 6 кг (для изготовления одного образца), высушенного до постоянной массы и просеянного через сито с размером ячеек 31,5 мм.
Примечание - Материал с частицами размером от 22,4 до 31,5 мм должен быть удален из пробы, а вместо него добавлена такая же масса этого испытуемого материала с частицами размером от 4 до 22,4 мм.
Для определения индекса непосредственной несущей способности и Калифорнийского числа изготовляют по три образца для каждого испытания.
8.2 Подготовленную пробу грунта переносят в контейнер с герметичной крышкой, добавляют воду до оптимальной влажности, предварительно определенной в соответствии с ПНСТ 324-2019, и тщательно перемешивают металлическим совком или шпателем. Уплотнение начинают сразу после окончания перемешивания.
Примечание - Для перемешивания возможно применение лабораторного смесителя.
8.3 Соединяют основание формы с цилиндрической частью формы. Закрепляют на форме удлинительное кольцо и протирают внутреннюю поверхность формы ветошью, смоченной керосином, минеральным маслом или техническим вазелином. При применении металлического вкладыша устанавливают его в форму. На дно формы или на поверхность металлического вкладыша укладывают лист фильтровальной бумаги диаметром, соответствующим диаметру формы.
8.4 Устанавливают подготовленную форму на бетонную плиту.
8.5 Уплотнение образца проводят в пять слоев.
8.6 Материал делят на 5 равных частей и засыпают в сборную форму ориентировочное количество грунта на один слой.
8.7 Проводят уплотнение материала 56 ударами уплотняющего груза. Удары уплотняющего груза проводят, равномерно распределяя их по поверхности грунта (смеси) в форме. Равномерное распределение ударов по поверхности грунта (смеси) обеспечивают за счет выполнения восьми серий ударов, по семь ударов в каждой серии по периметру формы, при этом последний удар в каждой серии наносят в центр формы. Уплотнение второго и последующих слоев следует проводить в соответствии с настоящим пунктом.
8.8 После уплотнения пятого слоя снимают удлинительное кольцо и срезают выступающую часть материала ножом. Толщина срезаемого слоя материала должна быть не более 15 мм. В противном случае форму освобождают от материала, уплотнение начинают заново, добавляя меньше материала на каждый слой.
8.9 Образующиеся после зачистки поверхности образца углубления (вследствие выпадения крупных частиц) заполняют вручную грунтом из срезанной части и выравнивают лабораторным ножом.
8.10 Снимают с формы удлинительное кольцо, снимают основание и переворачивают форму с грунтом. Собирают форму в обратной последовательности.
9 Определение индекса непосредственной несущей способности (IPI) и Калифорнийского числа (CBR)
9.1 Определение индекса непосредственной несущей способности (IPI)
9.1.1 Определение индекса непосредственной несущей способности проводят не позднее чем через 90 мин с момента замешивания грунта с водой, вяжущими материалами или стабилизаторами. При применении извести определение индекса непосредственной несущей способности проводят не ранее чем через 60 мин и не позднее чем через 90 мин с момента замешивания грунта с известью.
9.1.2 Изготовление образцов для определения непосредственной несущей способности проводят по разделу 8.
9.1.3 Устанавливают форму с уплотненным образцом на испытательную установку.
9.1.4 Подводят на испытательной установке плунжер (штамп) к поверхности образца и создают первоначальную нагрузку, равную 40 Н. Данное положение плунжера принимают за нулевой отсчет нагрузки, а также от данного положения начинают измерение перемещения плунжера.
9.1.5 Запускают испытательную установку, обеспечивающую погружение в образец плунжера (штампа) с постоянной скоростью (1,27 ± 0,20) мм/мин. Фиксируют значение усилия при погружении плунжера (штампа) на каждые 0,5 мм. Испытание проводят до погружения плунжера (штампа) в образец на глубину 10 мм.
9.2 Определение Калифорнийского числа (CBR)
9.2.1 Определение Калифорнийского числа проводят после определения линейного набухания образца, насыщенного водой.
9.2.2 Изготовление образцов для определения Калифорнийского числа проводят по разделу 8.
9.2.3 Для определения линейного набухания на сборной форме с образцом меняют основание формы на перфорированное. Между основанием формы и образцом помещают диск из фильтровальной бумаги.
9.2.4 На поверхность образца помещают диск из фильтровальной бумаги и устанавливают перфорированную пластину.
9.2.5 На перфорированную пластину устанавливают необходимое количество пригрузочных дисков.
Примечание - Пригрузочные диски используют для имитации нагружения испытуемого грунта вышележащими конструктивными слоями дорожной одежды. Один диск имитирует нагрузку от вышележащего слоя толщиной 70 см.
9.2.6 Собранную форму вместе с грунтом устанавливают в емкость с водой. Температура воды в емкости должна быть (22 ± 3) °С. Уровень воды в емкости должен быть на (30 ± 10) мм выше поверхности образца в течение всего времени выдерживания в воде.
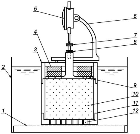
9.2.7 Устанавливают на форму держатель с индикатором часового типа и фиксируют первоначальные показания с точностью 0,01 мм (см. рисунок 2).
1 - перфорированая подставка; 2 - емкость для воды; 3 - удлинительное кольцо; 4 - пригрузочные диски; 5 - индикатор часового типа; 6 - держатель индикатора часового типа; 7 - регулируемый стержень; 8 - контргайка; 9 - перфорированная пластина; 10 - образец; 11 - цилиндрическая часть формы; 12 - перфорированное основание формы
Рисунок 2 - Схема конструкции для насыщения образца водой
9.2.8 Последующие показания индикатора фиксируют с точностью 0,01 мм каждые 24 ч в течение 96 ч.
9.2.9 Насыщение образца водой считают завершенными если приращение линейного набухания между последними отсчетами будет составлять не более 0,05 мм. В случае приращения линейного набухания более 0,05 мм время насыщения образца водой необходимо увеличить.
9.2.10 После определения линейного набухания извлекают форму с образцом из воды, кладут на боковую поверхность в поддон и выдерживают (15 ± 1) мин для удаления лишней влаги.
9.2.11 Устанавливают форму с образцом на испытательную установку.
9.2.12 Если при определении линейного набухания использовались пригрузочные диски, то их устанавливают в форму.
9.2.13 Подводят на испытательной установке плунжер к поверхности образца и создают первоначальную нагрузку, равную 40 Н. Данное положение плунжера принимают за нулевой отсчет нагрузки, а также от данного положения начинают измерение перемещения плунжера.
9.2.14 Запускают испытательную установку, обеспечивающую погружение в образец плунжера (штампа) с постоянной скоростью (1,27 ± 0,20) мм/мин. Фиксируют значение усилия при погружении плунжера каждые 0,5 мм. Испытание проводят до погружения плунжера в образец на глубину 10 мм.
10 Обработка результатов испытаний
10.1 Определение индекса непосредственной несущей способности (IPI)
10.1.1 По полученным значениям усилий при погружении плунжера (штампа) строят график. Если начальная часть кривой вогнута вниз, необходимо провести корректировку расположения точки начала отсчета. Пример графика с корректировкой приведен на рисунке 3. Корректировку положения точки начала отсчета выполняют путем построения касательной с максимальным количеством точек соприкосновения с кривой. Точка пересечения касательной Q с осью абсцисс будет являться новым началом отсчета для определения значения усилий при погружении плунжера на 2,5 и 5 мм.
Рисунок 3 - Пример графика с корректировкой
Примечания
1 Если скорректированная точка начала отсчета Q расположена на уровне более 7,5 мм глубины погружения плунжера (штампа), то в этом случае результаты испытаний не учитывают.
2 Если на скорректированном графике получается так, что при определении значения усилия, соответствующего погружению плунжера (штампа) на 5 мм, необходимый отсчет погружения получается более 7,5 мм, то значение усилия принимают соответствующим погружению плунжера (штампа) на 7,5 мм.
10.1.2 Используя найденные значения усилий, рассчитывают индекс непосредственной несущей способности IPI (%) с точностью 0,5 % по формулам (1) и (2). За результат испытания принимают наибольшее значение.

;
(1)

,
(2)
где P1 - значения усилий при погружении плунжера (штампа) на 2,5 мм, кН;
P2 - значения усилий при погружении плунжера на 5,0 мм, кН;
13,2 и 20,0 - значения стандартных усилий (при погружении плунжера (штампа) на глубину 2,5 и 5,0 мм соответственно), кН.
10.2 Определение Калифорнийского числа (CBR)
10.2.1 По полученным значениям усилий при погружении плунжера (штампа) строят график. На графике определяют значения усилий при погружении плунжера (штампа) на 2,5 и 5 мм.
10.2.2 Используя найденные значения усилий, рассчитывают индекс непосредственной несущей способности CBR (%) с точностью 0,5 % по формулам (3) и (4). За результат испытания принимают наибольшее значение.

;
(3)

,
(4)
где P1 - значения усилий при погружении плунжера (штампа) на 2,5 мм, кН;
P2 - значения усилий при погружении плунжера (штампа) на 5,0 мм, кН;
13,2 и 20,0 - значения стандартных усилий (при погружении плунжера (штампа) на глубину 2,5 и 5,0 мм соответственно), кН.
10.3 Если значение Калифорнийского числа получается меньше значения индекса непосредственной несущей способности на 25 % и более, то это свидетельствует о недостаточной водостойкости испытанного грунта, которое в случае необходимости может быть увеличено до требуемых величин путем стабилизации или укрепления грунта.
10.4 Определение линейного набухания
10.4.1 Вычисляют значение линейного набухания образца Н, %, по следующей формуле:

,
(5)
где I2 - показания индикатора часового типа после завершения испытания, мм;
I1 - первоначальные показания индикатора часового типа, мм;
h - первоначальная высота образца, мм.
За результат испытания принимают среднее значение линейного набухания трех образцов.
11 Оформление результатов испытаний
Результаты испытаний оформляют в виде протокола, который должен содержать:
- обозначение настоящего стандарта;
- дату проведения испытания;
- наименование организации, проводившей испытание;
- индекс непосредственной несущей способности (IPI);
- Калифорнийское число (CBR);
- среднее значение линейного набухания;
- время насыщения образцов в воде;
- наличие пригрузочных дисков при определении Калифорнийского числа (CBR).
12 Контроль точности результатов испытаний
Точность результатов испытаний обеспечивается:
- соблюдением требований настоящего стандарта;
- проведением периодической оценки метрологических характеристик средств измерений;
- проведением периодической аттестации оборудования.
Лицо, проводящее измерения, должно быть ознакомлено с требованиями настоящего стандарта.