ПНСТ 267-2018 ФИЛЬТРЫ ЙОДНЫЕ ЭНЕРГОБЛОКОВ АТОМНЫХ СТАНЦИЙ, НАХОДЯЩИХСЯ НА СТАДИИ ЭКСПЛУАТАЦИИ. ПРИЕМОЧНЫЕ И ПЕРИОДИЧЕСКИЕ ИСПЫТАНИЯ "НА МЕСТЕ" (IN SITU) С ИСПОЛЬЗОВАНИЕМ РАДИОАКТИВНОГО МЕТИЛИОДИДА
Iodine filter in nuclear unit power stations. Acceptance and periodic tests in situ using radioactive methyl iodide
ОКС 27.120.99
Предисловие
1 Разработан Акционерным обществом "Прогресс-Экология" (АО "Прогресс-Экология")
2 Внесен Техническим комитетом по стандартизации ТК 322 "Атомная техника"
3 Утвержден и введен в действие Приказом Федерального агентства по техническому регулированию и метрологии от 26 апреля 2018 г. N 5-пнст
4 Введен впервые
Настоящий стандарт устанавливает правила и руководящие указания проведения испытаний йодных фильтров (ИФ) непосредственно на месте их эксплуатации с целью выполнения требований нормативных документов Российской Федерации [1]-[3], а также в части подтверждения соответствия ИФ паспортным данным и проектным показателям по улавливанию радиоактивного йода в системах вентиляции нормальной эксплуатации, важных для безопасности эксплуатируемых энергоблоков атомных станций (АС), и системах вентиляции, выполняющих функции обеспечения безопасности при авариях на АС (далее - системы вентиляции) [4], [5].
Настоящий стандарт служит инструментом, который предоставляет возможность специалистам эксплуатирующих, а также контролирующих организаций следить за состоянием йодной очистки на АС и получать необходимую информацию о готовности ИФ выполнять свои функции как при нормальных условиях эксплуатации, так и в случае потенциальной аварии на АС.
Настоящий стандарт распространяется как на вновь вводимые, так и на находящиеся в эксплуатации ИФ, установленные в вытяжных системах вентиляции АС, которые ответственны за ограничение распространения радиоактивных веществ и их выхода в окружающую среду [6].
В отдельных случаях для целей определения эффективности очистки ИФ допускается использование иных обоснованных подходов, отличных от приведенных в настоящем стандарте.
Настоящий стандарт не распространяется на энергоблоки АС, не имеющих лицензию на обращение с радиоактивными веществами.
В настоящем стандарте использованы нормативные ссылки на следующие стандарты:
ГОСТ 8.529 Государственная система обеспечения единства измерений. Средства измерений объемной активности парообразного йода-131. Методика поверки
ГОСТ 12.0.003 Система стандартов по безопасности труда. Опасные и вредные производственные факторы. Классификация
ГОСТ 12.4.011 Система стандартов безопасности труда. Средства защиты работающих. Общие требования и классификация
ГОСТ 15.309 Система разработки и постановки продукции на производство. Испытания и приемка выпускаемой продукции. Основные положения
ГОСТ 19823 Средства очистки воздуха фильтрующие для объектов коллективной защиты. Метод определения степени негерметичности
ГОСТ 19824 Средства очистки воздуха фильтрующие для объектов коллективной защиты. Метод измерения сопротивления постоянному потоку воздуха
ГОСТ Р 8.568 Государственная система обеспечения единства измерений. Аттестация испытательного оборудования. Основные положения
ГОСТ Р 54443 Сорбенты йодные для атомных электростанций. Метод определения индекса сорбционной способности
Примечание - При пользовании настоящим стандартом целесообразно проверить действие ссылочных стандартов в информационной системе общего пользования - на официальном сайте Федерального агентства по техническому регулированию и метрологии в сети Интернет или по ежегодному информационному указателю "Национальные стандарты", который опубликован по состоянию на 1 января текущего года, и по выпускам ежемесячного информационного указателя "Национальные стандарты" за текущий год. Если заменен ссылочный стандарт, на который дана недатированная ссылка, то рекомендуется использовать действующую версию этого стандарта с учетом всех внесенных в данную версию изменений. Если заменен ссылочный стандарт, на который дана датированная ссылка, то рекомендуется использовать версию этого стандарта с указанным выше годом утверждения (принятия). Если после утверждения настоящего стандарта в ссылочный стандарт, на который дана датированная ссылка, внесено изменение, затрагивающее положение, на которое дана ссылка, то это положение рекомендуется применять без учета данного изменения. Если ссылочный стандарт отменен без замены, то положение, в котором дана ссылка на него, рекомендуется применять в части, не затрагивающей эту ссылку.
В настоящем стандарте применены термины, приведенные в глоссарии МАГАТЭ, а также следующие термины с соответствующими определениями:
3.1 авария: Любое непреднамеренное событие, включая ошибки во время эксплуатации, отказ оборудования и другие неполадки, реальные или потенциальные последствия которого не могут игнорироваться с точки зрения защиты или безопасности.
3.2 газообразные радиоактивные отходы; ГРО: Не подлежащие дальнейшему использованию воздух или газы, в которых объемная активность нуклидов в виде аэрозолей и/или газообразных веществ выше, чем разрешенный уровень, установленный регулирующими документами.
3.3 индекс сорбционной способности сорбента: Показатель, характеризующий степень снижения содержания радиоактивного метилиодида в газовом потоке в течение 1 с контакта газа с сорбентом при данных условиях.
3.4 йодный сорбент: Гранулированный поглотитель с развитой пористой структурой, содержащий органическое и/или неорганическое вещество (импрегнант), которое повышает способность сорбента улавливать органическую форму радиоиода - радиоактивный метилиодид.
3.5 йодный фильтр: Аппарат, снаряженный йодным сорбентом.
3.6 приемочные и периодические испытания: Проверка способности и готовности конструкций, систем и элементов к работе и выполнению соответствующих функций в установленном проектом объеме, при необходимости.
3.7 коэффициент очистки: Величина, равная отношению объемной активности радиоактивного йода на входе йодного фильтра к объемной активности на выходе фильтра.
3.8 радиационные источники: Не относящиеся к ядерным установкам изделия, в которых содержатся радиоактивные вещества.
3.9 мобильный радиационный источник: Радиационный источник, конструкция и масса составных блоков (частей) которого позволяют перемещать его к месту проведения работ.
3.10 нормальная эксплуатация: Эксплуатация в установленных эксплуатационных пределах и условиях.
3.11 объемная активность: Активность радионуклида в единице объема воздуха или газа.
3.12 паспорт: Документ, содержащий сведения, удостоверяющие гарантии изготовителя, значения основных параметров и характеристик (свойств) изделия, а также сведения о сертификации и утилизации изделия.
3.13 изготовитель: Юридическое лицо или индивидуальный предприниматель, осуществляющие производство и поставку оборудования генподрядчику или его филиалу.
3.14 эффективность йодного фильтра: Величина, характеризующая долю уловленного фильтром радиоактивного йода.
4.1 Общие положения
4.1.1 Испытания проводят с ИФ, полностью смонтированными в системах вытяжной вентиляции.
Приемочные испытания проводят после монтажа в систему вентиляции вновь вводимых ИФ или после замены йодных сорбентов в фильтрах.
Периодические испытания проводят ежегодно из-за возможного снижения эффективности работы фильтров вследствие отравления и/или старения йодных сорбентов в процессе эксплуатации ИФ.
ИФ должны пройти досрочные испытания после отклонений от требований нормальной эксплуатации, а также после ликвидации последствий аварии с целью проверки их способности выполнять функции в установленном проектом объеме, а также в случае обнаружения снижения эффективности фильтра ниже проектных значений.
Для проведения испытаний руководством АС должен быть представлен комплект технической документации, включающий:
- рабочую программу и методику испытаний;
- проектную документацию на систему вентиляции;
- акт технического состояния системы вентиляции;
- паспорт на ИФ;
- руководство по эксплуатации ИФ;
- паспорт на йодный сорбент с указанием его характеристик и индекса сорбционной способности по радиоактивному метилиодиду по ГОСТ Р 54443 и [7].
4.1.2 При проведении испытаний ИФ должны быть определены:
- степень негерметичности ИФ;
- аэродинамическое сопротивление ИФ при номинальном расходе фильтруемого воздуха;
- эффективность очистки воздуха от йода в органической форме - радиоактивного метилиодида.
4.1.3 Испытательное оборудование должно быть аттестовано по ГОСТ Р 8.568.
4.1.4 Все средства, используемые при испытаниях, должны быть исправны, функционировать в соответствии с документацией по их эксплуатации.
4.2 Требования к климатическим условиям
Климатические условия в помещениях, где проводят испытания, должны отвечать следующим параметрам [8]:
- температура воздуха - (25 ± 10) °С;
- относительная влажность воздуха - от 45 % до 80 %;
- атмосферное давление - от 4, 0 кПа до 106, 7 кПа.
5.1 Устройство для получения газообразного радиоактивного метилиодида
Устройство для получения газообразного радиоактивного метилиодида (далее - устройство) предназначено для приготовления и ввода в систему вентиляции радиоактивного метилиодида непосредственно во время проведения испытаний ИФ, смонтированного в систему вентиляции. Пример устройства приведен в приложении А.
Устройство относится к мобильным радиоактивным источникам по [4] и должно иметь паспорт с указанием технических характеристик и инструкцию по эксплуатации. Принципиальная схема устройства приведена на рисунке 1.
Устройство включает в себя:
- сменный аэрозольный фильтр, который устанавливают на входе устройства и который служит для очистки поступающего в устройство воздуха от пыли и аэрозольных частиц;
- мини-компрессор для нагнетания потока воздуха в устройство;
- испаритель метилиодида, который служит для получения паров стабильного метилиодида;
- насос для создания воздушного потока через испаритель;
- смеситель основного потока воздуха с воздухом, содержащим метилиодид;
- реактор для осуществления реакции изотопного обмена между газообразным метилиодидом и Na131I (K131I).
5.1.1 Рекомендуемые технические характеристики основного оборудования устройства для получения газообразного радиоактивного метилиодида приведены в таблице 1.

1 - аэрозольный фильтр; 2 - мини-компрессор; 3 - насос; 4 - испаритель метилиодида; 5 - смеситель; 6 - реактор с реактивом, содержащим Na131l (или K131I)
Рисунок 1 - Принципиальная схема устройства для получения газообразного радиоактивного метилиодида
Таблица 1
|  
         Наименование  |  
         Технические характеристики  | 
|  
         Аэрозольный фильтр  |  
         Производительность 0, 6 м3/ч; эффективность для частиц от 0, 2 до 0, 3 мкм - не менее 99, 95 %  | 
|  
         Насос для подачи воздуха в испаритель метилиодида  |  
         Производительность по воздуху - не более 500 мл/мин  | 
|  
         Испаритель метилиодида  |  
         Температура от 20 °С до 35 °С, парциальное давление паров CH3I в испарителе от 56 до 90 кПа  | 
|  
         Мини-компрессор  |  
         Производительность по воздуху 10 л/мин, давление Р = 9, 8 кПа, электрическая мощность N = 10 Вт, электрическое питание 220 В, 50 Гц  | 
|  
         Реактор изотопного обмена  |  
         Производительность по воздуху - не более 10 л/мин  | 
5.2 Другие контролирующие устройства
5.2.1 Устройство для определения аэродинамического сопротивления ИФ - в соответствии с предусмотренными в проектах систем вентиляции АС.
5.2.2 Устройство для отбора газоаэрозольных проб из газовых сдувок - в соответствии с проектом АС.
Испытаниям должен быть подвергнут каждый отдельный ИФ или группы фильтров с целью подтверждения их соответствия требованиям, установленным проектом АС.
Испытания проводит технический персонал АС, обслуживающий ИФ, при участии специалистов предприятия эксплуатирующей организации и представителя изготовителя фильтра, по утвержденной руководством АС программе и методике испытаний.
6.1 Пневматические испытания на степень негерметичности йодного фильтра
Испытания проводят перед монтажом ИФ в систему вентиляции.
Испытания на негерметичность проводят только в случае отсутствия в паспорте на изделие указаний о проведении таких испытаний у изготовителя или в случае обнаружения дефекта при наружном осмотре.
Испытания проводят по отдельной программе, утвержденной руководством АС.
6.1.1 Испытания проводят при плотно закрытых входном и выходном отверстиях фильтра заглушками, одна из которых должна иметь два вваренных штуцера.
6.1.2 Степень негерметичности определяют по ГОСТ 19823.
6.1.3 Устройство для контроля герметичности должно быть предусмотрено регламентом испытаний.
6.1.4 Испытания проводят с помощью сжатого воздуха при постоянном давлении в ИФ, не превышающем давления, оговоренного техническими условиями на фильтр.
6.1.5 Степень негерметичности определяют по утечке воздуха, которая не должна быть более допустимого значения, указанного в паспорте.
6.2 Испытания для определения аэродинамического сопротивления йодного фильтра
6.2.1 Испытания проводят с ИФ или группой ИФ, полностью смонтированных в системе вентиляции, во время проведения пуско-наладочных работ (ПНР), с целью определения аэродинамического сопротивления (перепада давления) ИФ, с помощью устройств и средств контроля, предусмотренных проектом и имеющихся на АС.
6.2.2 Испытания проводят при номинальной производительности ИФ при проектных параметрах системы вентиляции. Контроль этих параметров (объемная скорость газового потока, температура, относительная влажность) осуществляет технический персонал АС.
6.2.3 Измерение аэродинамического сопротивления ИФ выполняют в соответствии с ГОСТ 19824.
6.2.4 Для измерения сопротивления ИФ датчик перепада давления должен быть подключен к штуцерам, установленным на воздуховоде до и после ИФ (рекомендуется на линейных участках воздуховода).
6.2.5 Порядок измерения сопротивления следующий:
- включают вентилятор системы вентиляции;
- устанавливают рабочий режим в системе вентиляции;
- при достижении проектных параметров в системе вентиляции производят не менее пяти отсчетов показаний датчика перепада давления.
6.2.6 По результатам измерений производят вычисление среднего арифметического значения аэродинамического сопротивления ИФ с занесением результатов в протокол испытаний.
6.2.7 Испытания считаются успешными, если измеренное сопротивление ИФ не превышает более чем на 15 % значения сопротивления, установленного при приемо-сдаточных испытаниях фильтра у изготовителя (величина аэродинамического сопротивления указана в паспорте на ИФ).
6.3 Испытание йодного фильтра для определения эффективности улавливания радиоактивного метилиодида
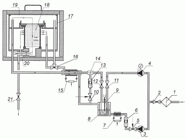
Испытание ИФ или группы проводят в системе вентиляции, полностью подготовленной к эксплуатации. Испытания проводят во время пуска системы вентиляции в эксплуатацию с помощью аттестованного устройства для получения газообразного радиоактивного метилиодида с учетом требований [6], [9], [10].
Схема подключения устройства при испытаниях ИФ приведена на рисунке 2.

1 - устройство для получения газообразного радиоактивного метилиодида; 2 - аэрозольный фильтр; 3 - ИФ; 4 - вентилятор системы вентиляции; 5 - пробоотборное устройство до ИФ; 6 - пробоотборное устройство после ИФ; 7 - вакуумный насос
Рисунок 2 - Схема испытания ИФ в системах вентиляции
6.3.1 Эффективность ИФ определяют с помощью метилиодида, меченного изотопом йод-131 (тестирующий агент), который во время испытаний вводят в газоход системы вентиляции из устройства для получения газообразного радиоактивного метилиодида.
6.3.2 Ввод радиоактивного метилиодида производят через специальный штуцер на трубопроводе системы газовых сдувок до ИФ. При отсутствии такого штуцера для ввода тестирующего агента можно использовать линию пробоотбора, установленную на входе аэрозольного фильтра (рисунок 2).
6.3.3 Испытания должны проводить при следующих параметрах воздушного потока через ИФ:
- температура воздушного потока - от 15 °С до 45 °С;
- относительная влажность воздушного потока - не более 90 %;
- расход воздушного потока должен соответствовать проектному значению.
6.3.4 Испытания проводят при условиях, предложенных МАГАТЭ [8]:
- общая вводимая активность йода-131 не должна превышать 108 Бк;
- время ввода радиоактивного метилиодида в газоход - от 30 мин до 1 ч;
- скорость подачи тестирующей смеси в систему вентиляции - не более 0, 5 м3/ч;
- рекомендуемое время пробоотбора - 1-10 ч.
При этом минимальную и достаточную активность, которая требуется для одного испытания, рекомендуется вычислять по формуле (1), приведенной в техническом докладе МАГАТЭ [8]:
,
(1)
где qmin - минимальная активность, которая должна быть введена на вход ИФ или группы, Бк;
Коч - минимальный коэффициент очистки, который должен быть подтвержден (общепринято, что для радиоактивного метилиодида Коч должен быть не менее 100);
q1min - минимальная активность, которую можно измерить в контрольных пробах после ИФ, Бк;
(для расчета рекомендуется принять qmin равным 3, 7 Бк);
V - объемная скорость газа через ИФ, м3/ч;
Vпр - объемная скорость газа через пробоотборное устройство на выходе ИФ, м3/ч.
Пример расчета приведен в приложении Б.
При этом необходимо учитывать, что вводимая с метилиодидом активность не должна превышать допустимый суточный выброс радиоиода в атмосферу [6].
6.3.5 В результате испытаний определяют эффективность очистки газового потока от радиоактивного метилиодида и сравнивают полученный результат с показателем, указанным в технической документации (паспорт) на ИФ.
7.1 Определение эффективности очистки
Критерий "эффективность очистки" определяют по объемной активности йода-131 на входе и выходе ИФ, в соответствии с ГОСТ 8.529 и с использованием методики радиационного контроля [11].
Активность радиойода, накопленную в пробах штатных пробоотборных устройств, измеряют в лаборатории на гамма-спектрометре по линии гамма-излучения 0, 364 МэВ. На основании результатов измерения активности и объема воздуха, пропущенного через пробоотборные устройства, вычисляют объемную активность на входе и выходе ИФ.
При проведении измерений и обработке полученных результатов измерений следует руководствоваться положениями ГОСТ 8.529.
Эффективность вычисляют по формуле
,
(2)
где ε - эффективность очистки, %;
Адф - объемная активность йода-131 до ИФ, Бк/м3;
Апф - объемная активность йода-131 после ИФ, Бк/м3.
ИФ допускается к эксплуатации при условии, что показатели эффективности улавливания радиоиода удовлетворяют требованиям технической документации на ИФ (паспорта) и установленным в проекте показателям.
7.2 Определение коэффициента очистки
Наряду с эффективностью для определения работоспособности ИФ можно также пользоваться другим, более показательным, критерием - коэффициентом очистки Коч, определяемым по формуле (3) и равным отношению объемной активности йода-131 на входе ИФ к объемной активности на выходе ИФ
.
(3)
Эффективность и коэффициент очистки связаны между собой следующим соотношением:
.
(4)
Результаты испытаний ИФ оформляют протоколом по ГОСТ 15.309, подписанным лицами, ответственными за проведение испытаний, в соответствии с приложением В.
9.1 В соответствии с ГОСТ 12.0.003, ГОСТ 12.4.011, а также [5] следует соблюдать осторожность при проведении испытаний ИФ, учитывая следующие основные физически опасные и вредные производственные факторы опасности:
- механическая опасность, связанная с использованием специального инструмента при монтаже и наладке оборудования;
- опасность, связанная с перемещением и переносом оборудования;
- опасность поражения электрическим током;
- опасность отравления при вдыхании паров метилиодида;
- опасность облучения при использовании радиоактивного метилиодида.
Для защиты персонала должны быть предусмотрены все меры безопасности проведения испытаний ИФ.
9.2 Подготовка, инструктаж и допуск сотрудников к проведению работ регламентированы действующими инструкциями на АС.
К выполнению контрольных испытаний ИФ и обработке результатов допускаются специалисты, имеющие опыт в области обращения с газообразными радиоактивными отходами, радиометрии, техники отбора и подготовки проб.
В испытаниях участвуют специалисты, прошедшие подготовку к работе с устройством ввода радиоактивного метилиодида в системы вентиляции.
К испытаниям допускаются специалисты, знающие положения основных нормативных документов, инструкции по технике безопасности, правила и нормы радиационной безопасности.
Организацию подготовительных работ для проведения контрольных испытаний ИФ осуществляют службы АС.
Испытания ИФ проводят в присутствии специально назначенной комиссии.
Приложение А 
  
 (справочное)
──────────────────────────────
* Использование интеллектуальной собственности АО "Прогресс-Экология" должно быть осуществлено в соответствии с п. 1 ст. 1229 ГК РФ.
На рисунке А.1 представлен генератор газообразного радиоактивного метилиодида для испытания ИФ.

1 - аэрозольный фильтр; 2, 11, 12, 21 - запорные вентили; 3 - мини-компрессор; 4 - насос; 5, 10 - регулировочные вентили; 6, 13 - ротаметры; 7, 15 - электронагреватели; 8 - испаритель метилиодида; 9, 20 - датчики температуры; 14 - смеситель; 16 - 3-ходовой кран; 17 - реактор; 18 - кассета с реактивом; 19 - свинцовая защита
Рисунок А.1
Приложение Б 
  
 (рекомендуемое)
Расчет минимальной активности радиойода проводят для испытания вытяжной системы создания разрежения во внутреннем контейнменте реакторного отделения по формуле, рекомендованной техническим комитетом МАГАТЭ [8]:
,
Коч - заданный коэффициент очистки для радиоактивного метилиодида - не менее 100;
q1min - минимальная активность пробы, которую можно измерить - 3, 7 Бк;
V - номинальная производительность системы - 3000 м3/ч;
Vпр - объемная скорость газа через пробоотборное устройство на выходе системы - 1, 2 м3/ч
.
Для испытаний принимают величину 106 Бк.
Приложение В 
  
 (обязательное)
ПРОТОКОЛ
приемо-сдаточных испытаний ________________________________________
наименование или обозначение продукции
за N _____
|  
         Наименование параметра (показателя)  |  
         Обозначение документа  |  
         Значение параметра  |  
         Данные испытания (контроля)  |  
         Дата проведения испытания  |  
         Подпись лица, проводившего испытание (контроль)  |  
         Примечание  | ||
|  
         Номер пункта  |  
         Номин.  |  
         Пред. откл.  | ||||||
|  
         технических требований  |  
         методов испытаний (контроля)  | |||||||
ЗАКЛЮЧЕНИЕ
Продукция (единицы, партии, комплекты) _____________________________
наименование или обозначение
за N _______ соответствует требованиям __________________________________
обозначение документа(ов)
и годна для использования по назначению (эксплуатации).
Продукция (единицы, партии, комплекты) _____________________________
наименование и обозначение
за N _______ не соответствует требованиям _______________________________
обозначение документа(ов)
и подлежит возврату в ОТК.
Представитель ОТК _____________ ______________ ___________________ ______
орган приемки личная подпись расшифровка подписи дата
Библиография
[1] НП-001-15 Федеральные нормы и правила в области использования атомной энергии. Общие положения обеспечения безопасности атомных станций от 17 декабря 2015 г.
[2] НП-036-05 Правила устройства и эксплуатации систем вентиляции, важных для безопасности, атомных станций от 07 ноября 2005 г.
[3] НП-21-2000 Обращение с газообразными радиоактивными отходами от 27 ноября 2000 г.
[4] НП 038-16 Федеральные нормы и правила в области использования атомной энергии. Общие положения обеспечения безопасности радиационных источников от 28 сентября 2016 г.
[5] СП 2.6.1.28-2000 "Правила радиационной безопасности при эксплуатации атомных станций (ПРБ АС-99)" от 15 декабря 2000 г.
[6] СП 2.6.1.24-03 "Санитарные правила проектирования и эксплуатации атомных станций (СП-АС-03)" от 28 апреля 2003 г.
[7] Йодные угольные сорбенты для ядерных установок. Метод определения индекса сорбционной способности сорбента. Международный стандарт принят 2017.02 (ISO 18417. Iodine charcoal sorbents for nuclear facilities - Method for defining sorption capacity index)
[8] Испытания и контроль систем газоочистки на ядерных установках. Технические доклады, серия N 243, МАГАТЭ (Testing and Monitoring of Off-Gas Cleaning Systems at Nuclear Facilities. Technical Reports, Series N 243, IAEA, Vienna, 1984)
[9] СП 2.6.1.2612-10 "Основные санитарные правила обеспечения радиационной безопасности (ОСПОРБ-99/2010)" от 26 апреля 2010 г.
[10] СП 2.6.1.2523-09 "Нормы радиационной безопасности (НРБ-99/2009)" от 07 июля 2009 г.
[11] МИ 2453-2015 Государственная система обеспечения единства измерений. Рекомендация. Методики радиационного контроля. Общие требования (утв. ФГУП "ВНИИФТРИ" 30 декабря 2015 г.)


