ПНСТ 265-2018 ДОРОГИ АВТОМОБИЛЬНЫЕ ОБЩЕГО ПОЛЬЗОВАНИЯ. ПРОЕКТИРОВАНИЕ НЕЖЕСТКИХ ДОРОЖНЫХ ОДЕЖД
Automobile roads of general use. Flexible pavement design
ОКПД 2 74.90
Предисловие
1 Разработан Автономной некоммерческой организацией "Научно-исследовательский институт транспортно-строительного комплекса" (АНО "НИИ ТСК") при участии ООО "НТЦ "ГЕОТЕХНОЛОГИИ"
2 Внесен Техническим комитетом по стандартизации ТК 418 "Дорожное хозяйство"
3 Утвержден и введен в действие приказом Федерального агентства по техническому регулированию и метрологии от 11 апреля 2018 г. N 3-пнст
Настоящий стандарт распространяется на нежесткие дорожные одежды (далее - дорожные одежды) автомобильных дорог общего пользования (далее - автомобильные дороги).
Настоящий стандарт устанавливает правила проектирования при строительстве, реконструкции, капитальном ремонте и ремонте автомобильных дорог, а также при разработке каталогов и альбомов типовых решений по конструкциям дорожных одежд.
Допускается применение положений настоящего стандарта при проектировании дорожных одежд для улиц населенных пунктов.
Наряду с учетом настоящего стандарта следует руководствоваться указаниями специальных региональных нормативных документов, утвержденных в установленном порядке.
В настоящем стандарте использованы нормативные ссылки на следующие стандарты:
ГОСТ 3344 Щебень и песок шлаковые для дорожного строительства. Технические условия
ГОСТ 8267 Щебень и гравий из плотных горных пород для строительных работ. Технические условия
ГОСТ 9128 Смеси асфальтобетонные дорожные, аэродромные и асфальтобетон. Технические условия
ГОСТ 23558 Смеси щебеночно-гравийно-песчаные и грунты, обработанные неорганическими вяжущими материалами, для дорожного и аэродромного строительства. Технические условия
ГОСТ 25607 Смеси щебеночно-гравийно-песчаные для покрытий и оснований автомобильных дорог и аэродромов. Технические условия
ГОСТ 30491 Смеси органоминеральные и грунты, укрепленные органическими вяжущими, для дорожного и аэродромного строительства. Технические условия
ГОСТ 31015 Смеси асфальтобетонные и асфальтобетон щебеночно-мастичные. Технические условия
ГОСТ 32703 Дороги автомобильные общего пользования. Щебень и гравий из горных пород. Технические требования
ГОСТ 32824 Дороги автомобильные общего пользования. Песок природный. Технические требования
ГОСТ 32826 Дороги автомобильные общего пользования. Щебень и песок шлаковые. Технические требования
ГОСТ 32960 Дороги автомобильные общего пользования. Нормативные нагрузки, расчетные схемы нагружения
ГОСТ 32965 Дороги автомобильные общего пользования. Методы учета интенсивности движения транспортного потока
ГОСТ 33063 Дороги автомобильные общего пользования. Классификация типов местности и грунтов
ГОСТ 33100 Дороги автомобильные общего пользования. Правила проектирования автомобильных дорог
ГОСТ 33133 Дороги автомобильные общего пользования. Битумы нефтяные дорожные вязкие. Технические требования
ГОСТ 33220 Дороги автомобильные общего пользования. Требования к эксплуатационному состоянию
ГОСТ Р 52056 Вяжущие полимерно-битумные дорожные на основе блоксополимеров типа стирол-бутадиен-стирол. Технические условия
Примечание - При пользовании настоящим стандартом целесообразно проверить действие ссылочных стандартов в информационной системе общего пользования - на официальном сайте Федерального агентства по техническому регулированию и метрологии в сети Интернет или по ежегодному информационному указателю "Национальные стандарты", который опубликован по состоянию на 1 января текущего года, и по выпускам ежемесячного информационного указателя "Национальные стандарты" за текущий год. Если заменен ссылочный стандарт, на который дана недатированная ссылка, то рекомендуется использовать действующую версию этого стандарта с учетом всех внесенных в данную версию изменений. Если заменен ссылочный стандарт, на который дана датированная ссылка, то рекомендуется использовать версию этого стандарта с указанным выше годом утверждения (принятия). Если после утверждения настоящего стандарта в ссылочный стандарт, на который дана датированная ссылка, внесено изменение, затрагивающее положение, на которое дана ссылка, то это положение рекомендуется применять без учета данного изменения. Если ссылочный стандарт отменен без замены, то положение, в котором дана ссылка на него, рекомендуется применять в части, не затрагивающей эту ссылку.
В настоящем стандарте применены термины ГОСТ 33100, а также следующие термины с соответствующими определениями:
3.1 выравнивающий слой: Слой переменной толщины, устраиваемый между новым покрытием и слоем существующего покрытия или основания для обеспечения технологических и эксплуатационных параметров дорожного покрытия и не учитываемый в расчетах на прочность.
3.2 дополнительные слои основания дорожной одежды: Слои между несущим основанием и подстилающим грунтом, предусматриваемые для обеспечения требуемой морозоустойчивости и дренирования конструкции, позволяющие снижать толщину вышележащих слоев из материалов дорожной одежды.
3.3 капитальная дорожная одежда: Дорожная одежда, обладающая наиболее высокой работоспособностью, соответствующей условиям движения и срокам службы дорог высоких категорий.
3.4 защитный слой покрытия дорожной одежды: Слой, устраиваемый на поверхности верхнего слоя покрытия, предназначенный для его защиты от непосредственного воздействия колес автомобильного транспорта и/или комплекса погодно-климатических факторов и не учитывающийся при расчетах на прочность.
3.5 коэффициент динамичности: Коэффициент увеличения нагрузки при динамическом воздействии по сравнению со статическим.
3.6 максимальный размер зерен минерального заполнителя асфальтобетона: Размер зерен минерального заполнителя, который на один размер больше номинального максимального размера зерен минерального заполнителя.
3.7 межремонтный срок проведения работ по капитальному ремонту: Срок службы между капитальными ремонтами (периодичность проведения работ по капитальному ремонту).
3.8 межремонтный срок проведения работ по ремонту: Срок службы между ремонтами (периодичность проведения работ по ремонту).
3.9 надежность дорожной одежды: Комплексный показатель способности дорожной конструкции в целом сохранять заданные эксплуатационные характеристики (ровность, прочность, шероховатость) в течение расчетного срока службы.
3.10 номинальный максимальный размер зерен минерального заполнителя асфальтобетона: Размер зерен минерального заполнителя, соответствующий размеру ячейки сита, который на один размер больше размера ячейки первого сита, полный остаток минерального заполнителя на котором составляет более 10 %.
3.11 осевая расчетная нагрузка: Максимальная нагрузка на наиболее нагруженную ось для двухосных автомобилей или на приведенную ось для многоосных автомобилей, доля которых в составе движения с учетом перспективы изменения к концу межремонтного срока составляет не менее 5 %.
3.12 относительная влажность грунта: Отношение естественной влажности к влажности на границе текучести.
3.13 прочность дорожной одежды: Способность сопротивляться процессу развития остаточных деформаций и разрушений под воздействием касательных и нормальных напряжений, возникающих в конструктивных слоях и подстилающем грунте от расчетной нагрузки (кратковременной, многократной или длительно действующей однократной), приложенной к поверхности покрытия.
3.14 рабочий слой земляного полотна (подстилающий грунт): Верхняя часть земляного полотна в пределах от низа дорожной одежды до уровня, соответствующего 2/3 глубины его промерзания, но не менее 1, 5 м, считая от поверхности покрытия дорожной одежды.
3.15 расчетный период года: Наиболее неблагоприятный по условиям увлажнения период года, в течение которого прочность дорожных конструкций достигает минимальных значений.
3.16 слой износа: Верхний замыкающий слой дорожной одежды, непосредственно воспринимающий воздействие колес автомобильного транспорта и погодно-климатических факторов.
АБ TP ТС - асфальтобетоны, запроектированные на основе межгосударственных стандартов на каменные материалы, включенных в перечень стандартов, в результате применения которых на добровольной основе обеспечивается соблюдение требований технического регламента [1];
АВ - асфальтобетон для верхнего слоя покрытия;
АК - нормативная нагрузка от автотранспортных средств;
АН - асфальтобетон для нижнего слоя покрытия;
АО - асфальтобетон для верхнего слоя основания;
БНД - битум нефтяной дорожный;
ДКЗ - дорожно-климатическая зона;
ПБВ - полимерно-битумное вяжущее;
СПАС - система проектирования асфальтобетонных смесей по методологии "Superpave";
УГВ - уровень грунтовых вод;
ЩМА - щебеночно-мастичный асфальтобетон;
ЩМА TP ТС - щебеночно-мастичные асфальтобетоны, запроектированные на основе межгосударственных стандартов на каменные материалы, включенных в перечень стандартов, в результате применения которых на добровольной основе обеспечивается соблюдение требований технического регламента [1];
ЭООН - эквивалентная одноосная нагрузка;
PG - обозначение марки битумного вяжущего, установленное в соответствии с температурным диапазоном эксплуатации дорожного покрытия, определяемого с учетом расчетных температур;
SMA - щебеночно-мастичный асфальтобетон, запроектированный по методу объемного проектирования;
SP - асфальтобетон, запроектированный по методу объемного проектирования по методологии "СПАС".
5.1 В районах с влажным и холодным климатом на участках с неблагоприятными грунтово-гидрологическими условиями должны быть предусмотрены меры по осушению и обеспечению морозоустойчивости дорожной одежды и земляного полотна. В соответствии с грунтово-гидрологическими условиями строительства выбирают значения расчетных характеристик грунтов земляного полотна для расчета дорожных одежд на прочность.
5.2 Конструкции дорожных одежд, их общая толщина и толщина отдельных слоев, а также применяемые материалы должны обеспечивать стабильную во времени сплошность, ровность и шероховатость покрытия при воздействии расчетных транспортных нагрузок.
5.3 Запроектированные дорожные одежды должны быть не только прочными и надежными в эксплуатации, но и экономичными и наименее материалоемкими, особенно по расходу дорогостоящих материалов и энергоресурсов, а также должны соответствовать экологическим требованиям. Выбор конструкций дорожных одежд и тип покрытия обосновывают технико-экономическим анализом вариантов.
5.4 При проектировании дорожных одежд необходимо выбирать оптимальные дорожно-строительные материалы и назначать их рациональное размещение в конструкции с учетом грунтово-гидрологических условий земляного полотна.
5.5 Проектирование дорожных одежд ведется комплексно с учетом свойств земляного полотна и представляет собой единый процесс конструирования и расчета их на прочность, морозоустойчивость и осушение, а также технико-экономического обоснования вариантов.
Таким образом, проектирование дорожной одежды состоит из последовательно выполняемых этапов:
- конструирование - предварительное назначение конструкций дорожных одежд;
- расчет - проверка предварительно назначенных дорожных одежд на прочность, морозоустойчивость и осушение;
- технико-экономическое сравнение вариантов дорожных одежд, заключающееся в выборе наиболее целесообразного варианта с учетом строительных и эксплуатационных затрат до следующего капитального ремонта.
5.6 Расчеты дорожных одежд выполняют для однотипных участков дороги, имеющих:
- один тип земляного полотна (насыпь, нулевые отметки или выемка);
- схожие грунтово-гидрологические условия (один вид грунта и одна схема увлажнения рабочего слоя грунта).
5.7 Дорожные одежды по ширине проезжей части проектируют, как правило, равнопрочными, при этом следует учитывать положения 8.2.1.
5.8 При проектировании дорожных одежд для конкретных объектов или при разработке типовых конструкций дорожных одежд наряду с положениями настоящего стандарта следует учитывать данные научно-практического опыта (в том числе в части применения местных материалов, уточнения их расчетных характеристик и т.п.), отраженные в документах, утвержденных в установленном порядке.
Классификация дорожных одежд и видов покрытий в зависимости от капитальности приведена в таблице 1.
|  
         Тип дорожных одежд  |  
         Вид покрытий и применяемые материалы  | 
|  
         Усовершенствованные покрытия 
        | |
|  
         Капитальный  |  
         Из асфальтобетонных смесей, в том числе щебеночно-мастичных  | 
|  
         Облегченный  |  
         Из органоминеральных смесей  | 
|  
         Из щебеночных (гравийных) материалов, обработанных органическим вяжущим  | |
|  
         Переходные покрытия 
        | |
|  
         Переходный  |  
         Из щебеночно-гравийно-песчаных смесей  | 
|  
         Из грунтов и малопрочных каменных материалов, укрепленных вяжущими  | |
|  
         Из грунтов, укрепленных различными вяжущими и местными материалами  | |
|  
         Из булыжного и колотого камня (мостовые)  | |
Дорожные одежды низшего типа конструируются и рассчитываются в соответствии с нормативными документами, регламентирующими проектирование дорожных одежд с низкой интенсивностью движения.
7.1 Задачи конструирования дорожных одежд
Задачами конструирования дорожных одежд являются:
- обоснование типов дорожных одежд и вида покрытия;
- назначение числа конструктивных слоев и выбор материалов для их устройства, размещение их в конструкции в такой последовательности, чтобы с учетом уменьшения по глубине напряжений от колесной нагрузки, климатических и грунтово-гидрологических условий наилучшим образом проявлялись их прочностные, деформативные и теплоизолирующие свойства;
- назначение ориентировочных толщин слоев (при расчете дорожных одежд с использованием специализированных расчетных программ - минимальных, максимальных толщин и шага перебора);
- назначение мероприятий по обеспечению морозоустойчивости дорожной конструкции с учетом дорожно-климатической зоны, типа грунта рабочего слоя земляного полотна и схемы его увлажнения на различных участках;
- назначение мероприятий по осушению дорожных одежд и снижению притока воды.
7.2 Конструирование нежестких дорожных одежд проводят, учитывая следующие факторы:
- категорию дороги;
- интенсивность и состав движения;
- дорожно-климатическую зону и подзону;
- вид грунта рабочего слоя земляного полотна;
- схему увлажнения грунта рабочего слоя земляного полотна;
- наличие и качество дорожно-строительных материалов;
- возможность стадийного усиления дорожной одежды путем устройства сверху новых слоев покрытия по мере увеличения интенсивности движения.
7.3 При конструировании нежестких дорожных одежд необходимо руководствоваться следующим:
- типы дорожных одежд, их конструкция, вид покрытия должны удовлетворять транспортно-эксплуатационным требованиям, предъявляемым к автомобильной дороге соответствующей категории, в зависимости от ожидаемого состава и интенсивности движения с учетом их изменения в течение заданных межремонтных сроков и предполагаемых условий ремонта покрытия и содержания дороги;
- конструкции дорожных одежд могут быть повторного применения (типовыми) или разрабатываться индивидуально для каждого участка или ряда участков дороги, характеризующихся сходными природными условиями (грунт рабочего слоя земляного полотна, условия его увлажнения, климат, обеспеченность местными материалами и др.) и расчетными нагрузками. При выборе конструкции для данных условий предпочтение следует отдавать проверенной на практике типовой конструкции;
- в районах, не обеспеченных стандартными каменными материалами, допускается применять местные каменные материалы, побочные продукты промышленности и грунты, свойства которых могут быть улучшены обработкой их вяжущими (цемент, битум, известь, активные золы уноса и др.). Одновременно надо стремиться к созданию наименее материалоемкой конструкции;
- конструкции дорожных одежд должны быть технологичными и обеспечивать возможность максимальной механизации и индустриализации дорожно-строительных процессов. Для достижения этой цели число слоев и видов материалов в конструкции должно быть минимальным;
- необходимо учитывать реальные условия проведения строительных работ (летняя или зимняя технология и др.).
7.4 Развитие прочности дорожной одежды должно идти за счет увеличения толщины слоев из местных материалов. Из привозных материалов следует назначать верхние слои дорожной одежды минимальной толщины.
Минимальные толщины конструктивных слоев из минеральных материалов в уплотненном состоянии принимают не менее двукратного размера наиболее крупной фракции применяемого минерального материала.
Независимо от результатов расчета на прочность дорожных одежд толщины конструктивных слоев в уплотненном состоянии следует принимать не менее приведенных в таблице 2.
Минимальные толщины конструктивных слоев из различных материалов представлены в таблице 2.
|  
         Материал покрытий и других слоев дорожных одежд  |  
         Минимальная толщина слоя, см  | 
|  
         Асфальтобетон для верхнего слоя покрытия из смесей с номинальным максимальным размером минерального заполнителя не более 12, 5 мм  |  
         4  | 
|  
         Асфальтобетон из смесей с номинальным максимальным размером минерального заполнителя более 12, 5 мм  |  
         Не менее 2, 5-кратного номинального максимального размера  | 
|  
         Щебеночные (гравийные) материалы, обработанные органическим вяжущим  |  
         8  | 
|  
         Щебеночные (гравийные) материалы, обработанные неорганическим вяжущим  |  
         8  | 
|  
         Щебеночные (гравийные) материалы, обработанные комплексным вяжущим  |  
         8  | 
|  
         Щебень, обработанный органическим вяжущим по способу пропитки  |  
         8  | 
|  
         Щебеночные и гравийные материалы, не обработанные вяжущим на песчаном основании  |  
         15  | 
|  
         Щебеночные и гравийные материалы, не обработанные вяжущим на прочном основании (каменном или из укрепленного грунта)  |  
         8  | 
|  
         Грунты, обработанные органическими или неорганическими вяжущими  |  
         10  | 
|  
         Песок  |  
         20  | 
|  
         Примечания 1 В случае применения асфальтобетонных смесей по ГОСТ 9128 и щебеночно-мастичных смесей по ГОСТ 31015 на улицах населенных пунктов минимальную толщину слоя асфальтобетона назначают не менее двукратного размера наиболее крупной фракции. 2 Минимальную толщину слоев из асфальтобетона рекомендуется округлять до 0, 5 см в большую сторону.  | |
7.5 Конструирование покрытий и оснований дорожных одежд капитального и облегченного типов
7.5.1 Дорожные одежды капитального типа устраивают на автомобильных дорогах I-IV категорий, облегченного типа - на автомобильных дорогах III-V категорий.
Дорожные одежды капитального и облегченного типов с усовершенствованным покрытием проектируют с таким расчетом, чтобы за межремонтный срок не возникло недопустимых разрушений и остаточных деформаций, превышающих предельные значения, а воздействие природных факторов не приводило к недопустимым изменениям в их структуре.
На поверхности верхнего слоя покрытия для продления срока его службы и восстановления транспортно-эксплуатационных качеств могут быть устроены защитные слои покрытия дорожной одежды, периодически восстанавливаемые и выполняющие функцию слоя износа.
Толщину защитного слоя назначают в зависимости от технологии устройства и рекомендаций по применению и не учитывают в расчете на прочность.
При отсутствии слоя износа его функции выполняет верхний слой покрытия. В этом случае учитываемая при расчете дорожных одежд толщина верхнего слоя должна быть уменьшена на величину максимально допустимой поперечной неровности (колеи) по ГОСТ 33220.
Срок службы верхнего слоя асфальтобетонного покрытия может быть меньше расчетного срока службы дорожной одежды. Допускается восстановление верхнего слоя асфальтобетонного покрытия между капитальными ремонтами дорожной одежды.
При конструировании дорожных одежд необходимо учитывать, что процесс деформирования и прочностные качества материалов, содержащих органическое вяжущее, обусловливающие проявление упруго-вязко-пластических свойств композиции, существенно зависят от температуры и режима нагружения (скорости изменения и продолжительности действия нагрузки), тогда как свойства зернистых материалов (щебеночных, гравийных и подобных им), а также материалов и грунтов, укрепленных неорганическими вяжущими, сравнительно мало зависят от температуры и режима нагружения.
7.5.2 Для устройства асфальтобетонных слоев рекомендуется применять следующие материалы:
а) для верхнего слоя покрытия - АВ:
1) ЩМА TP ТС: ЩМА-22, ЩМА-16, ЩМА-11 на ПБВ по ГОСТ Р 52056, на БНД по ГОСТ 33133 на битумном вяжущем, классифицируемом по PG;
2) SMA-19 и SMA-12, 5 на битумном вяжущем, классифицируемом по PG;
3) АБ TP ТС: А22В, А16В, А11В на ПБВ по ГОСТ Р 52056, на БНД по ГОСТ 33133 на битумном вяжущем, классифицируемом по PG;
4) асфальтобетонные смеси: SP-19, SP-12 на битумном вяжущем, классифицируемом по PG;
б) для нижнего слоя покрытия - АН:
1) АБ TP ТС: А32Н, А22Н, А16Н на БНД по ГОСТ 33133 или на битумном вяжущем, классифицируемом по PG;
2) асфальтобетонные смеси: SP-25, SP-19 на битумном вяжущем, классифицируемом по PG.
в) для верхнего слоя основания - АО:
1) АБ TP ТС: А32О, А22О на БНД по ГОСТ 33133 или на битумном вяжущем, классифицируемом по PG;
2) асфальтобетонные смеси: SP-37, SP-25, SP-19 на битумном вяжущем, классифицируемом по PG.
При проектировании улиц населенных пунктов в течение года с момента вступления в действие настоящего стандарта допускается применение асфальтобетонов по ГОСТ 9128 и ГОСТ 31015.
Для капитальных дорожных одежд толщину асфальтобетонного покрытия и/или основания, устраиваемого из сравнительно дорогих материалов, следует назначать близкой к минимальной конструктивной.
7.5.3 Основание из несвязных материалов должно быть, как правило, двухслойным: несущий слой основания устраивается из фракционированного щебня, уложенного по способу заклинки, щебеночной, щебеночно-, гравийно- или щебеночно-гравийно-песчаной смеси; дополнительный слой - из щебеночно-, гравийно- или щебеночно-гравийно-песчаной смеси и песков различной крупности (I и II классов по ГОСТ 32824).
7.5.4 Нижние слои основания, особенно из зернистых материалов, должны сопротивляться сдвиговым напряжениям. Во многих случаях целесообразно предусматривать их укрепление вяжущим.
При выборе материала для верхнего слоя основания необходимо учитывать капитальность (тип) дорожных одежд, вид покрытия, а также деформационные и теплофизические свойства материалов и грунтов, укрепленных органическими и неорганическими вяжущими.
На дорогах с тяжелым и/или скоростным движением несущие слои основания целесообразно устраивать преимущественно из укрепленных неорганическими или органическими вяжущими материалов.
При использовании в несущих слоях основания щебня или грунта, укрепленного цементом, толщина вышележащих слоев, укрепленных органическим вяжущим, для ограничения появления "отраженных" трещин должна быть не менее толщины слоя основания, укрепленного цементом. При этом минимальная толщина слоев, укрепленных органическими вяжущими, должна быть 18 см для дорожных одежд капитального типа и 12 см - для дорожных одежд облегченного типа.
В случаях применения материалов, обработанных комплексными и медленно твердеющими минеральными вяжущими, толщина слоев, обработанных органическими вяжущими, может быть уменьшена на 20 %, а в условиях жаркого и сухого климата (в IV и V дорожно-климатических зонах) - на 30 %.
7.5.5 Конструкции дорожных одежд в местах остановок общественного транспорта, на регулируемых пересечениях и в других местах изменения скорости или движения на пониженных скоростях должны обеспечить повышенную сдвигоустойчивость при высоких летних температурах. Для обеспечения этого требования в покрытии предусматривают применение асфальтобетонных смесей с повышенной стойкостью к колееобразованию, а в основании - асфальтобетонных смесей с номинальным максимальным размером зерен минерального заполнителя 22, 4 мм и более либо каменных материалов, укрепленных цементом.
7.6 Конструирование покрытий и оснований дорожных одежд переходного типа
Одежды переходного типа следует предусматривать на дорогах IV и V категорий.
При проектировании дорожных одежд с покрытием переходного типа необходимо стремиться к тому, чтобы конструкции состояли из одного или двух слоев.
7.7 При проектировании капитального ремонта и реконструкции автомобильных дорог рекомендуется использовать материалы существующих дорожных одежд после их снятия в слоях основания вновь проектируемой конструкции.
7.8 Если крупнопористый материал укладывают непосредственно на грунт земляного полотна, то следует предусматривать прослойку, препятствующую взаимопроникновению материалов смежных слоев. В качестве материалов прослойки можно применять мелкий щебень, высевки, гравийно-песчаные смеси, крупные и средней крупности пески, непылеватые шлаки, непучинистые золошлаки, геосинтетические материалы и т.д. Защитной прослойкой может служить слой из грунта, укрепленного вяжущими.
7.9 Эффективным мероприятием по повышению стабильности земляного полотна является укрепление его верхнего слоя небольшим количеством вяжущего. Укрепление верхнего слоя земляного полотна стабилизирует его физико-механические свойства и повышает модуль упругости, уменьшает расход стандартных материалов на устройство дорожной одежды, повышает ее технико-эксплуатационные параметры.
7.10 Проектирование дорожной одежды с применением геосинтетических материалов выполняют с учетом требований нормативных документов в данной области.
8.1 Нормативные и расчетные нагрузки
8.1.1 Расчет нежестких дорожных одежд следует выполнять на нормативную нагрузку от одного колеса нагрузки АК согласно ГОСТ 32960. Равномерно распределенную нагрузку q вдоль направления движения не учитывают.
Значения осевой нормативной нагрузки следует принимать на автомобильных дорогах:
- с капитальным типом дорожной одежды - 115 кН;
- с облегченным и переходным типами дорожной одежды - 100 кН.
Давление колеса на покрытие от нормативной нагрузки АК при расчете нежестких дорожных одежд следует считать равномерно распределенным по площади отпечатка колеса, принимаемого в форме круга.
Величину нормативного давления р следует принимать равной:
- р = 0, 8 МПа - для автомобильных дорог с капитальными дорожными одеждами;
- р = 0, 6 МПа - для автомобильных дорог с облегченными и переходного типа дорожными одеждами.
При расчете на кратковременную нагрузку вводят коэффициент динамичности kдин = 1, 3.
Расчетные параметры нормативных нагрузок принимаются по таблице 3.
|  
         Группа расчетной нагрузки  |  
         Нормативная статическая нагрузка Рст, кН  |  
         Расчетные параметры нагрузки  | ||
|  
         на ось  |  
         на колесо  |  
         Давление на покрытие р, МПа  |  
         Диаметр Dд/Dcт, см  | |
|  
         А-10  |  
         100  |  
         50, 0  |  
         0, 6  |  
         37/33  | 
|  
         А-11, 5  |  
         115  |  
         57, 5  |  
         0, 8  |  
         34/30  | 
|  
         Примечание - В числителе приведен диаметр Dд для движущегося колеса, в знаменателе Dст - для неподвижного колеса.  | ||||
8.1.2 В случае, когда в составе движения проектируемой дороги предусматривается регулярное обращение автомобилей с осевой нагрузкой, превышающей нормативную нагрузку АК более чем на 5 %, в количестве более 5 %, за расчетную осевую нагрузку допускается принимать максимальную нагрузку на наиболее нагруженную ось автомобиля.
В этом случае Dст и Dд, см, определяют по формулам:
;
(1)
,
(2)
где Рст - нагрузка на колесо наиболее загруженной оси, кН;
р - давление на покрытие, МПа;
kдин - коэффициент динамичности, равный 1, 3.
8.2 Учет интенсивности движения
8.2.1 При проектировании дорожной одежды целесообразно основываться на среднесуточной интенсивности движения в обоих направлениях, определяемой как сумма интенсивностей в каждом направлении. В случаях, когда разница между интенсивностями по направлениям составляет более 10 %, расчет дорожной одежды можно выполнять для каждого направления движения отдельно с учетом фактической интенсивности движения для каждого направления.
8.2.2 При расчете дорожных одежд используют следующие характеристики, отражающие интенсивность воздействия на нее подвижной нагрузки:
- приведенное к расчетной нагрузке среднесуточное (на конец межремонтного срока проведения работ по капитальному ремонту) число проездов всех колес, расположенных по одному борту расчетного автомобиля, в пределах одной полосы проезжей части (приведенная интенсивность движения к воздействию расчетной нагрузки Nр);
- суммарное число приложений приведенной расчетной нагрузки к точке на поверхности покрытия за межремонтный срок проведения работ по капитальному ремонту ∑Np.
8.2.3 Приведенную интенсивность движения к воздействию расчетной нагрузки Nр на полосу движения на конец межремонтного срока проведения работ по капитальному ремонту Тсл определяют по формуле
,
(3)
где fпол - коэффициент распределения интенсивности движения для самой нагруженной полосы движения, зависящий от числа полос движения, принимаемый при отсутствии данных натурных наблюдений по таблице 4;
Ni - число автомобилей i-й марки в одном или в обоих направлениях на конец срока службы дорожных одежд, авт/сут;
Ki - коэффициент приведения воздействия на дорожную одежду транспортного средства i-й марки с нагрузкой на колесо Рi к расчетной нагрузке.
|  
         Число полос движения в обоих направлениях  |  
         Коэффициент распределения интенсивности движения для самой нагруженной полосы движения fпол  | 
|  
         1  |  
         1, 0  | 
|  
         2  |  
         0, 55  | 
|  
         3  |  
         0, 50  | 
|  
         4  |  
         0, 45  | 
|  
         5  |  
         0, 40  | 
|  
         6 и более  |  
         0, 35  | 
На перекрестках и подходах к ним (в местах перестройки потока автомобилей для выполнения левых поворотов и др.) при расчете одежды в пределах всех полос движения следует принимать fпол = 0, 50, если общее число полос проезжей части проектируемой дороги более трех.
Коэффициенты приведения Ki к расчетной нагрузке определяют по формуле
,
(4)
где Рi - нормативная статическая нагрузка на колесо i-го автомобиля, определяемая по паспортным данным;
Рст - нормативная статическая расчетная нагрузка на колесо;
β - показатель степени, принимаемый равным: 4, 0 - для дорожных одежд капитального типа; 3, 0 - для дорожных одежд облегченного и переходного типов.
8.3 Учет нагрузок от многоосных автомобилей
8.3.1 Для многоосных автомобилей и тягачей с прицепами фактическую номинальную нагрузку на колесо в формуле (4) следует умножать на коэффициент Kс, учитывающий влияние нагрузок от колес соседних осей, расположенных на расстоянии менее 2, 5 м, вычисляемый по формуле
,
(5)
где а, b, с - параметры, определяемые в зависимости от капитальности дорожной одежды и числа осей тележки по таблице 5;
Вт - расстояние между крайними осями автотранспортного средства, м.
|  
         Тип тележки  |  
         Численное значение параметра  | ||
|  
         а  |  
         b  |  
         с  | |
|  
         Двухосная  |  
        
       
         1, 7 
       
        ___ 
       
        1, 52 
       
        
        |  
        
       
         0, 43 
       
        ____ 
       
        0, 36 
       
        
        |  
        
       
         0, 5 
       
        ___ 
       
        0, 5 
       
        
        | 
|  
         Трехосная  |  
        
       
         2, 0 
       
        ___ 
       
        1, 60 
       
        
        |  
        
       
         0, 46 
       
        ____ 
       
        0, 28 
       
        
        |  
        
       
         1, 0 
       
        ___ 
       
        1, 0 
       
        
        | 
|  
         Примечание - В числителе даны значения для дорожных одежд капитального типа, в знаменателе - для облегченного и переходного типов.  | |||
8.3.2 Допускается не осуществлять расчет коэффициентов приведения транспортных средств к расчетным нагрузкам А-11, 5 и А-10, а принимать их по таблице 6.
|  
         Категория транспортного средства  |  
         Схема  |  
         Тип транспортного средства  |  
         Ki для капитального типа дорожной одежды (для нагрузки А-11, 5)  |  
         Ki для облегченного и переходного типов дорожной одежды (для нагрузки А-10)  | 
|  
         В  | ![]()  |  
         Легковые автомобили, небольшие грузовики (фургоны) и другие автомобили с прицепом и без него  |  
         0, 01  |  
         0, 02  | 
|  
         С  | ![]()  |  
         Двухосные грузовые автомобили  |  
         0, 60  |  
         1, 11  | 
![]()  |  
         Трехосные грузовые автомобили  |  
         2, 49  |  
         3, 18  | |
![]()  |  
         Четырехосные грузовые автомобили  |  
         3, 62  |  
         4, 41  | |
|  
         Четырехосные автопоезда (двухосный грузовой автомобиль с прицепом)  |  
         1, 81  |  
         2, 98  | ||
|  
         Пятиосные автопоезда (трехосный грузовой автомобиль с прицепом)  |  
         2, 15  |  
         4, 03  | ||
![]()  |  
         Трехосные седельные автопоезда (двухосный седельный тягач с полуприцепом)  |  
         2, 39  |  
         3, 62  | |
![]()  |  
         Четырехосные седельные автопоезда (двухосный седельный тягач с полуприцепом)  |  
         4, 13  |  
         5, 56  | |
![]()  |  
         Пятиосные седельные автопоезда (двухосный седельный тягач с полуприцепом)  |  
         6, 48  |  
         7, 42  | |
![]()  |  
         Пятиосные седельные автопоезда (трехосный седельный тягач с полуприцепом)  |  
         4, 70  |  
         6, 15  | |
![]()  |  
         Шестиосные седельные автопоезда  |  
         7, 94  |  
         8, 93  | |
![]()  |  
         Автомобили с семью и более осями и др.  |  
         8, 47  |  
         9, 94  | |
|  
         D  | ![]()  |  
         Автобусы  |  
         0, 75  |  
         1, 46  | 
Для осевых расчетных нагрузок, отличных от А-11, 5 и А-10, а также при расчете для транспортных средств, отличных от приведенных в ГОСТ 32965, расчет коэффициентов приведения следует выполнять по формуле (4) с учетом формулы (5).
8.4 Определение суммарного числа приложений приведенной расчетной нагрузки
Суммарное число приложений приведенной расчетной нагрузки ∑Np к точке на поверхности покрытия за нормативный срок службы дорожных одежд определяют по формуле
,
(6)
где Np - суммарное расчетное число приложений приведенной расчетной нагрузки на полосу движения за нормативный межремонтный срок службы проведения работ по капитальному ремонту, авт/сут;
Кс - коэффициент суммирования, определяемый по следующей формуле:
;
(7)
q - показатель изменения интенсивности движения (знаменатель геометрической прогрессии);
Тсл - нормативный межремонтный срок службы дорожных одежд между капитальными ремонтами (см. таблицу 8), годы;
Трдг - расчетное число дней в году, зависящее от района проектирования, соответствующее определенному состоянию деформируемости дорожной конструкции, определяемое по таблице 7 и рисунку 1, дни;
kn - коэффициент, учитывающий вероятность отклонения суммарного движения от среднего ожидаемого (см. таблицу 9).
При значении показателя изменения интенсивности движения q = 1 коэффициент Kс принимают равным Тсл.
Показатель изменения интенсивности движения q определяют по формуле
q=1+r/100,
(8)
где r - ежегодный прирост интенсивности движения, %.
|  
         Номер района на карте  |  
         Географические границы районов  |  
         Рекомендуемое количество расчетных дней в году Трдг  | 
|  
         1  |  
         Зона распространения вечномерзлых грунтов севернее семидесятой параллели  |  
         70  | 
|  
         2  |  
         Севернее линии, соединяющей Онегу, Архангельск, Мезень, Нарьян-Мар, шестидесятый меридиан, до побережья Европейской части  |  
         145  | 
|  
         3  |  
         Севернее линии, соединяющей Смоленск, Калугу, Рязань, Саранск, сорок восьмой меридиан, до линии, соединяющей Онегу, Архангельск, Мезень, Нарьян-Мар  |  
         125  | 
|  
         4  |  
         Севернее линии, соединяющей Белгород, Воронеж, Саратов, Самару, Оренбург, шестидесятый меридиан, до линии районов 2 и 3  |  
         135  | 
|  
         5  |  
         Севернее линии, соединяющей Ростов-на-Дону, Элисту, Астрахань, Белгород, Воронеж, Саратов, Самару  |  
         145  | 
|  
         6  |  
         Южнее линии Ростов-на-Дону, Элиста, Астрахань для Европейской части, южнее сорок шестой параллели - для остальных территорий  |  
         205  | 
|  
         7  |  
         Восточная и Западная Сибирь, Дальний Восток (кроме Хабаровского и Приморского краев, Камчатской области), ограниченные с севера семидесятой параллелью, с юга - сорок шестой параллелью  |  
         130-150 (меньшие значения для центральной части)  | 
|  
         8  |  
         Хабаровский и Приморский края, Камчатская область  |  
         140  | 
|  
         Примечание - Значения Трдг на границах районов следует принимать по наибольшему из значений.  | ||

Рисунок 1 - Карта районирования по количеству расчетных дней в году Трдг.
|  
         Категория дороги  |  
         Нормативный межремонтный срок проведения работ по капитальному ремонту Тсл  |  
         Нормативный межремонтный срок проведения работ по ремонту  | 
|  
         I  |  
         24 года  |  
         12 лет  | 
|  
         II  |  
         24 года  |  
         12 лет  | 
|  
         III  |  
         24 года  |  
         12 лет  | 
|  
         IV  |  
         24 года  |  
         12 лет  | 
|  
         V  |  
         10 лет  |  
         5 лет  | 
|  
         Тип дорожных одежд  |  
         Значение коэффициента kn для категорий дорог  | ||||
|  
         I  |  
         II  |  
         Ill  |  
         IV  |  
         V  | |
|  
         Капитальный  |  
         1, 49  |  
         1, 49  |  
         1, 38  |  
         1, 31  |  
         -  | 
|  
         Облегченный  |  
         -  |  
         -  |  
         1, 32  |  
         1, 26  |  
         1, 06  | 
|  
         Переходный  |  
         -  |  
         -  |  
         -  |  
         1, 16  |  
         1, 04  | 
9.1 Характеристики грунтов и песка дренирующего слоя
9.1.1 Расчетные характеристики грунтов и песка дренирующего слоя: модуль упругости Eгр, угол внутреннего трения φгр и удельное сцепление сгр назначают в следующей последовательности:
- определяют суммарное число приложении приведенной расчетной нагрузки;
- для грунтов вычисляют расчетную влажность Wр по методике, изложенной в А.1 (приложение А);
- затем устанавливают Eгр, φгр и сгр грунта и песка дренирующего слоя.
9.1.2 Прочностные и деформационные характеристики грунтов определяют:
- модуль упругости Eгр - в зависимости от расчетной влажности по таблице А.5 (приложение А);
- сдвиговые характеристики: угол внутреннего трения φгр и удельное сцепление сгр - в зависимости от расчетной влажности и числа приложений приведенной нагрузки за срок службы дорожной одежды по таблице А.6 (приложение А).
9.1.3 Расчетные характеристики песка принимают:
- модуль упругости Eгр, независимо от расчетной влажности, - одинаковым во всех дорожно-климатических зонах по таблице А.7 (приложение А);
- сдвиговые характеристики: угол внутреннего трения φгр и удельное сцепление сгр - в зависимости от числа приложений приведенной нагрузки за срок службы дорожной одежды по таблице А.8 (приложение А).
9.2 Расчетные характеристики материалов для оснований дорожной одежды
Расчетные характеристики материалов для оснований дорожной одежды, обработанных и не обработанных вяжущими, не зависят от погодно-климатических условий и принимаются при расчетах постоянными во всех климатических зонах при кратковременном и длительном (статическом) нагружении (см. таблицы Б.1-Б.3, приложение Б).
9.3 Расчетные характеристики асфальтобетона
9.3.1 Асфальтобетонное покрытие обладает упруго-вязко-пластическими свойствами, поэтому модули упругости асфальтобетона в значительной мере зависят от температуры, цикличности приложения нагрузки и режима нагружения, а также скорости приложения нагрузки и продолжительности ее действия. При многократном приложении нагрузки в асфальтобетоне развиваются усталостные деформации, приводящие к потере прочности на растяжение при изгибе.
9.3.2 Расчет асфальтобетонного покрытия на прочность необходимо проводить исходя из температурных условий, при которых дорожные одежды в конкретных условиях работают наиболее напряженно.
Расчет по допускаемому упругому прогибу целесообразно выполнять на умеренную весеннюю температуру воздуха, равную для всех регионов 10 °С.
К концу весны при полном оттаивании грунта рабочего слоя модуль упругости асфальтобетона уменьшается, что неблагоприятно сказывается на сопротивлении сдвигу грунта земляного полотна и промежуточных слоев одежды. Поэтому в различных дорожно-климатических зонах температуру асфальтобетона при расчете по критериям сдвигоустойчивости следует принимать: в I и II зонах - 20 °С, III - 30 °С, IV - 40 °С, V - 50 °С.
В районах сезонного промерзания дорожных конструкций, независимо от того, в какой дорожно-климатической зоне они находятся, наиболее неблагоприятные условия для работы покрытия на растяжение при изгибе наступают в начале весны при температуре покрытия, близкой к нулю.
9.3.3 Расчетные значения модулей упругости асфальтобетона зависят от характера приложения нагрузки. При длительном приложении нагрузки (более 10 мин) они значительно меньше, чем при кратковременном приложении нагрузки.
Расчетные характеристики асфальтобетона разных типов и видов, рекомендованных в 7.5.1, при расчете на подвижную нагрузку приведены в таблицах Б.4 и Б.5 (приложение Б), на статическую нагрузку - в таблице Б.6 (приложение Б).
При проектировании улиц населенных пунктов расчетные характеристики материалов допускается принимать по приложению В.
10.1 Основные критерии расчета нежестких дорожных одежд на прочность
10.1.1 Прочность нежестких дорожных одежд оценивается их способностью сопротивляться процессу развития остаточных деформаций и разрушений под воздействием нормальных и касательных напряжений, возникающих в конструктивных слоях и подстилающем грунте от расчетной нагрузки, приложенной к поверхности покрытия.
10.1.2 Методика оценки прочности нежестких дорожных одежд включает оценку прочности как конструкции в целом, так и напряжений, возникающих в отдельных конструктивных слоях. При расчете дорожных одежд используют решения теории упругости для слоистого пространства, лежащего на упругом основании при сцеплении слоев на границе контакта.
10.1.3 Расчет нежестких дорожных одежд на прочность выполняют по следующим критериям:
- допускаемому упругому прогибу;
- условию сдвигоустойчивости подстилающего грунта и малосвязных конструктивных слоев;
- сопротивлению монолитных слоев покрытия и промежуточных монолитных слоев основания усталостному разрушению на растяжение при изгибе.
Превышение значения одного из критериев (имеющего минимальное значение) должно быть не более 5 % при условии выполнения остальных критериев прочности.
10.1.4 Облегченные и переходные дорожные одежды, рассчитывают только по двум критериям:
- допускаемому упругому прогибу;
- условию сдвигоустойчивости подстилающего грунта и малосвязных конструктивных слоев.
10.1.5 Расчет на прочность по всем критериям можно выполнять в любой последовательности. Однако методически целесообразно при больших перспективных интенсивностях движения и низкой влажности грунтов начинать расчеты по допускаемому упругому прогибу, а при малых интенсивностях и высокой влажности грунтов - по условию сдвигоустойчивости грунта.
10.1.6 Дорожные одежды на перегонах рассчитывают на кратковременное многократное действие подвижных нагрузок, используя прочностные и деформационные характеристики материалов и грунтов при многократном приложении нагрузки длительностью 0, 1 с.
Дорожные одежды на остановках и остановочных полосах, расположенных на обочинах, перекрестках, на съездах транспортных развязок и подходах к пересечениям с железнодорожными путями должны быть дополнительно проверены на однократное нагружение длительностью не менее 10 мин, используя статические значения расчетных параметров.
Для дорожных одежд укрепленных полос обочин, парковок, а также тротуаров, пешеходных улиц и площадей в городах расчет выполняют только на однократное нагружение длительностью не менее 10 мин.
Расчет на прочность на однократное нагружение выполняют по условию сдвигоустойчивости в грунте и в слабосвязных материалах.
Расчет на однократное нагружение ведется на нагрузку в соответствии с 8.1.1.
10.2 Уровни надежности и коэффициенты прочности
10.2.1 Дорожные одежды следует проектировать с уровнем надежности, под которым понимают вероятность безотказной работы в течение межремонтного срока.
Отказ нежестких дорожных одежд из-за недостаточной прочности может возникнуть в результате:
- образования необратимых деформаций на поверхности покрытия (просадок, трещин, выбоин и др.) под воздействием многократно прилагаемой нагрузки по полосам наката в связи с общей недостаточной несущей способностью дорожных одежд;
- накопления недопустимых остаточных деформаций под воздействием касательных напряжений, возникающих в конструктивных слоях и подстилающем грунте от транспортной нагрузки, с потерей ровности поверхности покрытия и соответствующего снижения скорости движения до истечения заданного срока службы конструкции;
- усталостных разрушений материала монолитных слоев конструкции под воздействием растягивающих напряжений от многократного приложения транспортной нагрузки с интенсивной потерей транспортно-эксплуатационных свойств.
Уровень надежности (коэффициент надежности) Kн назначается в задании на проектирование в зависимости от категории дороги и типа дорожных одежд или принимается по таблице 10.
|  
         Категория дороги  |  
         Тип дорожных одежд  |  
         Коэффициент надежности Kн  | 
|  
         IA, IБ, IB  |  
         Капитальный  |  
         0, 98  | 
|  
         II  |  
         Капитальный  |  
         0, 95  | 
|  
         III  |  
         Капитальный  |  
         0, 92  | 
|  
         Облегченный  |  
         0, 90  | |
|  
         IV  |  
         Капитальный  |  
         0, 90  | 
|  
         Облегченный  |  
         0, 85  | |
|  
         Переходный  |  
         0, 82  | |
|  
         V  |  
         Облегченный  |  
         0, 82  | 
|  
         Переходный  |  
         0, 65  | 
10.2.2 Требуемые значения коэффициентов прочности 
назначают в зависимости от типа дорожных одежд, категории дороги и критерия расчета на прочность (см. таблицу 11).
|  
         Тип дорожных одежд  |  
         Категория дороги  |  
         Требуемый коэффициент прочности   | |
|  
         упругого прогиба  |  
         сдвигоустойчивости и растяжения при изгибе  | ||
|  
         Капитальный  |  
         I  |  
         1, 50  |  
         1, 10  | 
|  
         II  |  
         1, 20  |  
         1, 00  | |
|  
         III  |  
         1, 17  |  
         1, 00  | |
|  
         IV  |  
         1, 15  |  
         1, 00  | |
|  
         Облегченный  |  
         III  |  
         1, 15  |  
         1, 00  | 
|  
         IV  |  
         1, 06  |  
         0, 94  | |
|  
         V  |  
         1, 02  |  
         0, 87  | |
|  
         Переходный  |  
         IV  |  
         1, 02  |  
         0, 87  | 
|  
         V  |  
         0, 98  |  
         0, 87  | |
Для городских улиц и дорог уровень надежности и коэффициенты прочности принимают по аналогии с автомобильными дорогами в соответствии с таблицей 12.
|  
         Категория улиц и дорог  |  
         Аналог категории дороги общего пользования  | 
|  
         Магистральные дороги скоростного движения, магистральные улицы общегородского значения непрерывного движения  |  
         I  | 
|  
         Магистральные дороги регулируемого движения, магистральные улицы общегородского значения регулируемого движения, магистральные улицы районного значения  |  
         II  | 
|  
         Улицы и дороги местного значения: в общественно-деловых и торговых зонах, в производственных зонах, улицы в зонах жилой застройки в крупных и крупнейших городах, основные улицы сельских поселений  |  
         III  | 
|  
         Улицы в зонах жилой застройки, проезды, улицы и дороги сельских поселений, велосипедные дорожки, тротуары, пешеходные улицы и площади  |  
         IV  | 
10.3 Расчет конструкции нежестких дорожных одежд по допускаемому упругому прогибу
10.3.1 Расчетом на прочность по допускаемому упругому прогибу проверяют конструкцию нежестких дорожных одежд в целом.
Конструкция дорожных одежд удовлетворяет требованиям надежности и прочности по величине упругого прогиба при условии:
,
(9)
где Еобщ - общий модуль упругости на поверхности дорожной конструкции;
Еmin - минимальный требуемый модуль упругости;
- требуемый коэффициент прочности, определяемый по таблице 11.
Минимальный требуемый модуль упругости с учетом ГОСТ 32960, где давление на покрытие для дорожных одежд капитального типа отличается от 0, 6 МПа, определяют по формуле
,
(10)
где р - расчетное давление на покрытие;
∑Np - суммарное расчетное число приложений приведенной расчетной нагрузки на полосу движения за нормативный межремонтный срок службы проведения работ по капитальному ремонту [см. формулу (6)];
с - эмпирический параметр, равный для расчетной нагрузки:
А-10 - 3, 55; А-11, 5 - 3, 20.
Расчет по допускаемому упругому прогибу не проводят при нагрузке на ось 120 кН и более.
10.3.2 Независимо от результата расчета, полученного по формуле (10), требуемый минимальный модуль упругости Emin должен быть не менее указанного в таблице 13.
|  
         Категория дороги  |  
         Суммарное минимальное расчетное число приложений расчетной нагрузки на наиболее нагруженную полосу  |  
         Минимальный требуемый модуль упругости дорожной одежды Emin, МПа, в зависимости от типов дорожных одежд  | ||
|  
         капитальный  |  
         облегченный  |  
         переходный  | ||
|  
         I  |  
         1285000  |  
         330  |  
         -  |  
         -  | 
|  
         II  |  
         1090000  |  
         325  |  
         -  |  
         -  | 
|  
         III  |  
         820000  |  
         310  |  
         235  |  
         -  | 
|  
         IV  |  
         240000  |  
         250  |  
         180  |  
         110  | 
|  
         V  |  
         50000  |  
         -  |  
         150  |  
         75  | 
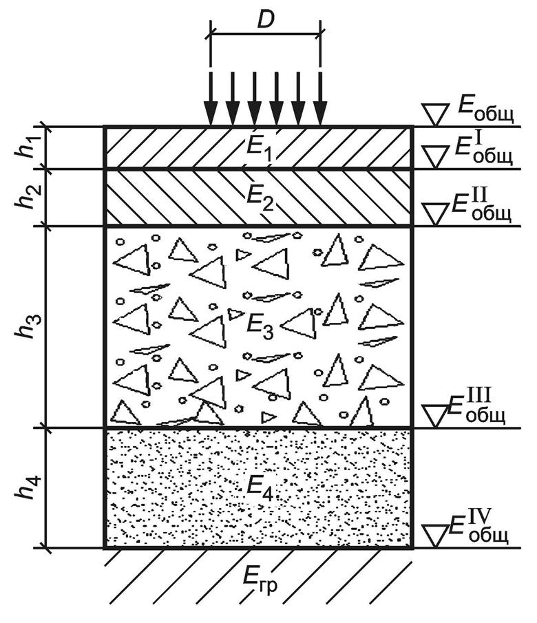
Для определения общего модуля упругости многослойную дорожную одежду представляют в виде расчетной схемы, указанной на рисунке 2.

Рисунок 2 - Расчетная схема нежесткой дорожной одежды
10.3.3 Общий модуль упругости на поверхности i-го слоя определяют по номограмме, полученной на основе решения теории упругости для двухслойной модели (см. рисунок 3): слой конечной толщины h с модулем упругости Ев лежит на упругом полупространстве (неограниченном снизу) с модулем Ен.

Рисунок 3 - Расчетная схема двухслойной системы
10.3.4 Расчет дорожной одежды по допустимому упругому прогибу ведут в следующей последовательности:
- назначают нормативный межремонтный срок проведения работ по капитальному ремонту (см. таблицу 8);
- определяют суммарное число приложений приведенной расчетной нагрузки ∑Np;
- назначают уровень надежности (см. таблицу 10) и коэффициент прочности (см. таблицу 11);
- назначают предварительные толщины слоев дорожной одежды;
- принимают модули упругости конструктивных слоев основания по таблицам Б.1-Б.3, приложение Б;
- принимают модули упругости слоев асфальтобетона и других битумосодержащих материалов во всех дорожно-климатических зонах при температуре 10 °С (таблица Б.4, приложение Б);
- определяют минимальный требуемый модуль упругости по формуле (10).
Примечание - В отдельных случаях при проектировании улиц в населенных пунктах допускается принимать расчетные значения по таблице В.3 (приложение В).
Если по результатам расчета минимальный требуемый модуль упругости получится менее указанного в таблице 13, то принимают минимальный требуемый модуль упругости в зависимости от категории дороги и типа дорожной одежды по таблице 13.
10.3.5 Общий модуль упругости на поверхности дорожной одежды определяют по номограмме (см. рисунок 4). Расчет конструкции ведут сверху вниз или снизу вверх.
При расчете конструкции сверху вниз выполняют следующие действия:
- определяют общий минимальный требуемый модуль упругости Еобщ на поверхности дорожной одежды по следующей формуле
;
(11)
- устанавливают с использованием номограммы (см. рисунок 4) по отношениям Еобщ/Ев (значение на кривой) и hв/D значение на оси абсцисс) общие модули упругости на поверхности каждого конструктивного слоя, вплоть до грунта рабочего слоя.
При известных значениях общего модуля упругости на поверхности нижнего слоя дорожной одежды и модулях нижнего слоя и грунта рабочего слоя по номограмме (см. рисунок 4) можно определить толщину нижнего слоя дорожной одежды.
При расчете конструкции снизу вверх выполняют следующие действия:
- последовательно рассматривая два слоя: верхний слой конечной толщины и нижний - полупространство по номограмме (см. рисунок 5), определяют общий модуль упругости на поверхности дорожной одежды.

Цифры на кривых - отношение Еобщ/Ев
Рисунок 4 - Номограмма для определения общего модуля упругости Еобщ двухслойной системы
В этом случае номограмму (см. рисунок 4) используют следующим образом: для нижнего слоя дорожной одежды по отношению Егр/Еn (значение на оси ординат) и hn/D (значение на оси абсцисс) определяют отношение 
/En (значение на кривой) и вычисляют 
;
- затем расчет повторяют для следующего слоя дорожной одежды.
В конце расчета проверяют выполнение условия прочности [см. формулу (9)].
Если условие прочности не выполняется, тогда изменяют толщину одного или нескольких конструктивных слоев дорожной одежды или используют материалы с более высокими модулями упругости для одного или нескольких конструктивных слоев дорожной одежды.
10.4 Расчет конструкции нежесткой дорожной одежды по условию сдвигоустойчивости подстилающего грунта и малосвязных конструктивных слоев
10.4.1 Дорожную одежду проектируют с таким расчетом, чтобы под действием кратковременных или длительных нагрузок в подстилающем грунте или малосвязных (песчаных) слоях за весь срок службы не накапливались недопустимые остаточные деформации. Проверку выполняют для расчетного периода, связанного с весенним переувлажнением грунтов.
10.4.2 Недопустимые деформации сдвига в конструкции не будут накапливаться, если в грунте земляного полотна и в малосвязных (песчаных) слоях обеспечено условие:
,
(12)
где T - активное напряжение сдвига от действующей кратковременной или длительной нагрузки;
Тпр - предельное напряжение сдвига, превышение которого вызывает нарушение прочности на сдвиг;
- требуемый коэффициент прочности, определяемый по таблице 9.
10.4.3 Предельное напряжение сдвига Тпр в грунте рабочего слоя (или в песчаном материале промежуточного слоя) определяют по формуле
Тпр=kд(cN+0, 1γcpZtgφст),
(13)
где kд - коэффициент, учитывающий особенности работы конструкции на границе слоев основания и грунта рабочего слоя;
cN - сцепление в грунте земляного полотна (или в промежуточном песчаном слое), принимаемое с учетом повторности нагрузки, МПа (см. таблицы А.6 и А.8, приложение А);
γcp - средневзвешенная плотность конструктивных слоев, расположенных выше проверяемого слоя, приблизительно равная 0, 002 кг/см3;
Z - глубина расположения поверхности слоя, проверяемого на сдвигоустойчивость, от верха конструкции, см;
φст - угол внутреннего трения материала нижнего слоя при статическом действии нагрузки (∑N = 1), градусы.
Коэффициент kд равен:
- при устройстве слоя основания из укрепленных материалов: 4, 5 - при использовании в дополнительном слое основания крупного песка; 4, 0 - песка средней крупности; 3, 0 - мелкого песка;
- при устройстве слоя основания из неукрепленных материалов - 2, 0;
- при устройстве рабочего слоя земляного полотна из связного и несвязного грунта - 1, 0.
Значения коэффициента kд при применении в конструкциях дорожных одежд геосинтетических материалов следует принимать по отдельному нормативному документу.
10.4.4 Активные напряжения сдвига определяют на основании решения теории упругости для двухслойной системы при наличии сцепления между слоями. Для практических расчетов используют номограммы, представленные на рисунках 5 и 6 (деталь номограммы на рисунке 6).
Действующие активные напряжения сдвига определяют по формуле
Т=τ̅нp,
(14)
где τ̅н - удельное активное напряжение сдвига от единичной нагрузки (р = 1), определяемое по номограммам (см. рисунки 5 и 6), МПа;
р - расчетное давление от колеса на покрытие (см. таблицу 3), МПа.

Цифры на кривых отношения Ев/Ен, цифры на лучах - угол внутреннего трения нижнего слоя φ
Рисунок 5 - Номограмма для определения активного напряжения сдвига τ̅н от временной нагрузки в нижнем слое двухслойной системы (при h/D = 0 - 4, 0)

Цифры на кривых - отношение Ев/Ен, цифры на лучах - угол внутреннего трения нижнего слоя φ
Рисунок 6 - Номограмма для определения активного напряжения сдвига от временной нагрузки в нижнем слое двухслойной системы (при h/D = 0 - 2)
10.4.5 В весенний расчетный период года наихудшие условия работы грунта на сдвиг имеют место при наибольших положительных температурах покрытия, наблюдаемых весной. Поэтому при расчете дорожных одежд по условию сдвигоустойчивости значения модуля упругости материалов, содержащих органическое вяжущее, должны соответствовать температурам: в I и II дорожно-климатической зоне - 20 °С, в III - 30 °С, в IV - 40 °С, в V - 50 °С (см. таблицу Б.4, приложение Б).
Примечание - В отдельных случаях при проектировании улиц населенных пунктов допускается принимать расчетные значения по таблице В.3 (приложение В).
10.4.6 При практических расчетах по условию сдвигоустойчивости многослойную дорожную одежду приводят к двухслойной расчетной модели.
При расчете дорожной конструкции на прочность по условию сдвигоустойчивости в грунте рабочего слоя земляного полотна в качестве нижнего полубесконечного слоя модели принимают грунт (с его характеристиками), а в качестве верхнего - всю дорожную одежду (см. рисунок 7).

Рисунок 7 - Приведение многослойной дорожной одежды к двухслойной при расчете по условию сдвигоустойчивости в грунте
Толщину верхнего слоя дорожной одежды принимают равной сумме толщин слоев одежды по формуле
.
(15)
Модуль упругости многослойной дорожной одежды вычисляют как средневзвешенный по формуле
,
(16)
где Ei - модуль упругости i-го слоя;
hi - толщина i-го слоя.
10.4.7 При расчете по условию сдвигоустойчивости в песчаном подстилающем слое нижний слой двухслойной конструкции имеет параметры - удельное сцепление с и угол внутреннего трения φ, принятые для нижнего несвязного (или малосвязного) слоя дорожной одежды. Толщину верхнего слоя hв и модуль упругости верхнего слоя Ев определяют по формулам (15) и (16) без учета нижнего слоя дорожной одежды.
Модуль упругости на уровне верха песчаного основания определяют по номограмме, представленной на рисунке 5.
10.4.8 Расчет дорожной одежды на кратковременные нагрузки по сдвигоустойчивости в грунте земляного полотна, а также в песчаных материалах промежуточных слоев дорожных одежд ведут в следующей последовательности:
- назначают расчетные сдвиговые характеристики: угол внутреннего трения φ и удельное сцепление с грунта земляного полотна (см. таблицу А.6, приложение А) и песка дренирующего слоя (см. таблицу А.8, приложение А);
- модули упругости грунта и материалов конструктивных слоев основания, не содержащих органического вяжущего, принимают те же, что в расчете по допускаемому упругому прогибу;
- по таблице Б.4 (приложение Б) назначают расчетные модули упругости для слоев из асфальтобетона и других битумосодержащих материалов, соответствующие расчетным температурам в весенний период (согласно 10.4.5).
Примечание - В отдельных случаях при проектировании улиц населенных пунктов допускается принимать расчетные значения по таблице В.3 (приложение В);
- определяют средневзвешенный модуль упругости слоев дорожной одежды по формуле (16);
- по рисунку 6 или 7 по отношениям hB/D, ЕВ/ЕН и при известном угле внутреннего трения нижнего слоя φ находят активные напряжения сдвига τ̅н от единичной временной нагрузки;
- по формуле (14) вычисляют активное напряжение сдвига 7 в грунте земляного полотна или в песчаном слое одежды;
- по формуле (13) рассчитывают предельное напряжение сдвига Тпр;
- по формуле (12) проверяют выполнение условия прочности.
Если условие прочности для одного из расчетных периодов не обеспечено, возможны следующие решения:
- увеличивают толщину одного или нескольких вышележащих слоев;
- заменяют материал одного или нескольких вышележащих слоев более жестким материалом, имеющим более высокий модуль упругости;
- заменяют или укрепляют верхнюю часть грунта рабочего слоя с целью повышения его сдвигоустойчивости;
- применяют геосинтетические материалы, выполняющие функцию армирования в слое грунта или между несвязными слоями дорожных одежд.
10.5 Расчет на длительную (статическую) нагрузку по сдвигоустойчивости в грунте земляного полотна и малосвязных (песчаных) слоях
Этот расчет является:
а) основным для:
1) стоянок автомобилей на парковках, площадках отдыха и т.п.;
2) тротуаров, пешеходных улиц и площадей в городах;
б) дополнительным для:
1) остановочных полос на обочинах автомобильных дорог I категории;
2) остановок общественного транспорта на перегонах дорог;
3) регулируемых перекрестков автомобильных дорог между собой;
4) регулируемых пересечений в одном уровне с железнодорожными путями;
5) переходно-скоростных полос и съездов на пересечениях в одном и разных уровнях;
6) пунктов взимания платы на платных автомобильных дорогах и т.п.
Расчет на длительную нагрузку выполняют в следующей последовательности:
- назначают расчетные прочностные характеристики: угол внутреннего трения φгр и удельное сцепление грунта земляного полотна сгр и песка дренирующего слоя при ∑N = 1 соответственно по таблицам А.6 и А.8 (приложение А);
- модули упругости грунта и материалов конструктивных слоев основания принимают те же, что в расчете по упругому допускаемому прогибу;
- по таблице Б.6 (приложение Б) назначают расчетные модули упругости для слоев из асфальтобетона, соответствующие максимально возможным температурам в весенний период при длительном приложении нагрузки;
- определяют средневзвешенный модуль упругости Eв слоев дорожной одежды по формуле (16);
- по рисунку 5 или 6 определяют активные напряжения сдвига τ̅н от единичной временной нагрузки при значении угла внутреннего трения φст грунта или песка, соответствующем длительной нагрузке (∑N = 1);
- по формуле (14) вычисляют активное напряжение сдвига T в грунте земляного полотна или в песчаном слое дорожной одежды;
- по формуле (13) рассчитывают предельное напряжение сдвига Tпр при значении удельного сцепления с, соответствующем длительной нагрузке;
- по формуле (12) проверяют выполнение условия прочности.
При необходимости вносят коррективы в конструкцию дорожной одежды.
10.6 Расчет нежесткой дорожной одежды на сопротивление монолитных слоев покрытия усталостному разрушению от растяжения при изгибе
10.6.1 В верхних монолитных слоях покрытия и основания из асфальтобетона напряжения, возникающие при прогибе одежды под действием повторных кратковременных нагрузок, не должны в течение заданного срока службы приводить к образованию трещин от усталостного разрушения.
Образование трещин от усталостного разрушения не будет происходить при условии:
,
(17)
где σr - наибольшее растягивающее напряжение в монолитном слое, устанавливаемое расчетом;
RN - предельное напряжение на растяжение при изгибе с учетом усталостных явлений;
- требуемый коэффициент прочности, определяемый по таблице 11.
Предельное напряжение на растяжение при изгибе с учетом усталостных явлений RN определяют по формуле
RN=R0k1k2(1-VRt),
(18)
где R0 - нормативное значение предельного сопротивления растяжению при изгибе (см. таблицу Б.5, приложение Б).
Примечание - В отдельных случаях при проектировании улиц населенных пунктов допускается принимать расчетные значения по таблице В.4 (приложение В);
k1 - коэффициент, учитывающий снижение прочности вследствие усталостных явлений при многократном приложении нагрузки;
k2 - коэффициент, учитывающий снижение прочности во времени от воздействия природно-климатических факторов (см. таблицу 14);
VR - коэффициент вариации прочности асфальтобетона на растяжение при изгибе, равный 0, 1;
t - коэффициент нормированного отклонения (см. таблицу А.4, приложение А).
|  
         Материал расчетного слоя  |  
         Значения коэффициента k2  | |
|  
         ЩМА и SMA  |  
         0, 95  | |
|  
         АБ TP ТС  |  
         АВ  |  
         0, 95  | 
|  
         АН  |  
         0, 90  | |
|  
         АО  |  
         0, 80  | |
|  
         SP  |  
         АВ  |  
         0, 95  | 
|  
         АН  |  
         0, 90  | |
|  
         АО  |  
         0, 80  | |
|  
         Примечание - В отдельных случаях при проектировании улиц населенных пунктов допускается принимать значение коэффициента k2 по таблице В.1 (приложение В).  | ||
Коэффициент k1, учитывающий снижение прочности вследствие усталостных явлений при многократном приложении нагрузки, определяют по формуле
,
(19)
где α - коэффициент, учитывающий различие в реальном и лабораторном режимах растяжения (см. таблицу Б.5, приложение Б);
m - показатель степени, зависящий от свойств материала рассчитываемого монолитного слоя (см. таблица Б.5, приложение Б);
∑Np - суммарное расчетное число приложений приведенной расчетной нагрузки на полосу движения. При применении в дорожной одежде трех и более слоев асфальтобетона (устройстве слоя основания из асфальтобетона) ∑Np рассчитывается на нормативный межремонтный срок службы проведения работ по капитальному ремонту, при применении одного или двух слоев асфальтобетона - на нормативный межремонтный срок проведения работ по ремонту (таблица 8).
10.6.2 Наибольшее растягивающее напряжение в монолитном слое σr возникает в нижней зоне нижнего слоя. Для его определения реальную конструкцию приводят к двухслойной модели с модулем Еобщ. осн (см. рисунок 8).

Рисунок 8 - Двухслойная модель для определения растягивающих напряжений в слоях асфальтобетона
К верхнему слою модели относят все монолитные слои (асфальтобетон и другие битумосодержащие материалы), воспринимающие растягивающие напряжения. Толщину верхнего слоя модели hв принимают равной сумме толщин, входящих в пакет асфальтобетонных слоев по формуле (15), а значение модуля упругости устанавливают как средневзвешенное для всего пакета монолитных слоев по формуле (16).
Нижним (полубесконечным) слоем модели служит часть конструкции, расположенная ниже пакета монолитных слоев, включая грунт рабочего слоя земляного полотна.
Модули упругости монолитных слоев принимают по таблице Б.5 (приложение Б).
Примечание - В отдельных случаях при проектировании улиц населенных пунктов допускается принимать значение модулей упругости монолитных слоев по таблице В.4 (приложение В).
Модуль упругости нижнего слоя модели Еобщ. осн определяют путем приведения слоистой системы к эквивалентной по жесткости с использованием номограммы (см. рисунок 5).
10.6.3 Растягивающее напряжение при изгибе в монолитном слое от единичной нагрузки σ̅r при давлении на покрытие р = 1 МПа определяют с использованием номограммы (см. рисунок 9).
Наибольшее растягивающее напряжение σr определяют по формуле
σr=σ̅rpkв,
(20)
где σ̅r - растягивающее напряжение от единичной нагрузки, определяемое по номограмме (см. рисунок 10);
р - расчетное давление на покрытие (см. таблицу 3), МПа;
kв - коэффициент, учитывающий особенности напряженного состояния покрытия, равный 0, 85 для спаренного баллона автомобиля и 1, 0 - для однобаллонного колеса.

Рисунок 9 - Номограмма для определения растягивающего напряжения σ̅r при изгибе от единичной нагрузки в верхнем монолитном слое двухслойной системы
10.6.4 Расчет монолитных слоев по усталостному разрушению от растяжения при изгибе выполняют в следующей последовательности:
- определяют общий модуль упругости основания Еобщ. осн на уровне подошвы пакета из монолитных слоев, выполняя расчет по номограмме (см. рисунок 5) снизу вверх;
- приводят конструкцию к двухслойной модели и по отношениям ∑hв/D и Eв/Eобщ. осн по номограмме (см. рисунок 9) находят растягивающее напряжение от единичной нагрузки σ̅r;
- по формуле (20) вычисляют наибольшее растягивающее напряжение σr;
- рассчитывают предельное напряжение на растяжение при изгибе с учетом усталостных явлений RN по формуле (18) для материала нижнего слоя;
- проверяют выполнение условия прочности по формуле (17) и при необходимости вносят изменения в конструкцию дорожной одежды: увеличивают толщину слоев асфальтобетона или применяют материалы с более высокими расчетными модулями упругости.
10.7 Расчет монолитных оснований (полужестких) на изгиб
10.7.1 В монолитных промежуточных слоях основания, укрепленных неорганическими или комплексными вяжущими, растягивающие напряжения при изгибе могут превысить прочность материала на изгиб.
Конструкция дорожных одежд удовлетворяет требованиям прочности на изгиб при условии:
,
(21)
где σr - наибольшее растягивающее напряжение в монолитном слое основания, определяемое по формуле (20);
Rпр - предельное напряжение на растяжение при изгибе с учетом усталостных явлений материалов, укрепленных неорганическими или комплексными вяжущими, определяемое по формуле (22).
- требуемый коэффициент прочности, определяемый по таблице 11.
Предельное напряжение на растяжение при изгибе с учетом усталостных явлений материалов определяется по формуле
Rпр=RукрКу,
(22)
где Rукр - предельное напряжение на растяжение при изгибе (см. таблицу Б.1, приложение Б);
Ку - коэффициент усталости, учитывающий снижение прочности материалов, укрепленных неорганическими и комплексными вяжущими, при многократном приложении нагрузки, определяемый по формуле
.
(23)
10.7.2 Растягивающее напряжение при изгибе от единичной нагрузки - при давлении на покрытие р = 1 МПа в промежуточном монолитном слое определяют по номограмме (см. рисунок 10).
10.7.3 Многослойную конструкцию предварительно следует привести к трехслойной, где средним будет рассчитываемый монолитный слой толщиной h2 с модулем упругости E2 (см. рисунок 10).
Расчетные модули упругости слоев из асфальтобетона следует принимать в зависимости от дорожно-климатической зоны при температуре, соответствующей расчету дорожных одежд по критерию сдвигоустойчивости (см. 10.4.5).
10.7.4 Промежуточные монолитные слои на изгиб целесообразно рассчитывать в следующей последовательности:
- определяют средневзвешенный модуль упругости конструктивных слоев, лежащих выше рассчитываемого монолитного слоя E1 по формуле (16);
- слои, подстилающие монолитный слой, приводят к эквивалентному по жесткости однородному полупространству с модулем упругости E3, который можно получить путем последовательного вычисления общих модулей каждой пары смежных слоев по номограмме (см. рисунок 4);
- по номограмме (см. рисунок 10) находят растягивающее напряжение σ̅r в рассчитываемом слое от единичной нагрузки, действующей на поверхности покрытия.

Рисунок 10 - Номограмма для определения растягивающего напряжения σ̅r в промежуточном монолитном слое дорожной одежды
Номограммой (см. рисунок 10) пользуются следующим образом: при отношении h/D ≥ 0, 6 из точки на верхней горизонтальной оси, соответствующей отношению h/D, следует провести вертикаль до кривой с известным отношением Е1/Е2, а из точки пересечения провести горизонтальную прямую до луча, соответствующего отношению Е2/Е3, откуда опустить вертикаль на нижнюю горизонтальную ось, где найти значение растягивающего напряжения σ̅r при давлении р = 1 МПа (см. пунктирные линии на рисунке 10); при отношении h/D < 0, 6 из точки на верхней горизонтальной оси, соответствующей отношению h/D, следует провести вертикаль до луча с известным отношением Е2/Е3, а из точки пересечения провести горизонтальную прямую до кривой, соответствующей отношению Е1/Е2, откуда опустить вертикаль на нижнюю горизонтальную ось, где найти значение растягивающего напряжения σ̅r при давлении р = 1 МПа;
- расчетное значение наибольшего растягивающего напряжения в монолитном слое основания σr находят по формуле (20) при коэффициенте kв, учитывающем особенности напряженного состояния покрытия, равном 1, 0;
- определяют предельное напряжение на растяжение при изгибе материалов, укрепленных неорганическими или комплексными вяжущими Rпр по формуле (22);
- проверяют выполнение условия прочности по формуле (21) и при необходимости вносят изменения в конструкцию дорожных одежд.
11.1 В районах сезонного промерзания грунтов на участках дорог, находящихся в неблагоприятных грунтово-гидрологических условиях, наряду с требуемой прочностью должна быть обеспечена достаточная морозоустойчивость дорожных одежд и земляного полотна.
11.2 Конструкция удовлетворяет требованиям по морозоустойчивости при соблюдении условия:
Iпуч<Iдоп,
(24)
где Iпуч - расчетное (ожидаемое) морозное пучение грунта земляного полотна;
Iдоп - допустимая величина морозного пучения (таблица 15).
|  
         Тип дорожных одежд  |  
         Вид покрытия  |  
         Допустимая величина морозного пучения lдоп, см  | 
|  
         Капитальный  |  
         Асфальтобетонное  |  
         4  | 
|  
         Облегченный  |  
         Все виды  |  
         6  | 
|  
         Переходный  |  
         Все виды  |  
         10  | 
|  
         Примечание - В восточных районах II и III дорожно-климатических зон значения Iдоп следует увеличивать в пределах от 20 % до 40 % (большие значения для дорожных одежд облегченного и переходного типов).  | ||
11.3 Не требуется специальных мер по защите дорожных одежд от морозного пучения в следующих случаях:
- в районах с глубиной промерзания менее 0, 6 м;
- при земляном полотне, сложенном на всю глубину промерзания из непучинистых или слабопучинистых грунтов (см. таблицу 16);
- в случаях, когда общая толщина дорожной одежды превышает 2/3 глубины промерзания дорожной конструкции.
|  
         Грунт  |  
         Степень пучинистости  |  
         Группа по степени пучинистости  | 
|  
         Гравелистый и крупный песок, песок средней крупности с содержанием частиц мельче 0, 05 мм до 2 %  |  
         Непучинистый  |  
         I  | 
|  
         Гравелистый и крупный песок, песок средней крупности с содержанием частиц мельче 0, 05 мм от 2 % до 15 %, мелкий с содержанием частиц мельче 0, 05 мм до 5 %, легкая крупная супесь  |  
         Слабопучинистый  |  
         II  | 
|  
         Мелкий песок с содержанием частиц мельче 0, 05 мм до 8 %, легкая супесь, легкий и тяжелый суглинок, глина  |  
         Среднепучинистый  |  
         III  | 
|  
         Мелкий песок с содержанием частиц мельче 0, 05 мм до 15 %, пылеватая супесь, тяжелый пылеватый суглинок  |  
         Сильнопучинистый  |  
         IV  | 
|  
         Пылеватый песок, тяжелая пылеватая супесь, легкий пылеватый суглинок  |  
         Чрезмернопучинистый  |  
         V  | 
|  
         Примечание - Разновидности грунтов приняты по ГОСТ 33063.  | ||
11.4 Основные мероприятия, способствующие обеспечению требуемой морозоустойчивости дорожной одежды и земляного полотна:
- использование непучинистых или слабопучинистых грунтов для сооружения верхней части земляного полотна, находящегося в зоне промерзания;
- обеспечение достаточного возвышения покрытия над уровнем грунтовых или поверхностных вод (см. таблицу 17), устройство дренажа для увеличения расстояния от низа дорожной одежды до уровня подземных вод, гидроизолирующих или капилляропрерывающих прослоек и других мероприятий;
- укладки теплоизолирующих слоев, снижающих глубину промерзания грунта под дорожными одеждами или полностью исключающих его;
- использование в нижних слоях дорожных одежд укрепленных материалов и грунтов.
|  
         Грунт рабочего слоя  |  
         Наименьшее возвышение поверхности покрытия в пределах дорожно-климатических зон, м  | |||
|  
         II  |  
         III  |  
         IV  |  
         V  | |
|  
         Мелкий песок, легкая крупная супесь, легкая супесь  |  
        
       
         1, 1 
       
        ___ 
       
        0, 9 
       
        
        |  
        
       
         0, 9 
       
        ___ 
       
        0, 7 
       
        
        |  
        
       
         0, 75 
       
        ____ 
       
        0, 55 
       
        
        |  
        
       
         0, 5 
       
        ___ 
       
        0, 3 
       
        
        | 
|  
         Пылеватый песок, пылеватая супесь  |  
        
       
         1, 5 
       
        ___ 
       
        1, 2 
       
        
        |  
        
       
         1, 2 
       
        ___ 
       
        1, 0 
       
        
        |  
        
       
         1, 1 
       
        ___ 
       
        0, 8 
       
        
        |  
        
       
         0, 8 
       
        ___ 
       
        0, 5 
       
        
        | 
|  
         Легкий суглинок, тяжелый суглинок, глины  |  
        
       
         2, 2 
       
        ___ 
       
        1, 6 
       
        
        |  
        
       
         1, 8 
       
        ___ 
       
        1, 4 
       
        
        |  
        
       
         1, 5 
       
        ___ 
       
        1, 1 
       
        
        |  
        
       
         1, 1 
       
        ___ 
       
        0, 8 
       
        
        | 
|  
         Тяжелая пылеватая супесь, легкий пылеватый суглинок, тяжелый пылеватый суглинок  |  
        
       
         2, 4 
       
        ___ 
       
        1, 8 
       
        
        |  
        
       
         2, 1 
       
        ___ 
       
        1, 5 
       
        
        |  
        
       
         1, 8 
       
        ___ 
       
        1, 3 
       
        
        |  
        
       
         1, 2 
       
        ___ 
       
        0, 8 
       
        
        | 
|  
         Примечание - В числителе - возвышение поверхности покрытия над уровнем грунтовых вод, верховодки или длительно (более 30 сут) стоящих поверхностных вод, в знаменателе - то же над поверхностью земли на участках с необеспеченным поверхностным стоком или над уровнем кратковременно (менее 30 сут) стоящих поверхностных вод.  | ||||
Схему увлажнения грунта рабочего слоя земляного полотна определяют по таблице 18.
|  
         Расчетная схема увлажнения грунта рабочего слоя  |  
         Источник увлажнения  |  
         Условия отнесения к данной расчетной схеме увлажнения  | 
|  
         1  |  
         Атмосферные осадки  |  
         Для насыпей на участках 1-го типа местности по условиям увлажнения. Для насыпей на участках местности 2-го и 3-го типов по условиям увлажнения при возвышении поверхности покрытия над расчетным уровнем грунтовых и поверхностных вод или над поверхностью земли, более чем в 1, 5 раза превышающем требования таблицы 17. Для насыпей на участках 2-го типа при расстоянии от уреза поверхностной воды (отсутствующей не менее 2/3 летнего периода) более 5-10 м при супесях; 2-5 м при легких пылеватых суглинках и 2 м при тяжелых пылеватых суглинках и глинах (меньшие значения принимают для грунтов с большим числом пластичности; при залегании различных грунтов следует принимать наибольшее значение). В выемках в песчаных и глинистых грунтах при уклонах кюветов более 20 % (в дорожно-климатических зонах I, II и III) и при возвышении поверхности покрытия над расчетным уровнем грунтовых вод, более чем в 1, 5 раза превышающем требования таблицы 17. При применении специальных методов регулирования водно-теплового режима (капилляропрерывающие, гидроизолирующие, теплоизолирующие и армирующие прослойки, дренаж и т.п.), назначаемых по специальным расчетам  | 
|  
         2  |  
         Кратковременно стоящие (до 30 сут) поверхностные воды, атмосферные осадки  |  
         Для насыпей на участках 2-го типа местности по условиям увлажнения при возвышении поверхности покрытия не менее требуемого по таблице 16 и не более чем в 1, 5 раза превышающего эти требования и при крутизне откосов не менее 1:1, 5 и простом (без берм) поперечном профиле насыпи. Для насыпей на участках 3-го типа местности при применении специальных мероприятий по защите от грунтовых вод (капилляропрерывающие и гидроизолирующие слои, дренаж), назначаемых по специальным расчетам, при отсутствии длительно (более 30 сут) стоящих поверхностных вод и выполнении условий, указанных в предыдущем абзаце. В выемках в песчаных и глинистых грунтах при уклонах кюветов менее 20 % (I и II ДКЗ) и возвышении поверхности покрытия над расчетным уровнем грунтовых вод, более чем в 1, 5 раза превышающем требования таблицы 17  | 
|  
         3  |  
         Грунтовые или длительно (более 30 сут) стоящие поверхностные воды, атмосферные осадки  |  
         Для насыпей на участках 3-го типа местности по условиям увлажнения при возвышении поверхности покрытия, отвечающем требованиям таблицы 17, но не превышающем их более чем в 1, 5 раза. То же для выемок, в основании которых имеется уровень грунтовых вод, расположение которого по глубине не превышает требования таблицы 17 более чем в 1, 5 раза  | 
Оптимальное решение нужно принимать на основании технико-экономического сравнения вариантов применяемых мероприятий по обеспечению требуемой морозоустойчивости дорожной одежды и земляного полотна.
11.5 Дорожные одежды рассчитывают на морозоустойчивость для характерных участков дороги, сходных по грунтово-гидрологическим условиям, подстилаемых одинаковыми грунтами, имеющими одну и ту же конструкцию земляного полотна (насыпь, нулевые отметки или выемка).
11.6 Требуемую по критерию морозоустойчивости толщину дорожных одежд определяют по номограммам (см. рисунок 11), предварительно определив ординату Iпуч. ср - величину морозного пучения при осредненных условиях по формуле
Iпуч. ср=Iдоп/КугвКплКгрКнагрКвл,
(25)
где Кугв - коэффициент, учитывающий влияние расчетной глубины залегания уровня грунтовых или длительно стоящих поверхностных вод (см. рисунок 12);
Кпл - коэффициент, зависящий от степени уплотнения грунта рабочего слоя (см. таблицу 19);
Кгр - коэффициент, учитывающий влияние гранулометрического состава грунта основания насыпи, принимаемый для песков - 1, 0; супесей - 1, 1; суглинков - 1, 3; глин - 1, 5;
Кнагр - коэффициент, учитывающий влияние нагрузки от собственного веса вышележащей конструкции на грунт в промерзающем слое (см. рисунок 13);
Квл - коэффициент, зависящий от относительной влажности грунта (см. таблицу 20).
|  
         Коэффициент уплотнения Купл  |  
         Kпл для грунта  | |
|  
         пылеватого песка, легкой супеси, пылеватой супеси, тяжелой пылеватой супеси, легкого и тяжелого суглинка, легкого и тяжелого пылеватого суглинка, глины  |  
         легкой крупной супеси, песка  | |
|  
         1, 03-1, 00  |  
         0, 8  |  
         1, 0  | 
|  
         1, 01-0, 98  |  
         1, 0  |  
         1, 0  | 
|  
         0, 97-0, 95  |  
         1, 2  |  
         1, 1  | 
|  
         0, 94-0, 90  |  
         1, 3  |  
         1, 2  | 
|  
         Св. 0, 90  |  
         1, 5  |  
         1, 3  | 
|  
         Относительная влажность грунта W/Wт  |  
         0, 6 и менее  |  
         0, 7  |  
         0, 8  |  
         0, 9  | 
|  
         Квл  |  
         1, 0  |  
         1, 1  |  
         1, 2  |  
         1, 3  | 
11.7 Для существующей дорожной конструкции расчетное (ожидаемое) морозное пучение грунта земляного полотна Iпуч определяют по формуле
Iпуч=Iпуч.срКугвRплКгрКнагрКвл.
(26)
Если Iпуч > Iдоп, то морозоустойчивость дорожной конструкции не обеспечена и требуется разработка мероприятия по уменьшению величины пучения (увеличение толщины дорожной одежды, замена грунта рабочего слоя на непучинистый грунт или другое мероприятие) при капитальном ремонте или реконструкции автомобильной дороги.

Цифры на кривых - группа грунта по степени пучинистости.
Для грунта II группы по степени пучинистости кривую IIа выбирают при 2-й и 3-й схемах увлажнения грунта рабочего слоя, кривую IIб - при 1-й схеме увлажнения грунта рабочего слоя
Рисунок 11 - Графики для определения требуемой толщины дорожной одежды по критерию морозоустойчивости в зависимости от глубины промерзания Zпр

1 - пылеватая супесь, тяжелая пылеватая супесь, легкий и тяжелый суглинок, легкий и тяжелый пылеватый суглинок, глина; 2 - песок, легкая крупная супесь, легкая супесь
Рисунок 12 - Зависимость коэффициента Kугв от расстояния от низа дорожной одежды до расчетного УГВ или УПВ

1 - пылеватая супесь, тяжелая пылеватая супесь, легкий и тяжелый суглинок, легкий и тяжелый пылеватый суглинок, глина; 2 - песок, легкая крупная супесь, легкая супесь
Рисунок 13 - Зависимость коэффициента Kнагр от глубины промерзания Zпр от поверхности покрытия
11.8 Глубину промерзания дорожной конструкции Zпр допускается определять по формуле
Zпр=1, 38Zпр. ср,
(27)
где Zпр. ср - средняя глубина промерзания для данного района, устанавливаемая с использованием карт изолиний (см. рисунок 14).
11.9 При глубине промерзания дорожной конструкции Zпр до 2, 0 м величину морозного пучения при осредненных условиях Iпуч. ср устанавливают по графикам на рисунке 12, а при глубине промерзания дорожной конструкции Zпр от 2, 0 до 3, 0 м - по формуле
Iпуч.ср=Iпуч.ср 2, 0[a+b(Zпр-c)],
(28)
где Iпуч. ср 2, 0 - величина морозного пучения при глубине промерзания дорожной конструкции Zпр, равной 2, 0 м;
а, b, с - коэффициенты, которые при глубине промерзания дорожной конструкции Zпр от 2, 0 до 2, 5 м равны 1, 0; 0, 16 и 2, 0 соответственно, а при глубине промерзания дорожной конструкции Zпр от 2, 5 до 3, 0 м равны 1, 08; 0, 08 и 2, 5 соответственно.

Рисунок 14 - Карта изолиний средней глубины промерзания Zпр. cp грунтов
11.10 Расчет дорожной одежды на морозоустойчивость с применением теплоизолирующих материалов выполняют по методикам, приведенным в соответствующих нормативных документах.
12.1 Дренирующий слой в традиционных конструкциях дорожных одежд со слоями из зернистых материалов на земляном полотне из глинистых и песчаных пылеватых грунтов необходим:
- во II и III ДКЗ - для всех схем увлажнения грунта рабочего слоя;
- в IV и V ДКЗ - для третьей схемы увлажнения грунта рабочего слоя.
12.2 Возможны следующие конструктивные решения устройства дренирующего слоя на автомобильных дорогах (см. рисунок 15):
- дренирующий слой отсыпается на всю ширину земляного полотна с поперечными уклонами от 20 ‰до 40 ‰, обеспечивающими сток воды на откосы (см. рисунок 15 а);
- отвод воды осуществляется с помощью продольных геодрен и поперечных выпусков на расстоянии от 50 до 80 м друг от друга в зависимости от продольных уклонов на дороге (см. рисунок 15 б);
- дренирующий слой отсыпается на ширину проезжей части и краевых полос без водоотводящих устройств (рисунок 15 в).

а - Устройство дренирующего слоя на всю ширину земляного полотна

б - Устройство дренирующего слоя на ширину проезжей части и краевых полос с отводом воды по дренажным трубам

в - Устройство дренирующего слоя на ширину проезжей части и краевых полос без устройства водоотводных устройств
Рисунок 15 - Конструктивные решения дренирования дорожной одежды
В городских условиях, как правило, применяют конструкцию дренажа с трапецеидальным ровиком (см. рисунок 16).

1 - дренажная труба; 2 - зона движения свободной воды; 3 - зона движения капиллярной воды, 4 - щебеночная (песчаная) подготовка под дренажную трубу; hк - высота капиллярного поднятия воды в материале дренирующего слоя
Рисунок 16 - Конструкция дренажа с ровиком
Выбор каждого конкретного мероприятия по осушению дорожной конструкции проводят на основе технико-экономического сравнения вариантов.
12.3 Дренажную конструкцию следует проектировать с учетом объема притока воды, поступающей в основание дорожной одежды в расчетный период, фильтрационной способности материала дренирующего слоя и конструкции земляного полотна.
Значительному уменьшению притока поверхностной воды к земляному полотну могут также способствовать монолитные слои дорожной одежды из материалов (грунтов), укрепленных вяжущими.
Проектирование мероприятий по осушению дорожной одежды осуществляют в следующей последовательности:
- дорогу разделяют на однородные участки по грунтово-гидрологическим условиям с учетом особенностей конструкции земляного полотна и конструктивного решения по дренированию;
- для однородных участков определяют количество воды, поступающей в основание за сутки и за расчетный период, предусматривая меры по ограничению притока воды в дорожную конструкцию;
- намечают варианты дренажных конструкций;
- обосновывают расчетом толщину дренирующего слоя для данных условий или определяют минимально требуемый коэффициент фильтрации для дренирующего материала в заданной дренажной конструкции.
12.4 В зависимости от конкретных условий дренажную конструкцию автомобильной дороги рассчитывают на работу:
- по принципу осушения (см. рисунок 15 а, б и рисунок 16);
- по принципу поглощения (см. рисунок 15 в).
12.5 Общий приток воды в весеннее время года на 1 м2 проезжей части Q и средний приток воды на 1 м2 проезжей части в сутки q определяют по таблице 21.
|  
         Дорожно-климатическая зона  |  
         Схема увлажнения рабочего слоя  |  
         Объем воды, поступающей в основание дорожной одежды из грунта Q/q  | |||
|  
         легкой супеси и пылеватого песка  |  
         легкого и тяжелого суглинка и глины  |  
         легкого и тяжелого пылеватого суглинка  |  
         пылеватой супеси и тяжелой пылеватой супеси  | ||
|  
         II  |  
         1  |  
         15/2, 5  |  
         20/2  |  
         35/3  |  
         80/3, 5  | 
|  
         2  |  
         25/3  |  
         50/3  |  
         80/4  |  
         130/4, 5  | |
|  
         3  |  
         60/3, 5  |  
         90/4  |  
         130/4, 5  |  
         180/5  | |
|  
         III  |  
         1  |  
         10/1, 5  |  
         10/1, 5  |  
         15/2  |  
         30/3  | 
|  
         2  |  
         15/2  |  
         25/2  |  
         30/2, 5  |  
         40/3  | |
|  
         3  |  
         25/2, 5  |  
         40/2, 5  |  
         50/3, 5  |  
         60/4  | |
|  
         IV и V  |  
         3  |  
         20/2  |  
         20/2  |  
         30/2, 5  |  
         40/3  | 
|  
         Примечания 1 В числителе приведен объем воды Q (л/м2) покрытия, поступающей в основание дорожной одежды за весь расчетный период, в знаменателе q л/(м2•сут). 2 Для насыпей, возведенных из непылеватых грунтов, высотой более требуемой (см. таблицу 16) во II ДКЗ принимают средний приток воды на 1 м2 проезжей части в сутки q, равный 1, 5 л/(м2•сут). 3 При наличии разделительной полосы для участков, проходящих в нулевых отметках, насыпей высотой меньше требуемой (см. таблицу 16) во II ДКЗ, расчетные значения среднего притока воды на 1 м2 проезжей части в сутки q повышают на 20 %.  | |||||
12.6 Для дренирующего слоя, работающего по принципу осушения, расчетный приток воды в дренирующий слой qp, м3/сут на 1 м2 проезжей части, определяют по формуле
qp=qКпикКгКвогКр/1000,
(29)
где q - средний приток воды, л на 1 м2 проезжей части в сутки (см. таблицу 21);
Кпик - коэффициент "пик", учитывающий неустановившийся режим поступления воды из-за неравномерного оттаивания и выпадения атмосферных осадков (см. таблицу 22);
Кг - коэффициент гидрологического запаса, учитывающий снижение фильтрационной способности дренирующего слоя в процессе эксплуатации дороги (см. таблицу 22);
Квог - коэффициент, учитывающий накопление воды в местах изменения продольного уклона;
Кр - коэффициент, учитывающий снижение притока воды при принятии специальных мер по регулированию водно-теплового режима (см. таблицу 23).
|  
         Дорожно-климатическая зона  |  
         Схема увлажнения  |  
         Kпик для грунтов  |  
         Kг для пылеватых грунтов  | |
|  
         непылеватых  |  
         пылеватых  | |||
|  
         II  |  
         1  |  
         1, 5  |  
         1, 5  |  
         1, 0/1, 0  | 
|  
         2  |  
         1, 5  |  
         1, 6  |  
         1, 2/1, 2  | |
|  
         3  |  
         1, 6  |  
         1, 7  |  
         1, 3/1, 2  | |
|  
         III  |  
         1  |  
         1, 4  |  
         1, 5  |  
         1, 0/1, 0  | 
|  
         2  |  
         1, 4  |  
         1, 5  |  
         1, 1/1, 0  | |
|  
         3  |  
         1, 5  |  
         1, 6  |  
         1, 2/1, 1  | |
|  
         IV и V  |  
         3  |  
         1, 5  |  
         1, 3  |  
         1, 1/1, 0  | 
|  
         Примечания 1 Для непылеватых грунтов Kг = 1, 0. 2 В числителе указаны значения Kг - для дорог I и II категорий, в знаменателе - III и IV категорий.  | ||||
|  
         Мероприятие  |  
         Схема увлажнения  |  
         Кр для грунта рабочего слоя  | ||
|  
         легкой супеси  |  
         легкого суглинка  |  
         тяжелого суглинка, глины  | ||
|  
         Укрепление обочин  |  
         1  |  
         0, 70  |  
         0, 75  |  
         0, 80  | 
|  
         2 и 3  |  
         0, 89  |  
         0, 90  |  
         0, 95  | |
|  
         Монолитные слои основания с содержанием воздушных пустот материала до 5 %  |  
         1  |  
         0, 80  |  
         0, 80  |  
         0, 80  | 
|  
         2 и 3  |  
         0, 90  |  
         0, 90  |  
         0, 90  | |
|  
         Примечание - При применении пылеватых грунтов коэффициент Кр = 1, 0.  | ||||
Коэффициент Kвог определяют при одинаковых направлениях продольных уклонов на продольном профиле по номограмме (см. рисунок 17), а при встречных уклонах - по формуле
Квог=1+(Кф(Тзап+1)(i1+i2))/2n,
(30)
где Кф - коэффициент фильтрации, м/сут;
Тзап - средняя продолжительность запаздывания работы водоотводящих устройств, принимаемая во II ДКЗ равной от 4 до 6 сут, в III ДКЗ - от 3 до 4 сут (большие значения для мелких песков);
i1 и i2 - абсолютная величина уклонов, доли единицы;
n - пористость дренирующего слоя, доли единицы.

i1 и i2 - продольные уклоны выше и ниже перелома продольного профиля; Кф - коэффициент фильтрации, м/сут; n - коэффициент пористости дренирующего слоя в долях единицы (значения уклонов принимаются по абсолютной величине)
Рисунок 17 - Номограмма для определения коэффициента Квог, учитывающего накопление воды в местах изменения вогнутого профиля
12.7 Полную толщину дренирующего слоя hп (см. рисунок 18) определяют по формуле
hП=hнас+hзап,
(31)
где hнас - толщина слоя, полностью насыщенного водой, м;
hзап - дополнительная толщина слоя, зависящая от капиллярных свойств материала: для крупных песков - 0, 10 м; для песков средней крупности - 0, 15 м; для мелких песков - 0, 20 м.

Рисунок 18 - Схема работы дренирующего слоя
Во всех случаях полную толщину дренирующего слоя пп следует принимать не менее 0, 20 м.
12.8 Для дренирующего слоя, работающего по принципу осушения, толщину слоя, полностью насыщенного водой, hнас устанавливают в зависимости от длины пути фильтрации L и расчетной величины притока воды qp.
Для мелких песков, средней крупности и крупных с коэффициентом фильтрации менее 10 м/сут расчет выполняют по номограмме (см. рисунок 19).

i - поперечный уклон низа дренирующего слоя; L - длина пути фильтрации; q' - погонный приток воды; Кф - коэффициент фильтрации песка, м/сут
Рисунок 19 - Номограмма для расчета толщины дренирующего слоя, полностью насыщенного водой, hнас из мелких песков, песков средней крупности и крупных песков с коэффициентом фильтрации менее 10 м/сут
При односкатном поперечном профиле погонный приток воды q', м3/сут на 1 м длины дороги, определяют по формуле
q'=qpB.
(32)
При двускатном поперечном профиле погонный приток воды q', м3/сут на 1 м длины дороги, определяют по формуле
q'=0, 5qpB,
(33)
где qp - расчетный объем притока воды;
В - ширина проезжей части, м.
Необходимую толщину слоя, полностью насыщенного водой, hнac определяют по ординате а (рисунок 19) по формуле
hнас=aL/3, 5,
(34)
где а - ордината, снятая с графика (см. рисунок 19);
L - длина пути фильтрации, равная половине ширины дренирующего слоя при двускатном поперечном профиле и полной его ширине - при односкатном поперечном профиле.
Для крупных песков с коэффициентом фильтрации более 10 м/сут толщину дренирующего слоя, полностью насыщенного водой, hнac определяют по рисунку 20.

i- поперечный уклон низа дренирующего слоя; L - длина пути фильтрации; qp - расчетный объем притока воды, м3/м2 в сутки; Кф - коэффициент фильтрации песка, м/сут
Рисунок 20 - Номограмма для расчета толщины дренирующего слоя, полностью насыщенного водой, hнас из крупных песков с коэффициентом фильтрации более 10 м/сут
12.9 По принципу поглощения рассчитывают толщину дренирующего слоя для конструктивного решения, показанного на рисунке 15 в.
Кроме того, на участках дорог с многополосной проезжей частью, где невозможно обеспечить длину пути фильтрации L менее или равную 10 м, дренирующий слой рассчитывают на поглощение всего количества воды, поступающей за весь расчетный период.
Полную толщину дренирующего слоя, работающего по принципу поглощения, определяют по формуле, основанной на сравнении объема воды, подлежащего размещению, и объема свободных пор в материале дренирующего слоя:
,
(35)
где Q - расчетное количество воды, накапливающейся в дренирующем слое за весь расчетный период, л/м2 (см. таблицу 21);
n - пористость материала, доли единицы;
φзим - коэффициент заполнения пор влагой в материале дренирующего слоя к началу оттаивания (таблица 24).
|  
         Толщина дренирующего слоя, м  |  
         Значение φзим при пористости n  | |||
|  
         0, 4  |  
         0, 36  |  
         0, 32  |  
         0, 28  | |
|  
         До 0, 2  |  
         0, 40  |  
         0, 50  |  
         0, 60  |  
         0, 70  | 
|  
         От 0, 2 до 0, 4  |  
         0, 35  |  
         0, 40  |  
         0, 50  |  
         0, 60  | 
|  
         Св. 0, 4  |  
         0, 30  |  
         0, 35  |  
         0, 45  |  
         0, 55  | 
12.10 Дренирующий слой в дренажной конструкции с углубленными продольными ровиками (см. рисунок 16), усиливающими процесс движения воды в мелком песке и песке средней крупности, рассчитывают с использованием номограмм (см. рисунок 21).

L - длина пути фильтрации; qp - расчетный объем притока воды, м3/м2 в сутки; Кф - коэффициент фильтрации материала, м/сут
– – – уклон низа дренирующего слоя, i = 0, 02;
—— уклон низа дренирующего слоя, i = 0, 04
Рисунок 21 - Номограмма для расчета дренирующего слоя в конструкции с углубленными продольными ровиками
По номограммам (см. рисунок 21) получают сразу полную толщину дренирующего слоя hп в зависимости от крупности песка, расчетного объема притока воды в дренирующий слой qp, коэффициента фильтрации материала дренирующего слоя Кф, длины пути фильтрации L и поперечного уклона низа дренирующего слоя i.
12.11 Пример расчета конструкции дорожных одежд на прочность, морозоустойчивость и осушение представлен в приложении Г.
13.1 Обочины и разделительные полосы укрепляют для повышения пропускной способности автомобильных дорог, удобства и безопасности движения. Укрепление обочин обеспечивает защиту земляного полотна от проникновения в дорожную конструкцию поверхностных вод, предохраняет проезжую часть дороги от разрушения и загрязнения.
13.2 В пределах ширины обочины конструкцию дорожных одежд устраивают на:
- краевой полосе, служащей упором для дорожных одежд проезжей части дороги, устраиваемой на дорогах от I до IV категорий, как правило, совместно с проезжей частью при строительстве (реконструкции) или выполнении ремонтных работ;
- остановочной (стояночной) полосе, предназначенной для вынужденной остановки автомобилей на дорогах I категории;
- укрепленной полосе на дорогах от II до IV категорий.
13.3 Конструкция укрепления и используемые материалы должны обеспечивать заезд на обочину транспортных средств с расчетной нагрузкой без возникновения деформаций, превышающих по величине и характеру допустимые значения.
При новом строительстве краевая укрепительная полоса на обочинах и полосах безопасности на разделительной полосе должны иметь конструкцию дорожных одежд, аналогичную проезжей части. При капитальном ремонте в случае невозможности обеспечения аналогичной конструкции конструкцию следует проектировать идентичной по прочности.
Остановочные полосы и разделительная полоса на автомобильных дорогах I категории в местах разворотов укрепляются по типу дорожных одежд проезжей части.
Покрытия конструкций укрепления обочин автомобильных дорог, проходящих через населенные пункты и сельскохозяйственные угодья, не должны содержать материалов, способствующих пылеобразованию, а в населенных пунктах - дополнительно обладающих канцерогенными свойствами.
13.4 На укрепленных полосах дорог II-IV категорий в виде исключения возможно движение транспортных средств в пределах до 1/3 интенсивности, приходящейся на крайнюю правую полосу проезжей части.
Такое решение целесообразно прежде всего для участков дорог, где вследствие высокой интенсивности движения может возникнуть необходимость пропуска потока по укрепительной и остановочной полосам в отдельные кратковременные "пиковые" периоды роста интенсивности движения, когда уширение дорожной одежды проезжей части нецелесообразно или невозможно по технико-экономическим условиям.
13.5 Толщину каждого слоя конструкции укрепления следует принимать не ниже значений, указанных в таблице 2.
13.6 Дорожные одежды краевых укрепительных полос, остановочных полос и укрепленных полос рассчитывают по всем критериям прочности, аналогично дорожным одеждам проезжей части. В качестве расчетной нагрузки принимают ту же нагрузку, что и при расчете дорожных одежд проезжей части.
13.7 На земляном полотне из пылеватых грунтов в I, II и III дорожно-климатических зонах при 2-м и 3-м типе местности по условиям увлажнения должна быть выполнена проверка конструкции краевых полос и остановочной полосы на морозоустойчивость, аналогично выполняемой при расчете дорожных одежд проезжей части (см. раздел 11).
14.1 Усиление нежестких дорожных одежд необходимо, если коэффициенты прочности при расчете по критерию допускаемого упругого прогиба в расчетный период года менее 1.
Усиление нежестких дорожных одежд проводится:
- с целью улучшения транспортно-эксплуатационных характеристик и увеличения прочности конструкций дорожных одежд без изменения категории дороги;
- в случаях, когда по результатам оценки прочности одежды с учетом дальнейшего роста интенсивности движения можно ожидать прогрессирующего разрушения дорожной одежды в ближайшее время.
Как правило, в этих случаях существующие слои усиливают путем устройства одного или нескольких слоев покрытия из асфальтобетона с использованием существующей конструкции дорожной одежды в качестве основания после выравнивания поперечного и продольного профилей путем фрезерования слоев покрытия или устройства выравнивающего слоя из соответствующих материалов.
14.2 Тип нового покрытия не должен быть менее совершенным, чем покрытие усиливаемых дорожных одежд.
При переводе дорог низких категорий (IV или V) в более высокие категории существующие дорожные одежды частично разбирают и поверх них укладывают несколько слоев основания и покрытия. Как правило, при этом уширяют проезжую часть и земляное полотно. На уширенных участках проезжей части устраивают новую конструкцию дорожных одежд, равнопрочную с основной конструкцией дорожных одежд.
14.3 Мероприятия по усилению дорожных одежд назначаются с использованием основных положений, изложенных применительно к конструированию новых дорожных одежд, но с учетом особенностей, связанных с наличием существующих дорожных одежд.
14.4 Расчет слоев усиления выполняют следующим образом:
- если имеются данные о фактических общих модулях упругости существующих конструкций под колесом расчетного автомобиля, относящихся к периоду наибольшего ослабления конструкции, то толщины слоев усиления следует назначать на основе расчета по критерию допускаемого упругого прогиба всей конструкции с доведением значений коэффициентов прочности до значений, приведенных в таблице 11.
Расчет на усталостное разрушение от растяжения при изгибе и по условию сдвигоустойчивости следует выполнять только для вновь устраиваемых слоев;
- если нет достоверных данных о несущей способности существующих дорожных одежд, то допускается проектировать слои усиления на основе материалов обследований, содержащих результаты измерения толщин всех конструктивных слоев одежды, характеристику их состояния и качества, сведения о виде грунта земляного полотна и об условиях его увлажнения. В этом случае толщины слоев усиления одежды следует назначать на основе расчета по допускаемому упругому прогибу всей конструкции, сопротивлению растяжению при изгибе слоев старой и новой частей одежды и сопротивлению сдвигу всех слабосвязных слоев и грунта земляного полотна.
Минимальный требуемый модуль упругости Emin дорожных одежд определяют по формуле (10) в зависимости от суммарной интенсивности движения на крайней правой полосе на новый расчетный период.
14.5 Вопрос о сроках усиления нежестких дорожных одежд необходимо решать на основании технико-экономического сравнения вариантов. Если усиление одежды в данное время экономически нецелесообразно, то на участках дорог с недостаточной прочностью дорожной одежды следует ограничить движение транспортных средств в периоды года, неблагоприятные по условиям увлажнения земляного полотна.
14.6 При усилении дорожных одежд должны быть соблюдены условия:
- тип нового покрытия не должен быть менее совершенным, чем покрытие усиливаемой дорожной одежды. Вместо усовершенствованных облегченных или переходных дорожных покрытий могут быть назначены более совершенные покрытия. Материал дорожного покрытия должен обеспечивать требуемые сцепные свойства и обладать устойчивостью к возникновению сдвигов, наплывов, колейности и волн при высоких температурах;
- толщины слоев усиления не должны быть менее значений, указанных в таблице 2. В противном случае следует рассмотреть вариант применения другого материала для слоя усиления, из которого можно устраивать более тонкий слой. При необходимости следует предусмотреть два слоя усиления, нижний слой усиления устраивают из менее прочных и дорогостоящих материалов, чем верхний слой.
Методика выбора типа и вида асфальтобетонной смеси в зависимости от условий движения асфальтобетонов SP и АБ TP ТС представлена в приложении Д.
Приложение А 
  
 (справочное)
А.1 Расчетная влажность грунта зависит от погодно-климатических условий местности, а также от вида грунта, конструкции земляного полотна, применяемых мероприятий по регулированию водно-теплового режима дорожной одежды и земляного полотна и др.
Разновидности связных грунтов приведены в таблице А.1.
|  
         Разновидность связных грунтов  |  
         Число пластичности Jp  |  
         Содержание песчаных частиц (2-0, 5 мм), % масс.  | 
|  
         Пылеватый песок  |  
         -  |  
         ≥ 50  | 
|  
         Крупная легкая супесь  |  
         1-7  |  
         > 50  | 
|  
         Легкая супесь  |  
         1-7  |  
         > 50  | 
|  
         Пылеватая супесь  |  
         1-7  |  
         20-50  | 
|  
         Пылеватая тяжелая супесь  |  
         1-7  |  
         < 20  | 
|  
         Легкий суглинок  |  
         7-12  |  
         > 40  | 
|  
         Пылеватый легкий суглинок  |  
         7-12  |  
         < 40  | 
|  
         Тяжелый суглинок  |  
         12-17  |  
         > 40  | 
|  
         Пылеватый тяжелый суглинок  |  
         12-17  |  
         < 40  | 
|  
         Песчанистая глина  |  
         17-27  |  
         > 40  | 
|  
         Пылеватая глина  |  
         17-27  |  
         < 40  | 
|  
         Жирная глина  |  
         Не нормируется  |  
         > 27  | 
Расчетную влажность связного грунта Wp при общей толщине дорожной одежды до 0, 75 м определяют по формуле
Wp=(W̅табл+Δ+Δ1W-Δ2W)(1+Vrt)-Δ3,
(А.1)
где W̅табл - среднее многолетнее значение относительной (в долях от влажности на границе текучести) влажности грунта в наиболее неблагоприятный (весенний) период года в рабочем слое земляного полотна, определяемое по таблице А.2 в зависимости от дорожно-климатической зоны и подзоны (см. рисунок А.1), схемы увлажнения грунта рабочего слоя и типа грунта;
Δ - поправка, равная 0, 00, для участков насыпей и 0, 03 - для участков дороги, проходящих в выемке или в низкой насыпи с рабочей отметкой менее руководящей отметки для данного типа грунта и типа местности по характеру увлажнения;
Δ1W - поправка на особенности рельефа территории, принимаемая для равнинных условий 0, 00, предгорных - 0, 03, горных - 0, 05;
Δ2W - поправка на конструктивные особенности проезжей части и обочин, определяемая по таблице А.3;
Vr - коэффициент вариации, равный 0, 10;
t - коэффициент нормированного отклонения, принимаемый в зависимости от уровня надежности Kн (см. таблицу А.4);
Δ3 - поправка, учитывающая толщину слоев, превышающую 0, 75 м, определяемая по рисунку А.2.

- границы дорожно-климатических зон; ••• границы дорожно-климатических подзон
Примечания
1 Кубань и западную часть Северного Кавказа следует относить к III ДКЗ, Крым - IV ДКЗ.
2 При проектировании участков дорог в приграничных зонах при обосновании данных о грунтово-гидрологических и почвенных условиях, а также исходя из практики эксплуатации дорог в районе, допускается принимать проектные решения как для смежной (северной или южной) зоны.
3 В горных районах дорожно-климатические зоны следует определять с учетом высотного расположения объектов проектирования, принимая во внимание природные условия на данной высоте.
Рисунок А.1 - Дорожно-климатические зоны и подзоны Российской Федерации
|  
         Дорожно-климатическая зона-подзона  |  
         Схема увлажнения рабочего слоя  |  
         Среднее многолетнее значение относительной влажности грунта W̅табл (доли от WТ)  | |||
|  
         легкой супеси  |  
         пылеватого песка  |  
         легкого суглинка, тяжелого суглинка, тяжелого пылеватого суглинка, глины  |  
         пылеватой супеси, тяжелой пылеватой супеси, легкого пылеватого суглинка  | ||
|  
         I-I1  |  
         1  |  
         0, 53  |  
         0, 57  |  
         0, 62  |  
         0, 65  | 
|  
         2  |  
         0, 55  |  
         0, 59  |  
         0, 65  |  
         0, 67  | |
|  
         3  |  
         0, 57  |  
         0, 62  |  
         0, 67  |  
         0, 70  | |
|  
         l-l2  |  
         1  |  
         0, 57  |  
         0, 57  |  
         0, 62  |  
         0, 65  | 
|  
         2  |  
         0, 59  |  
         0, 62  |  
         0, 67  |  
         0, 70  | |
|  
         3  |  
         0, 62  |  
         0, 65  |  
         0, 70  |  
         0, 75  | |
|  
         I-I3  |  
         1  |  
         0, 60  |  
         0, 62  |  
         0, 65  |  
         0, 70  | 
|  
         2  |  
         0, 62  |  
         0, 65  |  
         0, 70  |  
         0, 75  | |
|  
         3  |  
         0, 65  |  
         0, 70  |  
         0, 75  |  
         0, 80  | |
|  
         Il-lI1  |  
         1  |  
         0, 60  |  
         0, 62  |  
         0, 65  |  
         0, 70  | 
|  
         2  |  
         0, 63  |  
         0, 65  |  
         0, 68  |  
         0, 73  | |
|  
         3  |  
         0, 65  |  
         0, 67  |  
         0, 70  |  
         0, 75  | |
|  
         II-II2  |  
         1  |  
         0, 57  |  
         0, 59  |  
         0, 62  |  
         0, 67  | 
|  
         2  |  
         0, 60  |  
         0, 62  |  
         0, 65  |  
         0, 70  | |
|  
         3  |  
         0, 62  |  
         0, 64  |  
         0, 67  |  
         0, 72  | |
|  
         II-II3  |  
         1  |  
         0, 63  |  
         0, 65  |  
         0, 68  |  
         0, 73  | 
|  
         2  |  
         0, 66  |  
         0, 68  |  
         0, 71  |  
         0, 76  | |
|  
         3  |  
         0, 68  |  
         0, 70  |  
         0, 73  |  
         0, 78  | |
|  
         II-II4  |  
         1  |  
         0, 60  |  
         0, 62  |  
         0, 65  |  
         0, 70  | 
|  
         2  |  
         0, 63  |  
         0, 65  |  
         0, 68  |  
         0, 73  | |
|  
         3  |  
         0, 65  |  
         0, 67  |  
         0, 70  |  
         0, 75  | |
|  
         II-II5  |  
         1  |  
         0, 65  |  
         0, 67  |  
         0, 70  |  
         0, 75  | 
|  
         2  |  
         0, 68  |  
         0, 70  |  
         0, 73  |  
         0, 78  | |
|  
         3  |  
         0, 70  |  
         0, 72  |  
         0, 75  |  
         0, 80  | |
|  
         II-II6  |  
         1  |  
         0, 62  |  
         0, 64  |  
         0, 67  |  
         0, 72  | 
|  
         2  |  
         0, 65  |  
         0, 67  |  
         0, 70  |  
         0, 75  | |
|  
         3  |  
         0, 67  |  
         0, 69  |  
         0, 72  |  
         0, 77  | |
|  
         Ill-Ill1  |  
         1  |  
         0, 55  |  
         0, 57  |  
         0, 60  |  
         0, 63  | 
|  
         2-3  |  
         0, 59  |  
         0, 61  |  
         0, 63  |  
         0, 67  | |
|  
         lll-lll2  |  
         1  |  
         0, 58  |  
         0, 60  |  
         0, 63  |  
         0, 66  | 
|  
         2-3  |  
         0, 62  |  
         0, 64  |  
         0, 66  |  
         0, 70  | |
|  
         III-III3  |  
         1  |  
         0, 55  |  
         0, 57  |  
         0, 60  |  
         0, 63  | 
|  
         2-3  |  
         0, 59  |  
         0, 61  |  
         0, 63  |  
         0, 67  | |
|  
         IV  |  
         1  |  
         0, 53  |  
         0, 55  |  
         0, 57  |  
         0, 60  | 
|  
         2-3  |  
         0, 57  |  
         0, 58  |  
         0, 60  |  
         0, 64  | |
|  
         V  |  
         1  |  
         0, 52  |  
         0, 53  |  
         0, 54  |  
         0, 57  | 
|  
         2-3  |  
         0, 55  |  
         0, 56  |  
         0, 57  |  
         0, 60  | |
Средние значения влажности грунта в таблице А.2 приведены для толщины дорожной одежды до 0, 75 м. Если одежда имеет большую толщину, влагонакопление в грунте рабочего слоя за счет грунтовой и поверхностной вод снижается. В этом случае расчетная влажность грунта уменьшается на величину Δ3, определяемую по номограмме (см. рисунок А.2).

1 - для исходной относительной влажности W̅табл = 0, 75WТ; 2 - то же, W̅табл = 0, 8WТ; 3 - то же, W̅табл = 0, 85WТ; 4 - то же, W̅табл = 0, 9WТ
Рисунок А.2 - Графики для определения поправки на влияние суммарной толщины стабильных слоев
|  
         Конструктивная особенность  |  
         Поправка Δ2W в дорожно-климатических зонах  | |||
|  
         II  |  
         III  |  
         IV  |  
         V  | |
|  
         Основание дорожной одежды, включая слои на границе с грунтом рабочего слоя, из укрепленных материалов:  | ||||
|  
         крупнообломочного грунта и песка  |  
         0, 04  |  
         0, 04  |  
         0, 03  |  
         0, 03  | 
|  
         песчанистой супеси  |  
         0, 05  |  
         0, 05  |  
         0, 05  |  
         0, 04  | 
|  
         пылеватых песков, тяжелого и легкого суглинка и др.  |  
         0, 08  |  
         0, 08  |  
         0, 06  |  
         0, 05  | 
|  
         Укрепление обочин (не менее 2/3 их ширины):  | ||||
|  
         асфальтобетоном  |  
         0, 05  |  
         0, 04  |  
         0, 03  |  
         0, 02  | 
|  
         щебнем (гравием)  |  
         0, 02  |  
         0, 02  |  
         0, 02  |  
         0, 02  | 
|  
         Дренаж с продольными трубчатыми дренами  |  
         0, 05  |  
         0, 03  |  
         -  |  
         -  | 
|  
         Устройство гидроизолирующих прослоек из полимерных материалов  |  
         0, 05  |  
         0, 05  |  
         0, 03  |  
         0, 03  | 
|  
         Устройство теплоизолирующего слоя, предотвращающего промерзание  |  
         Снижение расчетной влажности до полной влагоемкости при требуемом Купл грунта  | |||
|  
         Грунт рабочего слоя земляного полотна в "обойме"  |  
         Снижение расчетной влажности до оптимальной  | |||
|  
         Грунт рабочего слоя, уплотненный до значения коэффициента уплотнения от более 1, 00 в слое толщиной от 0, 3 до 0, 5 м от низа дорожной одежды, если он расположен ниже границы промерзания  |  
         -  |  
         0, 03  |  
         0, 03  |  
         0, 03  | 
|  
         Уровень надежности Kн  |  
         0, 70  |  
         0, 75  |  
         0, 80  |  
         0, 85  |  
         0, 90  |  
         0, 95  |  
         0, 98  | 
|  
         Нормированное отклонение t  |  
         0, 52  |  
         0, 68  |  
         0, 84  |  
         1, 06  |  
         1, 32  |  
         1, 71  |  
         2, 19  | 
А.2 Расчетные характеристики связных грунтов определяют:
- модуль упругости - в зависимости от расчетной влажности по таблице А.5;
- сдвиговые характеристики: угол внутреннего трения φгр и удельное сцепление грунта сгр - в зависимости от расчетной влажности и количества приложений нагрузки за срок службы дорожной одежды по таблице А.6.
|  
         Грунт  |  
         Модуль упругости при относительной влажности, МПа  | |||||||||
|  
         0, 50  |  
         0, 55  |  
         0, 60  |  
         0, 65  |  
         0, 70  |  
         0, 75  |  
         0, 80  |  
         0, 85  |  
         0, 90  |  
         0, 95  | |
|  
         Пылеватый песок  |  
         96  |  
         90  |  
         84  |  
         78  |  
         72  |  
         66  |  
         60  |  
         54  |  
         48  |  
         43  | 
|  
         Легкая супесь  |  
         70  |  
         60  |  
         56  |  
         53  |  
         49  |  
         45  |  
         43  |  
         42  |  
         41  |  
         40  | 
|  
         Пылеватая супесь, тяжелая пылеватая супесь  |  
         108  |  
         90  |  
         72  |  
         54  |  
         46  |  
         38  |  
         32  |  
         27  |  
         26  |  
         25  | 
|  
         Легкий суглинок, тяжелый суглинок  |  
         108  |  
         90  |  
         72  |  
         50  |  
         41  |  
         34  |  
         29  |  
         25  |  
         24  |  
         23  | 
|  
         Легкий пылеватый суглинок, тяжелый пылеватый суглинок  |  
         108  |  
         90  |  
         72  |  
         54  |  
         46  |  
         38  |  
         32  |  
         27  |  
         26  |  
         25  | 
|  
         Глины  |  
         108  |  
         90  |  
         72  |  
         50  |  
         41  |  
         34  |  
         29  |  
         25  |  
         24  |  
         23  | 
|  
         Относительная влажность  |  
         Удельное сцепление сгр, МПа, при суммарном числе приложений нагрузки ∑Np  |  
         Угол внутреннего трения φгр, градусы, при суммарном числе приложений нагрузки ∑Np  | ||||||||
|  
         1  |  
         103  |  
         104  |  
         105  |  
         106  |  
         1  |  
         103  |  
         104  |  
         105  |  
         106  | |
|  
         Суглинки и глины 
        | ||||||||||
|  
         0, 60  |  
         0, 030  |  
         0, 030  |  
         0, 016  |  
         0, 014  |  
         0, 012  |  
         24  |  
         20  |  
         14, 5  |  
         11  |  
         9  | 
|  
         0, 65  |  
         0, 024  |  
         0, 019  |  
         0, 013  |  
         0, 011  |  
         0, 009  |  
         21  |  
         15  |  
         11  |  
         8  |  
         7  | 
|  
         0, 70  |  
         0, 019  |  
         0, 013  |  
         0, 009  |  
         0, 007  |  
         0, 006  |  
         18  |  
         11, 5  |  
         8, 5  |  
         6, 5  |  
         5, 5  | 
|  
         0, 75  |  
         0, 015  |  
         0, 009  |  
         0, 006  |  
         0, 005  |  
         0, 004  |  
         15  |  
         10  |  
         7, 5  |  
         5  |  
         4  | 
|  
         0, 80  |  
         0, 011  |  
         0, 007  |  
         0, 005  |  
         0, 003  |  
         0, 002  |  
         13  |  
         8  |  
         5  |  
         3  |  
         2, 5  | 
|  
         0, 90  |  
         0, 008  |  
         0, 004  |  
         0, 004  |  
         0, 002  |  
         0, 001  |  
         11, 5  |  
         6, 5  |  
         3, 5  |  
         2, 2  |  
         2  | 
|  
         Супеси и пылеватые пески 
        | ||||||||||
|  
         0, 6  |  
         0, 014  |  
         0, 012  |  
         0, 008  |  
         0, 006  |  
         0, 005  |  
         36  |  
         24  |  
         18  |  
         14  |  
         12  | 
|  
         0, 65  |  
         0, 013  |  
         0, 010  |  
         0, 008  |  
         0, 006  |  
         0, 004  |  
         36  |  
         23, 5  |  
         17  |  
         14  |  
         12  | 
|  
         0, 70  |  
         0, 012  |  
         0, 009  |  
         0, 006  |  
         0, 005  |  
         0, 004  |  
         35  |  
         23, 5  |  
         17  |  
         14  |  
         12  | 
|  
         0, 75  |  
         0, 011  |  
         0, 008  |  
         0, 005  |  
         0, 004  |  
         0, 003  |  
         35  |  
         23  |  
         17  |  
         14  |  
         12  | 
|  
         0, 80  |  
         0, 010  |  
         0, 007  |  
         0, 005  |  
         0, 004  |  
         0, 003  |  
         34  |  
         23  |  
         17  |  
         14  |  
         12  | 
|  
         0, 85  |  
         0, 009  |  
         0, 007  |  
         0, 004  |  
         0, 003  |  
         0, 003  |  
         34  |  
         22  |  
         15  |  
         12  |  
         10  | 
|  
         0, 90  |  
         0, 008  |  
         0, 004  |  
         0, 003  |  
         0, 003  |  
         0, 003  |  
         33  |  
         21  |  
         12, 5  |  
         10  |  
         8  | 
|  
         Примечания 1 Значения сдвиговых характеристик φгр и сгр при суммарном числе приложения нагрузки ∑Np, равном 1, используют при расчете на статическое действие нагрузки. 2 При суммарном числе приложения нагрузки ∑Np более 106 значения сдвиговых характеристик φгр и сгр следует принимать по графе настоящей таблицы, где суммарное число приложения нагрузки ∑Np равно 106.  | ||||||||||
Расчетные характеристики песка не зависят от расчетной влажности и принимаются:
- модуль упругости - во всех дорожно-климатических зонах одинаковым по таблице А.7;
|  
         Песок  |  
         Модуль упругости, МПа  | 
|  
         Гравелистый, крупный  |  
         130  | 
|  
         Средней крупности  |  
         120  | 
|  
         Мелкий  |  
         100  | 
|  
         Легкая крупная супесь  |  
         65  | 
- сдвиговые характеристики (удельное сцепление сгр и угол внутреннего трения φгр) - в зависимости от количества приложений нагрузки за срок службы дорожной одежды по таблице А.8.
|  
         Подвид грунта  |  
         Удельное сцепление сгр, МПа, при суммарном числе приложений нагрузки ∑Np  |  
         Угол внутреннего трения φгр, градусы, при суммарном числе приложений нагрузки ∑Np  | |||||||||
|  
         1  |  
         103  |  
         104  |  
         105  |  
         106  |  
         1  |  
         103  |  
         104  |  
         105  |  
         106  | ||
|  
         Гравелистый, крупный песок с содержанием пылевато-глинистой фракции  |  
         0 %  |  
         0, 004  |  
         0, 003  |  
         0, 003  |  
         0, 003  |  
         0, 003  |  
         35  |  
         33  |  
         32  |  
         31  |  
         29  | 
|  
         5 %  |  
         0, 005  |  
         0, 004  |  
         0, 004  |  
         0, 003  |  
         0, 003  |  
         34  |  
         31  |  
         30  |  
         29  |  
         28  | |
|  
         Песок средней крупности с содержанием пылевато-глинистой фракции  |  
         0 %  |  
         0, 004  |  
         0, 004  |  
         0, 003  |  
         0, 003  |  
         0, 002  |  
         32  |  
         30  |  
         30  |  
         28  |  
         27  | 
|  
         5 %  |  
         0, 005  |  
         0, 004  |  
         0, 003  |  
         0, 003  |  
         0, 002  |  
         33  |  
         30  |  
         29  |  
         28  |  
         26  | |
|  
         Мелкий песок с содержанием пылевато-глинистой фракции  |  
         0 %  |  
         0, 003  |  
         0, 003  |  
         0, 002  |  
         0, 002  |  
         0, 002  |  
         31  |  
         28  |  
         27  |  
         26  |  
         25  | 
|  
         5 %  |  
         0, 005  |  
         0, 004  |  
         0, 004  |  
         0, 004  |  
         0, 003  |  
         31  |  
         27  |  
         26  |  
         25  |  
         24  | |
|  
         8 %  |  
         0, 006  |  
         0, 005  |  
         0, 004  |  
         0, 003  |  
         0, 002  |  
         31  |  
         27  |  
         26  |  
         25  |  
         23  | |
|  
         Легкая крупная супесь  |  
         -  |  
         0, 006  |  
         0, 005  |  
         0, 004  |  
         0, 003  |  
         0, 002  |  
         31  |  
         27  |  
         26  |  
         25  |  
         23  | 
|  
         Примечания 1 Значение сдвиговых характеристик φгр и сгр при суммарном числе приложения нагрузки ∑Np, равном 1, используют при расчете на статическое действие нагрузки. 2 При суммарном числе приложения нагрузки ∑Np более 106 значения сдвиговых характеристик φгр и сгр следует принимать по графе настоящей таблицы, где суммарное число приложения нагрузки ∑Np равно 106.  | |||||||||||
А.3 При применении в качестве грунтов рабочего слоя материалов, не представленных в настоящем стандарте, их расчетные характеристики необходимо назначать по данным лабораторных и натурных испытаний.
Приложение Б 
  
 (справочное)
материалов конструктивных слоев для дорог общего пользования и улиц населенных пунктов
|  
         Материал  |  
         Расчетный модуль упругости E, МПа  |  
         Прочность на растяжение при изгибе Rукр, МПа  | 
|  
         Щебеночно-песчаная смесь, гравийно-песчаная смесь, крупнообломочный грунт, обработанные цементом (ГОСТ 23558), соответствующие марке  | ||
|  
         20  |  
         500  |  
         0, 37  | 
|  
         40  |  
         600  |  
         0, 42  | 
|  
         60  |  
         800  |  
         0, 47  | 
|  
         75  |  
         870  |  
         0, 50  | 
|  
         100  |  
         1000  |  
         0, 70  | 
|  
         Щебеночно-песчаная смесь, гравийно-песчаная смесь, крупнообломочный грунт, обработанные зольным или шлаковым вяжущими (ГОСТ 23558), соответствующие марке  | ||
|  
         20  |  
         450  |  
         0, 35  | 
|  
         40  |  
         550  |  
         0, 40  | 
|  
         60  |  
         750  |  
         0, 46  | 
|  
         75  |  
         870  |  
         0, 50  | 
|  
         100  |  
         950  |  
         0, 68  | 
|  
         Гравелистые, крупные, средние пески, мелкие и пылеватые пески, легкая песчанистая супесь, легкий и тяжелый песчанистые суглинки, обработанные цементом (ГОСТ 23558), соответствующие марке  | ||
|  
         20  |  
         400  |  
         0, 32  | 
|  
         40  |  
         550  |  
         0, 40  | 
|  
         60  |  
         700  |  
         0, 45  | 
|  
         75  |  
         870  |  
         0, 50  | 
|  
         100  |  
         950  |  
         0, 68  | 
|  
         Гравелистые, крупные, средние пески, мелкие и пылеватые пески, легкая песчанистая супесь, легкий и тяжелый песчанистые суглинки, обработанные зольным или шлаковым вяжущим (ГОСТ 23558), соответствующие марке  | ||
|  
         20  |  
         300  |  
         0, 23  | 
|  
         40  |  
         450  |  
         0, 35  | 
|  
         60  |  
         600  |  
         0, 40  | 
|  
         75  |  
         730  |  
         0, 43  | 
|  
         100  |  
         870  |  
         0, 50  | 
|  
         Органоминеральные смеси по ГОСТ 30491: щебеночно-песчаная смесь, гравийно-песчаная смесь и крупнообломочный грунт, обработанные:  | ||
|  
         жидкими органическими вяжущими или вязкими, в т.ч. эмульгированными органическими вяжущими  |  
         450  |  
         -  | 
|  
         жидкими органическими вяжущими совместно с минеральными или эмульгированными органическими вяжущими совместно с минеральными  |  
         950  |  
         0, 68  | 
|  
         Гравелистый, крупный, средний песок, мелкий песок, легкая песчанистая и пылеватая супесь, легкий и тяжелый песчанистые суглинки по ГОСТ 30491, обработанные:  | ||
|  
         жидкими органическими вяжущими или вязкими, в т.ч. эмульгированными органическими вяжущими  |  
         430  |  
         -  | 
|  
         жидкими органическими вяжущими совместно с минеральными или эмульгированными органическими вяжущими совместно с минеральными  |  
         700  |  
         0, 45  | 
|  
         Материал  |  
         Расчетный модуль упругости E, МПа  | |
|  
         легкоуплотняемого щебня  |  
         трудноуплотняемого щебня  | |
|  
         Фракционный щебень фракции 31, 5-63 мм по ГОСТ 32703 и ГОСТ 32826, устроенный по способу заклинки, расклинцованный:  | ||
|  
         фракционным мелким щебнем  |  
         450  |  
         350  | 
|  
         известняковой мелкой смесью, активным мелким шлаком  |  
         400  |  
         300  | 
|  
         мелким высокоактивным шлаком  |  
         450  |  
         400  | 
|  
         асфальтобетонной смесью, асфальтогранулятом  |  
         500  |  
         450  | 
|  
         цементно-песчаной смесью марки М75  |  
         От 450 до 700  |  
         От 350 до 600  | 
|  
         Каменная мостовая:  | ||
|  
         из колотого камня  |  
         -  |  
         500  | 
|  
         из булыжного камня  |  
         -  |  
         400  | 
|  
         Примечание - Значение модулей упругости для щебня, расклинцованного цементно-песчаной смесью, принимают в зависимости от глубины пропитки.  | ||
|  
         Материал слоя, мм  |  
         Расчетный модуль упругости E, МПа  | 
|  
         Щебеночные смеси для покрытий непрерывной гранулометрии при максимальном размере зерен (ГОСТ 25607)  | |
|  
         С1 - 40  |  
         300  | 
|  
         С2 - 20  |  
         290  | 
|  
         Щебеночные смеси для оснований непрерывной гранулометрии при максимальном размере зерен (ГОСТ 25607)  | |
|  
         С3 - 120  |  
         280  | 
|  
         С4 - 80  |  
         275  | 
|  
         С5 - 40  |  
         260  | 
|  
         С6 - 20  |  
         250  | 
|  
         C7 - 10  |  
         240  | 
|  
         Гравийные смеси для покрытий непрерывной гранулометрии при максимальном размере зерен (ГОСТ 25607)  | |
|  
         С1 - 40  |  
         280  | 
|  
         С2 - 20  |  
         265  | 
|  
         Гравийные смеси для оснований непрерывной гранулометрии при максимальном размере зерен (ГОСТ 25607)  | |
|  
         С3 - 120  |  
         240  | 
|  
         С4 - 80  |  
         230  | 
|  
         С5 - 40  |  
         220  | 
|  
         С6 - 20  |  
         200  | 
|  
         C7 - 10  |  
         180  | 
|  
         Шлаковая щебеночно-песчаная смесь из неактивных и слабоактивных шлаков (ГОСТ 3344)  | |
|  
         С1 - 70  |  
         275  | 
|  
         С2 - 70  |  
         260  | 
|  
         С4 - 40  |  
         250  | 
|  
         С6 - 20  |  
         210  | 
|  
         Материал  |  
         Кратковременный модуль упругости E, МПа, при температуре покрытия, °С  | ||||
|  
         10  |  
         20  |  
         30  |  
         40  |  
         50  | |
|  
         ЩМА TP ТС на ПБВ по ГОСТ Р 52056 
        | |||||
|  
         ПБВ 40  |  
         5000  |  
         3300  |  
         1900  |  
         1150  |  
         650  | 
|  
         ПБВ 60  |  
         4600  |  
         2500  |  
         1500  |  
         800  |  
         550  | 
|  
         ПБВ 90  |  
         3900  |  
         2100  |  
         1150  |  
         750  |  
         500  | 
|  
         ЩМА TP ТС на БНД по ГОСТ 33133 
        | |||||
|  
         БНД 50/70  |  
         5500  |  
         3600  |  
         2050  |  
         1250  |  
         700  | 
|  
         БНД 70/100  |  
         4900  |  
         2800  |  
         1700  |  
         860  |  
         600  | 
|  
         БНД 100/130  |  
         4100  |  
         2300  |  
         1250  |  
         800  |  
         550  | 
|  
         ЩМА TP ТС и SМА на битумном вяжущем, классифицируемом по PG 
        | |||||
|  
         PG 82 - Y  |  
         5600  |  
         3900  |  
         2250  |  
         1350  |  
         800  | 
|  
         PG 76 - Y  |  
         5300  |  
         3600  |  
         2100  |  
         1300  |  
         650  | 
|  
         PG 70 - Y  |  
         5000  |  
         3300  |  
         2050  |  
         1150  |  
         700  | 
|  
         PG 64 - Y  |  
         4600  |  
         2650  |  
         1650  |  
         850  |  
         600  | 
|  
         PG 58 - Y  |  
         4300  |  
         2400  |  
         1300  |  
         800  |  
         550  | 
|  
         PG 52 - Y  |  
         4100  |  
         2100  |  
         1150  |  
         650  |  
         500  | 
|  
         Асфальтобетон для слоев покрытия АБ TP ТС на ПБВ по ГОСТ Р 52056 
        | |||||
|  
         ПБВ 40  |  
         4200  |  
         2700  |  
         1600  |  
         900  |  
         650  | 
|  
         ПБВ 60  |  
         3100  |  
         2000  |  
         1100  |  
         850  |  
         500  | 
|  
         ПБВ 90  |  
         2200  |  
         1300  |  
         800  |  
         650  |  
         480  | 
|  
         Асфальтобетон для слоев покрытия АБ TP ТС на БНД по ГОСТ 33133 
        | |||||
|  
         БНД 50/70  |  
         4500  |  
         3000  |  
         1800  |  
         1000  |  
         700  | 
|  
         БНД 70/100  |  
         3300  |  
         2250  |  
         1300  |  
         950  |  
         600  | 
|  
         БНД 100/130  |  
         2600  |  
         1500  |  
         900  |  
         750  |  
         550  | 
|  
         Асфальтобетон для слоев покрытия АБ TP ТС и SP на битумном вяжущем, классифицируемом по PG 
        | |||||
|  
         PG 82 - Y  |  
         4800  |  
         3400  |  
         2100  |  
         1200  |  
         750  | 
|  
         PG 76 - Y  |  
         4500  |  
         3100  |  
         1700  |  
         1050  |  
         700  | 
|  
         PG 70 - Y  |  
         4200  |  
         2800  |  
         1500  |  
         1000  |  
         650  | 
|  
         PG 64 - Y  |  
         3800  |  
         2500  |  
         1300  |  
         700  |  
         500  | 
|  
         PG 58 - Y  |  
         3400  |  
         2100  |  
         1000  |  
         600  |  
         450  | 
|  
         PG 52 - Y  |  
         2800  |  
         1500  |  
         900  |  
         550  |  
         400  | 
|  
         PG 46 - Y  |  
         2100  |  
         1100  |  
         750  |  
         500  |  
         350  | 
|  
         Асфальтобетон для слоя основания АБ TP ТС на БНД по ГОСТ 33133 
        | |||||
|  
         БНД 50/70  |  
         2900  |  
         1750  |  
         900  |  
         550  |  
         400  | 
|  
         БНД 70/100  |  
         2100  |  
         1250  |  
         750  |  
         450  |  
         350  | 
|  
         БНД 100/130  |  
         1600  |  
         1000  |  
         650  |  
         400  |  
         350  | 
|  
         Асфальтобетон для слоя основания АБ TP ТС на битумном вяжущем, классифицируемом по PG 
        | |||||
|  
         PG 64 - Y  |  
         2900  |  
         1750  |  
         900  |  
         550  |  
         400  | 
|  
         PG 58 - Y  |  
         2100  |  
         1250  |  
         750  |  
         450  |  
         350  | 
|  
         PG 52 - Y  |  
         1600  |  
         1000  |  
         650  |  
         400  |  
         350  | 
|  
         PG 46 - Y  |  
         1300  |  
         800  |  
         550  |  
         350  |  
         300  | 
|  
         Асфальтобетон для слоя основания SP на битумном вяжущем, классифицируемом по PG 
        | |||||
|  
         PG 64 - Y  |  
         3800  |  
         1700  |  
         1200  |  
         700  |  
         500  | 
|  
         PG 58 - Y  |  
         3400  |  
         1400  |  
         1000  |  
         600  |  
         450  | 
|  
         PG 52 - Y  |  
         2800  |  
         1300  |  
         900  |  
         550  |  
         400  | 
|  
         PG 46 - Y  |  
         2100  |  
         1100  |  
         750  |  
         500  |  
         350  | 
|  
         Материал  |  
         Расчетный модуль упругости E, МПа  |  
         m  |  
         α  |  
         Нормативное сопротивление растяжению при изгибе R0, МПа  | 
|  
         ЩМА TP ТС на ПБВ по ГОСТ Р 52056 
        | ||||
|  
         ПБВ 40  |  
         7100  |  
         6, 0  |  
         5, 0/5, 6  |  
         10, 00  | 
|  
         ПБВ 60  |  
         6200  |  
         5, 5  |  
         5, 2/5, 9  |  
         9, 80  | 
|  
         ПБВ 90  |  
         5400  |  
         5, 0  |  
         5, 4/6, 3  |  
         9, 50  | 
|  
         ЩМА TP ТС на БНД по ГОСТ 33133 
        | ||||
|  
         БНД 50/70  |  
         7600  |  
         6, 0  |  
         5, 0/5, 6  |  
         10, 00  | 
|  
         БНД 70/100  |  
         6800  |  
         5, 5  |  
         5, 2/5, 9  |  
         9, 80  | 
|  
         БНД 100/130  |  
         5900  |  
         5, 0  |  
         5, 4/6, 3  |  
         9, 50  | 
|  
         ЩМА TP ТС и SMA на битумном вяжущем, классифицируемом по PG 
        | ||||
|  
         PG 82 - Y  |  
         7800  |  
         6, 0  |  
         5, 0/5, 6  |  
         10, 40  | 
|  
         PG 76 - Y  |  
         7300  |  
         6, 0  |  
         5, 0/5, 6  |  
         10, 20  | 
|  
         PG 70 - Y  |  
         6900  |  
         6, 0  |  
         5, 0/5, 6  |  
         10, 00  | 
|  
         PG 64 - Y  |  
         6300  |  
         6, 0  |  
         5, 0/5, 6  |  
         10, 00  | 
|  
         PG 58 - Y  |  
         5800  |  
         5, 5  |  
         5, 2/5, 9  |  
         9, 80  | 
|  
         PG 52 - Y  |  
         5400  |  
         5, 0  |  
         5, 4/6, 3  |  
         9, 50  | 
|  
         Асфальтобетон для слоев покрытия АБ TP ТС на ПБВ по ГОСТ Р 52056 
        | ||||
|  
         ПБВ 40  |  
         5300  |  
         6, 0  |  
         5, 0/5, 6  |  
         10, 00  | 
|  
         ПБВ 60  |  
         4100  |  
         5, 5  |  
         5, 2/5, 9  |  
         9, 80  | 
|  
         ПБВ 90  |  
         3100  |  
         5, 0  |  
         5, 4/6, 3  |  
         9, 50  | 
|  
         Асфальтобетон для слоев покрытия АБ TP ТС на БНД по ГОСТ 33133 
        | ||||
|  
         БНД 50/70  |  
         5800  |  
         6, 0  |  
         5, 0/5, 6  |  
         10, 00  | 
|  
         БНД 70/100  |  
         4500  |  
         5, 5  |  
         5, 2/5, 9  |  
         9, 80  | 
|  
         БНД 100/130  |  
         3600  |  
         5, 0  |  
         5, 4/6, 3  |  
         9, 50  | 
|  
         Асфальтобетон для слоев покрытия АБ TP ТС и SP на битумном вяжущем, классифицируемом по PG 
        | ||||
|  
         PG 82 - Y  |  
         6300  |  
         6, 0  |  
         5, 0/5, 6  |  
         10, 40  | 
|  
         PG 76 - Y  |  
         6000  |  
         6, 0  |  
         5, 0/5, 6  |  
         10, 20  | 
|  
         PG 70 - Y  |  
         5700  |  
         6, 0  |  
         5, 0/5, 6  |  
         10, 00  | 
|  
         PG 64 - Y  |  
         5300  |  
         6, 0  |  
         5, 0/5, 6  |  
         10, 00  | 
|  
         PG 58 - Y  |  
         4900  |  
         5, 5  |  
         5, 2/5, 9  |  
         9, 80  | 
|  
         PG 52 - Y  |  
         4200  |  
         5, 0  |  
         5, 4/6, 3  |  
         9, 50  | 
|  
         PG 46 - Y  |  
         3500  |  
         4, 5  |  
         5, 8/6, 8  |  
         9, 30  | 
|  
         Асфальтобетон для слоя основания АБ TP ТС на БНД по ГОСТ 33133 
        | ||||
|  
         БНД 50/70  |  
         3800  |  
         4, 5  |  
         5, 8/6, 8  |  
         8, 30  | 
|  
         БНД 70/100  |  
         2950  |  
         4, 3  |  
         5, 9/7, 1  |  
         8, 00  | 
|  
         БНД 100/130  |  
         2150  |  
         4, 0  |  
         6, 3/7, 6  |  
         7, 80  | 
|  
         Асфальтобетон для слоя основания АБ TP ТС на битумном вяжущем, классифицируемом по PG 
        | ||||
|  
         PG 64 - Y  |  
         3800  |  
         4, 5  |  
         5, 8/6, 8  |  
         8, 30  | 
|  
         PG 58 - Y  |  
         2950  |  
         4, 3  |  
         5, 9/7, 1  |  
         8, 00  | 
|  
         PG 52 - Y  |  
         2150  |  
         4, 0  |  
         6, 3/7, 6  |  
         7, 80  | 
|  
         PG 46 - Y  |  
         1800  |  
         3, 7  |  
         6, 6/8, 2  |  
         7, 6  | 
|  
         Асфальтобетон для слоя основания SP на битумном вяжущем, классифицируемом по PG 
        | ||||
|  
         PG 64 - Y  |  
         5300  |  
         6, 0  |  
         5, 0/5, 6  |  
         10, 00  | 
|  
         PG 58 - Y  |  
         4900  |  
         5, 5  |  
         5, 2/5, 9  |  
         9, 80  | 
|  
         PG 52 - Y  |  
         4200  |  
         5, 0  |  
         5, 4/6, 3  |  
         9, 50  | 
|  
         PG 46 - Y  |  
         3500  |  
         4, 5  |  
         5, 8/6, 8  |  
         9, 30  | 
|  
         Примечание - Коэффициент α в числителе приведен для II ДКЗ, в знаменателе для III-V ДКЗ.  | ||||
|  
         Вид асфальтобетона  |  
         Значение E при статической нагрузке, МПа, при температуре, °С  | |||
|  
         20  |  
         30  |  
         40  |  
         50  | |
|  
         ЩМА и SMA c номинальным максимальным размером зерен 16 мм и более, на ПБВ по ГОСТ Р 52056 или на битумных вяжущих марок PG (82 - 70) - Y  |  
         450  |  
         400  |  
         340  |  
         280  | 
|  
         ЩМА и SMA c номинальным максимальным размером зерен менее 16 мм, на ПБВ по ГОСТ Р 52056 или на битумных вяжущих марок PG (82 - 70) - Y  |  
         390  |  
         330  |  
         290  |  
         250  | 
|  
         ЩМА и SMA c номинальным максимальным размером зерен 16 мм и более на БНД по ГОСТ 33133 или на битумных вяжущих марок (64 - 52) - Y  |  
         380  |  
         320  |  
         280  |  
         240  | 
|  
         ЩМА и SMA c номинальным максимальным размером зерен менее 16 мм на БНД по ГОСТ 33133 или на битумных вяжущих марок PG (64 - 52) -Y  |  
         320  |  
         260  |  
         230  |  
         210  | 
|  
         Асфальтобетон для слоев покрытия АБ TP ТС и SP с номинальным максимальным размером зерен 16 мм и более, на ПБВ по ГОСТ Р 52056 или на битумных вяжущих марок PG (82 - 70) - Y  |  
         570  |  
         500  |  
         430  |  
         360  | 
|  
         Асфальтобетон для слоев покрытия АБ TP ТС и SP с номинальным максимальным размером зерен менее 16 мм, на ПБВ по ГОСТ Р 52056 или на битумных вяжущих марок PG (82 - 70) - Y  |  
         490  |  
         430  |  
         370  |  
         310  | 
|  
         Асфальтобетон для слоев покрытия АБ TP ТС и SP с номинальным максимальным размером зерен 16 мм и более, на БНД по ГОСТ 33133 или на битумных вяжущих марок PG (64 - 46) - Y  |  
         480  |  
         420  |  
         360  |  
         300  | 
|  
         Асфальтобетон для слоев покрытия АБ TP ТС и SP с номинальным максимальным размером зерен менее 16 мм, на БНД по ГОСТ 33133 или на битумных вяжущих марок PG (64 - 46) - Y  |  
         400  |  
         350  |  
         300  |  
         250  | 
|  
         Асфальтобетон для слоя основания АБ TP ТС и SP с номинальным максимальным размером зерен 22, 4 мм и более, на БНД по ГОСТ 33133 или на битумных вяжущих, классифицируемых по PG  |  
         360  |  
         320  |  
         280  |  
         250  | 
|  
         Асфальтобетон для слоя основания АБ TP ТС и SP с номинальным максимальным размером зерен менее 22, 4 мм, на БНД по ГОСТ 33133 или на битумных вяжущих, классифицируемых по PG  |  
         290  |  
         250  |  
         220  |  
         200  | 
Приложение В 
  
 (справочное)
материалов конструктивных слоев для улиц населенных пунктов
|  
         Вид асфальтобетона  |  
         Значения коэффициента k2  | |
|  
         Высокоплотный  |  
         1, 00  | |
|  
         Щебеночно-мастичный  |  
         0, 95  | |
|  
         Плотный  |  
         I марки  |  
         0, 95  | 
|  
         II марки  |  
         0, 90  | |
|  
         III марки  |  
         0, 80  | |
|  
         Пористый и высокопористый  |  
         0, 80  | |
|  
         Материал  |  
         Расчетный модуль упругости E, МПа  | |
|  
         легкоуплотняемого щебня  |  
         трудноуплотняемого щебня  | |
|  
         Фракционный щебень фракции 40-80 (70) мм по ГОСТ 8267, устроенный по способу заклинки, расклинцованный:  | ||
|  
         фракционным мелким щебнем  |  
         450  |  
         350  | 
|  
         известняковой мелкой смесью или активным мелким шлаком  |  
         400  |  
         300  | 
|  
         мелким высокоактивным шлаком  |  
         450  |  
         400  | 
|  
         асфальтобетонной смесью  |  
         500  |  
         450  | 
|  
         цементно-песчаной смесью марки М75  |  
         От 450 до 700  |  
         От 350 до 600  | 
|  
         Материал  |  
         Тип и марка вяжущего  |  
         Кратковременный модуль упругости E, МПа, при температуре покрытия, °С  | |||||
|  
         10  |  
         20  |  
         30  |  
         40  |  
         50  | |||
|  
         Щебеночно-мастичный асфальтобетон  |  
         ПБВ  |  
         40  |  
         5000  |  
         3400  |  
         2000  |  
         1100  |  
         620  | 
|  
         60  |  
         4500  |  
         2600  |  
         1600  |  
         780  |  
         530  | ||
|  
         90  |  
         3800  |  
         2000  |  
         1100  |  
         670  |  
         460  | ||
|  
         БНД  |  
         40/60  |  
         5400  |  
         3600  |  
         2100  |  
         1200  |  
         700  | |
|  
         60/90  |  
         4700  |  
         2800  |  
         1700  |  
         860  |  
         600  | ||
|  
         90/130  |  
         4000  |  
         2200  |  
         1160  |  
         730  |  
         530  | ||
|  
         Плотный асфальтобетон и высокоплотный асфальтобетон  |  
         БНД  |  
         40/60  |  
         4400  |  
         2600  |  
         1550  |  
         850  |  
         520  | 
|  
         60/90  |  
         3200  |  
         1800  |  
         1100  |  
         650  |  
         460  | ||
|  
         90/130  |  
         2400  |  
         1200  |  
         850  |  
         550  |  
         420  | ||
|  
         130/200  |  
         1500  |  
         800  |  
         670  |  
         460  |  
         380  | ||
|  
         200/300  |  
         1200  |  
         600  |  
         500  |  
         420  |  
         360  | ||
|  
         Пористый и высокопористый асфальтобетон  |  
         БНД  |  
         40/60  |  
         2800  |  
         1700  |  
         900  |  
         540  |  
         390  | 
|  
         60/90  |  
         2000  |  
         1200  |  
         700  |  
         460  |  
         360  | ||
|  
         90/130  |  
         1400  |  
         800  |  
         510  |  
         380  |  
         350  | ||
|  
         130/200  |  
         1100  |  
         600  |  
         400  |  
         340  |  
         340  | ||
|  
         200/300  |  
         950  |  
         450  |  
         350  |  
         330  |  
         330  | ||
|  
         Примечания 1 Модули упругости пористого и высокопористого асфальтобетона даны применительно к песчаным смесям. При температуре от 30 °С до 50 °С модули упругости для мелкозернистых смесей следует увеличить на 10 %, а для крупнозернистых смесей - на 20 %. 2 При расчете на упругий прогиб следует принимать при t° = + 10.  | |||||||
|  
         Асфальтобетон  |  
         Расчетное значение модуля упругости E, МПа  |  
         m  |  
         α  |  
         Нормативные значения сопротивления растяжению при изгибе R0, МПа  | |
|  
         Щебеночно-мастичный асфальтобетон  |  
         БНД 40/60  |  
         7400  |  
         6, 0  |  
         5, 0/5, 6  |  
         10, 00  | 
|  
         БНД 60/90  |  
         5600  |  
         5, 5  |  
         5, 2/5, 9  |  
         9, 80  | |
|  
         БНД 90/130  |  
         4550  |  
         5, 0  |  
         5, 4/6, 3  |  
         9, 50  | |
|  
         ПБВ 40  |  
         7100  |  
         6, 0  |  
         5, 0/5, 6  |  
         10, 00  | |
|  
         ПБВ 60  |  
         5300  |  
         5, 5  |  
         5, 2/5, 9  |  
         9, 80  | |
|  
         ПБВ 90  |  
         4400  |  
         5, 0  |  
         5, 4/6, 3  |  
         9, 50  | |
|  
         Высокоплотный  |  
         БНД 40/60  |  
         8600  |  
         6, 0  |  
         5, 0/5, 6  |  
         10, 00  | 
|  
         БНД 60/90  |  
         6000  |  
         5, 5  |  
         5, 2/5, 9  |  
         9, 80  | |
|  
         БНД 90/130  |  
         4600  |  
         5, 0  |  
         5, 4/6, 3  |  
         9, 50  | |
|  
         БНД 130/200  |  
         3500  |  
         4, 5  |  
         5, 8/6, 8  |  
         9, 30  | |
|  
         БНД 200/300  |  
         2500  |  
         4, 3  |  
         5, 9/7, 1  |  
         9, 00  | |
|  
         Плотный  |  
         БНД 40/60  |  
         6000  |  
         6, 0  |  
         5, 0/5, 6  |  
         10, 00  | 
|  
         БНД 60/90  |  
         4500  |  
         5, 5  |  
         5, 2/5, 9  |  
         9, 80  | |
|  
         БНД 90/130  |  
         3600  |  
         5, 0  |  
         5, 4/6, 3  |  
         9, 50  | |
|  
         БНД 130/200  |  
         2600  |  
         4, 5  |  
         5, 8/6, 8  |  
         9, 30  | |
|  
         БНД 200/300  |  
         2000  |  
         4, 3  |  
         5, 9/7, 1  |  
         9, 00  | |
|  
         Пористый  |  
         БНД 40/60  |  
         3600  |  
         4, 5  |  
         5, 8/6, 8  |  
         8, 30  | 
|  
         БНД 60/90  |  
         2800  |  
         4, 3  |  
         5, 9/7, 1  |  
         8, 00  | |
|  
         БНД 90/130  |  
         2200  |  
         4, 0  |  
         6, 3/7, 6  |  
         7, 80  | |
|  
         БНД 130/200  |  
         1800  |  
         3, 75  |  
         6, 6/8, 2  |  
         7, 60  | |
|  
         БНД 200/300  |  
         1400  |  
         3, 7  |  
         6, 7/8, 2  |  
         7, 10  | |
|  
         Высокопористый:  |  
         БНД 40/60  |  
         3000  |  
         4, 3  |  
         5, 9/7, 1  |  
         5, 50  | 
|  
         БНД 60/90  |  
         2100  |  
         4, 0  |  
         6, 3/7, 6  |  
         5, 65  | |
|  
         БНД 90/130  |  
         1700  |  
         3, 8  |  
         6, 5/7, 9  |  
         5, 50  | |
|  
         Примечание - Коэффициент α в числителе приведен для II ДКЗ, в знаменателе - для III-V ДКЗ.  | |||||
|  
         Вид асфальтобетона  |  
         Тип смеси  |  
         Расчетный модуль упругости E при статическом действии нагрузки, МПа, при расчетной температуре, °С  | |||
|  
         20  |  
         30  |  
         40  |  
         50  | ||
|  
         ЩМА  |  
         -  |  
         380  |  
         320  |  
         280  |  
         240  | 
|  
         Плотные смеси  |  
         А  |  
         480  |  
         420  |  
         360  |  
         300  | 
|  
         Б  |  
         400  |  
         350  |  
         300  |  
         250  | |
|  
         В  |  
         320  |  
         280  |  
         240  |  
         200  | |
|  
         Г  |  
         300  |  
         270  |  
         220  |  
         200  | |
|  
         Д  |  
         200  |  
         180  |  
         160  |  
         150  | |
|  
         Пористые и высокопористые  |  
         Крупнозернистая  |  
         360  |  
         320  |  
         280  |  
         250  | 
|  
         Мелкозернистая  |  
         290  |  
         250  |  
         220  |  
         200  | |
|  
         Песчаная  |  
         250  |  
         225  |  
         200  |  
         190  | |
|  
         Примечание - Модуль упругости высокоплотного асфальтобетона следует принимать как для плотного асфальтобетона типа А.  | |||||
Приложение Г 
  
 (справочное)
Г.1 Пример 1
Требуется запроектировать дорожную одежду капитального типа для участка автомобильной дороги IБ категории на участке перегона между транспортными развязками.
Г.1.1 Исходные данные:
а) область проектирования - Курская;
б) количество полос движения - 4 в обоих направлениях;
в) дорожно-климатическая зона - III2;
г) тип местности по увлажнению - 2;
д) номер района проектирования, соответствующий количеству расчетных дней в году, - 3;
е) количество расчетных дней в году Трдг = 125;
ж) тип дорожной одежды - капитальный;
и) тип нормативной нагрузки А-11, 5:
1) статическая нагрузка на колесо P = 57, 5 кН;
2) давление на покрытие р = 0, 8 МПа;
3) диаметр отпечатка при расчете на подвижную нагрузку D = 34 см;
к) заданный уровень надежности Kн = 0, 98 (см. таблицу 10);
л) коэффициенты прочности (см. таблицу 11):
1) по допускаемому упругому прогибу 
= 1, 5;
2) по условию сдвигоустойчивости и на сопротивление при изгибе 
= 1, 1;
м) показатель изменения интенсивости движения q = 1, 03;
н) срок службы дорожной одежды Тсл = 24 года;
п) тип земляного полотна - насыпь;
р) грунт рабочего слоя земляного полотна - пылеватая супесь;
с) глубина промерзания грунта рабочего слоя - 1, 0 м;
т) расстояние от низа дорожной одежды до уровня грунтовых вод - 2, 8 м.
Состав движения на конец нормативного межремонтного срока проведения работ по капитальному ремонту (24-й год эксплуатации дороги) в обоих направлениях приведен в таблице Г.1.
Г.1.2 Расчет суммарного числа приложений расчетной нагрузки
Г.1.2.1 Расчет приведенной интенсивности движения выполнен в таблице Г.1. Коэффициенты приведения приняты в соответствии с таблицей 6 настоящего стандарта.
|  
         Схема  |  
         Наименование  |  
         Коэффициент приведения Ki  |  
         Интенсивность Ni, авт/сут  |  
         Приведенная интенсивность NiKi, авт/сут  | 
![]()  |  
         Легковые автомобили и фургоны  |  
         0, 01  |  
         10500  |  
         105  | 
![]()  |  
         Двухосные грузовые автомобили  |  
         0, 6  |  
         1205  |  
         723  | 
![]()  |  
         Трехосные грузовые автомобили  |  
         2, 49  |  
         200  |  
         498  | 
![]()  |  
         Четырехосные грузовые автомобили  |  
         3, 62  |  
         200  |  
         724  | 
![]()  |  
         Четырехосные автопоезда  |  
         1, 81  |  
         1000  |  
         1810  | 
|  
         Пятиосные автопоезда  |  
         2, 15  |  
         500  |  
         1075  | |
![]()  |  
         Трехосные седельные автопоезда  |  
         2, 39  |  
         500  |  
         1195  | 
![]()  |  
         Четырехосные седельные автопоезда  |  
         4, 13  |  
         1000  |  
         4130  | 
![]()  |  
         Пятиосные седельные автопоезда (двухосный тягач)  |  
         6, 48  |  
         200  |  
         1296  | 
![]()  |  
         Пятиосные седельные автопоезда (трехосный тягач)  |  
         4, 70  |  
         500  |  
         2350  | 
![]()  |  
         Шестиосные седельные автопоезда  |  
         7, 94  |  
         200  |  
         1588  | 
![]()  |  
         Автомобили с семью и более осями  |  
         8, 47  |  
         300  |  
         2541  | 
![]()  |  
         Автобусы  |  
         0, 75  |  
         300  |  
         225  | 
|  
         Итого ∑NiKi: 18260  | ||||
Г.1.2.2 Приведенную интенсивность движения к воздействию расчетной нагрузки Np на полосу движения на конец нормативного межремонтного срока проведения работ по капитальному ремонту Тсл рассчитывают по формуле (3) настоящего стандарта
Np=0, 45•18260=8217 авт/сут.
При четырех полосах в обоих направлениях fпол = 0, 45.
Суммарное число приложений приведенной расчетной нагрузки ∑Np рассчитывают по формуле (6) настоящего стандарта
.
Г.1.3 Выбор типа асфальтобетона АБ ТР ТС для устройства слоев покрытия и верхнего слоя основания
По методике, представленной в приложении Д, определяют:
- суммарное число приложений приведенной расчетной нагрузки ∑Np с учетом круглогодичного использования дороги (Тгоды = 365 сут).
;
- определяют коэффициент перехода к нагрузке 100 кН
;
- определяют суммарное число приложений приведенной расчетной нагрузки 100 кН за срок службы дорожной одежды
54566576•1, 75=95491508 авт.
В соответствии с нормативными документами на асфальтобетонные смеси АБ TP ТС при ∑N100 > 3 млн авт для устройства слоев покрытия и верхнего слоя основания следует выбрать смеси для дорог с тяжелыми условиями движения.
Г.1.4 Назначение конструкции дорожной одежды и ориентировочных толщин конструктивных слоев:
- ЩМА TP ТС ЩМА 16 на ПБВ 60 по ГОСТ Р 52056 - 5 см;
- АБ TP ТС А22 НТ на битумном вяжущем БНД 70/100 по ГОСТ 33133 - 9 см;
- АБ TP ТС А32 ОТ на битумном вяжущем БНД 70/100 по ГОСТ 33133 - 13 см;
- ЩПС, укрепленная цементом, М 40 - 12 см;
- щебень фракции свыше 31, 5 до 63 мм из прочных изверженных пород М 1000, уложенный по способу заклинки, - 15 см;
- песок средней крупности с содержанием пылеватых и глинистых частиц 5 % - 64 см.
Г.1.5 Назначение расчетных характеристик конструктивных слоев дорожной одежды и грунта рабочего слоя
Расчетные характеристики конструктивных слоев дорожной одежды приведены в таблице Г.2.
|  
         Материал слоя  |  
         Модуль упругости, МПа, для расчета  |  
         Расчетные характеристики при расчете усталостному разрушению от растяжения при изгибе  | ||||
|  
         по допускаемому упругому прогибу  |  
         по условию сдвигоустойчивости (при T = 20°) на подвижную нагрузку  |  
         по усталостному разрушению от растяжения при изгибе  |  
         сопротивление растяжению при изгибе R0, МПа  |  
         m  |  
         α  | |
|  
         ЩМА TP ТС на ПБВ 60 по ГОСТ Р 52056  |  
         4600  |  
         2500  |  
         6200  |  
         9, 8  |  
         5, 5  |  
         5, 2  | 
|  
         АБ TP ТС А22 НТ на битумном вяжущем БНД 70/100 по ГОСТ 33133  |  
         3300  |  
         2250  |  
         4500  |  
         9, 8  |  
         5, 5  |  
         5, 2  | 
|  
         АБ TP ТС А32 ОТ на битумном вяжущем БНД 70/100 по ГОСТ 33133  |  
         2100  |  
         1250  |  
         2950  |  
         8  |  
         4, 3  |  
         7, 1  | 
|  
         ЩПС, укрепленная цементом, М 40  |  
         600  |  
         600  |  
         600  |  
         0, 42  |  
         -  |  
         -  | 
|  
         Гранитный щебень фракции свыше 31, 5 до 63 мм М 1000, уложенный по способу заклинки  |  
         350  |  
         350  |  
         350  |  
         -  |  
         -  |  
         -  | 
|  
         Песок средней крупности  |  
         120  |  
         120  |  
         120  |  
         -  |  
         -  |  
         -  | 
Расчетные характеристики грунта - пылеватой супеси определяют в зависимости от расчетной влажности по формуле (А.1, приложение А) при значениях:
- Wтабл = 0, 70 - среднемноголетнее значение относительной влажности (в долях от границы текучести) (таблица А.2, приложение А);
- Δ = 0, 00 - поправка к Wтабл для участков дороги, проходящих в насыпи, с рабочей отметкой не менее чем руководящая отметка для данного типа грунта и типа местности;
- Δ1W = 0, 00 - поправка в равнинных районах местности;
- Δ2W = 0, 03 - поправка при устройстве на остановочной полосе обочины покрытия из асфальтобетона таблица А.3, приложение А);
- Vr = 0, 10 - коэффициент вариации;
- t = 2, 19 - коэффициент нормированного отклонения при требуемом уровне надежности Kн = 0, 98 (таблица А.4, приложение А);
- Δ3 = 0 - поправка на влияние суммарной толщины слоев дорожной одежды при Wтабл < 0, 75 (см. рисунок А.2, приложение А).
Wp=(0, 70+0, 00+0, 00-0, 03)(1+0, 1•2, 19)-0, 00=0, 817.
Модуль упругости грунта - пылеватой супеси определяют по таблице А.5 (приложение А) в зависимости от Wp = 0, 817; Егр = 30, 33 МПа.
Расчетные сдвиговые характеристики грунта определяют по таблице А.6 (приложение А), в зависимости от Wp = 0, 817 и ∑Np = 18687183 авт:
c=0, 00300 МПа; φ=11, 33°; φст=34, 00°.
Расчетные сдвиговые характеристики среднего песка определяют по таблице А.8 (приложение А) в зависимости от ∑Np = 18687183 авт:
c=0, 002 МПа; сст=0, 005 МПа; φ=26, 00°; φст=33, 00°.
Г.1.6 Результаты расчета дорожных одежд на прочность на кратковременное многократное действие подвижных нагрузок
Г.1.6.1 Расчет на прочность по допускаемому упругому прогибу
Расчет по допускаемому упругому прогибу выполняют в следующей последовательности:
- определяют минимальный требуемый модуль упругости по эмпирической формуле (10), при с = 3, 20
;
- общий модуль упругости Eобщ определяют по номограмме (см. рисунок 4), выполняя расчет снизу вверх.
Результаты расчета общего модуля упругости приведены в таблице Г.3 и на рисунке Г.1.
|  
         N слоя  |  
         Материал слоя дорожной одежды  |  
         Модуль упругости E, МПа  |  
         Толщина слоя h, см  |  
         h/D  |  
         Eобщ/Ei  |  
         Общий модуль упругости на поверхности слоев, МПа  | 
|  
         1  |  
         ЩМА TP ТС на ПБВ 60 по ГОСТ Р 52056  |  
         4600  |  
         5  |  
         0, 147  |  
         594, 00/4600 = 0, 129  | Еобщ=0,155·4600=713,00 | 
|  
         2  |  
         АБ TP ТС А22 НТ на битумном вяжущем БНД 70/100 по ГОСТ 33133  |  
         3300  |  
         9  |  
         0, 265  |  
         388, 50/3300 = 0, 117  | |
|  
         3  |  
         АБ TP ТС А32 ОТ на битумном вяжущем БНД 70/100 по ГОСТ 33133  |  
         2100  |  
         13  |  
         0, 382  |  
         207, 00/2100 = 0, 098  | |
|  
         4  |  
         ЩПС, укрепленная цементом, М 40  |  
         600  |  
         12  |  
         0, 353  |  
         140, 00/600 = 0, 233  | |
|  
         5  |  
         Гранитный щебень фракции 31, 5-63 мм М 1000, уложенный по способу заклинки  |  
         350  |  
         15  |  
         0, 441  |  
         85, 80/350 = 0, 245  | |
|  
         6  |  
         Песок средней крупности  |  
         120  |  
         64  |  
         1, 882  |  
         30, 33/120 = 0, 253  | |
|  
         -  |  
         Пылеватая супесь  |  
         30, 33  |  
         -  |  
         -  |  
         -  |  
         Eгр = 30, 33  | 

Рисунок Г.1 - Схема конструкции дорожной одежды и результаты расчета по допускаемому упругому прогибу
- определяют коэффициент прочности:
Кпр=713, 00/463, 79=1, 54.
Прочность по допускаемому упругому прогибу обеспечена.
Г.1.6.2 Расчет по условию сдвигоустойчивости в подстилающем грунте
Расчетная схема конструкции приведена на рисунке Г.2.

Рисунок Г.2 - Схема конструкции дорожной одежды для расчета по условию сдвигоустойчивости на подвижную нагрузку в грунте
Расчет выполняют в следующей последовательности:
- определяют средневзвешенный модуль упругости по формуле (16) настоящего стандарта
;
- по отношениям Eср/Егр = 585, 85/30, 33 
= 19, 31; = 118/34 = 3, 47 и φ = 11, 33° с использованием номограммы (см. рисунок 5) находят активное удельное напряжение сдвига от единичной нагрузки (р = 1 МПа) τ̅Н = 0, 0050 МПа.
Активное напряжение сдвига определяют по формуле (14) при р = 0, 8 МПа
Т=τ̅Нp=0, 0050•0, 8=0, 00400 МПа;
- предельное напряжение сдвига Тпр определяют по формуле (13) при kд = 1
Тпр=kд(cN+0, 1γcpZtgφст)=1, 0(0, 0030+0, 1•0, 002•118•tg34)=0, 01892 МПа;
- определяют коэффициент прочности
Кпр=Тпр/Т=0, 01892/0, 00400=4, 73.
Прочность по сдвигу в грунте обеспечена.
Г.1.6.3 Расчет по условию сдвигоустойчивости в песчаном основании
Расчет выполняют в следующей последовательности:
- определяют средневзвешенный модуль упругости без учета слоя песка по формуле (16) настоящего стандарта
;
- по отношениям при Eср/
 = 1137, 96/85, 80 = 13, 26, 
= 54/34 = 1, 59 и φ = 26° с использованием номограммы (см. рисунок 6) находят активное удельное напряжение сдвига от единичной нагрузки τ̅Н = 0, 01259 МПа.
Активное напряжение сдвига определяют по формуле (14) при р = 0, 8 МПа
Т=τ̅Нp=0, 01259•0, 8=0, 01007 МПа;
- предельное напряжение сдвига определяют по формуле (13):
Тпр=kд(cN+0, 1γcpZtgφст)=(0, 0020+0, 1•0, 002•54•tg33)=0, 01803 МПа;
- определяют коэффициент прочности
Кпр=Тпр/Т=0, 01803/0, 01007=1, 79.
Прочность по сдвигу в песке обеспечена.
Г.1.6.4 Расчет монолитного слоя основания (асфальтобетона) по усталостному разрушению от растяжения при изгибе
Расчетная схема конструкции дорожной одежды приведена на рисунке Г.3.

Рисунок Г.3 - Схема конструкции дорожной одежды для расчета слоев асфальтобетона по усталостному разрушению от растяжения при изгибе
Расчет выполняют в следующей последовательности:
- определяют средневзвешенный модуль упругости по формуле (16) настоящего стандарта
;
- по отношениям Eср/
 = 4068, 52/207, 00 = 19, 65 и 
= 27/34 = 0, 79 с использованием номограммы (см. рисунок 9) находят напряжения от единичной нагрузки σ̅r = 0, 925 МПа.
Наибольшие растягивающие напряжения определяют по формуле (20) при р = 0, 8 МПа
σr=σ̅rpkв=0, 94•0, 8•0, 85=0, 639 МПа;
- предельное напряжение на растяжение при изгибе с учетом усталостных явлений RN в нижнем слое асфальтобетона определяют по формуле (18) при коэффициенте k1, определяемом при параметрах:α = 7, 1, m = 4, 3 (таблица Б.5, приложение Б) по формуле (19) настоящего стандарта
.
RN=R0k1k2(1-VRt)=8•0, 145•0, 80•(1-0, 1•2, 19)=0, 725 МПа;
- определяют коэффициент прочности
Кпр=RN/σr=0, 725/0, 639=1, 13.
Прочность по усталостному разрушению от растяжения при изгибе обеспечена.
Г.1.6.5 Расчет монолитного слоя основания (укрепленного) по усталостному разрушению от растяжения при изгибе
Расчетные модули упругости слоев из материалов, содержащих органическое вяжущее, принимают при температуре 20 °С, соответствующей расчету дорожной одежды по критерию сдвигоустойчивости.
Расчет выполняют для слоя в следующей последовательности:
- определяют средневзвешенный модуль упругости слоев из асфальтобетона при температуре 20 °С по формуле (16) настоящего стандарта
;
- по номограмме (см. рисунок 10) по отношениям Еср/Е4 = 1814, 81/600 = 3, 02 (цифра на кривой), E4/
 = 600/140, 00 = 4, 29 (цифра на луче) и 
= 39/34 = 1, 15 (абсцисса) вычисляют растягивающее напряжение при изгибе от единичной нагрузки σ̅r = 0, 22 МПа.
Откуда
σr=σ̅rp=0, 22•0, 8=0, 176 МПа;
- рассчитывают предельное напряжение на растяжение при изгибе с учетом усталостных явлений материалов по формуле (22) настоящего стандарта
Rпр=RукрКу=0, 42•0, 83=0, 348 МПа,
где Rукр = 0, 42 МПа - предельное напряжение на растяжение при изгибе (таблица Б.1, приложение Б);
Ку - коэффициент усталости, учитывающий снижение прочности материалов, укрепленных неорганическими и комплексными вяжущими, при многократном приложении нагрузки, определяемый по формуле (23) настоящего стандарта
;
- определяют коэффициент прочности
Кпр=Rпр/σr=0, 348/0, 176=1, 97.
Прочность по усталостному разрушению от разрушения при изгибе в монолитном слое основания обеспечена.
Вывод: конструкция дорожной одежды удовлетворяет всем критериям прочности.
Г.1.7 Расчет дорожной одежды на морозоустойчивость
Требуемую по критерию морозоустойчивости толщину дорожной одежды определяют по номограмме (см. рисунок 12) в зависимости от группы грунта по степени пучинистости (таблица 16), глубины промерзания Zпр и Iпуч. ср - величины морозного пучения при осредненных условиях, определяемой по формуле (25) настоящего стандарта
Iпуч. ср=Iдоп/КугвКплКгрКнагрКвл,
где Кугв = 0, 56 при Нугв = 2, 8 м (считая от низа дорожной одежды) - коэффициент, учитывающий влияние расчетной глубины залегания уровня грунтовых вод (см. рисунок 12);
Кпл = 1, 0 при Купл = 0, 98 - коэффициент, зависящий от степени уплотнения грунта рабочего слоя (таблица 19) настоящего стандарта;
Кгр = 1, 10 - коэффициент, учитывающий влияние гранулометрического состава грунта основания насыпи, принимаемый для супеси пылеватой;
Кнагр = 1, 05 при глубине промерзания дорожной конструкции zпр = 1, 38; zгр=1, 38•100=138 см - коэффициент, учитывающий влияние нагрузки от собственного веса вышележащей конструкции на грунт в промерзающем слое (см. рисунок 13);
Квл = 1, 22 - коэффициент, зависящий от расчетной влажности грунта (таблица 20).
Iпуч. ср=4, 0/0, 56•1, 0•1, 1•1, 05•1, 22=5, 06 см.
По номограмме (см. рисунок 11) определяют для грунта - супеси пылеватой IV группы по степени пучинистости при Iпуч. ср = 5, 06 см и Zпр = 138 см требуемую толщину дорожной одежды hд.о. треб = 79, 9 см.
Фактическая толщина дорожной одежды hд.о = 118 см.
Вывод: морозоустойчивость дорожной одежды обеспечена.
Г.1.8 Расчет дренирующего слоя
Г.1.8.1 Исходные данные:
- ширина разделительной полосы а = 5, 0 м;
- ширина проезжей части в одном направлении b = 7, 5 м;
- ширина обочины с = 3, 75 м;
- поперечный уклон низа дренирующего слоя i = 30 ‰;
- коэффициент заложения откосов земляного полотна;
- коэффициент фильтрации песка Kф = 5 м/сут;
- коэффициент пористости песка n = 0, 36;
- продольный уклон i = 20 ‰.
Принимают конструктивное решение - устройство песчаного слоя на всю ширину земляного полотна (см. рисунок 15а).
Г.1.8.2 Расчет дренирующего слоя по способу осушения
Г.1.8.2.1 Определяют расчетную величину притока воды qp в дренирующий слой на 1 м2 по формуле (29) при значениях q = 3, 0 л/м2 (таблица 21), Kпик = 1, 5 (таблица 22), Kг = 1, 1 (таблица 22), Kвог = 1, 0, Kp = 1, 0 (таблица 23).
Г.1.8.2.2 Определяют длину пути фильтрации L на уровне половины толщины песчаного слоя при двухскатном поперечном профиле и заложении откосов 1:1, 5 по следующей формуле:
L=a/2+b+c+d,
где а - ширина разделительной полосы, м;
b - ширина проезжей части в одном направлении, м;
с - ширина обочины, м;
d - длина дренирующего слоя, расположенная в откосной части земляного полотна, равная сумме толщин дорожной одежды до уровня середины дренируемого слоя, умноженной на заложение откосов:
d=0, 86•1, 5=1, 29 м;
L=2, 5+7, 5+3, 75+1, 29=15, 04 м.
Г.1.8.2.3 По номограмме (см. рисунок 19) определяют hнас - толщину слоя, полностью насыщенного водой при значении погонного удельного притока воды в дорожную конструкцию
q'=qpb=0, 00495•7, 5=0, 0371 м3/п.м.
При поперечном уклоне корыта 30 ‰ и абсциссе q'/Kф = 0, 0371/5 = 0, 0074 ордината номограммы (см. рисунок 19) 3, 5 hнac/L = 0, 09 м.
Вычисляют значение hнас
hнас=0, 09•15, 04/3, 5=0, 39 м.
Г.1.8.2.4 Вычисляют полную толщину дренируемого слоя (формула 31)
hn=hнас+hзап=0, 39+0, 15=0, 53 м.
Г.1.8.3 Расчет дренирующего слоя по способу поглощения
Полную толщину дренирующего слоя, работающего по принципу поглощения, рассчитывают при расчетном притоке воды в дренирующий слой за весь расчетный период Q = 40 л/м2 по формуле (35) настоящего стандарта
.
Окончательно принимают толщину дренируемого слоя, равную 64 см.
Вывод: принятая конструкция дорожной одежды удовлетворяет всем критериям прочности, морозоустойчивости и осушения.
Г.2 Пример 2
Требуется запроектировать дорожную одежду для участков торможения (остановок, пересечений с дорогами V категории на одном уровне и съездов транспортных развязок) на автомобильной дороге категории IБ по данным примера 1.
Г.2.1 Исходные данные
Исходные данные - по примеру 1.
Расчет на кратковременное многократное действие подвижных нагрузок аналогичен примеру 1.
Дополнительно, согласно 10.1.6, дорожную одежду на остановках и остановочных полосах, расположенных на обочинах, перекрестках, на съездах транспортных развязок и подходах к пересечениям с железнодорожными путями, проверяют на однократное нагружение длительностью не менее 10 мин (статическую нагрузку).
Расчет выполняют на нормативную нагрузку А-11, 5. Параметры расчетной нагрузки при однократном нагружении (см. таблицу 3):
Статическая нагрузка на колесо P = 57, 5 кН, давление на покрытие р = 0, 8 МПа, диаметр при статическом приложении нагрузки Dст = 30 см.
Расчетные характеристики грунта при ∑N = 1 и Wp = 0, 817:
Е=30, 33 МПа, сст=0, 00967 МПа, φст=34, 00°.
Расчетные характеристики песка при ∑N = 1:
Е=120 МПа, сст=0, 05 МПа, φст=33, 00°.
Г.2.2 Принятая конструкция дорожной одежды:
- ЩМА TP ТС ЩМА 16 на ПБВ 60 по ГОСТ Р 52056 - 5 см;
- АБ TP ТС А22 НТ на битумном вяжущем БНД 70/100 по ГОСТ 33133 - 9 см;
- АБ TP ТС А32 ОТ на битумном вяжущем БНД 70/100 по ГОСТ 33133 - 13 см;
- ЩПС, укрепленная цементом, М 40 - 12 см;
- щебень фракции свыше 31, 5 до 63 мм из прочных изверженных пород М 1000, уложенный по способу заклинки, - 15 см;
- песок средней крупности с содержанием пылеватых и глинистых частиц 5 % - 64 см.
Г.2.3 Расчет конструкции дорожной одежды по условию сдвигоустойчивости на статическую нагрузку в грунте
Модули упругости материалов, содержащих органическое вяжущее, при статическом действии нагрузки во II ДКЗ принимают при температуре 20 °С по таблице Б.6 (рисунок Г.4)

Рисунок Г.4 - Схема конструкции дорожной одежды при расчете по условию сдвигоустойчивости на статическую нагрузку в грунт
Расчет выполняют в следующей последовательности:
- определяют средневзвешенный модуль упругости по формуле (16) настоящего стандарта
;
- по отношениям Еср/Егр = 265, 93/30, 33 = 8, 77, 
= 118/30 = 3, 93 и φст = 34° по номограмме (рисунок 5) определяют активное удельное напряжение сдвига от единичной нагрузки τ̅Н = 0, 0030 МПа.
Определяют активное напряжение сдвига по формуле (14) настоящего стандарта
Т=τ̅Нp=0, 0030•0, 8=0, 0024 МПа;
- предельное напряжение сдвига определяют по формуле (13) при kд = 1, сст = 0, 00996 МПа, Z = 
= 118 см, γср = 0, 002 кг/см3, φст = 34°:
Тпр=kд(cст+0, 1γcpZtgφст)=1, 0•(0, 00966+0, 1•0, 002•118•tg34°)=0, 0256 МПа;
- определяют коэффициент прочности:
Кпр=Тпр/Т=0, 0256/0, 0024=10, 6.
Поскольку полученный коэффициент прочности больше 
= 1, 00, условие прочности по сдвигу на статическую нагрузку в грунте выполняется.
Г.2.4 Расчет конструкции дорожной одежды по условию сдвигоустойчивости на статическую нагрузку в песчаном основании
Расчет выполняют в следующей последовательности:
- определяют средний модуль упругости на поверхности песка:
Еср=(450•5+480•9+360•13+600•12+350•15)/(5+9+13+12+15)=438, 9 МПа;
- по отношениям Еср/
 = 438, 9/87, 09 = 5, 03, 
= 54/30 = 1, 80 и φ = 33°;
с использованием номограммы (см. рисунок 6) определяют активное удельное напряжение сдвига от единичной нагрузки τ̅Н = 0, 0138 МПа.
Определяют активное напряжение сдвига по формуле (14):
Т=0, 0138•0, 8=0, 01104 МПа;
- предельное напряжение сдвига определяют по формуле (13) при kд = 2, сст = 0, 005 МПа, Z = 
= 54 см, γср = 0, 002 кг/см3, φст = 33°:
Тпр=kд(cст+0, 1γcpZtgφст)=2, 0•(0, 005+0, 1•0, 002•54•tg33)=0, 02403 МПа;
- определяют коэффициент прочности:
Кпр=Тпр/Т=0, 02403/0, 01104=2, 17.
Поскольку полученный коэффициент прочности больше 
= 1, 00, условие прочности по сдвигу на статическую нагрузку в песке выполняется.
Вывод: конструкция дорожной одежды на участках торможения дополнительно удовлетворяет критериям прочности по условию сдвигоустойчивости в грунте и песчаном основании при статической нагрузке.
Приложение Д 
  
 (справочное)
Для определения типа/вида асфальтобетонной смеси АБ TP ТС или асфальтобетонной смеси SP необходимо суммарное число приложений приведенной расчетной нагрузки ∑Np привести к расчетной нагрузке, приведенной в нормативных документах, содержащих технические требования к асфальтобетонным смесям.
Д.1 Вычисляют суммарное число приложений приведенной расчетной нагрузки ∑Np с учетом круглогодичного пользования по формуле
,
(Д.1)
где Np - приведенная интенсивность движения к воздействию расчетной нагрузки, приходящаяся на одну полосу движения, на конец нормативного межремонтного срока проведения работ по капитальному ремонту Tсл;
q - показатель изменения интенсивности движения (знаменатель геометрической прогрессии);
Тсл - нормативный межремонтный срок проведения работ по капитальному ремонту;
Трдг - расчетное число дней в году, принимаемое равным 365;
kn - коэффициент, учитывающий вероятность отклонения суммарного движения от среднего ожидаемого (см. таблицу 9).
Д.2 Определяют коэффициент перехода к расчетной нагрузке 80 кН или 100 кН по формуле
,
(Д.2)
где Pi - расчетная нагрузка для капитального типа дорожной одежды, равная 115 кН;
Ррасч - расчетная нагрузка, зависящая от типа/вида асфальтобетона (80 кН для асфальтобетонов SP или 100 кН - для АБ TP ТС).
Д.3 Определяют суммарное число приложений приведенной расчетной нагрузки 80 кН или 100 кН за срок службы дорожной одежды по формуле
∑N80(100)=∑NpK.
(Д.3)
Д.4 Пример 1. Определяют вид асфальтобетонной смеси SP для дорожной одежды капитального типа на автомобильной дороге I категории с приведенной суточной интенсивностью, равной 1500 авт/сут.
Д.4.1 Определют суммарное число приложений приведенной расчетной нагрузки ∑Np с учетом круглогодичного пользования дороги под движение.
За расчетный срок службы смесей SP принимают 20 лет.
.
Д.4.2 Определяют коэффициент перехода к нагрузке 80 кН
.
Д.4.3 Определяют суммарное число приложений приведенной расчетной нагрузки 80 кН за срок службы дорожной одежды. Для смесей SP за расчетный срок службы принимают 20 лет.
∑N80=8746869•4, 27=37349130 авт.
Следовательно, на данной дороге необходимо уложить смесь SP с количеством приложений ЭООН более 30 млн.
Д.5 Пример 2. Определяют тип асфальтобетонной смеси АБ TP ТС для дорожных одежд капитального типа на автомобильной дороге I категории с приведенной суточной интенсивностью, равной 1500 авт/сут.
Д.5.1 Определяют суммарное число приложений приведенной расчетной нагрузки ∑Np с учетом круглогодичного пользования. За расчетный срок службы принимают 24 года.
.
Д.5.2 Определяют коэффициент перехода к нагрузке 100 кН
.
Д.5.3 Определяют суммарное число приложений приведенной расчетной нагрузки 100 кН за срок службы дорожной одежды. За расчетный срок службы принимают 24 года.
∑N100=9969047•1, 75=17445832 авт.
Следовательно, на данной дороге необходимо уложить смесь для дорог с тяжелыми условиями движения в соответствии с нормативными документами, регламентирующими требования к смесям АБ TP ТС.
Библиография
|  
         [1]  |  
         Технический регламент Таможенного союза TP ТС 014/2011  |  
         Безопасность автомобильных дорог  | 

























