электронный сборник нормативных документов по строительству
Обновления
04.03.2026 17:51
электронный сборник нормативных документов по строительству

ОДМ 218.9.1.001-2025 ОГРАЖДЕНИЯ ДОРОЖНЫЕ. РЕКОМЕНДАЦИИ ПО ПРАВИЛАМ ПРИМЕНЕНИЯ

Издан на основании Распоряжения Федерального дорожного агентства от 23 сентября 2025 г. N 1651-р

Отраслевой дорожный методический документ ОДМ-218.9.1.001-2025

"ОГРАЖДЕНИЯ ДОРОЖНЫЕ. РЕКОМЕНДАЦИИ ПО ПРАВИЛАМ ПРИМЕНЕНИЯ"

ОКС 93.080.00

Предисловие

1 РАЗРАБОТАН Обществом с ограниченной ответственностью "Малое инновационное предприятие "НИИ Механики и проблем качества" (ООО "МиПК").

Коллектив авторов: д-р техн. наук. И.В. Демьянушко, канд. техн. наук Б.Т. Тавшавадзе, канд. техн. наук С.С. Петросян, зав. лабораторией ИЛЭОД А.А. Мухаметова.

ВНЕСЕН Управлением научно-технических исследований и информационных технологий Федерального дорожного агентства.

2 ИЗДАН на основании распоряжения Федерального дорожного агентства от "23" сентября 2025 г. N 1652-р.

3 ИМЕЕТ РЕКОМЕНДАТЕЛЬНЫЙ ХАРАКТЕР.

4 ВВЕДЕН ВПЕРВЫЕ.

1 Область применения

Настоящий отраслевой дорожный методический документ (далее - ОДМ) устанавливает рекомендации по правилам применения дорожных ограждений на автомобильных дорогах общего пользования и на дорогах и улицах городских и сельских поселений.

Рекомендации настоящего ОДМ не распространяются на временные дорожные ограждения, применяемые в местах производства дорожных работ.

2 Нормативные ссылки

В настоящем отраслевом дорожном методическом документе использованы нормативные ссылки на следующие документы:

ГОСТ 32846 Дороги автомобильные общего пользования. Элементы обустройства. Классификация

ГОСТ 32866 Дороги автомобильные общего пользования. Световозвращатели дорожные. Технические требования

ГОСТ 32944 Дороги автомобильные общего пользования. Пешеходные переходы. Классификация. Общие требования

ГОСТ 33127 Дороги автомобильные общего пользования. Ограждения дорожные. Классификация

ГОСТ 33128 Дороги автомобильные общего пользования. Ограждения дорожные. Технические требования

ГОСТ 33129 Дороги автомобильные общего пользования. Ограждения дорожные. Методы контроля

ГОСТ Р 52289 Технические средства организации дорожного движения. Правила применения дорожных знаков, разметки, светофоров, дорожных ограждений и направляющих устройств

ГОСТ Р 52399 Дороги автомобильные общего пользования. Геометрические элементы. Технические требования

ГОСТ Р 58350 Дороги автомобильные общего пользования. Технические средства организации дорожного движения в местах производства работ. Технические требования. Правила применения

ГОСТ Р 58351 Дороги автомобильные общего пользования. Ограждения дорожные фронтальные, удерживающие боковые комбинированные и удерживающие пешеходные. Общие технические требования. Методы испытаний и контроля. Правила применения

ГОСТ Р 58947 Дороги автомобильные общего пользования. Экодуки. Требования к размещению и обустройству

ГОСТ Р 59201 Дороги автомобильные общего пользования. Капитальный ремонт, ремонт и содержание. Технические правила

ГОСТ Р 59291 Дороги автомобильные общего пользования. Ограждения мобильные фронтальные. Общие технические условия

ГОСТ Р 59401 Дороги автомобильные общего пользования. Ограничивающие пешеходные и защитные ограждения. Общие технические условия

ГОСТ Р 59432 Дороги автомобильные общего пользования. Доступность для инвалидов и других маломобильных групп населения. Общие требования

ГОСТ Р 59602 Тактильно-визуальные средства информирования и навигации для инвалидов по зрению. Технические требования

ГОСТ Р 59611 Дороги автомобильные общего пользования. Система водоотвода. Требования к проектированию

ГОСТ Р 70124 Дороги автомобильные общего пользования. Организация и безопасность дорожного движения на автомагистралях и скоростных автомобильных дорогах. Общие требования

ГОСТ Р 70716 Дороги автомобильные и улицы. Безопасность движения пешеходов. Общие требования

СП 34.13330.2021 Автомобильные дороги

Примечание - При пользовании настоящим отраслевым дорожным методическим документом целесообразно проверить действие ссылочных стандартов (сводов правил и/или классификаторов) в информационной системе общего пользования на официальном сайте национального органа Российской Федерации по стандартизации в сети Интернет или по ежегодно издаваемому информационному указателю "Национальные стандарты", который публикуется по состоянию на 1 января текущего года, и по выпускам ежемесячно издаваемого информационного указателя "Национальные стандарты" за текущий год. Если заменен ссылочный стандарт (документ), на который дана недатированная ссылка, то рекомендуется использовать действующую версию этого стандарта (документа) с учетом всех внесенных в данную версию изменений. Если заменен ссылочный стандарт (документ), на который дана датированная ссылка, то рекомендуется использовать версию этого стандарта (документа) с указанным выше годом утверждения (принятия). Если после утверждения настоящего стандарта в ссылочный стандарт (документ), на который дана датированная ссылка, внесено изменение, затрагивающее положение, на которое дана ссылка, то это положение рекомендуется применять без учета данного изменения. Если ссылочный стандарт (документ) отменен без замены, то положение, в котором дана ссылка на него, рекомендуется применять в части, не затрагивающей эту ссылку.

3 Термины и определения

В настоящем отраслевом дорожном методическом документе применяются термины по ГОСТ 33127 и ГОСТ 33128, а также следующие термины с соответствующими определениями:

3.1 коридор безопасности: Полоса вдоль автомобильной дороги, на которой не должно быть массивных препятствий, представляющих опасность для участников дорожного движения.

3.2 необходимая длина устанавливаемого бокового ограждения: Минимальная допустимая длина рабочего участка бокового ограждения, при которой обеспечиваются заявленные потребительские характеристики ограждения.

3.3 потребительские характеристики бокового ограждения: Значения динамического прогиба, рабочей ширины и уровень пассивной безопасности при заданном уровне удерживающей способности.

3.4 проектная линия бокового ограждения: Проектное расположение лицевой поверхности бокового ограждения в плане автомобильной дороги.

3.5 терминал: Дорожное ограждение, соединенное с началом/концом рабочего участка бокового ограждения и предназначенное для удержания и гашения энергии движущегося легкового автомобиля при ударах сбоку и в торец ограждения, а также перенаправления его движения.

3.6 уровень пассивной безопасности: Показатель ограждения, характеризующийся диапазоном значений индекса тяжести травмирования.

4 Общие положения

4.1 В соответствии с ГОСТ 33127 дорожные ограждения по функциональному назначению подразделяются на классы:

- боковые;

- терминалы;

- фронтальные;

- мобильные фронтальные;

- пешеходные;

- защитные для животных.

4.2 Применяемые дорожные ограждения должны соответствовать ГОСТ 33128, ГОСТ Р 58351, ГОСТ Р 59291 и ГОСТ Р 59401 и [1].

4.3 При применении бокового ограждения в сочетании с другими классами ограждений, например пешеходными, или элементами дорожного обустройства по ГОСТ 32846, например с акустическим экраном, получаемая система должна быть испытана как боковое ограждение комбинированного или иного типа в соответствии с требованиями ГОСТ 33128.

4.4 Проектирование дорожного ограждения проводят в соответствии с требованиями ГОСТ Р 52289, ГОСТ Р 59432, ГОСТ Р 59611, ГОСТ Р 70124 и [1] с учетом положений рассматриваемого ОДМ, а также [2].

4.5 Дорожные боковые ограждения предназначены для предотвращения съезда автомобиля с земляного полотна дороги и мостового сооружения (моста, путепровода, эстакады и т.п.), переезда через разделительную полосу, столкновения со встречным транспортным средством, наезда на массивные препятствия и сооружения, расположенные на разделительной полосе, обочине, тротуаре, газоне, отделяющим проезжую часть от тротуара, и в полосе отвода дороги.

Рекомендации по проектированию боковых ограждений в соответствии с разделом 5.

4.6 Фронтальные ограждения устанавливаются в местах разделения транспортных потоков перед боковыми ограждениями или в составе бокового ограждения в виде начального участка.

Фронтальные ограждения предназначены для удержания, гашения энергии движущегося транспортного средства (ТС) при ударе как сбоку, так и в торец ограждения, а также перенаправления его движения. Данная функция обеспечивается независимо от бокового ограждения. Рекомендации по проектированию фронтальных ограждений приведены в 5.6.

4.7 Терминалы применяются в качестве начального участка бокового ограждения и предназначены для удержания и гашения энергии движущегося транспортного средства при ударах сбоку и в торец ограждения, а также перенаправления его движения. Обеспечение данной функции достигается только при креплении терминала к боковому ограждению.

4.8 Проектирование терминала рекомендуется осуществлять в соответствии с 5.6.

4.9 Дорожные ограждения для пешеходов в зависимости от функционального назначения подразделяются на удерживающие и ограничивающие.

Дорожные удерживающие пешеходные ограждения предназначены для удержания пешеходов от падения при их движении по тротуарам, расположенным на мостовых сооружениях или высоких насыпях.

Дорожные ограничивающие пешеходные ограждения предназначены для упорядочения движения пешеходов.

Проектирование пешеходных ограждений рекомендуется осуществлять в соответствии с рекомендациями раздела 6.

4.10 Защитные ограждения предназначены для предотвращения выхода животных на проезжую часть автомобильной дороги, направления их в сторону надземных/подземных искусственных сооружений для перехода дороги или обустроенных специальных участков для наземного пересечения дороги.

Проектирование защитных ограждений рекомендуется осуществлять в соответствии с рекомендациями раздела 7.

4.11 Мобильные фронтальные ограждения применяются в соответствии с ГОСТ Р 58350.

5 Проектирование боковых и фронтальных ограждений

5.1 Алгоритм проектирования

5.1.1 Проектирование установки дорожного ограждения на автомобильной дороге состоит из двух этапов: подготовительного и основного.

5.1.2 Подготовительный этап включает в себя следующие виды работ:

- сбор сведений об автомобильной дороге по 5.2;

- определение необходимой группы для бокового ограждения по 5.2;

- определение необходимых потребительских характеристик для бокового ограждения по 5.3;

5.1.3 Основной этап включает в себя следующие виды работ:

- определение необходимой длины бокового ограждения по 5.4;

- определение необходимого типа бокового ограждения по 5.5;

- выбор начального/концевого участков по 5.6;

- проектирование переходных участков при их наличии по 5.7;

- разработка проекта установки ограждения.

5.2 Сбор сведений об автомобильной дороге

5.2.1 При проектировании ограждения учитывают технические характеристики автомобильной дороги: план, продольный и поперечный профили, а также:

- категорию автомобильной дороги;

- допустимую скорость движения;

- наличие прикромочных (продольных) водоотводных лотков, а также места сброса воды из прикромочных (продольных) лотков в откосные телескопические (поперечные);

- наличие массивных препятствий;

- сведения об аварийности, степени тяжести и местах расположения аварийных участков с видами дорожно-транспортных происшествий (ДТП).

5.2.2 На плане автомобильной дороги выделяют участки и их протяженность для установки дорожных ограждений в соответствии с требованиями ГОСТ Р 52289 и ГОСТ Р 59611.

Для каждого участка необходимо определить группу применяемого дорожного ограждения по ГОСТ 33127 (дорожная или мостовая).

В местах, где установка дорожного ограждения обуславливается наличием массивного препятствия, необходимо определить его габаритные размеры и расположение относительно дороги.

Массивными препятствием считаются объекты, расположенные вдоль автомобильной дороги в пределах коридора безопасности шириной 4,0 м.

5.3 Определение требуемых потребительских характеристик бокового ограждения

5.3.1 В соответствии с ГОСТ Р 52289 необходимо определить требуемый уровень удерживающей способности для каждого участка по 5.2.2.

5.3.2 Требуемая высота ограждения и расположение лицевой поверхности бокового ограждения в поперечном сечении автомобильной дороги определяются по ГОСТ Р 52289, с учетом требований по обеспечению необходимой зоны видимости для остановки в соответствии с ГОСТ Р 52399.

5.3.3 В соответствии с ГОСТ Р 52289 для каждого участка определяются максимальные допустимые значения параметров ограждения - динамического прогиба и рабочей ширины ограждения.

5.4 Определение минимально допустимой длины бокового ограждения

5.4.1 Минимально допустимая длина рабочего участка бокового ограждения на прямолинейных участках дорог с односторонним движением определяется в следующей последовательности (Рисунок 1 а):

- в соответствии с 5.3.2 на необходимом расстоянии от края проезжей части на план наносится проектная линия ограждения;

- определяется положение наиболее отдаленной точки препятствия от автомобильной дороги, на которую возможен наезд (точка П1);

- определяется расстояние W от края проезжей части до точки П1;

- по таблице 2 определяется расстояние Lвд;

- если отношение W к Lвд меньше или равно 0,125, то в дальнейших расчетах значение Lвд принимается по таблице 2. Если отношение W к Lвд более 0,125, то значение Lвд определяется по формуле

Lвд = 8(W - WБО), (1)

- от точки П1 на расстоянии Lвд проводится перпендикуляр к краю проезжей части и определяется положение точки A;

- соединяют точки A и П1 и получают отрезок AП1;

- точка пересечения отрезка AП1 с проектной линией ограждения является точкой начала рабочего участка ограждения (точка B).

image001.jpg

а

image002.jpg

б

Lвд - расстояние до препятствия по ходу движения, определяемое по таблице 2; Lну - длина начального участка; Lру - длина рабочего участка ограждения; Lку – длина концевого участка ограждения Lп - длина препятствия; Lдп - длина рабочего участка бокового ограждения до препятствия; Lпп - длина рабочего участка бокового ограждения после препятствия; Lвп - расстояние от крайней точки препятствия до конца рабочего участка бокового ограждения; WБО - расстояние от края проезжей части до лицевой поверхности ограждения; Wв - расстояние от края препятствия до ближайшей полосы встречного движения

Рисунок 1 - Схема определения минимально допустимой длины бокового ограждения на прямолинейных участках автомобильных дорог с односторонним движением (а) и двусторонним движением (б)

Таблица 1 - Рекомендуемые расстояния до препятствия по ходу движения (Lвд), м

Разрешенная скорость движения, км/ч

Расстояние Lвд, м, в зависимости от интенсивности движения транспортного потока, приведенных авт./сут

от 0 до 2000 включ.

от 2001 до 6000 включ.

от 6001 до 14000 включ.

более 14000

50 и менее

10

20

30

35

60

30

35

40

50

70

40

40

50

60

80

45

50

55

70

90

55

55

65

80

100

60

65

75

90

110

75

90

100

110

130

85

100

110

130

5.4.2 Минимально допустимая длина рабочего участка бокового ограждения на прямолинейных участках дорог с двусторонним движением определяется в следующей последовательности (Рисунок 1 б):

- в соответствии с п. 5.3.2 на необходимом расстоянии от края проезжей части на план автомобильной дороги наносится проектная линия ограждения;

- положение точки B определяется по 5.4.1;

- определяется положение наиболее отдаленной точки препятствия от автомобильной дороги, на которое может быть осуществлен наезд (точка П2);

- определяется расстояние Wв от оси проезжей части до точки П2 (Рисунок 2 б);

- длина Lвп приравнивается к значению Lвд, определяемой по таблице 2;

- если отношение Wв к Lвп менее или равно 0,125, то в дальнейших расчетах значение Lвп принимается как значение Lвп по таблице 2. Если отношение Wв к Lвп более 0,125, то значение Lвп определяется по формуле

Lвп = 8(Wв - WБО), (2)

- от точки П2 на расстоянии Lвп проводится перпендикуляр к краю проезжей части и определяется положение точки D;

- соединяют точки D и П2 и получают отрезок DП2;

- точка пересечения отрезка DП2 с проектной линией ограждения является точкой конца рабочего участка ограждения (точка C).

image003.jpg

а

image004.jpg

б

а - касательная к точке A пересекает отрезок ПО; б - касательная к точке A не пересекает отрезок ПО; Lвд - расстояние до препятствия по ходу движения, определяемое по таблице 2; 1 - направление движения; 2 - проектная линия бокового ограждения; 3 - касательная линия к точке A кромки проезжей части; 4 - рабочий участок бокового ограждения; 5 - начальный участок бокового ограждения; 6 – концевой участок бокового ограждения; ВС - протяженность рабочего участка; α - угол между касательной линией и отрезком АП

Рисунок 2 - Схема определения минимально допустимой длины бокового ограждения на кривых в плане для автомобильных дорог с односторонним движением

5.4.3 Минимально допустимая длина бокового ограждения, устанавливаемого на внешней стороне кривой в плане автомобильной дороги с односторонним движением (Рисунок 2), определяется в следующей последовательности:

- в соответствии с п. 5.3.2 на необходимом расстоянии от края проезжей части на план наносится проектная линия ограждения;

- от наиболее удаленной точки препятствия (П) проводится перпендикуляр к кромке проезжей части, получая точку О;

- из точки О проводят окружность с радиусом, равным Lвд (Таблица 2), получая точку A;

- через точку A проводят касательную линию к кромке проезжей части;

- если касательная линия пересекает отрезок ПО (Рисунок 2 а):

а) соединяют точки A и П, получая отрезок AП;

б) измеряют угол α (между касательной линией и отрезком AП). Если он более 8°, то смещаем точку A, отдаляя ее от препятствия до расстояния, при котором угол α будет не более 8°);

в) точка пересечения проектной линии бокового ограждения и отрезка ПA является точкой начала бокового ограждения (точка B);

- если касательная линия не пересекает отрезок ПО (Рисунок 2 б):

а) из точки П проводят касательную линию к кромке проезжей части;

б) точка пересечения касательной линии, проведенной из точки П с проектной линией бокового ограждения (точка B), принимается за начало рабочего участка бокового ограждения.

5.4.4 Минимально допустимая длина бокового ограждения, устанавливаемого на внешней стороне кривой в плане автомобильной дороги с двусторонним движением (Рисунок 3), определяется по следующей методике:

- в соответствии с 5.3.2 на необходимом расстоянии от края проезжей части на план наносится проектная линия ограждения;

- определяется положение точки B в соответствии с 5.4.3;

- от наиболее отдаленной точки препятствия (П2) проводится перпендикуляр к краю полосы со встречным движением, получая точку О2;

- из точки О2 проводят окружность с радиусом, равным Lвд (Таблица 2), получая точку A2;

- через точку A2 проводят касательную линию к краю полосы со встречным движением;

- если касательная линия пересекает отрезок П2О2 (Рисунок 3 а):

а) соединяют точку A2 и точку П2, получая отрезок A2П2;

б) измеряют угол α (между касательной линией и отрезком A2П2). Если он более 8°, то смещаем точку A2 таким образом, пока угол α станет не более 8°;

в) точка пересечения проектной линии бокового ограждения и отрезка П2A2 является точкой конца бокового ограждения (точка C);

- если касательная линия не пересекает отрезок П2О2:

а) соединяют точку A2 и точку П2, получая отрезок A2П2;

б) точка пересечения проектной линии бокового ограждения и отрезка П2A2 является точкой конца бокового ограждения (точка C).

image005.jpg

а

image006.jpg

б

а - касательная к точке A пересекает отрезок ПО; б - касательная к точке A не пересекает отрезок ПО; Lвд - расстояние до препятствия, определяемое по таблице 2; 1 - направление движения; 2 - проектная линия бокового ограждения; 3 - касательная линия к точке A2 края полосы встречного направления; 4 - рабочий участок бокового ограждения; 5 - начальный/концевой участок; ВС - протяженность рабочего участка; α – угол между касательной линией и отрезком A2П2

Рисунок 3 - Схема определения минимально допустимой длины бокового ограждения на кривых в плане для двусторонних автомобильных дорог

5.4.5 При расположении препятствия с внутренней стороны кривой в плане автомобильной дороги с двусторонним движением необходимая длина ограждения определяется по следующей методике (Рисунок 4 а):

- в соответствии с 5.3.2 на необходимом расстоянии от края проезжей части на план наносится проектная линия ограждения;

- от наиболее отдаленной точки препятствия (П1) проводится перпендикуляр к краю проезжей части, получая точку О1;

- из точки О1 проводят окружность с радиусом, равным Lвд (Таблица 2), получая точку A1;

- соединяют точку A1 и точку П1, получая отрезок A1П1;

- точка пересечения проектной линии бокового ограждения и отрезка A1П1 является точкой начала бокового ограждения (точка B);

- от наиболее отдаленной точки препятствия (П2) проводится перпендикуляр к краю полосы со встречным движением, получая точку О2;

- из точки О2 проводят окружность с радиусом, равным Lвд (Таблица 2), получая точку A2;

- соединяют точку A2 и точку П2, получая отрезок A2П2;

- точка пересечения проектной линии бокового ограждения и отрезка A2П2 является точкой конца бокового ограждения (точка C).

image007.jpg

а

image008.jpg

б

а - двусторонних автомобильных дорог; б – односторонних автомобильных дорог; Lвд - расстояние до препятствия, определяемое по таблице 2; 1 - направление движения; 2 - проектная линия бокового ограждения; 3 - рабочий участок бокового ограждения; 4 - начальный участок; 5 - концевой участок

Рисунок 4 - Схема определения минимально допустимой длины бокового ограждения при расположении препятствия с внутренней стороны на кривых в плане

5.4.6 При расположении препятствия с внутренней стороны кривой в плане автомобильной дороги с односторонним движением необходимая длина ограждения определяется по следующей методике (Рисунок 4 б):

- определяется положение точки B по аналогии с нахождением точки B по 5.4.3;

- конец рабочего участка бокового ограждения (точка C) располагается на расстоянии не менее 10,0 м от препятствия.

5.4.7 В случае если установка дорожного бокового ограждения обусловлено не наличием препятствия, а другими дорожными условиями по ГОСТ Р 52289, то точки начала и конца бокового ограждения определяются в соответствии с 5.4.1 - 5.4.6, при этом точка П смещается в сторону оси проезжей части до точки, наезд на которую представляет опасность для участников дорожного движения, например до бровки земляного полотна, в случае если установка ограждения вызвана наличием насыпи по ГОСТ Р 52289.

5.4.8 Необходимая длина бокового ограждения должна быть приведена в СТО (ТУ) производителя ограждения и определяться в соответствии с приложением А.

Если в СТО (ТУ) производителя не приведена необходимая длина рабочего участка бокового ограждения, то рекомендуется принять следующие значения:

- для тросового ограждения - не менее 170 м;

- для парапетного и барьерного ограждения - не менее 60 м.

5.4.9 Если точка Пi препятствия располагается на расстоянии более ширины коридора безопасности по таблице 2, то ее смещают до расстояния ширины коридора безопасности.

5.4.10 Если минимальная длина устанавливаемого бокового ограждения, определенная по 5.4.1 - 5.4.6, менее необходимой длины бокового ограждения, определенной производителем, то длина установки ограждения определяется по длине, определенной производителем. При этом точки начала и конца бокового ограждения разносят пропорционально.

5.5 Определение необходимого типа бокового ограждения

5.5.1 По принципу работы дорожные боковые ограждения в соответствии с ГОСТ 33127 подразделяют на типы:

- парапетные (Рисунок 5 а);

- барьерные (Рисунок 5 б);

- тросовые (Рисунок 5 в);

- комбинированные (Рисунок 5 г);

- иные.

image009.jpg

а

image010.jpg

б

image011.jpg

в

image012.jpg

г

а - парапетное; б - барьерное; в - тросовое; г - комбинированное

Рисунок 5 - Основные типы боковых ограждений

5.5.2 Для определения необходимого типа бокового ограждения учитывают:

- уровень удерживающей способности;

- потребительские характеристики;

- габаритные размеры;

- преимущества и недостатки конструкций.

В первую очередь при выборе бокового ограждения рекомендуется рассматривать конструкции для заданного уровня удерживающей способности, которые имеют наиболее близкие значения следующих параметров: максимальной допустимой рабочей ширины, динамического прогиба и длины рабочего участка.

При прочих равных условиях рекомендуется выбирать конструкцию ограждения с уровнем пассивной безопасности A по ГОСТ 33128.

5.5.3 Уровни удерживающей способности барьерного ограждения по ГОСТ 33128 варьируются от У1 до У10 включительно, при этом шаг стоек различных конструкций может быть от 1,0 м до 4,0 м, соответствие шага стоек (расстояния между соседними стойками ограждения) уровням У дано в таблице 3.

Таблица 2 - Уровни удерживающей способности применяемых барьерных ограждений в зависимости от шага стоек

Шаг стоек, м

Уровень удерживающей способности

У1

У2

У3

У4

У5

У6

У7

У8

У9

У10

От 1,0 до 2,0

X

X

X

X

X

X

X

X

X

X

Не более 2,0 включ.

X

X

X

X

X

X

X

X

X

X

" 3,0 "

X

X

X

-

-

-

-

-

-

-

" 4,0 "

X

X

-

-

-

-

-

-

-

-

5.5.4 При проектировании бокового ограждения на автомобильной дороге в соответствии с ГОСТ Р 52289 регламентируются следующие параметры:

- высота ограждения;

- уровень удерживающей способности;

- рабочая ширина;

- динамический прогиб.

Ниже приведены минимальные и максимальные значения рабочей ширины конструкции барьерных ограждений, применяемых в РФ в зависимости от уровня удерживающей способности, шага стоек и высоты ограждения (рисунки 6 и 7). Значения динамического прогиба, как правило, меньше рабочей ширины ограждения на 5 - 15%.

image013.jpg

ДО - дорожное одностороннее ограждение; ДД - дорожное двустороннее ограждение

Рисунок 6 - Диапазон рабочей ширины барьерных ограждений высотой 0,75 м для уровней удерживающей способности У1 - У4

image014.jpg

ДО - дорожное одностороннее ограждение; ДД - дорожное двустороннее ограждение

Рисунок 7 - Диапазон рабочей ширины барьерных ограждений высотой 1,10 м для уровней удерживающей способности У5 - У10

5.5.5 Анализ применяемых конструкций барьерных ограждений (Рисунок 8) позволяет классифицировать их в зависимости от:

1) типа применяемой балки:

- W-образная;

- C-образная;

- трехволновая (3N);

- из трубы круглого сечения;

2) типа применяемых конструкций консолей;

- консоль амортизатор (КА);

- консоль жесткая (КЖ);

- консоль жесткая нижняя (КЖН);

- консоль отрывная (КО);

- консоль П-образная (КП);

- др.;

3) типа стоек:

- гнутые (СДП, СДС, СДЕ, С ДМ и др.);

- прокатные (швеллер, двутавр).

image015.jpg

Рисунок 8 - Основные конструктивные элементы наиболее часто применяемых барьерных ограждений

5.5.6 Уровень удерживающей способности тросового ограждения, как правило, составляет У2 - У5 по ГОСТ 33128. В конструкциях тросового ограждения применяются стойки закрытого (трос не может выйти из стойки без ее разрушения) или открытого (трос располагается на крючке или в специальном вырезе стойки) типов; по высоте, как правило, применяются 3 или 4 троса [2].

Средние значения рабочей ширины применяемых конструкций тросовых ограждений приведены ниже на рисунке 9.

image016.jpg

Рисунок 9 - Влияние элементов конструкции ТДО на потребительские характеристики

5.5.7 Уровень удерживающей способности парапетного ограждения зависит от способа установки (Таблица 3), ширины ограждения (Таблица 4) и высоты ограждения (Таблица 5).

Таблица 3 - Уровни удерживающей способности парапетного ограждения в зависимости от способа установки

Уровень удерживающей способности

Способ установки ограждения

У1

Свободно стоящее

У2 - У3

Свободно стоящее, с анкеровкой

У4 - У5

Свободно стоящее, с анкеровкой, с заглублением

У6 - У7

С анкеровкой, с заглублением

У8 - У10

С анкеровкой, с заглублением, с анкеровкой и заглублением

Таблица 4 - Уровни удерживающей способности парапетного ограждения в зависимости от ширины ограждения

Уровень удерживающей способности

Ширина основания конструкции ограждения, не менее, мм

У1 - У2

450

У3 - У4

470

У5 - У6

500

У7 - У8

600

У9 - У10

650

Таблица 5 - Уровни удерживающей способности парапетного ограждения в зависимости от его высоты

Уровень удерживающей способности

Высота ограждения, мм

У1 - У2

От

810

до

910

включ.

У3 - У4

"

911

"

1000

"

У5 - У6

"

1001

"

1150

"

У7 - У10

"

1151

"

1300

"

5.5.8 При выборе типа ограждения, кроме потребительских характеристик, рекомендуется учитывать преимущества и недостатки конструкции ограждения (Таблица 6).

Таблица 6 - Преимущества и недостатки применяемых конструкций дорожных боковых ограждений

Описание конструкции

Преимущества

Недостатки

Тросовые ограждения с открытым типом стоек

При одинаковой удерживающей способности характеризуются большей пассивной безопасностью (меньшим значением индекса травмирования)

Более низкая степень повреждений наезжающего ТС по сравнению с другими типами и конструкциями дорожных боковых ограждений

Угол выезда ТС после наезда меньше по сравнению с другими типами боковых ограждений

Ширина ограждения, как правило, не более 10 см

Низкое снегозадержание по сравнению с другими типами боковых ограждений

Рабочая ширина и динамический прогиб ограждения более 2,5 м

Необходимость применения дополнительных световозвращателей из-за плохой видимости в темное время суток

Применение на криволинейных участках ограничено (преимущественно устанавливаются на выпуклой стороне)

Тросовые ограждения нуждаются в сезонном обслуживании для регулировки натяжения

Требуется проверка натяжения тросов и коррекция натяжения после ДТП на большой протяженности участков

Тросовые ограждения с закрытым типом стоек

Ширина ограждения, как правило, не более 10 см

Низкое снегозадержание по сравнению с другими типами боковых ограждений

Значение динамического прогиба от 1,4 до 2,5 м

Могут применяться на разделительной полосе шириной менее 1,5 м

Те же, что у тросовых ограждений с открытыми типами стоек (за исключением динамического прогиба)

Возможно более значительное повреждение ТС в процессе наезда (отрыв колеса и т.д.)

Барьерные ограждения с W-образной балкой

Могут частично обеспечить удерживающую способность после ДТП (если наезд осуществляется на расстоянии не менее 10 м от поврежденного участка)

Стоимость ограждения меньше по сравнению с ограждениями из C-образной балки и балки 3N

Возможен отрыв колеса легкового автомобиля

В сочетании со стойкой прокатного профиля вероятен разрыв балки (балка режется об угол прокатного профиля)

В сочетании с отрывной консолью и гнутой стойкой динамический прогиб и рабочая ширина более 1,5 м

Барьерные ограждения с C-образной балкой

Конструкции ограждений дорожной группы могут обладать динамическим прогибом и рабочей шириной менее 1,0 м

Возможно частично обеспечить удерживающую способность после ДТП (если наезд осуществляется на расстоянии не менее 10 м от поврежденного участка)

Стоимость ограждения значительно больше по сравнению с ограждениями с применением W-образной балки

Более высокая степень снегозаносимости по сравнению с тросовыми ограждениями и барьерными ограждениями с W-образной балкой

Барьерные ограждения с балкой 3N

Частично могут обеспечить удерживающую способность после ДТП (если наезд осуществляется на расстоянии не менее 10 м от поврежденного участка)

Более безопасны для легковых автомобилей по сравнению с ограждениями с применением W-образной балки (ниже вероятность отрыва колеса ТС при наезде на ограждение)

Парапетные ограждения с заглублением

Высокая удерживающая способность

Защищает от света фар встречных машин

Практическое отсутствие динамического прогиба, рабочая ширина приравнивается к ширине конструкции

Практически не требуют восстановления после ДТП

Стоимость превышает другие типы боковых ограждений

Стоимость строительно-монтажных работ выше по сравнению с парапетными ограждениями без заглубления

Затруднена (невозможна) организация технологического разрыва при ДТП и других экстренных ситуациях

Необходимо обеспечить водоотвод с проезжей части

Более высокая снегозаносимость по сравнению с другими типами боковых ограждений

Может возникнуть необходимость дополнительного укрепления и/или уплотнения обочины

Парапетные ограждения без заглубления

Могут применяться при проведении ремонтных работ

Могут применяться для организации дорожного движения, как по постоянной, так и по временной схеме (при проведении ремонтных работ)

Защищает от света фар встречных машин

Практически не требуют восстановления после ДТП

Обладает динамическим прогибом до 2,0 м

Необходимо обеспечить водоотвод с проезжей части

Более высокая снегозаносимость по сравнению с другими типами боковых ограждений

Может возникнуть необходимость дополнительного укрепления и/или уплотнения обочины

Обладает большим динамическим прогибом, чем парапетные ограждения с заглублением

5.5.9 Дополнительные рекомендации по выбору типа бокового ограждения на автомобильной дороге приведены в таблице 7.

Таблица 7 - Рекомендации по выбору бокового ограждения

Место установки ограждения

Тип ограждения

Обочины, позволяющие установить боковое ограждение с рабочей шириной более 1,5 м

Тросовое или барьерное

Обочины, позволяющие установить боковое ограждение с рабочей шириной менее 1,5 м

Барьерное

Дороги, с разделительной полосой шириной менее 1,5 м

Тросовое или бесконсольное барьерное

Автомагистрали и скоростные дороги с интенсивностью движения грузовых автомобилей более 5000 авт./сут

Парапетное или барьерное

5.6 Выбор начального/концевого участков

5.6.1 После определения типа и конструкции бокового ограждения необходимо определить тип начального/концевого участка, который может быть выполнен в виде (Рисунок 10):

- понижения до уровня дорожного покрытия;

- терминала;

- фронтального ограждения.

image017.jpg

а

image018.jpg

б

image019.jpg

в

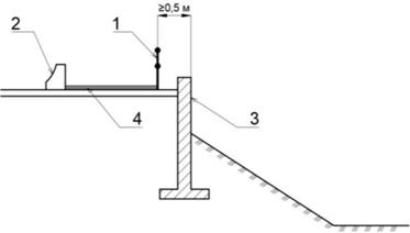
а - в виде понижения до уровня проезжей части; б - в виде терминала; в - в виде фронтального ограждения

Рисунок 10 - Примеры применения начальных/концевых участков

5.6.2 Фронтальное ограждение рекомендуется применять в местах разделения транспортных потоков на дорогах I и II технических категорий.

При разделении транспортных потоков в попутном направлении, где невозможен наезд ТС встречного движения, допускается применение односторонних фронтальных ограждений.

При разделении транспортных потоков встречных направлений применяются фронтальные двусторонние ограждения.

Фронтальное ограждение рекомендуется устанавливать с применением переходного элемента к дорожному барьерному ограждению (Рисунок 11).

image020.jpg

Рисунок 11 - Пример соединения фронтального ограждения с боковым ограждением

5.6.3 Фронтальные ограждения, не соединенные с боковым ограждением, рекомендуется применять только в случаях, когда начало бокового ограждения не представляет опасности для участников дорожного движения (Рисунок 12).

image021.jpg

Рисунок 12 - Установка фронтального ограждения без его соединения с боковым ограждением

5.6.4 При проектировании и реконструкции автомобильной дороги рекомендуется резервировать место для фронтального ограждения, предусмотрев минимальные необходимые габаритные размеры для его установки (Таблица 9, Рисунок 13).

Таблица 8 - Габаритные размеры фронтального ограждения в зависимости от вида и класса скорости столкновения с ограждением

Вид ограждения в плане

Класс скорости столкновения

Габаритные размеры фронтального ограждения, м

длина L

ширина

a

b

image022.jpg

параллельный

60

от

1,6

до

4,8

от 0,60 до 0,90

от 0,60 до 0,90

80

"

4,0

"

6,2

90

"

5,5

"

6,9

110

"

5,9

"

9,2

130

"

7,2

"

9,2

image023.jpg

асимметричный

60

"

1,6

"

4,8

от 0,88 до 1,6

от 1,6 до 2,6

80

"

4,0

"

6,2

90

"

5,5

"

6,9

110

"

5,9

"

9,2

130

"

7,2

"

9,2

image024.jpg

непараллельный

60

"

1,6

"

4,8

0,88

1,6

80

"

4,0

"

6,2

90

"

5,5

"

6,9

110

"

6,0

"

7,7

от 0,88 до 1,3

от 1,9 до 2,6

image025.jpg

1 - направление движения; 2 - боковое ограждение; 3 - фронтальное ограждение; a - ширина передней части фронтального ограждения; b - ширина задней части фронтального ограждения; L - длина ФО; c – ширина полосы безопасности

Рисунок 13 - Рекомендуемые габаритные размеры фронтального ограждения и схемы их установки на автомобильных дорогах

5.6.5 Начальные участки в виде терминалов рекомендуется применять на дорогах I и II технических категорий:

- в местах разделения транспортных потоков;

- на съездах, когда на второстепенной дороге нет необходимости установки бокового ограждения;

- в местах технологических разрывов.

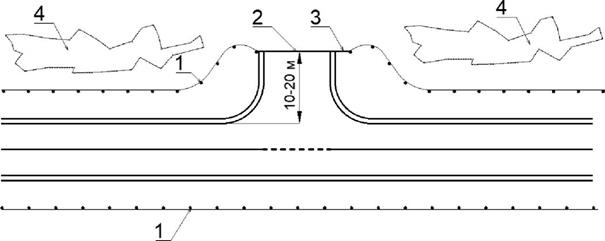
5.6.6 При разделении транспортных потоков терминалы рекомендуется применять в случаях, когда расстояние между боковыми ограждениями более 3,0 м (Рисунок 14). При этом необходимо, чтобы расстояние до препятствия было не менее Lвд (Таблица 2).

image026.jpg

Lвд - расстояние до препятствия, определяемое по таблице 2; 1 - разделительное боковое ограждение; 2 – боковое ограждение; 3 - терминал

Рисунок 14 - Схема расположения терминала при разделении транспортных потоков

5.6.7 Если условия 5.6.5 невозможно обеспечить, рекомендуется уменьшить расстояние между боковыми ограждениями, и установить в качестве начального участка фронтальное ограждение, или боковые ограждения соединить между собой и перед ними установить фронтальное ограждение (Рисунок 12).

5.6.8 Прерывания бокового ограждения на примыкании к автомобильной дороге при наличии разделительного ограждения рекомендуется выполнять в соответствии с рисунком 15.

image027.jpg

а

image028.jpg

б

а - выезд ТС по траектории 6 за линию бокового ограждения не представляет опасности для участников дорожного движения; б - выезд ТС по траектории 6 за линию бокового ограждения представляет опасность для участников дорожного движения; 1 - направление движения; 2 - разделительное боковое ограждение; 3 - боковое ограждение; 4 - терминал; 5 - начальный/концевой участок с понижением; 6 - возможная траектория движения ТС

Рисунок 15 - Схема прерывания бокового ограждения на примыкании к автомобильной дороге

5.6.9 Выезд ТС по траектории 6 (Рисунок 15) за линию бокового ограждения представляет опасность для участников дорожного движения, если:

- имеется препятствие, например опора освещения на расстоянии Lвд, определяемом по таблице 2 и измеряемом от края проезжей части второстепенной дороги;

- если место съезда с дороги попадает под группы дорожных условий А - Ж пунктов 8.1.4 - 8.1.6 ГОСТ Р 52289.

5.6.10 При наличии полосы разгона на примыкании к основной дороге начальный участок рекомендуется выполнять с понижением (Рисунок 16).

image029.jpg

а

image030.jpg

б

а - выезд ТС по траектории 5 за линию бокового ограждения не представляет опасности для участников дорожного движения; б - выезд ТС по траектории 5 за линию бокового ограждения представляет опасность для участников дорожного движения; 1 - направление движения; 2 - разделительное боковое ограждение; 3 - боковое ограждение; 4 - начальный/концевой участок с понижением; 5 - возможная траектория движения ТС

Рисунок 16 - Схемы расположения начальных/концевых участков на примыканиях с полосой разгона

5.6.11 На 2-полосных автомобильных дорогах начальные/концевые участки рекомендуется устраивать в соответствии с рисунком 17.

image031.jpg

а

image032.jpg

б

а - выезд ТС по траектории 4 за линию бокового ограждения не представляет опасности для участников дорожного движения; б - выезд ТС по траектории 4 за линию бокового ограждения представляет опасность для участников дорожного движения; 1 - направление движения; 2 - боковое ограждение; 3 - терминал; 4 - начальный/концевой участок с понижением; 5 - возможная траектория движения ТС

Рисунок 17 - Схемы расположения начальных/концевых участков на примыканиях

5.6.12 Если начальный/концевой участок устанавливается на второстепенной автомобильной дороге, рекомендуется принимать радиус закругления рабочего участка бокового ограждения не менее 5,0 м (Рисунок 18).

image033.jpg

1 - край проезжей части; 2 - боковое ограждение; 3 - начальный участок с понижением; R - радиус поворота бокового ограждения; X - длина участка не менее одного шага стоек рабочего участка барьерного бокового ограждения

Рисунок 18 - Рекомендация по расположению начального участка на второстепенной дороге при подъезде к примыканию

5.6.13 Класс скорости столкновения фронтального ограждения и терминала должен быть не ниже максимальной разрешенной скорости движения на данном участке дороги (Таблица 9) в соответствии с [3].

Таблица 9 - Классы скорости столкновения фронтального ограждения и терминала в зависимости от разрешенной скорости движения

Разрешенная скорость, км/ч

Класс скорости столкновения

60

80

90

110

130

60 и менее

X

-

-

-

-

От

61

до

80

включ.

-

X

-

-

-

"

81

"

90

"

-

-

X

-

-

"

91

"

101

"

-

-

-

X

-

Более 110

-

-

-

-

X

5.6.14 При выборе начального/концевого участков в местах разрывов бокового ограждения на обочине из-за пешеходного перехода, автобусной остановки или других причин рекомендуется начальный и концевой участок выполнить с понижением и отгоном в соответствии с ГОСТ Р 52289.

5.6.15 В соответствии с ГОСТ 33128 не допускается применение дорожных тумб вместо начальных/концевых участков, в том числе, и на улицах городов (Рисунок 19).

image034.jpg

Рисунок 19 - Примеры участков, на которых вместо дорожных тумб рекомендуется применение фронтального ограждения

В случаях, приведенных на рисунке 19, рекомендуется применять фронтальное ограждение.

5.6.16 Дорожные тумбы рекомендуется применять только перед начальными участками, выполненными с понижением, в соответствии с ГОСТ Р 52289.

5.7 Проектирование переходных участков

5.7.1 Переходные участки применяются при изменении конструкции бокового ограждения (Рисунок 20).

image035.jpg

Рисунок 20 - Переходный участок с барьерного ограждения на парапетное

5.7.2 Проектирование переходных участков осуществляется в соответствии с ГОСТ Р 52289, ГОСТ 33128 и [2].

5.7.3 Рабочий участок ограждения может состоять из одной конструкции ограждения или нескольких конструкций, соединенных между собой переходным участком.

5.8 Проектирование бокового ограждения для разделения транспортных потоков встречного направления

5.8.1 Разделительное боковое ограждение может быть установлено в одну линию с применением двустороннего ограждения (Рисунок 21 а) или в две линии с применением односторонних ограждений (Рисунок 21 б).

image036.jpg

а

image037.jpg

б

а - двустороннего ограждения; б - двух линий односторонних ограждений

Рисунок 21 - Установка боковых ограждений для разделения транспортных потоков

5.8.2 Две линии односторонних ограждений рекомендуется устанавливать в случае:

- наличия на разделительной полосе препятствий, например, опор освещения или путепроводов;

- если по оси разделительной полосы осуществляется водоотвод.

5.8.3 При установке боковых ограждений в виде двух линий односторонних ограждений:

- проектирование осуществляется согласно 5.1 - 5.7, а также требованиям ГОСТ Р 52289;

- значение рабочей ширины выбираемой конструкции ограждения не должно превышать значение расстояния между ограждениями (Рисунок 22).

image038.jpg

1 - проезжая часть; 2 - разделительная полоса; 3 – боковое ограждение; 4 - деформируемое боковое ограждение

Рисунок 22 - Установка боковых ограждений на разделительной полосе

5.8.4 Переходный участок с двустороннего ограждения на одностороннее рекомендуется осуществлять с отгоном 1:20 (Рисунок 23).

image039.jpg

а

image040.jpg

б

а - схема; б - пример переходного участка с двустороннего ограждения на одностороннее; 1 - направление движения; 2 - двустороннее боковое ограждение; 3 - одностороннее боковое ограждение

Рисунок 23 - Рекомендации по переходу двустороннего ограждения в одностороннее

5.8.5 При применении парапетных односторонних ограждений на разделительной полосе в два ряда рекомендуется устанавливать их с заглублением в дорожную одежду на величину не менее 120 мм или с анкеровкой блоков в дорожную одежду без их заглубления.

5.8.6 Пространство между двумя односторонними парапетными ограждениями (Рисунок 24) может быть:

- без засыпки;

- с засыпкой или озеленением;

- с крышкой;

- с засыпкой, закрытой крышкой.

image041.jpg

а

image042.jpg

б

image043.jpg

в

image044.jpg

г

а - без засыпки; б - с засыпкой; в - с засыпкой, закрытой крышкой; г - с крышкой

Рисунок 24 - Установка парапетных ограждений на разделительной полосе автомобильной дороги в два ряда

5.8.7 Все способы установки ограждений по 5.8.6 должны соответствовать заявленному уровню удерживающей способности по ГОСТ 33128, что должно подтверждаться испытаниями по ГОСТ 33129.

5.8.8 Для разделения транспортных потоков встречного направления, где ширина разделительной полосы составляет от 1,0 до 1,5 м, могут быть установлены тросовые и барьерные ограждения с отделяющейся балкой без консоли, остаточный прогиб которых не более указанного на рисунке 25.

image045.jpg

Рисунок 25 - Установка бесконсольного барьерного ограждения для разделения транспортных потоков встречного направления

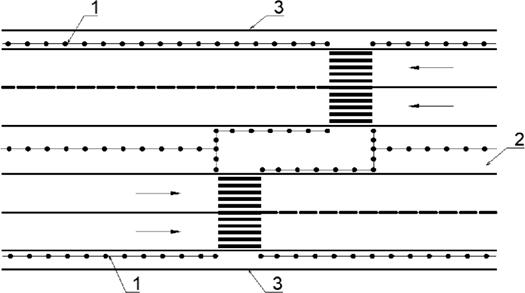
5.8.9 При необходимости технологического разрыва бокового ограждения на разделительной полосе рекомендуется применять:

- съемные барьерные ограждения (Рисунок 26);

- воротные системы (Рисунок 27);

- сборные парапетные ограждения, устанавливаемые без заглубления.

image046.jpg

Рисунок 26 - Съемная секция барьерного ограждения

image047.jpg

Рисунок 27 - Воротные секции дорожных ограждений

5.8.10 Ограждения по 5.8.9 должны обеспечивать уровень удерживающей способности рабочего участка бокового ограждения по ГОСТ 33128 и испытаны по ГОСТ 33129.

5.8.11 Воротные секции рекомендуется применять на разделительной полосе автомобильной дороги в составе конструкции бокового ограждения для осуществления оперативного изменения организации дорожного движения при ликвидации последствий ДТП, чрезвычайных ситуаций или при производстве дорожных работ. Места расположения и длину разрыва устанавливают в соответствии с 5.32 СП 34.13330.2021.

5.8.12 При установке ограждений по 5.8.9 на разделительной полосе автомобильной дороги в составе конструкции бокового ограждения другого типа рекомендуется устройство переходных участков по ГОСТ Р 52289.

5.8.13 Проектирование и установку ограждений по 5.8.9 рекомендуется выполнять в соответствии с СТО (ТУ) предприятия-изготовителя и СП 34.13330.2021.

5.9 Разработка проекта установки ограждения

5.9.1 После выполнения работ по 5.1 - 5.8 осуществляется привязка проектных решений к автомобильной дороге и определение соответствия всех участков ограждения требованиям ГОСТ Р 52289 и настоящего ОДМ.

6 Пешеходные ограждения

6.1 Рекомендации по обустройству автомобильных дорог пешеходными удерживающими ограждениями

6.1.1 Дорожные удерживающие пешеходные ограждения состоят из стоек, поручней (перил), элементов заполнения секций или металлической сетки (Рисунок 28).

image048.jpg

а

image049.jpg

б

а - дорожные удерживающие пешеходные ограждения; б - мостовые удерживающие пешеходные ограждения; 1 - стойка; 2 - элемент заполнения; 3 - перила; 4 - металлическая сетка; 5 - фланец; 6 - плита; 7 - поручень; 8 - фундамент

Рисунок 28 - Общий вид удерживающих пешеходных ограждений

6.1.2 Конструкции удерживающих пешеходных ограждений должны соответствовать ГОСТ Р 58351 и ГОСТ 33128.

6.1.3 Удерживающие пешеходные ограждения должны применяться в соответствии с требованиями ГОСТ Р 52289 (рисунки 29 - 35):

а) у внешнего края тротуара:

- на мостовом сооружении;

- на насыпи высотой более 1,5 м;

- на подпорной стене высотой более 1 м;

б) на надземных пешеходных переходах;

в) на лестничных сходах, являющихся частью инженерного обустройства автомобильной дороги.

image050.jpg

1 - удерживающее пешеходное ограждение; 2 - тротуар; 3 - парапетное ограждение; 4 - двустороннее барьерное ограждение; 5 - проезжая часть; 6 - пролетное строение мостового сооружения

Рисунок 29 - Схема расположения удерживающего пешеходного ограждения на мостовом сооружении

image051.jpg

1 - удерживающее пешеходное ограждение; 2 - пролетное строение

Рисунок 30 - Схема расположения удерживающего пешеходного ограждения на надземном пешеходном переходе

image052.jpg

1 - удерживающее пешеходное ограждение; 2 – ограничивающее сетчатое ограждение; 3 - пролетное строение надземного пешеходного перехода через железную дорогу; 4 - железнодорожные пути

Рисунок 31 - Схема расположения удерживающего пешеходного ограждения на надземном пешеходном переходе через железную дорогу

image053.jpg

1 - мостовое двустороннее ограждение; 2 – мостовое одностороннее ограждение; 3 - удерживающее пешеходное ограждение; 4 - дорожное двустороннее ограждение; 5 - тротуар

Рисунок 32 - Схема расположения удерживающего пешеходного ограждения на подходах к мостовому сооружению

image054.jpg

Рисунок 33 - Удерживающее пешеходное ограждение на лестничном сходе с мостового сооружения (общий вид)

image055.jpg

1 - удерживающее пешеходное ограждение; 2 – парапетное ограждение; 3 - подпорная стена; 4 - тротуар

Рисунок 34 - Схема расположения удерживающего пешеходного ограждения на подпорной стене

image056.jpg

1 - удерживающее пешеходное ограждение; 2 - тротуар; 3 - водоем; 4 - бордюрный камень

Рисунок 35 - Схема расположения удерживающего пешеходного ограждения на набережной водоема

6.1.4 При выборе пешеходного ограждения рекомендуется отдавать предпочтение конструкциям, которые обеспечивают возможность замены деталей и секций без нарушения целостности смежных исправных секций, а также сохранность конструкции при проведении работ по их содержанию.

6.1.5 При проектировании пешеходных ограждений рекомендуется учитывать следующие требования:

- необходимо спрогнозировать и оценить желания пешеходов перейти дорогу по самому короткому и удобному пути (называемого линией желаний), которым пользовались до установки пешеходных ограждений;

- для пешеходов необходимо обеспечить видимость приближающегося транспорта и быть видимыми водителям транспортных средств;

- для снижения тяжести последствий ДТП необходимо сместить пешеходные ограждения на максимально возможное расстояние от проезжей части;

- для предотвращения выхода пешеходов на проезжую часть автомобильных дорог с разрешенной максимальной скоростью движения 80 км/ч и более рассмотреть целесообразность установки пешеходных ограждений совместно с барьерными боковыми ограждениями;

- ограждение должно быть заметно на расстоянии и отличаться по цвету от окружающей обстановки, чтобы минимизировать риск, если пешеходы окажутся на проезжей части после попытки перейти дорогу или захотят выйти из автомобиля, не заметив пешеходные ограждения;

- пешеходные ограждения проектируются с учетом участия детей в дорожном движении, если участок дорог, где они устанавливаются, обозначен знаком 1.23 "Дети" по ГОСТ Р 52289;

- выбираются конструкции пешеходных ограждений, изготовленные в заводских условиях.

6.1.6 Начальные и концевые стойки пешеходных ограждений рекомендуется оборудовать световозвращателями типа КД 1 по ГОСТ 32866.

6.2 Рекомендации по обустройству автомобильных дорог пешеходными ограничивающими ограждениями

6.2.1 Дорожные ограничивающие пешеходные ограждения состоят из стоек, поручней (перил), элементов решетчатого заполнения секций или металлической сетки (Рисунок 36).

image057.jpg

а

image058.jpg

б

а - перильного типа; б - сетчатого типа; 1 - стойка; 2 - поручень; 3 - элементы заполнения; 4 - фундамент; 5 - металлическая сетка; 6 - секция ограждения

Рисунок 36 - Общий вид ограничивающих пешеходных ограждений

6.2.2 Ограничивающие пешеходные ограждения предназначены для минимизации возможности выхода пешеходов на проезжую часть дороги в запрещенных местах, например, на перекрестках (Рисунок 37).

image059.jpg

1 - ограничивающее пешеходное ограждение

Рисунок 37 - Схема расположения ограничивающих пешеходных ограждений в границах перекрестка

6.2.3 Ограничивающие пешеходные ограждения соответствуют требованиям ГОСТ 33128 и ГОСТ Р 59401, применяются в соответствии с требованиями ГОСТ Р 52289 и ГОСТ Р 70716.

6.2.4 Выбор конкретной схемы расположения ограничивающих пешеходных ограждений вблизи учреждений или объектов массового притяжения людей осуществляют в зависимости от организации дорожного движения с учетом местных условий.

6.2.5 Ограничивающие пешеходные ограждения рекомендуется устанавливать совместно с тактильными средствами по ГОСТ Р 59602 в местах постоянного движения лиц с ограниченными возможностями.

6.2.6 Для упорядочения движения пешеходов в зоне остановок общественного транспорта на дорогах и улицах с разделительной полосой шириной не менее 2,0 м, на которых имеются надземные (подземные) пешеходные переходы, рекомендуется устанавливать ограничивающие пешеходные ограждения на разделительной полосе на протяжении не менее 100 м в обе стороны от места расположения надземного (подземного) перехода.

6.2.7 На рисунке 38 приведен пример расположения ограничивающих пешеходных ограждений в зоне остановки общественного транспорта с надземным пешеходным переходом.

image060.jpg

1 - ограничивающее пешеходное ограждение; 2 – остановочный пункт общественного транспорта; 3 - надземный пешеходный переход; 4 - тротуар

Рисунок 38 - Схема расположения ограничивающих пешеходных ограждений на разделительной полосе напротив остановочных пунктов общественного транспорта в зоне надземного пешеходного перехода

6.2.8 На рисунке 39 приведен пример расположения ограничивающих пешеходных ограждений у наземного пешеходного перехода в зоне остановочного пункта общественного транспорта.

image061.jpg

1 - ограничивающее пешеходное ограждение; 2 - остановочный пункт общественного транспорта; 3 - наземный пешеходный переход

Рисунок 39 - Пример расположения ограничивающих пешеходных ограждений у наземного пешеходного перехода в зоне остановочного пункта общественного транспорта

6.2.9 Рекомендуется ограничивающие пешеходные ограждения устанавливать на тротуарах в зоне надземного (подземного) пешеходного перехода на протяжении 20 м в каждую сторону за их пределами, при отсутствии бокового ограждения на разделительной полосе (Рисунок 40).

image062.jpg

а

image063.jpg

б

а - надземный пешеходный переход; б - подземный пешеходный переход; 1 - ограничивающие пешеходные ограждения; 2 - пешеходный переход; 3 - тротуар

Рисунок 40 - Схема расположения ограничивающих пешеходных ограждений в зоне пешеходного надземного (подземного) перехода

6.2.10 На дорогах и улицах, где применяются нерегулируемые пешеходные переходы через разделительную полосу шириной не менее 4 м, рекомендуется устраивать Z-образные переходы по ГОСТ 32944 шириной прохода не менее 1,5 м по ГОСТ Р 70716 посредством устройства ограничивающих пешеходных ограждений, для обеспечения движения пешеходов по разделительной полосе навстречу движению транспортных потоков, с целью повышения информированности пешеходов о приближении ТС к наземному пешеходному переходу (Рисунок 41).

image064.jpg

1 - ограничивающее пешеходное ограждение; 2 - разделительная полоса; 3 - тротуар

Рисунок 41 - Схема расположения ограничивающих пешеходных ограждений на автомобильной дороге с разделительной полосой

6.2.11 Ограничивающие пешеходные ограждения рекомендуется устанавливать у всех нерегулируемых пешеходных переходов, расположенных вблизи учреждений и объектов массового притяжения.

6.2.12 Ограничивающие пешеходные ограждения допускается не устанавливать:

- на разделительной полосе - при наличии на ней удерживающих боковых ограждений;

- в границах перекрестка;

- в зонах парковочных мест на проезжей части вдоль тротуаров.

7 Защитные ограждения для животных

7.1 Конструкции защитных ограждений должны соответствовать требованиям ГОСТ 33128, ГОСТ Р 59401 и [1].

7.2 Характеристики защитных ограждений (высота, размер ячеек и глубина вкапывания в землю и т.п.) в зависимости от целевого вида представителей фауны принимают по ГОСТ Р 59401.

7.3 Защитные ограждения применяют по ГОСТ Р 52289 для предотвращения выхода животных на проезжую часть автомобильных дорог категорий I, II и III, проложенных через (вдоль) заповедники(ов) и (или) вдоль пастбищ.

7.4 Ограничивающие защитные ограждения устанавливают вдоль дороги внутри экосистемы и в зоне коридора передвижений животных, а также вдоль искусственных водных объектов - очистных сооружений (пруды-отстойники, гидроботанические площадки и т.п.), находящихся в этой зоне.

7.5 Проектирование защитных ограждений для направления животных к проходу через специальные надземные (Рисунок 42 а) или подземные (Рисунок 42 б) искусственные сооружения (экодуки) осуществляется по ГОСТ Р 58947.

image065.jpg

а

image066.jpg

б

а - надземный переход для животных; б - подземный переход для животных; 1 - защитное сетчатое ограждение; 2 – защитное сплошное ограждение; 3 - лес; 4 - экодук мостового типа; 5 - экодук тоннельного типа

Рисунок 42 - Защитные ограждения для направления животных к искусственным сооружениям

7.6 При выборе защитного ограждения рекомендуется отдать предпочтение конструкциям, которые обеспечивают возможность замены деталей и секций без нарушения целостности смежных исправных секций.

7.7 Ячейки с наименьшим размером, расположенные в нижней части полотна защитного ограждения, предназначены для предотвращения прохождения мелких животных через ограждение.

7.8 Для обеспечения устойчивости при столкновении крупных животных с защитным ограждением сетчатого типа полотно монтируют с внешней стороны опоры по отношению к дороге по ГОСТ Р 59401 в соответствии с СТО (ТУ) предприятия - изготовителя ограждения.

7.9 Защитные ограждения устанавливают вдоль границы полосы отвода с обеих сторон дороги на участках пересечения путей миграции диких животных с дорогой.

7.10 Чтобы избежать ситуаций, когда животные смогут обойти защитные ограждения, установленные с минимальной расчетной длиной, рекомендуется продлить концевые участки ограждений от края лесонасаждений минимум на 500 м в каждую сторону с углом отгиба на 45° от дороги (Рисунок 43).

image067.jpg

1 - защитное ограждение; 2 - лес

Рисунок 43 - Пример устройства концевых участков защитными ограждениями края лесонасаждений

7.11 Защитные ограждения для крупных млекопитающих рекомендуется дополнять модульными панелями для предотвращения лазания или копания.

7.12 Для эффективного предотвращения доступа крупных млекопитающих (медведи) дополнительно к защитным ограждениям с внешней стороны опоры по отношению к дороге рекомендуется устанавливать горизонтальную противоподкопную сварную сетку, которая имеет L-образную форму: от 20 до 30 см по вертикали и от 100 до 120 см по горизонтали (Рисунок 44).

image068.jpg

Рисунок 44 - Общий вид защитного ограждения с горизонтальным противоподкопным полотном L-образной формы, заглубленной в грунт

7.13 Для удержания нижней части горизонтального противоподкопного полотна ограждения в твердом грунте могут быть использованы анкерные крепления длиной 30 см, вбитые в землю. После крепления противоподкопную часть полотна ограждения засыпают грунтом.

7.14 В случаях, когда в фауне преобладают средние и крупные млекопитающие, предусматривают устройство защитных ограждений из секций с отгибающейся верхней частью сетки, выполняемой по ГОСТ Р 59401 (Рисунок 45).

image069.jpg

Рисунок 45 - Защитное ограждение из секций с отгибающейся верхней частью

7.15 Рекомендуется избегать создания искусственных ловушек для животных, устанавливая параллельно защитные ограждения для животных и снегозадерживающие устройства на одном и том же участке автомобильных дорог.

7.16 Рекомендуется размещение снегозадерживающей сетки на полотне защитного ограждения или встроенных элементов согласно требованиям 12.9.1 ГОСТ Р 59201. При недостаточности данных мероприятий по снегозадержанию рекомендуется устраивать снегозадерживающие устройства на расстоянии от защитных ограждений, обеспечивающие пропуск обслуживающей техники, выполняющей работы по содержанию полосы отвода.

7.17 В конструкциях системы защитных ограждений предусматриваются калитки и технологические ворота для осуществления необходимых мероприятий по содержанию полосы отвода автомобильной дороги, объектов, расположенных внутри ограждаемой территории, или при ликвидации чрезвычайных происшествий.

7.18 Расстояние между воротами назначают из технологической целесообразности в соответствии с проектами обустройства защитными ограждениями автомобильных дорог, утвержденными в установленном порядке.

Расстояние между калитками назначают в соответствии с ГОСТ Р 59401.

7.19 При устройстве технологических ворот для въезда в заповедную зону обслуживающих машин и механизмов необходимо обеспечить расстояние между дорогой и воротами от 10 до 20 м (Рисунок 46).

image070.jpg

1 - защитное ограждение; 2 - ворота; 3 - калитка; 4 - лес

Рисунок 46 - Пример устройства технологических ворот для въезда в заповедную зону

7.20 Ширина технологических ворот выбирается в зависимости от габаритов используемых машин и механизмов, применяемых при эксплуатации автомобильных дорог и/или владельцами земельных участков.

7.21 Секции защитного ограждения, ворота и калитки устанавливают таким образом, чтобы животные не могли пройти под ними. Высота конструкции ворот и калитки соответствует высоте защитного ограждения.

7.22 На ворота и калитку рекомендуется устанавливать запирающие элементы от несанкционированного доступа, открытие которых производится с двух сторон.

7.23 Требования к элементам технологических ворот и калиток назначают согласно рекомендациям СТО (ТУ) предприятия - изготовителя ограждений.

Антикоррозионное покрытие ворот и калиток должно соответствовать требованиям ГОСТ Р 59401.

7.24 На автомобильных дорогах с низкой интенсивностью движения (менее 400 авт./сут), проходящих вблизи заповедников, при отсутствии специальных искусственных сооружений для безопасного перехода через или под дорогой рекомендуется организация пропуска животных через дорогу в одном уровне.

7.25 Наземный переход для животных устраивают на участках дорог с обеспеченной видимостью всего участка перехода с применением организационных мероприятий по информированию водителей о протяженности опасного участка, ограничением максимальной скорости движения дорожными знаками и иными средствами регулирования движения, согласно требованиям ГОСТ Р 52289.

7.26 Участки дорог, обустроенные для наземного перехода животных, рекомендуется оборудовать системами обнаружения крупных животных для предварительного оповещения водителей об их приближении к дороге.

7.27 Для обеспечения проведения работ по содержанию защитных ограждений необходимо оставлять коридор шириной не менее 2 м вдоль лесонасаждений, свободной от растительности, включая ветки кустарников и деревьев, которые могут повредить сетчатые ограждения (Рисунок 47).

image071.jpg

1 - защитное ограждение; 2 - граница полосы отвода; 3 - граница лесополосы

Рисунок 47 - Примеры мест установки защитных ограждений

7.28 На участках, где защитные ограждения пересекают дренажи, канавы, ручьи для предотвращения прохода животных под защитными ограждениями рекомендуется установить дополнительное полотно ограждения (Рисунок 48).

image072.jpg

1 - полотно ограждения сетчатого типа; 2 – контур фундамента; 3 - ось стойки; 3 - дополнительное полотно ограждения; 5 - скоба; 7 - анкерное крепление арматурой диаметром не менее 10 мм

Рисунок 48 - Пример применения дополнительной конструкции для предотвращения прохода животных под защитными ограждениями

7.29 При наличии затяжных оврагов с резкой переменой продольного профиля полотно ограждения рекомендуется направлять вдоль продольного профиля земли, при условии дополнительной установки анкерных (откосных) опор согласно рисунку 49.

image073.jpg

а

image074.jpg

б

а - общая схема; б - пример обрезки полотна ограждения; 1 - ось промежуточной опоры; 2 - контур фундамента; 3 - ось откосной опоры; 4 - полотно ограждения

Рисунок 49 - Пример устройства сетчатого ограждения при прохождении перепадов продольного профиля

При необходимости для предотвращения прохода животных под защитными ограждениями устраиваются дополнительные конструкции согласно 7.28.

7.28 При устройстве углов поворота рекомендуется полотно ограждения, с диаметром проволок менее 3 мм, перегибать на опоре, продолжая натяжку по направлению оси ограждения согласно рисунку 50.

При повороте оси трассы ограждения от 45° до 90° рекомендуется установить две откосные опоры, от 10° до 45° - одну откосную опору.

При повороте оси трассы ограждения менее 10° установка дополнительной откосной опоры не требуется.

image075.jpg

а

image076.jpg

б

а - поворот оси трассы ограждения от 45° до 90°; б - поворот оси трассы ограждения от 10° до 45°

Рисунок 50 - Пример устройства углов поворота трассы сетчатого ограждения

Приложение А

(справочное)

Определение допустимой минимальной длины устанавливаемого бокового ограждения

А.1 Определение необходимой длины устанавливаемого бокового ограждения осуществляется в следующей последовательности:

- проведение натурного испытания ограждения в соответствии с ГОСТ 33129;

- разработка цифровой модели ограждения, прошедшего натурные испытания;

- верификация и валидация цифровой модели виртуальных испытаний в соответствии с ГОСТ 33129;

- в валидированной модели уменьшается (до минимально возможного значения) длина ограждения, при этом концы ограждения должны быть закреплены идентично натурным испытаниям;

- минимально возможная длина устанавливаемого бокового ограждения считается обеспеченной, если:

а) отсутствует остаточный прогиб первой и последней секции рабочего участка ограждения (первого или последнего блока парапетного ограждения или первого или последнего пролета барьерного ограждения) (Рисунок А.1);

б) значения динамического прогиба и рабочей ширины ограждения изменились не более чем на 0,1 м.

image077.jpg

Рисунок А.1 - Оценка необходимой длины испытуемого ограждения

А.2 Определение минимальной возможной длины конструкции бокового ограждения рекомендуется дополнительно проверять при установке только рабочего участка, для этого в валидированную модель вносятся изменения (удаляются начальные/концевые участки) и проводятся виртуальные испытания для ограждений разной длины. Минимальная длина устанавливаемого ограждения считается обеспеченной при выполнении требований положения а и б п. А.1.

А.3 При установке марки рабочего участка в ограждения в составе с другими участками ограждения (например ограждение устанавливается в следующем порядке: рабочий участок дорожной группы, переходный участок, участок мостовой группы, переходный участок и участок дорожного группы), минимальная длина ограждения считается обеспеченной, если общая длина ограждения не менее значения, определенного по А.1.

Библиография

[1]

ТР ТС 014/2011 Технический регламент Таможенного союза

Безопасность автомобильных дорог

[2]

Отраслевая дорожная методика

ОДМ 218.6.018-2016

Рекомендации по правилам применения, устройству и эксплуатации тросовых и комбинированных дорожных ограждений на дорогах общего пользования

[3]

Постановление Правительства РФ от 23.10.1993 N 1090 (ред. от 24.10.2022) "О Правилах дорожного движения"

Самые популярные документы

Яндекс.Метрика